JP2010057932A - 人排泄物収集パウチ - Google Patents

人排泄物収集パウチ Download PDF

Info

Publication number
JP2010057932A
JP2010057932A JP2009242734A JP2009242734A JP2010057932A JP 2010057932 A JP2010057932 A JP 2010057932A JP 2009242734 A JP2009242734 A JP 2009242734A JP 2009242734 A JP2009242734 A JP 2009242734A JP 2010057932 A JP2010057932 A JP 2010057932A
Authority
JP
Japan
Prior art keywords
pouch
fastener
outlet
discharge port
reinforcing member
Prior art date
Legal status (The legal status is an assumption and is not a legal conclusion. Google has not performed a legal analysis and makes no representation as to the accuracy of the status listed.)
Granted
Application number
JP2009242734A
Other languages
English (en)
Other versions
JP5043090B2 (ja
Inventor
Malcolm Falconer
マルコム・ファルコナー
Adrian Breakwell
エイドリアン・ブレークウェル
Bret Weig
ブレット・ウェイグ
Current Assignee (The listed assignees may be inaccurate. Google has not performed a legal analysis and makes no representation or warranty as to the accuracy of the list.)
Bristol Myers Squibb Co
Original Assignee
Bristol Myers Squibb Co
Priority date (The priority date is an assumption and is not a legal conclusion. Google has not performed a legal analysis and makes no representation as to the accuracy of the date listed.)
Filing date
Publication date
Family has litigation
First worldwide family litigation filed litigation Critical https://patents.darts-ip.com/?family=9939773&utm_source=google_patent&utm_medium=platform_link&utm_campaign=public_patent_search&patent=JP2010057932(A) "Global patent litigation dataset” by Darts-ip is licensed under a Creative Commons Attribution 4.0 International License.
Application filed by Bristol Myers Squibb Co filed Critical Bristol Myers Squibb Co
Publication of JP2010057932A publication Critical patent/JP2010057932A/ja
Application granted granted Critical
Publication of JP5043090B2 publication Critical patent/JP5043090B2/ja
Anticipated expiration legal-status Critical
Expired - Lifetime legal-status Critical Current

Links

Images

Classifications

    • AHUMAN NECESSITIES
    • A61MEDICAL OR VETERINARY SCIENCE; HYGIENE
    • A61FFILTERS IMPLANTABLE INTO BLOOD VESSELS; PROSTHESES; DEVICES PROVIDING PATENCY TO, OR PREVENTING COLLAPSING OF, TUBULAR STRUCTURES OF THE BODY, e.g. STENTS; ORTHOPAEDIC, NURSING OR CONTRACEPTIVE DEVICES; FOMENTATION; TREATMENT OR PROTECTION OF EYES OR EARS; BANDAGES, DRESSINGS OR ABSORBENT PADS; FIRST-AID KITS
    • A61F5/00Orthopaedic methods or devices for non-surgical treatment of bones or joints; Nursing devices ; Anti-rape devices
    • A61F5/44Devices worn by the patient for reception of urine, faeces, catamenial or other discharge; Colostomy devices
    • A61F5/4404Details or parts
    • A61F5/4407Closure means other than valves

Landscapes

  • Health & Medical Sciences (AREA)
  • Life Sciences & Earth Sciences (AREA)
  • General Health & Medical Sciences (AREA)
  • Orthopedic Medicine & Surgery (AREA)
  • Engineering & Computer Science (AREA)
  • Biomedical Technology (AREA)
  • Heart & Thoracic Surgery (AREA)
  • Vascular Medicine (AREA)
  • Epidemiology (AREA)
  • Nursing (AREA)
  • Public Health (AREA)
  • Animal Behavior & Ethology (AREA)
  • Veterinary Medicine (AREA)
  • Orthopedics, Nursing, And Contraception (AREA)
  • External Artificial Organs (AREA)
  • Bag Frames (AREA)
  • Medicines Containing Material From Animals Or Micro-Organisms (AREA)
  • Photographic Developing Apparatuses (AREA)

Abstract

【課題】補強部材は排出口を拡張させるように変形させることができる人排泄物収集パウチを提供する。
【解決手段】排出可能なオストミーパウチ10が、排出口22を有する。排出口22における補強部材34が、排出口22を拡張させるように、それらの両縁に、手で圧力を加えることにより変形可能である。補強部材34の側部縁は、互いに離れて常に屈曲するように補強部材を促すようにオフセットすることができる。剥離可能な分離型機械式結合ファスナ46が、折り畳んだ状態の排出口22を確保する。ファスナ部46aと46bは、フック−フックタイプのプラスチック鍛造であり、そしてスナップ結合を提供する。折り畳んだ状態のとき、セキュリティフラップ50は、排出口22の下に折り畳まれる。排出口は、2段階で解放される。
【選択図】図2

Description

(発明の分野)
本発明は、人排泄物収集用のパウチに関するものである。一例はオストミーパウチであるが、他の例は、例えば採尿袋のような失禁衛生パウチを包含している。用語のオストミーは、結腸オストミー、回腸オストミー及び尿道オストミーを包含する。特に、本発明は、排出可能なパウチに関連する。
(発明の背景)
排出可能なパウチは、パウチを再利用可能にするためにパウチ内容物が排出可能である排出口を包含する。
本発明の一つの非限定的な特徴は、排出口の断面形状を調整するための一つ又はそれ以上の補強部材の配置に関するものである。補強部材は、排出口の対向する両縁を手で圧迫することにより、一般に閉鎖した又は圧縮した排出口を保持するように配置することができ、その補強部材は、開口を拡張させるように形状を崩すことができる。そのような配置は、例えばGB 2346328、US 3825005、US 2875451、US 5745926及びUS 3724461において開示されている。
GB 2346328において、補強部材は、何の補強もない排出通路の縁分を放置した排出口において、ただ部分的に排出通路を横切るように直接対向し、且つ、互いに拡張される。排出口がその縁で圧迫されるときに、部材が反対方向に曲がるようにし向けるように、その補強部材はそれらの中間点付近に折り目が付けられる。その折り目は、補強部材が偶発的に同じ方向に曲げられないことが、特に問題であることを本質的に裏付けており、仮に排出口表面が粘着性のある人排泄物に晒されていれば、粘着性のある糞便物が結果的に糞便を表面に付着させることになる。しかしながら、その折り目は、補強部材が排出口を密封することを抑制する。折り目により作られた切れ目が、折り目の範囲に漏出を生じさせるであろう。
本発明の他の非限定的な特徴は、閉じた状態で排出口を固定するための概して固定システムに関連する。閉鎖した排出口を密封することを所望するときに、又はパウチ上に不変に一体ファスナが運ばれるとき、概してそのような固定システムは、例えば止めクリップのようなパウチ排出口に取り外し可能に適合されるどちらか一方の孤立したファスナを包含する。本発明のこの特徴は、一体ファスナに関連する可能性がある。
例えばフックと少なくともファスナ部の一つが構造基盤であるループタイプのファスナの、パウチ用の特有の一体ファスナは、分配した機械式嵌合ファスナである。そのような固定システムを備えたパウチが、例えばGB-A-2000683とGB-A-2268065に描写されている。再固定可能な粘着は、繰り返し使用されたとき、又は延長した期間に対して、又は洗浄されるときに、同程度の信頼性と安全性とを使用者に提供するとは思えないので、分配した機械式嵌合ファスナは、粘着性の固定システムの代わりとして一般に好まれる。接着テープファスナは、仮に接着テープが汚れると、さらに清潔にすることが困難であるという不都合な点をもち、そして露出した接着テープ表面が、パウチの手動の”ミルキング”を予防する。
しかしながら、フックに基礎を置いた構造とループファスナは、人排泄物が接触したときに、その構造が簡単に汚れるので、未だ欠点を有する。その構造は、また、液体を吸収する傾向があり、その液体は、例えば濡れた布で清潔に吹くことが難しいファスナ部に作られる。例えば台所の流し台の水に排出口を沈めることにより、使用者が排出口とファスナ部を清潔にすることができるのが望ましい。構造ファスナ部は、さらにその構造が一旦濡れると乾燥させるのが難しいという不都合を有する。
(発明の要約)
第1の特徴において、本発明は排出口又はその近くで第1及び第2の補強部材を備えた排出口を包含してもよい。補強部材は、両端で排出口を圧迫するように配置することができ、その補強部材は排出口を拡張させるように変形させることができる。
少なくとも補強部材の1つが、排出口の中心線又は軸に関連して外側にオフセットすることができる。
補強部材は、互いに関連して外側へオフセットすることができる。
第1補強部材の縁は、第2補強部材の対応する縁に対して外側にオフセットすることができる。
外圧が排出口を拡張させるように適用されたとき、上記配列は、意外にも反対方向に補強部材の曲げを促進することが見出されている。これは、反対方向への曲げを促進する各々の補強部材に折り目を付ける方向を提供する必要性を無くすことができ、パウチの製作が簡素化され、そして排出口が閉鎖した状態で設置されるとき、補強部材が主要な密封を提供するように使用することができる。
オフセットの量は、少なくとも、1mm、2mm、3mm、4mm、5mm、6mm、7mm、8mm、9mm、10mm、11mm、12mm、13mm、14mm、15mmのいずれかに設定することができ、又はこれらのいずれかとほぼ等しくなるように設定することができ、又はこれらのいずれか未満に設定することができる。
前述の縁は、開口を拡張させるために補強部材を変形させるように使用中に適用される外圧に抗する補強部材のそれぞれの縁にすることができる。
少なくとも補強部材の一つは、他の補強部材の縁を越えて重なる又は広がってもよい。
互いに部分的に重なるように、補強部材は同じ長さにすることができ、かつ側面方向にオフセットすることができる。あるいは、補強部材は異なる長さに設定することができる。
少なくとも1つの補強部材の少なくとも一端が、補強部材の縁を越えて外側にパウチ材料のクッションを提供するように、排出口における近接したパウチ縁材料に関連してオフセットすることができる。パウチ材料の縁に関連したオフセットが、クッションオフセットとして言及される。クッションオフセットの総量は、少なくとも1mm、又は2mm、又は3mm、又は4mm、又は5mm、又は6mm、又は7mm、又は8mm、又は9mm、又は10mm、又は11mm、又は12mm、又は13mm、又は14mm、又は15mmのいずれかである、又はおよそこれらのいずれかに等しい、又はこれらいずれか以下である。少なくとも補強部材のうちの1つの両端が、2つの縁を越えてパウチ材料の側面のクッションを提供するように排出口の反対側部縁に関連してオフセットすることができる。クッションオフセットの総量は、各縁に対して異なっていてもよく、又は同じに設定することもできる。各クッションオフセットは、上記範囲内に設定することができる。あるいは、少なくとも1つの補強部材の一端又は両端は、排出口の縁と同一平面上に設定することができる。
少なくとも1つの補強部材、又は補強部材の調和した組合せが、排出口の通路の全幅を横切って横に広がってもよい。これは、閉じたときに排出口における密封を形成するのに役立つ連続した表面を提供する。
補強部材は、同じ材料で形成でき、例えば異なる弾性力及び/又は剛性の異なる材料で形成することができる。
好ましくは補強部材の対応する両側部縁が、互いに外側へオフセットされる。
補強部材が排出口を拡張させるように変形させられたとき、補強部材は、排出口のそれぞれの表面への異なる大きさの曲率半径を提供するように配置される。そのような異なる曲率半径は、また、排出口における表面の分離を促進し、かつ、異なる方向へ補強部材の屈曲を促進する利点を提供することができる。
複数の補強部材は、異なる曲率半径を提供するように異なる長さに設定することができる。
外圧が第2補強部材に加えられる前に、補強部材は、使用時、第1補強部材の両側部縁が第1補強部材を部分的に変形させるように外圧に晒されるように配置することができる。
補強部材は、実質的に同じ厚み又は異なる厚みにすることができる。異なる厚みは、各補強部材に対して異なる曲げ特性を提供するように使用することができる。
少なくとも補強部材のうちの1つは、緩和した又は普通の配置において概して平面的にすることができる。その上又はその代わりに、少なくとも補強部材のうちの1つは、少なくとも部分的に開いた口を保持するのに役立つ非平面形状を少なくとも部分的に有してもよい。例えば、補強部材は曲げたり、又は曲線を描いたり、又は湾曲させることができる。そのような自然の非平面性は、開口を拡張させるために補強部材を圧迫することにより形成される一定の非平面性よりは小さくすることができる。小さい自然の曲率は、例えば、パウチの組立て前にローラが蓄えるように、ただ補強部材の蓄積からだけ生じてもよい。
補強部材は、使用時に折り畳むことができる排出口に対して、折りたたみ式ガイド又は”回転軸”を提供してもよい。これは、折り畳んだ又は収納状態で排出口を固定するためのファスナ部が正確に一直線にされるように、排出口の折り畳みと位置合わせの両立を保証する。
他の特徴において、本発明は、閉じた状態において排出口を固定するのに使用するための分配した機械式固定システムを提供する。分配した機械式固定システムは、固定領域を越えて分配した連動機械式結合を製造するために、第1及び第2結合可能ファスナ部を包含してもよい。
第1及び第2結合可能ファスナ部は、両者ともプラスチック押出し鍛造で形成される。構造とは対照的に、プラスチック押出鍛造は容易には汚れず、また、清潔にしかつ乾燥させるのがかなり容易である。
第1及び第2の結合可能なファスナは、フック−フック固定システムの一部を形成してもよい。”フック−フック”という語は、2つのファスナ部が互いに圧迫されるときに結合する相互結合可能な下部を切り取った突起からなる少なくとも任意の固定システムを包含する。フック及びループファスナとは対照的に、フック−フックファスナは、閉塞を引き起こす直面した結合がファスナ表面の間で維持される、より少ないばねの復元を有する。
第1及び第2のファスナ部は、実質的に同じ固定突起を有してもよい。そのようなファスナ部は、パウチの製造工程を簡素化することができ、また、パウチ設計者による設計のより大きな自由度を促進することができ、そして、パウチに異なる部材及び/又は材料の総数を減少させることができ、製造コストを低減化に導く。
第1及び第2ファスナ部材は、互いに圧迫されたときにスナップ結合を提供する。そのようなスナップ結合は、ファスナ部材が互いに堅く固定される積極的保証を使用者に提供することができる。これは、例えば高齢のために視力が弱った又は障害のある使用者にとって非常に利便性が良く、さもなければ、ファスナ部材が堅く結合されたものを確保するのが困難であると思われる
他の特徴において、本発明はパウチのための排出口を提供し、その排出口は、パウチ本体に向かって自由端から排出口を巻き取る又は折り畳むことにより閉鎖されるように形成されている。少なくとも補強部材の1つは、前述のように及び/又は少なくとも補強部材と共に登録した位置で排出通路の少なくとも1つの境界を越えて外側に広がるように提供される。排出口は、補強部材と排出口の軸縁の間の外形に側面ステップを包含してもよい。側面ステップは、排出口の外形の外側にあってもよく、排出口の内側の排出通路の外形の内側にあってもよい。加えて、又は側面ステップの代替案として、排出口は、少なくとも排出口の長さ部分に渡って幅にテーパをつけてもよい。テーパは、排出口の長さの大部分に沿って緩やかな傾斜にしてもよい。
そのような配置と共に、排出口が閉鎖した状態に巻き取る又は折り畳まれるとき、排出口の軸縁とテーパの側面のステップ/狭い部分の間の排出口の部分が、補強部材の縁側面の外側にクッション材を提供することができる。露出した補強部材の縁を回避することによりパウチを着用したとき、これは使用者の快適さを改善することができる。
好ましくは、少なくとも一端のテーパのステップ/側面の大きさが、少なくとも1mm、より好ましくは少なくとも2mm、より好ましくは少なくとも3mm、より好ましくは少なくとも4mm、より好ましくは少なくとも5mmである。
好ましくは、そのような側面の外形ステップ又はテーパが、両側部縁の排出口の領域に提供される。
他の特徴において、本発明は、パウチの排出口を提供し、その排出口は、自由端からパウチ本体に向けて巻き取った又は折り畳んだ排出口で閉鎖されるように形成される。排出口固定システムは、閉鎖した状態で排出口を固定するように提供される。排出口が閉鎖状態のとき、セキュリティフラップは、排出口の一部を少なくとも部分的に越える、又は少なくとも部分的に機能する。フラップ固定システムは、折り畳んだ状態でセキュリティフラップを固定するように提供される。
フラップは、主要な排出口ファスナが破損する又は偶然に非固定状態になると、閉鎖した状態で排出口を維持するための第2ファスナが、保護するものとして作用する。フラップは、また、顧客容認のため重要になる排出口の偶発的な開口に対するセキュリティと信頼性の特別の度合いと共に使用者に提供する。特に好ましい形態において、セキュリティフラップは、折り畳んだ排出口の下でパウチの他面へパウチの一面から延ばすために折り畳まれるように形成され、その結果、折り畳んだ排出口の下に吊りなわを提供する。これは、セキュリティフラップが所定の位置に固定される間に、排出口が偶発的に非固定状態になりかつ落下することがないように、着用者を安心させるように特別の安全度を提供することができる。
好ましい形態において、排出口は、2つの明確な段階において非固定状態にならなければならない2段階の固定配列を包含する。2段階の固定配列は、パウチ内容物の流出又は排出のより多くの制御を提供することができる。まず第1に、使用者は折り畳んだ排出口の周囲からセキュリティフラップを解放するために、フラップファスナを非固定状態にしなければならない。同じ高さのセキュリティフラップが解放され、排出口は排出口ファスナにより閉鎖状態に抑制される。第2に、閉状態から開状態に開かれた排出口を容認するように、使用者は排出口ファスナを非固定状態にしなければならない。
上記特徴は、自由に使用することができ、又はさらなる効果が、2つ又はそれ以上の上記特徴の組合せにより得ることができる。
特定の選択した特徴、目的及び効果が上記で強調されてきたとはいえ、本発明は、これらの選択に制限されない。さらに、本発明の特徴、目的及び効果は、以下の好ましい実施例の開示から明らかになるであろう。重点がそこに置かれているか否かに関わらず、本出願は、新規の特徴若しくはここで描写した及び/又は図面に示した特徴の組合せに対する保護を請求する。
好ましい、本発明の非限定的な実施例が、添付した図面に関連して実例を通して以下に描写される。
排出パウチの第1実施例の後部概略図である。 第1実施例の前部概略図である。 オストミーパウチの他の形の概略図である。 広がった状態における図1の排出口の詳細を示す概略図である。 排出口を拡張させ始めるように圧力が加えられようとしている補強部材を示しているパウチ排出口の縁概略図である。 図5に類似しているが、排出口の完全に近い拡張を示す縁概略図である。 図4に類似しているが、補強部材の代わりの配置を示す概略図である。 図4に類似しているが、補強部材のさらなる代わりの配置を示す概略図である。 図9(a)は、閉じた状態において排出口を折り畳みかつ固定するための段階の順序を示す側面略図である。 図9(b)は、閉じた状態において排出口を折り畳みかつ固定するための段階の順序を示す側面略図である。 図9(c)は、閉じた状態において排出口を折り畳みかつ固定するための段階の順序を示す側面略図である。 図9(d)は、閉じた状態において排出口を折り畳みかつ固定するための段階の順序を示す側面略図である。 図9(e)は、閉じた状態において排出口を折り畳みかつ固定するための段階の順序を示す側面略図である。 図9(f)は、閉じた状態において排出口を折り畳みかつ固定するための段階の順序を示す側面略図である。 セキュリティフラップの他の実施例を示す排出口の概略図である。 分離したフック−フックファスナの斜視図である。 フック−フックファスナ部の側面を示す断面略図である。 排出口が閉じた状態にあるときのパウチの正面の詳細を示す正面略図である。 排出口の側面におけるステップの他の構成を示す正面略図である。 補強部材の他の構成を示す縁概略図である。 排出口と補強部材のさらに他の構成を示す正面略図である。 排出口と補強部材のさらに他の構成を示す後面略図である。 尿パウチ形式におけるさらなる実施例を示す正面略図である。 尿パウチ形式におけるさらに他の実施例を示す正面略図である。 さらに別の尿パウチの形式の実施例の正面略図である。
(好ましい実施例の詳細)
図1と図2に関連して、排出可能な瘻造設術パウチ10が、共通の外周16の周囲に共に結合した柔軟な不浸透性のプラスチックフィルムの前壁12と後壁14により、概して形成されている。壁12と14の多くの適当な材料が、従来から知られている。例えば、その材料は、1以上のエチレンビニルアセテート(EVA)層と、例えばポリビニリデンクロライド(PVDC)である障壁層との積層で構成してもよい。
パウチ(図1)の後壁14は、着用者の人工肛門から人排泄物を受け取るための上部領域に入口開口を有する。図示した実施例において、パウチは、(これに限らないが)着用者の回腸人工肛門から半固体の回腸流動物を受け取るための回腸オストミーとして意図することができる。パウチ10は、概して符号20で示した身体備品により着用者の身体の周口部領域に固定され、身体備品20は、低アレルギ誘発性の皮膚接着材(図示せず)のウェーハ又はパッドを包含している。パウチ10は、身体備品20が、入口開口18の周りにパウチ10の後壁14を永久に固定される”ワンピース”と呼ばれるタイプであってもよい。あるいは、パウチ10は、パウチ10と身体備品20とが個々のアイテムであり、かつ例えば、従来の接着結合又は従来の機械式の結合で互いに取り外し可能に取り付けられる”ツーピース”タイプであってもよい。
従来からあるように、パウチ10は、パウチ10に収集された人排泄物を収容するための1つ又はそれ以上の内部区画(図示せず)を包含してもよい。パウチ10は、また、パウチ10の内側から腸内のガスを発散しかつ臭気を除去するために、従来の臭気除去フィルタ(図示せず)を包含することができる。
パウチ10は、パウチの尾部24の形で排出口22を包含する。用語排出口は、一般に尾部に言及するようにここで使用することにする。尾部24は、パウチ10の上部分より狭くなっており、末縁28に開口を有する。図1及び図2から分かるように、排出口22は、入口開口18に対して一般に非対称になる。これは着用者の形状と体型に非常に適したパウチ10の人間工学に基づく形状を提供することができる。しかしながら、他の実施例において排出口22は、例えば図3及び図16〜19に描いた入口開口18に対して、一般に左右対称になる。再度図1と図2を参照すると、前壁12と後壁14の両方のうちの一方の外面が、柔らかいクッション材の快適層30で少なくとも部分的に覆われている。さらに以下で述べるように、排出口22を閉じるためにファスナに干渉することから快適層30を回避するために、快適層30は、排出口22のちょうど真上の位置で終わっている。また、快適層30が容易く汚染する、又は清掃が困難な材料からなるため、排出口22の末縁28において開口26の領域に快適層30を提供しないのが望まれる。
末縁28における開口26に近い、又は近接した位置で、第1補強部材32がパウチ10の後壁14に取り付けられる。第2補強部材34が、パウチ10の前壁12に取り付けられる。補強部材32と34が、壁14と12の長手方向に沿って取り付けられる。描写した実施例において、第2補強部材34は、一般に第1補強部材32に対向するが、他の実施例においては、補強部材は排出口22の軸方向に対する横方向(排出通路36の幅方向)に部分的に又は全体的にオフセット(異なる位置に配置)される。補強部材32と34の目的は、排出口22が巻き取られる又は折り畳まれるときに、開口26の拡張の度合いを制御可能にし、及び/又は密封を提供可能にすることである。補強部材32と34は、少なくとも部分的に閉鎖され、又は少なくとも部分的に圧縮した状態に向かって、自然に開口26を偏らせる。補強部材32と34のうちの少なくとも一方が、概して平面の自然形状を有しても良い。さらに、または代わりに、補強部材32と34のうちの少なくとも一方が、わずかに曲がった又は曲がった自然形状を有してもよい。曲がった形状は、例えば、パウチ10の組立て前に貯蔵する巻物として補強部材32と34の保管から生じる。曲がった自然形状は、わずかに開いた状態に(たとえ完全に拡張していない状態でも)、補強部材32と34を偏らせるように作用する。いずれにせよ、以下で詳細に説明するように、排出口22の反対側部縁に圧力を加えることにより、補強部材32と34は開口26を拡張させるように変形させることができる。
第1補強部材32及び第2補強部材34は、パウチ壁12と14の材料よりも概して堅い。部材32と34は、開口を拡張させるように固定可能にすることができる。補強部材32と34は、弾力性があってもよい。補強部材32と34に適した材料は、例えば、スチレン、カード、プラスチック被覆したカード、EVA、及びポリエチレンを包含する。補強部材32と34は、同じ材料又は異なる材料で製造してもよい。補強部材32と34は、実質的に同じ厚み又は異なる厚みを有してもよい。補強部材32と34は、実質的に同じ剛性又は異なる剛性を有してもよい。補強部材32と34は、実質的に同じ弾性力又は異なる弾性力を有してもよい。補強部材34と32は、例えば接着材又は溶接のような任意の適切な方法で、それぞれ前壁12と後壁14に取り付けてもよい。説明した実施例において、補強部材34と32は、前壁12と後壁14の外面に固定される。しかしながら、補強部材32と34の一方又は両方は、必要に応じて、外面に代わりに取り付けてもよく、又は壁12と14の材料の中に組み込んでもよい。
図4(及び、また後述の図7と図8)において、一方の斜線が一方の補強部材の領域を説明しており、そして他方の斜線が、他方の補強部材の領域を説明している。重なる領域は、互いに交差する斜線により描写されている。図4で最もわかりやすく見られるように、補強部材の1つ(第1部材32)は、排出口22のどちらかの側部縁で末梢溶接部16の間で、排出口22の内部で形成した排出通路の全幅を覆っても良い。第1補強部材32の側端38は、少なくとも部分的に末梢溶接部16と重なってもよい。図示した実施例において、第1補強部材32は、排出口22の幅に一致するように成型される。それに対して第2補強部材34は、第1補強部材32よりも短く成型され、そして内部排出通路36の全幅に横たわらない。その代わり、第2補強部材34の側部縁40は、わずかに末梢溶接部16の中心よりに形成され、そして第1補強部材32の対応する縁38から外側にオフセットされる。各オフセットの範囲は、1〜15mm若しくはそれ以上(この例においては1〜9mm)のオーダに設定される。オフセットの範囲は、実質的に排出口22のどちらかの縁で同じになってもよく、又はオフセットの範囲は、排出口22のどちらかの縁で異なっていてもよい。
たとえ各補強部材が、特定の方向に優先のたわみを促進するように形成しておらず又は折り目をつけていなくても、排出口22がその縁で圧迫されるときに、オフセット縁38と40が意外にも反対方向に外面的に曲がるように補強部材32と34を助長する。補強部材32と34の一方又は両方のわずかな自然の湾曲が、また、方向性をもつ湾曲を促進することができる。図5を参照すると、使用者が縁で排出口22を圧迫し始めるとき、任意の圧力が第2補強部材34に加えられる前に、第1補強部材32の側部縁38は、第1補強部材32の反対端に最初に圧力を加えるように使用者の指により接触される。これは、第2補強部材34から離れて湾曲するように第1補強部材32を引き起こす。まっすぐな第2補強部材34は、第2補強部材34に向かって第1補強部材32のいくらかの湾曲を自然に妨げる。図6を参照すると、さらに排出口22の縁を圧迫しており、それから図6の底部で示したように使用者の指に反して押圧するように、又は図6の頂部で示したように第1補強部材32に反して間接的に押圧するように、第2補強部材34の側部縁40を引き起こし、排出開口26を拡張させる。第1補強部材32と第2補強部材34の異なる長さが、前壁32と後壁34に互いに異なる曲率半径を導入する結果を生じさせることを理解することができる。
上述したように、補強部材32と34の上記構成は、たとえパウチ壁12と14の内面が粘性をもつ汚物又は汚水で汚されても、開口26を拡張させるように反対方向に補強部材32と34の一致した湾曲を提供する。補強部材32と34の他の構成は、また、類似した効果を引き起こすのに使用される。例えば、異なる曲率半径が、他の手ステップで製造されてもよく、及び/又は部材32と34は、異なる材料から成ってもよく、及び/又は異なる弾力性及び/又は異なる剛性を有してもよい。補強部材32と34のうちの一方又は両方が、加えて又は代わりにわずかに自然な湾曲をもつ。加えて、又は代わりに、補強部材32と34は、例えば図15に図示したように異なる厚みから成っていてもよい。これらの他の構成において、補強部材32と34の1つ又はそれ以上の側部縁38、40が以前に説明したようにオフセットされ、又は概して一致していてもよい。
外圧が排出口22の縁から解除されるとき、第1補強部材32と第2補強部材34は、開口26を閉じるために又は少なくとも圧縮するために、それらの通常の構成へ向かって戻る傾向がある。上記実施例において、第1補強部材32が第2補強部材34よりも長いとはいえ、2つの部材32と34の長さは、必要に応じて入れ替えてもよい(例えば、補強部材32と第2補強部材34が、図面に示したようにパウチ10の反対壁上で交換されてもよい。)
図7と図8は、主にそのレイアウトの結果として形成される正反対の方向の湾曲を促進する類似した効果を産む第1補強部材32と第2補強部材34に対する別のレイアウトを示している。図7において、第2補強部材34は、第1補強部材32よりもさらに短いが、実質的に排出通路36の全幅を横たえるほど長い。縁38と縁40の間のオフセットの範囲は、わずかに第1実施例におけるものよりも小さい。図8において、第1補強部材32と第2補強部材34は、実質的に同じ長さであるが、互いに外側に部分的に重なるようにオフセットされる。各補強部材は、排出口22及び/又は排出通路36の軸心に対して外側にオフセットされる。第1補強部材32は、末梢溶接部16のうちの1つに任意に重なっており、及び、第2補強部材34は末梢溶接部16のその他に任意に重なっている。任意に、第1補強部材32と第2補強部材34は、個々に又は互いに組み合わせて、排出通路36の全幅を横断して補強を提供することができる。
反対方向に補強部材32と34の湾曲を促進するための上記デザインの確実な特徴は、第1補強部材32の少なくとも1つの(側)縁38が、第2補強部材の対応する(側)縁40に対して外側にオフセットされることである。随意的に、密封目的用の有益なデザインの確かな他の特徴は、第1密封部材と第2密封部材が、共に排出口22において排出通路36の全幅を横切る補強材を提供する。少なくとも一つの補強部材が排出通路36の全幅を覆うように任意に設定することができる。密封目的用として有益な上記デザインのその他の確かな特徴は、補強部材32と34の両方が、予め形成した折り目のような予め形成した切れ目なしの平坦な表面を有することである。密封目的用として有益な上記デザインのその他の確かな特徴は、概して補強部材32と34の広がった縁(排出通路36に少なくとも部分的に重なっている)が、任意の切れ目なしの概してまっすぐであり及び平行していることである。
図1と図2を参照すると、補強部材32と34は、ほぼ同じ高さであり、そして閉じた又は収納状態を排出口にもたらすように折り畳まれた排出口22により、折り目の長さ単位(間隔42により虚線で示した)を限定している。補強部材32と34は、パウチのデザインで意図されたように排出口22が一貫した様式で折り畳まれるように、そしてファスナ(以下に示した)が、少なくともおよそ効果を提供されるように折り畳みガイドを提供することができる。図9(a)〜(e)を参照すると、排出口を密封するために閉じ、使用者が、末縁28から近接縁44へ向かって(たとえば、パウチ10のメイン収集領域に向かって)排出口22を折り畳んでいる。本発明において、排出口22はパウチ14の前壁12に反して折り畳まれるように構成されるが、他の実施例においては、排出口は、必要に応じて後壁14に反して折り畳まれるように構成されてもよい。また、好ましい実施例において、排出口22を閉じた状態に至らせる4つの折り目ステップがあるのが図9(e)に示されている。しかしながら、多数の折り目ステップは、必要に応じて4つより多く又は4つより少なくしてもよい。そのような排出口22の折り畳みは、補強部材32と34の周囲のパウチ壁12と14の堅く巻き付けている材料により、排出口の排出管36を密封する。そのような折り目は、補強部材32と34を互いに反して圧縮する及び/又は平坦にするのに役立つ。図9(a)〜(f)は単に略図に過ぎず、実のところ図面(特に図9(e)と9(f))に明瞭に堅い折り畳みを描写することは可能ではないことが理解されるであろう。
排出口ファスナ46は、パウチ10の前壁12上に維持された第1ファスナ部46aと後壁14に維持された第2ファスナ部46bで形成される。排出口が閉じた状態(図9(e))に達したとき、2つのファスナ部46aと46bは、実質的に互いに接触する効果があり、そして閉じた状態で排出口22を堅く締めるように互いに押圧させることができるように、第1ファスナ部46aと第2ファスナ部46bは、それぞれ前壁12と後壁14上の位置に運ばれる。排出口ファスナ46は、より詳細に以下で説明したように、好ましくは分配した機械式の結合ファスナである。
セキュリティフラップ50は、パウチ10の前壁12上に提供してもよい。セキュリティフラップ50は、例えば溶接又は接着により前壁12に固定してもよく、又は前壁12を形成している層又は部分の拡大になる可能性がある。溶接又は接着装着ボンドは、フラップ50とパウチ壁の間に、折り畳んだ状態のフラップ50又は平らになった状態のいずれかを形成することができる。図9(f)を参照すると、排出口22が閉じた状態のとき、セキュリティフラップ50は、排出口22の下に折り畳まれるように構成され、そしてパウチ14の後壁に固定される。フラップファスナ52は、セキュリティフラップ50上に搬送された第1ファスナ部52aと後壁14上に搬送された第2ファスナ部52bで形成される。後壁14上の第2フラップファスナ部52bは、前壁12上の第1排出口ファスナ部46aと共におよそ効果的になる。セキュリティフラップ50が、排出口22の下に保護三角巾の単位を提供し、付加的な安全手ステップを提供することができる。セキュリティフラップ50は、排出口ファスナ46の偶発的な緩みを予防する。セキュリティフラップ50が固定状態にある間、セキュリティフラップ50は、また、排出する位置への排出口22の落下を防止することができる。
従ってパウチ10は、2つの識別可能な段階において緩められる排出口閉鎖システムを包含する。2つのステップの接近は、閉じた状態から排出口22を延ばすように所望されたときに、排出口の制御性の点で利点を使用者に提供することができる。第1段階は、折り畳んだ排出口22からセキュリティフラップ50を解放するようにフラップファスナ52を緩めることである。排出口22は排出口ファスナ46で閉じた状態にそれ自信が保持されるので、解放されるセキュリティフラップ50でさえ、排出口22が非密封位置に落下しない。第2段階は、排出口22を解放するように、そして広げた状態(図9(a))に広げられるように排出口22を容認するように排出口ファスナ46を外すことである。
広げた状態で、開口26を拡張させるために補強部材32と34を変形させるように、使用者は排出口縁22へ指圧を加えることができる。排出口22を介してパウチ内容物が排出される割合は、排出口縁の間に加えた指圧量に応じて、少なくとも部分的に開口26の拡張量を変化させることにより制御することができる。空の期間、又は排出口22の最初の折り畳みかつ位置決めする期間のいずれかのいかなる時でも、補強部材32と34を互いに抗して押圧しかつ保持することにより、使用者は排出口22を介して排出される任意の内容物を実質的に止める又は防止することができる。これは、液体と同じ高さにした排出口22を一時的に閉じるように、十分な密封を提供することができる。
図示した実施例において、セキュリティフラップ50は、排出口22がパウチ10の壁、すなわち図示した実施例における前壁12に閉じた状態で折り畳まれるべきであることを表示するように一面上に維持される。しかしながら、閉じた状態に折り畳まれるのを意図する排出口22上に、必要に応じてセキュリティフラップ50が反対面上に維持することができるのが理解されるであろう。
図10は、セキュリティフラップ54の代替のデザインを示す。図10において、排出口が閉じた状態のとき、セキュリティフラップ54は排出口22の周囲の外側に折り畳まれるように構成される。セキュリティフラップ54は、パウチ壁12と14から外側の拡張アームが延びるように形成される。セキュリティフラップは、一方の面(前壁12と後壁14のいずれか)の周囲に折り畳まれるのに必要な大きさにされ、そして末縁56は、そのとき他方の面への他端58の周囲に折り畳まれる。排出口22が一旦閉じた状態に折り畳まれていると、フラップ54で連結のために、ファスナ部59bが適当な位置に配置されるように、結合可能なフラップファスナ部59aと59bの間は、フラップ54上及び排出口の適当な表面上に維持される。
ファスナ46と52は、任意の適当な接着剤又は機械式のファスナタイプであってもよい。ファスナ46と52は、異なる種類の同じタイプであってもよい。例えば、ファスナ46と52の一方又は両方は、何度でも密封可能な接着タイプであってもよい。ファスナ46と52の一方又は両方は、互いに固定したときにファスナ部が結合する剥離可能な分散型機械式結合ファスナであってもよい。例えば、ファスナ部はフック材とループ材であってもよい。ループ材は、繊維であってもよい。付加的な又は代わりに、ファスナ46と52の一方又は両方が、プラスチック押出成形されるファスナ部46a/46b又は52a/52bの両方のタイプで形成されてもよい。繊維ファスナ部と比較して、プラスチック押出成形は、汚れに対してより弱くなるかもしれない。プラスチック押出成形は、また、液体の吸収性が弱く、そしてそれ故に、例えば清掃することにより容易に清潔にすることができる。プラスチック押出成形は、また、清掃後に乾燥させるのが容易である。衛生は、痩造設術にとって最も重要である。清潔にする能力、又は清潔に保つ能力において、ファスナ部は非常に都合がよく、そして顧客への特定のパウチの受け入れにおいて重要な役割を果たす。特に、完全に排出口を清掃し、そしてパウチを再利用する前に表面を乾燥させるために、排出口22を水に沈めることができるオストミー患者に対して望ましい。
また、ファスナ部が互いに固定したときに、使用者が明確に発見することができるように、ファスナ46と52の一方又は両方は、スナップ結合タイプにしてもよい。これは特に視覚障害者や、ファスナが正しく固定されることを視覚的に確認するのが難しい使用者に特に有益である。
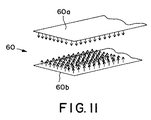
図11と12を参照すると、ファスナ46又は52の特に有利な形態は、概してファスナの2次元領域を越えて分離可能である連結する機械式結合において、機械式に固定するフック−フックタイプのファスナ60に分離される。ファスナ部は、例えば縁から剥離を進行させることにより、個々に剥離可能である。各ファスナ部60aと60bは、多数の茎部64上に突起62を構成している。突起62は、下部を切り取られてもよい。例えば、突起62は茎64のどちらの側面上へも延びることができ、そして平坦なキノコ頭部形状を限定する。茎部は、規則正しく並んだ列及び/又は縦列に配置することができる。2つのファスナ部60aと60bが互いに押圧されたとき、一方のファスナ部60a上の突起62が他方のファスナ部60bの突起62と結合するように、対向する茎部64が互いに噛み合う。図12は、また、球状頭部62aの形状の、及びとげ又は矢じり62bの形状の、他に考えられる突起62の形状の例を示している。
各ファスナ部60a、60bは、プラスチック押出成形であってもよい。突起62は、探知できるスナップ結合で積極的に結合することができる。2つのファスナ部60aと60bは、実質的に互いに同じであってもよく、又は2つのファスナ部60aと60bは異なる形状であってもよい。1つになる2つのファスナ部60aと60bの利点は、これがパウチの製造を簡素化することができ、そしてまた、パウチデザイナーのデザインの自由度が増すということである。
適当なフック−フックファスナは、例えばアプリックス製の”イージーロック”ファスナである。
図1、2、4、7及び8に示されるように、排出口の外側形状は、排出口22の軸縁44と補強部材32と34の位置の間に部分的に側面ステップ70を包含してもよい。側面ステップ70は、排出口22の各側部縁で約1〜5mm又はそれ以上にすることができる。図13を参照すると、排出口22が閉じた状態に折り畳まれるとき、上記ステップ70の周辺部72は、補強部材32と34の一方又は両方の比較的急峻な縁38、40の上に横たわる概して柔軟に変形可能なクッション領域74を提供する。これは、着用するために、より快適なパウチを作ることができ、そして補強部材32と34の一方又は両方の縁38と40が、着用者の皮膚又は衣服と接触して捕まることを回避することができる。
図14を参照すると、同じ原理を導入するための代わりの技術が、排出口22の内側に通路36の形で内側の側面ステップ76を提供する。内側ステップ76は、排出口22の周辺部78が、補強部材32と34の一方又は両方の縁38と40を越えて外側に、概して柔軟に変形可能なクッションを提供することを確実にする。外側ステップ70と内側ステップ74のいずれであろうと側面ステップの特徴は、緩衝作用効果を得るように補強部材の急峻な縁38と40を越えて側面に沿って延びる十分なパウチ壁材料を提供することが理解されるであろう。
図16と17を参照すると、類似する原理を導入するためのさらなる代わりは、排出口22が開口26に向かって狭くなるように、幅が先細りになるように排出口22を形成することができる。先細りは、軸縁80と末縁82における開口26の間の排出口22の長さの大部分を超えて広がってもよい。排出口22が折り畳まれるとき、補強部材32と34の外側部縁の側面に沿って柔軟なパウチ材料のクッション領域84を提供するために、先細りは、上述したものと同じ効果を提供することができる。先細り形状は、その上、急峻ステップにおいて糞便物が捕捉されるいくらかの危険を減少させるのに好都合である。側面ステップに対して記載されているのと同様に先細り形状は、また、排出通路36が開口26に向かって幅方向に先細りになるように、例えば内部の溶接により内側にも形成することができる。
図16と17において、補強部材32と34の配置は、図8に示したものと同様にすることができる。補強部材32と34は、互いにおよそ同じ長さにすることができる。各補強部材32と34は、排出口22及び/又は排出通路36の軸又は中心線86に対して側面に沿ってオフセットすることができる。補強部材32と34は、互いに対して側面に沿ってオフセットしてもよい。補強部材のうちの少なくとも1つ(又は各々)の第1縁88は、上述したものと類似したクッション領域を提供するために、排出口22の近接縁90から側面に沿ってオフセットすることができる。クッションオフセットの量は、例えば、0mm(オフセットなし)と5mm又はそれ以上の間、より好ましくは0mmと3mmの間に含めてもよい。加えて又は代わりに、補強部材のうちの少なくとも1つ(又は各々)は、クッション領域を提供するために、排出口付近の縁94から側面に沿ってオフセットすることができる。クッションオフセットの量は、例えば、0mm(オフセットなし)と12mm又はそれ以上の間、より好ましくは1mmと9mmの間に含めてもよい。各補強部材32、34の縁88と92は、パウチが着用されたとき、オストミー患者に対して不快感を与えるような角のついた形状を回避するような半径にすることができる。
前述の全ての実施例において、ファスナ部46a、46b、52a及び52bのうちの1つ又はそれ以上は、以下のような形状にすることができ、又は位置決めすることができる。すなわち、排出口22が閉じた状態に折り畳まれるとき、ファスナ部46a、46b、52a及び52bは、パウチ壁の周辺領域がファスナ部のクッション縁に柔軟なクッション領域を提供できるようなパウチ壁の周辺縁の内側寄りに横たわる。特に、プラスチック押出し成形の形式でファスナの場合には、ファスナ部は概して堅くすることができ、すなわちパウチ壁材料よりも堅くすることができる。より堅いファスナの外側に沿った柔軟な周辺領域は、より快適に使用しかつ着用可能なパウチを作ることができる
それぞれのクッション領域に備えたファスナ部及び/又は補強部材の上記構成は、1つ又はそれ以上のファスナ部の側部縁及び/又は補強部材が、材料のクッション領域の内部にあるので、”島”配列と呼ぶことができる。そのような島配列は、排出口22の折り畳まれていない広がった状態であり、又は排出口22が閉じた状態に折り畳まれるときにのみ起こることが明白に理解できる。、
前述の実施例は、特に(独占的ではないとはいえ)排出可能な回腸オストミーパウチとして使用するのに適当である。図18〜20は、排出可能な尿パウチ、例えば尿道オストミーパウチとして使用するのに、特に(独占的ではないとはいえ)適当であることをさらに実施例に示す。
図18と19において、前の実施例との主な相違は、排出口22が前の実施例よりも狭いことである。狭い排出口22は、パウチ10から主に液状内容物を排出するのに相応しくすることができる。パウチ10は、狭い排出口22に適した形状を除いて、これまでに説明した特徴のうちのいずれか又はその全てを包含してもよい。例えば、パウチは補強部材32と34、セキュリティフラップ50、ファスナ46と52、及び/又は入口開口18を包含してもよい。排出口22は、補強部材32と34の外側側面に沿ってクッション領域を提供ために、排出通路36の形状において内側側面ステップ76を包含してもよい。ステップ76は、先細りステップ又は急峻ステップであってもよい。ステップ76は、開口26で先細りした液体通路を限定するように、補強部材32と34のちょうど真上、又は上位縁付近に配置することができる。補強部材32と34は、概して互いに対向させることができる。随意に、補強部材32、34の少なくとも一方の少なくとも一端は、他方の補強部材32、34の対応する縁に関連して、側面に沿ってオフセットすることができる。代わりに、補強部材32と34は、実質的に互いに記録することができる。随意的に、補強部材32と34のうちの少なくとも一方の少なくとも一端が、クッション領域を限定するように、排出口22の外側部縁に対してオフセットすることができる。
図20を参照すると、さらに実施例は、混成型排出口22’を包含している。混成型排出口22’は、図18と19に示したものと類似する内部狭型排出通路36’を有している。混成型排出口22’は、図1〜17の実施例の幅広い排出口に類似した外部形状を有している。先細り型排出通路36’は、一つの又はそれ以上の取付物96の線により限定することができる。この取付物96の線は、例えば、前壁12及び後壁14と、交差している末梢溶接部16の間の溶接線又は接着ボンド線である。取付物96の線は、排出通路36’の形状を先細りに及び/又はステップ形状に限定してもよい。図20において、補強部材32と34、ファスナ46と52及びフラップ50は、図面を煩雑にすることを回避するために示していないが、これらのエレメントは、前述の実施例のように同じ様式で提供することができるのが理解されるであろう。
様々な変更が本発明の領域と本質の範囲内で形成することができ、そして上述した様々な特徴が、仮にこれらの特徴が必要でなくても置き換えることができるのが理解されるであろう。
好ましい実施例が、オストミーパウチの状況を描写しているが、同じ原理が体内の老廃物用の、例えば衛生バッグと尿バッグのようなパウチの他のタイプと一体に使用することができるのが理解されるであろう。
人排泄物を収集するための排出可能なパウチの変形例を説明する。
(1)
人排泄物を収集するための排出可能なパウチにおいて、
開口を有する排出口と、
排出口付近の又は排出口のパウチ壁に取り付けらた第1及び第2補強部材とを備え、
第1及び第2補強部材は、両補強部材の対向する側部縁に手で圧力を加えることにより変形するときに、開口の拡張を制御するものであり、
第1補強部材は第1側部縁を包含しており、且つ、第2補強部材は第1側部縁の近くに第2側部縁を包含しており、
第1補強部材の第1側部縁が、第2補強部材の第2側部縁に対して横方向にオフセットされることを特徴とする排出可能なパウチ。
(2)
第1補強部材が第2補強部材の第2側部縁を越えて重なり且つ拡がる上記(1)に記載の排出可能なパウチ。
(3)
第1補強部材と第2補強部材が、異なる長さをもつ上記(1)又は上記(2)に記載の排出可能なパウチ。
(4)
第1補強部材と第2補強部材とが、およそ同じ長さであり、且つ、互いに部分的に重なるように側面方向に部分的にオフセットされる上記(1)又は上記(2)に記載の排出可能なパウチ。
(5)
第1補強部材と第2補強部材の全体の底面積が、排出口の排出通路の幅を実質的に完全に横切って拡がる上記(1)〜(4)のうちのいずれかに記載の排出可能なパウチ。
(6)
第1補強部材と第2補強部材のうちの少なくとも一方が、実質的に排出口の排出通路の全幅を覆っている、上記(1)〜(5)のうちのいずれかに記載の排出可能なパウチ。
(7)
両補強部材の双方の両側部縁が、互いに側面に沿ってオフセットされる上記(1)〜(6)のうちのいずれかに記載の排出可能なパウチ。
(8)
第1補強部材と第2補強部材とが、パウチ外面に取り付けられる上記(1)〜(7)のうちのいずれかに記載の排出可能なパウチ。
(9)
人排泄物を収集するための排出可能なパウチにおいて、
開口を有する排出口と、
排出口付近の又は排出口のパウチ壁に取り付けらた第1及び第2補強部材とを備え、
第1及び第2補強部材は、両補強部材の対向する側部縁に手で圧力を加えることにより変形するときに、開口の拡張を制御するものであり、
両補強部材が、排出口のそれぞれの表面に、異なる大きさの曲率半径を提供するように構成されることを特徴とすることを特徴とする排出可能なパウチ。
(10)
第1補強部材と第2補強部材が、前記異なる大きさの曲率半径を提供するために長さが異なっている上記(9)に記載の排出可能なパウチ。
(11)
人排泄物を収集するための排出可能なパウチにおいて、
開口を有する排出口と、
排出口付近の又は排出口のパウチ壁に取り付けらた第1及び第2補強部材とを備え、
第1及び第2補強部材は、両補強部材の対向する側部縁に手で圧力を加えることにより変形するときに、開口の拡張を制御するものであり、
使用中において、外圧が第2補強部材に加えられる前に、第1補強部材を部分的に変形させるように第1補強部材の両側部縁が外圧に晒されるように構成されることを特徴とする排出可能なパウチ。
(12)
第1補強部材と第2補強部材との長さが異なっている上記(11)に記載の排出可能なオストミーパウチ。
(13)
第1補強部材と第2補強部材とが、異なる材料で形成される上記(1)〜(12)のうちのいずれかに記載の排出可能なオストミーパウチ。
(14)
人排泄物を収集するための排出可能なパウチにおいて、
開口を有する排出口と、
排出口付近の又は排出口のパウチ壁に取り付けらた第1及び第2補強部材とを備え、
第1及び第2補強部材は、両補強部材の対向する側部縁に手で圧力を加えることにより変形するときに、開口の拡張を制御するものであり、
第1補強部材は第1側部縁を包含しており、且つ、第2補強部材は第1側部縁の近くに第2側部縁を包含しており、
第1補強部材と第2補強部材とが、異なる材料で形成されることを特徴とする排出可能なパウチ。
(15)
第1補強部材と第2補強部材とが、異なる弾性力及び/又は異なる剛性を有する上記(14)又は(15)に記載の排出可能なパウチ。
(16)
人排泄物を収集するための排出可能なパウチにおいて、
開口を有する排出口と、
排出口付近の又は排出口のパウチ壁に取り付けらた第1及び第2補強部材とを備え、
第1及び第2補強部材は、両補強部材の対向する側部縁に手で圧力を加えることにより変形するときに、開口の拡張を制御するものであり、
第1補強部材は第1側部縁を包含しており、且つ、第2補強部材は第1側部縁の近くに第2側部縁を包含しており、
第1補強部材と第2補強部材とが、互いに異なる弾性力及び/又は異なる剛性を有していることを特徴とする排出可能なパウチ。
(17)
第1補強部材と第2補強部材とが異なる厚さを備えている上記(16)に記載の排出可能なパウチ。
(18)
人排泄物を収集するための排出可能なパウチにおいて、
開口を有する排出口と、
排出口付近の又は排出口のパウチ壁に取り付けらた第1及び第2補強部材とを備え、
第1及び第2補強部材は、両補強部材の対向する側部縁に手で圧力を加えることにより変形するときに、開口の拡張を制御するものであり、
第1補強部材は第1側部縁を包含しており、且つ、第2補強部材は第1側部縁の近くに第2側部縁を包含しており、
第1補強部材と第2補強部材とが、互いに異なる厚さを有していることを特徴とする排出可能なパウチ。
(19)
人排泄物を収集するための排出可能なパウチにおいて、
拡張状態から収納状態に折り畳まれ、パウチ内容物を排出可能な排出口と、収納状態で排出口を固定して使用するためのファスナとからなり、
そのファスナが、第1ファスナ部と第2ファスナ部とを包含する剥離可能な分離した機械式結合ファスナであり、
第1ファスナ部と第2ファスナ部が、プラスチック押出成形で形成されていることを特徴とする人排泄物を収集するための排出可能なパウチ。
(20)
第1ファスナ部と第2ファスナ部とが、互いに同じファスナ突起を有する上記(19)に記載の排出可能なパウチ。
(21)
第1ファスナ部と第2ファスナ部とが、互いに押圧されたときに、スナップ結合を提供する上記(19)又は(20)のいずれかに記載の排出可能なパウチ。
(22)
第1ファスナ部と第2ファスナ部の各々が、2つのファスナ部が互いに押圧されたときに、他方のファスナ部の突起と一体に組み合う突起を備えた茎部を構成している上記(19)、(20)又は(21)のうちのいずれかに記載の排出可能なパウチ。
(23)
人排泄物を収集するための排出可能なパウチにおいて、
拡張状態から収納状態に折り畳まれ、パウチ内容物を排出可能な排出口と、収納状態で排出口を固定して使用するためのファスナとからなり、
そのファスナが、第1ファスナ部と第2ファスナ部とを包含する剥離可能な分離した機械式結合ファスナであり、第1ファスナ部と第2ファスナ部が、互いに同じファスナ突起を有していることを特徴とする排出可能なパウチ。
(24)
人排泄物を収集するための排出可能なパウチにおいて、
拡張状態から収納状態に折り畳まれ、パウチ内容物を排出可能な排出口と、収納状態で排出口を固定して使用するためのファスナとからなり、
そのファスナが、第1ファスナ部と第2ファスナ部とを包含する剥離可能な分離した機械式結合ファスナであり、
第1ファスナ部と第2ファスナ部は、両ファスナ部が互いに押圧されたときにスナップ結合を提供することを特徴とする排出可能なパウチ。
(25)
人排泄物を収集するための排出可能なパウチにおいて、
拡張状態から収納状態に折り畳まれ、パウチ内容物を排出可能な排出口と、収納状態で排出口を固定して使用するためのファスナとからなり、
そのファスナが、第1ファスナ部と第2ファスナ部とを包含するフック−フックタイプの剥離可能な分離した機械式結合ファスナであり、第1ファスナ部と第2ファスナ部の各々は、2つのファスナ部が互いに押圧されたときに、他方のファスナ部の突起と一体に組み合わされる突起を備えた茎部を構成していることを特徴とする人排泄物を収集するための排出可能なパウチ。
(26)
第1ファスナ部が、パウチの第1外面上に移動され、且つ、第2ファスナ部が、第1外面の反対側のパウチの第2外面上に移動される上記(19)〜(25)のうちのいすれかに記載の排出可能なパウチ。
(27)
ファスナ部の少なくとも一方が、収納状態で排出口を直接固定するために排出口の一部の上にある上記(19)〜(26)のうちのいずれかに記載の排出可能なパウチ。
(28)
排出口が収納状態のときに、ファスナ部のうちの少なくとも一方が、排出口の周囲の又は排出口を越えて少なくとも部分的に安全にしうるセキュリティフラップ上にある上記(19)〜(27)のうちのいずれかに記載の排出可能なパウチ。
(29)
少なくとも一つの補強部が、排出口の収納状態において、補強部の周辺縁がクッション材の領域の内部にくるように配置される上記(19)〜(28)のうちのいずれかに記載の排出可能なパウチ。
(30)
パウチ内容物を排出可能である排出口であって、その排出口は拡張状態から収納状態に折り畳み可能であり、
その収納状態で、直接排出口を固定するための排出口ファスナと、
排出口がその収納状態にあるとき、少なくとも部分的に排出口を越えて又は排出口の周囲に折り畳み可能なセキュリティフラップと、
折り畳んだ状態でセキュリティフラップを直接固定するためのフラップファスナとから構成されることを特徴とする人排泄物を収集するための排出可能なパウチ。
(31)
排出口ファスナとフラップファスナのうちの少なくとも一方が、互いに剥離可能に固定される第1ファスナ部と第2ファスナ部から構成されている、剥離可能な分離型機械式結合ファスナである上記(30)に記載の排出可能なパウチ。
(32)
排出口が収納状態であるとき、セキュリティフラップが、排出口の下へ延びるように折り畳まれる上記(30)又は(31)のいずれかに記載の排出可能なパウチ。
(33)
人排泄物を収集するための排出可能なパウチにおいて、
パウチ内容物を排出可能である排出口であって、その排出口は拡張状態から排出口の軸縁に近接した収納状態に折り畳み可能であり、そして排出口が、補強部材と排出口の軸縁の間の位置に側面ステップ又は先細り部を包含し、排出口が収納状態に折り畳まれるときに、補強部材の縁の外側にクッション材の領域を提供するための少なくとも1つの補強部材を備えたことを特徴とする排出可能なパウチ。
(34)
補強部材が、排出口における排出通路の少なくとも1つの境界の上に横たわっている上記(33)に記載の排出可能なパウチ。
(35)
側面ステップ又は先細り部が、排出口の外側形状に設けられている上記(33)又は(34)のうちのいずれかに記載の排出可能なパウチ。
(36)
側面ステップ又は先細り部が排出口の内側形状に設けられている上記(33)又は(34)のうちのいずれかに記載の排出可能なパウチ。
(37)
先細り部が、排出口の長さの少なくとも大部分を越えて延びる上記(33)又は(34)のうちのいずれかに記載の排出可能なパウチ。
(38)
人排泄物を収集するための排出可能なパウチにおいて、
排出口が開口を有しており、第1補強部材と第2補強部材が、両補強部材の対向する側部縁に手で圧力を加えることにより変形させられるとき、第1補強部材と第2補強部材は、開口の拡張を制御するように排出口の近く又は排出口におけるパウチ壁に付着し、第1補強部材と第2補強部材は、互いに関連して部分的に側面に沿ってオフセットされることを特徴とする排出可能なパウチ。
(39)
第1補強部材と第2補強部材は、互いに部分的に重なる上記(38)に記載の排出可能なパウチ。
(40)
第1補強部材と第2補強部材が、互いにおよそ同じ長さである上記(38)又は(39)のいずれかに記載の排出可能なパウチ。
(41)
人排泄物を収集するための排出可能なパウチにおいて、
排出口が、開口を有しており、補強部材が、補強部材の対向する側部縁に手で圧力を加えることにより変形させられるとき、少なくとも1つの補強部材が、開口の拡張を制御するように排出口の近く又は排出口においてパウチ壁に付着し、補強部材は、排出口の外側の幅よりも長さが短く、そして排出口に対して非対称的に側面に配置されていることを特徴とする排出可能なパウチ。
(42)
人排泄物を収集するための排出可能なパウチにおいて、
排出口が開口を有しており、少なくとも一方の補強部材が、開口の拡張を制御するように排出口の近く又は排出口においてパウチ壁に付着され、補強部材が、補強部材の対向する両側部縁に手で圧力を加えて変形させられるとき、補強部材は、排出口の外側の幅よりも長さが短く、そして排出口の中で排出通路に対して側面に非対称的に配置されることを特徴とする排出可能なパウチ。
(43)
パウチが、オストミーパウチである上記(1)〜(42)のうちのいずれかに記載の排出可能なパウチ。

Claims (34)

  1. 人排泄物を収集するための排出可能なパウチにおいて、
    メイン収集領域と、
    開口へと向かう排出通路が内部に形成された排出口と、
    収納状態にある排出口を固定するために使用するファスナと、を備えており、
    パウチ内容物が排出口から排出可能であり、排出口が、排出通路からパウチ内容物を排出するために排出口がメイン収集領域から拡張されている拡張状態から、排出口内の排出経路を密封するために排出口がメイン収集領域の方に折り畳まれている収納状態に、折り畳むことができ、
    前記ファスナが、第1ファスナ部と第2ファスナ部とを有する剥離可能な分離型機械式結合ファスナであり、第1ファスナ部と第2ファスナ部が、プラスチック押出成形で形成されていることを特徴とする人排泄物を収集するための排出可能なパウチ。
  2. 第1ファスナ部と第2ファスナ部とが、互いに同じファスナ突起を有する請求項1に記載の排出可能なパウチ。
  3. 第1ファスナ部と第2ファスナ部とが、互いに押圧されたときに、スナップ結合を提供する請求項1又は2に記載の排出可能なパウチ。
  4. 人排泄物を収集するための排出可能なパウチにおいて、
    メイン収集領域と、
    開口へと向かう排出通路が内部に形成された排出口と、
    収納状態にある排出口を固定するために使用するファスナと、を備えており、
    パウチ内容物が排出口から排出可能であり、排出口が、排出通路からパウチ内容物を排出するために排出口がメイン収集領域から拡張されている拡張状態から、排出口内の排出経路を密封するために排出口がメイン収集領域の方に折り畳まれている収納状態に、折り畳むことができ、
    前記ファスナが、第1ファスナ部と第2ファスナ部とを有する剥離可能な分離型機械式結合ファスナであり、第1ファスナ部と第2ファスナ部が、互いに同じファスナ突起を有していることを特徴とする排出可能なパウチ。
  5. 人排泄物を収集するための排出可能なパウチにおいて、
    メイン収集領域と、
    開口へと向かう排出通路が内部に形成された排出口と、
    収納状態にある排出口を固定するために使用するファスナと、を備えており、
    パウチ内容物が排出口から排出可能であり、排出口が、排出通路からパウチ内容物を排出するために排出口がメイン収集領域から拡張されている拡張状態から、排出口内の排出経路を密封するために排出口がメイン収集領域の方に折り畳まれている収納状態に、折り畳むことができ、
    前記ファスナが、第1ファスナ部と第2ファスナ部とを有する剥離可能な分離型機械式結合ファスナであり、
    第1ファスナ部と第2ファスナ部は、両ファスナ部が互いに押圧されたときにスナップ結合を提供することを特徴とする排出可能なパウチ。
  6. 第1ファスナ部と第2ファスナ部の各々が、2つのファスナ部が互いに押圧されたときに、他方のファスナ部の突起と一体に組み合う突起を備えた茎部を構成している請求項1から5のいずれか1つに記載の排出可能なパウチ。
  7. 人排泄物を収集するための排出可能なパウチにおいて、
    メイン収集領域と、
    開口へと向かう排出通路が内部に形成された排出口と、
    収納状態にある排出口を固定するために使用するファスナと、を備えており、
    パウチ内容物が排出口から排出可能であり、排出口が、排出通路からパウチ内容物を排出するために排出口がメイン収集領域から拡張されている拡張状態から、排出口内の排出経路を密封するために排出口がメイン収集領域の方に折り畳まれている収納状態に、折り畳むことができ、
    前記ファスナが、第1ファスナ部と第2ファスナ部とを有するフック−フックタイプの剥離可能な分離型機械式結合ファスナであり、第1ファスナ部と第2ファスナ部の各々は、2つのファスナ部が互いに押圧されたときに、他方のファスナ部の突起と一体に組み合わされる突起を備えた茎部を構成していることを特徴とする人排泄物を収集するための排出可能なパウチ。
  8. 前記突起は下部を切り取られている、請求項6又は7に記載の排出可能なパウチ。
  9. 前記突起を有する茎部が、横列、縦列、横列及び縦列から選ばれた規則正しい配置で配置される、請求項6から8のいずれか1つに記載の排出可能なパウチ。
  10. 第1ファスナ部が、パウチの第1外面上に移動され、且つ、第2ファスナ部が、第1外面の反対側のパウチの第2外面上に移動される請求項1から9のいずれか1つに記載の排出可能なパウチ。
  11. ファスナ部の少なくとも一方が、収納状態にある排出口を直接固定するために排出口の一部の上にある請求項1から10のいずれか1つに記載の排出可能なパウチ。
  12. 排出口が収納状態にあるときに、ファスナ部のうちの少なくとも一方が、排出口の周囲の又は排出口を越えて少なくとも部分的に固定できるセキュリティフラップ上にある請求項1から9のいずれか1つに記載の排出可能なパウチ。
  13. ファスナ部は、パウチの材料よりも堅いものであり、
    少なくとも一つのファスナ部が、排出口の収納状態において、パウチの周辺縁の内側にあり、パウチの周辺領域がファスナ部の縁に柔軟なクッション領域を提供できる、請求項1から12のいずれか1つに記載の排出可能なパウチ。
  14. パウチが、前壁及び後壁により形成されており、
    パウチが、更に、パウチの少なくとも1つの壁の外面を少なくとも部分的に覆う柔らかいクッション材の快適層を備えている、請求項1から13のいずれか1つに記載の排出可能なパウチ。
  15. パウチが、更に、パウチの内部からのガスを発散しかつ臭気を除去するための臭気除去フィルタを備えている、請求項1から14のいずれか1つに記載の排出可能なパウチ。
  16. パウチが、前壁及び後壁により形成されており、
    パウチの両壁が共通の外周の周辺で一緒に結合されている、請求項1から15のいずれか1つに記載の排出可能なパウチ。
  17. パウチが、前壁及び後壁により形成されており、
    パウチが、更に、
    人工肛門から人排泄物を受け取るための、パウチの後壁の上部領域にある入口開口と、
    パウチを周口部領域の皮膚に固定するための低アレルギ誘発性の皮膚接着材のウェーハ又はパッドを備える身体備品と、
    パウチに身体備品を取り外し可能に取り付ける、接着結合又は機械式の結合である、結合と、
    を備えている、請求項1から16のいずれか1つに記載の排出可能なパウチ。
  18. パウチが、柔軟な不浸透性のプラスチックフィルムよりなる、前壁及び後壁を備えており、前記フィルムが、1以上のエチレンビニルアセテート層と、障壁層との積層で構成されている、請求項1から17のいずれか1つに記載の排出可能なパウチ。
  19. 開口に近い位置又は開口で、排出通路の幅方向に沿って、パウチの両壁に取り付けられた第1補強部材及び第2補強部材を備えており、
    第1及び第2補強部材は、排出通路の幅方向において対向する両側部縁に手で圧力を加えることにより変形するときに、開口の拡張を制御するものである、請求項1から18のいずれか1つに記載の排出可能なパウチ。
  20. 第1補強部材は第1側部縁を備えており、且つ、第2補強部材は第1側部縁の近くに第2側部縁を備えており、
    第1補強部材の第1側部縁が、第2補強部材の第2側部縁に対して排出通路の幅方向において異なる位置に配置されている、請求項1から19のいずれか1つに記載の排出可能なパウチ。
  21. 第1補強部材が第2補強部材に重なっており、且つ、第1補強部材が排出通路の幅方向において第2補強部材の第2側部縁を越えて拡がる、請求項20に記載の排出可能なパウチ。
  22. 両補強部材の双方の両側部縁が、互いに排出経路の幅方向において異なる位置に配置される、請求項20又は21に記載の排出可能なパウチ。
  23. 第1補強部材と第2補強部材とが、排出通路の幅方向においておよそ同じ長さであり、且つ、互いに部分的に重なるように、排出通路の幅方向において重なりながら異なる位置に配置されている、請求項19に記載の排出可能なパウチ。
  24. 第1補強部材と第2補強部材が、排出通路の幅方向において異なる長さをもつ、請求項20から22のいずれか1つに記載の排出可能なパウチ。
  25. 第1補強部材と第2補強部材の全体の設置面積が、排出口の排出通路の全幅を実質的に横切って拡がる請求項19〜24のいずれか1つに記載の排出可能なパウチ。
  26. 第1補強部材と第2補強部材のうちの少なくとも一方が、実質的に排出口の排出通路の全幅を覆っている、請求項19から25のいずれか1つに記載の排出可能なパウチ。
  27. 第1補強部材と第2補強部材とが、パウチの外面に取り付けられる、請求項19〜26のいずれか1つに記載の排出可能なパウチ。
  28. 両補強部材が平坦な表面を有している、請求項19〜27のいずれか1つに記載の排出可能なパウチ。
  29. 排出通路の幅方向における両補強部材の縁の広がりが、概して、切れ目なく且つ平行である、請求項19〜28のいずれか1つに記載の排出可能なパウチ。
  30. 少なくとも1つの補強部材を備えており、
    排出口が収納状態に折り畳まれるときに、排出口の周辺部が、排出通路の幅方向における補強部材の縁の外側にクッション材の領域を提供する、請求項1〜18のいずれか1つに記載の排出可能なパウチ。
  31. 補強部材が、排出口における排出通路の少なくとも1つの境界の上に横たわっている請求項30に記載の排出可能なパウチ。
  32. 排出口が排出通路に沿って排出口の開口に向かって狭くなるように、排出口が、排出口の外面に、側面ステップ又は側面先細り部を備えている、請求項30又は31に記載の排出可能なパウチ。
  33. 排出通路が排出通路に沿って排出口の開口に向かって狭くなるように、排出口が、排出口の内面に、側面ステップ又は側面先細り部を備えている、請求項30又は31に記載の排出可能なパウチ。
  34. 先細り部が、排出通路に沿って排出口の長さの少なくとも大部分を越えて延びる請求項30又は31に記載の排出可能なパウチ。
JP2009242734A 2002-07-04 2009-10-21 人排泄物収集パウチ Expired - Lifetime JP5043090B2 (ja)

Applications Claiming Priority (2)

Application Number Priority Date Filing Date Title
GB0215381A GB2391175B (en) 2002-07-04 2002-07-04 Pouch for collecting human waste
GB0215381-5 2002-07-04

Related Parent Applications (1)

Application Number Title Priority Date Filing Date
JP2003191290A Division JP4571382B2 (ja) 2002-07-04 2003-07-03 人排泄物収集パウチ

Publications (2)

Publication Number Publication Date
JP2010057932A true JP2010057932A (ja) 2010-03-18
JP5043090B2 JP5043090B2 (ja) 2012-10-10

Family

ID=9939773

Family Applications (2)

Application Number Title Priority Date Filing Date
JP2003191290A Expired - Fee Related JP4571382B2 (ja) 2002-07-04 2003-07-03 人排泄物収集パウチ
JP2009242734A Expired - Lifetime JP5043090B2 (ja) 2002-07-04 2009-10-21 人排泄物収集パウチ

Family Applications Before (1)

Application Number Title Priority Date Filing Date
JP2003191290A Expired - Fee Related JP4571382B2 (ja) 2002-07-04 2003-07-03 人排泄物収集パウチ

Country Status (13)

Country Link
US (2) US7306581B2 (ja)
EP (2) EP1378218B1 (ja)
JP (2) JP4571382B2 (ja)
AT (1) ATE440579T1 (ja)
AU (1) AU2003208148B9 (ja)
CA (1) CA2433926C (ja)
DE (1) DE60328944D1 (ja)
DK (2) DK1378218T3 (ja)
ES (2) ES2551122T3 (ja)
GB (1) GB2391175B (ja)
MX (1) MXPA03006037A (ja)
NZ (2) NZ535096A (ja)
ZA (1) ZA200305178B (ja)

Cited By (1)

* Cited by examiner, † Cited by third party
Publication number Priority date Publication date Assignee Title
JP2016055891A (ja) * 2014-09-09 2016-04-21 株式会社フジシール パウチ容器用包材およびパウチ容器

Families Citing this family (53)

* Cited by examiner, † Cited by third party
Publication number Priority date Publication date Assignee Title
DK174983B1 (da) * 2002-04-10 2004-04-05 Hollister Inc Tømbar stomipose med integreret lukke
FR2839883B1 (fr) * 2002-05-21 2005-02-25 Braun Medical Poche de recueil de fluides corporels munie d'un dispositif d'ouverture et de fermeture d'un canal d'evacuation
DK176289B1 (da) * 2002-10-02 2007-06-11 Coloplast As Opsamlingspose med forbedret lukke
US7354426B2 (en) * 2003-09-12 2008-04-08 B. Braun Medical Inc. Flexible container with a flexible port and method for making the same
US20050096611A1 (en) 2003-10-30 2005-05-05 Stoyer Brian C. Multi-adhesive medical appliance
WO2005117775A1 (en) * 2004-06-04 2005-12-15 Welland Medical Limited Ostomy pouches
JP2006043037A (ja) * 2004-08-03 2006-02-16 Alcare Co Ltd ドレナブル排泄物収容装具
EP2074973A1 (en) * 2004-09-08 2009-07-01 Coloplast A/S Activity ostomy bag
US7947025B2 (en) * 2005-08-04 2011-05-24 Convatec Technologies Inc. Pouch for collecting human body waste and drainage adapter therefor
GB2434316B (en) * 2006-01-24 2010-02-17 Welland Medical Ltd Ostomy bag
JP5003037B2 (ja) * 2006-04-28 2012-08-15 大日本印刷株式会社 注出口付きパウチ
US20070265588A1 (en) * 2006-05-15 2007-11-15 Pedersen Jes L Drainable ostomy pouch with integrated closure
GB2439287B (en) * 2006-06-23 2011-03-16 Salts Healthcare Ltd Ostomy appliance
HUE026703T2 (en) * 2007-04-09 2016-10-28 Convatec Technologies Inc Osmotic bag assembly
CA2683868A1 (en) * 2007-04-24 2008-11-06 Bristol-Myers Squibb Company Closure system for a drainable pouch
DE602008003263D1 (de) * 2007-08-09 2010-12-16 Hollister Inc Entwässerbarer Ostomiebeutel mit flexiblen Versteifungsstreifen mit mehreren Rillen
US20090052811A1 (en) * 2007-08-22 2009-02-26 Moreau Darrell A Plastic bag with non-metallic closure
DK2241340T3 (da) * 2008-01-10 2014-08-25 Alcare Co Ltd Tryk-følsomt klæbemiddel til hud, tryk-følsomt klæbefolie til hud og frontplade af stomi-indretning
HRP20161800T1 (hr) 2008-04-04 2017-03-10 Convatec Technologies Inc. Drenažna ostomijska vrećica
AU2009333827B2 (en) * 2008-04-04 2014-11-13 Convatec Technologies Inc. Drainable ostomy pouch
JP4427604B1 (ja) * 2008-11-18 2010-03-10 庄次 島田 排便介護器具
EP2229924A1 (en) 2009-03-17 2010-09-22 Hollister Incorporated A drainable ostomy pouch
US9498669B2 (en) * 2009-08-18 2016-11-22 Cyril Brizard Resistance exercise trainer having portable hand-held weights
US10130506B2 (en) 2010-03-02 2018-11-20 Ostosolutions, LLC Closure system for an ostomy pouch and related methods
US8690848B2 (en) * 2010-03-02 2014-04-08 Ostosolutions, LLC Closure for ostomy pouch and method thereof
US8672907B2 (en) * 2010-07-26 2014-03-18 Hollister Incorporated Drainable ostomy pouch
CN203468827U (zh) 2010-08-12 2014-03-12 科罗马杰卡企业有限公司 具有可闭合开孔的造口术用袋设备
US20120078208A1 (en) * 2010-09-25 2012-03-29 Laudick David A Contained ostomy appliance
EP2510910A1 (en) * 2011-04-12 2012-10-17 Hollister Incorporated An ostomy pouch
AU2012294882B2 (en) 2011-08-09 2016-07-21 Hollister Incorporated Ostomy appliance
US9833352B2 (en) 2011-08-23 2017-12-05 Mayo Foundation For Medical Education And Research Ostomy devices
US9011395B2 (en) 2012-03-23 2015-04-21 Hollister Incorporated Drainable ostomy pouch
CA2874284C (en) 2012-05-25 2020-02-11 Coloplast A/S Comfort layer for a collecting bag
US8740865B2 (en) 2012-05-31 2014-06-03 International Business Machines Corporation Ostomy appliance wear time prediction
JP5902744B2 (ja) * 2014-04-23 2016-04-13 コンバテック・テクノロジーズ・インコーポレイテッドConvatec Technologies Inc 排水可能なオストミーパウチ
US10813786B2 (en) * 2014-07-16 2020-10-27 Coloplast A/S Drainable collection bag
BR112018007554A2 (pt) * 2015-10-14 2018-10-23 Convatec Technologies Inc dispositivo médico com sistema de abertura
WO2018136793A1 (en) * 2017-01-20 2018-07-26 Hollister Incorporated Drainable ostomy pouch
DE102017113444A1 (de) * 2017-06-19 2018-12-20 FOR LIFE - Produktions- und Vertriebsgesellschaft für Heil- und Hilfsmittel mbH Entleerbarer Ostomiebeutel
GB2566723B (en) * 2017-09-22 2022-02-23 Salts Healthcare Ltd A drainable ostomy appliance
GB2566719B (en) * 2017-09-22 2022-03-16 Salts Healthcare Ltd A drainable ostomy appliance
US11406525B2 (en) 2017-11-09 2022-08-09 11 Health And Technologies Limited Ostomy monitoring system and method
EP4470512A3 (en) * 2018-03-15 2025-01-22 Coloplast A/S Methods for future operating state and related accessory devices of an ostomy system, and ostomy systems
USD893514S1 (en) 2018-11-08 2020-08-18 11 Health And Technologies Limited Display screen or portion thereof with graphical user interface
EP4157168A1 (en) * 2020-06-02 2023-04-05 ConvaTec Limited An ostomy pouch
GB202008256D0 (en) * 2020-06-02 2020-07-15 Convatec Ltd An ostomy pouch
AU2021361238A1 (en) 2020-10-15 2023-05-25 Convatec Technologies Inc. Ostomy systems and methods
GB2609884B (en) * 2021-03-05 2025-09-03 Welland Medical Ltd Drainable ostomy pouch
GB202107773D0 (en) * 2021-06-01 2021-07-14 Convatec Ltd An ostomy pouch
JP2023008944A (ja) * 2021-07-06 2023-01-19 アルケア株式会社 ストーマ装具
US12220342B2 (en) * 2021-12-29 2025-02-11 Hollister Incorporated Ostomy pouch closure system
LT4284311T (lt) * 2021-12-29 2024-07-10 Hollister Incorporated Ostomijos maišelio uždarymo sistema
US11826276B2 (en) * 2022-01-31 2023-11-28 Hollister Incorporated Outlet closure and securement system for drainable pouch

Citations (7)

* Cited by examiner, † Cited by third party
Publication number Priority date Publication date Assignee Title
US3690320A (en) * 1970-10-12 1972-09-12 Int Paper Co Ostomy bag and deodorizing packet therefor
US3825005A (en) * 1973-02-26 1974-07-23 Marlen Mfg And Dev Co Resealable closure for ileostomy bag
GB2000683A (en) * 1977-07-05 1979-01-17 Squibb & Sons Inc Ostomy appliance
JPS5593040A (en) * 1978-12-28 1980-07-15 Howmedica Collection device
US5457855A (en) * 1994-02-28 1995-10-17 Velcro Industries, B.V. Woven self-engaging fastener
WO2001028470A1 (en) * 1999-10-20 2001-04-26 Coloplast A/S A drainable collection bag for human body wastes
US6336918B1 (en) * 1997-11-19 2002-01-08 Coloplast A/S Collecting bag for human body wastes having an improved discharge means

Family Cites Families (15)

* Cited by examiner, † Cited by third party
Publication number Priority date Publication date Assignee Title
US2520831A (en) 1949-07-11 1950-08-29 Edwin R Chincholl Abdominal appliance
US2875451A (en) 1955-07-11 1959-03-03 Stegeman Wilson Flexible urinal
US3724461A (en) 1971-10-20 1973-04-03 M Eisenberg Container with self-closing one-way valve
US4755177A (en) * 1977-12-27 1988-07-05 E. R. Squibb & Sons, Inc. Closures for open ended ostomy pouch
JPH0326997U (ja) * 1989-07-27 1991-03-19
GB2268065B (en) * 1992-06-24 1996-01-03 Welland Medical Ltd Drainable collection bag
DK172802B1 (da) * 1994-12-22 1999-07-26 Coloplast As Opsamlingspose for menneskelige legemssekreter, navnlig ostomipose, og lukkeclips til lukning af en pose
FR2735360B1 (fr) 1995-06-14 1997-12-19 Cailleteau Benoit Poche de securite, notamment hygienique
GB9605438D0 (en) 1996-03-15 1996-05-15 Welland Medical Ltd Ostomy bags
DK173411B2 (da) * 1998-06-19 2007-04-16 Coloplast As Opsamlingspose til menneskelige legemssekreter
JP3877451B2 (ja) * 1998-10-30 2007-02-07 ユニ・チャーム株式会社 尿取りパッド
GB2346328B (en) 1999-02-04 2003-12-03 Pelican Healthcare Ltd Drainable ostomy pouch
DK1408894T3 (da) * 2001-06-15 2006-06-12 Hollister Inc Drænbar stomipose og lukkeorgan hertil
AU2002353926A1 (en) * 2002-02-08 2003-09-02 Hollister Incorporated Ostomy pouch with bias members and closure means
DK174983B1 (da) * 2002-04-10 2004-04-05 Hollister Inc Tømbar stomipose med integreret lukke

Patent Citations (8)

* Cited by examiner, † Cited by third party
Publication number Priority date Publication date Assignee Title
US3690320A (en) * 1970-10-12 1972-09-12 Int Paper Co Ostomy bag and deodorizing packet therefor
US3825005A (en) * 1973-02-26 1974-07-23 Marlen Mfg And Dev Co Resealable closure for ileostomy bag
GB2000683A (en) * 1977-07-05 1979-01-17 Squibb & Sons Inc Ostomy appliance
JPS5593040A (en) * 1978-12-28 1980-07-15 Howmedica Collection device
US5457855A (en) * 1994-02-28 1995-10-17 Velcro Industries, B.V. Woven self-engaging fastener
US6336918B1 (en) * 1997-11-19 2002-01-08 Coloplast A/S Collecting bag for human body wastes having an improved discharge means
WO2001028470A1 (en) * 1999-10-20 2001-04-26 Coloplast A/S A drainable collection bag for human body wastes
JP2003511203A (ja) * 1999-10-20 2003-03-25 コロプラスト アクティーゼルスカブ 人体排泄物用のドレン可能な収集袋

Cited By (1)

* Cited by examiner, † Cited by third party
Publication number Priority date Publication date Assignee Title
JP2016055891A (ja) * 2014-09-09 2016-04-21 株式会社フジシール パウチ容器用包材およびパウチ容器

Also Published As

Publication number Publication date
AU2003208148B2 (en) 2009-03-12
JP2004130084A (ja) 2004-04-30
US20040049837A1 (en) 2004-03-18
US7722585B2 (en) 2010-05-25
NZ535096A (en) 2006-04-28
AU2003208148A1 (en) 2004-01-22
US20080051743A1 (en) 2008-02-28
GB0215381D0 (en) 2002-08-14
DE60328944D1 (de) 2009-10-08
JP4571382B2 (ja) 2010-10-27
US7306581B2 (en) 2007-12-11
CA2433926C (en) 2013-09-10
ES2352950T3 (es) 2011-02-24
MXPA03006037A (es) 2005-02-14
NZ526872A (en) 2004-12-24
EP1378218A1 (en) 2004-01-07
CA2433926A1 (en) 2004-01-04
AU2003208148B9 (en) 2009-04-23
ZA200305178B (en) 2005-03-30
DK2163228T3 (en) 2015-10-26
EP2163228B1 (en) 2015-09-16
GB2391175A (en) 2004-02-04
EP1378218B1 (en) 2009-08-26
EP2163228A1 (en) 2010-03-17
ES2551122T3 (es) 2015-11-16
DK1378218T3 (da) 2011-01-10
JP5043090B2 (ja) 2012-10-10
ATE440579T1 (de) 2009-09-15
GB2391175B (en) 2005-12-28

Similar Documents

Publication Publication Date Title
JP5043090B2 (ja) 人排泄物収集パウチ
US8905987B2 (en) Drainable ostomy pouch with concealed drain chute
HU224458B1 (hu) Perem és gyűjtőzsák sztómaeszközhöz, valamint sztómaeszköz
JP2010524645A (ja) 排液可能パウチ用閉鎖システム
JP7692534B2 (ja) オストミーパウチ閉鎖システム
JPH02172470A (ja) 内科―外科的収集バッグ アセンブリ及びオストミー バッグ アセンブリ
JP7652991B2 (ja) オストミーパウチ閉鎖システム
JP5902744B2 (ja) 排水可能なオストミーパウチ

Legal Events

Date Code Title Description
A711 Notification of change in applicant

Free format text: JAPANESE INTERMEDIATE CODE: A711

Effective date: 20110523

A131 Notification of reasons for refusal

Free format text: JAPANESE INTERMEDIATE CODE: A131

Effective date: 20111122

A601 Written request for extension of time

Free format text: JAPANESE INTERMEDIATE CODE: A601

Effective date: 20120221

A602 Written permission of extension of time

Free format text: JAPANESE INTERMEDIATE CODE: A602

Effective date: 20120224

A601 Written request for extension of time

Free format text: JAPANESE INTERMEDIATE CODE: A601

Effective date: 20120321

A602 Written permission of extension of time

Free format text: JAPANESE INTERMEDIATE CODE: A602

Effective date: 20120326

A601 Written request for extension of time

Free format text: JAPANESE INTERMEDIATE CODE: A601

Effective date: 20120423

A602 Written permission of extension of time

Free format text: JAPANESE INTERMEDIATE CODE: A602

Effective date: 20120426

A521 Request for written amendment filed

Free format text: JAPANESE INTERMEDIATE CODE: A523

Effective date: 20120522

TRDD Decision of grant or rejection written
A01 Written decision to grant a patent or to grant a registration (utility model)

Free format text: JAPANESE INTERMEDIATE CODE: A01

Effective date: 20120612

A01 Written decision to grant a patent or to grant a registration (utility model)

Free format text: JAPANESE INTERMEDIATE CODE: A01

A61 First payment of annual fees (during grant procedure)

Free format text: JAPANESE INTERMEDIATE CODE: A61

Effective date: 20120711

R150 Certificate of patent or registration of utility model

Ref document number: 5043090

Country of ref document: JP

Free format text: JAPANESE INTERMEDIATE CODE: R150

Free format text: JAPANESE INTERMEDIATE CODE: R150

FPAY Renewal fee payment (event date is renewal date of database)

Free format text: PAYMENT UNTIL: 20150720

Year of fee payment: 3

R250 Receipt of annual fees

Free format text: JAPANESE INTERMEDIATE CODE: R250

R250 Receipt of annual fees

Free format text: JAPANESE INTERMEDIATE CODE: R250

R250 Receipt of annual fees

Free format text: JAPANESE INTERMEDIATE CODE: R250

R250 Receipt of annual fees

Free format text: JAPANESE INTERMEDIATE CODE: R250

R250 Receipt of annual fees

Free format text: JAPANESE INTERMEDIATE CODE: R250

R250 Receipt of annual fees

Free format text: JAPANESE INTERMEDIATE CODE: R250

R250 Receipt of annual fees

Free format text: JAPANESE INTERMEDIATE CODE: R250

R250 Receipt of annual fees

Free format text: JAPANESE INTERMEDIATE CODE: R250

EXPY Cancellation because of completion of term