JP2010055393A - 認証システム、認証制御方法、及び認証制御プログラム - Google Patents

認証システム、認証制御方法、及び認証制御プログラム Download PDF

Info

Publication number
JP2010055393A
JP2010055393A JP2008219973A JP2008219973A JP2010055393A JP 2010055393 A JP2010055393 A JP 2010055393A JP 2008219973 A JP2008219973 A JP 2008219973A JP 2008219973 A JP2008219973 A JP 2008219973A JP 2010055393 A JP2010055393 A JP 2010055393A
Authority
JP
Japan
Prior art keywords
authentication
information
terminal
information terminal
external storage
Prior art date
Legal status (The legal status is an assumption and is not a legal conclusion. Google has not performed a legal analysis and makes no representation as to the accuracy of the status listed.)
Granted
Application number
JP2008219973A
Other languages
English (en)
Other versions
JP5040860B2 (ja
Inventor
Tomohiko Takeshita
智彦 竹下
Current Assignee (The listed assignees may be inaccurate. Google has not performed a legal analysis and makes no representation or warranty as to the accuracy of the list.)
NEC Corp
Original Assignee
NEC Corp
Priority date (The priority date is an assumption and is not a legal conclusion. Google has not performed a legal analysis and makes no representation as to the accuracy of the date listed.)
Filing date
Publication date
Application filed by NEC Corp filed Critical NEC Corp
Priority to JP2008219973A priority Critical patent/JP5040860B2/ja
Publication of JP2010055393A publication Critical patent/JP2010055393A/ja
Application granted granted Critical
Publication of JP5040860B2 publication Critical patent/JP5040860B2/ja
Expired - Fee Related legal-status Critical Current
Anticipated expiration legal-status Critical

Links

Images

Abstract

【課題】本発明は、導入コストが高価になり認証データの改ざんの機会を防止可能な認証システムを提供する。
【解決手段】情報端末20、情報端末と接続され情報端末を外部から制御可能な外部記憶装置10、情報端末からのアクセス許可を認証可能な管理装置30・40を含む。外部記憶装置は、媒体固有情報を記憶し自身が情報端末に装着した状態で情報端末を起動すると媒体固有情報を取得して情報端末を介して管理装置に向けて送信制御する。管理装置は、予め登録された登録媒体固有情報を記憶し送信された媒体固有情報を受信し媒体固有情報と登録媒体固有情報に基づいてアクセス許可に関する第1の認証をする。
【選択図】図1

Description

本発明は、認証システム、管理装置、外部記憶装置、認証制御方法、管理装置用認証制御プログラム、及び外部記憶装置用認証制御プログラムに関する。
クライアント・サーバシステムでは、クライアント(情報端末)からサーバ(管理装置)にアクセスするには、多くの場合、クライアント用の情報端末に予め専用ソフトウェアをインストールする必要がある。
このため、外出先の環境などに用意された情報端末を利用する場合、クライアント用の専用ソフトウェアをインストールすることができないため、外出先からサーバにアクセスすることができない。
この際、サーバにアクセスするためには、外出先に前記専用ソフトウェアをインストールした情報端末(例えばノートPCなど)を用意したり、持ち運んだりする必要があった。
このような情報端末自体を持ち運ぶことなくサーバにアクセスする手法として、外部記憶媒体を用いる手法が挙げられる。
具体的には、USBメモリやフラッシュディスク、CD−ROMなどの外部記憶媒体から直接オペレーティングシステムを起動することのできる計算機を利用して、サーバにアクセスする。
これにより、オペレーティングシステムを持ち運び可能な外部記憶媒体に記憶させておき、会社、自宅、訪問先、インターネットカフェなど環境において計算機を利用して、場所を選ばずにオペレーティングシステムを起動し、クライアント・サーバシステムのクライアントとして利用できる。
しかし、外部記憶媒体から起動する手法でサーバアクセスをする場合、ユーザ名とパスワード等をベースとした一般的な認証では、ユーザ名とパスワードが漏洩した場合、誰でもサーバへアクセスできる危険があり、認証の仕組みを強化する必要がある。
この認証の仕組みを強化する手法としては、ハードウェアによる認証が考えられ、USBトークンを用いた認証方法やTPMチップを用いた認証などやその他の様々な認証が挙げられる。
また、このような認証の仕組みに関連する技術として、例えば以下に示す特許文献1などが挙げられる。
特許文献1では、携帯端末装置がDBカードをアクセスする際、このカード内の「ハード識別番号」と自己の「ハード識別番号」とを照合し、その照合結果に基づいて当該DBカードに対するアクセス可否を決定する。
ここで、「ハード識別番号」は、携帯端末装置とDBカードとを対応付けておくために予め携帯端末装置やDBカードに書き込まれたものである。すなわち、サーバ装置が携帯端末装置やDBカードへ書き込むための内容を予めテーブル設定しておく際に、「ハード識別番号」は、同一グループに属する携帯端末装置のうち、いずれか一台の端末から読み込んだ固有の端末識別情報(製造番号)に応じて生成されたもので、サーバ装置はグループ対応の各携帯端末装置およびそれらの端末で利用される各DBカード内に、ハード識別番号をそれぞれ書き込む。
したがって、同一グループに属する各携帯端末装置および各DBカード内には、それぞれ同一のハード識別番号が共通のアクセス制限情報としてそれぞれ書き込まれる。
特許文献1では、セキュリティ管理システムは、例えば、会社組織において会社側に設置させているサーバ装置と、各営業担当者が持参するモバイル型のクライアント端末(携帯端末装置)と、この携帯端末装置にセットされて利用される可搬型記憶媒体とを有している。
そして、サーバ装置側で記憶管理されているアプリケーションソフト/データベース等を持ち運び自在な可搬型記憶媒体を介して携帯端末装置側に外部提供するようにしており、この記憶媒体にデータベース等を書き込んで端末装置へ配布する際に、サーバ装置は当該端末と記憶媒体とを対応付けるための情報を設定したり、各種のセキュリティ対策を講じることによって、記憶媒体内のアプリケーションソフト/データベース等が第三者によって不正コピーされたり、情報が漏洩されることを確実に防止するようにしたものである。
特許文献1では、各営業担当者は、外出先で可搬型記憶媒体3内のアプリケーションソフト/データベースをアクセスしながら営業活動を行い、そして、1日の営業終了時に端末本体から可搬型記憶媒体を抜き取り、それをサーバ装置側のカードリーダ/ライタにセツトすると、サーバ装置はカードリーダ/ライタを介して記憶媒体内の営業記録を収集処理するようにしている。そして、サーバ装置と複数台の携帯端末装置とはシリアルケーブルを介して着脱自在に接続可能となっている。
特開2001−195311号公報
ところで、このような関連技術のUSBトークンを用いた認証方法やTPMチップを用いたハードウェアによる認証手法では、導入コストが高価であるなどの課題があった。
また、PCに内蔵されたTPM(トラスティッドプラットフォームモジュール)チップを用いて、固有の情報端末を識別する場合、利用するすべての情報端末がTPMチップを実装しているわけではなく、すべての機器の入れ替えを必要とする環境への適用は非常に難しい上、TPMチップを搭載した比較的重量の重い専用の情報端末を持ち運ぶ必要があった。
加えて、特許文献1では、各携帯端末装置および各DBカード内にそれぞれ同一の端末識別情報(製造番号)を書き込むためDBカードと端末とを個別に識別することはできす、さらには、利用者が自由に触れることができる情報端末側に認証データを保持することで、認証データの改ざんの機会が増加するなどセキュリティ上認証強度が弱くなり、サーバへの不正アクセスが生じる可能性が高まる、という課題があった。
本発明の目的は、上述の関連技術の課題を解決することにあり、TPMチップなどを搭載した専用の情報端末を持ち運ぶ必要がなく、サーバへの不正アクセスを防止可能とした比較的安価な認証システム、管理装置、外部記憶装置、認証制御方法、管理装置用認証制御プログラム、及び外部記憶装置用認証制御プログラムを提供することにある。
上記目的を達成するため、本発明にかかる認証システムは、情報端末と、この情報端末に接続され当該情報端末を外部から制御可能な外部記憶装置と、前記情報端末からのアクセス要求に対しては当該アクセス要求にかかる機器に対する認証を前提として許容する認証機能を備えた管理装置と、を含み、前記外部記憶装置は、当該自己の識別情報である媒体固有情報を記憶した媒体固有情報記憶手段と、この記憶された媒体固有情報を認証データとして前記情報端末を介して前記管理装置に向けて送信制御する端末用制御手段と、を含み、前記管理装置は、前記外部記憶装置の識別用として予め登録された既登録媒体固有情報を記憶した登録媒体固有情報記憶手段と、この既登録媒体固有情報と前記情報端末を介して送られてくる媒体固有情報とに基づいて前記外部記憶装置にかかる第1の認証動作を実行する管理側制御手段と、を含み、前記管理側制御手段は、前記認証動作によって前記外部記憶装置を認証した場合に前記管理装置に対する前記情報端末からのアクセス要求を許容するa級アクセス許容機能を備えていることを特徴としている。
本発明の(認証システムにおける)管理装置は、情報端末を外部から制御可能な外部記憶装置を前記情報端末に接続し、この外部記憶装置付きの情報端末と通信可能に形成され前記情報端末からのアクセス要求に対しては当該アクセス要求にかかる機器に対する認証を前提として許容する認証機能を備えた管理装置であって、前記外部記憶装置を識別するために予め登録された登録媒体固有情報を記憶した登録媒体固有情報記憶手段と、予め前記外部記憶装置に記憶された媒体固有情報を取得した前記外部記憶装置付きの情報端末にから送信された前記媒体固有情報を受信し、この媒体固有情報と前記登録媒体固有情報とに基づいて第1の認証をし、この第1の認証が成功した場合に前記外部記憶装置付きの情報端末からの前記管理装置に対するアクセス要求を許可する管理側制御手段と、を含むことを特徴としている。
本発明の(認証システムにおける)外部記憶装置は、管理装置と通信網を介して通信可能な情報端末と接続され前記情報端末を外部から制御可能な外部記憶装置であって、自身を識別する媒体固有情報を記憶した媒体固有情報記憶手段と、前記媒体固有情報を利用した前記情報端末から前記管理装置へのアクセス要求に関する第1の認証を前記管理装置にて行なうために、自身を前記情報端末に接続された状態で前記情報端末を起動し前記媒体固有情報を取得して前記情報端末を介して前記管理装置に向けて送信制御する端末用制御手段と、を含むことを特徴としている。
本発明の(管理装置側における)認証制御方法は、情報端末を外部から制御可能な外部記憶装置を前記情報端末に接続し、この外部記憶装置付きの情報端末と通信可能に形成され前記情報端末からのアクセス要求に対しては当該アクセス要求にかかる機器に対する認証を前提として許容する認証機能を備えた管理装置を用いた認証制御方法であって、予め前記外部記憶装置に記憶された媒体固有情報を認証データとして前記情報端末より受信し、前記外部記憶装置の識別用として予め登録された既登録媒体固有情報と、前記媒体固有情報とに基づいて前記外部記憶装置にかかる第1の認証動作を実行し、前記第1の認証動作によって前記外部記憶装置を認証した場合に、前記管理装置に対する前記情報端末からのアクセス要求を許容するa級アクセス許容を行う、ことを特徴としている。
本発明の(情報端末側における)認証制御方法は、管理装置と通信可能な情報端末と接続され前記情報端末を外部から制御可能な外部記憶装置を用いて、この外部記憶装置付きの前記情報端末からの前記管理装置に対するアクセス要求を前記管理装置にて認証する認証制御方法であって、前記外部記憶装置が前記情報端末に接続した状態で前記外部記憶装置から前記情報端末を起動し、予め前記外部記憶装置に記憶された媒体固有情報を取得し、前記媒体固有情報を利用した前記情報端末から前記管理装置へのアクセス要求に関する第1の認証を前記管理装置にて行なうために、前記媒体固有情報を前記情報端末を介して前記管理装置に向けて送信制御し前記第1の認証を実行させる、ことを特徴としている。
本発明の管理装置用認証制御プログラムは、情報端末を外部から制御可能な外部記憶装置を前記情報端末に接続し、この外部記憶装置付きの情報端末と通信可能に形成され前記情報端末からのアクセス要求に対しては当該アクセス要求にかかる機器に対する認証を前提として許容する認証機能を備えた管理装置が備えたコンピュータに諸機能を実現させることが可能な管理装置用認証制御プログラムであって、予め前記外部記憶装置に記憶された媒体固有情報を認証データとして前記情報端末より受信制御する受信制御機能と、前記外部記憶装置の識別用として予め登録された既登録媒体固有情報と、前記媒体固有情報とに基づいて前記外部記憶装置にかかる第1の認証動作を実行する第1の認証動作実行機能と、前記第1の認証動作によって前記外部記憶装置を認証した場合に、前記管理装置に対する前記情報端末からのアクセス要求を許容するa級アクセス許容機能と、を前記コンピュータに実現させることを特徴としている。
本発明の外部記憶装置用認証制御プログラムは、管理装置と通信可能な情報端末と接続され前記情報端末を外部から制御可能な外部記憶装置を用いて、この外部記憶装置付きの前記情報端末からの前記管理装置に対するアクセス要求を前記管理装置にて認証するため、外部記憶装置付きの前記情報端末が備えたコンピュータに諸機能を実現させることが可能な外部記憶装置用認証制御プログラムであって、前記外部記憶装置が前記情報端末に接続した状態で前記外部記憶装置から前記情報端末を起動すると、予め前記外部記憶装置に記憶された媒体固有情報を取得する情報取得機能と、前記媒体固有情報を利用した前記情報端末から前記管理装置へのアクセス許可に関する第1の認証を前記管理装置にて行なうために、前記媒体固有情報を前記情報端末を介して前記管理装置に向けて送信制御し前記第1の認証を実行させる端末用制御機能と、を含む機能を前記コンピュータに実現させることを特徴としている。
本発明によれば、外部記憶装置を用いることで、USBトークンやTPMチップ内蔵の情報端末などと比べ安価に手に入る機材を使って認証を実現でき、他の外部記憶装置に不正に複製されたオペレーティングシステムからサーバへのアクセスなどの不正アクセスを防止できるという、関連技術にない優れた認証システム、管理装置、外部記憶装置、認証制御方法、管理装置用認証制御プログラム、及び外部記憶装置用認証制御プログラムを提供することができる。
〔第1の実施の形態〕
(認証システムの基本的構成)
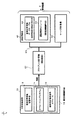
先ず、認証システムの基本的構成について説明する。図1に示すように、本発明の認証システム1は、情報端末としてのクライアント用計算機20と、前記情報端末と接続(又は着脱自在に装着)され前記情報端末を外部から制御可能な外部記憶装置10と、前記外部記憶装置付きの情報端末と通信可能に形成され前記情報端末からのアクセス要求に関する認証を可能とする管理装置2を構成するサーバ用計算機30及び認証用装置40と、を含む構成としている。
ここで、管理装置2は、前記情報端末からのアクセス要求に対しては当該アクセス要求にかかる機器(情報端末及び/又は外部記憶装置)に対する認証を前提として許容する認証機能を備える。
外部記憶装置10は、自身を識別する(自己の識別情報である)媒体固有情報を記憶した媒体固有情報記憶手段12と、自身が前記情報端末に接続した状態で前記情報端末を起動すると前記媒体固有情報を取得して前記情報端末を介して前記管理装置に向けて送信制御する端末用制御手段としてのオペレーティングシステム14及び媒体固有情報取得モジュール16と、を含む構成としている。
端末用制御手段は、この記憶された媒体固有情報を認証データとして前記情報端末を介して前記管理装置に向けて送信制御する送信制御機能(第0送信制御機能)を備える。
管理装置2を構成する認証用装置40は、前記外部記憶装置を識別する識別用として予め登録された登録媒体固有情報(既登録媒体固有情報)を記憶した登録媒体固有情報記憶手段(既登録媒体固有情報記憶手段)としての媒体固有情報データテーブル42と、送信された前記媒体固有情報を受信し、この媒体固有情報と前記登録媒体固有情報とに基づいて前記情報端末からのアクセス要求に関する第1の認証をし、この第1の認証が成功した場合に前記外部記憶装置付きの情報端末からの前記管理装置に対するアクセス要求を許可する管理側制御手段としての認証制御モジュール43と、を含む構成としている。
管理側制御手段は、この既登録媒体固有情報と前記情報端末を介して送られてくる媒体固有情報とに基づいて前記外部記憶装置にかかる第1の認証動作を実行する機能を備える。
また、前記管理側制御手段は、前記認証動作によって前記外部記憶装置を認証した場合に前記管理装置に対する前記情報端末からのアクセス要求を許容するa級アクセス許容機能を備える。
このような認証システムでは、オペレーティングシステム、およびクライアント機能を持ったソフトウェアを含む外部記憶媒体を持ち運ぶことで、端末自体を持ち運ぶ必要なく、外出先などの計算機に外部記憶装置を接続するオペレーティングシステムを起動し、認証を行いサーバにアクセスすることが可能になる。
ここで、ハードディスクやUSBメモリ、CFカード、SDカード、CD−ROMなどの外部記憶装置はプログラム上から取り出せる領域に、シリアル番号やベンダIDなどの各媒体で固有の情報を持つものがある。
そして、上述の認証システムでは、持ち運びに便利な外部記憶媒体にサーバクライアントシステムのクライアント機能のあるソフトウェアをオペレーティングシステムとともにインストールし、サーバへのアクセスの際には、外部記憶装置のシリアル番号等ソフトウェア的に、ほかの媒体に複製できない外部記憶媒体固有の一意に定まる情報を基にした情報を要求する。
これにより、ほかの外部記憶媒体に不正に複製されたオペレーティングシステムからサーバへのアクセスなどの不正アクセスを防ぐことができる。
また、上述の認証システムでは、USBメモリやSDカードなどの外部記憶装置を用いることで、USBトークンやTPMチップ内蔵のPCなどと比べ安価に手に入る機材を使っても外部記憶装置による認証を実現することができる。
このように、脱着可能な外部記憶媒体から起動したオペレーティングシステムを用いてサーバにアクセスする際に、起動する媒体の固有情報を用いて認証を行う媒体認証により、外部記憶媒体のオペレーティングシステムを含むソフトウェアを複製しても、複製したソフトウェアがサーバへのアクセスが認められず、不正利用を防止できる。
以下、このような本発明の「認証システム」のさらに詳細な実施の形態の一例について、図面を参照して具体的に説明する。
(認証システムの全体構成)
先ず、本実施の形態の認証システムの具体的構成について、全体構成から説明し、続いて各部の詳細構成について説明することとする。図1は、本発明における第1実施の形態の認証システムの全体の概略構成の一例を示すブロック図である。
図1に示すように、本実施の形態の認証システム1は、情報端末としてのクライアント用計算機20と、クライアント用計算機20と接続(又は着脱自在に装着)されクライアント用計算機20を外部から制御可能な外部記憶装置10と、前記外部記憶装置付きのクライアント用計算機20と通信網CNを介して通信可能に形成されクライアント用計算機20からのアクセス許可(アクセス要求)を認証可能な管理装置2を構成するサーバ用計算機30及び認証用装置40と、を含む構成としている。
クライアント用計算機20と認証用装置40、およびサーバ用計算機30は、有線・無線等の通信網CNであるネットワーク経路を介して互いに通信接続される。
ここで、管理装置2は、前記情報端末からのアクセス要求に対しては当該アクセス要求にかかる機器に対する認証を前提として許容する認証機能を備える。
外部記憶装置10は、自身を識別する(自己の識別情報である)媒体固有情報を記憶した媒体固有情報記憶手段12と、自身が前記クライアント用計算機20に接続した状態で前記クライアント用計算機20を起動すると前記媒体固有情報を取得してクライアント用計算機20を介して前記管理装置に向けて送信制御する端末用制御手段13としてのオペレーティングシステム14及び媒体固有情報取得モジュール16と、を含む構成としている。
外部記憶装置10は、クライアント用計算機20におけるUSBポートやCFカードスロット、PCカードインターフェース、CD−ROMドライブなどのリムーバブルメディア用インターフェース、各種スマートメディア用インターフェースなど、クライアント用計算機20が、オペレーティングシステム14を起動できる方式で接続される。
媒体固有情報記憶手段12は、ハードウェア固有のベンダIDやシリアル番号などのような、媒体を一意に認識できる媒体固有情報を有する。
また、ベンダIDとデバイスIDとを組み合わせることもできる。あるいは、必要に応じてサブシステムベンダIDなどを組み合わせることもできる。
例えばスマートメディアの場合、IDI(ID infomation fields)領域のコードを用いることもできる。
オペレーティングシステム14は、クライアント用計算機20を外部記憶装置10から直接起動が可能なように構成される。
オペレーティングシステム14は、種々のOSを採用でき、ネットワークOSなどが好ましい。また、セキュアOSのように標準的OSがカスタマイズされたものであってもよい。
媒体固有情報取得モジュール16は、オペレーティングシステム14上で媒体固有情報を取得する処理を行う。
これにより、端末用制御手段13は、前記媒体固有情報を利用した前記情報端末から前記管理装置へのアクセス許可に関する第1の認証を前記管理装置にて行なうために、自身を前記情報端末に接続された状態で前記情報端末を起動し前記媒体固有情報を取得して前記情報端末を介して前記管理装置に向けて送信制御する機能を備えてよい。
端末用制御手段13は、この記憶された媒体固有情報を認証データとして前記情報端末を介して前記管理装置に向けて送信制御する送信制御機能(第0送信制御機能)を備えてよい。
管理装置を構成する認証用装置40は、前記外部記憶装置を識別する識別用として予め登録された登録媒体固有情報(既登録媒体固有情報)を記憶した登録媒体固有情報記憶手段(既登録媒体固有情報記憶手段)としての媒体固有情報データテーブル42と、送信された前記媒体固有情報を受信し、この媒体固有情報と前記登録媒体固有情報とに基づいて前記情報端末からのアクセス要求に関する第1の認証をし、この第1の認証が成功した場合に前記外部記憶装置付きの情報端末からの前記管理装置に対するアクセス要求を許可する管理側制御手段としての認証制御モジュール43と、を含む構成としている。
媒体固有情報データテーブル42は、アクセスを許可する外部記憶装置10の媒体固有情報を登録してリスト化した登録媒体固有情報を有する。
認証制御モジュール43は、この既登録媒体固有情報と前記情報端末を介して送られてくる媒体固有情報とに基づいて前記外部記憶装置にかかる第1の認証動作を実行する機能を備える。
また、認証制御モジュール43は、前記認証動作によって前記外部記憶装置を認証した場合に前記管理装置に対する前記情報端末からのアクセス要求を許容するa級アクセス許容機能を備える。
ここで、認証用装置40は、サーバ用計算機30にソフトウェアとして実装してもよく、その場合はまとめて一つの管理装置を構成できる。
クライアント用計算機20、サーバ用計算機20、認証用装置40は、プログラム制御により動作するものであり、ネットワーク関連の通信機能を有していれば、デスクトップ、ラップトップコンピュータ、その他無線・有線通信機能を有する情報機器、情報家電機器、またはこれに類するコンピュータなどいかなるコンピュータでもよく、移動式・固定式を問わない。
クライアント用計算機20、サーバ用計算機20、認証用装置40のハードウエア構成は、それぞれ、種々の情報等を表示するための表示部(スクリーン)、この表示部の表示画面上(の各種入力欄等)にデータを操作入力するための操作入力部(例えばキーボード・マウス・各種ボタン・表示操作部<画面上のボタン>・タッチパネル等)、各種信号・データを送受信するための送受信部ないしは通信部(モデムなど)、各種プログラム・各種データを記憶しておく記憶部(例えばメモリ、ハードディスク等)、これらの制御を司る制御部(例えばCPU、MPU、DSP等)などを有することができる。
ただし、クライアント用計算機20は、シンクライアント(ネットワークコンピュータ)であることが好ましい。この場合、記憶部のハードディスクなどは不要となる。
(動作について)
(全体の概略動作)
次に、上述のような構成を有する認証システムの全体の概略動作について説明する。
本実施の形態に係る認証システムにおける動作を示す認証制御手順は、情報端末を外部から制御可能な外部記憶装置を前記情報端末に接続(又は着脱自在に装着)し、この外部記憶装置付きの情報端末と通信可能に形成され前記情報端末からのアクセス要求に対しては当該アクセス要求にかかる機器に対する認証を前提として許容する認証機能を備えた管理装置を用いたものを対象とする。
この認証制御手順は、管理装置側における基本的手順として、予め前記外部記憶装置に記憶された媒体固有情報を認証データとして前記情報端末より受信し(例えば図2に示すステップA15:受信制御ステップないしは受信制御機能)、前記外部記憶装置の識別用として予め登録された既登録媒体固有情報と、前記媒体固有情報とに基づいて前記外部記憶装置にかかる第1の認証動作を実行し(例えば図2に示すステップA16:第1の認証動作実行ステップないしは機能)、前記第1の認証動作によって前記外部記憶装置を認証した場合に、前記管理装置に対する前記情報端末からのアクセス要求を許容するa級アクセス許容を実行する(例えば図2に示すステップA17:a級アクセス許容ステップないしは機能)手順を行う。
すなわち、予め前記外部記憶装置に記憶された媒体固有情報を取得した前記外部記憶装置付きの情報端末から送信された前記媒体固有情報を受信し、この媒体固有情報と予め登録された登録媒体固有情報とに基づいて第1の認証をし、この第1の認証が成功した場合に前記外部記憶装置付きの情報端末からの前記管理装置に対するアクセス要求を許可する。
また、この認証制御手順は、管理装置と通信可能な情報端末と接続(又は着脱自在に装着)され前記情報端末を外部から制御可能な外部記憶装置を用いて、この外部記憶装置付きの前記情報端末からの前記管理装置に対するアクセス要求を前記管理装置にて認証するものを対象とする。
この認証制御手順は、情報端末側における基本的手順として、前記外部記憶装置が前記情報端末に接続した状態で前記外部記憶装置から前記情報端末を起動し(例えば図2に示すステップA12)、予め前記外部記憶装置に記憶された媒体固有情報を取得し(例えば図2に示すステップA13)、前記媒体固有情報を利用した前記情報端末から前記管理装置へのアクセス要求に関する第1の認証を前記管理装置にて行なうために、前記媒体固有情報を前記情報端末を介して前記管理装置に向けて送信制御し(例えば図2に示すステップA14)前記第1の認証を実行させる手順を行う。
(詳細動作)
以下、これらの各種の動作処理手順の詳細について、図2を参照しつつ説明する。図2は、図1の認証システムにおける処理手順の一例を示すフローチャートである。
先ず、サーバ用計算機30又は認証用装置40が保有する操作入力部を用いることによって、認証用装置40は、サーバ用計算機30へのアクセス(アクセス要求)を許可するアクセス許可条件(例えば外部記憶装置10の媒体固有情報、又は媒体固有情報をもとにした情報など)を媒体固有情報データテーブル42に登録する(図2に示すステップA11:媒体固有情報登録ステップないしは媒体固有情報登録機能)。
これにより、媒体固有情報データベース42は、登録媒体固有情報が格納される。
次に、外部記憶装置10をクライアント用計算機20に接続(装着)すると(又は装着した状態でクライアント用計算機20の電源を投入すると)、クライアント用計算機20は、外部記憶装置10に搭載されたオペレーティングシステム14を起動制御し、ネットワークコンピュータとしての諸機能を実現可能な状態となる(図2に示すステップA12:起動制御ステップないしは起動制御機能)。
続いて、オペレーティングシステム14が起動することで媒体固有情報取得モジュールが動作する。
外部記憶装置10の媒体固有情報取得モジュール16は、媒体固有情報記憶手段12から媒体固有情報を取得する(図2に示すステップA13:媒体固有情報取得ステップないしは媒体固有情報取得機能)。
その後、クライアント用計算機20は、サーバ用計算機30に対しアクセス要求を送信し、サーバ用計算機30へのアクセスを試みる(図2ステップA14:アクセス要求(媒体固有情報)送信ステップないしはアクセス要求送信機能)。
このアクセス要求には、外部記憶装置10の媒体固有情報が含まれる。
一方、サーバ用計算機30は、クライアント用計算機20からの(媒体固有情報を含む)アクセス要求を受信する。
そして、サーバ用計算機30は、認証用装置40の媒体固有情報データテーブル42に、一致する情報(登録媒体固有情報)があるかを問い合わせる処理を行うことができる(図2に示すステップA15:媒体固有情報受信制御ステップないしは媒体固有情報受信制御機能)。
認証用装置40の認証制御モジュール43は、クライアント用計算機20で起動に使われた外部記憶装置10がステップA11で定めたアクセス許可条件に適合しているか否かの判定を行う(図2に示すステップA16:アクセス許可条件判定ステップないしはアクセス許可条件判定機能)。
ここで、本実施の形態では、アクセス許可条件の判定として第1の認証を行う。この第1の認証では、認証用装置40の認証制御モジュール43が、クライアント用計算機20から送信されてきた外部記憶装置10の媒体固有情報と、認証用装置40に予め登録された登録媒体固有情報とを照合する。
認証用装置40の認証制御モジュール43は、ステップA16において媒体固有情報データテーブル42に一致する情報があると判定した場合には、クライアント用計算機20からサーバ用計算機30へのアクセスを許可する処理を行う(図2に示すステップA17:アクセス許可制御ステップないしはアクセス許可制御機能)。
一方、認証用装置40の認証制御モジュール43は、ステップA16において一致する情報が存在しないと判定した場合には、サーバ用計算機30への接続を不許可とする処理を行う(図2ステップA17:アクセス不許可制御ステップないしはアクセス不許可制御機能)。
例えば、ユーザなどに不許可である旨のメッセージを通知し、クライアント計算機20の電源をシャットダウンさせることもできる。
ここで、以上のステップA16、ステップA17、ステップA18からなるステップは、認証制御ステップないしは認証制御機能の一例ということもできる。
この認証制御機能では、媒体固有情報と予め登録された登録媒体固有情報とに基づいて第1の認証をし、この第1の認証が成功した場合に前記外部記憶装置付きの情報端末からの前記管理装置に対するアクセスを許可する認証制御を行うことができる。
また、以上のステップA15は、受信制御ステップないしは受信制御機能ということもできる。この受信制御機能では、予め前記外部記憶装置に記憶された媒体固有情報を取得した前記外部記憶装置付きの情報端末から送信された前記媒体固有情報を受信制御することができる。
さらに、以上のステップA12、ステップA13からなるステップは、情報取得ステップないしは情報取得機能の一例ということもできる。
この情報取得機能では、前記外部記憶装置が前記情報端末に接続した状態で前記外部記憶装置から前記情報端末を起動すると、予め前記外部記憶装置に記憶された媒体固有情報を取得することができる。
さらにまた、以上のステップA14は、端末用制御ステップないしは端末用制御機能の一例ということもできる。
この端末用制御機能では、前記媒体固有情報を利用した前記情報端末から前記管理装置へのアクセス許可に関する第1の認証を前記管理装置にて行なうために、前記媒体固有情報を前記情報端末を介して前記管理装置に向けて送信制御し前記第1の認証を実行させることができる。
以上のように本実施の形態によれば、以下の効果を奏することができる。
すなわち、第一の効果は、サーバへのアクセスの際に、オペレーティングシステム起動媒体自体の媒体固有情報をもとにデバイス認証を行うことである。
第二の効果は、複製品によるサーバへの不正アクセスを防ぐことができる点である。
オペレーティングシステムや媒体固有情報取得モジュールを外部記憶装置不正に複製しても、その外部記憶装置からサーバへのアクセスが、認証用装置での認証の段階で許可されず、不正な利用を防ぐことができるためである。
第三の効果は、オペレーティングシステムを含んだ外部記憶媒体を用い、その媒体自体固有の情報を使い認証ができるので、起動用媒体以外にICカードやUSBドングルなど別途認証専用デバイスを必要としない点である。
第四の効果は、特別に専用のデバイスを必要とせず、ベンダIDやシリアル番号などの媒体固有情報の取得でき、オペレーティングシステムを格納することのできる媒体であれば、媒体の種別を選ばない点である。
第五の効果は、端末側ではなく接続先の認証を用いて行うので、接続の管理を認証用装置で行うことができる点である。
第六の効果は、外出先のPCから利用しても、認証用装置に登録された外部記憶装置から起動したオペレーティングシステムで、接続することがサーバへのアクセス条件となるので、例え内蔵ディスクがウイルス感染したPCからサーバにアクセスしたとしても、外部記憶装置から起動したオペレーティングシステムを利用し、内蔵ディスク自体を使わないので、安全にサーバへアクセスできる点である。
さらに、特許文献1では、サーバ側で認証情報を管理する場合と比較し、端末利用者が自由に触れることができる端末側に認証データを保持することで、認証データの改ざんの機会が増加するなどセキュリティ上認証強度が弱くなるが、本実施の形態では端末利用者に触れられないサーバ側で認証情報の管理を行うという点でセキュリティ強度が増す。
また、クライアントサーバシステムで、データ自体は、端末側に一切置かないこともできる。
ここで、図1に示すブロック図における一部の各ブロックは、コンピュータにより実行可能なプログラムにより機能化された状態を示すソフトウエアモジュール構成であってもよい。
すなわち、物理的構成は例えば一又は複数のCPU(或いは一又は複数のCPUと一又は複数のメモリ)等ではあるが、各部(回路・手段)によるソフトウエア構成は、プログラムの制御によってCPUが発揮する複数の機能を、それぞれ複数の部(手段)による構成要素として表現したものである。
CPUがプログラムによって実行されている動的状態(プログラムを構成する各手順を実行している状態)を機能表現した場合、CPU内に各部(手段)が構成されることになる。プログラムが実行されていない静的状態にあっては、各手段の構成を実現するプログラム全体(或いは各手段の構成に含まれるプログラム各部)は、メモリなどの記憶領域に記憶されている。
以上に示した各部、モジュール(手段)は、プログラムにより機能化されたコンピュータをプログラムの機能と共に実現し得るように構成しても、また、固有のハードウエアにより恒久的に機能化された複数の電子回路ブロックからなる装置で構成してもよい。したがって、これらの機能ブロックがハードウェアのみ、ソフトウェアのみ、またはそれらの組合せによっていろいろな形で実現でき、いずれかに限定されるものではない。
[第2の実施の形態]
次に、本発明にかかる第2の実施の形態について、図3に基づいて説明する。以下には、前記第1の実施の形態の実質的に同様の構成に関しては説明を省略し、異なる部分についてのみ述べる。図3は、本発明の認証システムの第2の実施の形態の一例を示すブロック図である。
上述の第1の実施の形態では、アクセス許可条件として第1の認証のみによる認証制御を行う構成としたが、本実施の形態では、アクセス許可条件として第1の認証に加えて第2の認証および第3の認証による認証制御を行う構成としている。
具体的には、本実施の形態の認証システム100は、図3に示すように、端末固有情報取得モジュール118、登録ユーザ情報記憶手段としてのユーザ情報データテーブル144、登録端末固有情報記憶手段としての端末固有情報データテーブル146、端末固有情報記憶手段122を有する点で前記第1の実施の形態と異なる。
端末固有情報記憶手段122は、情報端末であるクライアント計算機120自身を識別する(自己の識別情報である)端末固有情報を記憶している。
端末固有情報データテーブル146(登録端末固有情報記憶手段又は既登録端末固有情報記憶手段)は、クライアント計算機120(情報端末)を識別する識別用として予め登録された登録端末固有情報(既登録端末固有情報)を有する。
ユーザ情報データテーブル144(登録ユーザ情報記憶手段又は既登録ユーザ情報記憶手段)は、クライアント計算機120(情報端末)のユーザに関するユーザ情報を予め登録し登録ユーザ情報(既登録ユーザ情報)として記憶している。
端末固有情報取得モジュール118は、外部記憶装置110がクライアント計算機120に接続され、オペレーティングシステム114が起動し、媒体固有情報取得モジュール116が動作を開始すると動作し、クライアント用計算機120が有する端末固有情報記憶手段122の端末固有情報を取得する。
ここで、端末固有情報は、例えばCPUのID、MACアドレス、ハードディスクIDなどクライアント用計算機120を一意に特定できる情報、またはその組み合わせである。
認証用装置140は、前記第1の実施の形態の構成に加え、ユーザ情報データテーブル144と端末固有情報データテーブル146を有する。
認証用装置140は、外部記憶装置110から起動したクライアント用計算機120がサーバ用計算機130にアクセスする際に、媒体固有情報による第1の認証、端末固有情報による第2の認証、およびユーザ情報による第3の認証の組み合わせでアクセスの許可を判断する。
例えば、「特定の外部記憶装置は特定のクライアント用計算機でのみがサーバへのアクセス可能」とか「特定の外部記憶装置から起動したクライアント用計算機は特定のユーザのみがサーバへのアクセス可能」等のように設定することができる。
ここで、オペレーティングシステム114と媒体固有情報取得モジュール116と端末固有情報取得モジュール118とによる構成は、端末用制御手段113の一例ということもできる。
端末用制御手段113の構成例としては、オペレーティングシステム114に、各モジュール116、118の機能を組み込んでおいてもよい。
端末用制御手段113の一態様では、外部記憶装置110に記憶された一又は二以上のプログラムが、クライアント用計算機120のCPUによって実行される際に発揮する制御機能ということができる。
端末用制御手段113は、前記媒体固有情報とともに前記端末固有情報を取得して前記管理装置に向けて送信制御する機能を備えることができる。すなわち、端末用制御手段113は、前記媒体固有情報とともに前記情報端末用の端末固有情報を認証データとして前記情報端末を介して前記管理装置に向けて送信する第1送信制御機能を有する。
また、端末用制御手段113は、情報端末から入力されるユーザ情報を前記媒体固有情報及び前記端末固有情報とともに前記管理装置に向けて送信制御する機能を備えることができる。すなわち、端末用制御手段113は、前記情報端末に外部入力されるユーザ情報を前記媒体固有情報及び前記端末固有情報とともに認証データとして前記管理装置に向けて送信制御する第2送信制御機能を有する。
管理側制御手段としての認証制御モジュール143は、前記媒体固有情報と前記端末固有情報を受信し、前記第1の認証が成功した場合に前記端末固有情報と前記登録端末固有情報とに基づいて第2の認証をし、前記第2の認証が成功した場合に前記アクセス要求を許可する機能を備えることができる。
すなわち、前記管理側制御手段としての認証制御モジュール143は、前記第1の認証動作により前記外部記憶装置が認証された場合に稼動し、前記既登録端末固有情報と前記情報端末から送信された前記端末固有情報とに基づいて前記情報端末にかかる第2の認証動作を実行する第2の認証動作実行機能を備えてよい。
また、認証制御モジュール143は、この第2の認証動作実行機能による第2の認証動作によって前記情報端末を認証した場合に前記管理装置に対する前記情報端末からのアクセス要求を許容するb級アクセス許容機能を備えてよい。
また、認証制御モジュール143は、前記媒体固有情報と前記端末固有情報と前記ユーザ情報を受信し、前記第2の認証が成功した場合に前記ユーザ情報と前記登録ユーザ情報とに基づいて第3の認証をし、前記第3の認証が成功した場合に前記アクセス要求を許可する機能を備えることができる。
すなわち、前記管理側制御手段としての認証制御モジュール143は、前記第2の認証動作により前記情報端末が認証された場合に稼動し、前記既登録ユーザ情報と前記情報端末から送信されたユーザ情報とに基づいて前記情報端末のユーザにかかる第3の認証動作を実行する第3の認証動作実行機能を備えてよい。
また、認証制御モジュール143は、この第3の認証動作実行機能による第3の認証動作によって前記情報端末のユーザを認証した場合に、前記管理装置に対する前記情報端末からのアクセス要求を許容するc級アクセス許容機能を備えてよい。
さらに、認証制御モジュール143は、前記第3の認証動作をユーザ名及びパスワードによるユーザ認証、公開鍵認証、およびバイオメトリクス認証を組み合わせて行なう機能を備えてよい。
(動作について)
次に、図4のフローチャートを用いて、動作の詳細について説明する。
図4は、図2と比較し、ステップA11のサーバへのアクセス許可条件が複雑化したもので、ステップA11のフローがステップB11、ステップB12で置換されている。また、ステップA13の後に、クライアント用計算機120の固有情報を取得するステップB13が追加されている。
また、ステップS16では、図5に示すステップA161、A162、A163を実行する必要がある。
本実施の形態における動作における認証制御手順は、管理装置側では、先ず、前記媒体固有情報を認証データとして受信する際には、予め前記情報端末に記憶された端末固有情報を取得した前記外部記憶装置付きの情報端末から送信された前記端末固有情報とともに受信する(図4に示すステップA15:受信制御ステップないしは受信制御機能)。すなわち、前記認証データは、予め前記情報端末に記憶された端末固有情報を含む。
次に、前記第1の認証動作により前記外部記憶装置が認証された場合に稼動し、前記情報端末の識別用として予め登録された既登録端末固有情報と、前記端末固有情報とに基づいて前記情報端末にかかる第2の認証動作を実行する(図5に示すステップA162:第2の認証動作実行ステップないしは機能)。
さらに、この第2の認証動作によって前記情報端末を認証した場合に、前記管理装置に対する前記情報端末からのアクセス要求を許容するb級アクセス許容を行う(図4に示すステップA17:b級アクセス許容ステップないしは機能)。
すなわち、前記第1の認証が成功した場合に、さらに、前記端末固有情報と予め登録された登録端末固有情報とに基づいて第2の認証をし、この第2の認証が成功した場合に前記アクセス要求を許可する手順を行うことができる。
また、この認証制御手順では、前記媒体固有情報と前記端末固有情報とを認証データとして受信する際には、前記情報端末から入力されるユーザ情報を取得した前記外部記憶装置付きの情報端末から送信された前記ユーザ情報とともに受信する(ステップA15:受信制御ステップないしは受信制御機能)。すなわち、前記認証データは、前記情報端末から入力されるユーザ情報を含む。
さらに、前記第2の認証動作により前記情報端末が認証された場合に稼動し、前記ユーザ情報を予め登録した既登録ユーザ情報と、前記ユーザ情報とに基づいて前記情報端末のユーザにかかる第3の認証動作を実行する(図5に示すステップA163:第3の認証動作実行ステップないしは機能)。
次に、この第3の認証動作によって前記情報端末のユーザを認証した場合に、前記管理装置に対する前記情報端末からのアクセス要求を許容するc級アクセス許容を行う(図4に示すステップA17:c級アクセス許容ステップないしは機能)。
すなわち、前記第2の認証が成功した場合に、さらに、前記ユーザ情報と予め登録された登録ユーザ情報とに基づいて第3の認証をし、この第3の認証が成功した場合に前記アクセス要求を許可する手順を行うことができる。
さらに、この認証制御手順では、前記第3の認証動作をするに際し、ユーザ名及びパスワードによるユーザ認証、公開鍵認証、およびバイオメトリクス認証を組み合わせて行い、これらの各認証が成功した場合に前記アクセスを許可することもできる。
以下、これを詳述する。
まず、ステップB11では、上述の第1の実施の形態で示した外部記憶装置の媒体固有情報(又は媒体固有情報をもとにした情報)に加え、認証用装置140は、ユーザ名、パスワードなどを含んだユーザ情報、およびクライアント用計算機120の端末固有情報(又は端末固有情報をもとにした情報)を、各々媒体固有情報データテーブル142、ユーザ情報データテーブル144、端末固有情報データテーブル146に登録する(図4に示すステップB11:媒体固有情報登録ステップないしは媒体固有情報登録機能、端末固有情報登録ステップないしは端末固有情報登録機能、ユーザ情報登録ステップないしはユーザ情報登録機能)。
これにより、媒体固有情報データテーブル142には、登録媒体固有情報が格納される。また、端末固有情報データテーブル146には、登録端末固有情報が格納される。さらに、ユーザ情報データテーブル144には、登録ユーザ情報が格納される。
そして、これらの各情報の組み合わせをアクセス許可条件として関連付けを行う(図4に示すステップB12:アクセス許可条件生成ステップないしはアクセス許可条件生成機能)。
すなわち、登録媒体固有情報、登録端末固有情報、登録ユーザ情報の全条件を満たすことがアクセス許可条件となる。
次に、外部記憶装置110をクライアント用計算機120に接続(装着)すると(又は接続した状態でクライアント計算機の電源を投入すると)、クライアント用計算機120は、外部記憶装置110に搭載されたオペレーティングシステム114を起動制御し、ネットワークコンピュータとしての諸機能を実現可能な状態となる(図4に示すステップA12:起動制御ステップないしは起動制御機能)。
続いて、オペレーティングシステム114が起動することで媒体固有情報取得モジュール116が動作する。
外部記憶装置110の媒体固有情報取得モジュール116は、媒体固有情報記憶手段112から媒体固有情報を取得する(図4に示すステップA13:媒体固有情報取得ステップないしは媒体固有情報取得機能)。
さらに、オペレーティングシステム114が起動することで、又は媒体固有情報取得モジュールが動作することで、端末固有情報取得モジュール118が動作する。
外部記憶装置110の端末固有情報取得モジュール118は、端末固有情報記憶手段122から端末固有情報を取得する(図4に示すステップB13:端末固有情報取得ステップないしは端末固有情報取得機能)。
さらにまた、オペレーティングシステム114起動後のいずれかのステップ間において、オペレーティングシステム114自身が保有するユーザ認証制御機能又は他のユーザ認証制御機能によってユーザに対しユーザ情報の入力を促す。
これにより、クライアント用計算機120からのユーザの操作入力に基づいて、オペレーティングシステム114は、ユーザ情報を取得する(ユーザ情報取得ステップないしはユーザ情報取得機能)。
その後、クライアント用計算機120は、サーバ用計算機130に対しアクセス要求を送信し、サーバ用計算機130へのアクセスを試みる(図4に示すステップA14:アクセス要求送信ステップないしはアクセス要求送信機能)。
このアクセス要求には、外部記憶装置110の媒体固有情報、クライアント用計算機120の端末固有情報、外部記憶装置110付きのクライアント用計算機120から入力されたユーザ情報が含まれる。
一方、サーバ用計算機130は、クライアント用計算機120からの(媒体固有情報、端末固有情報、ユーザ情報を含む)アクセス要求を受信する。
そして、サーバ用計算機130は、認証用装置140の媒体固有情報データテーブル142、端末固有情報データテーブル146、ユーザ情報データテーブル144に対し、アクセス許可条件に一致する情報(登録媒体固有情報、登録端末固有情報、登録ユーザ情報)があるかを問い合わせる処理を行うことができる(図4に示すステップA15:媒体固有情報受信制御ステップないしは媒体固有情報受信制御機能、端末固有情報受信制御ステップないしは端末固有情報受信制御機能、ユーザ情報受信制御ステップないしはユーザ情報受信制御機能)。
認証用装置140は、クライアント用計算機120で起動に使われた外部記憶装置がステップA11で定めたアクセス許可条件に適合しているか否かの判定を行う(図4に示すステップA16:アクセス許可条件判定ステップないしはアクセス許可条件判定機能)。
(認証制御の詳細)
ここで、本実施の形態では、アクセス許可条件の判定として第1の認証、第2の認証、および第3の認証を行う。
すなわち、図5に示すように、認証用装置140の認証制御モジュール143は、第1の認証として媒体固有情報が一致するか否かの判定を行う(図5ステップA161:第1の認証ステップないしは第1の認証機能又は第1の認証動作実行機能)。
この第1の認証では、クライアント用計算機120から送信されてきた外部記憶装置110の媒体固有情報と、認証用装置140に予め登録された登録媒体固有情報(既登録媒体固有情報)とを照合する。
前記ステップA161において、認証用装置140の認証制御モジュール143は、媒体固有情報が一致しないと判定した場合にはステップA18に進む。
一方、前記ステップA161において、媒体固有情報が一致すると判定した場合(前記認証動作によって前記外部記憶装置を認証した場合)には、前記管理装置に対する前記情報端末からのアクセス要求を許容する第1段階をクリアしたことになる(a級アクセス許容機能)。
そして、前記ステップA161において、媒体固有情報が一致すると判定した場合、認証用装置140の認証制御モジュール143は、第2の認証として端末固有情報が一致するか否かの判定を行う(図5ステップA162:第2の認証ステップないしは第2の認証機能又は第2の認証動作実行機能)。
この第2の認証では、クライアント用計算機120から送信されてきた端末固有情報と、認証用装置140に予め登録された登録端末固有情報(既登録端末固有情報)とを照合する。
前記ステップA162において、認証用装置140の認証制御モジュール143は、端末固有情報が一致しないと判定した場合にはステップA18に進む。
一方、前記ステップA162において、端末固有情報が一致すると判定した場合(第2の認証動作実行機能による第2の認証動作によって前記情報端末を認証した場合)には、前記管理装置に対する前記情報端末からのアクセス要求を許容する第2段階をクリアしたことになる(b級アクセス許容機能)。
そして、前記ステップA162において、端末固有情報が一致すると判定した場合には、認証用装置140の認証制御モジュール143は、第3の認証としてユーザ情報が一致するか否かの判定を行う(図5ステップA163:第3の認証ステップないしは第3の認証機能又は第3の認証動作実行機能)。
この第3の認証では、クライアント用計算機120から送信されてきたユーザ情報と、認証用装置140に予め登録された登録ユーザ情報(既登録ユーザ情報)とを照合する。
前記ステップA163において、認証用装置140の認証制御モジュール143は、ユーザ情報が一致しないと判定した場合にはステップA18に進む。
一方、前記ステップA163において、ユーザ情報が一致すると判定した場合(第3の認証動作実行機能による第3の認証動作によって前記情報端末のユーザを認証した場合)には、前記管理装置に対する前記情報端末からのアクセス要求を許容する第3段階をクリアしたことになる(c級アクセス許容機能)。
そして、前記ステップA163において、ユーザ情報が一致すると判定した場合、認証用装置140の認証制御モジュール143は、ステップA17に進む。
次に、認証用装置40は、ステップA16(ステップA161、A162、A163)において媒体固有情報データテーブル142、端末固有情報データテーブル146、ユーザ情報データテーブル144に一致する情報があると判定した場合には、クライアント用計算機20からサーバ用計算機30へのアクセス(アクセス要求)を許可する処理を行う(図4に示すステップA17:アクセス許可制御ステップないしはアクセス許可制御機能)。
一方、認証用装置40は、ステップA16(ステップA161、A162、A163)においてステップA16において一つの条件でも一致する情報が存在しないと判定した場合には、サーバ用計算機30への接続を不許可とする処理を行う(図4ステップA17:アクセス不許可制御ステップないしはアクセス不許可制御機能)。
ここで、以上のステップA16ないしステップA18からなるステップは、認証制御ステップないしは認証制御機能の一例である。
また、以上のステップA15は、受信制御ステップないしは受信制御機能をその内容とする。
前記認証制御機能では、前記第1の認証が成功した場合に前記端末固有情報と予め登録された登録端末固有情報とに基づいて第2の認証をし、この第2の認証が成功した場合に前記アクセス要求を許可する機能を備えてよい。
また、前記受信制御機能では、前記情報端末から入力されるユーザ情報を取得した前記外部記憶装置付きの情報端末から送信された前記ユーザ情報とともに前記端末固有情報及び前記媒体固有情報を受信制御する機能を備えてよい。
この場合、前記認証制御機能では、前記第2の認証が成功した場合に前記ユーザ情報と予め登録された登録ユーザ情報とに基づいて第3の認証をし、この第3の認証が成功した場合に前記アクセス要求を許可する機能を備えてよい。
さらに、前記認証制御機能では、前記第3の認証をユーザ名及びパスワードによるユーザ認証、公開鍵認証、およびバイオメトリクス認証を組み合わせて行い、これらの各認証が成功した場合に前記アクセスを許可する機能を備えてよい。
さらに、以上のステップA12、ステップA13からなるステップは、情報取得ステップないしは情報取得機能の一例ということもできる。さらにまた、以上のステップA14は、端末用制御ステップないしは端末用制御機能の一例である。
また、前記第1の認証、第2の認証、第3の認証は、必ずしも3つ行う必要はなく、前記第1の実施形態のように第1の認証のみ、第1の認証と第2の認証のみであってもよい。この場合、前記ステップA14のアクセス要求送信機能(端末用制御機能)においては、記憶された媒体固有情報を認証データとして前記情報端末を介して前記管理装置に向けて送信制御する第0送信制御機能、前記媒体固有情報とともに前記情報端末用の端末固有情報を認証データとして前記情報端末を介して前記管理装置に向けて送信する第1送信制御機能、前記情報端末に外部入力されるユーザ情報を前記媒体固有情報及び前記端末固有情報とともに認証データとして前記管理装置に向けて送信制御する第2送信制御機能のそれぞれの場合を備えてよい。
ここで、本実施の形態では、ユーザ名パスワードのユーザ認証を扱ったが、公開鍵認証やバイオメトリクス認証など既存の認証方法と組み合わせることも可能である。
バイオメトリクス認証としては、例えば指紋認証、掌形(手のひらの幅や指の長さ)認証、網膜(目の網膜の毛細血管のパターンの認識)認証、虹彩認証、顔認証、血管(静脈パターン)認証、音声(声紋)認証、耳形認証、DNA認証、筆跡認証、キーストローク(打鍵の速度やタイミングの癖)認証、リップムーブメント認証、まばたき(黒目領域の変化量)認証などが挙げられる。
その他の構成およびその他のステップないしは機能並びにその作用効果については、前述した実施の形態の場合と同一となっている。また、上記の説明において、上述した各ステップの動作内容及び各部の構成要素並びにそれらによる各機能をプログラム化(ソフトウエアプログラム)し、コンピュータに実行させてもよい。
この場合、情報端末を外部から制御可能な外部記憶装置を前記情報端末に接続(又は着脱自在に装着)し、この外部記憶装置付きの情報端末と通信可能に形成され前記情報端末からのアクセス要求に対しては当該アクセス要求にかかる機器に対する認証を前提として許容する認証機能を備えた管理装置が備えたコンピュータに諸機能を実現させることが可能な管理装置用認証制御プログラムとすることができる。
また、管理装置と通信可能な情報端末と接続(又は着脱自在に装着)され前記情報端末を外部から制御可能な外部記憶装置を用いて、この外部記憶装置付きの前記情報端末からの前記管理装置に対するアクセス要求を前記管理装置にて認証するため、外部記憶装置付きの前記情報端末が備えたコンピュータに諸機能を実現させることが可能な外部記憶装置用認証制御プログラムとすることができる。
さらに、以上説明した方法は、コンピュータがプログラムを記録媒体から読み込んで実行することによっても実現することが出来る。すなわち、上述のプログラムを、情報記録媒体に記録した構成であってもよい。
[その他の各種変形例]
また、本発明にかかる装置及び方法は、そのいくつかの特定の実施の形態に従って説明してきたが、本発明の主旨および範囲から逸脱することなく本発明の本文に記述した実施の形態に対して種々の変形が可能である。
例えば、上記構成部材の数、位置、形状等は上記実施の形態に限定されず、本発明を実施する上で好適な数、位置、形状等にすることができる。すなわち、上記実施の形態では、情報端末に接続される外部記憶装置が1個の場合を示したが、本発明は、これらの個数を制限するものではなく、USBメモリ、CFカード、CD−ROM、DVD、外付けHDDなど複数の外部記憶装置(各々に同一種類又は異なる種類のOSなどを有する)が情報端末に接続される場合であってもよい。
外部記憶装置としては、例えばROM、RAM、フラッシュメモリやSRAM等の半導体メモリ並びに集積回路、あるいはそれらを含むUSBメモリやメモリカードなどのリムーバブルメディアや、光ディスク、光磁気ディスク、磁気記録媒体等を用いてよく、さらに、フレキシブルディスク、CD−ROM、CD―R、CD―RW、FD、DVDROM、HDDVD(HDDVD−R−SL<1層>、 HDDVD−R−DL<2層>、HDDVD−RW−SL、HDDVD−RW−DL、HDDVD−RAM−SL)、DVD±R−SL、DVD±R−DL、DVD±RW−SL、DVD±RW−DL、DVD−RAM、Blu−Ray Disk<登録商標>(BD−RーSL、BD−R−DL、BD−RE−SL、BD−RE−DL)、MO、ZIP、磁気カード、磁気テープ、SDカード、メモリスティック、不揮発性メモリカード、ICカード、等の可搬媒体、外付けハードディスク等の記憶装置、その他これに類するもの等にて構成して用いてよい。
また、本発明の一実施形態にかかる管理装置は、情報端末を外部から制御可能な外部記憶装置を前記情報端末に接続し、この外部記憶装置付きの情報端末と通信可能に形成され前記情報端末からのアクセス要求に対しては当該アクセス要求にかかる機器に対する認証を前提として許容する認証機能を備えた管理装置であって、前記外部記憶装置を識別するために予め登録された登録媒体固有情報を記憶した登録媒体固有情報記憶手段と、予め前記外部記憶装置に記憶された媒体固有情報を取得した前記外部記憶装置付きの情報端末にから送信された前記媒体固有情報を受信し、この媒体固有情報と前記登録媒体固有情報とに基づいて第1の認証をし、この第1の認証が成功した場合に前記外部記憶装置付きの情報端末からの前記管理装置に対するアクセス要求を許可する管理側制御手段とを含む。
さらに、本発明の一実施形態にかかる外部記憶装置は、管理装置と通信網を介して通信可能な情報端末と接続され前記情報端末を外部から制御可能な外部記憶装置であって、自身を識別する媒体固有情報を記憶した媒体固有情報記憶手段と、前記媒体固有情報を利用した前記情報端末から前記管理装置へのアクセス要求に関する第1の認証を前記管理装置にて行なうために、自身を前記情報端末に接続された状態で前記情報端末を起動し前記媒体固有情報を取得して前記情報端末を介して前記管理装置に向けて送信制御する端末用制御手段と、を含む。
また、上記実施の形態における認証システムにおいて、情報端末と管理装置との間の通信構造は、クライアントサーバーシステムに限らず、サーバを介さずに端末同士がネットワークを組み、相互にデータを送受信するピアツーピア(Peer To Peer)通信によるシステムであってもよい。その際、管理装置は、ピア・ツゥ・ピア方式におけるマスタ端末であってもよい。
また、前記実施の形態における「システム」とは、複数の装置が論理的に集合した物をいい、各構成の装置が同一筐体中にあるか否かは問わない。
さらに、本明細書において、フローチャートに示されるステップは、記載された手順に従って時系列的に行われる処理はもちろん、必ずしも時系列的に処理されなくとも、並列的あるいは個別に実行される処理を含むものである。また、プログラム手順(ステップ)が実行される順序を変更することもできる。
例えば、第1の認証、第2の認証、第3の認証、その他の認証は必ずしもこの順である必要はない。
さらに、「通信」では、無線通信および有線通信は勿論、無線通信と有線通信とが混在した通信、即ち、ある区間では無線通信が行われ、他の区間では有線通信が行われるようなものであってもよい。さらに、ある装置から他の装置への通信が有線通信で行われ、他の装置からある装置への通信が無線通信で行われるようなものであってもよい。
また、外部記憶装置と情報端末との間の通信構造において形成されるインタフェースの種類は、例えばパラレルインタフェース、USBインタフェース、IEEE1394、LANやWAN等のネットワークやその他これに類するもの、もしくは今後開発される如何なるインタフェースであっても構わない。
さらに、このような各外部記憶装置、認証用装置は、単独で存在する場合もあるし、ある機器(例えば電子機器など)に組み込まれた状態で利用されることもあるなど、発明の思想としてはこれに限らず、各種の態様を含むものである。
さらにまた、一部がソフトウェアであって、一部がハードウェアで実現されている場合であってもよく、一部を記憶媒体上に記憶しておいて必要に応じて適宜読み込まれるような形態のものとしてあってもよい。
また、発明の範囲は、図示例に限定されないものとする。さらに、上記各実施の形態には種々の段階が含まれており、開示される複数の構成要件における適宜な組み合わせにより種々の発明が抽出され得る。つまり、上述の各実施の形態同士、あるいはそれらのいずれかと各変形例のいずれかとの組み合わせによる例をも含む。
本発明は、コンピュータシステム全般にて利用可能であり、より詳細には、シンクライアントシステムなどのセキュリティ的にユーザや接続する端末を限定する必要があるクライアント・サーバシステムで、クライアントを持ち運び可能な外部記憶装置に格納したオペレーティングシステムから起動する場合に利用できる。
また、不正アクセスや不正複製ソフトウェアによるサーバ資産の利用を防ぐことが必要な分野に利用できる。
本発明の第1の実施の形態による認証システムの全体構成の一例を示すブロック図である。 本発明の第1の実施の形態による認証システムにおける処理手順の一例を示すフローチャートである。 本発明の第2の実施の形態による認証システムの全体構成の一例を示すブロック図である。 本発明の第2の実施の形態による認証システムにおける処理手順の一例を示すフローチャートである。 図4の処理手順の詳細処理手順の一例を示すフローチャートである。
符号の説明
1、100 認証システム
2、102 管理装置
10、110 外部記憶装置
12、112 媒体固有情報記憶手段
13、113 端末用制御手段
14、114 オペレーティングシステム
16、116 媒体固有情報取得モジュール
20、120 クライアント用計算機(情報端末)
30、130 サーバ用計算機(管理装置)
40、140 認証用装置(管理装置)
42、142 媒体固有情報データテーブル(登録媒体固有情報記憶手段)
43、143 認証制御モジュール(管理側制御手段)
118 端末固有情報取得モジュール
122 端末固有情報記憶手段
144 ユーザ情報データテーブル(ユーザ情報記憶手段)
146 端末固有情報データテーブル(登録端末固有情報記憶手段)


Claims (18)

  1. 情報端末と、この情報端末に接続され当該情報端末を外部から制御可能な外部記憶装置と、前記情報端末からのアクセス要求に対しては当該アクセス要求にかかる機器に対する認証を前提として許容する認証機能を備えた管理装置と、を含み、
    前記外部記憶装置は、
    当該自己の識別情報である媒体固有情報を記憶した媒体固有情報記憶手段と、
    この記憶された媒体固有情報を認証データとして前記情報端末を介して前記管理装置に向けて送信制御する端末用制御手段と、
    を含み、
    前記管理装置は、
    前記外部記憶装置の識別用として予め登録された既登録媒体固有情報を記憶した登録媒体固有情報記憶手段と、
    この既登録媒体固有情報と前記情報端末を介して送られてくる媒体固有情報とに基づいて前記外部記憶装置にかかる第1の認証動作を実行する管理側制御手段と、
    を含み、
    前記管理側制御手段は、前記認証動作によって前記外部記憶装置を認証した場合に前記管理装置に対する前記情報端末からのアクセス要求を許容するa級アクセス許容機能を備えていることを特徴とする認証システム。
  2. 請求項1に記載の認証システムにおいて、
    前記情報端末は、当該自己の識別情報である端末固有情報を記憶した端末固有情報記憶手段を含み、
    前記管理装置は、前記情報端末の識別用として予め登録された既登録端末固有情報を記憶した登録端末固有情報記憶手段をさらに含み、
    前記外部記憶装置の端末用制御手段は、
    前記媒体固有情報とともに前記情報端末用の端末固有情報を認証データとして前記情報端末を介して前記管理装置に向けて送信する第1送信制御機能を有し、
    前記管理装置の管理側制御手段は、
    前記第1の認証動作により前記外部記憶装置が認証された場合に稼動し、前記既登録端末固有情報と前記情報端末から送信された前記端末固有情報とに基づいて前記情報端末にかかる第2の認証動作を実行する第2の認証動作実行機能と、
    この第2の認証動作実行機能による第2の認証動作によって前記情報端末を認証した場合に前記管理装置に対する前記情報端末からのアクセス要求を許容するb級アクセス許容機能と、
    を備えていることを特徴とする認証システム。
  3. 請求項2に記載の認証システムにおいて、
    前記管理装置は、
    前記情報端末のユーザに関するユーザ情報を予め登録し既登録ユーザ情報として記憶した登録ユーザ情報記憶手段をさらに含み、
    前記外部記憶装置の端末用制御手段は、
    前記情報端末に外部入力されるユーザ情報を前記媒体固有情報及び前記端末固有情報とともに認証データとして前記管理装置に向けて送信制御する第2送信制御機能を有し、
    前記管理側制御手段は、
    前記第2の認証動作により前記情報端末が認証された場合に稼動し、前記既登録ユーザ情報と前記情報端末から送信されたユーザ情報とに基づいて前記情報端末のユーザにかかる第3の認証動作を実行する第3の認証動作実行機能と、
    この第3の認証動作実行機能による第3の認証動作によって前記情報端末のユーザを認証した場合に、前記管理装置に対する前記情報端末からのアクセス要求を許容するc級アクセス許容機能を備えていることを特徴とする認証システム。
  4. 請求項3に記載の認証システムにおいて、
    前記管理側制御手段は、
    前記第3の認証動作を、ユーザ名及びパスワードによるユーザ認証、公開鍵認証、およびバイオメトリクス認証を組み合わせて行なうことを特徴とする認証システム。
  5. 情報端末を外部から制御可能な外部記憶装置を前記情報端末に接続し、この外部記憶装置付きの情報端末と通信可能に形成され前記情報端末からのアクセス要求に対しては当該アクセス要求にかかる機器に対する認証を前提として許容する認証機能を備えた管理装置であって、
    前記外部記憶装置を識別するために予め登録された登録媒体固有情報を記憶した登録媒体固有情報記憶手段と、
    予め前記外部記憶装置に記憶された媒体固有情報を取得した前記外部記憶装置付きの情報端末にから送信された前記媒体固有情報を受信し、この媒体固有情報と前記登録媒体固有情報とに基づいて第1の認証をし、この第1の認証が成功した場合に前記外部記憶装置付きの情報端末からの前記管理装置に対するアクセス要求を許可する管理側制御手段と、
    を含むことを特徴とする管理装置。
  6. 管理装置と通信網を介して通信可能な情報端末と接続され前記情報端末を外部から制御可能な外部記憶装置であって、
    自身を識別する媒体固有情報を記憶した媒体固有情報記憶手段と、
    前記媒体固有情報を利用した前記情報端末から前記管理装置へのアクセス要求に関する第1の認証を前記管理装置にて行なうために、自身を前記情報端末に接続された状態で前記情報端末を起動し前記媒体固有情報を取得して前記情報端末を介して前記管理装置に向けて送信制御する端末用制御手段と、
    を含むことを特徴とする外部記憶装置。
  7. 情報端末を外部から制御可能な外部記憶装置を前記情報端末に接続し、この外部記憶装置付きの情報端末と通信可能に形成され前記情報端末からのアクセス要求に対しては当該アクセス要求にかかる機器に対する認証を前提として許容する認証機能を備えた管理装置を用いた認証制御方法であって、
    予め前記外部記憶装置に記憶された媒体固有情報を認証データとして前記情報端末より受信し、
    前記外部記憶装置の識別用として予め登録された既登録媒体固有情報と、前記媒体固有情報とに基づいて前記外部記憶装置にかかる第1の認証動作を実行し、
    前記第1の認証動作によって前記外部記憶装置を認証した場合に、前記管理装置に対する前記情報端末からのアクセス要求を許容するa級アクセス許容を行う、
    ことを特徴とする認証制御方法。
  8. 請求項7に記載の認証制御方法において、
    前記認証データは、予め前記情報端末に記憶された端末固有情報を含み、
    前記第1の認証動作により前記外部記憶装置が認証された場合に稼動し、前記情報端末の識別用として予め登録された既登録端末固有情報と、前記端末固有情報とに基づいて前記情報端末にかかる第2の認証動作を実行し、
    この第2の認証動作によって前記情報端末を認証した場合に、前記管理装置に対する前記情報端末からのアクセス要求を許容するb級アクセス許容を行う、
    ことを特徴とする認証制御方法。
  9. 請求項8に記載の認証制御方法において、
    前記認証データは、前記情報端末から入力されるユーザ情報を含み、
    前記第2の認証動作により前記情報端末が認証された場合に稼動し、前記ユーザ情報を予め登録した既登録ユーザ情報と、前記ユーザ情報とに基づいて前記情報端末のユーザにかかる第3の認証動作を実行し、
    この第3の認証動作によって前記情報端末のユーザを認証した場合に、前記管理装置に対する前記情報端末からのアクセス要求を許容するc級アクセス許容を行う、
    ことを特徴とする認証制御方法。
  10. 請求項9に記載の認証制御方法において、
    前記第3の認証動作をするに際しては、ユーザ名及びパスワードによるユーザ認証、公開鍵認証、およびバイオメトリクス認証を組み合わせた認証をする、
    ことを特徴とする認証制御方法。
  11. 管理装置と通信可能な情報端末と接続され前記情報端末を外部から制御可能な外部記憶装置を用いて、この外部記憶装置付きの前記情報端末からの前記管理装置に対するアクセス要求を前記管理装置にて認証する認証制御方法であって、
    前記外部記憶装置が前記情報端末に接続した状態で前記外部記憶装置から前記情報端末を起動し、
    予め前記外部記憶装置に記憶された媒体固有情報を取得し、
    前記媒体固有情報を利用した前記情報端末から前記管理装置へのアクセス要求に関する第1の認証を前記管理装置にて行なうために、前記媒体固有情報を前記情報端末を介して前記管理装置に向けて送信制御し前記第1の認証を実行させる、
    ことを特徴とする認証制御方法。
  12. 請求項11に記載の認証制御方法において、
    前記媒体固有情報を取得する際には、予め前記情報端末の特定の記憶領域に記憶された端末固有情報とともに取得し、
    前記媒体固有情報を送信制御する際には、前記端末固有情報を利用した第2の認証を前記管理装置にて行なうために前記端末固有情報とともに送信制御し前記第1の認証とともに前記第2の認証を実行させる、
    ことを特徴とする認証制御方法。
  13. 請求項12に記載の認証制御方法において、
    前記媒体固有情報及び前記端末固有情報を取得する際には、前記情報端末より入力されたユーザ情報とともに取得し、
    前記媒体固有情報及び前記端末固有情報を送信制御する際には、前記ユーザ情報を利用した第3の認証を前記管理装置にて行なうために前記ユーザ情報とともに送信制御し前記第1の認証及び第2の認証とともに前記第3の認証を実行させる、
    ことを特徴とする認証制御方法。
  14. 情報端末を外部から制御可能な外部記憶装置を前記情報端末に接続し、この外部記憶装置付きの情報端末と通信可能に形成され前記情報端末からのアクセス要求に対しては当該アクセス要求にかかる機器に対する認証を前提として許容する認証機能を備えた管理装置が備えたコンピュータに諸機能を実現させることが可能な管理装置用認証制御プログラムであって、
    予め前記外部記憶装置に記憶された媒体固有情報を認証データとして前記情報端末より受信制御する受信制御機能と、
    前記外部記憶装置の識別用として予め登録された既登録媒体固有情報と、前記媒体固有情報とに基づいて前記外部記憶装置にかかる第1の認証動作を実行する第1の認証動作実行機能と、
    前記第1の認証動作によって前記外部記憶装置を認証した場合に、前記管理装置に対する前記情報端末からのアクセス要求を許容するa級アクセス許容機能と、
    を前記コンピュータに実現させることを特徴とする管理装置用認証制御プログラム。
  15. 請求項14に記載の管理装置用認証制御プログラムにおいて、
    前記受信制御機能では、
    予め前記情報端末に記憶された端末固有情報を取得した前記外部記憶装置付きの情報端末から送信された前記端末固有情報とともに前記媒体固有情報を受信制御する機能を前記コンピュータに実現させ、
    前記第1の認証動作により前記外部記憶装置が認証された場合に稼動し、前記情報端末の識別用として予め登録された既登録端末固有情報と、前記端末固有情報とに基づいて前記情報端末にかかる第2の認証動作を実行する第2の認証動作実行機能と、
    この第2の認証動作実行機能による第2の認証動作によって前記情報端末を認証した場合に、前記管理装置に対する前記情報端末からのアクセス要求を許容するb級アクセス許容機能と、
    をさらに前記コンピュータに実現させることを特徴とする管理装置用認証制御プログラム。
  16. 請求項15に記載の管理装置用認証制御プログラムにおいて、
    前記受信制御機能では、
    前記情報端末から入力されるユーザ情報を取得した前記外部記憶装置付きの情報端末から送信された前記ユーザ情報とともに前記端末固有情報及び前記媒体固有情報を受信制御する機能を前記コンピュータに実現させ、
    前記第2の認証動作により前記情報端末が認証された場合に稼動し、前記ユーザ情報を予め登録した既登録ユーザ情報と、前記ユーザ情報とに基づいて前記情報端末のユーザにかかる第3の認証動作を実行する第3の認証動作実行機能と、
    この第3の認証動作実行機能による第3の認証動作によって前記情報端末のユーザを認証した場合に、前記管理装置に対する前記情報端末からのアクセス要求を許容するc級アクセス許容機能と、
    をさらに前記コンピュータに実現させることを特徴とする管理装置用認証制御プログラム。
  17. 請求項16に記載の管理装置用認証制御プログラムにおいて、
    前記第3の認証動作実行機能では、
    ユーザ名及びパスワードによるユーザ認証、公開鍵認証、およびバイオメトリクス認証を組み合わせた認証を行う機能をその内容とし、これを前記コンピュータに実現させることを特徴とする管理装置用認証制御プログラム。
  18. 管理装置と通信可能な情報端末と接続され前記情報端末を外部から制御可能な外部記憶装置を用いて、この外部記憶装置付きの前記情報端末からの前記管理装置に対するアクセス要求を前記管理装置にて認証するため、外部記憶装置付きの前記情報端末が備えたコンピュータに諸機能を実現させることが可能な外部記憶装置用認証制御プログラムであって、
    前記外部記憶装置が前記情報端末に接続した状態で前記外部記憶装置から前記情報端末を起動すると、予め前記外部記憶装置に記憶された媒体固有情報を取得する情報取得機能と、
    前記媒体固有情報を利用した前記情報端末から前記管理装置へのアクセス許可に関する第1の認証を前記管理装置にて行なうために、前記媒体固有情報を前記情報端末を介して前記管理装置に向けて送信制御し前記第1の認証を実行させる端末用制御機能と、
    を含む機能を前記コンピュータに実現させることを特徴とする外部記憶装置用認証制御プログラム。




JP2008219973A 2008-08-28 2008-08-28 認証システム、認証制御方法、及び認証制御プログラム Expired - Fee Related JP5040860B2 (ja)

Priority Applications (1)

Application Number Priority Date Filing Date Title
JP2008219973A JP5040860B2 (ja) 2008-08-28 2008-08-28 認証システム、認証制御方法、及び認証制御プログラム

Applications Claiming Priority (1)

Application Number Priority Date Filing Date Title
JP2008219973A JP5040860B2 (ja) 2008-08-28 2008-08-28 認証システム、認証制御方法、及び認証制御プログラム

Publications (2)

Publication Number Publication Date
JP2010055393A true JP2010055393A (ja) 2010-03-11
JP5040860B2 JP5040860B2 (ja) 2012-10-03

Family

ID=42071235

Family Applications (1)

Application Number Title Priority Date Filing Date
JP2008219973A Expired - Fee Related JP5040860B2 (ja) 2008-08-28 2008-08-28 認証システム、認証制御方法、及び認証制御プログラム

Country Status (1)

Country Link
JP (1) JP5040860B2 (ja)

Cited By (3)

* Cited by examiner, † Cited by third party
Publication number Priority date Publication date Assignee Title
JP2017059548A (ja) * 2016-12-27 2017-03-23 三菱電機株式会社 照明装置
CN113939778A (zh) * 2019-06-26 2022-01-14 欧姆龙株式会社 控制系统、控制装置以及管理方法
JP2022010365A (ja) * 2018-01-16 2022-01-14 大日本印刷株式会社 データ書き込み方法

Citations (7)

* Cited by examiner, † Cited by third party
Publication number Priority date Publication date Assignee Title
JP2000242473A (ja) * 1999-02-11 2000-09-08 Shunsei So コンピュータ
JP2004318583A (ja) * 2003-04-17 2004-11-11 Canon Inc 顧客データ管理方法、その管理システムおよびプログラム、並びに、媒体
JP2005346630A (ja) * 2004-06-07 2005-12-15 Dainippon Printing Co Ltd 認証システム、認証方法及び認証プログラム等
JP2007066123A (ja) * 2005-09-01 2007-03-15 Yokogawa Electric Corp Os起動方法及びこれを用いた装置
JP2007140956A (ja) * 2005-11-18 2007-06-07 Hitachi Ltd 情報処理システム、管理サーバ、端末、情報処理装置
JP2007305277A (ja) * 2006-05-15 2007-11-22 Toshiba Corp 情報記録媒体、コンテンツ閲覧用プログラム及び再生装置
JP2008176707A (ja) * 2007-01-22 2008-07-31 Tsutomu Matsuda コンピュータの画面監視用usbメモリ

Patent Citations (7)

* Cited by examiner, † Cited by third party
Publication number Priority date Publication date Assignee Title
JP2000242473A (ja) * 1999-02-11 2000-09-08 Shunsei So コンピュータ
JP2004318583A (ja) * 2003-04-17 2004-11-11 Canon Inc 顧客データ管理方法、その管理システムおよびプログラム、並びに、媒体
JP2005346630A (ja) * 2004-06-07 2005-12-15 Dainippon Printing Co Ltd 認証システム、認証方法及び認証プログラム等
JP2007066123A (ja) * 2005-09-01 2007-03-15 Yokogawa Electric Corp Os起動方法及びこれを用いた装置
JP2007140956A (ja) * 2005-11-18 2007-06-07 Hitachi Ltd 情報処理システム、管理サーバ、端末、情報処理装置
JP2007305277A (ja) * 2006-05-15 2007-11-22 Toshiba Corp 情報記録媒体、コンテンツ閲覧用プログラム及び再生装置
JP2008176707A (ja) * 2007-01-22 2008-07-31 Tsutomu Matsuda コンピュータの画面監視用usbメモリ

Cited By (4)

* Cited by examiner, † Cited by third party
Publication number Priority date Publication date Assignee Title
JP2017059548A (ja) * 2016-12-27 2017-03-23 三菱電機株式会社 照明装置
JP2022010365A (ja) * 2018-01-16 2022-01-14 大日本印刷株式会社 データ書き込み方法
JP7211472B2 (ja) 2018-01-16 2023-01-24 大日本印刷株式会社 データ書き込み方法
CN113939778A (zh) * 2019-06-26 2022-01-14 欧姆龙株式会社 控制系统、控制装置以及管理方法

Also Published As

Publication number Publication date
JP5040860B2 (ja) 2012-10-03

Similar Documents

Publication Publication Date Title
US7549161B2 (en) Portable device having biometrics-based authentication capabilities
KR101736397B1 (ko) 호스트 중앙 프로세싱 유닛 및 호스트 운영 시스템에 의한 제어 및 간섭으로부터 분리된 사용자 승인 및 프레젠스 검출
CN101436247B (zh) 一种基于uefi的生物身份识别方法及系统
US20030005337A1 (en) Portable device having biometrics-based authentication capabilities
US20040088562A1 (en) Authentication framework for smart cards
US8122172B2 (en) Portable information security device
CN102254119B (zh) 一种基于指纹u盘和虚拟机的安全可移动数据存储方法
US7631348B2 (en) Secure authentication using a low pin count based smart card reader
CN101512540B (zh) 信息处理装置及其方法
JP2003510714A (ja) 着脱可能な能動型の個人用記憶装置、システム、及び方法
US10175900B2 (en) Removable, active, personal storage device, system and method
EP1224521A1 (en) Removable, active, personal storage device, system and method
CN201820230U (zh) 计算机用可信计算信任根设备及计算机
KR100991191B1 (ko) 컴퓨터 보안 모듈 및 이를 적용한 컴퓨터 장치
TWI296787B (en) Storage device and method for protecting data stored therein
JP5040860B2 (ja) 認証システム、認証制御方法、及び認証制御プログラム
JP2004070828A (ja) 電子機器及びその不正使用防止方法並びにその不正使用防止プログラム
US20050246512A1 (en) Information-processing apparatus and method and program for starting the same
JP2008160325A (ja) リムーバブル・デバイスを用いたユーザの認証方法およびコンピュータ
JP2007122731A (ja) バイオ認証センサー付きハードディスク装置とそのデータ保護方法
WO2011107871A2 (en) Portable electronic device interfaceable with a computer
EP1528451A1 (en) Authentication framework for smart cards
JP2007241800A (ja) リムーバブルメモリユニットおよびコンピュータ装置
KR101502800B1 (ko) 권리자 식별정보가 기록된 디지털 시스템, 응용 시스템, 및 서비스 시스템
JP3118161U (ja) 高度暗号化携帯式記憶媒体

Legal Events

Date Code Title Description
A977 Report on retrieval

Free format text: JAPANESE INTERMEDIATE CODE: A971007

Effective date: 20111130

A131 Notification of reasons for refusal

Free format text: JAPANESE INTERMEDIATE CODE: A131

Effective date: 20111213

A521 Request for written amendment filed

Free format text: JAPANESE INTERMEDIATE CODE: A523

Effective date: 20120209

TRDD Decision of grant or rejection written
A01 Written decision to grant a patent or to grant a registration (utility model)

Free format text: JAPANESE INTERMEDIATE CODE: A01

Effective date: 20120612

A01 Written decision to grant a patent or to grant a registration (utility model)

Free format text: JAPANESE INTERMEDIATE CODE: A01

A61 First payment of annual fees (during grant procedure)

Free format text: JAPANESE INTERMEDIATE CODE: A61

Effective date: 20120625

R150 Certificate of patent or registration of utility model

Ref document number: 5040860

Country of ref document: JP

Free format text: JAPANESE INTERMEDIATE CODE: R150

Free format text: JAPANESE INTERMEDIATE CODE: R150

FPAY Renewal fee payment (event date is renewal date of database)

Free format text: PAYMENT UNTIL: 20150720

Year of fee payment: 3

LAPS Cancellation because of no payment of annual fees