JP2010052819A - 包装用箱 - Google Patents
包装用箱 Download PDFInfo
- Publication number
- JP2010052819A JP2010052819A JP2008222781A JP2008222781A JP2010052819A JP 2010052819 A JP2010052819 A JP 2010052819A JP 2008222781 A JP2008222781 A JP 2008222781A JP 2008222781 A JP2008222781 A JP 2008222781A JP 2010052819 A JP2010052819 A JP 2010052819A
- Authority
- JP
- Japan
- Prior art keywords
- packaging box
- packaging
- box
- energy transfer
- vibration
- Prior art date
- Legal status (The legal status is an assumption and is not a legal conclusion. Google has not performed a legal analysis and makes no representation as to the accuracy of the status listed.)
- Granted
Links
- 238000004806 packaging method and process Methods 0.000 title claims abstract description 121
- 238000012360 testing method Methods 0.000 claims abstract description 22
- 238000012546 transfer Methods 0.000 claims description 29
- 239000005022 packaging material Substances 0.000 abstract description 6
- 230000006378 damage Effects 0.000 description 22
- 230000001133 acceleration Effects 0.000 description 17
- 239000000463 material Substances 0.000 description 13
- 241000220223 Fragaria Species 0.000 description 8
- 230000003595 spectral effect Effects 0.000 description 7
- 235000016623 Fragaria vesca Nutrition 0.000 description 5
- 235000011363 Fragaria x ananassa Nutrition 0.000 description 5
- 230000000052 comparative effect Effects 0.000 description 5
- 238000005452 bending Methods 0.000 description 4
- 238000009826 distribution Methods 0.000 description 4
- 235000012055 fruits and vegetables Nutrition 0.000 description 3
- 238000012856 packing Methods 0.000 description 3
- 239000011087 paperboard Substances 0.000 description 3
- 235000021012 strawberries Nutrition 0.000 description 3
- 230000003139 buffering effect Effects 0.000 description 2
- 238000005520 cutting process Methods 0.000 description 2
- 238000013461 design Methods 0.000 description 2
- 230000000694 effects Effects 0.000 description 2
- 238000000034 method Methods 0.000 description 2
- 240000001238 Gaultheria procumbens Species 0.000 description 1
- 238000009825 accumulation Methods 0.000 description 1
- 230000005540 biological transmission Effects 0.000 description 1
- 229920001971 elastomer Polymers 0.000 description 1
- 239000000806 elastomer Substances 0.000 description 1
- 230000005520 electrodynamics Effects 0.000 description 1
- 239000004794 expanded polystyrene Substances 0.000 description 1
- 239000006260 foam Substances 0.000 description 1
- 238000003780 insertion Methods 0.000 description 1
- 230000037431 insertion Effects 0.000 description 1
- 238000004519 manufacturing process Methods 0.000 description 1
- 239000002184 metal Substances 0.000 description 1
- 238000012536 packaging technology Methods 0.000 description 1
- 239000004033 plastic Substances 0.000 description 1
- 239000002985 plastic film Substances 0.000 description 1
- 238000009516 primary packaging Methods 0.000 description 1
- 238000009517 secondary packaging Methods 0.000 description 1
- 230000035939 shock Effects 0.000 description 1
- 238000003860 storage Methods 0.000 description 1
- 229920003002 synthetic resin Polymers 0.000 description 1
- 239000000057 synthetic resin Substances 0.000 description 1
- 238000010998 test method Methods 0.000 description 1
Images
Landscapes
- Stackable Containers (AREA)
- Cartons (AREA)
- Buffer Packaging (AREA)
Abstract
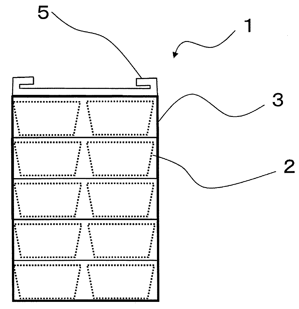
【解決手段】本発明の包装用箱は、物品を収納する包装用箱において、包装用箱1の上面及び下面若しくはそのどちらか一方に、包装用箱1と一体となった緩衝部分5が設けられ、物品を収納した包装用箱1を架台に縦に複数個積み重ねて、JIS Z0232:2004、付属書Aに規定するランダム波で前記架台を垂直に加振する振動試験を行なったときの各段の包装用箱1のエネルギー伝達率が、緩衝部分5が設けられていない包装用箱に対して前記振動試験を行なったときのそれぞれ対応する各段の包装用箱のエネルギー伝達率よりも小さいことを特徴とする。
【選択図】図1
Description
図4に示すように、イチゴ入りパック2(イチゴ0.3kg、パック包材の材質PP、寸法 縦112mm×横162mm×深さ70mm)を4パックずつ、5段に重ねて、段ボール箱(レンゴー社製、材質 表及び裏ライナー180g/m2、中芯120g/m2、寸法 縦335mm×横235mm×深さ400mm、荷重240Nにおけるバネ定数110000N/m)に収納し、図3(a)に示す形状の緩衝部分5を有する蓋(材質 表及び裏ライナー180g/m2、中芯120g/m2、寸法 縦335mm×横235mm、緩衝構造部分は折り曲げて作成、荷重240Nにおけるバネ定数 80000N/m)を最上段の段ボール箱の上部の開口部に設けて、イチゴ入りパックを収納した包装用箱1を作成し、実施例1とした。イチゴ入りパックを収納した包装用箱1の質量は6kgである。比較例1として、緩衝部分5が設けられていない従来の包装用箱を、同じ段ボール箱とイチゴ入りパックを使用して作成した(質量6kg、バネ定数110000N/m)。
振動試験機(IMV社製、動電型振動試験機)の架台に、包装用箱1を縦に5段積み上げて載せ、JIS Z0232付属書Aに規定する加速度パワースペクトル密度で、架台を垂直に加振する振動試験を行い、各段の包装用箱1のエネルギー伝達率を測定した。尚、各段の包装用箱1には、超小型の加速度センサ(IMV社製、型式VP−4132)を取り付けて加速度を測定した。また、加速度実効値は0.98m/s2RMS(0.1GRMS)とした。振動試験の結果、実施例1の包装用箱1では、1〜5段のすべての包装用箱1のエネルギー伝達率が、比較例1の包装用箱のそれぞれ対応する各段のエネルギー伝達率よりも小さくなっていた。表1に、実施例1と比較例1のエネルギー伝達率を示す。
実施例1と比較例1の包装用箱を集合包装の状態にして、それぞれ輸送トラックに積載して輸送試験を行い、イチゴの損傷程度を比較した。包装用箱の積み上げ段数は、5段とし、輸送トラック(日野自動車社製、型式プロフィア、積載容量25t)に、試験品以外のイチゴ包装とともに満載(6t)して、1000kmの走行後、イチゴの損傷程度を観察した。
比較例1では、商品価値を減じないものの僅かな損傷が一部に見られたが、実施例1では、すべて段数の包装用箱において損傷は認められなかった。
2 イチゴ入りパック
3 包装用箱本体
5 緩衝部分
9 架台
M 包装用箱の質量
k 包装用箱のバネ定数
Claims (3)
- 物品を収納する包装用箱において、
該包装用箱の上面及び下面若しくはそのどちらか一方に、
前記包装用箱と一体となった緩衝部分が設けられ、
物品を収納した前記包装用箱を架台に縦に複数個積み重ねて、JIS Z0232:2004、付属書Aに規定するランダム波で前記架台を垂直に加振する振動試験を行なったときの各段の包装用箱のエネルギー伝達率が、
前記緩衝部分が設けられていない包装用箱に対して前記振動試験を行なったときのそれぞれ対応する各段の包装用箱のエネルギー伝達率よりも小さいことを特徴とする包装用箱。 - 前記緩衝部分が設けられた包装用箱の各段のエネルギー伝達率が、前記緩衝部分が設けられていない包装用箱のそれぞれ対応する各段のエネルギー伝達率の90%以下であることを特徴とする請求項1に記載の包装用箱。
- 前記包装用箱が段ボール箱であり、かつ、前記包装用箱と一体となった緩衝部分が前記段ボール箱の一部からなることを特徴とする請求項1又は2に記載の包装用箱。
Priority Applications (1)
| Application Number | Priority Date | Filing Date | Title |
|---|---|---|---|
| JP2008222781A JP5227118B2 (ja) | 2008-08-29 | 2008-08-29 | 包装用箱 |
Applications Claiming Priority (1)
| Application Number | Priority Date | Filing Date | Title |
|---|---|---|---|
| JP2008222781A JP5227118B2 (ja) | 2008-08-29 | 2008-08-29 | 包装用箱 |
Publications (2)
| Publication Number | Publication Date |
|---|---|
| JP2010052819A true JP2010052819A (ja) | 2010-03-11 |
| JP5227118B2 JP5227118B2 (ja) | 2013-07-03 |
Family
ID=42069162
Family Applications (1)
| Application Number | Title | Priority Date | Filing Date |
|---|---|---|---|
| JP2008222781A Active JP5227118B2 (ja) | 2008-08-29 | 2008-08-29 | 包装用箱 |
Country Status (1)
| Country | Link |
|---|---|
| JP (1) | JP5227118B2 (ja) |
Cited By (1)
| Publication number | Priority date | Publication date | Assignee | Title |
|---|---|---|---|---|
| JP2022015473A (ja) * | 2020-07-09 | 2022-01-21 | 東芝テック株式会社 | 梱包箱及び板材 |
Citations (4)
| Publication number | Priority date | Publication date | Assignee | Title |
|---|---|---|---|---|
| JPS521465U (ja) * | 1975-06-19 | 1977-01-07 | ||
| JPS58174417U (ja) * | 1982-05-19 | 1983-11-21 | 株式会社東芝 | 包装容器 |
| JPH0761472A (ja) * | 1993-08-24 | 1995-03-07 | Toshiba Corp | 包装装置 |
| JP2003040249A (ja) * | 2001-08-03 | 2003-02-13 | Matsushita Electric Works Ltd | 電気機器用梱包箱 |
-
2008
- 2008-08-29 JP JP2008222781A patent/JP5227118B2/ja active Active
Patent Citations (4)
| Publication number | Priority date | Publication date | Assignee | Title |
|---|---|---|---|---|
| JPS521465U (ja) * | 1975-06-19 | 1977-01-07 | ||
| JPS58174417U (ja) * | 1982-05-19 | 1983-11-21 | 株式会社東芝 | 包装容器 |
| JPH0761472A (ja) * | 1993-08-24 | 1995-03-07 | Toshiba Corp | 包装装置 |
| JP2003040249A (ja) * | 2001-08-03 | 2003-02-13 | Matsushita Electric Works Ltd | 電気機器用梱包箱 |
Cited By (2)
| Publication number | Priority date | Publication date | Assignee | Title |
|---|---|---|---|---|
| JP2022015473A (ja) * | 2020-07-09 | 2022-01-21 | 東芝テック株式会社 | 梱包箱及び板材 |
| JP7479227B2 (ja) | 2020-07-09 | 2024-05-08 | 東芝テック株式会社 | 梱包箱及び板材 |
Also Published As
| Publication number | Publication date |
|---|---|
| JP5227118B2 (ja) | 2013-07-03 |
Similar Documents
| Publication | Publication Date | Title |
|---|---|---|
| US20140027337A1 (en) | Apparatus, Systems and Methods for Packaging Electronic Products | |
| KR101124703B1 (ko) | 과일포장박스 | |
| KR102037570B1 (ko) | 다결정 실리콘의 패킹 | |
| TWI680920B (zh) | 捆包箱、捆包方法以及取出方法 | |
| JP5295686B2 (ja) | 集合包装 | |
| CN202657403U (zh) | 一种防震包装盒 | |
| JP5227118B2 (ja) | 包装用箱 | |
| US9718596B1 (en) | Bulk box dampening systems | |
| US20150024172A1 (en) | Migration Resistant Single Faced Corrugated Loose Fill Packaging Material | |
| JP2008189369A (ja) | 紙製品の搬送及び陳列方法 | |
| KR20130001004U (ko) | 과일 포장용 상자 완충재 | |
| US20100326873A1 (en) | Packing cushion | |
| JP2676066B2 (ja) | 輸送用除振コンテナ | |
| CN109890722B (zh) | 用以最小化丸粒结块的低应力封装设计 | |
| CN205916543U (zh) | 一种ups包装结构 | |
| JP6184206B2 (ja) | 輸送積荷用動吸振器及びそれを用いた輸送方法 | |
| JP5437012B2 (ja) | 輸送コンテナー又はトラック用若しくはバン用荷台、それに用いる防振部品及び振動抑制輸送方法 | |
| JP2010064780A (ja) | ペリクル収納容器の梱包体 | |
| JP2017001733A (ja) | シリコン梱包ケース | |
| CN223385032U (zh) | 一种可快速包装的食品包装盒 | |
| CN220743684U (zh) | 一种抗摔型纸箱 | |
| JP6175150B2 (ja) | 集合包装容器及びその積層体 | |
| CN216685368U (zh) | 一种不易损坏的包装箱 | |
| CN102530419A (zh) | 碗的运输包装装置 | |
| JPH0565160A (ja) | 外装用具 |
Legal Events
| Date | Code | Title | Description |
|---|---|---|---|
| A521 | Written amendment |
Free format text: JAPANESE INTERMEDIATE CODE: A523 Effective date: 20110404 |
|
| A621 | Written request for application examination |
Free format text: JAPANESE INTERMEDIATE CODE: A621 Effective date: 20110404 |
|
| A977 | Report on retrieval |
Free format text: JAPANESE INTERMEDIATE CODE: A971007 Effective date: 20120730 |
|
| A131 | Notification of reasons for refusal |
Free format text: JAPANESE INTERMEDIATE CODE: A131 Effective date: 20120911 |
|
| A521 | Written amendment |
Free format text: JAPANESE INTERMEDIATE CODE: A523 Effective date: 20121029 |
|
| TRDD | Decision of grant or rejection written | ||
| A01 | Written decision to grant a patent or to grant a registration (utility model) |
Free format text: JAPANESE INTERMEDIATE CODE: A01 Effective date: 20130305 |
|
| A61 | First payment of annual fees (during grant procedure) |
Free format text: JAPANESE INTERMEDIATE CODE: A61 Effective date: 20130315 |
|
| R150 | Certificate of patent or registration of utility model |
Ref document number: 5227118 Country of ref document: JP Free format text: JAPANESE INTERMEDIATE CODE: R150 Free format text: JAPANESE INTERMEDIATE CODE: R150 |
|
| FPAY | Renewal fee payment (event date is renewal date of database) |
Free format text: PAYMENT UNTIL: 20160322 Year of fee payment: 3 |
|
| R250 | Receipt of annual fees |
Free format text: JAPANESE INTERMEDIATE CODE: R250 |
|
| R250 | Receipt of annual fees |
Free format text: JAPANESE INTERMEDIATE CODE: R250 |
|
| R250 | Receipt of annual fees |
Free format text: JAPANESE INTERMEDIATE CODE: R250 |
|
| R250 | Receipt of annual fees |
Free format text: JAPANESE INTERMEDIATE CODE: R250 |
|
| R250 | Receipt of annual fees |
Free format text: JAPANESE INTERMEDIATE CODE: R250 |
|
| R250 | Receipt of annual fees |
Free format text: JAPANESE INTERMEDIATE CODE: R250 |
|
| R250 | Receipt of annual fees |
Free format text: JAPANESE INTERMEDIATE CODE: R250 |
