JP2010048260A - 直接噴射式圧縮着火機関 - Google Patents

直接噴射式圧縮着火機関 Download PDF

Info

Publication number
JP2010048260A
JP2010048260A JP2009273814A JP2009273814A JP2010048260A JP 2010048260 A JP2010048260 A JP 2010048260A JP 2009273814 A JP2009273814 A JP 2009273814A JP 2009273814 A JP2009273814 A JP 2009273814A JP 2010048260 A JP2010048260 A JP 2010048260A
Authority
JP
Japan
Prior art keywords
combustion chamber
piston
smoke
reentrant
diameter
Prior art date
Legal status (The legal status is an assumption and is not a legal conclusion. Google has not performed a legal analysis and makes no representation as to the accuracy of the status listed.)
Granted
Application number
JP2009273814A
Other languages
English (en)
Other versions
JP4924702B2 (ja
Inventor
Masahiro Nagae
正浩 長江
Current Assignee (The listed assignees may be inaccurate. Google has not performed a legal analysis and makes no representation or warranty as to the accuracy of the list.)
Toyota Motor Corp
Original Assignee
Toyota Motor Corp
Priority date (The priority date is an assumption and is not a legal conclusion. Google has not performed a legal analysis and makes no representation as to the accuracy of the date listed.)
Filing date
Publication date
Application filed by Toyota Motor Corp filed Critical Toyota Motor Corp
Priority to JP2009273814A priority Critical patent/JP4924702B2/ja
Publication of JP2010048260A publication Critical patent/JP2010048260A/ja
Application granted granted Critical
Publication of JP4924702B2 publication Critical patent/JP4924702B2/ja
Anticipated expiration legal-status Critical
Expired - Fee Related legal-status Critical Current

Links

Images

Classifications

    • YGENERAL TAGGING OF NEW TECHNOLOGICAL DEVELOPMENTS; GENERAL TAGGING OF CROSS-SECTIONAL TECHNOLOGIES SPANNING OVER SEVERAL SECTIONS OF THE IPC; TECHNICAL SUBJECTS COVERED BY FORMER USPC CROSS-REFERENCE ART COLLECTIONS [XRACs] AND DIGESTS
    • Y02TECHNOLOGIES OR APPLICATIONS FOR MITIGATION OR ADAPTATION AGAINST CLIMATE CHANGE
    • Y02TCLIMATE CHANGE MITIGATION TECHNOLOGIES RELATED TO TRANSPORTATION
    • Y02T10/00Road transport of goods or passengers
    • Y02T10/10Internal combustion engine [ICE] based vehicles
    • Y02T10/12Improving ICE efficiencies

Landscapes

  • Combustion Methods Of Internal-Combustion Engines (AREA)
  • Fuel-Injection Apparatus (AREA)

Abstract

【課題】全運転領域においてスモークの発生を減少させることができる技術を提供する。
【解決手段】ピストン2に形成されたキャビティ5の最大径をD1、リップ径をD2、最大深さをHとした場合に、リエントラント率である(D1−D2)/D1の値を略0.1、かつ、アスペクト比であるD1/Hの値を略4とする。また、さらに、ピストン2の外径をD0とした場合に、リップ径D2をピストン外径D0で除した値を0.5以上0.7以下とする。
【選択図】図1

Description

本発明は、主に自動車に用いられる直接噴射式圧縮着火機関の燃焼室に関する。
直接噴射式圧縮着火機関(ディーゼル機関)の燃焼室として、噴霧燃料と吸入空気との混合を促進するため、キャビティの底面中央部の山部を高くしてスワールの弱い中央領域を狭め、キャビティのスワールの弱い中央領域がキャビティの全領域に占める割合を低下させることが提案されている。
例えば、特許文献1に記載されたリエントラント型燃焼室においては、図12に示すシリンダボア100の直径Aを100として、各部の寸法が以下のように設定されている。キャビティ101のピストン頂面102における開口径Bが45〜62に、キャビティ101の外縁直径Cは略65、最大深さDは略18に設定されている。
このような燃焼室形状とすることにより、軽負荷運転時にキャビティの中央部に存在する必要最小限の空気を燃焼に供することでNOxの増加を回避することができ、高負荷運転時にキャビティの周辺部に存在する多量の空気を燃焼に供することでスモークの発生を減少させることができる。
特開平11−210467号公報 特開平1−200014号公報 特開2000−352316号公報 特開昭60−119323号公報 特開2002−364366号公報
ところが、特許文献1で提案されたリエントラント型燃焼室においては、キャビティ101の開口径Bと外縁直径Cとの関係、あるいはキャビティ101の外縁直径Cと最大深さDとの関係については具体的に言及されていない。本発明者の研究によると、これらの関係によっては、軽負荷運転時のスモーク発生を抑制することは期待できないことが判明した。
本発明は、上記した問題点に鑑みてなされたものであり、その目的とするところは、全運転領域においてスモークの発生を減少させることができる技術を提供することにある。
上記目的を達成するために、本発明に係る直接噴射式圧縮着火機関のリエントラント型燃焼室においては、ピストンに形成されたキャビティの最大径をD1、リップ径をD2、最大深さをHとした場合に、リエントラント率である(D1−D2)/D1の値が略0.1であり、かつ、アスペクト比であるD1/Hの値が略4であることを特徴とする。
本発明者の研究により、アスペクト比が略4であるとき、直接噴射式圧縮着火機関である内燃機関が低速運転領域である場合には、リエントラント率が0.1以下である場合よ
りも0.1より大きい方が、スキッシュ流が燃焼室中心に向かうために、燃料と空気の混合がうまく行われずにスモークがより多く発生することが判明した。一方、内燃機関が高速運転領域である場合には、燃焼室内に発生するタンブル流が大きいので、リエントラント率が0.1以上である場合よりも0.1より小さい方が、噴射された燃料がピストン頂面とシリンダヘッドの間に入り易くなるためスモークがより多く発生することが判明した。それゆえ、全運転領域においてスモーク発生を減少させるためには、リエントラント率が略0.1であることが好ましい。
また、リエントラント型燃焼室においては、内燃機関に備えられた燃料噴射弁からの噴霧は、リップ部からその下方に形成された最大径部への拡径部の壁面へ衝突するように構成されている。それゆえ、キャビティの最大径D1が小さくなるのに応じて、つまり最大深さHが同一であるとするとアスペクト比が小さくなるのに応じて、燃料噴射弁の噴孔から噴霧の燃焼室壁面への衝突位置までの距離が短くなる。
本発明者の研究により、リエントラント率が略0.1であるとき、内燃機関が高速運転領域である場合には、アスペクト比が4以下である場合よりも4より大きい方が、燃料の燃焼室壁面への衝突距離が長く、また、かかる運転領域では燃焼室内に発生するタンブル流が強いため、噴霧が燃焼室壁面へ到達し難くなるので、燃料と空気がうまく混合されずにスモークがより多く発生することが判明した。
また、内燃機関が中速運転領域である場合には、アスペクト比が4以上である場合よりも4より小さい方が、燃料噴射弁の噴孔と燃焼室壁面までの距離が短くなり、高速運転領域よりも噴霧が燃焼室壁面に到達し易くなるが、燃焼室内で発生するタンブル流も比較的弱いために噴射された燃料の燃焼室壁面への付着が多くなり、燃料と空気がうまく混合されずにスモークがより多く発生することが判明した。
また、内燃機関が低速運転領域である場合には、気筒内でタンブル流が形成され難くなり、アスペクト比が4より大きくなるのに応じて、燃焼室内においてもタンブル流が形成され難くなり、燃料と空気がうまく混合されずにスモークがより多く発生することが判明した。以上のことより、全運転領域においてスモーク発生を低減させるためには、アスペクト比が略4であることが好ましい。
本発明に係る直接噴射式圧縮着火機関のリエントラント型燃焼室においては、リエントラント率が略0.1であり、かつ、アスペクト比が略4であるので、スモークの発生を最小限に抑えることができる。
また、前記ピストンの外径をD0とした場合に、前記リップ径D2を前記ピストン外径D0で除した値が0.5以上0.7以下であることが好適である。
内燃機関においては、ピストンが下死点から上死点へ上昇する圧縮行程において、吸気ポートからのスワールエネルギーが保存され、燃焼室内において運動量が保存されるので、スワール流の角速度は(D2/D0)×スワール比に比例する。
それゆえ、ピストンの外径D0の値が小さくなるほど角速度が速くなり、隣接する噴霧同士が重なり易くなるためスモークが発生し易くなる。一方、ピストンの外径D0の値が大きくなるほど角速度が遅くなり、隣接する噴霧同士が重なり難くなるが、かかる場合にはスワール流が弱くなり燃料と空気がうまく混合し難くなるのでスモークが発生し易くなる。
本発明者の研究により、リエントラント率を0.1、アスペクト比を4に固定した場合
、リップ径D2をピストン外径D0で除した値であるD2/D0が0.5より小さくなるほど、及び0.7より大きくなるほどスモーク発生量が増加することが判明した。それゆえ、D2/D0の値が0.5以上0.7以下である場合に、スモークの発生を最小限に抑えることができる。
また、本発明に係るリエントラント型燃焼室を有する直接噴射式圧縮着火機関においては、複数の噴孔を有する燃料噴射弁が前記燃焼室内に前記噴孔を臨ませるように設けられており、前記燃料噴射弁により噴射された燃料の噴霧軸線とピストンが上死点に位置するときの前記燃焼室の壁面との交点Pからピストン頂面までのシリンダ軸方向距離Lを、ピストンに形成されたキャビティの最大深さHで除した値が0.3以上0.5以下であり、かつ、前記噴霧軸線と前記交点Pとを通る平面上において、前記交点Pで前記燃焼室の壁面に接する接線と前記噴霧軸線のなす角が30°以上45°以下であることを特徴とする。
燃料噴射弁により噴射された燃料の噴霧軸線とピストンが上死点に位置するときの燃焼室の壁面との交点Pからピストン頂面までのシリンダ軸方向距離Lが短い場合には、スキッシュエリアに噴霧が入り易くなるのでスモークが発生し易くなる。一方、距離Lが長い場合には燃焼室内に形成されるタンブル流に対して燃焼室壁面衝突後の噴霧が逆流し易くなるため燃料と空気がうまく混合し難くなりスモークが発生し易くなる。本発明者の研究により、距離Lをキャビティの最大深さHで除した値であるL/Hが0.3以上0.5以下である場合にスモークの発生が減少することが判明した。
また、燃料噴射弁により噴射された燃料の噴霧軸線と交点Pとを通る平面上において、交点Pで燃焼室壁面に接する接線と噴霧軸線のなす角の角度αが小さいと、噴霧のエネルギが微粒化に使われずに燃料がほとんど燃焼室壁面に付着するか壁面近傍に存在することとなり、スモークが発生してしまう。一方、角度αが大きいと燃焼室内に形成されるタンブル流に対して逆方向にも噴霧が巻き上がり易くなるため燃料と空気がうまく混合し難くなりスモークが発生し易くなる。本発明者の研究により、角度αが30°以上45°以下である場合にスモークの発生が減少することが判明した。
本発明に係る直接噴射式圧縮着火機関においては、L/Hが0.3以上0.5以下であり、かつ、角度αが30°以上45°以下であるので、スモークの発生を最小限に抑えることができる。
また、かかる直接噴射式圧縮着火機関においても、前記キャビティの最大径をD1、リップ径をD2とした場合に、リエントラント率である(D1−D2)/D1の値が略0.1であり、かつ、アスペクト比であるD1/Hの値が略4であることが好適であるのは上述した通りである。さらに、前記ピストンの外径をD0とした場合に、前記リップ径D2を前記ピストン外径D0で除した値が0.5以上0.7以下であることが好適であるのも上述した通りである。
また、前記ピストン外径D0、前記リップ径D2、スワール比S及び前記燃料噴射弁の噴孔数Nとの間に(D0/D2)×S×N=略56の関係が成立するように形成されることが好適である。
上述したように、スワール流の角速度は(D2/D0)×スワール比に比例し、この角速度を燃料噴射弁の噴孔数で割ると隣接する噴霧への到達時間となる。それゆえ、D0及びD2が一定であるとすると、燃料噴射弁の噴孔数が多いほど到達時間が短くなり、隣接する噴霧同士が重なり易くなるためスモークが発生し易くなる。一方、噴孔数が少ないほど到達時間が長くなり隣接する噴霧同士が重なり難くなるが、総燃料噴射量は同じであ
る場合1つの噴孔から噴射される燃料量が多くなり、燃料が霧化・気化し難くなるので、燃料と空気がうまく混合し難くなりスモークが発生し易くなる。
本発明者の研究により、前記ピストン外径D0、前記リップ径D2、スワール比S及び前記燃料噴射弁の噴孔数Nとの間に(D0/D2)×S×N=略56の関係が成立するように形成されている場合にスモークの発生を最小限に抑えることができることが判明した。それゆえ、本発明に係る直接噴射式圧縮着火機関のように構成することで、スモークの発生を最小限に抑えることができる。
以上説明したように、本発明によれば、全運転領域においてスモークの発生を減少させることができる。
実施例1に係るリエントラント型燃焼室を有する直接噴射式圧縮着火機関の部分断面図である。 リエントラント率とスモーク発生率の関係を示す図である。 リエントラント率が大きい場合のリエントラント型燃焼室におけるスキッシュ流の発生の様子を示す図である。 リエントラント率が小さい場合のリエントラント型燃焼室における燃料の流れの様子を示す図である。 アスペクト比とスモーク発生率の関係を示す図である。 D2/D0とスモーク発生量の関係を示す図である。 D2/D0とHC発生量の関係を示す図である。 Aとスモーク発生量の関係を示す図である。 10個の噴孔を有する燃料噴射弁の噴霧軸線を示す図である。 L/Hとスモーク発生量の関係を示す図である。 αとスモーク発生量の関係を示す図である。 従来のリエントラント型燃焼室を有する直接噴射式圧縮着火機関の部分断面図である。
以下に図面を参照して、この発明を実施するための最良の形態を例示的に詳しく説明する。ただし、この最良の形態に記載されている構成部品の寸法、材質、形状、その相対配置などは、特に特定的な記載がない限りは、この発明の範囲をそれらのみに限定する趣旨のものではない。
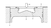
図1に基づいて本実施例1に係る直接噴射式圧縮着火機関の燃焼室について説明する。当該燃焼室は、シリンダブロックのシリンダ1にピストン外径D0のピストン2を嵌合し、シリンダブロックに固定したシリンダヘッド3でシリンダ1におけるピストン頂面2a側開口を閉鎖することにより構成されている。そして、燃焼室内に噴孔が臨むように燃料噴射弁4が設けられている。
ピストン2は、図1に示すように、頂面にキャビティ5を同心の回転体形状に形成している。キャビティ5は、図1に示すように最大径をD1、リップ径をD2、最大深さをHとすると、リップ径D2<最大径D1である、いわゆるリエントラント型燃焼室であり、最大径D1に対して最大深さHが小さい浅皿型の燃焼室でもある。
一般的に、内燃機関が低速運転領域、高速運転領域などいかなる運転領域であるかによ
って、燃焼室内に発生するスワール流やタンブル流も異なるため、空気と燃料の混合度合いも異なる。また、本発明者の研究によると、このようなリエントラント型燃焼室においては、リエントラント率(=(D1−D2)/D1)及びアスペクト比(=D1/H)の値によっても空気と燃料の混合度合いも異なり、それに応じてスモークの発生量が異なることが判明した。
図2に示したのが、アスペクト比を4に固定してリエントラント率を変更した場合の、低速運転領域及び高速運転領域におけるスモーク発生率の実験データである。本図に示すように、内燃機関が低速運転領域である場合には、リエントラント率が0.1以下である場合にはスモーク発生率が零であるのに対して、リエントラント率が0.1より大きくなるほど零より大きくなる。これはリエントラント率が大きいと、図3に示すようにスキッシュ流が燃焼室中心に向かうために、燃料と空気の混合がうまく行われずにスモークが増加してしまうものと考えられる。
一方、内燃機関が高速運転領域である場合には、リエントラント率が0.1以上である場合にはスモーク発生率が4%であるのに対して、リエントラント率が0.1より小さい場合には、その値が小さくなるほどスモーク発生率が大きくなる。これは、かかる運転領域においては、燃焼室内に発生するタンブル流も大きいので、リエントラント率が小さいと、図4に示すように噴射された燃料がピストン頂面2aとシリンダヘッド3の間に入り易くなるためスモークが増加してしまうものと考えられる。
また、図5に示したのが、リエントラント率を0.1に固定してアスペクト比を変更した場合の、低速、中速及び高速運転領域におけるスモーク発生率の実験データである。本図に示すように、内燃機関が低速運転領域であるときには、アスペクト比が4以下である場合にはスモーク発生率が零であるのに対して、アスペクト比が4より大きくなるほど増加していく。これは、かかる運転領域においては、気筒内にタンブル流が形成され難くなり、アスペクト比が大きい方が、燃焼室内でもタンブル流が形成され難くなるので、燃料と空気がうまく混合されずにスモークが発生してしまうものと考えられる。
また、内燃機関が中速運転領域であるときには、アスペクト比が4以上である場合にはスモーク発生率が零であるのに対して、アスペクト比が4より小さくなるほど増加していく。これは、アスペクト比が小さいと、燃料噴射弁の噴孔と燃焼室の壁面までの距離が短く、また、かかる運転領域では燃焼室内で発生するタンブル流も弱いために噴射された燃料の燃焼室壁面への付着が多くなり、燃料と空気がうまく混合されずにスモークが発生してしまうものと考えられる。
また、内燃機関が高速運転領域であるときには、アスペクト比が4以下である場合にはスモーク発生率が3%であるのに対して、アスペクト比が4より大きくなるほど増加していく。これは、アスペクト比が大きいと、ピストンスピードが速いのに対して噴射された燃料の燃焼室壁面への衝突距離が長く、また、かかる運転領域では燃焼室内に発生するタンブル流が強いため、噴霧が燃焼室壁面へ到達し難くなり、燃料と空気がうまく混合されずにスモークが発生してしまうものと考えられる。
また、アスペクト比が小さいと、燃料噴射弁の噴射孔と燃焼室の壁面までの距離が短いので噴射された燃料の燃焼室壁面への付着が多くなり、断熱され難くなり燃費が悪化してしまう。
以上のことより、このようなリエントラント型燃焼室においては、リエントラント率が略0.1、アスペクト比が略4であることが好ましい。
このような燃焼系を有する内燃機関においては、ピストン2が下死点から上死点へ上昇する圧縮行程において、吸気ポートからのスワールエネルギーが保存されて、燃焼室内に運動量が保存されるので、スワール流の角速度は(D2/D0)×スワール比に比例する。そして、この角速度を燃料噴射弁4の噴孔数で割ると隣接する噴霧への到達時間となる。
それゆえ、燃料噴射弁4の噴孔数が同じであるとすると、ピストン2の外径D0の値が小さくなるほど角速度が速くなり、隣接する噴霧同士が重なり易くなるためスモークが発生し易くなる。一方、外径D0の値が大きくなるほど到達時間が遅くなり、隣接する噴霧同士が重なり難くなるが、かかる場合にはスワール流が弱いために燃料と空気がうまく混合し難くなるのでスモークが発生し易くなる。
本発明者の研究により、リエントラント率を0.1、アスペクト比を4に固定して、D2/D0を変更させた場合のスモーク及びHCの発生量は図6、7のようになることが判明した。図6に示すように、D2/D0が0.5より小さくなるほど、及び0.7より大きくなるほどスモーク発生量が増加していることがわかる。このことは、スモークを発生させないように運転させるには、燃料噴射時期を遅らせる必要があり、燃費が悪化することを意味している。また、図7に示すように、D2/D0が0.5より大きくなるほどHC発生量が増加していることがわかる。以上のことにより、D2/D0の値は0.5以上0.7以下であることが好ましい。
また、リエントラント率を0.1、アスペクト比を4に固定した場合、D2/D0の値に応じて圧縮比が変動する。つまり、D2/D0の値が大きくなるのに応じて圧縮比が小さくなっていく。それゆえ、D2/D0の値が0.5以上0.7以下であることは、D2/D0の値が0.5より小さい場合と比べて低圧縮比であることを意味している。
上述したように、スワール流の角速度は(D2/D0)×スワール比に比例し、この角速度を燃料噴射弁の噴孔数で割ると隣接する噴霧への到達時間となる。それゆえ、D0及びD2が一定である場合には、燃料噴射弁の噴孔数が多いと到達時間が短くなり、隣接する噴霧同士が重なり易くなるためスモークが発生し易くなる。一方、噴孔数が少ないと到達時間が長くなり隣接する噴霧同士が重なり難くなるが、総燃料噴射量は同じであるので1つの噴孔から噴射される燃料量が多くなり、霧化・気化し難くなるので、燃料と空気がうまく混合し難くなりスモークが発生し易くなる。
本発明者は、A=(D0/D2)×スワール比×噴孔数として、Aに応じてどのようにスモーク発生量が変動するかを研究したところ図8のようになることが判明した。つまりAが略56のときにスモーク排出量が最低になる。それゆえ、D0=86(mm)、D2=52.7(mm)、スワール比=2.1である場合には、56/((86/52.7)×2.1)=10となり、燃料噴射弁4の噴孔数としては10が好適であることがわかる。つまり、かかる場合には、図9に示すように、燃料噴射弁4に、円周方向36°の等間隔となる向きに燃料を噴射するように10個の噴孔を形成することが好適である。
また、本発明者の研究によると、図1に示すように、燃料噴射弁4により噴射された燃料の噴霧軸線とピストンが上死点に位置するときの燃焼室の壁面との交点Pからピストン頂面2aまでのシリンダ軸方向距離をLとすると、L/Hが0.3より小さい場合スキッシュエリアに噴霧が入り易くなりスモークも発生し易くなる。一方、L/Hが0.5より大きい場合には燃焼室内に形成されるタンブル流に対して燃焼室壁面衝突後の噴霧が逆流し易くなるため燃料と空気がうまく混合し難くなりスモークが発生し易くなる。つまり、L/Hを変更させた場合のスモークの発生レベルは図10のようになる。したがって、L/Hは0.3以上0.5以下であることが好適である。
また、本発明者の研究によると、図1に示すような噴霧軸線と交点Pとを通る平面上において、交点Pで燃焼室の壁面に接する接線と噴霧軸線のなす角αが、30°より小さいほど、噴霧のエネルギが微粒化に使われずに燃料がほとんど燃焼室壁面に付着するか壁面近傍に存在し易くなり、スモーク発生量が増加してしまう。また、かかる場合においては断熱が困難となり燃費が悪化してしまう。一方、角度αが50°より大きいほど燃焼室内に形成されるタンブル流に対して逆方向にも噴霧が巻き上がり易くなるため燃料と空気がうまく混合し難くなりスモークが発生し易くなる。つまり、角度αを変更させた場合のスモークの発生量は図11のようになる。したがって、角度αは30°以上45°以下であることが好適である。
以上説明したように、キャビティ5の形状、つまりリエントラント型燃焼室の形状を、リエントラント率が略0.1、アスペクト比が略4、D2/D0が0.5以上0.7以下となるように形成することによりスモークの発生を減少させることができる。
また、リエントラント型燃焼室を有する直接噴射式圧縮着火機関においては、リエントラント率が略0.1、アスペクト比が略4、D2/D0が0.5以上0.7以下となるように形成すると共に、L/Hが0.3以上0.5以下、αが30°以上45°以下となるように燃料噴射弁4の位置およびリエントラント型燃焼室の形状を決定することによりスモークの発生を減少させることができる。
さらに、当該機関のスワール比をS、燃料噴射弁の噴孔数をNとした場合に、(D0/D2)×S×N=略56の関係が成立するように形成することにより、スモークの発生を減少させることができる。
1 シリンダ
2 ピストン
3 シリンダヘッド
4 燃料噴射弁
5 キャビティ

Claims (6)

  1. ピストンに形成されたキャビティの最大径をD1、リップ径をD2、最大深さをHとした場合に、リエントラント率である(D1−D2)/D1の値が略0.1であり、かつ、アスペクト比であるD1/Hの値が略4であることを特徴とする直接噴射式圧縮着火機関のリエントラント型燃焼室。
  2. 前記ピストンの外径をD0とした場合に、前記リップ径D2を前記ピストン外径D0で除した値が0.5以上0.7以下であることを特徴とする請求項1に記載の直接噴射式圧縮着火機関のリエントラント型燃焼室。
  3. リエントラント型燃焼室を有する直接噴射式圧縮着火機関において、
    複数の噴孔を有する燃料噴射弁が前記燃焼室内に前記噴孔を臨ませるように設けられており、
    前記燃料噴射弁により噴射された燃料の噴霧軸線とピストンが上死点に位置するときの前記燃焼室の壁面との交点Pからピストン頂面までのシリンダ軸方向距離Lを、ピストンに形成されたキャビティの最大深さHで除した値が0.3以上0.5以下であり、かつ、前記噴霧軸線と前記交点Pとを通る平面上において、前記交点Pで前記燃焼室の壁面に接する接線と前記噴霧軸線のなす角が30°以上45°以下であることを特徴とする直接噴射式圧縮着火機関。
  4. 前記キャビティの最大径をD1、リップ径をD2とした場合に、リエントラント率である(D1−D2)/D1の値が略0.1であり、かつ、アスペクト比であるD1/Hの値が略4であることを特徴とする請求項3に記載の直接噴射式圧縮着火機関。
  5. 前記ピストンの外径をD0とした場合に、前記リップ径D2を前記ピストン外径D0で除した値が0.5以上0.7以下であることを特徴とする請求項4に記載の直接噴射式圧縮着火機関。
  6. 前記ピストン外径D0、前記リップ径D2、スワール比S及び前記燃料噴射弁の噴孔数Nとの間に(D0/D2)×S×N=略56の関係が成立するように形成されることを特徴とする請求項5に記載の直接噴射式圧縮着火機関。
JP2009273814A 2009-12-01 2009-12-01 直接噴射式圧縮着火機関 Expired - Fee Related JP4924702B2 (ja)

Priority Applications (1)

Application Number Priority Date Filing Date Title
JP2009273814A JP4924702B2 (ja) 2009-12-01 2009-12-01 直接噴射式圧縮着火機関

Applications Claiming Priority (1)

Application Number Priority Date Filing Date Title
JP2009273814A JP4924702B2 (ja) 2009-12-01 2009-12-01 直接噴射式圧縮着火機関

Related Parent Applications (1)

Application Number Title Priority Date Filing Date
JP2004213161A Division JP2006029292A (ja) 2004-07-21 2004-07-21 直接噴射式圧縮着火機関のリエントラント型燃焼室及び直接噴射式圧縮着火機関

Publications (2)

Publication Number Publication Date
JP2010048260A true JP2010048260A (ja) 2010-03-04
JP4924702B2 JP4924702B2 (ja) 2012-04-25

Family

ID=42065516

Family Applications (1)

Application Number Title Priority Date Filing Date
JP2009273814A Expired - Fee Related JP4924702B2 (ja) 2009-12-01 2009-12-01 直接噴射式圧縮着火機関

Country Status (1)

Country Link
JP (1) JP4924702B2 (ja)

Cited By (3)

* Cited by examiner, † Cited by third party
Publication number Priority date Publication date Assignee Title
WO2012088367A3 (en) * 2010-12-22 2012-11-01 Caterpillar Inc. Piston with cylindrical wall
JP2013527360A (ja) * 2010-01-29 2013-06-27 リカルド ユーケー リミテッド 直噴ディーゼルエンジン
JP2014020238A (ja) * 2012-07-13 2014-02-03 Isuzu Motors Ltd ピストンシリンダ構造

Citations (3)

* Cited by examiner, † Cited by third party
Publication number Priority date Publication date Assignee Title
JPS61116125A (ja) * 1984-11-13 1986-06-03 Toyota Motor Corp レブロジヨイントのアウタ−レ−ス
JPH07150944A (ja) * 1993-12-02 1995-06-13 Toyota Motor Corp 直噴式ディーゼルエンジンの燃焼室構造
JP2571792Y2 (ja) * 1989-08-09 1998-05-18 三菱自動車工業株式会社 直噴式ディーゼルエンジンの燃焼室形状

Patent Citations (3)

* Cited by examiner, † Cited by third party
Publication number Priority date Publication date Assignee Title
JPS61116125A (ja) * 1984-11-13 1986-06-03 Toyota Motor Corp レブロジヨイントのアウタ−レ−ス
JP2571792Y2 (ja) * 1989-08-09 1998-05-18 三菱自動車工業株式会社 直噴式ディーゼルエンジンの燃焼室形状
JPH07150944A (ja) * 1993-12-02 1995-06-13 Toyota Motor Corp 直噴式ディーゼルエンジンの燃焼室構造

Cited By (4)

* Cited by examiner, † Cited by third party
Publication number Priority date Publication date Assignee Title
JP2013527360A (ja) * 2010-01-29 2013-06-27 リカルド ユーケー リミテッド 直噴ディーゼルエンジン
WO2012088367A3 (en) * 2010-12-22 2012-11-01 Caterpillar Inc. Piston with cylindrical wall
US8813713B2 (en) 2010-12-22 2014-08-26 Caterpillar Inc. Piston with cylindrical wall
JP2014020238A (ja) * 2012-07-13 2014-02-03 Isuzu Motors Ltd ピストンシリンダ構造

Also Published As

Publication number Publication date
JP4924702B2 (ja) 2012-04-25

Similar Documents

Publication Publication Date Title
US9279361B2 (en) Piston bowl with spray jet targets
US8459229B2 (en) Piston bowl with spray jet targets
JP5226795B2 (ja) 車両の燃焼機関の排気を削減する装置
US20110259297A1 (en) Piston Bowl With Deflecting Features
US20200340391A1 (en) Air-compressing internal combustion engine
JP2010101243A (ja) ディーゼル内燃機関用のピストン
JP2012246859A (ja) 内燃機関及び内燃機関の燃料噴射方法
JP2006299885A (ja) 直接噴霧式ディーゼル機関
CN102985658A (zh) 具有带螺旋分级的活塞凹坑的压燃式内燃机
US20060102141A1 (en) Direct injection engine and controller for the same
JP4384945B2 (ja) 直噴式ディーゼル機関の燃焼室形状
US6062192A (en) Internal combustion engine with spark ignition
US20030127069A1 (en) Direct fuel injection engine
EP0105933A1 (en) Combustion chamber of diesel engine
JP4924702B2 (ja) 直接噴射式圧縮着火機関
JP2006029292A (ja) 直接噴射式圧縮着火機関のリエントラント型燃焼室及び直接噴射式圧縮着火機関
US6267096B1 (en) Three-valve cylinder head system
WO2019044647A1 (ja) エンジンの燃焼室構造
US10662866B2 (en) Diesel engine and method for fuel distribution and combustion in combustion chamber of diesel engine
JP2019039419A (ja) エンジンの燃焼室構造
JP6164795B2 (ja) 内燃機関のピストン
JP2011226435A (ja) エンジンの燃焼室構造
EP0828066B1 (en) Combustion chamber of diesel engine
JP2011026965A (ja) 内燃機関
JP2013092103A (ja) 内燃機関

Legal Events

Date Code Title Description
A521 Written amendment

Free format text: JAPANESE INTERMEDIATE CODE: A523

Effective date: 20091203

A621 Written request for application examination

Free format text: JAPANESE INTERMEDIATE CODE: A621

Effective date: 20091203

TRDD Decision of grant or rejection written
A01 Written decision to grant a patent or to grant a registration (utility model)

Free format text: JAPANESE INTERMEDIATE CODE: A01

Effective date: 20120110

A01 Written decision to grant a patent or to grant a registration (utility model)

Free format text: JAPANESE INTERMEDIATE CODE: A01

A61 First payment of annual fees (during grant procedure)

Free format text: JAPANESE INTERMEDIATE CODE: A61

Effective date: 20120123

FPAY Renewal fee payment (event date is renewal date of database)

Free format text: PAYMENT UNTIL: 20150217

Year of fee payment: 3

R151 Written notification of patent or utility model registration

Ref document number: 4924702

Country of ref document: JP

Free format text: JAPANESE INTERMEDIATE CODE: R151

FPAY Renewal fee payment (event date is renewal date of database)

Free format text: PAYMENT UNTIL: 20150217

Year of fee payment: 3

LAPS Cancellation because of no payment of annual fees