JP2010048003A - 地盤改良施工機械のバケット装置 - Google Patents

地盤改良施工機械のバケット装置 Download PDF

Info

Publication number
JP2010048003A
JP2010048003A JP2008213903A JP2008213903A JP2010048003A JP 2010048003 A JP2010048003 A JP 2010048003A JP 2008213903 A JP2008213903 A JP 2008213903A JP 2008213903 A JP2008213903 A JP 2008213903A JP 2010048003 A JP2010048003 A JP 2010048003A
Authority
JP
Japan
Prior art keywords
bucket
concrete
ready
bucket body
mixed concrete
Prior art date
Legal status (The legal status is an assumption and is not a legal conclusion. Google has not performed a legal analysis and makes no representation as to the accuracy of the status listed.)
Granted
Application number
JP2008213903A
Other languages
English (en)
Other versions
JP5190948B2 (ja
Inventor
Makoto Otsuka
誠 大塚
Shuji Isotani
修二 磯谷
Toshihisa Taniguchi
利久 谷口
Current Assignee (The listed assignees may be inaccurate. Google has not performed a legal analysis and makes no representation or warranty as to the accuracy of the list.)
Fudo Tetra Corp
Original Assignee
Fudo Tetra Corp
Priority date (The priority date is an assumption and is not a legal conclusion. Google has not performed a legal analysis and makes no representation as to the accuracy of the date listed.)
Filing date
Publication date
Application filed by Fudo Tetra Corp filed Critical Fudo Tetra Corp
Priority to JP2008213903A priority Critical patent/JP5190948B2/ja
Publication of JP2010048003A publication Critical patent/JP2010048003A/ja
Application granted granted Critical
Publication of JP5190948B2 publication Critical patent/JP5190948B2/ja
Active legal-status Critical Current
Anticipated expiration legal-status Critical

Links

Images

Landscapes

  • Piles And Underground Anchors (AREA)
  • Investigation Of Foundation Soil And Reinforcement Of Foundation Soil By Compacting Or Drainage (AREA)

Abstract

【課題】地盤中に打設するコンクリート杭に使用する生コンクリートのスランプ値を調整できるようにした地盤改良施工機械のバケット装置を提供する。
【解決手段】生コンクリートを内部に収容し、地盤中に貫入してコンクリート杭を打設するケーシングパイプ4の上部に取り付けたホッパー6まで生コンクリートを搬送するために昇降動するバケット本体14を備えると共に、このバケット本体14の昇降動を行うためのバケット用昇降機33を備えた地盤改良施工機械のバケット装置において、バケット本体14を回転自在とし、このバケット本体14を回転させる動力源ユニット18を設けて、バケット本体14内に、コンクリート凝結・硬化促進剤又はコンクリート凝結・硬化遅延剤を入れて、動力源ユニット18にてバケット本体14を回転させることにより、これらを混合して、生コンクリートのスランプ値を調整するようにすると共に、回転するバケット本体14と、バケット本体14を回転させる動力源ユニット18と、が切り離し自在となるようにする。
【選択図】図7

Description

本発明は、地盤中にコンクリート杭を打設して、軟弱な地盤を安定した地盤へと改良するための地盤改良施工機械にあって、その地盤改良施工機械のバケット装置に関する。
従来、地盤改良施工機械を用いて、地盤中にコンクリート杭を打設することにより、軟弱な地盤を安定した地盤へと改良するコンクリート杭打設方法が知られていた。このコンクリート杭打設方法おいて、地盤中にコンクリート杭を打設する際、コンクリート杭に使用する生コンクリートは、生コンクリート工場において所定配合・混合され生産されたものであって、生コンクリート工場で生産された生コンクリートを施工現場までアジテータトラックで運んで来て、施工現場の地盤改良施工機械に供給するようにしていた。また、施工現場が軟弱な地盤であることから、アジテータトラックで運んで来た生コンクリートを、一旦、タイヤショベルに移して、このタイヤショベルを介して、地盤改良施工機械に生コンクリートを供給していた。
この地盤改良施工機械は、施工機本体にマストを立設すると共に、地盤中に貫入するケーシングパイプをマストに沿うように縦に向けて配置しており、このケーシングパイプの上部に、ケーシングパイプを回転させる回転装置、ケーシングパイプ内に生コンクリートを投入するホッパー、ケーシングパイプを昇降させる昇降装置をそれぞれ取り付けている。そして、タイヤショベルより生コンクリートを受け取って、マストの上方に位置するホッパーまで生コンクリートを搬送するためのバケット装置を備えていた。
このバケット装置としては、生コンクリートを内部に収容する深桶状のバケット本体を備え、このバケット本体が立設するマストに沿って昇降動するようになり、また、バケット本体の昇降動を行うためのバケット用昇降機を備え、このバケット用昇降機はバケットに継合するワイヤー、このワイヤーの出し入れを行う巻上機とから成っている。そして、バケット用昇降機によりバケット本体を昇降動させることで、バケット本体内に収容した生コンクリートを、ケーシングパイプの上部に取り付けたホッパーまで搬送するようにしている。
このような構成となる地盤改良施工機械にあって、その施工としては、まず、ケーシングパイプを地盤中に所定深度まで貫入し、地盤中に貫入したケーシングパイプ内に所定量の生コンクリートをホッパーより投入する。投入後、ケーシングパイプの先端から生コンクリートを排出しながら引抜き・打戻しを繰り返し行う。そして、再びケーシングパイプ内に所定量の生コンクリートをホッパーより投入して、ケーシングパイプの先端から生コンクリートを排出しながら引き抜き・打ち戻しを繰り返し行う。これを複数回にわたって行うことで、地盤中にケーシングパイプの径より大きな径のコンクリート杭を打設することができ、これと同時に、このコンクリート杭間の地盤を締め固めることができ、これにより、地盤全体の密度を増大させて、軟弱な地盤を安定した地盤へと改良していた。
従来の地盤改良施工機械を用いたコンクリート杭打設方法において、地盤中に打設するコンクリート杭に使用する生コンクリートにあっては、生コンクリート工場にて所望のスランプ値となるように、具体的にはスランプ値の許容が8cm±2.5cmとなるように生産されて、ここで生産された生コンクリートを施工現場までアジテータトラックで運んで来て、さらに、タイヤショベルを介して地盤改良施工機械のバケット装置にて受け取るようにしていたが、アジテータトラックによる生コンクリート工場からの搬送に時間がかかったり、あるいはアジテータトラックによる施工現場への搬入時刻と地盤改良施工機械による施工時刻との間で大きな時間のズレがあると、生コンクリートが時間の経過と共にそのスランプ値が小さくなり、すなわち硬くなって流動性が悪くなるといったことが起こり、ケーシングパイプ内への生コンクリートの投入やケーシングパイプから地盤中への生コンクリートの排出ができなくなるといった問題が発生するおそれがあった。さらに、気温の上昇や施工時の地盤改良施工機械における熱の発生などによっても、生コンクリートのスランプ値が小さくなるといった問題もあった。
一方、このような問題を解消するため、生コンクリート工場において、生産する生コンクリートを、予めスランプ値の大きなもの、すなわち軟らかいものにしておくことも考えられるが、生コンクリートのスランプ値が大きなままであると、流動性は良くなるものの、その反面、地盤中におけるコンクリート杭を打設する際に締め固めができなくなるといった問題が発生するおそれがあると共に、生コンクリートのスランプ値があまりにも大きいと、生コンクリートの分離といった問題も起こる。
このように生コンクリート工場において、生産する生コンクリートのスランプ値を調節することは、アジテータトラックによる生コンクリートの搬送状況、あるいは施工現場での作業状況などが、常に異なっていることから、極めて難しいというのが実情であった。
本発明は、かかる従来の問題に鑑み、地盤中に打設するコンクリート杭に使用する生コンクリートのスランプ値を調整できるようにした地盤改良施工機械のバケット装置を提供することを、その課題とするものである。
本発明は、生コンクリートを内部に収容し、地盤中に貫入してコンクリート杭を打設するケーシングパイプの上部に取り付けたホッパーまで生コンクリートを搬送するために昇降動するバケット本体を備えると共に、このバケット本体の昇降動を行うためのバケット用昇降機を備えた地盤改良施工機械のバケット装置において、バケット本体を回転自在とし、このバケット本体を回転させる動力源ユニットを設けて、バケット本体内に、コンクリート凝結・硬化促進剤又はコンクリート凝結・硬化遅延剤を入れて、動力源ユニットにてバケット本体を回転させることにより、これらを混合して、生コンクリートのスランプ値を調整するようにすると共に、回転するバケット本体と、バケット本体を回転させる動力源ユニットと、が切り離し自在となるようにした地盤改良施工機械のバケット装置である。
本発明によれば、バケット本体を回転自在として、バケット本体内に、生コンクリートと共に、コンクリート凝結・硬化促進剤又はコンクリート凝結・硬化遅延剤を入れて、バケット本体を回転させて、これらを混合することにより、生コンクリートのスランプ値を調整することができる。よって、アジテータトラックによる生コンクリート工場からの生コンクリートの搬送状況、あるいは施工現場での作業状況、さらには、気温の上昇や施工時の地盤改良施工機械における熱の発生などによる影響などによって、生コンクリートのスランプ値に変化が生じても、地盤中にコンクリート杭を打設する作業直前に、生コンクリートのスランプ値を最適な値に調整することで、コンクリート杭に使用する生コンクリートにおいて硬すぎたり軟らかすぎたりすることがなく、ケーシングパイプ内への生コンクリートの投入やケーシングパイプから地盤中への生コンクリートの排出などの作業において、不具合が生じることなく良好に行うことができ、地盤中にコンクリート杭を打設して軟弱な地盤を安定した地盤へと改良する地盤改良を極めて良好に行うことができる。
また、本発明によれば、回転するバケット本体と、バケット本体を回転させる動力源ユニットと、が切り離し自在となるようにしたことにより、上方のホッパーまで生コンクリートを搬送する際は、重量物となる動力源ユニットが切り離されて下方に残ることで、吊り上げ重量が大幅に軽くなり、バケット本体を容易に上方のホッパーまで上昇させることができる。これにより、能力の大きな大型のバケット用昇降機を用いる必要がなく、施工機本体での軽量化を図ることができると共に、バケット装置、延いては地盤改良施工機械を安価なものにすることができる。
本発明による地盤改良施工機械のバケット装置の一実施形態について説明する。
まず、この地盤改良施工機械としては、図1、図2に示すように、各種の動力源あるいは運転室1を設けて、かつ自走可能となる施工機本体2を備える。そして、この施工機本体2に縦に向かうマスト3を立設する。また、このマスト3に沿うように、地盤中に貫入するケーシングパイプ4を縦に向けて配置しており、このケーシングパイプ4の上部には、ケーシングパイプ4を回転させる回転装置5、ケーシングパイプ4内に生コンクリートを投入するホッパー6、ケーシングパイプ4を昇降させる昇降装置7をそれぞれ取り付ける。そして、マスト3の上方に位置するホッパー6まで生コンクリートを搬送するためのバケット装置を備えている。
そして、このバケット装置としては、図3、図4に示すように、地盤改良施工機械のマスト3に沿って昇降動する昇降体11を備え、この昇降体11にマスト3側のレールに案内されて摺動するガイド板12を設ける。また、昇降体11には下向き略コ字形の上部枠13を固着する。そして、この上部枠13にドラム型のバケット本体14を回転自在にかつ前後傾動自在に取り付けており、バケット本体14の前後傾動を行うための傾動用シリンダ15を設ける。このバケット本体14にあっては、上部のみを開口しており、ここで生コンクリートの投入及び排出を行うようにすると共に、その内壁にフィン状の混合翼を固着している。
また、昇降体11及び上部枠13にロックシリンダ16を介して切り離し自在に取り付ける上向き略コ字形の下部枠17を設け、この下部枠17は地盤改良施工機械のマスト3にブラケットを介して固着している。そして、この下部枠17に動力源ユニット18とバケット保持部19とをバケット本体14の前後傾動に連動するように前後傾動自在に取り付ける。また、バケット保持部19はバケット本体14の下側に摺動可能に当接してバケット本体14を保持する。
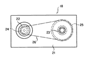
この動力源ユニット18は、図5、図6に示すように、ベース21を備え、このベース21の一方に動力源である電動モータ22及び減速機を設けると共に、ベース21の他方に円筒歯車23を回転自在に設け、この円筒歯車23は伝動手段であるスプロケット24,25やチェーン26などを介して電動モータ22により回転するようになっている。
また、バケット本体14の下端には、動力源ユニット18の円筒歯車23に噛合う円筒歯車31を設けると共に、円筒歯車31の内側に位置決め用のパイロットピン32を設けて、この円筒歯車31が動力源ユニット18の円筒歯車23に噛合うことで、動力源ユニット18の電動モータ22の動力が、伝動手段、二つの円筒歯車23,31を介してバケット本体14に伝わり、バケット本体14を回転させるようにしている。
そして、このように動力源ユニット18の電動モータ22によって回転するバケット本体14を備えたことで、生コンクリート工場において生産され搬送されてきた生コンクリートを、バケット本体14内に収容した後、バケット本体14内に、所定量のコンクリート凝結・硬化促進剤又はコンクリート凝結・硬化遅延剤を入れて、バケット本体14を動力源ユニット18の電動モータ22によって回転させることにより、バケット本体14の内壁に固着した混合翼によってこれらを混合して、生コンクリートのスランプ値を最適な値に調整するようにしている。
また、このバケット装置にあっては、ケーシングパイプ4の上部に取り付けたホッパー6まで生コンクリートを搬送するため、バケット本体14を昇降動させるバケット用昇降機33を備えており、このバケット用昇降機33は、バケット本体14を取り付けた上部枠13の上方にワイヤー34を継合して、このワイヤー34はマスト3の上端を経て施工機本体2へと向かい、施工機本体2に備えた巻上機35につながって、巻上機35によりワイヤー34の出し入れが行われる。これにより、バケット本体14の上昇や下降、要するにバケット本体14の昇降動を行うことで、バケット本体14内に収容した生コンクリートを、ケーシングパイプ4の上部に取り付けたホッパー6まで搬送するようにしている。
さらに、このバケット装置では、昇降体11や上部枠13と下部枠17とを結合するロックシリンダ16を解除することで、図7に示すように、昇降体11や上部枠13及びバケット本体14と、下部枠17及び動力源ユニット18とが切り離されるようになっており、このバケット装置において、上方のホッパー6まで生コンクリートを搬送する際、重量物となる動力源ユニット18を下方に残したまま、昇降体11や上部枠13及びバケット本体14のみを上昇させるようにしている。
なお、バケット本体14内へのコンクリート凝結・硬化促進剤又はコンクリート凝結・硬化遅延剤の投入にあっては、作業者が行うようにしても良いが、ここに添加剤注入装置を備えて、この添加剤注入装置によって、コンクリート凝結・硬化促進剤又はコンクリート凝結・硬化遅延剤をバケット本体14内に注入するようにしても良い。また、このとき、動力源である電動モータ22のトルクを検出し、この検出した電動モータ22のトルクに応じて、所定量のコンクリート凝結・硬化促進剤又はコンクリート凝結・硬化遅延剤を、添加剤注入装置からバケット本体14内に注入するようにしても良い。
このように構成されたバケット装置では、以下の如く作動する。
まず、アジテータトラックで運んで来た生コンクリートを、一旦、タイヤショベルに移して、このタイヤショベルからバケット装置におけるバケット本体14内に生コンクリートが投入されるが、このとき、図8(a)に示すように、バケット本体14は傾動用シリンダ15により約60度傾動させてから、上部にシュート41を装着し、このシュート41を介してタイヤショベルから生コンクリートが投入される。投入後、動力源ユニット18の電動モータ22によってバケット本体14を回転させると共に、バケット本体14内に、所定量のコンクリート凝結・硬化促進剤又はコンクリート凝結・硬化遅延剤を入れて、これらを混合することにより、生コンクリートのスランプ値を最適な値に調整する。
混合完了後、図8(b)に示すように、バケット本体14の傾動を戻して縦に向かせて、バケット本体14が縦に向いた後、ロックシリンダ16を解除して、昇降体11や上部枠13及びバケット本体14と、下部枠17及び動力源ユニット18とを切り離なす。
そして、図8(c)に示すように、バケット用昇降機33の巻上機35を作動して、ワイヤー34を介して昇降体11や上部枠13及びバケット本体14のみをマスト3に沿って上昇させる。
そして、マスト3の上方であるケーシングパイプ4の上部に取り付けたホッパー6の上側にバケット本体14が位置したら、図8(d)に示すように、バケット本体14を傾動用シリンダ15により約120度傾動させて、そのバケット本体14内からホッパー6内へ生コンクリートを投入する。
このように、バケット装置にあっては、生コンクリート工場から搬送されてきた生コンクリートを、バケット本体14内において、コンクリート凝結・硬化促進剤又はコンクリート凝結・硬化遅延剤を入れて混合することにより、そのスランプ値が最適な値になるように調整しつつ、マスト3の上方に位置するホッパー6まで搬送して、ホッパー6、さらにはケーシングパイプ4内に生コンクリートを供給するようになっている。
以上のように、バケット装置において、バケット本体14内にて、所定量のコンクリート凝結・硬化促進剤又はコンクリート凝結・硬化遅延剤を、生コンクリートに入れて混合することで、生コンクリートのスランプ値を最適な値、例えば、許容値を8cm±0.5cmといった高精度な値にも調整することができる。すなわち、アジテータトラックによる生コンクリート工場からの生コンクリートの搬送状況、あるいは施工現場での作業状況などによって生コンクリートのスランプ値に変化が生じても、コンクリート杭を打設する作業直前に生コンクリートのスランプ値を最適な値に調整することができ、また、作業直前に生コンクリートのスランプ値を調整することによって、気温の上昇や施工時の地盤改良施工機械における熱の発生などによる影響も最低限にすることができ、これらにより、コンクリート杭に使用する生コンクリートにおいて硬すぎたり軟らかすぎたりすることがなく、ケーシングパイプ4内への生コンクリートの投入やケーシングパイプ4から地盤中への生コンクリートの排出などの作業において、不具合が生じることなく良好に行うことができる。
しかも、このバケット装置にあっては、昇降体11や上部枠13及びバケット本体14と、下部枠17及び動力源ユニット18とが切り離し自在になっており、上方のホッパー6まで生コンクリートを搬送する際は、重量物となる動力源ユニット18が切り離されて下方に残ることで、吊り上げ重量が大幅に軽くなり、バケット本体14を容易に上方のホッパー6まで上昇させることができ、能力の大きな大型のバケット用昇降機33を用いる必要がなく、バケット本体14の昇降動を容易にかつ効率良く行うことができる。
なお、前述の一実施形態において説明したバケット装置にあっては、これに限定されるものではなく、これと同様の機能を有するものであれば、構造等が多少異なっていても良い。
地盤改良施工機械の説明図である。 図1に示す地盤改良施工機械を正面から見た説明図である。 本発明による地盤改良施工機械のバケット装置の説明図である。 図3に示す地盤改良施工機械のバケット装置を側面から見た説明図である。 地盤改良施工機械のバケット装置における動力源ユニットの平面説明図である。 図5の断面説明図である。 図3に示す地盤改良施工機械のバケット装置においてバケット本体と動力源ユニットとを切り離した状態の説明図である。 (a)バケット装置における作動状態の概略説明図である。(b)バケット装置における作動状態の概略説明図である。(c)バケット装置における作動状態の概略説明図である。(d)バケット装置における作動状態の概略説明図である。
符号の説明
1…運転室、2…施工機本体、3…マスト、4…ケーシングパイプ、5…回転装置、6…ホッパー、7…昇降装置、11…昇降体、12…ガイド板、13…上部枠、14…バケット本体、15…傾動用シリンダ、16…ロックシリンダ、17…下部枠、18…動力源ユニット、19…バケット保持部、21…ベース、22…電動モータ、23…円筒歯車、24…スプロケット、25…スプロケット、26…チェーン、31…円筒歯車、32…パイロットピン、33…バケット用昇降機、34…ワイヤー、35…巻上機、41…シュート

Claims (1)

  1. 生コンクリートを内部に収容し、地盤中に貫入してコンクリート杭を打設するケーシングパイプ4の上部に取り付けたホッパー6まで生コンクリートを搬送するために昇降動するバケット本体14を備えると共に、このバケット本体14の昇降動を行うためのバケット用昇降機33を備えた地盤改良施工機械のバケット装置において、
    バケット本体14を回転自在とし、このバケット本体14を回転させる動力源ユニット18を設けて、バケット本体14内に、コンクリート凝結・硬化促進剤又はコンクリート凝結・硬化遅延剤を入れて、動力源ユニット18にてバケット本体14を回転させることにより、これらを混合して、生コンクリートのスランプ値を調整するようにすると共に、回転するバケット本体14と、バケット本体14を回転させる動力源ユニット18と、が切り離し自在となるようにしたことを特徴とする地盤改良施工機械のバケット装置。
JP2008213903A 2008-08-22 2008-08-22 地盤改良施工機械のバケット装置 Active JP5190948B2 (ja)

Priority Applications (1)

Application Number Priority Date Filing Date Title
JP2008213903A JP5190948B2 (ja) 2008-08-22 2008-08-22 地盤改良施工機械のバケット装置

Applications Claiming Priority (1)

Application Number Priority Date Filing Date Title
JP2008213903A JP5190948B2 (ja) 2008-08-22 2008-08-22 地盤改良施工機械のバケット装置

Publications (2)

Publication Number Publication Date
JP2010048003A true JP2010048003A (ja) 2010-03-04
JP5190948B2 JP5190948B2 (ja) 2013-04-24

Family

ID=42065290

Family Applications (1)

Application Number Title Priority Date Filing Date
JP2008213903A Active JP5190948B2 (ja) 2008-08-22 2008-08-22 地盤改良施工機械のバケット装置

Country Status (1)

Country Link
JP (1) JP5190948B2 (ja)

Cited By (1)

* Cited by examiner, † Cited by third party
Publication number Priority date Publication date Assignee Title
CN115453096A (zh) * 2022-08-08 2022-12-09 国网河北省电力有限公司建设公司 混凝土坍落度测量设备

Citations (1)

* Cited by examiner, † Cited by third party
Publication number Priority date Publication date Assignee Title
JP2007262813A (ja) * 2006-03-29 2007-10-11 Toda Constr Co Ltd 地盤改良沈下低減基礎工法

Patent Citations (1)

* Cited by examiner, † Cited by third party
Publication number Priority date Publication date Assignee Title
JP2007262813A (ja) * 2006-03-29 2007-10-11 Toda Constr Co Ltd 地盤改良沈下低減基礎工法

Cited By (1)

* Cited by examiner, † Cited by third party
Publication number Priority date Publication date Assignee Title
CN115453096A (zh) * 2022-08-08 2022-12-09 国网河北省电力有限公司建设公司 混凝土坍落度测量设备

Also Published As

Publication number Publication date
JP5190948B2 (ja) 2013-04-24

Similar Documents

Publication Publication Date Title
JP5190948B2 (ja) 地盤改良施工機械のバケット装置
US10309080B2 (en) Trench filling machine
US10450708B2 (en) Trench filling machine
JP4796188B2 (ja) 削岩機用セメントサイロ構造
JP5158795B2 (ja) 地盤改良におけるコンクリート杭打設方法
JP2011208451A (ja) 泥土撹拌装置
CN211492177U (zh) 一种湿拌砂浆制造设备
US20050031414A1 (en) Method and device for filling a cavity with mortar
CN114311293B (zh) 一种建筑工地用混凝土搅拌自动计量供料系统
JP2018178508A (ja) 暗渠管敷設装置
JP3637173B2 (ja) 掘削機の昇降装置
JP2619792B2 (ja) 管路布設工法
JPH0925724A (ja) コンクリート打設ホッパー
JPH10205263A (ja) 掘削機の排土装置
JP4982780B2 (ja) 固化パイル造成による地盤改良方法
EP0633361A1 (en) Apparatus and method of constructing monolithic trench walls, sills and hard standings
JP4099426B2 (ja) パイル造成方法
CN220536975U (zh) 一种新型多功能机械塔吊料斗
CN210597318U (zh) 光伏施工用基桩浇注装置
JP6724200B1 (ja) 掘削機
JP2003082979A (ja) 切羽土圧の制御方法及びその装置
JP2010270501A (ja) 土壌処理構造
JP5330092B2 (ja) 土壌処理構造および土壌処理車
CN120231322A (zh) 一种用于灌注桩的后压浆装置及施工方法
CN205875246U (zh) 挖坑挖沟机

Legal Events

Date Code Title Description
RD04 Notification of resignation of power of attorney

Free format text: JAPANESE INTERMEDIATE CODE: A7424

Effective date: 20100219

A621 Written request for application examination

Free format text: JAPANESE INTERMEDIATE CODE: A621

Effective date: 20110531

A977 Report on retrieval

Free format text: JAPANESE INTERMEDIATE CODE: A971007

Effective date: 20120625

A131 Notification of reasons for refusal

Free format text: JAPANESE INTERMEDIATE CODE: A131

Effective date: 20121107

A521 Request for written amendment filed

Free format text: JAPANESE INTERMEDIATE CODE: A523

Effective date: 20121218

TRDD Decision of grant or rejection written
A01 Written decision to grant a patent or to grant a registration (utility model)

Free format text: JAPANESE INTERMEDIATE CODE: A01

Effective date: 20130123

A61 First payment of annual fees (during grant procedure)

Free format text: JAPANESE INTERMEDIATE CODE: A61

Effective date: 20130124

R150 Certificate of patent or registration of utility model

Ref document number: 5190948

Country of ref document: JP

Free format text: JAPANESE INTERMEDIATE CODE: R150

Free format text: JAPANESE INTERMEDIATE CODE: R150

FPAY Renewal fee payment (event date is renewal date of database)

Free format text: PAYMENT UNTIL: 20190208

Year of fee payment: 6

R250 Receipt of annual fees

Free format text: JAPANESE INTERMEDIATE CODE: R250

R250 Receipt of annual fees

Free format text: JAPANESE INTERMEDIATE CODE: R250

R250 Receipt of annual fees

Free format text: JAPANESE INTERMEDIATE CODE: R250

R250 Receipt of annual fees

Free format text: JAPANESE INTERMEDIATE CODE: R250

R250 Receipt of annual fees

Free format text: JAPANESE INTERMEDIATE CODE: R250

R250 Receipt of annual fees

Free format text: JAPANESE INTERMEDIATE CODE: R250