JP2010047841A - 電気めっきにより被膜を工作物に被着させる装置及び方法 - Google Patents

電気めっきにより被膜を工作物に被着させる装置及び方法 Download PDF

Info

Publication number
JP2010047841A
JP2010047841A JP2009213718A JP2009213718A JP2010047841A JP 2010047841 A JP2010047841 A JP 2010047841A JP 2009213718 A JP2009213718 A JP 2009213718A JP 2009213718 A JP2009213718 A JP 2009213718A JP 2010047841 A JP2010047841 A JP 2010047841A
Authority
JP
Japan
Prior art keywords
workpiece
electroplating
container
electrolyte solution
wheel
Prior art date
Legal status (The legal status is an assumption and is not a legal conclusion. Google has not performed a legal analysis and makes no representation as to the accuracy of the status listed.)
Granted
Application number
JP2009213718A
Other languages
English (en)
Other versions
JP5631567B2 (ja
JP2010047841A5 (ja
Inventor
Jean-Louis Thomas
ルイ トマス ジャン
Cleac'h Alain Le
ル クレア アラン
Current Assignee (The listed assignees may be inaccurate. Google has not performed a legal analysis and makes no representation or warranty as to the accuracy of the list.)
Safran Aircraft Engines SAS
Original Assignee
SNECMA SAS
Priority date (The priority date is an assumption and is not a legal conclusion. Google has not performed a legal analysis and makes no representation as to the accuracy of the date listed.)
Filing date
Publication date
Application filed by SNECMA SAS filed Critical SNECMA SAS
Publication of JP2010047841A publication Critical patent/JP2010047841A/ja
Publication of JP2010047841A5 publication Critical patent/JP2010047841A5/ja
Application granted granted Critical
Publication of JP5631567B2 publication Critical patent/JP5631567B2/ja
Expired - Fee Related legal-status Critical Current
Anticipated expiration legal-status Critical

Links

Images

Classifications

    • CCHEMISTRY; METALLURGY
    • C25ELECTROLYTIC OR ELECTROPHORETIC PROCESSES; APPARATUS THEREFOR
    • C25DPROCESSES FOR THE ELECTROLYTIC OR ELECTROPHORETIC PRODUCTION OF COATINGS; ELECTROFORMING; APPARATUS THEREFOR
    • C25D5/00Electroplating characterised by the process; Pretreatment or after-treatment of workpieces
    • C25D5/48After-treatment of electroplated surfaces
    • CCHEMISTRY; METALLURGY
    • C25ELECTROLYTIC OR ELECTROPHORETIC PROCESSES; APPARATUS THEREFOR
    • C25DPROCESSES FOR THE ELECTROLYTIC OR ELECTROPHORETIC PRODUCTION OF COATINGS; ELECTROFORMING; APPARATUS THEREFOR
    • C25D17/00Constructional parts, or assemblies thereof, of cells for electrolytic coating
    • CCHEMISTRY; METALLURGY
    • C25ELECTROLYTIC OR ELECTROPHORETIC PROCESSES; APPARATUS THEREFOR
    • C25DPROCESSES FOR THE ELECTROLYTIC OR ELECTROPHORETIC PRODUCTION OF COATINGS; ELECTROFORMING; APPARATUS THEREFOR
    • C25D17/00Constructional parts, or assemblies thereof, of cells for electrolytic coating
    • C25D17/02Tanks; Installations therefor
    • CCHEMISTRY; METALLURGY
    • C25ELECTROLYTIC OR ELECTROPHORETIC PROCESSES; APPARATUS THEREFOR
    • C25DPROCESSES FOR THE ELECTROLYTIC OR ELECTROPHORETIC PRODUCTION OF COATINGS; ELECTROFORMING; APPARATUS THEREFOR
    • C25D17/00Constructional parts, or assemblies thereof, of cells for electrolytic coating
    • C25D17/06Suspending or supporting devices for articles to be coated
    • CCHEMISTRY; METALLURGY
    • C25ELECTROLYTIC OR ELECTROPHORETIC PROCESSES; APPARATUS THEREFOR
    • C25DPROCESSES FOR THE ELECTROLYTIC OR ELECTROPHORETIC PRODUCTION OF COATINGS; ELECTROFORMING; APPARATUS THEREFOR
    • C25D17/00Constructional parts, or assemblies thereof, of cells for electrolytic coating
    • C25D17/10Electrodes, e.g. composition, counter electrode
    • C25D17/12Shape or form
    • CCHEMISTRY; METALLURGY
    • C25ELECTROLYTIC OR ELECTROPHORETIC PROCESSES; APPARATUS THEREFOR
    • C25DPROCESSES FOR THE ELECTROLYTIC OR ELECTROPHORETIC PRODUCTION OF COATINGS; ELECTROFORMING; APPARATUS THEREFOR
    • C25D21/00Processes for servicing or operating cells for electrolytic coating
    • C25D21/10Agitating of electrolytes; Moving of racks
    • CCHEMISTRY; METALLURGY
    • C25ELECTROLYTIC OR ELECTROPHORETIC PROCESSES; APPARATUS THEREFOR
    • C25DPROCESSES FOR THE ELECTROLYTIC OR ELECTROPHORETIC PRODUCTION OF COATINGS; ELECTROFORMING; APPARATUS THEREFOR
    • C25D21/00Processes for servicing or operating cells for electrolytic coating
    • C25D21/12Process control or regulation
    • C25D21/14Controlled addition of electrolyte components
    • CCHEMISTRY; METALLURGY
    • C25ELECTROLYTIC OR ELECTROPHORETIC PROCESSES; APPARATUS THEREFOR
    • C25DPROCESSES FOR THE ELECTROLYTIC OR ELECTROPHORETIC PRODUCTION OF COATINGS; ELECTROFORMING; APPARATUS THEREFOR
    • C25D5/00Electroplating characterised by the process; Pretreatment or after-treatment of workpieces
    • C25D5/08Electroplating with moving electrolyte e.g. jet electroplating
    • CCHEMISTRY; METALLURGY
    • C25ELECTROLYTIC OR ELECTROPHORETIC PROCESSES; APPARATUS THEREFOR
    • C25DPROCESSES FOR THE ELECTROLYTIC OR ELECTROPHORETIC PRODUCTION OF COATINGS; ELECTROFORMING; APPARATUS THEREFOR
    • C25D5/00Electroplating characterised by the process; Pretreatment or after-treatment of workpieces
    • C25D5/22Electroplating combined with mechanical treatment during the deposition
    • CCHEMISTRY; METALLURGY
    • C25ELECTROLYTIC OR ELECTROPHORETIC PROCESSES; APPARATUS THEREFOR
    • C25DPROCESSES FOR THE ELECTROLYTIC OR ELECTROPHORETIC PRODUCTION OF COATINGS; ELECTROFORMING; APPARATUS THEREFOR
    • C25D7/00Electroplating characterised by the article coated
    • C25D7/04Tubes; Rings; Hollow bodies
    • FMECHANICAL ENGINEERING; LIGHTING; HEATING; WEAPONS; BLASTING
    • F02COMBUSTION ENGINES; HOT-GAS OR COMBUSTION-PRODUCT ENGINE PLANTS
    • F02KJET-PROPULSION PLANTS
    • F02K9/00Rocket-engine plants, i.e. plants carrying both fuel and oxidant therefor; Control thereof
    • F02K9/42Rocket-engine plants, i.e. plants carrying both fuel and oxidant therefor; Control thereof using liquid or gaseous propellants
    • F02K9/60Constructional parts; Details not otherwise provided for
    • F02K9/62Combustion or thrust chambers
    • F02K9/64Combustion or thrust chambers having cooling arrangements
    • FMECHANICAL ENGINEERING; LIGHTING; HEATING; WEAPONS; BLASTING
    • F02COMBUSTION ENGINES; HOT-GAS OR COMBUSTION-PRODUCT ENGINE PLANTS
    • F02KJET-PROPULSION PLANTS
    • F02K9/00Rocket-engine plants, i.e. plants carrying both fuel and oxidant therefor; Control thereof
    • F02K9/97Rocket nozzles
    • F02K9/972Fluid cooling arrangements for nozzles
    • FMECHANICAL ENGINEERING; LIGHTING; HEATING; WEAPONS; BLASTING
    • F05INDEXING SCHEMES RELATING TO ENGINES OR PUMPS IN VARIOUS SUBCLASSES OF CLASSES F01-F04
    • F05DINDEXING SCHEME FOR ASPECTS RELATING TO NON-POSITIVE-DISPLACEMENT MACHINES OR ENGINES, GAS-TURBINES OR JET-PROPULSION PLANTS
    • F05D2230/00Manufacture
    • F05D2230/30Manufacture with deposition of material
    • F05D2230/31Layer deposition

Landscapes

  • Chemical & Material Sciences (AREA)
  • Engineering & Computer Science (AREA)
  • Organic Chemistry (AREA)
  • Electrochemistry (AREA)
  • Materials Engineering (AREA)
  • Metallurgy (AREA)
  • Chemical Kinetics & Catalysis (AREA)
  • Mechanical Engineering (AREA)
  • Combustion & Propulsion (AREA)
  • General Engineering & Computer Science (AREA)
  • Automation & Control Theory (AREA)
  • Electroplating Methods And Accessories (AREA)
  • Electrical Discharge Machining, Electrochemical Machining, And Combined Machining (AREA)

Abstract

【課題】電気めっき法を単純化してそのコストを減少させる。
【解決手段】本発明は、電気めっきにより被膜を工作物に被着させる装置及び方法に関する。電解質液(5)で満たされるのに適した容器(4)が提供され、アノード形成導体手段(6)が容器(4)内に配置されると共に電流発生器(10)に接続され、カソード形成工作物(1)がろくろ(3)のマンドレル(2)に取り付けられ、容器をろくろに対して案内すると共に移動させる案内・移動手段が設けられ、案内・移動手段により、工作物を電解質液内に全体的に又は部分的に浸漬させることができる。
【選択図】図1

Description

本発明は、電気めっきにより被膜を工作物に被着させる装置及び方法に関する。
金属被膜を工作物にめっきする通常の方法では、工作物を電極パネルと一緒に、電解液浴を収容した容器内に浸漬させる。現場電気めっき方法とも呼ばれるかかる方法には、実施時間及び品質の面で欠点がある。電界と関連したコーナー効果により、めっきは、工作物の端部でより迅速に堆積する。したがって、一様な被膜を得るためには、複数回のめっき作業を連続して実施し、不規則性を漸次除去するためにめっき作業を中断して機械加工段階を実施することが必要である。第1のめっきを受け入れるため、工作物を先ず最初に電解液浴を収容した容器内に挿入し、次に、容器から取り出してろくろのマンドレルに取り付けて機械加工する。次に、工作物を2回目の電解液浴中に導入して第2のめっきを受け入れ、このようにして、満足の行く被膜が得られるまでめっき段階と機械加工段階を交互に繰り返し実施する。直流(DC)型浴を用いる方法では、一般に、4〜6回のパスが必要であり、それにより、相当な時間のロス及び多大な費用が生じる。めっきの一様性を向上させる公知の一解決策は、交流(AC)浴を使用することである。この技術では、制限された回数のパスしか必要ではなく、より一様なめっきを得ることができるが、この技術では、機械加工段階の必要性は避けられない。加うるに、かかる技術は、幾何学的形状に関する問題及び浴の化学的性質を一定に保つことと関連した問題が生じる。
公知の電気めっき方法の別の大きな欠点は、電解液浴を定期的に再生させる必要があることである。初期浴では、電気分解に利用されるイオンの濃度は、工作物上でのカソードめっき反応の結果として減少する。かかるイオンの濃度を一定に保つために一般的に用いられている解決策は、浴を「ブレンドする(blending)」と呼ばれており、かかる解決策では、浴から容積の一部を定期的に取り出し、これを濃縮された新たな浴の等量の部分で置き換える。この解決策は、相変わらず手数がかかる。外部からの介入なしに電解液を連続的に再生させることができる解決策は、仏国特許第2821627号明細書から知られている。この特許文献は、ニッケルを工作物に電気めっきする方法を記載しており、この方法では、容器の端面のうちの一方に締結されると共にアノードを形成する導体材料を収容した容器を、この導体材料との永続的な接触状態を維持するのに十分な量のニッケルビーズと共に用いる。ニッケルで覆われるカソード形成工作物は、この容器の下に配置される。電解液は、ニッケルビーズにより連続的に再生されながら、重力により、工作物に接触し、容器内に再導入されるよう下方で回収される。それにもかかわらず、容器の「外部で」行われる方法では、複数回のパスが必要な場合にはいつでも、各めっき段階又は各機械加工段階に先立って、取り付け/取り外し作業に必要な時間の長さは減少しない。
仏国特許第2821627号明細書
かくして、本発明は、電気めっき方法を単純化し、一様且つ良好な品質の製品を得るのに必要な取り扱いを減少させると共に各パスの実施時間を減少させることによりそのコストを減少させようとするものである。
具体的に言えば、本発明は、第1の観点では、工作物に対して電気めっきを行う電気めっき装置であって、電気めっき装置が、電解質液で満たされるのに適した容器と、容器内に配置されると共に電流発生器に接続されたアノード形成導体手段と、ろくろのマンドレルに取り付けられたカソード形成工作物と、容器をろくろに対して、工作物を電解質液内に全体的に又は部分的に浸漬させることができる第1の位置と、工作物を機械加工することができる第2の位置との間で案内すると共に移動させる案内・移動手段と、を有することを特徴とする電気めっき装置を提供する。
有利な構成例では、この装置は、電気めっき中、導体手段と永続的な接触状態のままであるのに適しためっきのための少なくとも金属片を有する。好ましくは、この装置は、容器内に配置されると共に重力の影響下で導体手段と永続的な接触状態に保たれる、めっきのための金属で作られた1組の金属ビーズを有する。例えば、めっきのための金属は、ニッケルである。
別の有利な構成例によれば、電解質液を収容した容器は、電解質液を容器内部で循環させる強制循環手段を有する。
特に、導体又は導通手段は、工作物の外側長手方向プロフィールに対応した形状の部分を有し、この部分は、第1の位置において工作物に向くよう容器内に配置される。このように、カソード形成工作物の表面とアノード形成導体手段との間の距離は、一定に保たれ、電気めっきは、より一様な仕方で行われる。
有利には、容器は、容器を垂直に動かして、電気めっき中、カソード形成工作物と導体手段との間の距離を一定に保つことができる高精度な案内手段を更に有し、それによりめっき層の一様性を一段と最適化することができる。
特に、本発明の装置は、燃焼室に利用できる。
本発明は、第2の観点では、カソード形成工作物に対して電気めっきを行う電気めっき方法であって、この方法は、
a)工作物をろくろのマンドレルに取り付けるステップと
b)アノードを形成すると共に容器内に電流発生器に接続された状態で配置される導体手段と一緒に電解質液を収容した容器を工作物の下に配置するステップと、
c)容器を第1の位置に動かすことにより工作物の全部又は一部を電解質液中に浸漬させるステップと、
d)ろくろにより工作物を回して被覆のための工作物の表面全体を電解質液中に少なくとも1回浸漬させるステップと、
e)電解質液を収容した容器を第2の位置に動かして工作物と電解質液との接触を断つステップとを有することを特徴とする電気めっき方法を提供する。
有利な構成例では、ステップe)の実施後、この方法は、工作物をろくろに取り付けた状態で機械加工するステップf)を有する。特に、一連のステップb)〜f)を複数回実施するのが良い。かくして、工作物をろくろのマンドレルから取り外すことなく、複数回の連続したパスを実施することが可能である。
別の有利な構成例では、めっきのために金属で作られた1組のビーズを重力の影響下で導体手段に永続的に接触させる。
金属イオンが電解質液内で良好に分散することができるようにするため、工作物を全体的に又は部分的に電解質液中に浸漬するとき、電解質液を容器内部で強制循環させるのが良い。
本方法は、蒸発とカソード析出の両方に起因する損失を補償するために、水及び/又は電解液を電解質液中に導入するステップを更に有するのが良い。
好ましくは、電解質液を収容した容器をステップd)の実施中、垂直に動かして、電気めっき中、カソード形成工作物と導体手段との間に一定の距離を保つようにする。
かかる構成により、電気めっき方法の実施時間を著しく減少させることができる。工作物は、ろくろのマンドレルに取り付けられると共に、第1の位置に配置されたときに可動容器内に入れられた電解質液中に全体的に又は部分的に浸漬されるので、工作物を間で取り出すことなく、めっき作業と機械加工作業を連続して実施することが可能である。最初のめっき作業後、容器を第2の位置に動かして工作物がもはや電解質液と接触しないようにする。次に、機械加工を実施するのが良く、この場合、工作物を動かさず又はこれを前もってろくろに取り付けることはない。機械加工後、容器を工作物の下の第1の位置に戻し、2回目のめっき作業を実施する。これらステップを、満足の行く被膜が得られるまで繰り返す。めっき作業と機械加工作業との間における工作物及びろくろに関する取り付け段階及び取り外し段階を回避することにより、本発明の方法は、先行技術において知られている方法よりも迅速である。
さらに、工作物がこの方法の実施中ろくろに取り付けられたままであるので、各機械加工段階に先立って工作物の基準を再設定する必要がないから、高い精度が達成される。
被覆されるべき工作物の形状に実質的に対応した導体手段の特定の形状は、コーナー効果を回避すると共にめっき層の一様性を向上させるのに役立つ。良好な一様性は、高精度案内手段が2つの電極相互間の距離を一定に保ち、それにより磁力線の強度のばらつきがなくなるという理由によっても達成される。最後に、工作物をろくろのマンドレルに取り付けることにより、工作物を電気めっき方法の実施中ゆっくりと回転させることができ、その表面全体を一様に被覆できるようになる。
上述の利点に加えて、めっきのための金属の一片を、電解質液を収容した容器内に導入することにより本方法を一段と単純化することができ、かかる金属片は、電流発生器に接続された導体手段と永続的な接触状態に置かれる。このように、浴の電解液は、外部からの介入なしに連続的に再生され、かくして本方法の実施が容易になる。
純粋に例示として与えられ、添付の図面を参照して行われる以下の説明に照らして本発明の内容を良好に理解することができると共にその他の利点は、良好に明らかになる。
本発明の第1の実施形態としての装置の長手方向断面図である。 図1の装置を示すA‐A線に沿った断面図である。 本発明の第2の実施形態としての装置の長手方向断面図である。
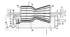
図1は、極低温ロケットエンジン燃焼室(以下、「チャンバ」という)により構成された工作物に利用される本発明の第1の実施形態を示している。この種のチャンバ1は、水素が流れることができるようにする目的で外周部が機械加工された「メリディアン(meridian)」と呼ばれているチャネル1aを備えた環状銅インゴットの形態をしている。これらチャネル1aは、専用のワックスで満たされ、かかる組立体は、厚さが2ミリメートル(mm)〜3mmのニッケルの層で覆われている。チャンバ1は、長さが600センチメートル(cm)〜700cmの軸対称砂時計形のものである。このチャンバは、直径が約50cmの円筒形である第1の部分を有し、その延長部として、最大直径が円筒形の第1の部分の直径に一致した切頭円錐形のテーパした第2の部分が設けられている。チャンバ1は、最大直径が約70cm〜80cmの切頭円錐形であり、第2の部分から遠ざかる方向に広がっている第3の部分を更に有している。以下の説明は、かかるニッケル層を電気めっきによりめっきできるようにする本発明の装置に関する。
チャンバ1は、チャンバ1の内部に配置された回転体の形態をした2つの支持体2aによりろくろ3のマンドレル2に心出し状態で取り付けられている。チャンバ1の付近には、電解質液5を収容した容器4が配置されている。この容器は、この容器を案内すると共にこれを移動させる手段(図示せず)に接続しており、かかる手段により、チャンバ1をろくろ3に取り付けた後、容器をチャンバ1の下に可逆的に移動させてマンドレル2の軸線に沿ってチャンバの全長にわたって延びるチャンバ1の表面の少なくとも一部分が電解質液5中に浸漬されるようにすることができる。このように、ろくろ3のマンドレル2を回転させ、かくしてマンドレルに取り付けられている軸対称チャンバ1を回転させることにより、チャンバの外面全体が浸漬状態になる。明らかなこととして、かかる状況下においては、断面が円形ではない工作物(軸対称ではない工作物)については、被覆のためのそのゾーンの全てが確かに、回転中浸漬状態になるようにするための注意を払う必要がある。
導体手段6は、容器4内に配置されている。これら導体手段は、容器4の底部内に配置され、マンドレルの軸線に沿うチャンバ1の輪郭に少なくともほぼ一致するが、好ましくは正確に一致する形状の、頂部8を支持した底部7を有している。この頂部8は、チャンバ1に向いた状態で位置している。かくして、チャンバ1と頂部8との間には、これらのプロフィールが類似している結果として実質的に一定の距離が保たれ、かくして、電界と関連したコーナー効果を回避し、それによりめっきが一様に生じるようにすることができる。底部7上には、ニッケルのビーズ9が配置されており、これらのうちの少なくとも幾つかは、重力の影響下で導体手段6の底部7と永続的な接触状態にある。導体手段6は、電流発生器10の正の端子に接続され、かくして、アノードが形成され、他方、燃焼室1は、電流発生器の負の端子に接続され、それによりカソードが形成されている。2つの電極間に働く電位差の影響を受けて、アノードと接触状態にあるニッケルビーズは、分極状態になってNi2+ニッケルイオンを放出し、これらNi2+ニッケルイオンは、カソード−工作物(チャンバ1)上に存在する電子をピックアップするのに適しており、それにより、固体ニッケルのめっきが形成される。ニッケルのビーズにより、電解質液中のイオンの濃度は一定のままであり、公知の方法とは異なり、容器内に入っている電解液を連続して再生させる必要はない。
アノードとカソードの間の距離は、工作物上のめっき層の厚さが増大するにつれて減少する。電極間の一定の距離を保つと共に磁力線の強度のばらつきを回避するため、好ましくは、容器を電気めっき方法の実施中に垂直に遠ざけることができる高精度案内手段(図示せず)が設けられる。
容器内で電解質液を循環させるシステムが提供される。一例を挙げると、このシステムは、各々が容器の別の側面の底部と頂部に連結された2本の管11,12と、ポンプ13とで構成されるのが良い。かくして、電解質液は、ニッケルのビーズが配置されている容器の底部とチャンバの浸漬部分が配置されている容器の頂部との間で強制循環作用を受ける。この循環は、電解液を攪拌すると共にNi2+ニッケルイオンを被覆されるべき工作物に向かって分散させるのに役立つ。
また、水タンク15が、電解質液5を収容した容器4に連結されている。この連結は、剛性ダクトにより行われるのが良く、タンク15は、この場合、容器4と共に垂直方向に動くように規制される。変形例として、管は、フレキシブルであっても良く、又タンクは、本方法の種々のステップの実施中、静止状態のままであって良い。水を容器4に供給するかかる手段は、特に蒸発に起因する損失を補償し、容器4内の電解液の一定の量を保つのに役立つ。
図2は、本発明の装置の断面図である。電解質液を収容した容器は、この容器がほぼ円筒形で細長いチャンバの形状に適合することができるようにするハーフシェル(half-shell)の形態をしている。かかる形状により、電解液の必要量を減少させることができる。例えば、電解質液を収容した容器は、形状が半円筒形であっても良い。
さらに、必要ならば、マンドレル2と容器4の縁部との間にガスケットを配置して密封を行うと共に電解液が容器から端部を介して流れ出るのを回避することができる。
図3は、本発明の第2の実施形態を示している。第1の実施形態と共通の要素は、以下の説明において同一の参照符号で示されている。
ブラケット17が、容器4の端壁のうちの1つ(図3に左側に示されている)に締結されている。ブラケットは、ブラケットの底部を形成する第1の部分18を有し、この部分の延長部として、チャンバ1の形状に類似した形状の第2の部分19が設けられており、ブラケットは、第1の部分と第2の部分のうちの一方又は他方若しくはこれら両方に連結された第3の部分20を更に有している。ブラケット17は、電流発生器の正極に接続されたアノードを形成している。上述の実施形態の場合と同様、カソードを形成しているチャンバ1は、電流発生器の負の端子に接続されている。ニッケルビーズ9は、容器内に、即ち、端壁と、部分20,18を有するブラケット17の一部とで構成されたハウジング内に保持されている。このように、ビーズ9は、ブラケット17の第1の部分18と永続的な接触状態に保たれるのが良い。
本発明の装置を用いる方法につき以下に詳細に説明する。
最初に、燃焼室1を支持体2aによりろくろ3のマンドレル2に取り付ける。燃焼室は、好ましくは、軸対称であり、マンドレル2の軸線上に心出しされる。容器4を電解質液5で満たし、アノード形成導体手段6をニッケルビーズ9に接触させると共に電流発生器10の正の端子に接続する。適当な案内・移動手段により、容器4を第1の位置に配置してチャンバ1の少なくとも一部分が電解質液中に浸漬されるようにする。次に、工作物をろくろにより低速回転させる。電流発生器は、DCを生じ、それにより導体手段6によりニッケルビーズを分極させる。すると、電気がNi2+イオンによりカソード(チャンバ1)に運ばれ、かかるNi2+イオンは、電子を捕捉して、ニッケルをチャンバの表面上に析出させることができる。導体手段6の頂部8の特定の形状により、めっきは、先行技術の方法よりも一様に生じる。それにもかかわらず、各めっき作業後に、不規則性をなくすためにチャンバを機械加工する必要性が依然として存在する。かくして、次いで容器を取り出してその案内・移動手段により第2の位置に配置し、工作物をろくろから取り外すことなくろくろに取り付けた状態ですぐに機械加工する。しかる後、容器を第1の位置に戻し、第2のめっき層を作る。連続めっき作業が行われているとき、高精度の案内手段は、容器及びかくしてアノードを、アノードとカソードとの間の距離が常時一定のままであるような仕方で移動させる。
本発明を工作物の外面へのニッケルのめっきとの関連で説明したが、この方法は、同一の仕方で工作物の内面に利用できる。かかる状況下においては、工作物の内面の長手方向プロフィールに対応した形状部分を有する導体手段が用いられ、かかる形状部分は、第1の位置では、被覆されるべき工作物の部分に向くよう工作物の内部に配置される。
本発明との関連で、金属ビーズが用いられない実施形態を想定することも可能であり、この場合、チャンバ1の一部分は、Ni2+ニッケルイオンを含み且つ電極パネルを備えた電解質液5で充填された容器4内に浸漬される。かかる実施形態は、上述の実施形態とは異なり、イオンの一定の濃度を維持するためにチャンバが定期的に再充填されるよう浸漬される電解質液を必要とするので、制約的である。
1 チャンバ
3 ろくろ
4 容器
5 電解質液
6 アノード形成導体手段
7 底部
8 頂部
9 ビーズ
10 電流発生器
11,12 管
13 ポンプ
15 タンク

Claims (19)

  1. 工作物に対して電気めっきを行う電気めっき装置であって、電解質液(5)で満たされるのに適した容器(4)と、前記容器(4)内に配置されると共に電流発生器(10)に接続されたアノード形成導体手段(6)と、カソード形成工作物(1)と、を有し、前記電気めっき装置は、ろくろ(3)を更に有し、前記工作物は、前記ろくろのマンドレル(2)に取り付けられ、前記電気めっき装置は、前記容器を前記ろくろ(3)に対して、前記工作物(1)を前記電解質液(5)内に全体的に又は部分的に浸漬させることができる第1の位置と、工作物を機械加工することができる第2の位置との間で案内すると共に移動させる案内・移動手段を更に有する、電気めっき装置。
  2. 前記電気めっき装置は、めっきのための金属で作られた1組のビーズ(9)を有し、前記ビーズは、前記容器(4)内に配置され、電気めっきが行われている間、重力の影響を受けて前記導体手段(6)と永続的な接触状態のままであるのに適している、請求項1記載の電気めっき装置。
  3. 前記金属ビーズ(9)は、ニッケルで作られている、請求項2記載の電気めっき装置。
  4. 前記電解質液(5)を収容した前記容器(4)は、前記電解質液を前記容器内部で循環させる強制循環手段(11,12,13)を有する、請求項1〜3のうちいずれか一に記載の電気めっき装置。
  5. 前記導体手段(6)は、前記工作物(1)の外側長手方向プロフィールに対応した形状で且つ前記第1の位置において前記工作物(1)に向くよう前記容器(4)内に配置される部分(8)を有する、請求項1〜4のうちいずれか一に記載の電気めっき装置。
  6. 前記容器(4)は、前記容器を垂直に動かして電気めっき中、前記カソード形成工作物(1)と前記導体手段(6)との間の距離を一定に保つことができる高精度な案内手段を更に有する、請求項1〜5のうちいずれか一に記載の電気めっき装置。
  7. 前記容器(4)は、ハーフシェルの形を呈している、請求項1〜6のうちいずれか一に記載の電気めっき装置。
  8. 前記電解質液(5)の容積は、水及び/又は電解液を供給する手段(15)によって一定に保たれる、請求項1〜7のうちいずれか一に記載の電気めっき装置。
  9. 前記工作物(1)は、軸対称である、請求項1〜8のうちいずれか一に記載の電気めっき装置。
  10. 前記工作物(1)は、燃焼室である、請求項1〜9のうちいずれか一に記載の電気めっき装置。
  11. カソード形成工作物(1)に対して電気めっきを行う電気めっき方法であって、前記方法は、
    a)前記工作物(1)をろくろ(3)のマンドレル(2)に取り付けるステップと
    b)アノードを形成すると共に前記容器(4)内に電流発生器(10)に接続された状態で配置される導体手段(6)と一緒に、電解質液(5)を収容した容器(4)を前記工作物(1)の下に配置するステップと、
    c)前記容器(4)を第1の位置に動かすことにより前記工作物(1)の全部又は一部を前記電解質液(5)中に浸漬させるステップと、
    d)前記ろくろにより前記工作物(1)を回して、被覆のための前記工作物の表面全体を前記電解質液(5)中に少なくとも1回浸漬させるステップと、
    e)前記電解質液(5)を収容した前記容器(4)を第2の位置に動かして、前記工作物と前記電解質液との接触を断つステップとを有する、電気めっき方法。
  12. ステップe)の実施後、前記方法は、前記工作物(1)を前記ろくろ(3)に取り付けた状態で機械加工するステップf)を有する、請求項11記載の電気めっき方法。
  13. 一連のステップb)〜f)を複数回実施する、請求項12記載の電気めっき方法。
  14. めっきのために金属で作られた1組のビーズ(9)を重力の影響下で前記導体手段(6)に永続的に接触させる、請求項11〜13のうちいずれか一に記載の電気めっき方法。
  15. 前記電解質液(5)を、前記工作物(1)が全体的に又は部分的に前記電解質液中に浸漬されるとき、前記容器(4)内部で強制循環させる、請求項11〜14のうちいずれか一に記載の電気めっき方法。
  16. 水及び/又は電解液を損失の補償のために前記電解質液(5)中に導入する、請求項11〜15のうちいずれか一に記載の電気めっき方法。
  17. 前記電解質液(5)を収容した前記容器(4)をステップd)の実施中、垂直に動かして、電気めっき中、前記カソード形成工作物(1)と前記導体手段(6)との間に一定の距離を保つようにする、請求項11〜16のうちいずれか一に記載の電気めっき方法。
  18. 前記工作物(1)へのめっき材料は、ニッケルである、請求項11〜17のうちいずれか一に記載の電気めっき方法。
  19. 前記工作物(1)は、燃焼室である、請求項11〜18のうちいずれか一に記載の電気めっき方法。
JP2009213718A 2008-08-25 2009-08-25 電気めっきにより被膜を工作物に被着させる装置及び方法 Expired - Fee Related JP5631567B2 (ja)

Applications Claiming Priority (2)

Application Number Priority Date Filing Date Title
FR0855696A FR2935147B1 (fr) 2008-08-25 2008-08-25 Dispositif et procede pour l'application d'un revetement sur une piece par electro deposition.
FR0855696 2008-08-25

Publications (3)

Publication Number Publication Date
JP2010047841A true JP2010047841A (ja) 2010-03-04
JP2010047841A5 JP2010047841A5 (ja) 2014-10-02
JP5631567B2 JP5631567B2 (ja) 2014-11-26

Family

ID=40486531

Family Applications (1)

Application Number Title Priority Date Filing Date
JP2009213718A Expired - Fee Related JP5631567B2 (ja) 2008-08-25 2009-08-25 電気めっきにより被膜を工作物に被着させる装置及び方法

Country Status (6)

Country Link
US (2) US8377282B2 (ja)
JP (1) JP5631567B2 (ja)
DE (1) DE102009028843A1 (ja)
FR (1) FR2935147B1 (ja)
IT (1) IT1396067B1 (ja)
RU (1) RU2515718C2 (ja)

Cited By (1)

* Cited by examiner, † Cited by third party
Publication number Priority date Publication date Assignee Title
JP7047169B1 (ja) 2021-06-11 2022-04-04 三菱ケミカル株式会社 ロールの製造方法及びロール

Families Citing this family (1)

* Cited by examiner, † Cited by third party
Publication number Priority date Publication date Assignee Title
DE102023103003B4 (de) * 2023-02-08 2025-06-05 Westfälische Hochschule Gelsenkirchen Bocholt Recklinghausen, Körperschaft des öffentlichen Rechts Vorrichtung zur Abscheidung von funktionellem Material

Citations (5)

* Cited by examiner, † Cited by third party
Publication number Priority date Publication date Assignee Title
JPS6039164A (ja) * 1983-08-10 1985-02-28 Shinku Lab:Kk 表面処理装置
JP2001172792A (ja) * 1999-12-16 2001-06-26 Think Laboratory Co Ltd 銅メッキ方法
JP2002226991A (ja) * 2000-12-07 2002-08-14 Astrium Gmbh 周期的な電流パルスを印加してニッケル、コバルト、ニッケル合金、またはコバルト合金を電気めっきする方法及び電気めっき浴
US20040089554A1 (en) * 2002-11-08 2004-05-13 Schepel Chad M. Apparatus and method for electroplating a metallic film on a rocket engine combustion chamber component
JP2005298886A (ja) * 2004-04-09 2005-10-27 Ebara Corp 電解処理装置および方法

Family Cites Families (14)

* Cited by examiner, † Cited by third party
Publication number Priority date Publication date Assignee Title
US1672402A (en) * 1924-10-14 1928-06-05 Du Pont Plating apparatus and product thereof
US1920209A (en) * 1931-04-17 1933-08-01 Norton Co Lathe and method of turning round bodies
US3022232A (en) * 1958-05-26 1962-02-20 Caterpillar Tractor Co Method and apparatus for simultaneously plating and lapping
US4120994A (en) * 1974-03-11 1978-10-17 Inoue-Japax Research Incorporated Method of preparing heat-transfer members
US3989602A (en) * 1974-04-19 1976-11-02 The United States Of America As Represented By The United States National Aeronautics And Space Administration Method of making reinforced composite structures
US3960675A (en) * 1975-04-17 1976-06-01 Motter Printing Press Co. Method for deplating and replating rotogravure cylinders
DE2550952C3 (de) * 1975-11-13 1982-01-14 Messerschmitt-Bölkow-Blohm GmbH, 8000 München Verfahren zur galvanoplastischen Serienherstellung von Raketenbrennkammer- oder -schubdüsenteilen
JPS6161672A (ja) * 1984-08-30 1986-03-29 Mitsubishi Paper Mills Ltd 塗布方法
RU2063485C1 (ru) * 1994-05-17 1996-07-10 Устюгов Алексей Георгиевич Установка для нанесения гальванических покрытий на наружную поверхность деталей
JPH08269778A (ja) * 1995-04-03 1996-10-15 Murata Mfg Co Ltd メッキ装置及びメッキ方法
US6409902B1 (en) * 1999-08-06 2002-06-25 New Jersey Institute Of Technology Rapid production of engineering tools and hollow bodies by integration of electroforming and solid freeform fabrication
WO2002036464A1 (en) * 2000-11-03 2002-05-10 Technology Innovations, Llc Powder conveying and dispensing method and apparatus using traveling wave transport
FR2821627B1 (fr) 2001-03-05 2003-09-12 Lorilleux Procede et dispositif d'elaboration par voie electrolytique d'un depot selectif epais de nickel sur une piece
US7396448B2 (en) * 2004-09-29 2008-07-08 Think Laboratory Co., Ltd. Method for roll to be processed before forming cell and method for grinding roll

Patent Citations (5)

* Cited by examiner, † Cited by third party
Publication number Priority date Publication date Assignee Title
JPS6039164A (ja) * 1983-08-10 1985-02-28 Shinku Lab:Kk 表面処理装置
JP2001172792A (ja) * 1999-12-16 2001-06-26 Think Laboratory Co Ltd 銅メッキ方法
JP2002226991A (ja) * 2000-12-07 2002-08-14 Astrium Gmbh 周期的な電流パルスを印加してニッケル、コバルト、ニッケル合金、またはコバルト合金を電気めっきする方法及び電気めっき浴
US20040089554A1 (en) * 2002-11-08 2004-05-13 Schepel Chad M. Apparatus and method for electroplating a metallic film on a rocket engine combustion chamber component
JP2005298886A (ja) * 2004-04-09 2005-10-27 Ebara Corp 電解処理装置および方法

Cited By (2)

* Cited by examiner, † Cited by third party
Publication number Priority date Publication date Assignee Title
JP7047169B1 (ja) 2021-06-11 2022-04-04 三菱ケミカル株式会社 ロールの製造方法及びロール
JP2022189434A (ja) * 2021-06-11 2022-12-22 三菱ケミカル株式会社 ロールの製造方法及びロール

Also Published As

Publication number Publication date
ITTO20090659A1 (it) 2010-02-26
RU2515718C2 (ru) 2014-05-20
FR2935147B1 (fr) 2010-09-17
IT1396067B1 (it) 2012-11-09
JP5631567B2 (ja) 2014-11-26
US8377282B2 (en) 2013-02-19
FR2935147A1 (fr) 2010-02-26
US20100044238A1 (en) 2010-02-25
DE102009028843A1 (de) 2010-04-08
RU2009131683A (ru) 2011-02-27
US20130126335A1 (en) 2013-05-23

Similar Documents

Publication Publication Date Title
US2445675A (en) Apparatus for producing coated wire by continuous process
KR101648537B1 (ko) 실린더용 도금방법 및 장치
JP6337016B2 (ja) 電解処理方法及び電解処理装置
US20170016137A1 (en) Inert anode electroplating processor and replenisher
KR20130009791A (ko) 임프린트용 롤 형상 몰드의 제조 방법
US3223600A (en) Method of electrolytic metal plating
US5064521A (en) Apparatus for electrochemical machining
CN112981471A (zh) 一种高定域性三维电沉积装置及方法
JP5631567B2 (ja) 電気めっきにより被膜を工作物に被着させる装置及び方法
US3905885A (en) Method for the electrolytic conditioning of metal tubes
KR102460067B1 (ko) 전해연마 장치 및 연마대상 금속관의 전해연마 방법
JP3733134B2 (ja) 電鋳装置及び電鋳方法
JP4595830B2 (ja) アルマイト処理方法及び処理装置ならびにアルマイト処理システム
KR101335709B1 (ko) 전해 연마장치
JP2002285383A (ja) りん酸塩皮膜処理装置及び化成皮膜処理装置
JP2018193576A (ja) 精密電鋳法のための気泡除去方法
JP2018135584A (ja) アルミニウム箔の製造方法
KR102327985B1 (ko) 도금 장치 및 방법
KR100587992B1 (ko) 전해연마장치
KR102715656B1 (ko) 수동형 전해액 정화 방법이 사용된 가공물 내면 전해연마 장치
JPS58151499A (ja) ラジアルセル型電解槽における陽極調整装置
JPS6230900A (ja) パイプ内面の電解研摩法
CN220767226U (zh) 一种用于异型球壳工件表面的电镀装置
RU2774497C1 (ru) Способ электрохимического снятия заусенцев и скругления кромок в пересекающихся каналах
RU102009U1 (ru) Установка для проточного железнения внешних поверхностей деталей типа "вал"

Legal Events

Date Code Title Description
A621 Written request for application examination

Free format text: JAPANESE INTERMEDIATE CODE: A621

Effective date: 20120824

A977 Report on retrieval

Free format text: JAPANESE INTERMEDIATE CODE: A971007

Effective date: 20140129

A131 Notification of reasons for refusal

Free format text: JAPANESE INTERMEDIATE CODE: A131

Effective date: 20140217

A601 Written request for extension of time

Free format text: JAPANESE INTERMEDIATE CODE: A601

Effective date: 20140519

A602 Written permission of extension of time

Free format text: JAPANESE INTERMEDIATE CODE: A602

Effective date: 20140522

A524 Written submission of copy of amendment under article 19 pct

Free format text: JAPANESE INTERMEDIATE CODE: A524

Effective date: 20140818

TRDD Decision of grant or rejection written
A01 Written decision to grant a patent or to grant a registration (utility model)

Free format text: JAPANESE INTERMEDIATE CODE: A01

Effective date: 20140908

A61 First payment of annual fees (during grant procedure)

Free format text: JAPANESE INTERMEDIATE CODE: A61

Effective date: 20141008

R150 Certificate of patent or registration of utility model

Ref document number: 5631567

Country of ref document: JP

Free format text: JAPANESE INTERMEDIATE CODE: R150

R250 Receipt of annual fees

Free format text: JAPANESE INTERMEDIATE CODE: R250

R250 Receipt of annual fees

Free format text: JAPANESE INTERMEDIATE CODE: R250

LAPS Cancellation because of no payment of annual fees