JP2010047282A - 防蟻カバー - Google Patents
防蟻カバー Download PDFInfo
- Publication number
- JP2010047282A JP2010047282A JP2008212603A JP2008212603A JP2010047282A JP 2010047282 A JP2010047282 A JP 2010047282A JP 2008212603 A JP2008212603 A JP 2008212603A JP 2008212603 A JP2008212603 A JP 2008212603A JP 2010047282 A JP2010047282 A JP 2010047282A
- Authority
- JP
- Japan
- Prior art keywords
- ant
- sheet
- storage container
- article storage
- shaped article
- Prior art date
- Legal status (The legal status is an assumption and is not a legal conclusion. Google has not performed a legal analysis and makes no representation as to the accuracy of the status listed.)
- Granted
Links
- 239000000463 material Substances 0.000 claims description 3
- 241000257303 Hymenoptera Species 0.000 description 18
- 230000000694 effects Effects 0.000 description 18
- 239000000123 paper Substances 0.000 description 16
- 239000003795 chemical substances by application Substances 0.000 description 15
- 239000011087 paperboard Substances 0.000 description 14
- 239000004033 plastic Substances 0.000 description 5
- 229920003023 plastic Polymers 0.000 description 5
- OSWPMRLSEDHDFF-UHFFFAOYSA-N methyl salicylate Chemical compound COC(=O)C1=CC=CC=C1O OSWPMRLSEDHDFF-UHFFFAOYSA-N 0.000 description 4
- 229940121375 antifungal agent Drugs 0.000 description 3
- 239000003429 antifungal agent Substances 0.000 description 3
- 238000005452 bending Methods 0.000 description 3
- 239000011248 coating agent Substances 0.000 description 3
- 238000000576 coating method Methods 0.000 description 3
- 239000000077 insect repellent Substances 0.000 description 3
- 239000011814 protection agent Substances 0.000 description 3
- 241000238631 Hexapoda Species 0.000 description 2
- 241000256602 Isoptera Species 0.000 description 2
- 241000736892 Thujopsis dolabrata Species 0.000 description 2
- ZOJBYZNEUISWFT-UHFFFAOYSA-N allyl isothiocyanate Chemical compound C=CCN=C=S ZOJBYZNEUISWFT-UHFFFAOYSA-N 0.000 description 2
- 238000013459 approach Methods 0.000 description 2
- 230000009194 climbing Effects 0.000 description 2
- 230000000052 comparative effect Effects 0.000 description 2
- 238000010586 diagram Methods 0.000 description 2
- 239000003292 glue Substances 0.000 description 2
- 239000002917 insecticide Substances 0.000 description 2
- 238000000034 method Methods 0.000 description 2
- 229960001047 methyl salicylate Drugs 0.000 description 2
- -1 polyethylene Polymers 0.000 description 2
- 239000005871 repellent Substances 0.000 description 2
- 230000001846 repelling effect Effects 0.000 description 2
- 239000000243 solution Substances 0.000 description 2
- 238000012360 testing method Methods 0.000 description 2
- 244000025254 Cannabis sativa Species 0.000 description 1
- 241000218645 Cedrus Species 0.000 description 1
- 244000166124 Eucalyptus globulus Species 0.000 description 1
- 239000004698 Polyethylene Substances 0.000 description 1
- 239000004743 Polypropylene Substances 0.000 description 1
- 235000016720 allyl isothiocyanate Nutrition 0.000 description 1
- 238000004140 cleaning Methods 0.000 description 1
- 238000012790 confirmation Methods 0.000 description 1
- 230000007423 decrease Effects 0.000 description 1
- 239000000428 dust Substances 0.000 description 1
- 230000001815 facial effect Effects 0.000 description 1
- 239000004615 ingredient Substances 0.000 description 1
- 230000000749 insecticidal effect Effects 0.000 description 1
- 238000009434 installation Methods 0.000 description 1
- 239000011259 mixed solution Substances 0.000 description 1
- 238000012986 modification Methods 0.000 description 1
- 230000004048 modification Effects 0.000 description 1
- 239000004745 nonwoven fabric Substances 0.000 description 1
- 239000008188 pellet Substances 0.000 description 1
- 239000002985 plastic film Substances 0.000 description 1
- 229920006255 plastic film Polymers 0.000 description 1
- 229920000573 polyethylene Polymers 0.000 description 1
- 229920001155 polypropylene Polymers 0.000 description 1
- 230000003449 preventive effect Effects 0.000 description 1
- 230000002940 repellent Effects 0.000 description 1
- 238000009751 slip forming Methods 0.000 description 1
- 239000011550 stock solution Substances 0.000 description 1
- 239000010902 straw Substances 0.000 description 1
- 239000004094 surface-active agent Substances 0.000 description 1
- 239000002424 termiticide Substances 0.000 description 1
- 239000002966 varnish Substances 0.000 description 1
- XLYOFNOQVPJJNP-UHFFFAOYSA-N water Substances O XLYOFNOQVPJJNP-UHFFFAOYSA-N 0.000 description 1
Images
Landscapes
- Containers And Packaging Bodies Having A Special Means To Remove Contents (AREA)
- Packages (AREA)
Abstract
【解決手段】シート状物品収納容器200の防蟻カバー10であって、シート状物品収納容器の側面220a〜220dの全周に連続して繋がる領域、シート状物品収納容器の底面230の外側の全周に連続して繋がる領域でかつ底面を含む領域、又はシート状物品収納容器の天面210の全周に連続して繋がる領域でかつシート状物品取出し部210aを除く領域を覆い、防蟻カバーの内部又は表面に、防蟻剤が含有されている防蟻カバーである。
【選択図】図2
Description
しかしながら、特に関東以西には、ティッシュボックス内のティシュペーパーの隙間に好んで入り込む習性を持つルリアリ(蟻)が生息し、上記したスリットではこの蟻の侵入を防止する効果が少ないという問題がある。ルリアリは、体表2〜2.5mmの琥珀色をしたアリで、自然状態では温暖な地方の人家の周りにある枯草や枯れ枝の茎に小さな穴を開けて巣をつくる。以前、鉄道の信号機用リレー装置にルリアリが入り込み、信号故障が多発したことがあり、ルリアリは隙間のほとんどない箱型の場所を好む傾向がある。このような習性が、ティシュボックスにルリアリが集まる原因の一つと考えられる。
又、ヒバ油を含む昆虫忌避剤を紙器に含有させた技術が提案されている(特許文献2)。
すなわち、本発明は、ティッシュボックス等のシート状物品収納容器と別体とし、防蟻対策が必要な地域や季節等に応じて個別に防蟻対策を行え、コスト低減を図ることができる防蟻カバーの提供を目的とする。
このような構成とすると、シート状物品収納容器の底面から側面をよじ登って天面のスリットから容器に侵入し、又はシート状物品収納容器の底面から側面をよじ登って側面の貼り合わせ部の隙間から容器に侵入する蟻の侵入経路の一部を、その全周にわたって防蟻カバーが覆うので、シート状物品収納容器より小さな防蟻カバーで蟻の侵入を抑制することができ、コスト低減を図ることができる。又、防蟻カバーがシート状物品収納容器と別体であるので、防蟻対策が必要な地域や季節等に応じて個別に防蟻対策を行え、すべてのシート状物品収納容器に不必要な防蟻対策を施さなくて済み、コスト低減を図ることができる。
前記防蟻カバーは前記シート状物品収納容器の底面が載置される載置面と、該載置面より外側にはみ出し前記載置面の外側全周に連続して繋がる外側領域と、前記載置面から立ち上がり前記シート状物品収納容器の側面を囲む位置決め部とを有していてもよい。
前記防蟻カバーは、前記シート状物品収納容器の天面の外形以上の大きさでかつ前記シート状物品取出し部に対応する部分が切り抜かれた主面と、前記主面から立ち下がり前記シート状物品収納容器の側面を囲む位置決め部とを有していてもよい。
前記防蟻カバーは、前記シート状物品収納容器の側面の全周を囲む側部と、前記天面に載置される片部とを有し、該片部の端が前記側部に接続されていてもよい。
このようにすると、防蟻カバーを一枚のシート(板紙やプラスチック板等)から組立てることができ、部品点数が少なく、低コストとなる。又、防蟻カバーの保管時や発送時にはコンパクトに折り畳むことができ、省スペースで発送コストも低減される。
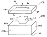
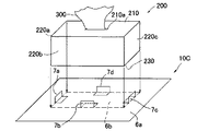
図1は、本発明の防蟻カバーによる防蟻作用を示す概念図である。ルリアリ等の蟻は、外部からティッシュボックス(シート状物品収納容器)200に接近し、底面から側面220a〜220d(220dは図示せず)をよじ登って、天面210に到達し、天面210中央のスリット(シート状物品取出し部)210aから箱内部の積層ティッシュに侵入する。又、ティッシュボックス側面部220aや220cのフラップ貼り合わせ部分220cxのすき間220cL(側面部が上下の2枚の板紙を貼り合わせるために生じる隙間)から蟻が侵入する場合もある。スリット210aからはティッシュペーパー300が突出している。蟻の侵入経路Rを矢印で示す。
ここで、ティッシュボックス200底面の外側の全周A、ティッシュボックス200側面の全周B、ティッシュボックス200天面の全周Cのいずれかの領域で防蟻効果を持たせれば、ティッシュボックス200の全体に防蟻効果を施さなくても、天面210からティッシュボックス200内部への蟻の侵入を防止することができ、コストダウンを図ることができる。このとき重要なのは、領域A、B、Cのいずれにおいても、全周にわたって防蟻効果を持たせないと、防蟻効果の無い部分から蟻が侵入してしまうことである。
なお、ティッシュボックス側面部220aや220cのフラップ貼り合わせ部分220cxのすき間220cLから蟻が侵入する場合には、ティッシュボックス200天面の全周Cに防蟻効果を持たせても、蟻の侵入を防止できない。従って、領域A又はBに防蟻効果を持たせるのが好ましい。
以下、領域A、B、C毎に本発明を詳しく説明する。
シート状物品としては、ティシュペーパー(フェイシャルティシュとも称される鼻かみや化粧落とし用の紙)、ペーパータオル、トイレットペーパー等の使い捨て衛生用薄葉紙が例示されるがこれらに限られない。
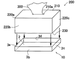
立設部3a〜3dがシート状物品収納容器200の底面側の側面に連続して形成されているので、外部からシート状物品収納容器200に接近した蟻は、側面220a〜220dをよじ登ることができず、シート状物品収納容器200のスリット210aに到達できない。これにより、防蟻効果が得られる。
防蟻カバー10の片面(シート状物品収納容器200に対向する面)には、防蟻剤が塗工されている。防蟻剤としては、一般の防虫剤や防蟻剤を用いることができ、具体的には、例えばサリチル酸メチル、アリルイソチオシアネート等が防蟻剤として挙げられる。特に、シート状物品として衛生用薄葉紙を使用する場合、人体への安全性や臭気の点から、防蟻剤として杉、檜、樟、ユーカリ等の天然物の抽出成分が好ましい。
防蟻剤は防蟻カバー10の片面又は全面に塗工することができ、又、片面に部分的に塗工することができる。又、塗工の他、予め抄紙時に防蟻剤の成分を内添してもよい。又、防蟻カバー10としてプラスチックを使用する場合、防蟻剤を塗工する他、プラスチックの材料(ペレット)中に防蟻剤の成分を添加してもよい。
防蟻カバー10に含まれる防蟻剤の量は、0.01〜0.5g/m2(防蟻カバー1m2当たりの量)とすることが好ましい。防蟻剤の量が0.01g/m2未満の場合、蟻の忌避効果が少ないことがあり、0.5g/m2を超えるとコストが高くなり過ぎたり、防蟻剤の臭いがきつくなることがある。
防蟻カバー10Bは、シート状物品収納容器200の天面210の外形よりわずかに大きく、かつスリット210aに対応する中央部4aが切り抜かれた矩形の主面4と、主面4から立ち下がりシート状物品収納容器の側面220a〜220dを囲む位置決め部5a〜5dとを有する。
この実施形態では、位置決め部5a〜5dは主面4の各辺から立ち上がり、主面4の角部で接続されることにより、シート状物品収納容器200の側面の全周を連続して囲むようになっているが、位置決め部5a〜5dは単に主面4のシート状物品収納容器200上の位置を合わせるものであればよい。例えば、位置決め部5a〜5dが主面4の各辺の中央部にのみ設けられ、互いに接続されなくてもよい。
なお、主面4は天面210全体を覆っている必要はなく、少なくとも天面210に形成されたスリット210aの外側を全周にわたって連続して覆っていればよい。例えば、スリット210aの外側に環状の主面4を形成してもよい。
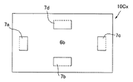
さらに、載置面6bの各辺からそれぞれ舌片状の位置決め部7a〜7dが立ち上がるように設けられている。位置決め部7a〜7dはシート状物品収納容器200の位置を合わせるものである。位置決め部7a〜7dは載置面6bの各辺の中央部に設けられ、互いに接続されていない。又、詳しくは後述するが、位置決め部7a〜7dは、コの字状の切れ込みを折線から折曲げて立ち上がらせている。
側部8は、側面220a〜220dをそれぞれ覆う長片状の側部片8a〜8dを、各側部片の端部(すなわち、側面220a〜220dの角部に相当)で接続して構成されている。
対向する側部片9a、9cに、それぞれ2つの片部9の一辺(端)9sが接続されている。又、一辺9sに隣接する短辺(端)9e、9eは、それぞれ対向する側部片9b、9dに接続されている。なお、片部9の少なくとも一辺が側部8に接続されていればよい。
第4の実施形態では、側部8がシート状物品収納容器の側面220a〜220dの全周に連続して繋がっているので、第1の実施形態と同様に、外部からシート状物品収納容器200に接近した蟻は、側面220a〜220dをよじ登ることができず、シート状物品収納容器200のスリット210aに到達できない。これにより、防蟻効果が得られる。
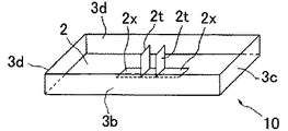
又、この切抜き部2x、2xをコの字状の切れ込みとし、折線から噛み込み部2t、2tを折曲げて立ち上がらせてもよい。シート状物品収納容器200内のシート状物品が少なくなると、容器200の底面230の切れ込み部分を底上げし、残ったシート状物品を取出し易くすることができるが、噛み込み部2t、2tを底面230の底上げ部に噛み込ませると、シート状物品収納容器200を防蟻カバー10にしっかりと固定することができる。
立設部3b、3dの両端にはそれぞれフラップ3xが延設されている。又、立設部3a、3cの端部には、フラップ3xを係合するための係合穴3yが開口している。そして、4つの立設部3a〜3dを立ち上げた後、フラップ3xを係合穴3yに挿入することにより両者が係合して接続され、シート状物品収納容器200の側面の全周を連続して囲むようになる。
このように、防蟻カバー10は折畳み可能な展開構造をなしているので、防蟻カバーを一枚のシート(板紙やプラスチック板等)から組立てることができ、部品点数が少なく、低コストとなる。又、防蟻カバーの保管時や発送時にはコンパクトに折り畳むことができ、省スペースで発送コストも低減される。
上記した破線をミシン目とすると、折曲げが容易になる。
水性ニスと界面活性剤との混合液に対し、表1に示す防蟻剤を溶解した後、水で希釈して防蟻液を調製した。この防蟻液を、坪量350g/m2の板紙(27×15cm)の片面にメイヤーバー塗工した。塗工量は、防蟻剤の成分量が表1に示す値(例えば、ヒバ油やサリチル酸メチル100%の原液が0.05g/m2)となるようにした。
防蟻剤を塗工した板紙から、それぞれ図2〜図4に示す第1の実施形態の防蟻カバーから第3の実施形態の防蟻カバーを作成した。
比較のため、防蟻剤を塗工しない板紙から、同様に第1の実施形態の防蟻カバーから第3の実施形態の防蟻カバーを作成した。なお、防蟻カバーの大きさは、標準ティシュボックスに合わせた。
防蟻剤を含有する第1の実施形態の防蟻カバーと、防蟻剤を含有しない第1の実施形態の防蟻カバーとを用意し、実際にティシュボックス内部に蟻が混入したという相談を受けたユーザの居宅にそれぞれの防蟻カバーを取付けたティシュボックスを配置し、モニターテストを行なった。モニターテスト期間は2週間とした。
効果の確認は、ユーザの目視で行い、以下の基準で評価した。
A:比較例のみティシュボックス内部に蟻が混入した
B:実施例のみティシュボックス内部に蟻が混入した
C:実施例と比較例の両方でティシュボックス内部に蟻が混入した
D:実施例と比較例のどちらにもティシュボックス内部に蟻が混入しなかった
さらに、A〜Dのそれぞれの該当件数に対し、{A/(A+B+C+D)}×100(%)によって忌避率を求めた。
得られた結果を表1に示す。
3a〜3d 立設部
4 主面
4a 切り抜かれた中央部
5a〜5d、7a〜7d 位置決め部
6a 外側領域
8a〜8d 側部
9 片部
9e、9s 片部の端
10、10B〜10D 防蟻カバー
200 シート状物品収納容器
210 シート状物品収納容器の天面
210a シート状物品取出し部
220a〜220d シート状物品収納容器の側面
230 シート状物品収納容器の底面
Claims (6)
- シート状物品収納容器の防蟻カバーであって、前記シート状物品収納容器の側面の全周に連続して繋がる領域、前記シート状物品収納容器の底面の外側の全周に連続して繋がる領域でかつ前記底面を含む領域、又は前記シート状物品収納容器の天面の全周に連続して繋がる領域でかつシート状物品取出し部を除く領域を覆い、
前記防蟻カバーの内部又は表面に、防蟻剤が含有されている防蟻カバー。 - 前記防蟻カバーは前記シート状物品収納容器の底面が載置される載置面と、前記載置面から立ち上がり前記シート状物品収納容器の側面の全周を囲む連続した立設部とを有する請求項1記載の防蟻カバー。
- 前記防蟻カバーは前記シート状物品収納容器の底面が載置される載置面と、該載置面より外側にはみ出し前記載置面の外側全周に連続して繋がる外側領域と、前記載置面から立ち上がり前記シート状物品収納容器の側面を囲む位置決め部とを有する請求項1記載の防蟻カバー。
- 前記防蟻カバーは、前記シート状物品収納容器の天面の外形以上の大きさでかつ前記シート状物品取出し部に対応する部分が切り抜かれた主面と、前記主面から立ち下がり前記シート状物品収納容器の側面を囲む位置決め部とを有する請求項1記載の防蟻カバー。
- 前記防蟻カバーは、前記シート状物品収納容器の側面の全周を囲む側部と、前記天面に載置される片部とを有し、該片部の端が前記側部に接続されている請求項1記載の防蟻カバー。
- 前記防蟻カバーは、板材を折線から折曲げて組立てる折畳み可能な展開構造をなしている請求項1〜5のいずれか記載の防蟻カバー。
Priority Applications (1)
| Application Number | Priority Date | Filing Date | Title |
|---|---|---|---|
| JP2008212603A JP4663765B2 (ja) | 2008-08-21 | 2008-08-21 | 防蟻カバー |
Applications Claiming Priority (1)
| Application Number | Priority Date | Filing Date | Title |
|---|---|---|---|
| JP2008212603A JP4663765B2 (ja) | 2008-08-21 | 2008-08-21 | 防蟻カバー |
Publications (2)
| Publication Number | Publication Date |
|---|---|
| JP2010047282A true JP2010047282A (ja) | 2010-03-04 |
| JP4663765B2 JP4663765B2 (ja) | 2011-04-06 |
Family
ID=42064736
Family Applications (1)
| Application Number | Title | Priority Date | Filing Date |
|---|---|---|---|
| JP2008212603A Active JP4663765B2 (ja) | 2008-08-21 | 2008-08-21 | 防蟻カバー |
Country Status (1)
| Country | Link |
|---|---|
| JP (1) | JP4663765B2 (ja) |
Citations (5)
| Publication number | Priority date | Publication date | Assignee | Title |
|---|---|---|---|---|
| JPS59184597U (ja) * | 1983-05-26 | 1984-12-08 | 河村 稔 | 香料付着装置付ボツクス入テイシユペ−パ−収納箱 |
| JPH037331A (ja) * | 1989-03-13 | 1991-01-14 | Chuetsu Pulp Kogyo Kk | 消臭体 |
| JPH0330292U (ja) * | 1989-03-29 | 1991-03-25 | ||
| JP2001122347A (ja) * | 1999-10-28 | 2001-05-08 | Crecia Corp | ティシュ収納箱 |
| JP2008030819A (ja) * | 2006-07-31 | 2008-02-14 | Idea Kk | ティッシュケースホルダー |
-
2008
- 2008-08-21 JP JP2008212603A patent/JP4663765B2/ja active Active
Patent Citations (5)
| Publication number | Priority date | Publication date | Assignee | Title |
|---|---|---|---|---|
| JPS59184597U (ja) * | 1983-05-26 | 1984-12-08 | 河村 稔 | 香料付着装置付ボツクス入テイシユペ−パ−収納箱 |
| JPH037331A (ja) * | 1989-03-13 | 1991-01-14 | Chuetsu Pulp Kogyo Kk | 消臭体 |
| JPH0330292U (ja) * | 1989-03-29 | 1991-03-25 | ||
| JP2001122347A (ja) * | 1999-10-28 | 2001-05-08 | Crecia Corp | ティシュ収納箱 |
| JP2008030819A (ja) * | 2006-07-31 | 2008-02-14 | Idea Kk | ティッシュケースホルダー |
Also Published As
| Publication number | Publication date |
|---|---|
| JP4663765B2 (ja) | 2011-04-06 |
Similar Documents
| Publication | Publication Date | Title |
|---|---|---|
| US5477636A (en) | Preassembled glue trap | |
| US5572825A (en) | Glue trap | |
| US4592163A (en) | Telescoping carton and insect trap | |
| US7694456B1 (en) | Flying insect trap | |
| US5398442A (en) | Combination glue trap and package | |
| US4959924A (en) | Insect bait station | |
| US9603352B2 (en) | Dispenser | |
| EP2854525B1 (en) | Pest control apparatus and process of manufacture | |
| JP4663765B2 (ja) | 防蟻カバー | |
| US20120186527A1 (en) | Method of folding substantially smaller a disposable cat litter holding means | |
| US827006A (en) | Fly-paper guard and holder. | |
| US4998376A (en) | Insect trap | |
| JP3225833U (ja) | 直方体形状に組み立てられて梱包用に使用され、かつペット用ハウスとして使用可能な段ボール | |
| JP7734936B2 (ja) | 防虫装置 | |
| JP7178326B2 (ja) | ゴキブリ誘引器 | |
| WO2024053748A2 (ja) | 防虫粘着テープ | |
| JPH029667Y2 (ja) | ||
| JP7637575B2 (ja) | 紙製捕獲容器 | |
| JP2015198589A (ja) | 飛翔害虫捕獲装置 | |
| JPH0583U (ja) | 害虫等の忌避具 | |
| KR200373337Y1 (ko) | 바퀴벌레 퇴치기 | |
| CN211881836U (zh) | 蟑螂和类似昆虫的诱捕器 | |
| CN219612867U (zh) | 一种纸板蟑螂屋 | |
| CN215898665U (zh) | 一种瓢虫卵块释放装置 | |
| CN211298156U (zh) | 环保型有害爬虫捕捉器 |
Legal Events
| Date | Code | Title | Description |
|---|---|---|---|
| A621 | Written request for application examination |
Free format text: JAPANESE INTERMEDIATE CODE: A621 Effective date: 20101001 |
|
| A871 | Explanation of circumstances concerning accelerated examination |
Free format text: JAPANESE INTERMEDIATE CODE: A871 Effective date: 20101001 |
|
| A975 | Report on accelerated examination |
Free format text: JAPANESE INTERMEDIATE CODE: A971005 Effective date: 20101021 |
|
| A131 | Notification of reasons for refusal |
Free format text: JAPANESE INTERMEDIATE CODE: A131 Effective date: 20101101 |
|
| A521 | Written amendment |
Free format text: JAPANESE INTERMEDIATE CODE: A523 Effective date: 20101112 |
|
| TRDD | Decision of grant or rejection written | ||
| A01 | Written decision to grant a patent or to grant a registration (utility model) |
Free format text: JAPANESE INTERMEDIATE CODE: A01 Effective date: 20110104 |
|
| A01 | Written decision to grant a patent or to grant a registration (utility model) |
Free format text: JAPANESE INTERMEDIATE CODE: A01 |
|
| A61 | First payment of annual fees (during grant procedure) |
Free format text: JAPANESE INTERMEDIATE CODE: A61 Effective date: 20110105 |
|
| R150 | Certificate of patent or registration of utility model |
Ref document number: 4663765 Country of ref document: JP Free format text: JAPANESE INTERMEDIATE CODE: R150 Free format text: JAPANESE INTERMEDIATE CODE: R150 |
|
| FPAY | Renewal fee payment (event date is renewal date of database) |
Free format text: PAYMENT UNTIL: 20140114 Year of fee payment: 3 |
