JP2010047273A - 袋口扇折込みタグ結束装置 - Google Patents

袋口扇折込みタグ結束装置 Download PDF

Info

Publication number
JP2010047273A
JP2010047273A JP2008212262A JP2008212262A JP2010047273A JP 2010047273 A JP2010047273 A JP 2010047273A JP 2008212262 A JP2008212262 A JP 2008212262A JP 2008212262 A JP2008212262 A JP 2008212262A JP 2010047273 A JP2010047273 A JP 2010047273A
Authority
JP
Japan
Prior art keywords
tag
motor
bag mouth
fan
arm
Prior art date
Legal status (The legal status is an assumption and is not a legal conclusion. Google has not performed a legal analysis and makes no representation as to the accuracy of the status listed.)
Granted
Application number
JP2008212262A
Other languages
English (en)
Other versions
JP5045607B2 (ja
Inventor
Yoshihiro Maniwa
良浩 間庭
Satoshi Taguchi
聡 田口
Current Assignee (The listed assignees may be inaccurate. Google has not performed a legal analysis and makes no representation or warranty as to the accuracy of the list.)
Max Co Ltd
Original Assignee
Max Co Ltd
Priority date (The priority date is an assumption and is not a legal conclusion. Google has not performed a legal analysis and makes no representation as to the accuracy of the date listed.)
Filing date
Publication date
Application filed by Max Co Ltd filed Critical Max Co Ltd
Priority to JP2008212262A priority Critical patent/JP5045607B2/ja
Publication of JP2010047273A publication Critical patent/JP2010047273A/ja
Application granted granted Critical
Publication of JP5045607B2 publication Critical patent/JP5045607B2/ja
Expired - Fee Related legal-status Critical Current
Anticipated expiration legal-status Critical

Links

Images

Landscapes

  • Package Closures (AREA)

Abstract

【課題】包装体の内容物が所定の高さを有している場合であっても、その内容物が包装体の袋口付近に集中することなく、包装体の袋口を扇形状に成形できるようにすると共に、当該包装体の袋口にタグを再現性良く結束できるようにする。
【解決手段】包装体1の袋口を蛇腹状に折り込んで当該袋口を扇形状に成形する袋口扇成形駆動ユニット40及び、袋口扇成形駆動ユニット40の袋挿入口側に設けられて蛇腹状に折り込まれた包装体1’の袋口にタグを取り付けるタグ取り付け駆動ユニット101を有した結合処理ユニット104と、袋口扇折込みタグ結束装置100の設置面に対し所定の角度を有して結合処理ユニット104を斜めに支持するプロセス架台102とを備える。包装体1の袋口を斜めに挿入し、当該包装体1’を装置設置面に対し、ほぼ並行となる姿勢を維持して、袋口を扇形状に成形すること、及び、その袋口にタグを取り付けることができる。
【選択図】 図10

Description

この発明は、食品、その他の商品等を収納した包装体の袋口を蛇腹状に折り込んで当該袋口を扇形状に成形し、この扇形状の要部となる部位の付近にタグを取り付ける袋口扇折込みタグ結束装置に関する。詳しくは、当該装置の設置面に対し所定の角度を有して、袋口扇折込機構及びタグ取り付け機構を有する処理ユニットを斜めに支持する支持部材を備え、袋口扇折込機構の袋挿入口に対して包装体の袋口を斜めに挿入し、当該包装体を装置設置面に対しほぼ並行となる姿勢を維持しながら、包装体の袋口を蛇腹状に折り込んで当該袋口を扇形状に成形できるようにすると共に、当該包装体の袋口にタグを再現性良く取り付けられるようにしたものである。
近年、食品、その他の商品等を収納した包装体の袋口を体裁良く、かつ、見栄えを良くするために、当該包装体の袋口に多数の折り目を均等に付けて折り込み、その結束部位をツイストタイ等の結束具で結束し、その結束部分を要部として袋口を扇形状に形成する袋口扇状結束機が使用される場合が多くなってきた。
この種の包装体の袋口を折り込んで成形する袋口扇状結束機に関連して特許文献1には、袋等の結束装置が開示されている。この結束装置によれば、上下一対の案内ベルトと、転動自在の結束紐案内兼用袋口受け用のU型の受け駒と、結束紐繰り出し手段と、受け駒転動兼袋口ギャザリング用の押圧杵を持つフッカー体とを備え、平行移動する袋口にギャザリング処理を施すものである。案内ベルトは、袋体コンベアの袋口を突出せる側部に配されている。受け駒は、袋口案内ベルトの給送端部に臨む搬送チェーンに取り付けられている。
結束紐繰り出し手段は、受け駒の手前に針金入りリボン状の結束紐を1本宛垂下供給する。押圧杵は袋口案内ベルトに平行して可動する。これを前提にして、フッカー体は、結束紐繰り出し手段から供給され、受け駒の上向き移行となる搬送路位置の上部に搬送チェーンに取り付けられて平行移動する結束紐端を挟接撚るようにしたものである。このように結束装置を構成すると、袋口を確実にギャザリングできると共に、前面の結束紐をU状屈曲しながら受け駒へ臨ませることができるというものである。
また、袋口扇状部位にタグを取り付ける装置に関連して特許文献2には、結束機が開示されている。この結束機によれば、タグホルダ手段、突き当てガイド手段、タグホルダ駆動手段と、結束具搬送手段、結束具成形手段及び結束具締結手段を備え、袋口扇状に成形された包装体等の被装着物であって、袋口扇状を上部にし、その後端部を下部にした立位姿勢の被装着物の結束部位にタグを取り付けるものである。
タグは被装着物に巻かれて締結される線状の結束具を係止する係止部を2箇所に有している。タグホルダ手段は爪部と結束具通路を有し、爪部にはタグに形成された位置合わせ部が嵌められる。結束具通路は、位置合わせ部が爪部に嵌められたタグの係止部と位置合わせされ、一方の係止部から他方の係止部へと結束具を通すようになされる。
突き当てガイド手段は、被装着物が入る装着空間部を有すると共に、結束具通路とつながる結束具誘導部を有している。タグホルダ駆動手段は、タグホルダ手段を突き当てガイド手段に対して接近及び離間する方向に移動させ、タグホルダ手段を突き当てガイド手段に突き当てて、結束具通路と結束具誘導部を連通させる。
結束具搬送手段は、突き当てガイド手段に突き当てられたタグホルダ手段で位置合わせされたタグの2箇所の係止部に結束具通路と結束具誘導部でガイドして結束具を通すようになされる。結束具成形手段はタグの2箇所の係止部に通された結束具を成形する。これを前提にして、結束具締結手段は、タグの2箇所の係止部に通されて成形された結束具を捩って締結するようになされる。このように結束機を構成すると、手作業によることなく、タグに形成された2箇所の係止部に結束具を通し、袋口扇状に成形された包装体等の被装着物に結束具を巻き回して締結して、タグを被装着物に取り付けることができるというものである。
特開昭59−163123号公報(第2頁 第1図) 特開2008−100744号公報(第4頁 図1)
ところで、食品、その他の商品等を収納した包装体の袋口を蛇腹状に折り込んで当該袋口を扇形状に成形し、この扇形状の要部となる部位の付近にタグを取り付けようとした場合に、特許文献1に見られるような袋等の結束装置にあっては、袋口にギャザリング処理を施す技術的思想が開示されているものの、包装体の袋口に多数の折り目を均等につけて折り込み、ツイストタイ等の結束具で結束すると共に、その結束部分を要部として袋口を扇形状に形成することについては何ら言及しておらず、袋口を扇形状に形成することについて対応することが困難である。また、包装体を袋体コンベアーで搬送しつつギャザリング処理を施す構成になっていることから、装置全体が非常に大掛かりなものとなってしまうという問題がある。
一方、特許文献2に見られるような結束機にあっては、包装体の袋口に多数の折り目を均等に付けて折り込むことや、結束部分を要部として袋口を扇形状に形成することについては何ら言及しておらず、袋口を扇形状に形成することについて対応することが困難である。仮に、特許文献1に見られるような袋等の結束装置のギャザリング処理を施す部位と、特許文献2に見られるような結束機とを組み合わせて結合処理ユニットを構成する方法が考えられるが、次のような問題がある。
i.平行移動する袋口にギャザリング処理を施す結束装置の前面に、何らの工夫無しに、単に、立位姿勢の包装体の結束部位にタグを取り付ける結束機を組み合わせた場合は、袋口のギャザリング方向と、タグ取り付け方向とが直交することになる。従って、結合処理ユニットが複雑になるばかり、包装体の袋後端を下げてタグを取り付ける方式を採ることが困難となる。
ii.ギャザリング処理を施す結束装置の前面にタグを取り付ける結束機を配設する方式を採用した場合は、更に、結束装置の袋挿入口に包装体の被折り面を挿入する程度が分かりづらいため、完成した包装体袋口の扇状の大きさが不均一になるという問題があった。
iii.因みに、包装体の内容物の高さが低い(薄い)場合と、その高さが高い(厚い)場合とで、何らの工夫無しに、包装体の袋口扇形状の要部となる部位の付近にタグを取り付けようとした場合、その内容物が包装体の袋口付近に集中してしまい、当該包装体の袋口にタグを再現性良く結束できないという問題がある。
そこで、本発明は、上述の課題に鑑み創作されたものであり、包装体の内容物が所定の高さを有している場合であっても、その内容物が包装体の袋口付近に集中することなく、包装体の袋口を扇形状に成形できるようにすると共に、当該包装体の袋口にタグを再現性良く結束できるようにした袋口扇折込みタグ結束装置を提供することを目的とする。
上記課題を解決するために、本発明に係る袋口扇折込みタグ結束装置は、袋挿入口を有して包装体の袋口を蛇腹状に折り込んで当該袋口を扇形状に成形する袋口扇折込機構及び、前記袋口扇折込機構の袋挿入口側に設けられて前記蛇腹状に折り込まれた前記包装体の袋口にタグを取り付けるタグ取り付け機構を有した結合処理ユニットと、当該装置の設置面に対し所定の角度を有して前記結合処理ユニットを斜めに支持する支持部材とを備えたことを特徴とするものである。
本発明に係る袋口扇折込みタグ結束装置によれば、当該装置の設置面に対し所定の角度を有する支持部材が、袋口扇折込機構及びタグ取り付け機構を有する結合処理ユニットを斜めに支持する。このとき、角度を付けて挿入した包装体の袋口が袋口扇折込機構を備えた結合処理ユニットの上方側に位置し、その内容物が結合処理ユニットの斜め下方側に向くようになる。
従って、袋口扇折込機構の袋挿入口に対して包装体の袋口を斜めに挿入し、当該包装体を装置設置面に対しほぼ並行となる姿勢を維持しながら、包装体の袋口を扇形状に折り込んで当該袋口を扇形状に成形すること、及び、当該包装体の袋口にタグを取り付けることができる。
本発明に係る袋口扇折込みタグ結束装置によれば、当該装置の設置面に対し所定の角度を有して、袋口扇折込機構及びタグ取り付け機構を有する結合処理ユニットを斜めに支持する支持部材を備えるものである。
この構成によって、袋口扇折込機構の袋挿入口に対して包装体の袋口を斜めに挿入し、当該包装体を装置設置面に対しほぼ並行となる姿勢を維持しながら、包装体の袋口を蛇腹状に折り込んで当該袋口を扇形状に成形すること、及び、当該包装体の袋口にタグを取り付けることができる。特に、包装体の内容物が所定の高さを有している場合であっても、その内容物が包装体の袋口付近に集中することなく、その内容物を包装体の後方側の部分に寄せ集めた状態で、包装体の袋口を扇形状に成形し、及び、該包装体の袋口にタグを取り付けることができる。
以下、図面を参照しながら、この発明の実施の形態に係る袋口扇折込みタグ結束装置について説明をする。
図1は、本発明に係る実施形態としての袋口扇折込みタグ結束装置100の構成例を示す斜視図である。図2は、袋口扇折込みタグ結束装置100の構成例(上面)を示す説明図である。
図1に示す袋口扇折込みタグ結束装置100は、山折り機構60及び谷折り機構70を有した本発明に係る袋口扇折込装置を備え、食品、その他の商品等を収納した包装体1の袋口を蛇腹状に折り込んで当該袋口を扇形状に成形し、この扇形状の要部となる部位の付近に自動的にタグ10を取り付けるものである。
袋口扇折込みタグ結束装置100は、袋口扇折込機構を有した処理ユニット(以下、袋口扇成形駆動ユニット40という。)及び、タグ取り付け機構を有した処理ユニット(以下、タグ取り付け駆動ユニット101という。)、プロセス架台102及び1組のベース部材103a,103bを備えて構成される。
袋口扇成形駆動ユニット40は、左扇縮拡用のクランク駆動機構42a及び右扇縮拡用のクランク駆動機構42bを有しており、包装体1の袋口を蛇腹状に折り込んで当該袋口を扇形状に成形する。包装体1は袋挿入方向Iの袋挿入口から挿入される。袋口扇成形駆動ユニット40は、所定の位置に脚部31a,32a,33a(図示せず),34aを有している。脚部31a,32aは一方のベース部材103aに取り付けられ、脚部33a,34aは他方のベース部材103bに取り付けられる。
タグ取り付け駆動ユニット101は、袋口扇成形駆動ユニット40の袋挿入方向I側に設けられて蛇腹状に折り込まれた包装体1の袋口にタグ10(図7参照)を取り付ける。タグ取り付け駆動ユニット101も、所定の位置に脚部31b〜34bを有している。脚部31b,32bは一方のベース部材103aに取り付けられ、脚部33b,34bは他方のベース部材103bに取り付けられる。袋口扇成形駆動ユニット40とタグ取り付け駆動ユニット101とは直線上に並べて配されてベース部材103a,103bに取り付けられる。ベース部材103a,103bには一例として厚さ5mm程度のアルミニウム板が使用される。
この例では、袋口扇成形駆動ユニット40の各々の脚部31a〜34aと、タグ取り付け駆動ユニット101の各々の脚部31b〜34bとが、ベース部材103a,103bに取り付けられた一体化ユニット構造(以下結合処理ユニット104という)を採っている。
ベース部材103a,103bの下方には支持部材の一例を構成するプロセス架台102を備えている。プロセス架台102は、当該袋口扇折込みタグ結束装置100の設置面に対し所定の角度(以下傾斜角度θ1という)を有して結合処理ユニット104を斜めに支持する。プロセス架台102は、所定の長さの鉄製のアングル部材を組み合わせて構成される。ベース部材103a,103bは、例えば、プロセス架台102に、ボルト及びナットで取り付けられる。
この例で、袋口扇折込みタグ結束装置100は載置部材の一例を構成するテーブル81を有している。テーブル81の所定の位置には、スタート用のスイッチ90が設けられ、テーブル81を軽く落とし込むようにスイッチ90を操作することで、制御系に対して包装体1の袋口扇形状の折込み及び、タグ10の取り付け等の一連の処理を開始するようになされる。スイッチ90には、例えば、マイクロスイッチが使用される。これにより、図2に示すように袋口扇成形駆動ユニット40とタグ取り付け駆動ユニット101とを直線上に並べて配した袋口扇折込みタグ結束装置100を構成できるようになる。
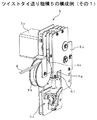
続いて、袋口扇成形駆動ユニット40の構成例について説明する。図3は袋口扇成形駆動ユニット40の構成例(その1)を示す斜視図である。図3に示す袋口扇成形駆動ユニット40は、図1に示した袋口扇折込みタグ結束装置100の一部を成すものであり、第1の枠部材を構成する一対の上部フレーム11a,11bを有している。
上部フレーム11a,11bには、一例として厚さ5mm程度のアルミニウム板が使用される。上部フレーム11a,11b間には2枚の上部補強部材12a,12bが渡されて装置全体の躯体構造を補強するようになされる。上部補強部材12aは包装体1を挿入する方向(以下で袋挿入方向Iという)から見て前側上面に配置され、上部補強部材12bはその後側上面に各々配置される。上部補強部材12bには一対の回転軸受け部13a,13bが設けられている。
上部補強部材12a,12bには、一例として厚さ5mm程度のアルミニウム板が使用される。上部補強部材12a,12bは、例えば、左右の上部フレーム11a,11bに対して2箇所ずつ計4箇所のネジ止め固定がなされる。上部フレーム11aの後端部には、軸部取付部材14aが取り付けられ、上部フレーム11bの後端部には、軸部取付部材14bが各々取り付けられる。
軸部取付部材14aは、上部フレーム11aの長手方向と直交する方向にネジ止め固定されている。軸部取付部材14aには、軸取付用の開口部15aが形成されている。同様にして、軸部取付部材14bは、上部フレーム11bの長手方向と直交する方向にネジ止め固定されている。軸部取付部材14bにも、軸取付用の開口部15bが形成されている。
上部フレーム11aには、第2の枠部材を構成する下部フレーム21aが開閉自在に後述する支軸23aを介して軸支され、上部フレーム11bにも、第2の枠部材を構成する下部フレーム21bが開閉自在に後述する支軸23bを介して軸支されている。この例で、下部フレーム21aの後端には軸取付用の開口部25aが形成され、下部フレーム21bの後端にも、軸取付用の開口部25bが形成されている。上述の軸部取付部材14aの開口部15aと下部フレーム21aの開口部25aとの間には、支点軸用の支軸23aが嵌合され(取り付けられ)、当該支軸23aの端部がC型の止め部材等(図示せず)で係止されている。
同様にして、軸部取付部材14bの開口部15bと下部フレーム21bの開口部25bとの間には支点軸用の支軸23bが嵌合され(取り付けられ)、当該支軸23bの端部がC型の止め部材24bで係止されている。これにより、下部フレーム21a,21bに対して上部フレーム11a,11bが開閉可能となされる。
下部フレーム21a,21bにも、一例として厚さ5mm程度のアルミニウム板が使用される。下部フレーム21a,21b間には2枚の下部補強部材22a,22bが渡されて装置全体の躯体構造を補強するようになされる。下部補強部材22aは袋挿入方向Iから見て前側下面に配され、下部補強部材22bはその後側下面に各々配置される。
この例で、左側の下部フレーム21aには2個の脚部31a,32aが取り付けられ、右側の下部フレーム21bにも2個の脚部33a,34aが各々取り付けられている。各々の脚部31a,32a,33a,34aには、一例として厚さ5mm程度のアルミニウム板が使用される。左右の脚部31a,32a及び脚部33a,34a間には、2枚の基礎補強板35a,35bが渡され、上部補強部材12a,12b及び下部補強部材22a,22bと共に躯体全体構造を補強するようになされる。基礎補強板35a,35bは例えば、各々の脚部31a,32a,33a,34aに対してネジ止め固定される。
なお、上部フレーム11aの先端部と上部フレーム11bの先端部との間に先端補強材12cが架橋するように取り付けられる。上述の上部補強部材12aの中央と先端補強材12cの中央との間にはツイストタイねじり機構8が配設され、タグ10の結束時、結束具の一例である帯状のツイストタイ2を包装体1の結束部位にねじり処理するようになされる。更に、下部フレーム21bや、脚部34aの右側面にはボビン58が配設され、ツイストタイ2が巻装されている。タグ10の結束時、ツイストタイ2をボビン58から供給するようになされる。
続いて、フレーム上下開閉用のクランク駆動機構41、左及び右扇縮拡用のクランク駆動機構42a,42b及び、部品連結機構66(66a,66b)の構成例について説明する。図4は袋口扇成形駆動ユニット40の構成例(その2)を示す上面図であり、図5はその構成例(その3)を示す正面図である。
図4に示す袋口扇成形駆動ユニット40は、図2に示した袋口扇折込みタグ結束装置100の一部を成すものである。図4に示すクランク駆動機構41は、クランクギヤ54a、クランクアーム54b、略L形状の垂直プレート54c及びモータギヤ54dを有して構成される。クランク駆動機構41は、下部フレーム21a,21bに対して上部フレーム11a,11bを上下動自在に駆動するようになされる。
垂直プレート54cは、図3に示した基礎補強板35a及び基礎補強板35bのほぼ中央の位置において、基礎補強板35aと基礎補強板35bとの間を橋渡しするように立設されている。垂直プレート54cは例えば、基礎補強板35aと基礎補強板35bにネジ止め固定される。
この例で垂直プレート54cの所定の位置には、図5に示す軸受け部543が設けられ、脚部33aの所定の位置にも軸受け部544が設けられる。垂直プレート54cの軸受け部543は、クランクギヤ用の回転軸542の一端を回転自在に支持し、脚部33aの軸受け部544は、その回転軸542の他端を回転自在に支持する。クランクギヤ54aは、回転軸542の先端に取り付けられて固定される。
クランクギヤ54aは、回転軸542の他にクランク軸541を有して、垂直プレート54c等の部材を介して、下部フレーム21a,21bの側に支持されるように設けられる。クランク軸541には、クランクアーム54bの一端が回転自在に連結される。クランクアーム54bの他端は、上部補強部材12aに回動自在に連結されている。クランクギヤ54aにはモータギヤ54dが噛合され、モータギヤ54dはフレーム上下開閉用のモータ(図示せず:以下垂直モータ58aという)によって回転する。クランク駆動機構41は、モータギヤ54d、クランクギヤ54a、クランク軸541及びクランクアーム54bを介して、垂直モータ58aから伝達される回転力をクランクアーム54bの往復運動に変換するように動作する。これにより、クランクアーム54bが往復運動することで、山折り機構60を有した上部フレーム11a,11bを上下に開閉できるようになる。
一方、図3に示した下部補強部材22a,22bとの間には、図4に示す左上部シャーシ36a及び右上部シャーシ37aが設けられる。左上部シャーシ36aにはシャフト逃げ孔部36c及び左扇縮拡用のクランク駆動機構42aが設けられ、右上部シャーシ37aにはシャフト逃げ孔部36d及び右扇縮拡用のクランク駆動機構42bが設けられる。シャフト逃げ孔部36cは左上部シャーシ36aの前側部分が円弧状に開口されて設けられ、シャフト逃げ孔部36dも同様にして右上部シャーシ37aの前側部分に設けられる。シャフト逃げ孔部36c,36dは、部品連結機構66(66a,66b)の縮拡時、連結ロッド661,662(図6参照)の左右への移動を許容する形状に設けられる。
左上部シャーシ36aは袋挿入方向Iから見て左側であって、前側下面の下部補強部材22aと後側下面の下部補強部材22bとの間を架橋するように取り付けられる。同様に左側であって、前側の基礎補強板35aと後側の基礎補強板35bとの間には左下部シャーシ36bが架橋するように取り付けられる。左扇縮拡用のクランク駆動機構42aは、左上部シャーシ36a及び左下部シャーシ36bを使用して取り付けられる。
この例で左上部シャーシ36aの所定の位置には、図5に示す軸受け部555が設けられ、左下部シャーシ36bの所定の位置にも軸受け部556が設けられる。軸受け部に555には回転軸552の一端が回転自在に支持され、軸受け部556には、回転軸552の他端が回転自在に支持される。クランクギヤ55aは回転軸552の先端に取り付けられて固定される(図4参照)。
クランクギヤ55aは、回転軸552の他に図4に示すクランク軸551を有して、下部フレーム21aの側に支持されるように設けられる。クランク軸551には、クランクアーム56aの一端が回転自在に連結される。
クランクアーム56aの他端は、下部アーム72aを支持固定する軸部取付部材19cに回動自在に連結されている。例えば、クランクアーム56aの他端は、軸部取付部材19cの所定の位置に突出するように設けられた支軸78aに回転自在に連結される。
図4に示す軸部取付部材19cには、回転軸孔16aが設けられる。下部補強部材22bには一対の回転軸部77a及び回転軸部77bが突出するように取り付けられる。上述の軸部取付部材19cの回転軸孔16aは、上部補強部材22bの回転軸部77aに回転自在に軸支される。回転軸部77aの端部は所定形状を有した止め輪部材により係止される。この軸支構造により、下部アーム72aは軸部取付部材19cを介在して回転軸部77aに回転自在に支持される。
また、クランクギヤ55aにはモータギヤ55cが噛合され、モータギヤ55cは左扇アーム開閉用のモータ(以下扇左モータ59aとい)によって回転駆動される。クランク駆動機構42aは、モータギヤ55c、クランクギヤ55a、クランク軸551及びクランクアーム56aを介して、扇左モータ59aから伝達される回転力をクランクアーム56aの往復運動に変換するように動作する。これにより、クランクアーム56aが往復運動することで、谷折り機構70を有した下部アーム72aを左右に縮閉動作及び拡開動作できるようになる。
同様にして、右上部シャーシ37aは袋挿入方向Iから見て右側であって、下部補強部材22aと下部補強部材22bとの間を架橋するように取り付けられる。同様に右側であって、前側の基礎補強板35aと後側の基礎補強板35bとの間には右下部シャーシ37bが架橋するように取り付けられる。右扇縮拡用のクランク駆動機構42bは右上部シャーシ37a及び右下部シャーシ37bを使用して取り付けられる。
この例で右上部シャーシ37aの所定の位置には、図5に示す軸受け部557が設けられ、右下部シャーシ37bの所定の位置にも軸受け部558が設けられる。軸受け部557には、回転軸554の一端が回転自在に支持され、軸受け部558には、その回転軸554の他端が回転自在に支持される。クランクギヤ55bは回転軸554の先端に取り付けられて固定される。
また、クランクギヤ55bは、回転軸554の他にクランク軸553を有して、下部フレーム21bの側に支持されるように設けられる。クランク軸553には、クランクアーム56bの一端が回転自在に連結される。クランクアーム56bの他端は、下部アーム72bを支持固定する軸部取付部材19dに回動自在に連結される。例えば、クランクアーム56bの他端は、軸部取付部材19dの所定の位置に突出するように設けられた支軸78bに回転自在に連結される。
図4に示す軸部取付部材19dには回転軸孔16bが設けられ、軸部取付部材19dの回転軸孔16bは、上部補強部材22bの回転軸部77bに回転自在に軸支される。回転軸部77bの端部は所定形状を有した止め輪部材により係止される。この軸支構造により、下部アーム72bは軸部取付部材19dを介在して回転軸部77bに回転自在に支持される。
クランクギヤ55bにはモータギヤ55dが噛合され、モータギヤ55dは右扇アーム開閉用のモータ(以下扇右モータ59bという)によって回転駆動される。クランク駆動機構42bは、モータギヤ55d、クランクギヤ55b、クランク軸553及びクランクアーム56bを介して、扇右モータ59bから伝達される回転力をクランクアーム56bの往復運動に変換するように動作する。これにより、クランクアーム56bが往復運動することで、谷折り機構70を有した下部アーム72bを左右に縮拡動作できるようになる。
続いて、山折り機構60、谷折り機構70及び部品連結機構66(66a,66b)について説明する。図6は、袋口扇成形駆動ユニット40の構成例(その4)を示す一部分解の斜視図である。図6に示す上部フレーム11a,11b間には第1の折り機構の機能を構成する山折り機構60が設けられる。山折り機構60は、上部ガイドレール61a,61b、上部アーム62a,62b及び蛇腹状の上部帯体63を有して構成される。左右の上部フレーム11a,11bの袋挿入方向Iから見て前側の間には、第1の案内部材の一例を構成する一対の上部ガイドレール61a,61bが取り付けられる。
上部ガイドレール61a,61bは、同方向から見て上弦状の円弧形状を成している。2つの上部ガイドレール61a,61bは図示しない同軸点(後述する仮想原点pに相当)を有して構成され、その中央部付近の軌道は円弧形状から直線状に変化している。これは、包装体1のひだ折り時、その結束部位qを画定するためである(図7参照)。
上部ガイドレール61a,61bには、一対の上部アーム62a,62bが摺動自在に係合している。例えば、上部アーム62a,62bの各々の一端(上端付近)の側面には、一対の開口部64a,64bが設けられる。開口部64aには図6に示すように上部ガイドレール61aが挿通され、開口部64bには上部ガイドレール61bが各々挿通される。
また、図6に示す上部アーム62aの他端は軸部取付部材19aにネジ止め固定され、上部アーム62bの他端は、軸部取付部材19bにネジ止め固定される。下部アーム72aの他端は、図4に示したように軸部取付部材19cにネジ止め固定され、下部アーム72bの他端は、軸部取付部材19dにネジ止め固定される。軸部取付部材19a〜19dには、一例として厚さ5mm程度のアルミニウム板が使用される。
上述の上部アーム62a,62bの間には、上弦状の円弧形状の帯状外形を成す蛇腹状の上部帯体63が配置される(図5参照)。上部帯体63には、樹脂製の薄板部材に多数の折り目形状(山折り及び谷折りを繰り返した形状)を形成したもの等が使用される。当該上部帯体63には、図6に示すように上部ガイドレール61a,61bの配置ピッチρに略等しい複数の開口部65a,65b(図示せず)が設けられ、当該開口部65a,65bに上部ガイドレール61a,61bが摺動自在に挿通され、山折り機構60を構成する。
図6に示す下部フレーム21a,21b間には第2の折り機構の機能を構成する谷折り機構70が設けられる。谷折り機構70は、下部ガイドレール71a,71b、下部アーム72a,72b及び上弦状の円弧形状の帯状外形を成す蛇腹状の下部帯体73を有して構成される。
左右の下部フレーム21a,21bの袋挿入方向Iから見て前側の間には、第2の案内部材の一例を構成する一対の下部ガイドレール71a,71bが取り付けられる。下部ガイドレール71a,71bも、同方向から見て上弦状の円弧形状を成している。2つの下部ガイドレール71a,71bは同軸点(後述する仮想原点pに相当)を有して構成され、その中央部付近の軌道は上部ガイドレール61a,61bと同様にして円弧形状から直線状に変化している。これは上述した理由による(図7参照)。
図6に示す下部ガイドレール71a,71bには、一対の下部アーム72a,72bが摺動自在に係合されている。例えば、下部アーム72a,72bの一端(上端付近)の側面には、1対の開口部74a,74bが設けられる。開口部74aには、下部ガイドレール71aが挿通され、開口部74bには、下部ガイドレール71bが各々挿通される。上述の上部ガイドレール61a,61b及び下部ガイドレール71a,71bには、鋼鉄製、ステンレス製又は黄銅製等の丸棒を円弧形状に湾曲成形したものが使用される。
図6に示す左右の下部アーム72a,72bの間には、上弦状の円弧形状の帯状外形を成す蛇腹状の下部帯体73が配置される(図4参照)。下部帯体73には、上部帯体63と同様にして多数の折り目形状が形成された部材が使用される。当該下部帯体73には、図6に示すように、上部ガイドレール61a,61bと同様にして下部ガイドレール71a,71bの配置ピッチρに略等しい複数の開口部75a,75b(図示せず)が設けられる。
図示しない開口部75aには下部ガイドレール71aが挿通され、開口部75bには下部ガイドレール71bが各々摺動自在に挿通され、谷折り機構70を構成する。これにより、山折り機構60及び谷折り機構70が上下同期して協働することで、上部帯体63と、下部帯体73とが略噛合し、包装体1の袋口の被折り面に蛇腹状の折り目を付けるように動作させることができる。
図6に示す軸部取付部材19aには、図示しない回転軸孔が設けられ、軸部取付部材19bにも回転軸孔が設けられる。上部補強部材12bには図3に示した一対の回転軸受け部13a,13bが設けられる。軸部取付部材19aの回転軸孔は、同図に示した上部補強部材12bの回転軸受け部13aに軸部用の支軸18aを介して回転自在に軸支される。支軸18aの他端は図示しないC型の止め輪部材等により係止される。同様にして、軸部取付部材19aの回転軸孔は、上部補強部材12bの回転軸受け部13bに支軸18bを介して回転自在に軸支される。支軸18bの他端もC型の止め輪部材等により係止される。
この例で、上部アーム62a,62b及び下部アーム72a,72bを連動させて山折り機構60及び谷折り機構70を駆動するため、袋口扇成形駆動ユニット40には部品連結機構66(66a,66b)が設けられる。
部品連結機構66aは、連結ロッド661及び球面コロ軸受け部材665を有している。連結ロッド661は、一端が山折り機構60の上部アーム62aの所定の位置に揺動自在に連結されている。例えば、図4に示す扁平円筒孔部667を有するロッド受け部67a(図4参照)が上部アーム62aの左側壁の所定の位置に取り付けられる。
扁平円筒孔部667はロッド受け部67aの下方側に向けて開口されている。ロッド受け部67aの扁平円筒孔部667には連結ロッド661の一端が挿入され、連結ロッド661の端部がロッド係合ピン68a(図4参照)により揺動自在に連結される。ロッド係合ピン68aは、上部アーム62aの外側で扁平円筒孔部667と直交する方向から取り付けられる。
球面コロ軸受け部材665は、ロッド係合孔663を有しており、谷折り機構70の下部アーム72aの左側壁の所定の位置に設けられる。例えば、ロッド係合孔663を有するスフェリカル・ベアリングを嵌め込んだ球面コロ軸受け部材665が下部アーム72aの左側壁の所定の位置に取り付けられる。ロッド係合孔663には連結ロッド661の他端側が挿入されて、連結ロッド661を摺動かつ揺動自在に支持する。
部品連結機構66bは、連結ロッド662及び球面コロ軸受け部材666を有している。連結ロッド662は、一端が山折り機構60の上部アーム62bの所定の位置に揺動自在に連結されている。例えば、図4に示す扁平円筒孔部668を有するロッド受け部67bが上部アーム62bの右側壁の所定の位置に取り付けられる。扁平円筒孔部668はロッド受け部67bの下方側に向けて開口されている。ロッド受け部67bの扁平円筒孔部668には連結ロッド662の一端が挿入され、連結ロッド662の端部がロッド係合ピン68bにより揺動自在に連結される。ロッド係合ピン68bは、上部アーム62bの外側で扁平円筒孔部668と直交する方向から取り付けられる。
球面コロ軸受け部材666は、ロッド係合孔664を有しており、谷折り機構70の下部アーム72bの外側壁の所定の位置に設けられる。例えば、ロッド係合孔664を有するスフェリカル・ベアリングを嵌め込んだ球面コロ軸受け部材666が下部アーム72bの外側壁の所定の位置に取り付けられる。ロッド係合孔664には連結ロッド662の他端側が挿入されて、連結ロッド662を摺動かつ揺動自在に支持する。球面コロ軸受け部材665,666にはスフェリカル・ベアリングが使用される。
これにより、図6に示す左側の上部アーム62aと下部アーム72aとは部品連結機構66aで摺動かつ揺動自在に連結される。また、右側の上部アーム62bと下部アーム72bとが部品連結機構66bで摺動かつ揺動自在に連結される。
この部品連結機構66(66a,66b)によって、左側の上部アーム62a及び下部アーム72aが一体化され、右側の上部アーム62b及び下部アーム72bも一体化されるので、上部アーム62aと下部アーム72aとが同期し、上部アーム62bと下部アーム72bとが同期して各々動作するようになる。なお、スフェリカル・ベアリングを上部アーム62a,62bの回転軸に用いて、連結ロッド661と下部アーム72aの連結や、連結ロッド662と下部アーム72bの連結に単純な円筒孔を用いてもよい。これによっても部品連結機構を提供できるようになる。
図7A〜Cは、袋口扇折込みタグ結束装置100の機能の一例を示す工程図である。図7Aに示す包装体1は、袋口扇折込みタグ結束装置100で適用される袋体であり、通常、包装体1の中には、食品、その他の商品等が収納される。図中では、包装体1の中の食品等を省略している。包装体1の大きさは、幅がW[mm]で長さがL[mm]程度である。例えば、袋の寸法は、幅がW=100mm乃至250mmで、長さがL=150mm乃至200mm程度である。
図7Aに示す上部及び下部の水平方向の破線で示す部位は袋閉じ代であり、食品等が袋体の中に収納された時点で封止される部分である。封止部分は、内容物がはみ出さないように熱圧着等により厳重に綴じられる。また、垂直方向の破線は袋の中心線cである。なお、図中の包装体1の上部から長さlに至る部分が従来における被折り面IIを成し、袋口がひだ折りされる領域である。
次に、図7Bに示す包装体1には、仮想原点pから上弦状の円弧形状を成す線分(破線R)に至る複数の折り目が施される。仮想原点pは包装体1のほぼ中心線c上に設定される。破線Rは、例えば、仮想原点pから半径rの円の弧の一部を成すものである。この例では、上部アーム62a,62b間に扇形状に展開された山折り機構60を有する上部フレーム11a,11bと、同じく下部アーム72a,72b間に扇形状に展開された谷折り機構70を有する下部フレーム21a,21bとで包装体1の破線Rよりも図示で上方向の領域である被折り面II’を挟むことにより、上部帯体63及び下部帯体73とが略噛合して、仮想原点pから円弧形状を成す破線Rに至る複数の折り目が与えられる。
その後、複数の折り目が与えられた包装体1は、図7Cに示す白抜き矢印のように、破線Rの円弧に沿って包装体1のほぼ中心線c上の結束部位qに向かって袋口を折り畳む(折り込む)ようになされる。これにより、上部フレーム11a,11bと下部フレーム21a,21bから開放された包装体1の被折り面II’を自動的に結束部位qを要部とする扇形状に展開できるようになる。
ここで、図8A〜Cを参照して、袋口扇折込みタグ結束装置100における袋口扇折込原理について説明する。図8Aは、図7Bに示した包装体1の拡大例を示す平面図である。
この例では、被折り面II’を有した包装体1の袋口を折り込んで自動的に扇形状に展開させる場合を前提とする。図8Aに示す円弧R’(図7B中の破線Rに相当)から延在する実線Yは、例えば、山折り部分であり、同斜め破線Zは谷折り部分である。
図8Aにおいて、包装体1の略中央上部から同中央下部へ所定距離lだけ隔てた位置を結束部位qとし、結束部位qを含む中心線c(中央上下線分)と略直交する補助線分αを規定する。この補助線分αよりも所定距離βだけ高い位置であって包装体1の両側端部x1,x2から結束部位qに向かう円弧形状を成す線分である円弧R’に沿って被折り面II’の山折り及び谷折りを繰り返すようになされる。
図8Bは、図8Aから結束部位qに隣接した山折り部分及び谷折り部分を抜き出した例を示す図である。この例では、図8Bに示す結束部位qよりも高い位置に存在する山折り部分x、x’・・・点を、図8Cに示す結束部位qの位置に寄せて集束させるために、x点を下方側へ引っ張りながら折り込み、順次、x’点・・・についても下方側へ引っ張りながら折り込みむようになされる。このような被折り面II’の山折り及び谷折りを繰り返すことにより生じた折り曲げ部位を図8Cに示す結束部位qに集束する工程を有している。
この例では、包装体1の両側端部x1,x2を結束部位qに集束する際に、袋口扇折込みタグ結束装置100では、上部フレーム11a,11b及び下部フレーム21a,21bを閉じたまま、扇形状に展開された山折り機構60を有する上部アーム62a,62bの縮閉動作と、これに同期させて、扇形状に展開された谷折り機構70を有する下部アーム72a,72bの縮閉動作とで実現するものである。
これにより、包装体1の両側端部x1,x2の其々から結束部位qに向かう線分、すなわち、上弦状の円弧形状を成す線分(破線R)に沿って、被折り面II’の山折り及び谷折りを繰り返すようになされる(袋口扇折込原理)。このような袋口扇折込原理によれば、両側端部x1,x2から結束部位qへ集束した、袋口上端部から円弧形状の線分に至る垂直方向の線分(距離)に関して、包装体1の中央部が長く、包装体1の両側端部の側はそれよりも短い長さとすることができる。
このように、袋口扇折込みタグ結束装置100によれば、被折り面II’を有した包装体1の袋口を折り込んで扇形状に展開する際に、山折り部分xを結束部位qに集束させると、包装体1の中央部分よりも包装体1の両側端部の側の方が、山折り及び谷折りされている部分の袋口上端部から円弧形状の線分に至るまでの距離が短くなるので、両側端部x1,x2から結束部位qに引き寄せる力が作用する。このため、包装体1の中央上部から両側端部に拡開する力が働いて、何らの外力を加えることなく、包装体1の袋口を自動的に結束部位qを要部とする扇形状に展開できるようになる。
図9は、包装体1におけるタグ10の結束例を示す正面図である。この例では、図8Cに示した包装体1の結束部位qにツイストタイ2を使用してタグ10を結束するようになされる。タグ取り付け駆動ユニット101は、包装体1の結束部位qにタグ10を搬送すると共にツイストタイ2をタグ孔に通してねじり綴じ処理する。タグ10は、例えば、テーブル81の下方からせり上がるように搬送されて包装体1の所定の面に取り付けられる。これにより、結束部位qを要部とする扇形状に展開された包装体1の袋口にタグ10を取り付けることができる。
続いて、包装体1の内容物の高さが低い(薄い)場合と高い(厚い)場合とに分けて、袋口扇折込みタグ結束装置100の取扱例を説明する。図10は、袋口扇折込みタグ結束装置100の構成例(側面)を示す側面図である。図10に示すプロセス架台102は、包装体1を前下がりの状態で袋口扇成形駆動ユニット40へ挿入すると、内容物が転がり落ちてしまうので、当該袋口扇折込みタグ結束装置100の設置面に対して、装置全体を傾斜角度θ1だけ傾けた構造となされている。この例で、傾斜角度θ1は35°である。
図10に示す袋口扇折込みタグ結束装置100は、袋口扇成形駆動ユニット40の袋挿入方向Iを見通せる部位であって、タグ取り付け駆動ユニット101の上方に載置部材としてのテーブル81が備えられる。この例では更に、包装体1の内容物の高さが高い(厚い)場合に対処するため、テーブル81には補助テーブルとしての1組の載置台81a,81bが設けられる。載置台81a,81bは一方が傾斜形状を有し、他方が矩形状を有して、テーブル81に対して脱着かつ移動可能となされる。載置台81a,81bは、包装体1を当該袋口扇折込みタグ結束装置100の設置面とほぼ並行となる姿勢に維持する傾斜面を有する(図16参照)。
載置台81a,81b等には、上述の形状を象ったゴム部材が一例として使用される。載置台81a,81bは、タグ取り付け駆動ユニット101でシャッター機構89が設けられるので、このシャッター機構89から遠ざけた位置であって、袋挿入方向Iから袋挿入口を見た両側に配置するとよい。このシャッター機構89は不図示のシャッタープレートを有し、図47に示すタグ搬送機構4が覗く開口部分を開閉する。これにより、該開口部分からタグ10を抜き出せると共に不要物が機械内部に入り込まないように開口部分をカバーすることができる。
袋の厚みに対処して脱着方式を採る場合、例えば、テーブル81に図示しない所定の間隔で4個の孔部を開けて置く。一方、載置台81aの裏面に同じ間隔をで4隅に凸状の突起部を設ける。上述のテーブル81の4個の孔部に載置台81aの4個の突起部を嵌合することで、載置台81a等をテーブル81に固定するようにするとよい。
また、袋の幅に対処してスライド方式を採る場合、例えば、テーブル81に図示しない所定の位置に1組の長孔部を開けて置く。一方、載置台81aの裏面に所定の間隔を有して図示しない2個の凸状の突起部を設ける。上述のテーブル81の長孔部に載置台81aの突起部を嵌合することで、スライド自在に、載置台81a等をテーブル81に固定するようにするとよい。
このようにすると、袋口扇成形駆動ユニット40の袋挿入方向Iに対して包装体1の袋口を斜めに挿入し、載置台81a,81bの傾斜面に包装体1を載置したとき、包装体1の内容物が入っている部分を当該装置100の設置面に対してほぼ並行となる姿勢に維持できるようになる。
[包装体1の内容物の高さが低い(薄い)場合]
図11は、包装体1における袋口扇折込みタグ取付例(その1)を示す説明図であり、袋口扇折込みタグ結束装置100の山折り機構60及び谷折り機構70を横方向から見た図である。図11に示す包装体1の内容物の高さhが低い場合は、谷折り機構70とテーブル81とが一直線上に並んだ状態で、袋口扇折込み及びタグ取付が行われる。ここに包装体1の内容物の高さhとは、基準面に包装体1を置いたとき、基準面から包装体1の最高部位に至る長さをいう。谷折り機構70とテーブル81とが一直線上に並んだ状態は、谷折り機構70の下部帯体73(蛇腹)の高さと、テーブルの高さが同一となる場合である。包装体1の内容物の高さが低い(薄い)場合は、装置全体を傾斜角度θ1だけ傾けたことで、その内容物が包装体1の前側の部分に寄り集まることがなく、タグ10を取り付けることができる。
図12は、包装体1における袋口扇折込みタグ取付例(その2)を示す説明図である。図12に示す袋口扇折込みタグ取付例によれば、内容物の高さが低い(薄い)包装体1を袋口扇成形駆動ユニット40の谷折り機構70にセットした状態(袋セット)である。この状態によれば、包装体1の被折り面II’が谷折り機構70の下部帯体73(蛇腹)に接触するように載置される。
図13は、包装体1における袋口扇折込みタグ取付例(その3)を示す説明図である。図13に示す袋口扇折込みタグ取付例によれば、内容物の高さが低い(薄い)包装体1にタグ10が結束され、ツイストタイ2で捻り処理された状態である。タグ10の結束及びツイストタイ2の捻り処理は、山折り機構60及び谷折り機構70が縮閉動作を完了した後に行われる。
例えば、タグ取り付け駆動ユニット101は、山折り機構60及び谷折り機構70によって集束された包装体1の袋口の結束部位qにタグ10を結束する。この例では、包装体1の表面の中央位置にタグ10を取り付けるために、袋口扇成形駆動ユニット40の袋挿入口において、蛇腹中心位置、ツイストタイ2の捻り位置、タグ10の搬送位置及び、タグ付け面の4つが垂直方向で直線上に並んでいる。タグ付け面はテーブル81に設定される。
すなわち、包装体1のタグ付け面に対して、タグ10は平面状態で図中の白抜き矢印の方向(下方側)からテーブル81の側(上方側)へ移動してくる構造が採られる。このように構成すると、食品、その他の商品等を収納した包装体1の袋口を折り畳んで自動的に結束部位qにタグ10を取り付け、タグ取り付部分を要にして袋口を扇形状に展開する袋口扇折込みタグ結束装置100を提供できるようになる。
[包装体1’の内容物の高さが高い(厚い)場合]
図14及び図15は、包装体1’における袋口扇折込みタグ取付例(その1,2)を示す説明図であり、袋口扇折込みタグ結束装置100の山折り機構60及び谷折り機構70を横方向から見た図である。
この例では、包装体1’の内容物の高さh’が包装体1に比べて高い(厚い)場合である。包装体1’の内容物の高さh’が高い場合は、図14に示すように、包装体1の内容物の高さhが低い場合に比べて、テーブル81に包装体1’を置いたとき、包装体1’の被折り面II’が谷折り機構70の下部帯体73(蛇腹)から上方に離隔した状態となる。そこで、包装体1の内容物の高さhが低い場合の谷折り機構70とテーブル81とが一直線上に並んだ理想的な状態に近づけるために、図15に示すように、包装体1’の被折り面II’を折り曲げて袋挿入方向Iから袋挿入口に装填するように操作される。
この操作では、装置全体が傾斜角度θ1だけ傾けられていることで、その内容物が包装体1’の前側の部分に寄り集まることはないが、作業者が袋口扇折込み及びタグの取り付けが終了するまで、テーブル81から上方に浮き上がった状態の包装体1’自体を手に持っていなければならない。そこで、包装体1’の内容物の高さh’が高い場合に、図1に示したような1組の脱着かつ移動可能な載置台81a,81bをテーブル81に設けるようにした。
図16A及びBは、袋口扇折込みタグ取付時の包装体1’の載置例を示す説明図である。図16Aに示す載置台81a等には、被折り面載置用の第1傾斜面IIIaと被折り面II’を除く包装体載置用の第2傾斜面IIIbとが設けられている。第1傾斜面IIIaは、谷折り機構70とテーブル81とが一直線上に並んだ状態を形成するために設定される。
第2傾斜面IIIbは、内容物の保護及び作業性の向上のために設定される。この例で、第2傾斜面IIIbと第1傾斜面IIIaとが成す角度を傾斜角度θ2とし、袋後端部の下がり角度を傾斜角度Δθとしたとき、傾斜角度θ2とθ1とΔθとの間にはθ2=θ1−Δθの関係が設定される。すなわち、第2傾斜面IIIbは、当該袋口扇折込みタグ結束装置100の設置面と並行する基準面から傾斜角度Δθだけタグ取り付け駆動ユニット101の側に傾斜している。この傾斜によって、袋後端部が基準面(グランド面)よりも下がって載置される。
なお、傾斜角度θ2は包装体1’の高さh’と、内容物から結束部位qまでの長さで構成される角度である。傾斜角度θ2は約10°〜60°程度である。この傾斜角度θ2は包装体1’の高さh’に応じて可変しても固定でもどちらでもよい。上述の角度Δθを設定すると、内容物の高さh’が高い包装体1’に袋口扇折込み及びタグ取付処理を施す場合であっても、内容物が斜め下に向き、内容物が袋挿入口側に押し付けられる力が解消される。
この結果、図16Aに示す位置関係で袋口扇折込みタグ結束装置100を作動させると、山折り機構60及び谷折り機構70の縮閉動作時、包装体1’の後端部が上がることなく、内容物を包装体1’の後端部側に寄せた状態で、しかも、手で軽く押さえる程度で、袋口扇折込み及びタグ取付処理をできるようになる。従って、煎餅・クッキーなどの内容物を包装体1’の内部の所定位置に維持できるようになる。
図16Bに示す内容物の高さh’が高い包装体1’であって、包装体1’は袋角度θ3を有している。ここに袋角度θ3とは、包装体1’の被折り面II’の延長線をlaとし、その拡開線をlbとしたとき、包装体1’の被折り面II’の延長線laと拡開線lbとの間を成す角度である。上述の傾斜角度θ2と袋角度θ3との間においては、θ2<θ3となる関係に設定するとよい。これは、傾斜角度をθ2<θ3に設定すると、内容物の高さh’が高い包装体1’を第2傾斜面IIIbに載置したとき、包装体1’の後端部側が常に下がる姿勢を維持できるようになる。
このようにプロセス架台102の傾斜角度θ1に対して、傾斜角度Δθを設定すると、包装体1’の内容物が所定の高さh’を有している場合に、その内容物が包装体1’の袋口付近に集中することなく、包装体1’の後端部側に寄せた状態で、包装体1’の袋口を再現性良く扇形状に成形すること、及び、包装体1’の袋口にタグ10を再現性良く取り付けることができる。
図17は、載置台81a,81bの変形例を示す説明図である。図17に示す載置台81a,81bによれば、その第2傾斜面IIIbの後端部に、受け止め部材の一例を構成する袋ストッパ81cが設けられる。袋ストッパ81cは袋後端を規定するものであり、載置台81a,81b上を橋渡すように取付られる。袋ストッパ81cは載置台81a,81b上に載置された、内容物が所定の高さh’を有する包装体1’を受け止めるものである。袋ストッパ81cには樹脂板やアルミ板等が使用される。
このように第2傾斜面IIIbの後端部に袋ストッパ81cを取り付けると、特に、包装体1’の内容物が所定の高さh’を有している場合であっても、その内容物が包装体1’の袋口付近に集中することなく、包装体1’の後端部側に寄せた状態で、包装体1’の袋口を再現性良く、かつ、均一に扇形状に成形することができる。
しかも、複数の包装体1’の袋口を連続して扇形状に成形し、タグ10を連続して取り付ける場合でも、包装体1’の袋口の扇形状を均一化できるので、再現性良くかつ均一にタグ10を取り付けることができる。例えば、1分間に8個〜10個の割合で、同じ袋口扇形状を有したタグ付き包装体1を作成することができるようになる。
このように、本発明に係る袋口扇折込みタグ結束装置100によれば、当該装置の設置面に対し所定の傾斜角度θ1を有するプロセス架台102が、袋口扇成形駆動ユニット40及びタグ取り付け駆動ユニット101を有する結合処理ユニット104を斜めに支持する。このとき、角度を付けて挿入した包装体1の袋口が袋口扇成形駆動ユニット40を備えた結合処理ユニット104の上方側に位置し、その内容物が結合処理ユニット104の斜め下方側に向くようになる。
従って、袋口扇成形駆動ユニット40の袋挿入方向Iに対して包装体1を斜めに挿入し、当該包装体1を装置設置面に対しほぼ並行となる姿勢を維持しながら、包装体1の袋口を蛇腹状に折り込んで当該袋口を扇形状に成形すること、及び、当該包装体1の袋口にタグ10を取り付けることができる。特に、包装体1’の内容物が所定の高さh’を有している場合であっても、その内容物を包装体1’の後端部側に寄せた状態で、包装体1の袋口を再現性良く扇形状に成形すること、及び、該包装体1の袋口にタグ10を再現性良く取り付けることができる。これにより、結束部位qを要部にして展開された扇形状の袋口にタグ10を取り付けられた包装体1を提供できるようになる。
図18は、袋口扇折込みタグ結束装置100の袋口扇成形駆動ユニット40における部品連結機構66(66a,66b)の配置例を示す斜視図である。図19は、袋口扇成形駆動ユニット40におけるフレーム拡開時の動作例を示す左側面図である。図20は、クランク駆動機構41によるフレーム縮閉時の動作例を示す左側面図である。
図18に示す袋口扇成形駆動ユニット40には部品連結機構66(66a,66b)が設けられる。袋口扇成形駆動ユニット40は、上部アーム62a,62b(第1の部品)及び下部アーム72a,72b(第2の部品)を連動させて山折り機構60及び谷折り機構70を駆動する。上部アーム62a,62b及び下部アーム72a,72bはクランク駆動機構42a,42bによって駆動される。
上部アーム62a,62bは、一端が上部ガイドレール61a,61bに摺動自在に係合し、他端が上部補強部材12bの各々回転軸部に設けられた回転軸受け部13aの支軸18a、回転軸受け部13bの支軸18bに各々軸支されている。例えば、図19に示す袋口扇成形駆動ユニット40における上部フレーム拡開時の動作例によれば、クランク駆動機構41は、図18に示した垂直モータ58aが回転することで、モータギヤ54d、クランクギヤ54a及びクランクアーム54bを駆動し、支軸23a,23bを回転軸にして上部フレーム11a,11bを上方向に拡開する。
ここで上部フレーム11a,11bのホームポジションHPを設定する。ここに、上部フレーム11a,11bのホームポジションHPは、上部フレーム11a,11bが最も大きく開いたフレーム最大拡開時の位置をいう。上部フレーム11a,11bのホームポジションHPは、クランクギヤ54aに対するクランクアーム54bが上死点Puで静止する位置によって決定される(図22参照)。
また、クランク駆動機構41は、図19に示したホームポジションHPから、図20に示す如く上部フレーム11a,11bを下方向に縮閉する。このクランク駆動機構41の上部フレーム縮閉時の動作例によれば、図18に示した垂直モータ58aが一方向へ回転動作することで、モータギヤ54d、クランクギヤ54a及びクランクアーム54bを駆動し、支軸23a,23bを回転軸にして上部フレーム11a,11bを下方に閉じてフレーム縮閉位置で停止する。フレーム縮閉位置は、上述の上部フレーム11a,11bのホームポジションHPから移動して、クランクギヤ54aに対するクランクアーム54bが下死点Pdで静止する位置である。
図18に示した下部アーム72a,72bは、一端が下部ガイドレール71a,71bに摺動自在に係合し、他端が下部補強部材22bに設けられた回転軸受け部77a,77bに回転自在に支持されて、上部アーム62a,62bと共に連動する。下部補強部材22bは下部フレーム21a,21bに取り付けられて固定される。
この例で、図19や図20に示した下部フレーム21a,21bに対する上部フレーム11a,11bの上下開閉動作に伴う上部アーム62a,62bと下部アーム72a,72bとにはねじれ現象が生ずる。このようなねじれ現象を伴う上部アーム62a,62bを確実に連動させなくてはならない。このような2つの部品間で第1の回転軸に対して第2の回転軸がねじれる現象(以下ねじれ現象という)の簡略モデルを参照して説明する。
図21A及びBは、上部アーム62a,62bと下部アーム72a,72bとの間のねじれ現象例を示す簡略モデルの斜視図である。図21Aに示す簡略モデルによれば、第1の回転軸01は、回転軸受け部13a,13bに相当し、上部アーム62a,62bの回転中心である。ここで図中のp0を上部アーム62a,62bのアーム基準位置としたとき、p1はアーム基準位置p0から回転軸01を基準にして時計方向に45°回転した位置を示している。p2は、アーム基準位置p0から回転軸01を基準にして時計方向に90°回転した位置を示している。
同様にしてp1’はアーム基準位置p0から回転軸01を基準にして反時計方向に45°回転した位置を示している。p2’は、アーム基準位置p0から回転軸01を基準にして反時計方向に90°回転した位置を示している。なお、第2の回転軸02は支点軸用の支軸23a,23bが配される部位であって、下部フレーム21a,21bに対する上部フレーム11a,11bの回転中心である。
図21Bは上記の上部アーム62a,62bの簡略モデルと、下部アーム72a,72bの簡略モデルとを1つの回転軸02で連結したモデルを示している。下部アーム72a,72bの回転中心は、第1の回転軸01と異った平面に存在する。図21Bに示す連結したモデルによれば、アーム基準位置p0における上部アーム62a,62bの存在する平面と、下部アーム72a,72bの存在する平面とはねじれ現象を伴うことなく、2つのアーム面は同一平面上に存在している。しかし、アーム基準位置p0から回転軸01を基準にして45°回転した位置p1,p1’においては、上部アーム62a,62bの存在する平面と、下部アーム72a,72bの存在する平面とがねじれ現象を伴い、2つのアーム面が同一平面上に存在せず、ねじれの関係にある。
このように袋口扇成形駆動ユニット40においては、上部アーム62a,62bと、下部アーム72a,72bとが一連の動作の中で、同一平面上に存在する状態と、ねじれの関係にある状態とを取り得る。そのため、如何なる状態であっても、上部アーム62a,62bと、下部アーム72a,72bとが連動して縮閉動作及び拡開動作を円滑に行えるような連結方法が必要となる。
この例では、上部アーム62aと下部アーム72aとの間に部品連結機構66aを配設すると共に、上部アーム62bと下部アーム72bとの間に部品連結機構66bを配設してねじれ分も見込んだ2軸で回転する部品間の3次元的な連結構造を提供する。この例では、下部アーム72aに球面コロ軸受け部材665を取り付け、下部アーム72bに球面コロ軸受け部材666を取り付けた。もちろん、上部アーム62aの側に球面コロ軸受け部材665を取り付け、上部アーム62bの側に球面コロ軸受け部材666を取り付けてもよい。
球面コロ軸受け部材665,666にはスフェリカル・ベアリングが使用される。スフェリカル・ベアリングは、上部アーム62a,62bと、下部アーム72a,72bとの間のねじれ分を吸収するように動作する。このように部品連結機構66(66a,66b)を構成すると、上部アーム62a,62bと、下部アーム72a,72bとを確実に連動させることができる(第1の連結方法)。
続いて、図22〜図29を参照して、袋口扇成形駆動ユニット40における部品連結機構66(66a,66b)の動作例について説明する。なお、図22、図25〜図29において、山折り機構60及び谷折り機構70を省略している。図22は、ホームポジションにおける袋口扇成形駆動ユニット40の部品連結機構66(66a,66b)の状態例を示す斜視図である。
図22に示す袋口扇成形駆動ユニット40の部品連結機構66(66a,66b)によれば、左右の連結ロッド661,662が各々の球面コロ軸受け部材665,666から上方側に長く露出している状態である。この状態は、上部フレーム11a,11bがホームポジションHPに滞在している場合である。
この例で、クランク駆動機構41は、図示しない垂直モータ58aが回転することで、モータギヤ54d、クランクギヤ54a及びクランクアーム54bを駆動し、支軸23a,23bを回転軸にして上部フレーム11a,11bを上下に開閉する。上述の上部フレーム11a,11bのホームポジションによれば、クランクギヤ54aに対するクランクアーム54bが上死点Puで静止する位置である。
図23は、ホームポジションHPにおける袋口扇成形駆動ユニット40の状態例を示す上面図である。図23に示す袋口扇成形駆動ユニット40において、左扇用の上部アーム62a及び左扇用の下部アーム72aが最も開いたアーム最大拡開時の位置に上部アーム62a及び下部アーム72aのホームポジションHaが設定される。同様にして、右扇用の上部アーム62b及び右扇用の下部アーム72bが最も開いたアーム最大拡開時の位置に上部アーム62b及び下部アーム72bのホームポジションHbが設定される。
この例で、左扇用のクランク駆動機構42aは、図示しない扇左モータ59aが回転することで、モータギヤ55c、クランクギヤ55a及びクランクアーム56aを駆動し、下部アーム72aの図示しない回転軸部77aを回転軸にして下部アーム72aを拡開及び縮閉する。これに連動して部品連結機構66aにより連結された上部アーム62aが回転軸受け部13aを回転軸にして拡開及び縮閉動作するようになる。
上部アーム62a及び下部アーム72aのホームポジションHaによれば、クランクギヤ55aに対するクランクアーム56aが下死点Ldで静止する位置である。また、クランク駆動機構42aは左扇用のクランクギヤ55aを反時計方向に回転して上死点Luに移行する(図27参照)。
図23に示す右扇用のクランク駆動機構42bによれば、図示しない扇右モータ59bが回転することで、モータギヤ55d、クランクギヤ55b及びクランクアーム56bを駆動し、回転軸部77bを回転軸にして下部アーム72bを拡開及び縮閉する。
これに連動して部品連結機構66bにより連結された上部アーム62bが回転軸受け部13bを回転軸にして拡開及び縮閉動作するようになる。上述の上部アーム62b及び下部アーム72bのホームポジションHbによれば、クランクギヤ55bに対するクランクアーム56bが下死点Rdで静止する位置である。また、クランク駆動機構42bは右扇用のクランクギヤ55bを反時計方向に回転して上死点Ruに移行する(図27参照)。
このような上部フレーム11a,11bが拡開し、上部アーム62a,62bも拡開している状態を以下でフレーム開−アーム開時の状態例という。なお、図24はフレーム開−アーム開時の部品連結機構66(66a,66b)の状態例を別の角度から見た斜視図である。図24に示す袋口扇成形駆動ユニット40によれば、山折り機構60及び谷折り機構70を実装している。
袋口扇成形駆動ユニット40では、クランク駆動機構42a,42bが動作することにより、部品連結機構66(66a,66b)の働きにより、下部アーム72aの回転軸部77a及び下部アーム72bの回転軸部77bを各々回転軸にして、左側の上部アーム62a及び下部アーム72aと、右側の上部アーム62b及び下部アーム72bとを同期させた状態で、山折り機構60及び谷折り機構70を拡開動作及び縮閉動作させることができるようになる。
図25は、袋口扇成形駆動ユニット40における部品連結機構66bの状態例を示す拡大斜視図であり、図24に示した袋口扇成形駆動ユニット40から上部フレーム11bを分離した状態の拡大図である。図25に示すフレーム開−アーム開時の部品連結機構66bによれば、上部フレーム11b、上部アーム62b及び下部アーム72bが開いているい場合である。すなわち、上部アーム62b及び下部アーム72bが共に同一平面上に存在しないねじれの位置関係にある状態であって、部品連結機構66bがねじれに起因する変位を許容しつつ作動結合している状態(姿勢)である。
図26は、袋口扇成形駆動ユニット40における部品連結機構66(66a,66b)のフレーム閉−アーム開時の状態例を示す斜視図である。図26に示す袋口扇成形駆動ユニット40の部品連結機構66(66a,66b)によれば、左右の連結ロッド661,662が図18や図25等に示したような各々の球面コロ軸受け部材665,666から下方側に長く露出している状態である。この状態で上部フレーム11a,11bの縮閉位置が設定される。ここに、上部フレーム11a,11bの縮閉位置とは、フレーム縮閉完了時の位置をいう。上部アーム62a,62b,下部アーム72a,72bは、ホームポジションHa,Hbのままである。
この例で、クランク駆動機構41は、図22に示したホームポジションHPから、図18に示した垂直モータ58aが一方向へ回転動作することで、モータギヤ54d、クランクギヤ54a及びクランクアーム54bを駆動し、支軸23a,23bを回転軸にして上部フレーム11a,11bを下方に閉じる。上述の上部フレーム11a,11bのホームポジションHPから、クランクギヤ54aに対するクランクアーム54bが下死点Pdで静止する位置である。
なお、フレーム閉−アーム開時の動作例によれば、上部フレーム11a,11bが縮閉するのみで左扇用のクランク駆動機構42a及び右扇用のクランク駆動機構42bは静止している。つまり、上部アーム62a,62b,下部アーム72a,72bはホームポジションHa,Hbに位置する状態である。この状態では、上部フレーム11a,11bが縮閉しているので、上部アーム62aと下部アーム72aとの間にねじれの位置関係が生じずに、同一平面に存在する状態となっており、かつ、上部アーム62bと下部アーム72bとの間にねじれの位置関係が生じずに、同一平面に存在する状態となっている。この状態では、ねじれに起因する変位が生じ無いので、部品連結機構66(66a,66b)がねじれに起因する変位を許容しなくてもよい状態である。
図27は、袋口扇成形駆動ユニット40における部品連結機構66(66a,66b)のフレーム閉−アーム閉時の状態例を示す斜視図である。図27に示す袋口扇成形駆動ユニット40の部品連結機構66(66a,66b)のフレーム閉−アーム閉時の動作例によれば、左右の上部アーム62a,62b及び左右の下部アーム72a,72bが縮閉動作するのみで、クランク駆動機構41は静止している。従って、フレーム閉−アーム閉時の部品連結機構66(66a,66b)の姿勢と、フレーム閉−アーム開時の部品連結機構66(66a,66b)の姿勢とは同じ状態を維持している。
この例で、図27に示す左扇用のクランク駆動機構42aは、図23に示した上部アーム62a及び下部アーム72aのホームポジションHaにおいて、扇左モータ59aが回転することで、モータギヤ55c、クランクギヤ55a及びクランクアーム56aを駆動し、下部アーム72aの回転軸部77aを回転軸にして下部アーム72aが縮閉動作する。これに連動して部品連結機構66aにより作動連結された上部アーム62aが回転軸受け部13aを回転軸にして縮閉動作するようになる。この動作で、クランクギヤ55aに対するクランクアーム56aが下死点Ldから上死点Luに移行して静止する。
また、図27に示す右扇用のクランク駆動機構42bは、図23に示した上部アーム62b及び下部アーム72bのホームポジションHbにおいて、図18に示した扇右モータ59bが回転することで、モータギヤ55d、クランクギヤ55b及びクランクアーム56bを駆動し、回転軸部77bを回転軸にして下部アーム72bを縮閉動作する。これに連動して部品連結機構66bにより作動連結された上部アーム62bが回転軸受け部13bを回転軸にして縮閉動作するようになる。この動作で、クランクギヤ55bに対するクランクアーム56bが下死点Rdから上死点Ruに移行して静止する。
このように、フレーム閉−アーム閉時の動作例によれば、上部アーム62a,62b、下部アーム72a,72bが縮閉するのみで、クランク駆動機構41は静止している。つまり、図26に示したホームポジションHa,Hbの上部アーム62a,62b,下部アーム72a,72bが中央に向けて左右独立して動作するようになる。この左右独立動作中、上部アーム62aと下部アーム72aとの間にねじれの位置関係が生じずに、同一平面に存在する状態となっており、かつ、上部アーム62bと下部アーム72bとの間にねじれの位置関係が生じずに、同一平面に存在する状態となっている。この状態では、ねじれに起因する変位が生じないので、部品連結機構66(66a,66b)がねじれに起因する変位を許容しなくてもよい状態である。この例で、上部アーム62a,62b及び下部アーム72a,72bが縮閉動作することで、山折り機構60及び谷折り機構70を集束する。なお、この段階の扇左モータ59aや扇右モータ59b等の回転方向は、正回転又は逆回転のどちらでもよい。
図28は、袋口扇成形駆動ユニット40における部品連結機構66(66a,66b)のフレーム閉−アーム開時の状態例を示す斜視図である。図28に示す袋口扇成形駆動ユニット40の部品連結機構66(66a,66b)のフレーム閉−アーム開時の動作例によれば、左右の上部アーム62a,62b及び左右の下部アーム72a,72bが拡開動作するのみで、クランク駆動機構41は静止している。従って、フレーム閉−アーム閉時の部品連結機構66(66a,66b)の姿勢と、フレーム閉−アーム開時の部品連結機構66(66a,66b)の姿勢とは同じ状態を維持している。
この例で、図28に示す左扇用のクランク駆動機構42aは、図27に示した上部アーム62a及び下部アーム72aの縮閉位置において、扇左モータ59aが回転することで、モータギヤ55c、クランクギヤ55a及びクランクアーム56aを駆動し、下部アーム72aの回転軸部77aを回転軸にして下部アーム72aを拡開動作する。これに連動して部品連結機構66aにより作動連結された上部アーム62aが回転軸受け部13aを回転軸にして拡開動作するようになる。この動作で、クランクギヤ55aに対するクランクアーム56aが上死点Luから下死点Ldに移行して静止する。
また、図28に示す右扇用のクランク駆動機構42bは、図27に示した上部アーム62b及び下部アーム72bの縮閉位置において、扇右モータ59bが回転することで、モータギヤ55d、クランクギヤ55b及びクランクアーム56bを駆動し、回転軸部77bを回転軸にして下部アーム72bを拡開動作する。これに連動して部品連結機構66bにより作動連結された上部アーム62bが回転軸受け部13bを回転軸にして拡開動作するようになる。この動作で、クランクギヤ55bに対するクランクアーム56bが上死点Ruから下死点Rdに移行して静止する。
このように、フレーム閉−アーム開時の動作例によれば、上部アーム62a,62b、下部アーム72a,72bが拡開動作するのみで、クランク駆動機構41は静止している。つまり、図26に示したホームポジションHa,Hbの上部アーム62a,62b,下部アーム72a,72bが中央から左右に向けて独立して動作するようになる。この左右独立動作中、上部アーム62aと下部アーム72aとの間にねじれの位置関係が生じずに、同一平面に存在する状態となっており、かつ、上部アーム62bと下部アーム72bとの間にねじれの位置関係が生じずに、同一平面に存在する状態となっている。この状態では、ねじれに起因する変位が生じ無いので、部品連結機構66(66a,66b)がねじれに起因する変位を許容しなくてもよい状態である。この例で、上部アーム62a,62bが拡開動作することで、山折り機構60及び谷折り機構70を伸長する。なお、この段階の扇左モータ59a,扇右モータ59bの回転方向は、正回転又は逆回転のどちらでもよい。
図29は、袋口扇成形駆動ユニット40における部品連結機構66(66a,66b)のフレーム開−アーム閉時の状態例を示す斜視図である。図29に示す袋口扇成形駆動ユニット40の部品連結機構66(66a,66b)のフレーム開−アーム閉時の動作例によれば、上部フレーム11a,11bが拡開動作するのみで、クランク駆動機構42a,42bは静止している。
このとき、上部アーム62aと下部アーム72a、及び、上部アーム62bと下部アーム72bは、前述したねじれの位置関係にはなく、それぞれが同一平面上に存在する状態となっている。しかしながら、上部アーム62a,62bは、上部フレーム11a,11bの拡開動作に伴って、図29中に弧状矢印として示す如く円弧状の軌跡を描くように拡開する。このため、部品連結機構66(66a,66b)には、前述したねじれに起因する変位は生じないものの、上記の円弧状の軌跡を描くように拡開することに起因する変位が生ずる。このとき、部品連結機構66(66a,66b)は、円弧状軌跡に起因する変位を許容しつつ、上部アーム62aと下部アーム72aとを作動連結すると共に、上部アーム62bと下部アーム72bとを作動連結する。
この例で、クランク駆動機構41は、上述の上部フレーム11a,11bの縮閉位置において、図示しない垂直モータ58aが回転することで、モータギヤ54d、クランクギヤ54a及びクランクアーム54bを駆動し、支軸23a,23bを回転軸にして上部フレーム11a,11bが上方に拡開動作する(ホームポジションHpに移行する)。この動作で、クランクギヤ54aに対するクランクアーム54bが下死点Pdから上死点Puに移行して静止する。
このように、フレーム開−アーム閉時の動作例によれば、上部フレーム11a,11bが拡開動作するのみで、クランク駆動機構42a,42bは静止している。つまり、図27に示した縮閉位置の上部フレーム11a,11bが上方に向けて拡開動作するようになる。表1は、上部フレーム11a,11bの開閉位置、上部アーム62a,62b、下部アーム72a,72bの開閉位置、上部アーム62aと下部アーム72a、上部アーム62bと下部アーム72bの関係、及び、部品連結機構66(66a,66b)の機能例を示している。
Figure 2010047273
このように、本発明に係る袋口扇折込みタグ結束装置100によれば、被折り面II’を有した包装体1の袋口を折り込んで扇形状にする場合に、袋口扇成形駆動ユニット40には、部品連結機構66(66a,66b)が設けられる。部品連結機構66aは、連結ロッド661及び球面コロ軸受け部材665を有している。連結ロッド661の一端は、山折り機構60を構成する上部アーム62aの所定の位置に揺動自在に連結される。連結ロッド661の他端は、谷折り機構70を構成する下部アーム72aの所定の位置に設けられた球面コロ軸受け部材665のロッド係合孔663に挿入され、摺動かつ揺動自在に支持される。
部品連結機構66bは、連結ロッド662及び球面コロ軸受け部材666を有している。連結ロッド662の一端は、山折り機構60を構成する上部アーム62bの所定の位置に揺動自在に連結される。連結ロッド662の他端は、谷折り機構70を構成する下部アーム72bの所定の位置に設けられた球面コロ軸受け部材666のロッド係合孔664に挿入され、摺動かつ揺動自在に支持される。
従って、山折り機構60及び谷折り機構70の間のねじれ分も見込んだ上部ガイドレール61a及び下部ガイドレール71aからなるガイド機構と、上部ガイドレール61b及び下部ガイドレール71bからなるガイド機構において、山折り機構60及び谷折り機構70の間を3次元的に作動連結することができる。これにより、山折り機構60と谷折り機構70とを確実に連動させることができる。しかも、当該袋口扇成形駆動ユニット40の簡素化による袋口扇折込みタグ結束装置100のコストダウンを図ることができる。
なお、部品連結機構66(66a,66b)の変形例として、上部アーム62aと下部アーム72aとの間、及び、上部アーム62bと下部アーム72bとの間に、各々の摺動自在なガイド機能付きの接続板を配置し、この1対の接続板で上部アーム62a,62bと、下部アーム72a,72bとを連動させる機構も考えられる。
例えば、下部アーム72a,72bに1組の接続板を設ける。接続板は上方になるに従って、ラッパ状に拡がっていくように下部アーム72a等の両側壁に固定する。このラッパ状に拡がった部分に上部アーム62a等を摺動自在に係合する。上部アーム62a等が上方にある場合は、「ねじれ」を考慮して幅広にガイドするようになる。上部アーム62a等が下方へくるに従って、ねじれは少なくなるので狭くガイドするようにしてもよい(第2の連結方法)。
図30は、クランク駆動機構42a,42bにおけるクランクギヤ逆止機構57a,57bの配置例を示す袋口扇成形駆動ユニット40の上面図である。図30に示すクランク駆動機構42aには、クランクギヤ逆止機構57aが配置され、クランク駆動機構42bには、クランクギヤ逆止機構57bが配置される。クランクギヤ逆止機構57aは、クランクギヤ55aに噛合されて、当該クランクギヤ55aの回転方向を一の方向に規制するように動作する。例えば、クランクギヤ逆止機構57aには、クランクギヤ55aに噛合される逆止ギヤ571が設けられ、逆止ギヤ571は軸部573を有している。軸部573にはワンウェイクラッチが取り付けられる。ワンウェイクラッチは、左上部シャーシ36aの裏面側に取り付けられ、当該軸部573の回転方向を一の方向に規制するように機能する(図32参照)。
また、クランクギヤ逆止機構57bは、クランクギヤ55bに噛合されて当該クランクギヤ55bの回転方向を一の方向に規制するように動作する。例えば、クランクギヤ逆止機構57bには、クランクギヤ55bに噛合される逆止ギヤ572が設けられ、逆止ギヤ572は軸部573を有している。軸部573にはワンウェイクラッチが取り付けられる。ワンウェイクラッチは、右上部シャーシ37aの裏面側に取り付けられ、当該軸部573の回転方向を一の方向に規制するように機能する(図32参照)。
このようにクランク駆動機構42aにクランクギヤ逆止機構57aを配置し、クランク駆動機構42bにクランクギヤ逆止機構57bを配置すると、逆止ギヤ571に噛合されたクランクギヤ55aの回転方向を一の方向に規制できるようになり、逆止ギヤ572に噛合されたクランクギヤ55bの回転方向を一の方向に規制できるようになる。従って、山折り機構60及び谷折り機構70の拡開方向への逆戻りを防止できるようになる。
図31は、クランクアーム56aの下死点Ldの設定例を示すクランク駆動機構42aの上面図であり、図30に示したクランク駆動機構42aの構成例を示す拡大図である。図31に示すクランク駆動機構42aのクランクアーム56aの下死点Ldは、上部アーム62a及び下部アーム72aのホームポジションHaに設定される。クランクギヤ55aに対するクランクアーム56aが下死点LdをホームポジションHaに設定すると、左扇用の上部アーム62a及び下部アーム72aが最も開いたアーム最大拡開時、ホームポジションHaに上部アーム62a及び下部アーム72aを静止させることができる。
このホームポジションHaからクランクギヤ55aを図中の回転方向Ia(反時計方向)に回転すると、クランクアーム56aが下死点Ldから上死点Luに移行するようになる(図34参照)。図中の回転方向Iaは反時計方向であり、これに対してIbは逆止ギヤ571の回転方向(時計方向)を示している。
この例では、下死点Ldから上死点Luに至り、クランクギヤ55aの回転角度が角度0°から角度160°に設定され、上死点Luから下死点Ldに至り、同様にして角度160°から角度360°に設定される。クランクアーム56bについても同様に設定される。
図32は、クランクギヤ逆止機構57aの構成例を示す断面図である。図33は、クランクギヤ逆止機構57aの取付例を示す斜視図である。図32に示すクランクギヤ逆止機構57aは、逆止ギヤ571、軸部573、ワンウェイクラッチ574、上部ベアリング575、下部ベアリング576、逆止ホルダ577(アルミ製)及び2個のC型の止め輪578を有して構成される。
軸部573はワンウェイクラッチ574に挿通され、当該軸部573の下部には下部ベアリング576が固定されて逆止ホルダ577内に組み込まれる。下部ベアリング576は逆止ホルダ577の裏面から抜け出ないように1つ目の止め輪578で止める。逆止ホルダ577内にワンウェイクラッチ574及び下部ベアリング576が組み込まれた組立中間体は、図33に示す左上部シャーシ36aの裏面側から所定の孔部に軸部573の上部を挿通するように取り付ける。例えば、左上部シャーシ36aの表面側から所定のネジ579を介して逆止ホルダ577を固定する。
更に、左上部シャーシ36aの表面側に突出した軸部573に上部ベアリング575を挿入して取り付ける。上部ベアリング575は左上部シャーシ36aの表面から抜け出ないように2つ目の止め輪578で止める。その後、軸部573の上部に逆止ギヤ571を取り付けて固定する。逆止ギヤ571はクランクギヤ55aに噛合される。これにより、クランクギヤ逆止機構57aが完成する。クランクギヤ逆止機構57bも同様にして組み立てて右上部シャーシ37aに取り付ける。
クランクギヤ逆止機構57a,57bにおいて、クランクギヤ55a,55bの回転方向を一の方向に規制するようになされる。図32に示したようなクランクギヤ逆止機構57aをクランクギヤ55aに噛合すると、ワンウェイクラッチ574が1方向にしか回転しない構造を有することから、モータギヤ55c、クランクギヤ55aも、1方向にしか回転できなくなる。
この例で、通常時は、逆止ギヤ571が常に空転状態となる。クランクアーム56aのクランク角度を調節しておくと、包装体1の集束時、逆止ギヤ571の空転方向に対して逆方向に抵抗力が加わるようになる。これにより、アーム縮閉動作時、山折り機構60及び谷折り機構70が開く事態を防止できるようになる。
図34は、クランクアーム56aの上死点Luの設定例を示す上面図である。図34に示すクランクアーム56aの上死点Luは、クランクギヤ55aの回転軸552とクランク軸551、クランクアーム56aの軸中心が1直線上に連なったとき、当該直線とクランク軸551の軌跡とが交わった点を上死点Luする。このとき、クランク駆動機構42aが剛体状となるため、クランクギヤ55aが回転したり、上部アーム62a及び下部アーム72aが開いてしまうことが無い。クランクアーム56bについても同様に設定される。
図35A及びBは、クランクアーム56a等の動作停止範囲の設定例を示す説明図である。この例で、図35A及びBに示す円形状は、図34に示したクランク軸551の軌跡を示す形状、すなわち、クランクギヤ55aの回転軸552を原点Oとしたクランク軸551の中心の軌跡線である。クランクギヤ55aの回転方向は反時計方向とする。図35Aに示す横線O−Luはクランクアームの上死点Luとクランクギヤ55aの回転軸552を原点Oとを結ぶ線分である。線分O−Luは0°の位置である。クランク軸551の中心軌跡上には上死点Luが存在する。上死点Luは、中心軌跡上において、クランクギヤ55aの回転軸552とクランク軸551、クランクアーム56aの軸中心が1直線上に連なってなった位置(0°)である。
図中斜線で示した範囲は、クランクアーム56aが線分O−Lu方向から押されても、不動を維持する領域である。この領域を回転軸552を原点Oとしたクランク角度θc’で定義する。比較例としてのクランクギヤ逆止機構57aの無いクランク駆動機構42aによれば、線分O−Luを中心にして、クランク角度θc’=2γというように極狭い範囲となる。このクランク角度θc’は、クランクアーム56aが反力を受けてもひとりでにクランクギヤ55aが回転を始めてしまわない範囲を規定するもので、クランク角度θc’内にクランクアーム56aを停止すれば、クランク駆動機構42aには各種のフリクション等が作用しているので、クランクギヤ55aがひとりでに回転して上部アーム62a及び下部アーム72aが開いてしまうことが無い。
一方、本発明に係るクランクギヤ逆止機構57aを取り付けたクランク駆動機構42aによれば、図35Bに示す線分O−Luを中心にして、クランク角度θc=γ+160°というように極めて広い動作停止範囲となる。
この動作停止範囲は、上部アーム62a及び下部アーム72aを最も拡開した状態であるクランクアーム56aの下死点Ldから、上部アーム62a及び下部アーム72aを最も縮閉した状態であるクランクアーム56aの上死点Luを経て、クランクアーム56aがγだけ進角させた範囲である。この範囲のうち、下死点Ldから上死点Luの範囲が逆止ギヤ571と、ワンウェイクラッチ574とによる逆止効果の得られる範囲である。また、γの範囲は、クランクアーム56aに反力が作用しても、ひとりでにクランクギヤ55aが回転してしまわない範囲である。
動作停止範囲を広く設定できたのは、逆止ギヤ571がワンウェイクラッチ574により、1方向しか回転できないが、クランクギヤ55aとモータギヤ55cを常に同じ方向に回転させることができるためである。
このクランク角度θcは、クランクアーム56aが反力を受けてもひとりでにクランクギヤ55aが回転を始めていまわない範囲を規定するもので、クランク角度θc内にクランクアーム56aを停止すれば、クランク駆動機構42aにワンウェイクラッチ574による逆止機能と、各種のフリクション等が作用して、クランクギヤ55aがひとりでに回転して上部アーム62a、下部アーム72aが開いてしまうことが無い。
このようなクランクギヤ逆止機構57aによって、クランクアーム56aが開かないクランク角度θcを広げることができるので、左扇用の上部アーム62a及び下部アーム72aのみが上死点Luの手前で停止しても、ワンウェイクラッチ574等の逆止ギヤ571が逆回転しない。クランクギヤ逆止機構57aが保持するトルクが、包装体1の折り戻り抵抗に負けることがないので、上部アーム62a及び下部アーム72aが左側に開くことがなく、山折り機構60及び谷折り機構70が開く事態を防止できるようになる。
アーム縮閉時に、山折り機構60及び谷折り機構70が開かないので、図7Cに示したように包装体1の集束状態が維持され、袋口の結束部位qに再現性良くタグ10を結束できるようになる。なお、上部アーム62a及び下部アーム72aが中央に到達したか否かを検知するアーム開閉位置検知用のセンサは、上死点Luを越えない接線方向の位置に取り付けられる。
続いて、図36〜図39を参照して、クランクギヤ逆止機能付きの袋口扇成形駆動ユニット40の動作例について説明する。図36及び図38は、袋口扇成形駆動ユニット40の動作例(その1,2)を示す上面図であり、図37及び図39は、それらのクランクギヤ逆止機構57aの動作例(80°)を示す拡大図である。
この例で、図36に示す左扇用のクランク駆動機構42aは、図30に示した上部アーム62a及び下部アーム72aのホームポジションHaにおいて、扇左モータ59aが回転することで、モータギヤ55c、クランクギヤ55a及びクランクアーム56aを駆動し、下部アーム72aの回転軸部77aを回転軸にして下部アーム72aが縮閉動作する。
この動作で、クランクアーム56aが下死点Ldと上死点Luの途中に存在する状態となる。この状態は、包装体1の左側集束過程であり、クランクギヤ55aが0°から80°だけ回転した場合である。図37に示すようにクランクギヤ55aの回転軸552とクランク軸551、クランクアーム56aの軸中心が1直線上に連なっていない場合である。これに連動して図27に示した部品連結機構66aにより作動連結された上部アーム62aが回転軸受け部13aを回転軸にして縮閉動作するようになる。
また、図36に示す右扇用のクランク駆動機構42bも、クランク駆動機構42aに同期して動作するので、図30に示した上部アーム62b及び下部アーム72bのホームポジションHbにおいて、図18に示した扇右モータ59bが回転することで、モータギヤ55d、クランクギヤ55b及びクランクアーム56bを駆動し、回転軸部77bを回転軸にして下部アーム72bを縮閉動作する。この動作で、クランクアーム56bが下死点Rdと上死点Ruの途中に存在する状態となる。この状態は、包装体1の右側集束過程であり、クランクギヤ55bが0°から80°だけ回転した場合である。これに連動して、図27に示した部品連結機構66bにより作動連結された上部アーム62bが回転軸受け部13bを回転軸にして縮閉動作するようになる。
図38は、クランクアーム56a等の動作例(その2)を示す上面図であり、図39は、そのクランク駆動機構42aの動作例(160°)を示す拡大図である。この例で、図38に示す左扇用のクランク駆動機構42aは、図37に示したクランクアーム56aが下死点Ldと上死点Luの途中に存在する状態から、更に、扇左モータ59aが回転する。クランクギヤ55bが80°から更に80°だけ回転し、計160°回転した場合である。この扇左モータ59aが回転することで、モータギヤ55c、クランクギヤ55a及びクランクアーム56aが駆動され、下部アーム72aの回転軸部77aを回転軸にして下部アーム72aの縮閉動作が継続される。
この動作継続で、クランクアーム56aが上死点Luに到達する状態となる。この状態で包装体1の集束過程が完了する。集束過程完了時には、図39に示すようにクランクギヤ55aの回転軸552とクランク軸551、クランクアーム56aの軸中心がほぼ1直線上に連なるようになる。このとき、クランクギヤ逆止機構57aのワンウェイクラッチ574が、クランクギヤ55aの回転方向を一の方向に規制する。従って、山折り機構60及び谷折り機構70の左扇側拡開方向への逆戻りを防止できるようになる。
また、図38に示す右扇用のクランク駆動機構42bでも、図37に示したクランクアーム56bが下死点Rdと上死点Ruの途中に存在する状態から、更に、扇右モータ59bが回転する。この扇右モータ59bが回転することで、モータギヤ55d、クランクギヤ55b及びクランクアーム56bが駆動され、下部アーム72bの回転軸部77bを回転軸にして下部アーム72bの縮閉動作が継続される。
この動作継続で、クランクアーム56bが上死点Ruに到達する状態となる。の状態は、図37に示した場合と同様であるので、その説明を省略する。このとき、クランクギヤ逆止機構57bのワンウェイクラッチ574が、クランクギヤ55bの回転方向を一の方向に規制する。従って、山折り機構60及び谷折り機構70の右扇側拡開方向への逆戻りを防止できるようになる。
図40〜図42は、比較例としての袋口扇成形駆動ユニット40の動作例(逆止無し)を示す上面図である。図40に示す比較例としての袋口扇成形駆動ユニット40によれば、クランクギヤ逆止機構57a,57bを取り付けていない場合である。図35Aに示したように線分O−Luを中心にして、クランク角度θc’=2αという動作停止範囲内に、クランクアーム56aが停止した場合は、クランク駆動機構42aには各種フリクション等が作用しているので、クランクギヤ55aがひとりでに回転したり、上部アーム62a及び下部アーム72aが開いてしまうことが無い。
しかし、図41に示す比較例としてのクランクギヤ逆止機構57a,57bが設けられていない袋口扇成形駆動ユニット40において、図35Aに示したような線分O−Luを中心にして、クランク角度θc’=2γという動作停止範囲内に、クランクアーム56aが停止できなかった場合は、クランク駆動機構42aが停止状態を保てずに、図42に示すようにクランクギヤ55aが回転して上部アーム62a、下部アーム72aが開いてしまう。
図42に示すクランク駆動機構42aによれば、クランクアームaが上死点Luからずれると、クランクギヤ55aの回転軸552とクランクアーム56aの軸中心を結ぶ直線と、クランクギヤ55aの回転軸552の軸中心を結ぶ直線とが成すクランク角度θxが生ずる。このクランク角度θxが大きい程、包装体1が元の形状に戻ろうとする袋の抵抗がクランクギヤ55aを回転させる力となり、回転し易くなる。
そこで、クランク駆動機構42aに図32に示したようなクランクギヤ逆止機構57aを設けることで、図35Bに示したようにクランクアーム56aのクランク角度θcを広くでき、動作停止範囲を広く設定できるようになる。クランクアーム56bについても同様に設定される。比較例のようなシビアなクランク角度θc’の設定から、クランクギヤ逆止機構57aを設けることで、発明のようなルーズなクランク角度θcの設定に緩和できるばかりか、逆止効果が得られる範囲(領域)を広げることができる。
図43は、変形例としてのクランクギヤ逆止機構57a’等の配置例を示す袋口扇成形駆動ユニット40の斜視図である。図43に示す袋口扇成形駆動ユニット40には、左下部シャーシ36bの表面側にクランクギヤ逆止機構57a’が配設される。この位置にクランクギヤ逆止機構57a’を配置した場合であっても、当該クランクギヤ55aの回転方向を一の方向に規制できるようになる。
例えば、クランクギヤ逆止機構57a’は、クランクギヤ55aの回転軸552の端部に取り付けられて、当該クランクギヤ55aの回転方向を一の方向に規制するように動作する。この例では、回転軸552に直接、ワンウェイクラッチ574が取り付けられ、当該回転軸552の回転方向を一の方向に規制するように機能する(図32参照)。
図示せずも、クランクギヤ逆止機構57b’は、クランクギヤ55bの回転軸554に取り付けられて、当該クランクギヤ55bの回転方向を一の方向に規制するように動作する。例えば、回転軸554に、直接、ワンウェイクラッチ574が取り付けられる。ワンウェイクラッチ574は、当該回転軸554の回転方向を一の方向に規制するように機能する(図32参照)。
このようにクランク駆動機構42aにクランクギヤ逆止機構57a’を配置し、クランク駆動機構42bにクランクギヤ逆止機構57b’を配置すると、回転軸552に取り付けられたクランクギヤ55aの回転方向を一の方向に規制できるようになり、回転軸554に取り付けられたクランクギヤ55bの回転方向を一の方向に規制できるようになる。
従って、山折り機構60及び谷折り機構70の拡開方向への逆戻りを防止できるようになる。この方法を採用すると、クランクギヤ55aに噛合するための逆止ギヤ571が不要となり、部品点数が削減される結果、コストを低減できるようになる。しかも、ワンウェイクラッチ574は、逆止ギヤ571を介さないため、バックラッシュ分のクランク角の精度を向できる等の利点を有する。
このように、本発明に係る袋口扇折込みタグ結束装置100によれば、被折り面II’を有した包装体1の袋口を折り込んで扇形状にする場合に、袋口扇成形駆動ユニット40には、クランク駆動機構42a,42bが設けられる。クランク駆動機構42aにはクランクギヤ逆止機構57aが設けられ、及び、クランク駆動機構42bにはクランクギヤ逆止機構57bが設けられる。
クランクギヤ逆止機構57aは、クランクギヤ55aに噛合され、又は、クランクギヤ55aの回転軸に取り付けられて当該クランクギヤ55aの回転方向を一の方向に規制するようになる。クランクギヤ逆止機構57bは、クランクギヤ55bに噛合され、又は、クランクギヤ55bの回転軸に取り付けられて当該クランクギヤ55bの回転方向を一の方向に規制するようになる。
従って、下部フレーム21a,21bに対して上部フレーム11a,11bが閉じた状態で、上部ガイドレール61a,61bに沿って摺動し縮閉した山折り機構60及び、下部ガイドレール71a,71bに沿って摺動し縮閉した谷折り機構70の拡開方向への逆戻りを防止できるようになる。
これにより、山折り機構60及び谷折り機構70により折り込まれた包装体1の袋口の蛇腹状の袋折り状態を確実に保持できるようになる。従って、包装体1の袋口の蛇腹折り不良を原因とするタグ結束不良を回避できるようになる。これにより、食品、その他の商品等を収納した包装体1の袋口を折り畳んで自動的に結束部にタグを取り付け、タグ取り付部分を要にして袋口を扇形状に展開する袋口扇状ひだ形成&タグ結束装置100等を提供できるようになった。
図44はアーム開閉センサの配置例を示す袋口扇成形駆動ユニット40の拡大斜視図である。図44に示す左上部シャーシ36aの裏面には、クランク駆動機構42aのクランクギヤ逆止機構57aの逆止ホルダ577と並んで、左扇側アーム開閉検知用の2個のセンサ(以下左モータ原点センサ52a、左モータエンドセンサ52bという)が配置される。左モータ原点センサ52a及び左モータエンドセンサ52bには透過型のフォトセンサ等の光学センサが使用される。
例えば、クランクギヤ用の回転軸552にはフォトセンサを遮光する羽状の板金が取り付けられる。左上部シャーシ36aにはセンサ取り付け用の長孔部が設けられる。この長孔部を使用してセンサの取り付け位置を調整可能となされている。
図示せずも、クランク駆動機構42bのクランクギヤ55bの回転軸554についても同様に構成される。例えば、左上部シャーシ36aの裏面には、クランク駆動機構42bのクランクギヤ逆止機構57bの逆止ホルダ577と並んで、右扇側アーム開閉検知用のセンサ(以下右モータ原点センサ53a、右モータエンドセンサ53bという)が配置される。
図示せずも、クランク駆動機構41のクランクギヤ54aの回転軸542についても同様にして構成される。例えば、脚部33aの内側壁面には、上下フレーム開閉検知用の2個のセンサ(以下垂直原点センサ51a、垂直エンドセンサ51bという)が配置される。垂直原点センサ51a及び垂直エンドセンサ51bには透過型のフォトセンサ等の光学センサが使用される。例えば、クランクギヤ用の回転軸542にはフォトセンサを遮光する羽状の板金が取り付けられる。脚部33aにはセンサ取り付け用の長孔部が設けられる。この長孔部を使用してセンサの取り付け位置を調整可能となされている。
この例で、制御ユニット50は6個の位置検出用の垂直原点センサ51a、垂直エンドセンサ51b、左モータ原点センサ52a、左モータエンドセンサ52b、右モータ原点センサ53a及び右モータエンドセンサ53bの出力に応じて、上部帯体63及び下部帯体73の拡開動作及び縮閉動作を行うためのクランク駆動機構41、クランク駆動機構42a,42bを制御するようになる。
図45は、袋口扇成形駆動ユニット40の制御系の構成例を示すブロック図である。図45に示す袋口扇成形駆動ユニット40は制御ユニット50を有している。制御ユニット50は図示せずも、ROM(読み出し専用メモリ)やRAM(随時情報の書き込み読み出しメモリ)、HDD(固定磁気ディスク装置)等のメモリと、演算機能を有するCPU(中央演算装置)と、インタフェースとを有して構成される。
制御ユニット50には、スタート用のスイッチ90を含む操作部901の他に位置検出用の6個の垂直原点センサ51a、垂直エンドセンサ51b、左モータ原点センサ52a、左モータエンドセンサ52b、右モータ原点センサ53a及び右モータエンドセンサ53bが接続される。
操作部901にはスイッチ90が含まれ、包装体1の袋口扇形状の折込み及び、タグ10の取り付け等の一連の処理を開始する際に操作される。スイッチ90はテーブル81の所定の位置に設けられ、テーブル81を軽く落とし込むようにスイッチ操作される。操作部901で発生するスイッチオン信号SS9は制御ユニット50に出力される。
垂直原点センサ51aは、クランクアーム54bの下死点Pdを検知してフレーム閉検知信号SPdを制御ユニット50へ出力する。フレーム閉検知信号SPdは、下部フレーム21a,21bに対して上部フレーム11a,11bが閉じた動作(閉動作)を示す信号である。
垂直エンドセンサ51bは、クランクアーム54bの上死点Puを検知してフレーム開検知信号SPuを制御ユニット50へ出力する。フレーム開検知信号SPuは、下部フレーム21a,21bに対して上部フレーム11a,11bが開いた動作(開動作)を示す信号である。
制御ユニット50はフレーム開検知信号SPu及びフレーム閉検知信号SPdに基づいてフレーム上下駆動制御を実行する。フレーム上下駆動制御では、例えば、谷折り機構70に対して山折り機構60が拡開した状態から、下部フレーム21a,21bに対して上部フレーム11a,11bを閉じて、山折り機構60及び谷折り機構70を略噛合させて包装体1の袋口の被折り面II’を挟む制御を実行する。
左モータ原点センサ52aは、クランクアーム56aの下死点Ldを検知してアーム開検知信号SLdを制御ユニット50に出力する。アーム開検知信号SLdは、左扇側の上部アーム62a及び下部アーム72aが左側に蛇腹状に開いた開状態を示す信号である。
左モータエンドセンサ52bは、クランクアーム56aの上死点Luを検知してアーム閉検知信号SLuを制御ユニット50に出力する。アーム閉検知信号SLuは、左扇側の上部アーム62a及び下部アーム72aが中央に寄せられた左扇側アーム閉状態を示す信号である。
制御ユニット50はアーム閉検知信号SLu及びアーム開検知信号SLdに基づいて左扇アーム駆動制御を実行する。左扇アーム駆動制御では、例えば、左扇側の谷折り機構70を下部ガイドレール71a,71bに沿って摺動させて縮閉させると共に、山折り機構60を部品連結機構66aを介して上部ガイドレール61a,61bに沿って摺動させて縮閉させる制御を実行する。
右モータ原点センサ53aは、クランクアーム56bの下死点Rdを検知してアーム開検知信号SRdを出力する。アーム開検知信号SRdは、右扇側の上部アーム62b及び下部アーム72bが右側に蛇腹状に開いた開状態を示す信号である。
右モータエンドセンサ53bは、クランクアーム56bの上死点Ruを検知してアーム閉検知信号SRuを出力する。アーム閉検知信号SRuは、右扇側の上部アーム62b及び下部アーム72bが中央に寄せられた閉状態を示す信号である。
制御ユニット50はアーム閉検知信号SRu及びアーム開検知信号SRdに基づいて右扇アーム駆動制御を実行する。右扇アーム駆動制御では、右扇側の谷折り機構70を下部ガイドレール71a,71bに沿って摺動させて縮閉させると共に、山折り機構60を部品連結機構66bを介して上部ガイドレール61a,61bに沿って摺動させて縮閉させる制御を実行する。
制御ユニット50には上述のスイッチ90、位置検出用の6個の垂直原点センサ51a、垂直エンドセンサ51b、左モータ原点センサ52a,左モータエンドセンサ52b、右モータ原点センサ53a及び右モータエンドセンサ53bの他に、ソレノイド108、クランク機構駆動用の3つのモータ駆動部110〜112が接続される。
ソレノイド108は制御ユニット50に接続される。ソレノイド108はソレノイド制御信号S58に基づいて励磁駆動する。ソレノイド108が動作すると、ボビン押さえが解除され、ツイストタイが繰り出し可能な状態となされる。ソレノイド制御信号S58は、制御ユニット50からソレノイド108へ出力される。
モータ駆動部110は、制御ユニット50からモータ駆動データD10を入力し、当該データD10をデコードしてモータ制御信号S10を生成する。モータ駆動部110には垂直モータ58aが接続される。モータ駆動部110は、モータ制御信号S10に基づいて垂直モータ58aを駆動する。垂直モータ58aが回転するとクランク駆動機構41が動作する。クランク駆動機構41では、垂直モータ58aがモータギヤ54dを介してクランクギヤ54aを回転すると、クランクギヤ54aがモータ回転力をクランクアーム54bの往復運動に変換する。
モータ駆動部111は、制御ユニット50からモータ駆動データD11を入力し、当該データD11をデコードしてモータ制御信号S11を生成する。モータ駆動部111には扇左モータ59aが接続される。モータ駆動部111は、モータ制御信号S11に基づいて扇左モータ59aを駆動する。扇左モータ59aが回転するとクランク駆動機構42aが動作する。クランク駆動機構42aでは扇左モータ59aがクランクギヤ55aを回転すると、クランクギヤ55aがモータ回転力をクランクアーム56aの往復運動に変換する。
モータ駆動部112は、制御ユニット50からモータ駆動データD12を入力し、当該データD12をデコードしてモータ制御信号S12を生成する。モータ駆動部112には扇右モータ59bが接続される。モータ駆動部112は、モータ制御信号S12に基づいて扇右モータ59bを駆動する。扇右モータ59bが回転すると、クランク駆動機構42bが動作する。クランク駆動機構42bでは、扇右モータ59bがクランクギヤ55bを回転すると、クランクギヤ55bがモータ回転力をクランクアーム56bの往復運動に変換する。モータ制御信号S12は、制御ユニット50からモータ駆動部112へ出力される。これらの垂直モータ58a、扇左モータ59a及び扇右モータ59bにはステッピングモータが使用される。
上述のクランク駆動機構41,42a,42bを制御することによって、山折り機構60を上部ガイドレール61a,61bに沿って摺動し縮閉すると共に、谷折り機構70を下部ガイドレール71a,71bに沿って摺動し縮閉することができる。これにより、モータ回転力とクランク駆動機構42a,42bとによって包装体1の袋口の被折り面に蛇腹状の折り目を付けることができる。
制御ユニット50には上述のソレノイド108、クランク機構駆動用の3つのモータ駆動部110〜112の他に通信部106、表示部107及びブザー113が接続される。通信部106はタグ取り付け駆動ユニット101に接続され、タグ取り付け要求信号S41や、袋口扇折込み完了信号S41’を出力する。タグ取り付け要求信号S41は、タグ10を結束部位qに取り付けを要求する信号である。袋口扇折込み完了信号S41’は、袋口扇成形駆動ユニットと40における包装体1の袋口扇折込み処理が完了した旨を通知する信号である。
表示部107は表示信号S07に基づいて文字や映像を表示する。文字や映像は、タグ10やツイストタイの補給を促す内容や、エラー発生時のエラー内容等である。表示信号S07は、制御ユニット50から表示部107に出力される。ブザー113はブザー鳴動信号S13に基づいて警告音を鳴動する。ブザー鳴動信号S13は、タグ10やツイストタイの補給を促す場合に制御ユニット50からブザー113に出力される。電源部105は、例えば、DC24Vを制御ユニット50や、通信部106、表示部107、ソレノイド108、モータ駆動部110〜112等に供給する。
続いて、袋口扇成形駆動ユニット40における制御系の動作例について説明する。図46A〜Lは、袋口扇成形駆動ユニット40における動作例を示すタイムチャートである。この実施例のタイムチャートは、包装体1を袋挿入方向Iから見た袋挿入口に挿入し、図46Aに示すタイムスケールにおける時刻t1でスイッチ90がオンされた後のものである。タイムスケールは、基準クロック信号CLKにより設定される時刻tを示している。
この例では、スイッチオン後の時刻t3で制御ユニット50はソレノイド109をオンする。図46Kに示すボビン押さえ用のソレノイド108の動作状態によれば、ソレノイド制御信号S58がロー・レベル(以下「L」レベルという)からハイ・レベル(以下「H」レベルという)に立ち上がることで、ボビン押さえが解除される。
これと共に、時刻t3で制御ユニット50は垂直モータ58aを駆動する。図46Bに示す垂直モータ58aの動作状態によれば、時刻t3でモータ制御信号S10が「L」レベルから「H」レベルに立ち上がり、時刻t5でモータ制御信号S10が「H」レベルから「L」レベルに立ち下がる。垂直モータ58aが動作すると、クランク駆動機構41において、山折り機構60及び谷折り機構70で包装体1を挟むようになされる。
更に、時刻t3で制御ユニット50は垂直原点センサ51aからのフレーム閉検知信号SPdを監視する。図46Cに示す垂直原点センサ51aの動作状態によれば、時刻t3でフレーム閉検知信号SPdが「H」レベルから「L」レベルに立ち下がり、時刻t25でフレーム閉検知信号SPdが「L」レベルから「H」レベルに立ち上がる。
この例では、時刻t3の垂直モータ58aの駆動開始から300ms経過した後の時刻t4で、左開閉用の扇左モータ59a及び右開閉用の扇右モータ59bを駆動する。図46Eに示す扇左モータ59aの動作状態によれば、時刻t4でモータ制御信号S10が「H」レベルから「L」レベルに立ち下がり、所定のステップ数だけ扇左モータ59aを反時計方向に回転(CCW回転)する。扇左モータ59aが回転してクランク駆動機構42aが動作する。クランク駆動機構42aでクランクギヤ55aが回転すると、上部アーム62a、下部アーム72aが閉じ、包装体1の左半分が集束する。
これと共に、図46Hに示す扇右モータ59bの動作状態によれば、モータ制御信号S12が「H」レベルから「L」レベルに立ち下がり、所定のステップ数だけ扇右モータ59bをCCW回転する。扇右モータ59bが回転してクランク駆動機構42bが動作する。クランク駆動機構42bでクランクギヤ55bを回転すると、上部アーム62b、下部アーム72bが閉じ、包装体1の右半分が集束する。
これと共に、時刻t4で制御ユニット50は左モータ原点センサ52aからのアーム開検知信号SLdを監視する。図46Fに示す左モータ原点センサ52aの動作状態によれば、時刻t4でアーム開検知信号SLdが「H」レベルから「L」」レベルに立ち下がり、時刻t22でアーム開検知信号SLdが「L」レベルから「H」レベルに立ち上がる。
更に、時刻t4で制御ユニット50は右モータ原点センサ53aからのアーム開検知信号SRdを監視する。図46Iに示す右モータ原点センサ53aの動作状態によれば、時刻t4でアーム開検知信号SRdが「H」レベルから「L」」レベルに立ち下がり、時刻t22でアーム開検知信号SRdが「L」レベルから「H」レベルに立ち上がる。
この例では、集束された包装体1に対してタグ取り付けるべく、時刻t5で袋口扇成形駆動ユニット40は、タグ取り付け駆動ユニット101にタグ取り付け準備完了信号を出力してタグ10を結束部位qに取り付け準備がなされる。
図46Dに示す垂直エンドセンサ51bの動作状態によれば、時刻t5でフレーム閉検知信号SPdが「L」レベルから「H」レベルに立ち上がり、時刻t25でフレーム閉検知信号SPdが「H」レベルから「L」レベルに立ち下がる。
この例では、時刻t6でクランクアーム56aの上死点Luが検出される。図46Gに示す左モータエンドセンサ52bの動作状態によれば、時刻t6でアーム閉検知信号SLuが「L」レベルから「H」レベルに立ち上がり、時刻t24でアーム閉検知信号SLuが「H」レベルから「L」レベルに立ち下がる。
この検出でクランクアーム56aの上死点Luが検出されるので、モータ制御信号S11が「L」レベルから「H」レベルに立ち上がり、扇左モータ59aは停止する。
同様にして、時刻t6でクランクアーム56bの上死点Ruが検出される。図46Jに示す右モータエンドセンサ53bの動作状態によれば、時刻t6でアーム閉検知信号SRuが「L」レベルから「H」レベルに立ち上がり、時刻t24でアーム閉検知信号SRuが「H」レベルから「L」レベルに立ち下がる。この検出でクランクアーム56bの上死点Ruが検出されるので、モータ制御信号S12がCCW=「L」レベルから、CW=「H」レベルに立ち上がり、扇右モータ59bは停止する。この例では、時刻t6で制御ユニット50からタグ取り付け駆動ユニット101に、図46Lに示すようなタグ取り付け要求信号S41が出力される。
そして、扇左モータ59a及び扇右モータ59bを停止した後、200ms経過後に、ソレノイド109をオフする。図46Kに示すソレノイド109の動作状態によれば、ソレノイド制御信号S58が「H」レベルから「L」レベルに立ち下がることで、ボビンが押さえられ、ツイストタイ2の繰出しが拘束される。
この例では、時刻t6から時刻t21の間でタグ取り付け駆動ユニット101において、タグ10を包装体1の結束部位qに取り付けるようになされる(図116及び図117参照)。
その後、時刻t22で扇左モータ59a及び扇右モータ59bを駆動開始する。時刻t24で左モータ原点センサ52aが下死点Ldを検出すると、扇左モータ59aを停止する。同様にして時刻t24で右モータ原点センサ53aが下死点Rdを検出すると、扇右モータ59bを停止する。
そして、時刻t23で50ms経過後、垂直モータ58aの駆動を開始する。モータ駆動開始後の時刻t25で垂直原点センサ51aが下死点Pdを検出すると、垂直モータ58aを停止するので、時刻t25で袋口扇成形駆動ユニット40は、タグ取り付け駆動ユニット101(搬送基板)に図46Lに示すような袋口扇折込み完了信号S41’を出力する。
これらにより、袋口扇成形駆動ユニット40が動作する。なお、以下に述べるタグ取り付け駆動ユニット101では、山折り機構60及び谷折り機構70によって中央部に集束された包装体1の袋口の結束部位qにタグ10をツイストタイ2により結束する場合について説明する。
続いて、タグ10にツイストタイ2を挿通して包装体1の袋口に結束するタグ取り付け駆動ユニット101の構成例について説明する。図47は、タグ取り付け駆動ユニット101の構成例を示す斜視図である。図47に示すタグ取り付け駆動ユニット101はタグ取り付け装置の一例であり、タグ繰り出し機構3、タグ搬送機構4、ツイストタイ送り機構5、ツイストタイセット機構6、ツイストタイカット機構7、ツイストタイねじり機構8(図74参照)及び上昇−下降機構20を備えている。
タグ繰り出し機構3は、該装置本体に着脱自在に設けられたカートリッジ17の上方に設けられ、ローラ駆動によりカートリッジ17の最上位のタグ10を1枚だけ繰り出してタグ搬送機構4に供給する。
タグ搬送機構4はタグフック43を備えている。このタグフック43は、移動手段の一例である台形ネジ4b(図53参照)により進退自在に取り付けられている。タグフック43は、タグ10の凹部10e(図49A参照)に爪部43a(図55参照)を引っ掛けて、該タグ10をツイストタイセット機構6に搬送する。この爪部43aは引掛部の一例である。
ツイストタイセット機構6は、図47に示すツイストタイ2の進入方向の略延長線上に配置されている。ツイストタイセット機構6は、一対のウイング爪6aを備えている。このウイング爪6aは爪部材の一例であり、タグ10の取付孔10dの近傍である装着部10cの両端を押さえ込んで、該装着部10cを略台形状に立体成形する(図71B参照)。これにより、タグ10は、略直線がその取付孔10d,10dの相互を通過可能となる形状に成形できる。この状態で、ツイストタイセット機構6は、タグ10の取付孔10d,10dの相互に、ツイストタイ送り機構5から送り出されたツイストタイ2を挿通させる。
ツイストタイ送り機構5は結束具送り機構の一例であり、ツイストタイセット機構6の近傍に設けられ、ボビン58に巻き回されたツイストタイ2を引き出してツイストタイセット機構6に送り出す。ツイストタイ送り機構5は、ツイストタイ送りモータ5a及びガイドローラ5bを備えている。ツイストタイ送りモータ5aは結束具送りモータの一例であり、ツイストタイ2を送り出す駆動源として機能する。ガイドローラ5bは、ツイストタイ送り機構5の入口に回転自在に設けられている。ガイドローラ5bは、ツイストタイ2の進入方向を一定に保つ。
シャーシプレート44aとシャーシプレート44bの間には、上昇−下降機構20が設けられている。この上昇−下降機構20は、垂直方向に駆動させる台形ネジによりタグ搬送機構4及びツイストタイセット機構6を上昇又は下降させる。
続いて、タグ取り付け駆動ユニット101の動作例を説明する。タグ繰り出し機構3は、カートリッジ17に積層されたタグ10の内、最上位のタグ10を1枚だけ繰り出してタグ搬送機構4に供給する。タグ搬送機構4のタグフック43は、タグ10の凹部10eに爪部43a(図55参照)を引っ掛けて、該タグ10をツイストタイセット機構6に搬送する。
ツイストタイセット機構6のウイング爪6aは、タグ10の装着部10cの両端を押さえ込んで、略直線がタグ10の取付孔10d,10dを通過可能となる形状に成形する。そして、ツイストタイセット機構6は、タグ10の取付孔10d,10dに、ツイストタイ送り機構5から送り出されたツイストタイ2を挿通させる。
取付孔10d,10dにツイストタイ2を挿通後、上昇−下降機構20は、タグ搬送機構4及びツイストタイセット機構6を上昇させる。このとき、結束具カット機構の一例であるツイストタイカット機構7は、ツイストタイ2を所定長に切断する。切断後、ツイストタイセット機構6は、一対のウイング爪6aを開くと共にツイストカット機構7により切断されたツイストタイ2をU字形状に成形する。そして、ツイストタイセット機構6は、U字形状に成形されたツイストタイ2の両端をツイストタイねじり機構8に受け渡す。
ツイストタイねじり機構8は結束具ねじり機構の一例であり、切断されたツイストタイ2の両端を保持して一例として2回転半だけ回転する。これにより、図48Bに示すようにツイストタイ2を包装体1の袋口1aをねじって締結できると共に、該ツイストタイ2によりタグ10を取り付けることができる。
続いて、タグ取り付け駆動ユニット101により結束処理した包装体1の一例を説明する。図48Aは、結束処理前の包装体1の構成例を示す斜視図である。図48Aに示す包装体1は例えば樹脂素材から成り、その袋口1aが熱圧着処理などで塞がれている。この包装体1は、菓子類や景品などの品物を包み込むものである。
図48Bは、図1に示したタグ取り付け駆動ユニット101により結束処理した包装体1の一例を示す斜視図である。図48Bに示す包装体1の袋口1aは、袋口扇折込みタグ結束装置100により山折り及び谷折りが繰り返された扇形状に形成されている。また、包装体1の結束部位qは、ツイストタイ2により結束されると共に該ツイストタイ2によりタグ10が取り付けられている。このように、包装体1は、ツイストタイ2により結束されると共にタグ10が取り付けられ、袋口1aが扇形状に形成される。
続いてタグ10の構成例について説明する。図49Aは、タグ取り付け駆動ユニット101で使用されるタグ10の構成例を示す正面図である。図49Bは、タグ10の構成例を示す斜視図である。図49A及びBに示すタグ10は、情報提示部10aと装着部10cと連結部10bを、紙やプラスチック等の薄板材で一体に形成して構成される。
連結部10bは図49Aに示す2本の破線で囲まれた領域である。この領域は、装着部10cと連結部10bとの境界線及び連結部10bと情報提示部10aとの境界線により画定される。情報提示部10aには各種情報が印刷等で表示される。また、各種情報が印刷されたシール部材が貼り付けられても良い。更に、点字等の如く打刻された情報が記載されていても良い。
装着部10cには2箇所の取付孔10d,10dを備え、切断後のツイストタイ2に係止される。取付孔10d,10dは、タグ10の長手方向を縦方向とし、タグ10の短手方向を横方向とした場合、タグ10の横方向に所定の間隔を開けて2個の貫通孔を形成して構成される。
連結部10bには、情報提示部10aの両側辺の一部を所定の形状に切り欠いて凹部10e,10eが形成されている。この凹部10e,10eは係止部の一例である。連結部10bは、情報提示部10aより狭い幅で、装着部10cと情報提示部10aを連結する。このように、タグ10は構成されている。
図50は、ツイストタイ2の構成例を示す斜視図である。図50に示すツイストタイ2は、可塑性を有した金属または樹脂等の芯線としての細線2aを、樹脂や紙等の被覆材2bで被覆して構成される。ツイストタイ2は、幅の狭いテープ状(帯状)であり、タグ10の取付孔10d,10dに通されて包装体1に締結される。
続いて、タグ繰り出し機構3の構成例について説明する。図51は、タグ繰り出し機構3の構成例を示す斜視図である。図51に示すタグ取り付け駆動ユニット101は、図47に示したタグ取り付け駆動ユニット101からローラフレーム37及びリバースローラフレーム38を取り外した状態である。図51に示すタグ取り付け駆動ユニット101は、カートリッジ17に複数枚のタグ10が積層されて装填されている。タグ繰り出し機構3は、このカートリッジ17に装填されたタグ10を1枚だけタグ搬送機構4に繰り出す。
タグ繰り出し機構3は、ピックアップローラ39a、フィードローラ39b及びブレーキローラ39cを備えている。当該ローラ39a〜39cは、一例としてゴム素材から形成されている。ピックアップローラ39a及びフィードローラ39bは、タグ10の送り出し方向に並べて配置されている。ブレーキローラ39cは、フィードローラ39bの直下に配置されている。
ピックアップローラ39aは、カートリッジ17に装填された最上位のタグ10に当接しつつ、回転することにより最上位のタグ10を摩擦によって繰り出してフィードローラ39b及びブレーキローラ39cに送り出す。フィードローラ39b及びブレーキローラ39cは、タグ10を挟み込んで該タグ10をタグフック43に送り出す。
ピックアップローラ39aはピックアップローラ軸39dに固定され、フィードローラ39bはフィードローラ軸39eに固定されている。また、ブレーキローラ39cはブレーキローラ軸39fに固定されている。当該ローラ軸39d〜39fを回転させるために、タグ送りモータ39k、モータギヤ39m、駆動ギヤ39n、シャフト39p及びベルト39g〜39iを備えている。
ピックアップローラ軸39d、フィードローラ軸39e、タグ送りモータ39k及びシャフト39pは、図47に示したローラフレーム37により固定され、位置が一定に設定されている。ブレーキローラ軸39fは、図47に示したリバースローラフレーム38に固定され、位置が移動自在に設定されている。このリバースローラフレーム38は、シャフト39pを中心にして回動自在に設けられている。リバースローラフレーム38は、引っ張りバネ38aにより上方に付勢されている。この引っ張りバネ38aは、ローラフレーム37に設けられた取付板38bとリバースローラフレーム38の底部38cに取り付けられている。
図51に示すタグ送りモータ39kにはモータギヤ39mが設けられ、シャフト39pには駆動ギヤ39nが設けられている。このモータギヤ39mと駆動ギヤ39nが噛合している。これにより、タグ送りモータ39kの動力がシャフト39pに伝達される。シャフト39pとフィードローラ軸39eはプーリを介在させてベルト39gにより連結されている。また、シャフト39pとブレーキローラ軸39fはプーリを介在させてベルト39hにより駆動連結されている。ピックアップローラ軸39dとフィードローラ軸39eは、プーリを介在させてベルト39iにより駆動連結されている。
ブレーキローラ軸39fには、トルクリミッタ39jが設けられている。このトルクリミッタ39jは、タグ送りモータ39kからの動力をブレーキローラ39cに伝達するか否かを制御する。この例で、フィードローラ39bにブレーキローラ39cが圧接されている。上述したようにブレーキローラ軸39fは、図47に示した引っ張りバネ38aにより上方に付勢されて回動自在に設けられている。
フィードローラ39bとブレーキローラ39cの間にタグ10が1枚だけ進入した又は当該ローラ39b,39c同士が直接接触している場合、タグ10と当該ローラ39b,39c間の摩擦力によって伝達されるトルクによってトルクリミッタ39jは滑る。このため、ブレーキローラ39cは、フィードローラ39bに連れ回りする。
また、フィードローラ39bとブレーキローラ39cの間にタグ10が2枚進入した場合、重なったタグ10の間の摩擦力が当該ローラ39b,39cとタグ10の摩擦力より小さいために、フィードローラ39bから受け取るトルクが小さくなりトルクリミッタ39jは滑らない。このため、ブレーキローラ39cは、フィードローラ39bに連れ回りせずにフィードローラ39bと同一方向に回転する。これにより、2枚目のタグ10が後退するので、2枚目のタグ10が送り出されることを阻止することができる。従って、タグ10を1枚だけ送り出すことができる。
この構成により、タグ10の送り出し方向に並べて配置されたピックアップローラ39a及びフィードローラ39bは、常に同一方向に回転してタグ10を送り出す。フィードローラ39bの直下に配置されたブレーキローラ39cは、ピックアップローラ39aにより繰り出されたタグ10が1枚だけの場合、トルクリミッタ39jが滑ってフィードローラ39bに連れ回る。また、ブレーキローラ39cは、ピックアップローラ39aにより繰り出されたタグ10が2枚の場合、トルクリミッタ39jが滑らずにフィードローラ39bと同一方向に回転して2枚目のタグ10を後退させる。
続いて、タグ繰り出し機構3の動作例を説明する。図52A〜Dは、タグ繰り出し機構3の動作例を示す概略図である。この例で、図52Aに示すピックアップローラ39aが、カートリッジ17の最上位に位置する1番目のタグ10−1を繰り出して送り出すとき、この1番目のタグ10−1の下に積層された2番目のタグ10−2も、1番目のタグ10−1に連れられて繰り出すことを想定する。
図52Aに示すピックアップローラ39aは、矢印Rtの方向に回転してカートリッジ17の最上位に位置する1番目のタグ10−1を繰り出して送り出す。フィードローラ39bは矢印Rtの方向に回転し、ブレーキローラ39cは矢印Ltの方向に回転する。
これは、フィードローラ39bとブレーキローラ39cが直接接触しているので、トルクリミッタ39jは、当該ローラ39b,39c間の摩擦力によって伝達されるトルクによって滑る。このため、ブレーキローラ39cは、フィードローラ39bに連れ回りして矢印Ltの方向に回転する。
図52Bに示すように、フィードローラ39bとブレーキローラ39cの間にタグ10が2枚進入した場合、重なったタグ10−1,10−2の間の摩擦力が、当該ローラ39b,39cとタグ10−1,10−2の間の摩擦力より小さくなる。このために、トルクリミッタ39jは、フィードローラ39bから受け取るトルクが小さくなり滑らない。従って、ブレーキローラ39cは、フィードローラ39bに連れ回りせずに矢印Rt方向に回転する。
このとき図52Cに示すように、ブレーキローラ39cの回転により2枚目のタグ10−2が後退し、フィードローラ39bの回転により1枚目のタグ10−1が前進する。これにより、図52Dに示すように1枚目のタグ10−1と2枚目のタグ10−2を分離できるので、タグ10−1を1枚だけ送り出すことができる。
続いて、タグ繰り出し機構3により送り出されたタグ10を搬送するタグ搬送機構4の構成例について説明する。図53Aは、タグ搬送機構4の構成例を示す斜視図である。図53Bは、タグ搬送機構4の構成例を示す上面図である。図53A及び図53Bに示すタグ搬送機構4は、水平モータ4a、台形ネジ4b、タグフックシャフト4c、ナット4d及びタグフック43を備えている。
水平モータ4aはDCモータであり、ボールネジの一例である台形ネジ4bを回転させる。例えば、台形ネジ4bは先端に駆動ギヤ4jが設けられ、水平モータ4aはモータギヤ4hが設けられ、駆動ギヤ4jとモータギヤ4hは連結ギヤ4iに噛合して連結されている。水平モータ4aが回転駆動することにより、台形ネジ4bは回転する。
台形ネジ4bにはナット4dが螺合されている。ナット4dは、台形ネジ4bが回転すると、その回転方向に合わせて前進又は後退する。このナット4dには、4本の段付けピン4fでタグフック43が取り付けられている。これらの4本の段付けピン4fの先端には、それぞれ圧縮バネ4kを介在させている。タグフック43は、これらの圧縮バネ4kによりナット4dの鍔部4mの側に付勢され、ナット4dの鍔部4mと接離自在な状態で結合されている。
これにより、タグフック43を前進させてカールガイド45に当接させて結束位置に停止させた場合に、該タグフック43の位置決めを簡易な構成で精度良く設定できる。
なお、タグフック43が規定の位置で停止するように、台形ネジ4bの回転数を制御することも考えられる。しかしながら、台形ネジ4bの摩耗や、水平モータ4aのバラツキ、組み付けのバラツキなどにより、タグフック43の停止位置が変動する問題がある。
タグフック43は、その下部にリニアボールベアリング4eを備えている。このリニアボールベアリング4eは、タグフックシャフト4cに滑合されている。このリニアボールベアリング4e及びタグフックシャフト4cは姿勢維持部材の一例であり、タグフック43の移動時に、ナット4dを回転させずに該ナット4d及びタグフック43の姿勢を一定に保たせる機能を有する。
タグフック43の爪部43aはそれぞれ円形開口部43bを備え、この円形開口部43bにガイドロッド4gが挿通されている。このガイドロッド4gはガイド部材の一例であり、タグフック43の爪部43aに引っ掛けられて前進するタグ10を、該タグ10の前進方向に対して略水平に支持する。すなわち、タグ10は、ガイドロッド4g上を摺動しながら2本のガイドロッド4gと略平行な状態を保って搬送される。
図54は、タグ搬送機構4の要部の構成例を示す断面図である。図54に示すタグ搬送機構4のタグフック43は、略中央にナット用の開口部43dにT形状のナット4dが嵌め込まれている。タグフック43は、段付けピン4f及び圧縮バネ4kにより、ナット4dの鍔部4mの側に付勢されて当接している。これにより、タグフック43は、ナット4dの鍔部4mに対して接離自在に固定される。
図55は、タグフック43の構成例を示す斜視図である。図55に示すタグフック43は、一例として金属素材から形成される。もちろん、樹脂素材を射出成型してタグフック43を形成するようにしてもよい。このタグフック43の上部に設けられた爪部43a,43aは、タグ送り出し方向Uに対して斜めに成形された傾斜部43gを備えている。タグ送り出し方向Uから繰り出されたタグ10の装着部10cの先端は、この傾斜部43gに当接して爪部43aを乗り越える。これにより、タグ10の凹部10eが爪部43aに引っ掛けられる。
また、タグフック43は、ナット用の開口部43dの周囲の4箇所に、段付けピン4fを挿入するための開口部43fを備えている。また、タグフック43は、その下部にリニアボールベアリング4eを装着するための開口部43eを備えている。タグフック43の爪部43aはそれぞれ円形開口部43bを備え、この円形開口部43bには、ガイドロッド4gが挿通される。タグフック43は、カールガイド45に当接して位置決めをするための当接面43cを備えている。このように、タグフック43は構成されている。
続いて、タグ搬送機構4の動作例について説明する。図56Aは、タグ搬送機構4の動作例を示す斜視図である。図56Bは、タグ搬送機構4の動作例を示す上面図である。図56A及び図56Bに示すタグ搬送機構4は、水平モータ4aが回転駆動することによりモータギヤ4h、連結ギヤ4i及び駆動ギヤ4jを介して動力が伝達されて台形ネジ4bが回転する。
台形ネジ4bが回転すると、ナット4dは、その回転方向に合わせて前進する。このとき、タグフック43は、リニアボールベアリング4e及びタグフックシャフト4cにより、姿勢を一定に保ちながら前進する。
タグフック43は、当接面43cがカールガイド45に当接する。タグフック43の当接面43cがカールガイド45に当接した直後に、水平モータ4aの回転を停止する。このとき、タグフック43はカールガイド45に当接して位置決めされて規定の結束位置に停止する。ナット4dは、図56Aに示すように該タグフック43から離間して若干前進した状態で停止する。この場合、ナット4dがタグフック43から離間した距離だけ圧縮バネ4kが圧縮されて撓んでいる。
このようにタグフック43の位置決めを行うことにより、タグフック43の位置決めを簡易な構成で精度良く設定できる。また、タグフック43がカールガイド45に当接した際に、圧縮バネ4kにより衝撃を和らげることができる。
図57は、タグ搬送機構4の要部の動作例を示す断面図である。図57に示すタグ搬送機構4のタグフック43は、カールガイド45に当接して停止した状態である。このとき、図57に示すナット4dは、タグフック43から距離N1だけ離間して若干前進した状態で停止する。この場合、圧縮バネ4kは距離N1だけ圧縮されている。
このようにタグフック43の位置決めを行うことにより、タグフック43の位置決めを簡易な構成で精度良く設定できる。また、タグフック43がカールガイド45に当接した際に、圧縮バネ4kにより衝撃を和らげることができる。
なお、台形ネジ4bが逆回転してナット4dが後退したとき、圧縮されて撓んだ圧縮バネ4kは距離N1だけ伸長する。そして、ナット4dとタグフック43が離間した距離N1は解消されてナット4dの鍔部4mとタグフック43とが当接し、ナット4dの後退と共にタグフック43も図54に示した位置まで後退する。
続いて、タグ10を繰り出して搬送する一連の動作例を説明する。図58は、タグ繰り出し機構3及びタグ搬送機構4の動作例(その1)を示す斜視図である。図58に示すタグ繰り出し機構3は、カートリッジ17の最上位のタグ10を1枚だけタグ搬送機構4に繰り出した状態である。
このようにタグ10を繰り出すためには、タグ送りモータ39kを回転駆動してモータギヤ39m、駆動ギヤ39nを介してシャフト39pに動力を伝達して当該シャフト39pを回転させる。このシャフト39pの回転により、ピックアップローラ39a及びフィードローラ39bが同時に回転する。ピックアップローラ39aは、カートリッジ17に装填された最上位のタグ10を繰り出してフィードローラ39bに送り出す。フィードローラ39bは、図51に示したブレーキローラ39cと協働してタグフック43にタグ10を1枚だけ送り出す。ピックアップローラ39aによりタグ10が2枚滑り出された場合、ピックアップローラ39aは、図52A〜Dに示したように2枚目のタグ10を後退させ、フィードローラ39bは、1枚目のタグ10のみをタグフック43送り出す。
図59Aは、タグ繰り出し機構3の要部の動作例を示す斜視図である。図59Bは、タグ繰り出し機構3の要部の動作例を示す上面図である。図59A及びBに示すピックアップローラ39aは、カートリッジ17に装填された最上位のタグ10を繰り出してフィードローラ39bに送り出す。フィードローラ39b及びピックアップローラ39aは、タグ10をタグフック43に送り出す。
フィードローラ39bの後段には、タグ押えプレート47が設けられている。タグ押えプレート47の先端47aは、タグ10の送り出し方向に対して上向きに設定されている。また、タグ押えプレート47の後端47bは、タグ10の送り出し方向に対して下向きに設定されている。これにより、タグ押えプレート47は、ピックアップローラ39bからのタグ10の送り出しに伴って、タグ10の装着部10cを先端47aで拾い込むとともに後端47bで押さえ込む。
図59Cは、タグ繰り出し機構3の要部の動作例を示す図59BのH1−H1矢視断面図である。図59Cに示すタグ10の装着部10cは、タグ押えプレート47により押さえ込まれてタグフック43の爪部43aを乗り越える。タグフック43の爪部43aには、タグ10の凹部10eが引っ掛けられる。
図60は、タグ繰り出し機構3及びタグ搬送機構4の動作例(その2)を示す斜視図である。図60に示すタグ搬送機構4は、タグフック43によりタグ10をツイストタイセット機構6に搬送途中の状態である。このとき、タグ繰り出し機構3は停止している。すなわち、タグ送りモータ39kは停止してピックアップローラ39a及びフィードローラ39bは駆動回転していない。
タグ搬送機構4は、図53Aに示した水平モータ4aを駆動回転させて、モータギヤ4h、連結ギヤ4i及び駆動ギヤ4jを介して台形ネジ4bに動力を伝達してタグフック43を前進させる。このタグフック43の爪部43aには、タグ10の凹部10eが引っ掛けられている。このため、当該タグフック43の前進と共にタグ10は、2本のガイドロッド4g,4gにより支持されて水平状態を保ちながら前進する。
図61Aは、タグ搬送機構4の要部の動作例を示す斜視図である。図61Bは、タグ搬送機構4の要部の動作例を示す上面図である。図61Cは、図61BのH2−H2矢視断面図である。図61A〜Cに示すタグフック43は、爪部43aにタグ10の凹部10eを引っ掛けた状態で前進する。2本のガイドロッド4g,4gは、タグ10を支持して該タグ10の水平状態を保つようにする。
図62は、タグ繰り出し機構3及びタグ搬送機構4の動作例(その3)を示す斜視図である。図62に示すタグ搬送機構4は、タグフック43によりタグ10をツイストタイセット機構6に搬送した状態である。
タグ搬送機構4は、図56Aに示した水平モータ4aを駆動回転させて、モータギヤ4h、連結ギヤ4i及び駆動ギヤ4jを介して台形ネジ4bに動力を伝達してタグフック43を更に前進させる。タグフック43は、カールガイド45に当接して停止する。
図63Aは、タグ搬送機構4の要部の動作例を示す斜視図である。図63Bは、タグ搬送機構4の要部の動作例を示す上面図である。図63Cは、図63BのH3−H3矢視断面図である。図63A〜Cに示すタグフック43は、爪部43aにタグ10の凹部10eを引っ掛けた状態で前進し、タグフック43の当接面43cがカールガイド45に当接して停止している。タグフック43はカールガイド45に当接して位置決めされて規定の位置に停止している。タグフック43に搬送されたタグ10は、ツイストタイセット機構6により取付孔10dにツイストタイ2が挿通される。
このように本発明に係るタグ取り付け駆動ユニットによれば、タグ10の凹部10eに引っ掛ける爪部43aを有したタグフック43を前進又は後退させる台形ネジ4bを備え、このタグフック43の爪部43aに引っ掛けられて前進するタグ10を、ガイドロッド4gによりタグ10の前進方向に対して略水平に支持するものである。
この構成によって、包装体1を配置するタグ10の片面側に障害となる機構を設けずに、タグ10を結束位置まで搬送できる。これにより、該片面側に配置された包装体1にタグ10を取り付けることができる。また、タグフック43により引っ掛けるタグ10の凹部10eを規定する辺縁のうちの縁10e’、縁10e”の形状のみを統一すれば、例えばタグ10の情報提示部10aの形状は円形などでも良い。
続いて、ツイストタイセット機構6の構成例について説明する。図64は、ツイストタイセット機構6の構成例を示す全体の斜視図である。図65は、ツイストタイセット機構6の要部の構成例を示す斜視図である。図66は、図65に示すウイングベース6b及び当該ウイングベース6bに係る部材を取り除いたツイストタイセット機構6の要部の構成例を示す斜視図である。
図64に示すツイストタイセット機構6は、タグ搬送機構4により搬送されたタグ10を所定状態に載置して、ボビン58から引き出されたツイストタイ2を該タグ10の取付孔10dに挿通する。
図65に示すツイストタイセット機構6は、右ウイング部6R及び左ウイング部6Lを備えている。右ウイング部6Rと左ウイング部6Lは対峙して配置され、略同じ構成である。
右ウイング部6Rは、ウイング爪6a、ウイングベース6b、ウイングクローザ6c、右寄せモータ6h及び台形ネジ6nを備えている。ウイングベース6bはベース部材の一例であり、ウイングクローザ6cはクローザ部材の一例である。ウイングベース6bは、平板の両端を垂直に折り返した形状を成している。ウイングベース6bの前方は、アーム軸部材の一例であるウイングアーム軸6kにより軸支されている。ウイングベース6bの後方にはピン6fが設けられている。このピン6fには、一端がピン6mに固定された引張りバネ6gが引っ掛けられている。この引張りバネ6gは付勢部材の一例であり、ウイングアーム軸6kを回動軸にしてウイングベース6bをウイングクローザ6c側に付勢している。
ウイングベース6bの略中央には、孔部6qを有した突起片6jが両端に立設されている。この突起片6jの孔部6qには、リリースピン6eが挿入されている。このリリースピン6eはリリース部材の一例であり、図64に示す支えプレート6dにより支持される。この支えプレート6dはL字平板形状を成しており、図64に示すシャーシプレート44a上に固定されている。支えプレート6dの先端6rは段差を有している。リリースピン6eは、この先端6rの段差により掛止されている。
右ウイング部6Rのウイングクローザ6cは、台形ネジ6nに係合されている。この台形ネジ6nは右寄せモータ6hにより駆動され、ウイングクローザ6cを前後に滑動させる。
ウイング爪6aは、ウイングアーム軸6k及び孔係合ピン6sが挿着されて、ウイングクローザ6cに係合している。ウイングクローザ6cは、水平長孔6p及び傾斜長孔6tを有している。この傾斜長孔6tは、ウイングクローザ6cの滑動方向に対して傾斜する方向に開口されている。水平長孔6pは、ウイングクローザ6cの滑動方向に対して水平方向に開口されている。
水平長孔6pにはウイングアーム軸6kが挿着され、傾斜長孔6tには、孔係合軸部材の一例である孔係合ピン6sが挿着されている。ウイングクローザ6cが前進又は後退すると、ウイング爪6aは、孔係合ピン6s及び傾斜長孔6tにより姿勢が規制されて、ウイングアーム軸6kを回動軸にして回動する。
ウイングクローザ6cの後方の両端には突起片6vが立設されている。この突起片6vは、ウイングベース6bに開口された長方開口部6iに嵌合される。この長方開口部6iは嵌合部の一例である。なお、右ウイング部6Rのウイングベース6b上には、ツイストタイカット機構7が設けられている。
左ウイング部6Lの構成は、右ウイング部6Rと略同一の構成を有しているので簡単に説明する。左ウイング部6Lのリリースピン6eは、図64に示す支えプレート6dにより支持される。引張りバネ6gは、ウイングアーム軸6kを回動軸にしてウイングベース6bをウイングクローザ6c側に付勢している。
左ウイング部6Lの左寄せモータ6uは、台形ネジ6nを駆動してウイングクローザ6cを前後に滑動する。ウイングクローザ6cが前進又は後退すると、ウイング爪6aは、ウイングアーム軸6kを回動軸にして孔係合ピン6sが傾斜長孔6tに沿って開閉する。なお、左寄せモータ6u、右寄せモータ6h及び台形ネジ6nは駆動部の一例である。
図67A及びBは、ウイング爪6a及びウイングベース6bの動作例を示す斜視図である。図67Aに示す右ウイング部6R及び左ウイング部6Lのウイング爪6aは開いている状態である。この状態から図66に示した台形ネジ6nにより図67Bに示す矢印V1の方向にウイングクローザ6cを滑動させる。ウイングクローザ6cを滑動させると、図67Bに示すように右ウイング部6R及び左ウイング部6Lのウイング爪6aが閉じる。
ウイング爪6aは、中心に一本の溝部86nを備えている。この溝部86nの幅長は、ツイストタイ2の線幅と略同等の大きさに形成されている。図67Bに示すように、右ウイング部6R及び左ウイング部6Lのウイング爪6aが閉じた状態では、左右のウイング爪6aの溝部86nは一直線上に並んでいる。このウイング爪6aの溝部86nにはツイストタイ2が挿通される。
図68A及びBは、ウイング爪6a及びウイングベース6bの動作例を示す側面図である。図68Aに示す右ウイング部6R及び左ウイング部6Lのウイング爪6aは開いている状態である。この状態では、左右のウイング爪6aに挿着された孔係合ピン6sが、傾斜長孔6tの最上位に位置している。また、ウイング爪6aの回動軸として機能するウイングアーム軸6kは、水平長孔6pの先端に位置している。
矢印V1の方向に距離N2だけウイングクローザ6cを滑動させると、図68Bに示すように右ウイング部6R及び左ウイング部6Lのウイング爪6aは、ウイングアーム軸6kを回動軸にして回動して閉じる。このとき、このウイングアーム軸6kは、図65に示したウイングベース6bに固定されているので、図68A及びBに示すようにウイングアーム軸6kの位置は一定である。ウイング爪6aは、本体に挿着された孔係合ピン6sが傾斜長孔6tにより姿勢が規制されて、ウイングアーム軸6kを回動軸にして回動する。
図68Bに示す状態では、左右のウイング爪6aに挿着された孔係合ピン6sが、傾斜長孔6tの最下部に夫々位置している。また、ウイング爪6aの回動軸として機能するウイングアーム軸6kは、水平長孔6pの後端に位置している。水平長孔6pの全長は、ウイングクローザ6cが移動する距離N2に相当する。
なお、図68Bに示す状態から、矢印V1と反対方向に距離N2だけウイングクローザ6cを滑動させると、図68Aに示すように右ウイング部6R及び左ウイング部6Lのウイング爪6aは、孔係合ピン6sが傾斜長孔6tにより姿勢が規制されて、ウイングアーム軸6kを回動軸にして回動して開く。
続いて、ツイストタイセット機構6のウイングクローザ6cを駆動させる機構について説明する。図69Aは、右ウイング部6Rのウイングクローザ6cの駆動機構の構成例を示す斜視図である。図69Aに示す台形ネジ6nには、ナット6xが螺合されている。このナット6xには、連結プレート6yが結合されている。この連結プレート6yは凹状に形成され、ネジ孔86bを4箇所に有している。これらのネジ孔86bには、図67Aに示す右ウイング部6Rのウイングクローザ6cの4箇所のネジ孔86cが位置合わせされてネジにより結合される。連結プレート6yは、底面プレート86dを挟み込んで組み付けられている。これにより、連結プレート6yは、底面プレート86dに沿って姿勢を保ちながら平行移動する。
台形ネジ6nは、駆動ギヤ86a及びモータギヤ6zを介して右寄せモータ6hの動力が伝達される。この例で、右寄せモータ6hは減速機構6wによりトルクを増加させて台形ネジ6nに動力を伝達する。図69Aに示す連結プレート6yの位置まで台形ネジ6nによりナット6x及び連結プレート6yを平行移動すると、右ウイング部6Rのウイングクローザ6cのウイング爪6aは図67Aに示す開いた状態となる。
図69Bは、右ウイング部6Rのウイングクローザ6cの駆動機構の動作例を示す斜視図である。図69Bに示すナット6x及び連結プレート6yは、台形ネジ6nの回転により、底面プレート86dに沿って姿勢を保ちながら平行移動している。図69Bに示す連結プレート6yの位置まで台形ネジ6nによりナット6x及び連結プレート6yを平行移動すると、右ウイング部6Rのウイングクローザ6cのウイング爪6aは図67Bに示す閉じた状態となる。
図70Aは、左ウイング部6Lのウイングクローザ6cの駆動機構の構成例を示す斜視図である。図70Aに示す台形ネジ6nには、ナット86fが螺合されている。このナット86fには、連結プレート86gが結合されている。この連結プレート86gはネジ孔86iを4箇所に有している。これらのネジ孔86iには、図67Aに示すウイングクローザ6cの4箇所のネジ孔86kが位置合わせされてネジにより結合される。連結プレート86gは凹状に形成され、四角プレート86hを挟み込んで組み付けられている。これにより、連結プレート86gは、四角プレート86hにより姿勢が規制されて平行移動する。
台形ネジ6nには、軸継手として機能するカップリング86jを介して左寄せモータ6uの動力が伝達される。この例で、左寄せモータ6uは減速機構86eによりトルクを増加させて台形ネジ6nに動力を伝達する。図70Aに示す連結プレート86gの位置まで台形ネジ6nによりナット86f及び連結プレート86gを平行移動すると、左ウイング部6Lのウイングクローザ6cのウイング爪6aは図67Bに示す閉じた状態となる。
図70Bは、左ウイング部6Lのウイングクローザ6cの駆動機構の動作例を示す斜視図である。図70Bに示すナット86f及び連結プレート86gは、台形ネジ6nの回転により、四角プレート86hにより姿勢が規制されて平行移動している。図70Bに示す連結プレート86gの位置まで台形ネジ6nによりナット86f及び連結プレート86gを平行移動すると、左ウイング部6Lのウイングクローザ6cのウイング爪6aは図67Aに示す開いた状態となる。
続いて、タグ10にツイストタイ2を挿通して結束する動作例を説明する。図71Aは、図64に示したタグ搬送機構4によりタグ10をカールガイド45まで搬送した状態である。このとき、右ウイング部6R及び左ウイング部6Lのウイング爪6aは、開いた状態である。ウイングベース6bは、リリースピン6eが図64に示した支えプレート6dにより支持されている。このため、ウイングベース6bの後端は、ウイングアーム軸6kを回動軸にして持ち上げられている。
図71Bは、右ウイング部6R及び左ウイング部6Lのウイング爪6aを閉じてタグ10を押さえ込んだ状態である。この例で、図69Bに示した右寄せモータ6h及び台形ネジ6nが、図68に示した矢印V1の方向に右ウイング部6Rのウイングクローザ6cを移動する。これにより、右ウイング部6Rのウイング爪6aは、孔係合ピン6s及び傾斜長孔6tにより姿勢が規制されて、ウイングアーム軸6kを回動軸にして回動して閉じる。このとき、ウイング爪6aは、タグ10の装着部10cの一方側をカールガイド45の凸部45a(図76参照)に押さえ込む。
図70Bに示した左寄せモータ6u及び台形ネジ6nが、図68に示した矢印V1の方向に左ウイング部6Lのウイングクローザ6cを移動する。これにより、左ウイング部6Lのウイング爪6aは、孔係合ピン6s及び傾斜長孔6tにより姿勢が規制されて、ウイングアーム軸6kを回動軸にして回動して閉じる。このとき、ウイング爪6aは、タグ10の装着部10cの他方側をカールガイド45の凸部45a(図66参照)に押さえ込む。
このように、左右のウイング爪6a,6aはタグ10の装着部10cの両端をカールガイド45の凸部45aに押さえ込んで、該装着部10cを略台形状に立体成形する。従って、ウイング爪6a,6aは、略直線がタグ10の取付孔10d,10dを通過可能となる形状に成形できる。この状態で、ツイストタイセット機構6は、タグ10の取付孔10d,10dに、図64に示したツイストタイ送り機構5から送り出されたツイストタイ2を挿通させる。
このツイストタイ2は、右ウイング部6Rのウイング爪6aの溝部86n、タグ10の一方の取付孔10d、カールガイド45の不図示の溝部、タグ10の他方の取付孔10d、左ウイング部6Lのウイング爪6aの溝部86nの順番に通過する。これにより、タグ10の取付孔10d,10dにツイストタイ2を挿通できる。
ツイストタイ2を挿通後、ツイストタイセット機構6及びタグ搬送機構4を上昇させる。図72は、図71Bに示したツイストタイセット機構6及びタグ搬送機構4をシャーシプレート44a,44bに対して上昇させた状態である。この上昇により、図72に示すツイストタイセット機構6のリリースピン6eは、シャーシプレート44aに固定された支えプレート6dから離れる。また、ウイングベース6bは、引張りバネ6gの張力によりウイングアーム軸6kを回動軸にして回動する。
図73Aは、ツイストタイセット機構6の動作例を示す断面図である。図73Aに示すウイングベース6bの回動により、該ウイングベース6b上に設けられたツイストタイカット機構7の刃本体7aの位置が降下する。このとき、ツイストタイ2の通路86pの上方に位置した刃本体7aの刃先7g(図77参照)は、ツイストタイ2の通路86p内に入り込む。この刃本体7aの刃先7gにより、押し切りの要領で当該通路86pに挿通されたツイストタイ2を切断する。
図73Aに示すウイングベース6bの天井の内面は、ウイングクローザ6cの突起片6vに当接している。このため、ウイングクローザ6cの突起片6vは、ウイングベース6bの長方開口部6iに嵌合されていない。
図73Bに示すツイストタイセット機構6は、矢印V2の方向にウイングクローザ6cが滑動した状態である。このとき、図68で説明したように、右ウイング部6R及び左ウイング部6Lのウイング爪6aが回動して開いた状態となる。ウイング爪6a,6aが開くと、ウイング爪6a,6aは、ツイストタイ2を持ち上げる。これにより、ウイング爪6aの溝部86n(図67A参照)に挿通されたツイストタイ2が、カールガイド45の凸部45aを中心にして略V字形状に折れ曲がる。また、ウイングクローザ6cが矢印V2の方向に滑動することにより、ウイングクローザ6cの突起片6vをウイングベース6bの長方開口部6iに嵌合させてウイング爪6aとウイングクローザ6cとを固定している。
図73Cに示すツイストタイセット機構6は、ウイングベース6bにより開き状態のウイング爪6aが固定されたウイングクローザ6cを矢印V3の方向に滑動させてツイストタイ2の両端部の間隔を狭めている。
この例で、ウイングベース6bの長方開口部6iとウイングクローザ6cの突起片6vが嵌合している。このため、ウイングベース6bは、ウイングクローザ6cの滑動と共に矢印V3の方向に滑動する。
また、ウイングベース6bが滑動するため、このウイングベース6bに軸着されたウイング爪6aは、回転せずに開いた状態で矢印V3の方向に移動する。このように、ウイングベース6bは、ウイングクローザ6cとウイング爪6aを固定するので、ウイングクローザ6cの滑動によりウイング爪6aを開いた状態で移動できる。これにより、図73Bのウイング爪6aに持ち上げられて略V字形状に形成されたツイストタイ2が、図73Cに示すようにカールガイド45の凸部45aを中心にして略U字形状に形成される。
図74Aは、ツイストタイねじり機構8の動作例を示す側面図である。図74Bは、ツイストタイねじり機構8の動作例を示す斜視図である。図74A及びBに示すツイストタイねじり機構8は、S字部材8a及び軸棒8bを備えている。軸棒8bはS字部材8aの中心に結合されている。軸棒8bには図1に示すプーリ8cが結合され、このプーリ8cにはベルト8dが巻き回されている。このベルト8dはねじりモータ87v(図114参照)により回転される。
ツイストタイねじり機構8は、S字部材8aを図74Bに示す位置で待機させる。ウイング爪6aがツイストタイ2をU字形状に成形したとき、該ツイストタイ2の両端は、S字部材8aの各々の湾曲部に収められる。この状態で、ツイストタイねじり機構8は、S字部材8aを2回転半だけ回転する。これにより、ツイストタイ2が捻られて、該ツイストタイをタグ10と共に包装体1に締結することができる。
図75A及びBは、ツイストタイセット機構6の動作例を示す断面図である。図75Aに示すツイストタイセット機構6は、ツイストタイねじり機構8によりツイストタイ2をねじって締結した後、ウイングベース6bにより開き状態のウイング爪6aが固定されたウイングクローザ6cを矢印V4の方向に滑動させてウイング爪6a同士の間隔を広げた状態である。
この例で、ウイングベース6bの長方開口部6iとウイングクローザ6cの突起片6vとが嵌合している。このため、ウイングベース6bは、ウイングクローザ6cの移動と共に矢印V4の方向に滑動する。
また、ウイングベース6bが滑動するため、このウイングベース6bに軸着されたウイング爪6aは、回転せずに開いた状態で矢印V4の方向に移動する。このように、右ウイング部6R及び左ウイング部6Lのウイング爪6aが離間することにより、タグ10をその間から抜き出せるようになる。
左右のウイング爪6aの離間後、上昇−下降機構20により図75Bに示すツイストタイセット機構6は下降する。ツイストタイセット機構6は下降すると、リリースピン6eが、図72に示した支えプレート6dにより支持される。これにより、ウイングベース6bがウイングアーム軸6kを中心にして初期位置まで回動する。従って、ウイングクローザ6cの突起片6vとウイングベース6bの長方開口部6iが離間する。これにより、ツイストタイセット機構6は、図64及び図65に示した初期状態に復帰する。
このように本発明に係るタグ取り付け駆動ユニット101によれば、ツイストタイセット機構6のウイング爪6aの各々は、ウイングクローザ6cの滑動により回動して閉じる。そして、ウイング爪6aの各々は、タグ10の各取付孔10dの近傍を押さえ込んで立体成形する。更に、ウイング爪6aの各々は、略直線が該タグ10の各取付孔10dを通過可能となる形状に形成する。ツイストタイ送り機構5により送り出されたツイストタイ2は、この閉じた状態の一対のウイング爪6aの溝部86nとタグ10の各取付孔10dに挿通されるものである。
この構成によって、タグ10にツイストタイ2を挿通する機構を小型化できると共に、タグ10の取付孔10dにツイストタイ2を確実に挿通できる。
続いて、ツイストタイカット機構7の構成例について説明する。図76は、ツイストタイカット機構7の要部の構成例を示す斜視図である。図76に示すツイストタイカット機構7は、刃本体7a、圧縮バネ7b、軸7c及び支持部材7dを備えている。刃本体7aは、軸7cにより回動自在に支持部材7dに固定されている。この支持部材7dはウイングベース6bに固定されている。
刃本体7aの後端には、圧縮バネ7bが取り付けられている。刃本体7aの刃先7g(図77参照)は、図76に示すようにウイングベース6bが持ち上がった状態では、ツイストタイ2の通路86pの上方に設定されている。
図77は、刃本体7aの構成例を示す斜視図である。図77に示す刃本体7aは、開孔7e,7e及び刃先7gを備えている。刃本体7aの後端部7fは、図76に示した圧縮バネ7bにより付勢されている。開孔7e,7eには、軸7cが挿着され、一点鎖線で示す線分K−Kを軸にして回動する。これにより、刃本体7aの刃先7gは、図76に示したツイストタイ2の通路86pの上方に当接する。
図78Aは、ツイストタイカット機構7の動作例(その1)を示す断面図である。図78Aに示す刃本体7aが固定されたウイングベース6bは持ち上がった状態である。このとき、刃本体7aの刃先7gは、ツイストタイ2の通路86pの上方に設定されている。
図78Bは、ツイストタイカット機構7の動作例(その2)を示す断面図である。図78Bに示す刃本体7aが固定されたウイングベース6bが下がった状態である。このとき、刃本体7aの刃先7gは、ツイストタイ2の通路86p内に入り込んで、押し切りの要領で該ツイストタイ2を切断する。
刃本体7aを作動させる力は、引っ張りバネ6gにより発生させる。引っ張りバネ6gは、ウイングベース6bの回動軸であるウイングアーム軸6kから離れた位置にあり、かつ刃本体7aはウイングアーム軸6kの近傍に設置されている。このため、引っ張りバネ6gの張力がテコの原理により増幅される。これにより、引っ張りバネ6gの張力が弱くても確実にツイストタイ2を刃本体7aにより切断できる。
続いて、上昇−下降機構20の構成例について説明する。図79は、上昇−下降機構20の構成例を示す斜視図である。図79に示す上昇−下降機構20は、垂直モータ20a、台形ネジ20b、モータギヤ20c、減速ギヤ20d及び駆動ギヤ20eを備えている。モータギヤ20cは垂直モータ20aに結合され、駆動ギヤ20eは台形ネジ20bに結合されている。垂直モータ20aのモータギヤ20cと台形ネジ20bの駆動ギヤ20eは、減速ギヤ20dに噛合されている。これにより、垂直モータ20aの動力が増幅されて台形ネジ20bに伝達される。
図80は、上昇−下降機構20の構成例を示す斜視図である。図80に示す上昇−下降機構20は、垂直ガイドローラ20i,20jを備えている。垂直ガイドローラ20iは回転自在にシャーシプレート44aに取り付けられ、包囲プレート20kに当接している。垂直ガイドローラ20jは回転自在にシャーシプレート44aに取り付けられ、包囲プレート20mに当接している。また、垂直ガイドローラ20i,20jの夫々に対峙する位置に、不図示の垂直ガイドローラが取り付けられている。すなわち、上昇又は下降するタグ搬送機構4及びツイストタイセット機構6を囲む包囲プレートの4面に当接した垂直ガイドローラを備えている。これら4個の垂直ガイドローラは、上昇及び下降するタグ搬送機構4及びツイストタイセット機構6がシャーシプレート44aに対して垂直方向に上昇及び下降するように傾きを矯正する。
図81Aは、上昇−下降機構20の構成例を示す側面図である。図81Aに示すタグ搬送機構4及びツイストタイセット機構6は、下降した状態(初期状態)である。図81Aに示す上昇−下降機構20は、台形ネジ20b、ナット20f、フレームプッシャ20g及びガイドロッド20hを備えている。ナット20fは台形ネジ20bに螺合されている。フレームプッシャ20gは金属板状に成形され、ナット20fに結合されている。このフレームプッシャ20gの4隅には、ガイドロッド20hが挿着されている。フレームプッシャ20g上には、タグ搬送機構4及びツイストタイセット機構6が載置されている。
図81Bは、上昇−下降機構20の動作例を示す側面図である。図81Bに示すタグ搬送機構4及びツイストタイセット機構6は、上昇した状態である。この例で、台形ネジ20bが回転されると、ナット20fに結合されたフレームプッシャ20gが上昇する。このとき、フレームプッシャ20gは、4隅のガイドロッド20hに案内されてシャーシプレート44a,44bに対して水平状態を保ちながら上昇する。これにより、フレームプッシャ20g上に載置されたタグ搬送機構4及びツイストタイセット機構6も上昇する。このとき、図80に示した垂直ガイドローラ20i,20jなどは包囲プレート20k,20mに当接して、上昇又は下降するタグ搬送機構4及びツイストタイセット機構6の傾きを矯正する。
タグ搬送機構4及びツイストタイセット機構6の重心は位置J1であり、台形ネジ20bの軸は位置J2に設定されている。このように位置J1と位置J2はオフセットが生じているため、垂直ガイドローラ20i,20jなどにより、タグ搬送機構4及びツイストタイセット機構6の傾きを矯正している。
なお、台形ネジ20bを上昇時と反対方向に回転させると、フレームプッシャ20gは、シャーシプレート44a,44bに対して水平状態を保ちながら下降する。これにより、フレームプッシャ20g上に載置されたタグ搬送機構4及びツイストタイセット機構6も下降する。
続いて、カートリッジ17の構成例について説明する。図82A及びBは、カートリッジ17の装着例を示す斜視図である。カートリッジ17は、タグ取り付け駆動ユニット101に装着される。図82Aに示すタグ取り付け駆動ユニット101は、該装置本体のカートリッジセット部26にカートリッジ17が装着されている。図82Bに示すタグ取り付け駆動ユニット101は、カートリッジセット部26からカートリッジ17が取り外されている。
カートリッジ17はカートリッジセット部26に押し込まれる。その後、該カートリッジセット部26の取っ手26aが引かれると解除レバー26bが滑動する。この解除レバー26bが滑動すると、カートリッジ17のプッシャロック機構17m(図84B参照)が解除されて、カートリッジ17がカートリッジセット部26に固定される。
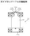
図83は、カートリッジ17の構成例を示す斜視図である。図84Aは、カートリッジ17の構成例を示す上面図である。図84Bは、カートリッジ17の構成例を示す背面図である。カートリッジ17は、ガイドロッド17b、プッシャ17c、幅寄せプレート17d,17d’、幅調整部17e,17e’、車輪17h及び把持部17iを備えている。
ガイドロッド17bは、カートリッジ17の底面17kに直立して2本だけ設けられている。これらのガイドロッド17bはタグ10の取付孔10dを挿通するようにして、当該タグ10がカートリッジ17に装填される。
プッシャ17cは上下動自在に取り付けられ、ガイドロッド17bに取付孔10dが装着されたタグ10を押し上げる。この例で、プッシャ17cは4隅に垂直ベアリング17rが取り付けられている。これらの垂直ベアリング17rは、4本のプッシャ軸17gに装着されている。プッシャ17cの垂直ベアリング17rとカートリッジ17の底面17kの間には圧縮バネ17fが設けられている。これらの圧縮バネ17fは、4本のプッシャ軸17gに装着され、プッシャ17cを付勢している。プッシャ17cは、図84Bに示すプッシャロック機構17mによりカートリッジ17の底面17k側にロックされる。
プッシャ17cの両端には、幅寄せプレート17d、17d’が配置されている。幅寄せプレート17dと幅寄せプレート17d’は別々に移動する。例えば、幅寄せプレート17dは、幅調整部17eを回転操作することにより矢印M2の方向に移動する。幅寄せプレート17d’は、図84Aに示す幅調整部17e’を回転操作することにより矢印M2の方向に移動する。これにより、タグの形状が左右対称でなくても、幅寄せプレート17d,17d’を別々に移動させて該タグの幅を寄せることで確実にタグを挟み込んで保持できる。
カートリッジ17の筐体17uの両側面には、図84Aに示すように車輪17hが2個ずつ回転自在に取り付けられている。これらの車輪17hは、図82に示す両端のレール26c,26cに装着される。カートリッジ17の筐体17uの背面には、把持部17iが取り付けられている。操作者は、この把持部17iを持ってカートリッジ17をカートリッジセット部26に装着する。
図85は、カートリッジ17の機能例を示す斜視図である。図86Aは、カートリッジ17の機能例を示す上面図である。図86Bは、カートリッジ17の機能例を示す背面図である。
ガイドロッド17b,17bは、タグ10の取付孔10d,10dを挿通するようにして、プッシャ17c上に、複数枚のタグ10が積層されてカートリッジ17に装填されている。このとき、プッシャ17cは、図86Bに示すプッシャロック機構17mによりカートリッジ17の底面17k側にロックされている。
幅調整部17eを回転することにより、幅寄せプレート17dをタグ10に接近させて、該タグ10の情報提示部10aに当接させている。同様に、図86Bに示す幅調整部17e’を回転することにより、幅寄せプレート17d’をタグ10に接近させて、該タグ10の情報提示部10aに当接させて該タグ10を整列している。この状態で、把持部17iを持ってカートリッジ17をカートリッジセット部26に装着する。
図87は、プッシャ17c及びガイドロッド17bの構成例を示す斜視図である。図88は、プッシャ17c及びガイドロッド17bの構成例を示す側面図である。図89は、プッシャ17c及びガイドロッド17bの構成例を示し、タグ送り出し方向Uから見た背面図である。図87に示すプッシャ17cは、H形状のプレート17q及びI形状のプレート17pから構成されている。I形状のプレート17pは、H形状のプレート17q上に結合されている。結合されたプレート17p,17qは、同じ位置に貫通孔17sを有している。これらの貫通孔17sには、ガイドロッド17bが挿着されている。
ガイドロッド17bは、ブロック17tに立設されている。このブロック17tは、カートリッジ17の筐体17uに固定される。ガイドロッド17bの先端は先細り形状に形成され、面取りを略90°違いに2面だけ行って斜面を形成した斜面部17nを有している。斜面部17n,17nは、その頂点がタグ10の取付孔10dの略中心にくるように配置されている(図86A参照)。これにより、先端の斜面部17nがタグ10の取付孔10dの縁に突っ掛かることなく、取付孔10dをガイドロッド17bに装着することが容易になる。
また、斜面部17n,17nは、その一方の斜面17vがタグ10の送り出し方向Uに対峙して設けられている。タグ10が送り出し方向Uに向けて搬送されて斜面部17nに当接した場合に、タグ10は斜面部17nの斜面17vを滑って送り出される。これにより、例えば2枚のタグ10が重なってカートリッジ17から送り出された場合、最上位のタグ10のみが斜面部17nの斜面17vを滑って送り出され、2枚目のタグ10は斜面部17nの斜面17vにより係止するようになる。
続いて、ガイドロッド17bの機能例を説明する。図90は、ガイドロッド17bの機能例を示す上面図である。図90に示すガイドロッド17bは、タグ10の取付孔10dを挿通している。図90に示すように、タグ10の取付孔10dをガイドロッド17bに装着する場合に、取付孔10dの中心がガイドロッド17bの頂点から外れても、ガイドロッド17bの頂点が取付孔10dの領域に含まれていれば、取付孔10dをガイドロッド17bに装着可能である。これにより、作業時間を短縮できる。しかも、ガイドロッド17bの先端(頂点)である斜面部17nをタグ10が通過すれば、図86Aに示したようにガイドロッド17bの本体により、タグ10の位置及び姿勢を規制する。
このように、図90に示すガイドロッド17bをタグ10の取付孔10dへ挿通させるだけで良いことからタグ10の装着時の自由度が高く、簡単にカートリッジ17にタグ10を装着できる。
続いて、カートリッジ17のプッシャロック機構17mについて説明する。図91は、カートリッジ17のプッシャロック機構17mの構成例を示す図84AのH4−H4矢視断面図である。図91に示すプッシャロック機構17mは、圧縮バネ17fにより付勢されたプッシャ17cを引き止めている。プッシャロック機構17mは、ロック爪17w、引っ張りバネ48b及びスイッチプレート48fを備えている。
ロック爪17wは、回転軸17yにより回転自在にホルダ48gに固定されている。このロック爪17wの長孔48eには、カートリッジスイッチ軸17xが装着されている。このカートリッジスイッチ軸17xは、スイッチプレート48fに固定されている。このスイッチプレート48fは、ロック爪17wに係合されて滑動自在に筐体17uに取り付けられている。
引っ張りバネ48bは付勢部材の一例であり、一端がカートリッジスイッチ軸17xに固定され、他端がホルダ48gに固定されてカートリッジスイッチ軸17xをホルダ48g側に引っ張っている。これにより、ロック爪17wの基本姿勢は、図91に示す状態となる。
プッシャ17cのプレート17qには、ホルダ48aが取り付けられている。このホルダ48aには、ロック軸部材の一例であるプッシャロック軸17zが固定されている。フック状に形成されたロック爪17wの先端部48hは、このプッシャロック軸17zに係止可能に設けられる。引っ張りバネ48bは、ロック爪17wを付勢して該ロック爪17wをプッシャロック軸17zに係止させる。従って、プッシャロック機構17mにより、プッシャ17cをカートリッジ17の底面17k側にロックすることができる。
また、プッシャ17cのロックを解除する場合、ロック爪17wを引っ張りバネ48bの付勢方向と反対方向である矢印M3の方向にスイッチプレート48fを滑動させる。これにより、スイッチプレート48fに固定されたカートリッジスイッチ軸17xが滑動し、ロック爪17wが回転軸17yを中心にして回動してロック爪17wの長孔48eの向きが略水平になる。従って、ロック爪17wのフック状の先端部48hからプッシャロック軸17zが解放される。これにより、プッシャ17cのロックが解除されて、プッシャ17cが圧縮バネ17fの付勢力により上昇する。
図92は、カートリッジ17の構成例を示す底面側の斜視図である。図92に示すカートリッジ17の底面17kには、開口部48k及び長孔48jが設けられている。この開口部48kは、ロック爪17wの回動範囲を確保するためである。長孔48jには、スイッチプレート48fが突出している。このスイッチプレート48fは、図82Bに示した解除レバー26bが当接して、矢印M3の方向に滑動操作される。これにより、図91で説明したようにプッシャ17cのロックが解除されて、プッシャ17cが圧縮バネ17fの付勢力により上昇する。
カートリッジ17の底面17kには、カートリッジ台48iが取り付けられている。このカートリッジ台48iは、カートリッジ17にタグ10を装填するなどの目的でカートリッジ17をカートリッジセット部26から取り外して、カートリッジ17を適当な机の上などに仮置きする際に、カートリッジ17の底面17kと、仮置きする場所のカートリッジ17の載置面との間に隙間を保持するためのものである。これにより、カートリッジ17の底面17kから飛び出したスイッチプレート48f及びロック爪17wが、仮置きする場所のカートリッジ17の載置面に当接しない。
図93Aは、プッシャ17cのプレート17qの構成例を示す斜視図である。図93Bは、プッシャ17cのプレート17qの構成例を示す上面図である。プレート17qは先端に、切り欠き部48m,48mを備えている。プッシャ17cのロック解除時に、この切り欠き部48m,48mは嵌合部の一例であり、図94に示すL字状の板金26eに嵌合される。この板金26eは抜止部材の一例である。
図94は、カートリッジセット部26の要部の構成例を示す斜視図である。図95A及びBは、カートリッジセット部26の要部の機能例(その1)を示す斜視図及び側面図である。図96A及びBは、カートリッジセット部26の要部の機能例(その2)を示す斜視図及び側面図である。
図92に示したカートリッジ17の車輪17hが図94に示すカートリッジセット部26の両端のレール26cに装着されて、該カートリッジ17は、カートリッジセット部26に押し込まれる。カートリッジ17をカートリッジセット部26に完全に押し込んだ状態で、取っ手26aを引くと解除レバー26bが滑動する。この解除レバー26bを滑動させて、図92に示したスイッチプレート48fを滑動させる。
これにより、図91で説明したように、ロック爪17wが回動してプッシャ17cのロックが解除される。プッシャ17cのロックが解除されると、該プッシャ17cのプレート17qは、図95A及びB並びに図96A及びBに示すように、圧縮バネ17fの付勢力により上昇する。このとき、図96A及びBに示すプッシャ17cのプレート17qの切り欠き部48mが、L字状の板金26eに嵌合して、プッシャ17cを抜け止めすることができる。従って、カートリッジ17をタグ取り付け駆動ユニット101のカートリッジセット部26から外れないように装着できる。カートリッジ17に積層されて装填されるタグ10は、プッシャ17cにより押し上げられて、最上位のタグ10がピックアップローラ39a(図51参照)に当接する。このように、装置本体側の解除レバー26bにより、プッシャ17cのロックを解除するので、カートリッジ17を装置本体から取り外した状態、すなわちカートリッジ17が単体状態にある時に誤ってプッシャ17cのロックを解除する可能性が低い。
なお、カートリッジ17の前面には不図示の磁石が設けられ、かつカートリッジセット部26の前面パネル26dにも対応する位置に不図示の磁石を設けておく。これにより、カートリッジ17をカートリッジセット部26に押し込んだ際に、カートリッジ17がカートリッジセット部26の前面パネル26dに磁力により吸着するので、プッシャ17cのロックを解除するタイミングが明確になる。もちろん、カートリッジ17の前面とカートリッジセット部26の前面パネル26dとの何れか一方のみに磁石を設けるようにしてもよい。
このように本発明に係るタグ取り付け駆動ユニット101によれば、カートリッジ17のプッシャロック機構17mが解除されて圧縮バネ17fにより付勢されたプッシャ17cの切り欠き部48mを、カートリッジセット部26の板金26eに嵌合して該プッシャ17cを抜け止めするものである。
この構成によって、プッシャ17cのロックが解除された状態でカートリッジ17を装置本体から取り外すことを防止できる。これにより、プッシャ部材のロックが解除された状態で誤って装置本体からカートリッジを取り外して、該プッシャ部材の付勢力によりタグがカートリッジから飛び出して散乱することを防止できる。従って、タグが落下してタグを汚すことを防止できる。
続いて、タグ10の取付孔10dに装着する他の実施形態におけるガイドロッド84a〜84cについて説明する。図97Aは、ガイドロッド84aの構成例を示す側面図である。図97Bは、ガイドロッド84aの先端の拡大図である。図97Bに示すガイドロッド84aの先端は、円錐形状に形成された円錐部85aを有している。この先端の円錐部85aからタグ10の取付孔10dに挿入される。
図98Aは、ガイドロッド84bの構成例を示す側面図である。図98Bは、ガイドロッド84bの先端の拡大図である。図98Bに示すガイドロッド84bの先端は、半円形状に形成された半円部85bを有している。この先端の半円部85bからタグ10の取付孔10dに挿入される。
図99Aは、ガイドロッド84cの構成例を示す側面図である。図99Bは、ガイドロッド84cの先端の拡大図である。図99Bに示すガイドロッド84cの先端は、断面形状が台形に形成された台形部85cを有している。この先端の台形部85cからタグ10の取付孔10dに挿入される。このように、タグ10を装着するガイドロッドは、ガイドロッド84a〜84cに示したように、ガイドロッドの先端が細く形成されている形状であれば良い。
続いて、他のカートリッジ17Bの構成例について説明する。図100A及びBは、他のカートリッジ17Bの要部の構成例を示す斜視図である。図100Aに示すカートリッジ17Bは、ガイドロッド84dが着脱自在にブロック17t’に設けられている。2本のガイドロッド84dは、コネクタ48cに固定されている。ブロック17t’及びプッシャ17c’のプレート17p’,17q’には、長孔状の開口部48dが設けられている。ガイドロッド84dのコネクタ48cは、図100Bに示すように開口部48dに差し込まれて装着されて固定される。
図101A及びBは、カートリッジ17Bの要部の使用例を示す斜視図である。カートリッジ17Bにタグ10を積層して装填する場合、先ず図101Aに示すようにカートリッジ17Bのガイドロッド84dのコネクタ48をブロック17t’などの開口部48dから引き抜いて取り外す。
次に、図101Bに示すようにガイドロッド84dをタグ10の取付孔10dに差し込んで装着する。そして、該タグ10が装着されたガイドロッド84dのコネクタ48cをブロック17t’などから成る開口部48dに装着する。これにより、タグ10をカートリッジ17Bに装着できる。
このように、一旦取り外したガイドロッド84dをタグ10の取付孔10dに挿通し、この状態のままカートリッジ17Bのブロック17t’に装着することができる。従って、図87に示した固定式のガイドロッド17bに比べてガイドロッド84dを自由に動かすことができるので、タグ10の取付孔10dに該ガイドロッド84dを容易に装着することができる。
続いて、ツイストタイ送り機構5の構成例について説明する。図102は、ツイストタイ送り機構5の構成例を示す斜視図である。図103Aは、ツイストタイ送り機構5の構成例を示す側面図である。図103Bは、ツイストタイ送り機構5の構成例を示す背面図である。ツイストタイ送り機構5は、図1に示したボビン58に巻き付けられツイストタイ2を引き出してツイストタイセット機構6に供給するものである。
ツイストタイ送り機構5は、ツイストタイ送りモータ5a、ガイドローラ5b、トグルクランプ機構5cを備えている。ツイストタイ送りモータ5aにはステッピングモータを使用し、ツイストタイ2を送り出す駆動源として機能する。ガイドローラ5bは、軸5gに軸支された状態でホルダ5hに装着されている。ガイドローラ5bは、ツイストタイ2を案内して該ツイストタイ2の進入方向を一定に保つ。トグルクランプ機構5cは倍力機能を有したクランプ機構の一例であり、ガイドローラ5bから引き込まれたツイストタイ2を、弾性部材又は付勢部材の一例である圧縮バネ5fを介して送りローレット5mに圧着又は圧着解除する。
図104Aは、ツイストタイ送り機構5の内部の構成例を示す側面図である。図104Bは、ツイストタイ送り機構5の内部の構成例を示す背面図である。図104A及びBは、図103A及びBに示した板金5dを取り外している。図104A及びBは、トグルクランプ機構5cがクランプしている状態である。
トグルクランプ機構5cは、操作部5j、リンク部材5x及びバネ座5iを備えている。操作部5jの支点は、第1の軸部材の一例であるピン5rによりホルダ5zに軸着されている。操作部5jの作用点は、第2の軸部材の一例であるピン5sにより湾曲形状のリンク部材5xの一端に軸着されて連結されている。このリンク部材5xの他端は、支持台の一例であるバネ座5iから延在したロッド49aに回動自在に連結されている。ロッド49aは、クランプガイド5yにより上下動自在に支持されている。
圧縮バネ5fと係合するレバー5qは、軸5vにより板金49bに軸着されている。レバー5qには、従動ローラの一例である送りローラ5kが軸5uにより軸着されている。バネ座5iとレバー5qの間には圧縮バネ5fが介在し、バネ座5iは圧縮バネ5fを支持している。この圧縮バネ5fはレバー5qの一端を付勢して軸5vを中心にして該レバー5qを回動させ、送りローラ5kを送りローレット5mに押し付ける。送りローレット5mは駆動ローラの一例であり、軸5wにより板金49bに軸着されている。
ツイストタイ送りモータ5aの駆動軸49cには、ローラ5nが固定されている。このローラ5nと送りローレット5mは、ベルト5pにより駆動連結されている。これにより、ツイストタイ送りモータ5aの駆動力が送りローレット5mに伝達されて、該送りローレット5mが軸5wを中心にして回転する。
ガイドローラ5bから引き込まれるツイストタイ2は、送りローレット5mと送りローラ5kが当接して、該送りローレット5mと送りローラ5kの間に挟まれる。送りローレット5mと送りローラ5kが協働してツイストタイ2を挟み込んだ状態で、送りローレット5mが回転することにより送りローラ5kも回転してツイストタイ2を引き出す。
図105Aは、ツイストタイ送り機構5の動作例を示す側面図である。図105Bは、ツイストタイ送り機構5の動作例を示す背面図である。図105A及びBは、トグルクランプ機構5cがクランプ解除した状態である。この例で、トグルクランプ機構5cの操作部5jを引き下ろしてピン5rを中心に該操作部5jを略180°回動する。この操作部5jの回動により、リンク部材5xが屈伸運動すると共にバネ座5i及び圧縮バネ5fが降下する。圧縮バネ5fが降下することにより、該圧縮バネ5fにより付勢されていたレバー5qが自重により、図105Aに示すように軸5vを中心にして回動する。このレバー5qの回動により、該レバー5qに取り付けられた送りローラ5kが送りローレット5mから離間する。これにより、送りローレット5mと送りローラ5kの間に隙間が生じる。この状態で、操作者は両手で、ガイドローラ5bから引き込んたツイストタイ2を挿入口49eから送りローレット5mと送りローラ5kの隙間に挿通する。
挿通後、操作部5jを図104A及びBに示した位置まで引き上げて、送りローレット5mと送りローラ5kによりツイストタイ2を挟み込む。ツイストタイ2が送りローレット5mと送りローラ5kの間に挟まれた状態で、送りローレット5mが回転することにより、送りローラ5kも回転して、ツイストタイ2が引き出される。
図106は、送りローラ5k及び送りローレット5mの構成例を示す斜視図である。図106に示す送りローレット5mは金属素材から成形される。この送りローレット5mの外周面は、溝部49d及び平面部49gから構成されている。この溝部49dは、送りローレット5mの外周面に沿ってその中心に設けられている。溝部49dには、図50に示したツイストタイ2の芯線としての細線2aが嵌合される。
平面部49gは溝部49dの両端に設けられ、縦目状や綾目状の滑り止めがなされている。この平面部49gには、図50に示したツイストタイ2の被覆材2bの平坦な部分が位置合わせされる。
送りローラ5kはゴム素材から成形され、軸5uによりレバー5qに軸着されている。送りローラ5k及び送りローレット5mによりツイストタイ2を挟み込んだとき、該ツイストタイ2の細線2aを溝部49dに逃がすことができる。従って、ツイストタイ2に均等に力が加わるので、該ツイストタイ2の被覆材2bがローラ摩擦により破れることを防止できる。仮に、溝部49dが設けられていない場合、細線2aの部分の被覆材2bにローラ摩擦が集中するので、この細線2aの部分の被覆材2bが破れるおそれがある。
図107A及びBは、圧縮バネ5fの長さの一例を示す模式図である。図107Aに示す圧縮バネ5fは、レバー5qのバネ軸49fとバネ座5iに装着されている。図107Aに示す圧縮バネ5fは、トグルクランプ機構5cがクランプ設定されて圧縮された状態である。
バネ軸49fの高さをE1とし、バネ座5iの高さをE2とし、圧縮バネ5fの最大圧縮時の高さをLMとしたとき、以下の式(1)に示す関係を満たすようにする。これにより、バネ軸49fとバネ座5iが衝突せずに、圧縮バネ5fを高さLMまで縮めることができる。
LM>E1+E2 ・・・(1)
仮に、式(1)の関係を満たさない場合、すなわちバネ軸49fの高さE1とバネ座5iの高さE2の合計が、圧縮バネ5fの最大圧縮時の高さLMよりも高い場合、バネ軸49fとバネ座5iが衝突して圧縮バネ5fを高さLMまで縮めることができない。
図107Bに示す圧縮バネ5fは、トグルクランプ機構5cがクランプ解除されて伸長した状態である。圧縮バネ5fの自由長をLとし、圧縮バネ5fの取り付け長さをLSとしたとき、以下の式(2)に示す関係を満たすようにする。これにより、クランプ解除時に圧縮バネ5fがバネ軸49fとバネ座5iから外れない。
L>LS−E1 ・・・(2)
仮に、式(2)の関係を満たさない場合、すなわち圧縮バネ5fの自由長Lが、圧縮バネ5fの取り付け長LSからバネ軸49fの高さE1を引いた長さよりも短い場合、該圧縮バネ5fがバネ軸49fとバネ座5iから外れてしまう。
このように本発明に係るタグ取り付け駆動ユニット101によれば、送りローレット5mと協働してツイストタイ2を挟み込む送りローラ5kを有し、ツイストタイ送り機構5のトグルクランプ機構5cは、この送りローラ5kを付勢する圧縮バネ5fを支持するバネ座5iを上下動することにより、送りローラ5kを圧縮バネ5fを介在させて送りローレット5mに当接又は離間させるものである。
この構成によって、トグルクランプ機構5cのクランプを解除した場合に圧縮バネ5fの付勢力が送りローラ5kに作用しないようにできる。これにより、力を加えていない状態で送りローラ5kと送りローレット5mとの間に隙間ができる。従って、操作者は両手を使ってこの隙間にツイストタイ2を挿入することができるので、ツイストタイ2の挿入における操作性を向上できる。また、トグル機構を用いているので小さな力での操作が可能となり装置を小型化できる。
続いて、ボビン58から引き出したツイストタイ2の先端を切断するせん断式のカッター82について説明する。図108は、せん断式のカッター82の構成例を示す斜視図である。図108に示すせん断式のカッター82はボビン58から引き出したツイストタイ2の先端が折れ曲がった場合に、このツイストタイ2の折れ曲がった部分を切断して排除するものである。
カッター82は、タグ取り付け駆動ユニット101のシャーシプレート44bに取り付けられている。このカッター82の取り付け位置は、ツイストタイ送り機構5の近傍である。例えば、ツイストタイ2の結束不良が生じた場合に、該ツイストタイ2の折れ曲がった部分をカッター82によりせん断して排除する。そして、残りの直線状のツイストタイ2をツイストタイ送り機構5に挿入する。これにより、簡易な構成で、タグ取り付け駆動ユニット101に直線状のツイストタイ2を挿入することができる。
図109Aは、せん断式のカッター82の構成例を示す拡大図である。図109Aに示すカッター82は、載置台82a、せん断用の下部プレート82b及びせん断用の上部プレート82cを備えている。下部プレート82bと上部プレート82cは、1枚のプレートが切断されて形成されている。
下部プレート82bは、ネジ82dにより載置台82aに固定されている。上部プレート82cは、根本から起立した湾曲形状に形成されている。上部プレート82cと下部プレート82bの間にツイストタイ2が挿通される。
図109Bは、せん断式のカッター82の動作例を示す拡大図である。図109Bに示すカッター82は、上部プレート82cが下部プレート82b側に押圧されている。これにより、上部プレート82cと下部プレート82bに挟まれたツイストタイ2をせん断できる。従って、例えばツイストタイ2の結束不良が生じた場合に、該ツイストタイ2の折れ曲がった部分をカッター82によりせん断して簡単に排除できる。
続いて、他の方法でツイストタイ2をせん断する方法ついて説明する。図110は、せん断機構83cの構成例を示す斜視図である。図111Aは、せん断機構83cの構成例を示す断面図である。図111Bは、図111Aの破線四角内の拡大図である。
この例では、トグルクランプ機構5cの上下動を利用してツイストタイ2をせん断する。円筒型のクランプガイド5y’には、図110及び図111Bに示すようにスリット83bが設けられている。また、ロッド49a’にもスリット83a(図111B参照)が設けられている。図111Bに示すロッド49a’のスリット83aは、鋭角に形成されて刃として機能する。
トグルクランプ機構5cの操作部5jを下ろした状態、すなわちクランプ解除した状態では、スリット83aとスリット83bが同じ位置になる。この状態で、スリット83a,83bにツイストタイ2を挿入する。
図112は、せん断機構83cの動作例を示す斜視図である。図113Aは、せん断機構83cの動作例を示す断面図である。図113Bは、図113Aの破線四角内の拡大図である。
図112は、図111に示したスリット83a,83bにツイストタイ2が挿通された状態で、トグルクランプ機構5cの操作部5jが若干引き上げられた状態である。このとき、図104A及び図105Aで説明したようにロッド49a’が上昇する。このロッド49a’の上昇によって図113Bに示すように、カッター刃として機能するスリット83aと、カッター受けとして機能するクランプガイド5y’によりツイストタイ2をせん断する。このように、トグルクランプ機構5cの上下動を利用してツイストタイ2をせん断してもよい。
図114は、タグ取り付け駆動ユニット101の搬送制御系の構成例を示すブロック図である。図114に示す搬送系のタグ取り付け駆動ユニット101は制御ユニット87aを有している。制御ユニット87aは図示せずも、ROM(読み出し専用メモリ)やRAM(随時情報の書き込み読み出しメモリ)、HDD(固定磁気ディスク装置)等のメモリと、演算機能を有するCPU(中央演算装置)と、インタフェースとを有して構成される。
制御ユニット87aには操作部87zが接続される。この操作部87zには、スタート用のスイッチ90や、タグセットスイッチ、ツイストタイセットスイッチ、ツイストタイ引き戻しスイッチ等を含む。タグセットスイッチは、カートリッジ17をカートリッジセット部26に装着して、最初の1枚のタグ10をタグ繰り出し機構3及びタグ搬送機構4により送り出す場合に使用する。ツイストタイセットスイッチは、ボビン58から引き出したツイストタイ2をツイストタイ送り機構5に設定し、このツイストタイ2を結束位置まで送り出す場合に使用する。ツイストタイ引き戻しスイッチは、ツイストタイ送り機構5により結束位置まで送り出まで送り出されたツイストタイ2を引き戻す場合に使用する。操作部87zで発生するスイッチオン信号SS9は制御ユニット87aに出力される。
制御ユニット87aには、ツイストタイねじり原点センサ87p、タグセンサ87q、水平モータ原点センサ87r及び水平モータエンドセンサ87sが接続される。
ツイストタイねじり原点センサ87pは透過型のセンサであり、図74に示したツイストタイねじり機構8のS字部材8aの軸棒8bの回転数を検知してねじり回転検知信号S87pを制御ユニット87aへ出力する。例えば、この軸棒8bにスリット円盤が取り付けられ、このスリット円盤のスリットを透過型のセンサにより検出する。ねじり回転検知信号S87pは、S字部材8aの停止位置を示す信号である。
タグセンサ87qは反射型のセンサであり、図51に示したタグ繰り出し機構3のフィードローラ39bの下方に配置され、繰り出されたタグ10の先端を検知してタグ検知信号S87qを制御ユニット87aへ出力する。このタグ検知信号S87qは、繰り出されたタグ10の停止位置を示す信号である。
水平モータ原点センサ87rは透過型のセンサでありタグフック43が原点位置(初期位置)にあることを検知して水平モータ原点検出信号S87rを制御ユニット87aへ出力する。この水平モータ原点検出信号S87rは、図53Aに示したタグフック43の停止位置を示す信号である。
水平モータエンドセンサ87sは透過型のセンサでありタグフック43が停止位置にあることを検知して水平モータエンド検出信号S87sを制御ユニット87aへ出力する。この水平モータエンド検出信号S87sは、図56Aに示したタグフック43の停止位置を示す信号である。
垂直モータ原点センサ87tは透過型のセンサでありタグ搬送機構4及びツイストタイセット機構6の原点位置(初期位置)にあることを検知して垂直モータ原点検出信号S87tを制御ユニット87aへ出力する。この垂直モータ原点検出信号S87tは、図81Aに示したタグ搬送機構4及びツイストタイセット機構6の下降停止位置を示す信号である。
垂直モータエンドセンサ87uは透過型のセンサでありタグ搬送機構4及びツイストタイセット機構6の上昇停止位置を検知して垂直モータエンド検出信号S87uを制御ユニット87aへ出力する。この垂直モータエンド検出信号S87uは、図81Bに示したタグ搬送機構4及びツイストタイセット機構6の上昇停止位置を示す信号である。制御ユニット87aには上述のセンサ87p〜87uや操作部87zの他に、5つのモータ駆動部87b〜87dが接続される。
モータ駆動部87cは、制御ユニット87aからモータ駆動データD87cを入力し、当該データD87cをデコードしてモータ制御信号S87cを生成する。モータ駆動部87cにはタグ送りモータ39kが接続される。モータ駆動部87cは、モータ制御信号S87cに基づいてタグ送りモータ39kを駆動する。タグ送りモータ39kが回転すると、図58に示したタグ繰り出し機構3が動作してタグ10をカートリッジ17から1枚だけ繰り出す。
モータ駆動部87eは、制御ユニット87aからモータ駆動データD87eを入力し、当該データD87eをデコードしてモータ制御信号S87eを生成する。モータ駆動部87eには水平モータ4aが接続される。モータ駆動部87eは、モータ制御信号S87eに基づいて水平モータ4aを駆動する。水平モータ4aが回転すると、図53A及び図56Aに示したようにタグ搬送機構4が動作してタグフック43を水平移動させる。
モータ駆動部87dは、制御ユニット87aからモータ駆動データD87dを入力し、当該データD87dをデコードしてモータ制御信号S87dを生成する。モータ駆動部87dにはツイストタイ送りモータ5aが接続される。モータ駆動部87dは、モータ制御信号S87dに基づいてツイストタイ送りモータ5aを駆動する。ツイストタイ送りモータ5aが回転すると、図102に示したツイストタイ送り機構5が動作してツイストタイ2をボビン58から引き出す。
モータ駆動部87fは、制御ユニット87aからモータ駆動データD87fを入力し、当該データD87fをデコードしてモータ制御信号S87fを生成する。モータ駆動部87fには垂直モータ20aが接続される。モータ駆動部87fは、モータ制御信号S87fに基づいて垂直モータ20aを駆動する。垂直モータ20aが回転すると、図81A及びBに示したように上昇−下降機構20が動作してタグ搬送機構4及びツイストタイセット機構6を上昇又は下降させる。
モータ駆動部87bは、制御ユニット87aからモータ駆動データD87bを入力し、当該データD87bをデコードしてモータ制御信号S87bを生成する。モータ駆動部87bにはねじりモータ87vが接続される。モータ駆動部87bは、モータ制御信号S87bに基づいてねじりモータ87vを駆動する。ねじりモータ87vが回転すると、図74Bに示したツイストタイねじり機構8が動作して該ツイストタイ2を締結する。
ねじりモータ87v、タグ送りモータ39k及びツイストタイ送りモータ5aにはステッピングモータを使用する。水平モータ4a及び垂直モータ20aにはDCモータを使用する。
制御ユニット87aには上述のモータ駆動部87b〜87dの他に通信部87y、表示部87w及びブザー87xが接続される。通信部87yは袋口扇成形駆動ユニット40に接続され、処理実行信号SS87aを出力する。また、通信部87yは、袋口扇成形駆動ユニット40からタグ取り付け要求信号S41や、袋口扇折込み完了信号S41’を入力する。タグ取り付け要求信号S41は、タグ10を結束部位qに取り付けを要求する信号である。袋口扇折込み完了信号S41’は、袋口扇成形駆動ユニット40における包装体1の袋口扇折込み処理が完了した旨を通知する信号である。また、通信部87yはタグ取り付け駆動ユニット101の経路系に接続され、処理実行信号SS87bを出力する。
表示部87wは表示信号S87wに基づいて文字や映像を表示する。文字や映像は、タグ10やツイストタイ2の補給を促す内容や、エラー発生時のエラー内容等である。表示信号S87wは、制御ユニット87aから表示部87wに出力される。ブザー87xはブザー鳴動信号S87xに基づいて警告音を鳴動する。ブザー鳴動信号S87xは、タグ10やツイストタイの補給を促す場合に制御ユニット87aからブザー87xに出力される。電源部87nは、例えば、DC24Vを制御ユニット87aや、通信部87y、表示部87w、モータ駆動部87b〜87d等に供給する。
図115は、タグ取り付け駆動ユニット101の経路制御系の構成例を示すブロック図である。図115に示す経路系のタグ取り付け駆動ユニット101は制御ユニット88aを有している。制御ユニット88aは図示せずも、ROM(読み出し専用メモリ)やRAM(随時情報の書き込み読み出しメモリ)、HDD(固定磁気ディスク装置)等のメモリと、演算機能を有するCPU(中央演算装置)と、インタフェースとを有して構成される。
制御ユニット88aには、シャッターモータ原点センサ88f、左寄せモータ原点センサ88g、左寄せモータエンドセンサ88h、右寄せモータ原点センサ88i及び右寄せモータエンドセンサ88jが接続される。
左寄せモータ原点センサ88gは透過型のセンサであり、左ウイング部6Lのウイング爪6aの開閉状態及び位置を検知して左寄せモータ原点検知信号S88gを制御ユニット88aへ出力する。
左寄せモータエンドセンサ88hは透過型のセンサであり、左ウイング部6Lのウイング爪6aの開閉状態及び位置を検知して左寄せモータエンド検知信号S88hを制御ユニット88aへ出力する。
右寄せモータ原点センサ88iは透過型のセンサであり、右ウイング部6Rのウイング爪6aの開閉状態及び位置を検知して右寄せモータ原点検知信号S88iを制御ユニット88aへ出力する。
右寄せモータエンドセンサ88jは透過型のセンサであり、右ウイング部6Rのウイング爪6aの開閉状態及び位置を検知して右寄せモータエンド検知信号S88jを制御ユニット87aへ出力する。
シャッターモータ原点センサ88fは透過型のセンサであり、図1に示したシャッター機構89のシャッタープレートの停止位置を検知してシャッターモータ原点検知信号S88fを制御ユニット88aへ出力する。制御ユニット88aには上述のセンサ88f〜88jの他に、3つのモータ駆動部88b〜88dが接続される。
モータ駆動部88cは、制御ユニット88aからモータ駆動データD88cを入力し、当該データD88cをデコードしてモータ制御信号S88cを生成する。モータ駆動部88cには左寄せモータ6uが接続される。モータ駆動部88cは、モータ制御信号S88cに基づいて左寄せモータ6uを駆動する。左寄せモータ6uが回転すると、図70A及びBに示した左ウイング部6Lが動作してウイング爪6aを開閉させると共に該ウイング爪6aの位置を移動させる。
モータ駆動部88dは、制御ユニット88aからモータ駆動データD88dを入力し、当該データD88dをデコードしてモータ制御信号S88dを生成する。モータ駆動部88dには右寄せモータ6hが接続される。モータ駆動部88dは、モータ制御信号S88dに基づいて右寄せモータ6hを駆動する。右寄せモータ6hが回転すると、図69A及びBに示した右ウイング部6Rが動作してウイング爪6aを開閉させると共に該ウイング爪6aの位置を移動させる。
モータ駆動部88bは、制御ユニット88aからモータ駆動データD88bを入力し、当該データD88bをデコードしてモータ制御信号S88bを生成する。モータ駆動部88bにはシャッターモータ88eが接続される。モータ駆動部88bは、モータ制御信号S88bに基づいてシャッターモータ88eを駆動する。シャッターモータ88eが回転すると、図1の載置台81aと載置台81bの間に設けられたシャッター機構89の不図示のシャッタープレートが開閉する。シャッターモータ88eにはステッピングモータを使用し、左寄せモータ6u及び右寄せモータ6hにはDCモータを使用する。
制御ユニット88aには上述のモータ駆動部88b〜88dの他に通信部88y、表示部88w及びブザー88xが接続される。通信部88yはタグ取り付け駆動ユニット101の搬送系に接続され、経路準備完了信号SS88や、ツイストタイ成形完了信号SS88’を出力する。経路準備完了信号SS88は、ツイストタイ2が挿通する経路が完了したことを示す信号である。ツイストタイ成形完了信号SS88’は、ツイストタイ2をU字形状に成形したことを示す信号である。
表示部88wは表示信号S88wに基づいて文字や映像を表示する。文字や映像は、タグ10やツイストタイ2の補給を促す内容や、エラー発生時のエラー内容等である。表示信号S88wは、制御ユニット88aから表示部88wに出力される。ブザー88xはブザー鳴動信号S88xに基づいて警告音を鳴動する。ブザー鳴動信号S88xは、タグ10やツイストタイの補給を促す場合に制御ユニット88aからブザー88xに出力される。電源部88nは、例えば、DC24Vを制御ユニット88aや、通信部88y、表示部88w、モータ駆動部88b〜88d等に供給する。
続いて、タグ取り付け駆動ユニット101における搬送及び経路における制御系の動作例について説明する。図116A〜Qは、タグ取り付け駆動ユニット101の搬送系における動作例を示し、図117A〜Iは、タグ取り付け駆動ユニット101の経路系における動作例を示すタイムチャートである。タイムスケールは、基準クロック信号CLKにより設定される時刻tを示している。この実施例のタイムチャートは、包装体1を袋挿入方向Iから見た袋挿入口に挿入し、図116A及び図117Aに示すタイムスケールにおける時刻t1でスタート用のスイッチ90がオンされると、制御ユニット87aは操作部87zからスイッチオン信号SS9を入力して動作を開始する。
制御ユニット87aは、図116C及びEに示す時刻t2で、扇成形駆動ユニット40の制御ユニット50に処理実行信号SS87aを出力し、タグ取り付け駆動ユニット101の経路系に処理実行信号SS87bを出力する。
経路系の制御ユニット88aは、この処理実行信号SS87bを入力すると、図117B及びEに示す時刻t3で、モータ制御信号S88c、S88dにより左寄せモータ6u及び右寄せモータ6hをCCW(反時計回り)方向に回転する。左寄せモータ6u及び右寄せモータ6hがCCW回転すると、図73Aに示したようにウイング爪6aが閉じる。
制御ユニット88aは、図117Dに示す時刻t4で、左寄せモータエンドセンサ88hから「H」レベルの左寄せモータエンド検知信号S88hを入力して左寄せモータ6uの駆動を停止する。また、制御ユニット88aは、図117Gに示す時刻t4で右寄せモータエンドセンサ88jから「H」レベルの右寄せモータエンド検知信号S88jを入力して右寄せモータ6hの駆動を停止し、経路準備完了信号SS88を搬送系の制御ユニット87aに出力する。
また、経路系の制御ユニット88aは、この経路準備完了信号SS88を出力した時刻t4から400ms経過後の図117Hに示す時刻t5で、モータ制御信号S88bによりシャッターモータ88eをCCW方向に例えば500ステップだけ回転する。シャッターモータ88eがCCW回転すると、図1に示した載置台81aと載置台81bの間に設けられた不図示のシャッター機構89のシャッタープレートが開く。
搬送系の制御ユニット87aは経路系の制御ユニット88aから経路準備完了信号SS88を入力後、図116Iに示す時刻t5でツイストタイ送りモータ5aをモータ制御信号S87dによりCW(時計周り)方向に例えば470ステップだけ駆動する。ツイストタイ送りモータ5aが回転すると、図102に示したツイストタイ送り機構5が動作してツイストタイ2をボビン58から引き出す。
制御ユニット87aはツイストタイ2をボビン58から引き出し完了と共に、袋口扇成形駆動ユニット40の制御ユニット50からタグ取り付け要求信号S41を入力する。その後、図116Jに示す時刻t7で、制御ユニット87aはモータ制御信号S87fにより垂直モータ20aをCCW方向に駆動する。垂直モータ20aが回転すると、図81Bに示したように上昇−下降機構20が動作してタグ搬送機構4及びツイストタイセット機構6が上昇する。
制御ユニット87aは、図116Lに示す時刻t10で垂直モータエンドセンサ87uから「H」レベルの垂直モータエンド検出信号S87uを入力して垂直モータ20aの駆動を停止する。
このとき、制御ユニット87aは、図116Jに示す垂直モータ20aをCCW方向に駆動してから例えば200ms後にツイストタイ送りモータ5aをCCW方向に例えば100ステップ駆動する。これにより、図102に示したツイストタイ送り機構5が動作してツイストタイ2を引き戻す。これは、ツイストタイ送り機構5は上昇及び下降しないため、ツイストタイセット機構6が下降した時に、このツイストタイセット機構6に送り出されたツイストタイ2が変形するのを防ぐためである。このように、ツイストタイセット機構6の下降と共にツイストタイ2を引き戻す。
制御ユニット87aは、図116Lに示す時刻t10で、ツイストタイセット機構6の下降を示す「H」レベルの垂直モータエンド検出信号S87uを入力すると、経路系の制御ユニット88aに処理実行信号SS87bを出力する。
制御ユニット88aはこの処理実行信号SS87bを入力すると、図117Bに示す時刻t11でモータ制御信号S88cにより左寄せモータ6uをCW方向に駆動する。また、図117Eに示す時刻t11でモータ制御信号S88dにより右寄せモータ6hをCW方向に駆動する。左寄せモータ6u及び右寄せモータ6hがCW回転すると、図73Bに示したようにウイング爪6aが切断されたツイストタイ2を持ち上げる。
制御ユニット88aは、図117Cに示す時刻t12で、左寄せモータ原点センサ88tから「H」レベルの左寄せモータエンド検知信号S88hを入力して左寄せモータ6uの駆動を停止する。また、制御ユニット88aは、図117Fに示す時刻t12で右寄せモータ原点センサ88iから「H」レベルの右寄せモータ原点検知信号S88iを入力して右寄せモータ6hの駆動を停止する。
制御ユニット88aは、図117Cに示す時刻t13で、左寄せモータ6uをCCW方向に駆動する。また、制御ユニット88aは、図117Fに示す時刻t14で右寄せモータ6hをCCW方向に駆動する。左寄せモータ6u及び右寄せモータ6hがCCW回転すると、図73Cに示したようにウイング爪6aが切断されたツイストタイ2をU字形状に成形する。
制御ユニット88aは、図117Dに示す時刻t14で、左寄せモータエンドセンサ88hから「H」レベルの左寄せモータエンド検知信号S88hを入力して左寄せモータ6uの駆動を停止する。また、制御ユニット88aは、図117Gに示す時刻t15で右寄せモータエンドセンサ88jから「H」レベルの右寄せモータエンド検知信号S88jを入力して右寄せモータ6hの駆動を停止する。その後、制御ユニット88aは、搬送系の制御ユニット87aにツイストタイ成形完了信号SS88’を出力する。
制御ユニット87aは、ツイストタイ成形完了信号SS88’を入力すると、図116Pに示すツイストタイ2のねじりモータ87vをモータ制御信号S87bによりCCW方向に例えば500ステップだけ駆動する。ねじりモータ87vを回転すると、図74に示すS字部材8aが回転してツイストタイ2を締結する。
制御ユニット88aは、図116Qに示す時刻t19で、ツイストタイねじり原点センサ87pから「H」レベルのねじり回転検知信号S87pを入力してねじりモータ87vの駆動を停止する。
経路系の制御ユニット88aは、図117Dに示す時刻t18で、左寄せモータ6uをCW方向に駆動する。また、制御ユニット88aは、図117Gに示す時刻t18で右寄せモータ6hをCW方向に駆動する。左寄せモータ6u及び右寄せモータ6hがCW回転すると、図75Aに示したようにウイング爪6aが初期位置に戻る。
制御ユニット88aは、図117Cに示す時刻t19で、左寄せモータ原点センサ88tから「H」レベルの左寄せモータ原点検知信号S88gを入力して左寄せモータ6uの駆動を停止する。また、制御ユニット88aは、図117Fに示す時刻t19で右寄せモータ原点センサ88iから「H」レベルの右寄せモータ原点検知信号S88iを入力して右寄せモータ6hの駆動を停止する。
制御ユニット87aは、図116Lに示す時刻t20で垂直モータ20aをCW方向に駆動する。垂直モータ20aがCW方向に回転すると、図81Aに示したように上昇−下降機構20が動作してタグ搬送機構4及びツイストタイセット機構6が下降する。
また、制御ユニット87aは、図116Oに示す時刻t20で水平モータ4aをCW方向に駆動する。水平モータ4aがCW方向に回転すると、図53Aに示したようにタグ搬送機構4は、タグフック43を後退させる。
また、制御ユニット87aは、図116Iに示す時刻t20でツイストタイ送りモータ5aをモータ制御信号S87dによりCCW方向に例えば270ステップだけ駆動する。ツイストタイ送りモータ5aがCCW回転すると、図102に示したツイストタイ送り機構5が動作してツイストタイ2を引き戻す。また、制御ユニット87aは、袋口扇成形駆動ユニット40の制御ユニット50に対して、初期状態に復帰することを示す処理実行信号SS87aを出力する。
制御ユニット87aは、図116Bに示す時刻t28でスイッチオン信号SS9がオフされていることを確認する。制御ユニット87aは、図116Eに示す時刻t29で、経路系の制御ユニット88aにシャッターを閉じることを示す処理実行信号SS87bを出力する。また、制御ユニット87aは、図116Gに示す時刻t29で、モータ制御信号S87cによりタグ送りモータ39kをCCW方向に駆動する。タグ送りモータ39kが回転すると、図58に示したタグ繰り出し機構3が動作してタグ10をカートリッジ17から1枚だけ繰り出す。
制御ユニット87aは、図116Hに示す時刻t30で、タグセンサ87qからタグ検知信号S87qを入力してタグ送りモータ39kの駆動を停止する。これにより、図59Aに示したように、繰り出されたタグ10がタグフック43に係止された状態で停止する。
制御ユニット87aは、図116Iに示す時刻t30でモータ制御信号S87dによりツイストタイ送りモータ5aをCW方向に例えば300ステップだけ駆動する。ツイストタイ送りモータ5aが回転すると、図102に示したツイストタイ送り機構5が動作してツイストタイ2をボビン58から引き出す。
また、制御ユニット87aは、図116Mに示す時刻t30でモータ制御信号S87eにより水平モータ4aをCCW方向に駆動する。水平モータ4aがCCW方向に回転すると、図56Aに示したようにタグ搬送機構4は、タグフック43を前進させる。このとき、タグフック43の爪部43aにはタグ10の凹部10eが引っ掛けられる。
経路系の制御ユニット88aは、図117Hに示す時刻t30でモータ制御信号S88bによりシャッターモータ88eをCW方向に駆動する。シャッターモータ88eを回転すると、図1に示した載置台81aと載置台81bの間に設けられた不図示のシャッター機構89のシャッタープレートが閉じる。
図118は、袋口扇折込みタグ結束装置100の動作例を示すフローチャートである。図118に示すステップST1で、袋口扇折込みタグ結束装置100の電源をONにしてステップST2に移行する。
ステップST2では、ツイストタイ2をタグ取り付け駆動ユニット101にセットする。例えば、ボビン58からツイストタイ2を引き出して、図102Aに示した送りローレット5mと送りローラ5kの間に挿通してトグルクランプ機構5cにより挟み込む。そして、図114に示した操作部87zのツイストタイセットスイッチをONにしてツイストタイ2を結束位置まで送り出してステップST3に移行する。
ステップST3では、タグ10を装置にセットする。例えば、タグ10が装填されたカートリッジ17をカートリッジセット部26に装着して操作部87zのタグセットスイッチをONにする。これにより、カートリッジ17のタグ10をタグ繰り出し機構3及びタグ搬送機構4により送り出す。続いてステップST4に移行する。
ステップST4で、図1に示したテーブル81の所定の位置に設けられたスイッチ90が、テーブル81が軽く落とし込まれてスイッチONされた場合、ステップST5及びステップST6に移行する。
ステップST5で、袋口扇成形駆動ユニット40の制御ユニット50は、スイッチオン信号SS9を入力して包装体を集束する。例えば、不図示の垂直モータ58aを駆動して山折り機構60を有した上部フレーム11a,11bを閉じる。また、図3に示した扇左モータ59aが回転することで、図38の下部アーム72aを縮閉すると共に上部アーム62aを縮閉動作する。更に、扇右モータ59bが回転することで、図38の下部アーム72bを縮閉すると共に上部アーム62bを縮閉動作してステップST9に移行する。
また、ステップST6で、タグ取り付け駆動ユニット101は、タグ10にツイストタイ2を送る経路を確保する。例えば、図71Bに示したように、右ウイング部6R及び左ウイング部6Lのウイング爪6aを閉じてタグ10を押さえ込んでステップST7、ST8に移行する。
ステップST7で、タグ10にツイストタイ2を通す。例えば、ツイストタイ送り機構5は、ツイストタイ送りモータ5aを駆動してツイストタイ2をボビン58から引き出して送り出す。
また、ステップST8で、タグ10を取り出すためのシャッター機構89のシャッタープレートを開ける。例えば、図115に示したシャッターモータ88eを駆動して、図1に示した載置台81aと載置台81bの間に設けられたシャッター機構89のシャッタープレートを開ける。ステップST7、ST8の終了後ステップST9に移行する。
ステップST9で、ツイストタイ2をカットする。例えば、図79に示した上昇−下降機構20は、垂直モータ20aを駆動してタグ搬送機構4及びツイストタイセット機構6を上昇させる。このとき、図78Bに示したツイストタイカット機構7はツイストタイ2を所定長に切断する。また、図47に示したツイストタイ送り機構5は、ツイストタイ送りモータ5aを駆動してツイストタイ2を一旦引き戻す。続いてステップST10に移行する。
ステップST10で、ツイストタイ2を跳ね上げる。例えば、図73A〜Cに示したツイストタイセット機構6は、左寄せモータ6u及び右寄せモータ6hを駆動してツイストタイ2をU字形状に形成してステップST11に移行する。
ステップST11で、ツイストタイ2をねじる。例えば、図74に示したツイストタイねじり機構8は、ねじりモータ87vを駆動してS字部材8aを回転させてツイストタイ2を締結してステップST12に移行する。
ステップST12で、操作者はタグ10を装着した包装体1を装置から取り出す。このとき、図79に示した上昇−下降機構20は、垂直モータ20aを駆動してタグ搬送機構4及びツイストタイセット機構6を下降させる。また、図53に示したタグ搬送機構4は、水平モータ4aを駆動させてタグフック43を後退させる。図47に示したツイストタイ送り機構5は、ツイストタイ送りモータ5aを駆動してツイストタイ2を更に一旦引き戻す。
更に、垂直モータ58aを駆動して山折り機構60を有した上部フレーム11a,11bを開く。また、図3に示した扇左モータ59aが回転することで、図38の下部アーム72aを拡開すると共に上部アーム62aを拡開動作する。扇右モータ59bが回転することで、図38の下部アーム72bを拡開すると共に上部アーム62bを拡開動作する。図75Aに示したツイストタイセット機構6は、左寄せモータ6u及び右寄せモータ6hを駆動してウイング爪6aを初期位置に移動する。続いてステップST13,ST14に移行する。
ステップST13で、タグ10の準備を行う。例えば、図58に示したタグ繰り出し機構3は、タグ送りモータ39kを駆動してタグ10を1枚だけ繰り出す。図63Aに示したタグ搬送機構4は、水平モータ4aを駆動してタグフック43によりタグ10を搬送する。また、ツイストタイ送りモータ5aを駆動してツイストタイ2を待機位置まで送り出す。
更に、ステップST14で、タグ10を取り出すためのシャッター機構89のシャッタープレートを閉める。例えば、図115に示したシャッターモータ88eを駆動して、図1に示した載置台81aと載置台81bの間に設けられたシャッター機構89のシャッタープレートを閉める。ステップST13、ST14の終了後ステップST15に移行して電源がOFFされたか否かを判定し、電源がOFFされていない場合ステップST4に戻る。電源がOFFされた場合は、袋口扇折込みタグ結束処理を終了する。
この発明は、食品、その他の商品等を収納した包装体の袋口を蛇腹状に折り込んで当該袋口を扇形状に成形し、この扇形状の要部となる部位の付近にタグを取り付ける袋口扇折込みタグ結束装置に適用して極めて好適である。
本発明に係る実施形態としての袋口扇折込みタグ結束装置100の構成例を示す斜視図である。 袋口扇折込みタグ結束装置100の構成例(上面)を示す説明図である。 袋口扇成形駆動ユニット40の構成例(その1)を示す斜視図である。 袋口扇成形駆動ユニット40の構成例(その2)を示す上面図である。 袋口扇成形駆動ユニット40の構成例(その3)を示す正面図である。 袋口扇成形駆動ユニット40の構成例(その4)を示す一部分解の斜視図である。 (A)〜(C)は、袋口扇折込みタグ結束装置100の機能の一例を示す工程図である。 (A)〜(C)は、袋口扇折込みタグ結束装置100における袋口扇折込原理を示す説明図である。 包装体1におけるタグ10の結束例を示す正面図である。 袋口扇折込みタグ結束装置100の構成例(側面)を示す側面図である。 包装体1における袋口扇折込みタグ取付例(その1)を示す説明図である。 包装体1における袋口扇折込みタグ取付例(その2)を示す説明図である。 包装体1における袋口扇折込みタグ取付例(その3)を示す説明図である。 包装体1’における袋口扇折込みタグ取付例(その1)を示す説明図である。 包装体1’における袋口扇折込みタグ取付例(その2)を示す説明図である。 (A)及び(B)は、袋口扇折込みタグ取付時の包装体1’の載置例を示す説明図である。 載置台81a,81bの変形例を示す説明図である。 袋口扇折込みタグ結束装置100における部品連結機構66(66a,66b)の配置例を示す斜視図である。 袋口扇成形駆動ユニット40におけるフレーム拡開時の動作例を示す左側面図である。 クランク駆動機構41によるフレーム縮閉時の動作例を示す左側面図である。 (A)及び(B)は、上部アーム62a,62bと下部アーム72a,72bとの間のねじれ現象例を示す簡略モデルの斜視図である。 袋口扇成形駆動ユニット40における部品連結機構66(66a,66b)の動作例(その1)を示す斜視図である。 袋口扇成形駆動ユニット40の状態例を示す上面図である。 部品連結機構66(66a,66b)の状態例を示す斜視図である。 部品連結機構66bの状態例を示す拡大斜視図である。 袋口扇成形駆動ユニット40における部品連結機構66(66a,66b)のフレーム閉−アーム開時の状態例を示す斜視図である。 袋口扇成形駆動ユニット40における部品連結機構66(66a,66b)のフレーム閉−アーム閉時の状態例を示す斜視図である。 袋口扇成形駆動ユニット40における部品連結機構66(66a,66b)のフレーム閉−アーム開時の状態例を示す斜視図である。 袋口扇成形駆動ユニット40における部品連結機構66(66a,66b)のフレーム開−アーム閉時の状態例を示す斜視図である。 クランク駆動機構42a,42bにおけるクランクギヤ逆止機構57a,57bの配置例を示す袋口扇成形駆動ユニット40の上面図である。 クランクアーム56aの下死点Ldの設定例を示すクランク駆動機構42aの上面図である。 クランクギヤ逆止機構57aの構成例を示す断面図である。 クランクギヤ逆止機構57aの取付例を示す斜視図である。 クランクアーム56aの上死点Luの設定例を示す上面図である。 (A)及び(B)は、クランクアーム56a等の動作停止範囲の設定例を示す説明図である。 袋口扇成形駆動ユニット40の動作例(その1)を示す上面図である。 クランクギヤ逆止機構57aの動作例(80°)を示す拡大図である。 袋口扇成形駆動ユニット40の動作例(その2)を示す上面図である。 クランクギヤ逆止機構57aの動作例(160°)を示す拡大図である。 比較例としての袋口扇成形駆動ユニット40の動作例(逆止無し:その1)を示す上面図である。 比較例としての袋口扇成形駆動ユニット40の動作例(逆止無し:その2)を示す上面図である。 クランク駆動機構42aにおける上死点からずれたクランクアーム56aの状態例を示す拡大図である。 変形例としてのクランクギヤ逆止機構57a’等の配置例を示す袋口扇成形駆動ユニット40の斜視図である。 アーム開閉センサの配置例を示す袋口扇成形駆動ユニット40の拡大斜視図である。 袋口扇成形駆動ユニット40の制御系の構成例を示すブロック図である。 (A)〜(L)は、袋口扇成形駆動ユニット40における制御系の動作例を示すタイムチャートである。 タグ取り付け駆動ユニット101の構成例を示す斜視図である。 (A)及び(B)は、包装体1の結束処理例を示す斜視図である。 タグ10の構成例を示す説明図である。 ツイストタイ2の構成例を示す斜視図である。 タグ繰り出し機構3の構成例を示す斜視図である。 (A)〜(D)は、タグ繰り出し機構3の動作例を示す概略図である。 (A)及び(B)は、タグ搬送機構4の構成例を示す説明図である。 タグ搬送機構4の要部の構成例を示す断面図である。 タグフック43の構成例を示す斜視図である。 (A)及び(B)は、タグ搬送機構4の動作例を示す説明図である。 タグ搬送機構4の要部の動作例を示す断面図である。 タグ繰り出し機構3及びタグ搬送機構4の動作例(その1)を示す斜視図である。 (A)〜(C)は、タグ繰り出し機構3の要部の動作例(その1)を示す説明図である。 タグ繰り出し機構3及びタグ搬送機構4の動作例(その2)を示す斜視図である。 タグ搬送機構4の要部の動作例(その2)を示す説明図である。 タグ繰り出し機構3及びタグ搬送機構4の動作例(その3)を示す斜視図である。 (A)〜(C)は、タグ搬送機構4の要部の動作例(その3)を示す説明図である。 ツイストタイセット機構6の構成例を示す全体の斜視図である。 ツイストタイセット機構6の要部の構成例(その1)を示す斜視図である。 ツイストタイセット機構6の要部の構成例(その2)を示す斜視図である。 (A)及び(B)は、ウイング爪6a及びウイングベース6bの動作例を示す斜視図である。 A及びBは、ウイング爪6a及びウイングベース6bの動作例を示す側面図である。 (A)及び(B)は、右ウイング部6Rのウイングクローザ6cの駆動機構の構成例を示す斜視図である。 (A)及び(B)は、左ウイング部6Lのウイングクローザ6cの駆動機構の構成例を示す斜視図である。 (A)及び(B)は、ツイストタイセット機構6によるタグ10の押さえ込み例を示す斜視図である。 ツイストタイセット機構6及びタグ搬送機構4の上昇例を示す斜視図である。 (A)〜(C)は、ツイストタイセット機構6の動作例を示す断面図である。 (A)及び(B)は、ツイストタイねじり機構8の動作例を示す説明図である。 (A)及び(B)は、ツイストタイセット機構6の動作例を示す断面図である。 ツイストタイカット機構7の要部の構成例を示す斜視図である。 刃本体7aの構成例を示す斜視図である。 (A)及び(B)は、ツイストタイカット機構7の動作例を示す断面図である。 上昇−下降機構20の構成例(その1)を示す斜視図である。 上昇−下降機構20の構成例(その2)を示す斜視図である。 (A)及び(B)は、上昇−下降機構20の構成例及び動作例を示す側面図である。 (A)及び(B)は、カートリッジ17の装着例を示す斜視図である。 カートリッジ17の構成例を示す斜視図である。 (A)及び(B)は、カートリッジ17の構成例を示す説明図である。 カートリッジ17の機能例を示す斜視図である。 (A)及び(B)は、カートリッジ17の機能例を示す説明図である。 プッシャ17c及びガイドロッド17bの構成例を示す斜視図である。 プッシャ17c及びガイドロッド17bの構成例を示す側面図である。 プッシャ17c及びガイドロッド17bの構成例を示す背面図である。 ガイドロッド17bの機能例を示す上面図である。 カートリッジ17のプッシャロック機構17mの構成例を示す図84AのH4−H4矢視断面図である。 カートリッジ17の構成例を示す底面側の斜視図である。 (A)及び(B)は、プッシャ17cのプレート17qの構成例を示す説明図である。 カートリッジセット部26の要部の構成例を示す斜視図である。 (A)及び(B)は、カートリッジセット部26の要部の機能例(その1)を示す斜視図及び側面図である。 (A)及び(B)は、カートリッジセット部26の要部の機能例(その2)を示す斜視図及び側面図である。 (A)及び(B)はガイドロッド84aの構成例を示す側面図である。 (A)及び(B)はガイドロッド84bの構成例を示す側面図である。 (A)及び(B)はガイドロッド84cの構成例を示す側面図である。 (A)及び(B)は、他のカートリッジ17Bの要部の構成例を示す斜視図である。 (A)及び(B)は、カートリッジ17Bの要部の使用例を示す斜視図である。 ツイストタイ送り機構5の構成例を示す斜視図である。 (A)及び(B)は、ツイストタイ送り機構5の構成例を示す側面及び背面図である。 (A)及び(B)は、ツイストタイ送り機構5の内部の構成例を示す側面及び背面図である。 (A)及び(B)は、ツイストタイ送り機構5の動作例を示す側面及び背面図である。 送りローラ5k及び送りローレット5mの構成例を示す斜視図である。 (A)及び(B)は、圧縮バネ5fの長さの一例を示す模式図である。 せん断式のカッター82の構成例を示す斜視図である。 (A)及び(B)は、せん断式のカッター82の構成例及び動作例を示す拡大図である。 せん断機構83cの構成例(その1)を示す斜視図である。 (A)及び(B)は、せん断機構83cの構成例(その2)を示す断面図である。 せん断機構83cの動作例(その1)を示す斜視図である。 (A)及び(B)は、せん断機構83cの動作例(その2)を示す断面図である。 タグ取り付け駆動ユニット101の搬送制御系の構成例を示すブロック図である。 タグ取り付け駆動ユニット101の経路制御系の構成例を示すブロック図である。 (A)〜(Q)は、タグ取り付け駆動ユニット101の搬送系における動作例を示すタイムチャートである。 (A)〜(I)は、タグ取り付け駆動ユニット101の経路系における動作例を示すタイムチャートである。 袋口扇折込みタグ結束装置100の動作例を示すフローチャートである。
符号の説明
1・・・包装体、2・・・ツイストタイ、3・・・タグ繰り出し機構、4・・・タグ搬送機構、4a・・・水平モータ、4b・・・台形ネジ(移動手段、ボールネジ)、4c・・・タグフックシャフト(姿勢維持部材)、4d・・・ナット、4g・・・ガイドロッド(ガイド部材)、5・・・ツイストタイ送り機構(結束具送り機構)、5a・・・ツイストタイ送りモータ(結束具送りモータ)、5b・・・ガイドローラ、5c・・・トグルクランプ機構(クランプ機構)、5j・・・操作部、5x・・・リンク部材、5i・・・バネ座(支持台)、5f・・・圧縮バネ(付勢部材)、5k・・・送りローラ(従動ローラ)、5m・・・送りローレット(駆動ローラ)、5q・・・レバー、5r・・・ピン(第1の軸部材)、6・・・ツイストタイセット機構、6R・・・右ウイング部、6L・・・左ウイング部、6a・・・ウイング爪(爪部材)、6b・・・ウイングベース(ベース部材)、6c・・・ウイングクローザ(クローザ部材)、6e・・・リリースピン(リリース部材)、6g・・・引張りバネ(付勢部材)、6h・・・右寄せモータ、6i・・・長方開口部(嵌合部)、6k・・・ウイングアーム軸(アーム軸部材)、6n・・・台形ネジ、6u・・・左寄せモータ、6s・・・孔係合ピン(孔係合軸部材)、6v・・・突起片、7・・・ツイストタイカット機構(結束具カット機構)、7a・・・刃本体、8・・・ツイストタイねじり機構(結束具ねじり機構)、8a・・・S字部材、10・・・タグ、10a・・・情報提示部、10b・・・連結部、10c・・・装着部、10d・・・取付孔、10e・・・凹部(係止部)、11a,11b・・・上部フレーム(第1の枠部材)、12a,12b・・・上部補強部材、13a,13b・・・回転軸受け部、14a,14b,19a,19b,19c,19d・・・軸部取付部材、15a,15b,25a,25b、64a,64b,65a,65b,74a,74b,75a,75b・・・開口部、16a,16b,18a,18b,23a,23b,78a,78b・・・支軸、17・・・カートリッジ、17b・・・ガイドロッド、17c・・・プッシャ、17m・・・プッシャロック機構、17n・・・斜面部、17w・・・ロック爪、17z・・・プッシャロック軸(ロック軸部材)、20・・・上昇−下降機構、20a・・・垂直モータ、20b・・・台形ネジ、20i,20j・・・垂直ガイドローラ、21a,21b・・・下部フレーム(第2の枠部材)、22a,22b・・・下部補強部材、24a,24b・・・止め部材、26・・・カートリッジセット部、26b・・・解除レバー、26e・・・板金(抜止部材)、31a〜34a・・・脚部、35a,35b・・・基礎補強部材、36a・・・左上部シャーシ、36b・・・左下部シャーシ、36c,36d・・・ガイド孔、37a・・・右上部シャーシ、37b・・・右下部シャーシ、39a・・・ピックアップローラ、39b・・・フィードローラ、39c・・・ブレーキローラ、39k・・・タグ送りモータ、40・・・袋口扇成形駆動ユニット、42a,42b・・・クランク駆動機構、43・・・タグフック、43a・・・爪部(引掛部)、45・・・カールガイド、48b・・・引っ張りバネ(付勢部材)、48f・・・スイッチプレート、48m・・・切り欠き部(嵌合部)、50・・・制御ユニット、51a・・・垂直原点センサ、51b・・・垂直エンドセンサ、52a・・・左モータ原点センサ、52b・・・左モータエンドセンサ、53a・・・右モータ原点センサ、53b・・・右モータエンドセンサ、54a・・・クランクギヤ、54b・・・クランクアーム、54c・・・垂直プレート、54d・・・モータギヤ、55a,55b・・・クランクギヤ、55c,55d・・・モータギヤ、56a,56b・・・クランクアーム、57a,57b・・・クランクギヤ逆止機構、58・・・ボビン、58a・・・垂直モータ、59a・・・扇左モータ、59b・・・扇右モータ、60・・・山折り機構(第1の折り機構)、61a,61b・・・上部ガイドレール(案内部材)、62a,62b・・・上部アーム、63・・・上部帯体、66(66a,66b)・・・部品連結機構、67a,67b・・・ロッド受け部、68a,68b・・・ロッド係合ピン、69a,69b・・・軸部、70・・・谷折り機構(第1の折り機構)、71a,71b・・・下部ガイドレール(案内部材)、72a,72b・・・下部アーム、73・・・下部帯体、77a,77b・・・回転軸部、81・・・テーブル(載置部材)、81a,81b・・・載置台、81c・・・袋ストッパ、87z,901・・・操作部、90・・・スイッチ、100・・・袋口扇折込みタグ結束装置(袋口扇折込装置)、101・・・タグ取り付け駆動ユニット(タグ取り付け装置)、102・・・プロセス架台、103・・・ベース部材、104・・・結合処理ユニット、105・・・電源部、106・・・通信部、107・・・表示部、108・・・ソレノイド、110〜112・・・モータ駆動部、571,572・・・逆止ギヤ、574・・・ワンウェイクラッチ、661,662・・・連結ロッド、665,666・・・球面コロ軸受け部材

Claims (6)

  1. 袋挿入口を有して包装体の袋口を蛇腹状に折り込んで当該袋口を扇形状に成形する袋口扇折込機構及び、前記袋口扇折込機構の袋挿入口側に設けられて前記蛇腹状に折り込まれた前記包装体の袋口にタグを取り付けるタグ取り付け機構を有した結合処理ユニットと、
    当該装置の設置面に対し所定の角度を有して前記結合処理ユニットを斜めに支持する支持部材とを備えたことを特徴とする袋口扇折込みタグ結束装置。
  2. 前記袋口扇折込機構の袋挿入口を見通せる部位であって、前記タグ取り付け機構の上方に載置部材を備え、
    所定の形状を有して前記載置部材に対し脱着かつ移動可能となされた載置台が設けられ、
    前記載置台は、
    前記包装体を前記当該装置の前記設置面とほぼ並行となる姿勢に維持する傾斜面を有することを特徴とする請求項1に記載の袋口扇折込みタグ結束装置。
  3. 前記載置台の傾斜面は、
    前記当該装置の前記設置面と並行する基準面から傾斜角度Δθだけ前記タグ取り付け機構の側に傾斜していることを特徴とする請求項2に記載の袋口扇折込みタグ結束装置。
  4. 前記載置台の傾斜面の後端部に受け止め部材が設けられ、
    前記載置台に載置された包装体を受け止めるようにしたことを特徴とする請求項3に記載の袋口扇折込みタグ結束装置。
  5. 前記支持部材は、
    前記袋口扇折込機構が前記タグ取り付け機構よりも上方側に位置するように前記結合処理ユニットを斜めに支持することを特徴とする請求項1に記載の袋口扇折込みタグ結束装置。
  6. 前記袋口扇折込機構の袋挿入口を見通せる部位であって、
    前記タグ取り付け機構の上方に載置部材を備え、
    前記載置部材の後端部に受け止め部材が設けられ、
    前記載置部材に載置された包装体を受け止めるようにしたことを特徴とする請求項5に記載の袋口扇折込みタグ結束装置。
JP2008212262A 2008-08-20 2008-08-20 袋口扇折込みタグ結束装置 Expired - Fee Related JP5045607B2 (ja)

Priority Applications (1)

Application Number Priority Date Filing Date Title
JP2008212262A JP5045607B2 (ja) 2008-08-20 2008-08-20 袋口扇折込みタグ結束装置

Applications Claiming Priority (1)

Application Number Priority Date Filing Date Title
JP2008212262A JP5045607B2 (ja) 2008-08-20 2008-08-20 袋口扇折込みタグ結束装置

Publications (2)

Publication Number Publication Date
JP2010047273A true JP2010047273A (ja) 2010-03-04
JP5045607B2 JP5045607B2 (ja) 2012-10-10

Family

ID=42064727

Family Applications (1)

Application Number Title Priority Date Filing Date
JP2008212262A Expired - Fee Related JP5045607B2 (ja) 2008-08-20 2008-08-20 袋口扇折込みタグ結束装置

Country Status (1)

Country Link
JP (1) JP5045607B2 (ja)

Also Published As

Publication number Publication date
JP5045607B2 (ja) 2012-10-10

Similar Documents

Publication Publication Date Title
JP2010047278A (ja) 袋口扇折込装置及び部品連結機構
US6913181B2 (en) Stapler cartridge and stapler apparatus comprising the same
TWI784268B (zh) 捆紮工具
JP5218206B2 (ja) 結束機及びその制御方法ならびに結束機に装着可能な巻付け具及び巻付け具制動装置
JP5056670B2 (ja) 結束装置
JP4784579B2 (ja) タグの結束機及びその結束方法
TW316885B (ja)
CN111688969A (zh) 捆扎机
JP5062096B2 (ja) タグ取り付け装置
JP5045609B2 (ja) タグ取り付け装置
JP5045607B2 (ja) 袋口扇折込みタグ結束装置
JP5045608B2 (ja) タグ取り付け装置
JP2010047279A (ja) 袋口扇折込装置
JP2019135193A (ja) 自動フィーダスタック管理のシステム及び方法
US7326166B2 (en) Method and apparatus for folding sheets of paper
JP2003512256A (ja) 可撓性物品のスタックの堆積
JP4562099B2 (ja) つかみ代形成粘着テープ切断装置
JP2009103621A (ja) 開缶力測定装置及び開缶力測定方法
JP4978151B2 (ja) 結束機
JP5003715B2 (ja) 結束機
JP4978149B2 (ja) 結束機
JP4978150B2 (ja) 結束機
JP3060026B2 (ja) 封筒自動封緘装置
JP3060028B2 (ja) 封筒自動封緘装置
WO2008047922A1 (fr) Fardeleuse

Legal Events

Date Code Title Description
A621 Written request for application examination

Free format text: JAPANESE INTERMEDIATE CODE: A621

Effective date: 20100922

RD02 Notification of acceptance of power of attorney

Free format text: JAPANESE INTERMEDIATE CODE: A7422

Effective date: 20110913

A977 Report on retrieval

Free format text: JAPANESE INTERMEDIATE CODE: A971007

Effective date: 20120607

TRDD Decision of grant or rejection written
A01 Written decision to grant a patent or to grant a registration (utility model)

Free format text: JAPANESE INTERMEDIATE CODE: A01

Effective date: 20120619

A01 Written decision to grant a patent or to grant a registration (utility model)

Free format text: JAPANESE INTERMEDIATE CODE: A01

A61 First payment of annual fees (during grant procedure)

Free format text: JAPANESE INTERMEDIATE CODE: A61

Effective date: 20120702

FPAY Renewal fee payment (event date is renewal date of database)

Free format text: PAYMENT UNTIL: 20150727

Year of fee payment: 3

R150 Certificate of patent or registration of utility model

Ref document number: 5045607

Country of ref document: JP

Free format text: JAPANESE INTERMEDIATE CODE: R150

Free format text: JAPANESE INTERMEDIATE CODE: R150

LAPS Cancellation because of no payment of annual fees