JP2010044800A - 電子機器 - Google Patents

電子機器 Download PDF

Info

Publication number
JP2010044800A
JP2010044800A JP2009269102A JP2009269102A JP2010044800A JP 2010044800 A JP2010044800 A JP 2010044800A JP 2009269102 A JP2009269102 A JP 2009269102A JP 2009269102 A JP2009269102 A JP 2009269102A JP 2010044800 A JP2010044800 A JP 2010044800A
Authority
JP
Japan
Prior art keywords
terminal
wiring
electronic device
support substrate
housing
Prior art date
Legal status (The legal status is an assumption and is not a legal conclusion. Google has not performed a legal analysis and makes no representation as to the accuracy of the status listed.)
Granted
Application number
JP2009269102A
Other languages
English (en)
Other versions
JP4856234B2 (ja
Inventor
Koichiro Takeguchi
浩一朗 竹口
Shigeo Hayashi
繁男 林
Current Assignee (The listed assignees may be inaccurate. Google has not performed a legal analysis and makes no representation or warranty as to the accuracy of the list.)
Toshiba Corp
Original Assignee
Toshiba Corp
Priority date (The priority date is an assumption and is not a legal conclusion. Google has not performed a legal analysis and makes no representation as to the accuracy of the date listed.)
Filing date
Publication date
Application filed by Toshiba Corp filed Critical Toshiba Corp
Priority to JP2009269102A priority Critical patent/JP4856234B2/ja
Publication of JP2010044800A publication Critical patent/JP2010044800A/ja
Application granted granted Critical
Publication of JP4856234B2 publication Critical patent/JP4856234B2/ja
Active legal-status Critical Current
Anticipated expiration legal-status Critical

Links

Images

Landscapes

  • Telephone Set Structure (AREA)

Abstract

【課題】取り扱い時に加わる衝撃や応力など様々な要因で離脱した部材が筐体内部で遊離する範囲を制限することができる電子機器を提供する。
【解決手段】本発明に係る電子機器は、メイン基板などが付設された第1の筐体と、第1の筐体と一体的に電子機器の外枠を構成する第2の筐体20を備える。第2の筐体20は、少なくとも、内側面の一部に沿ってパターン印刷された複数の配線としてのアンテナ群21を有する。アンテナ群21に対向する位置には端子部が設けられる。端子部は、端子支持基板と、端子支持基板の第2の筐体20と対向する面に半田付けにより固着して設けられた複数の端子と、防護部などを有する。防護部は、端子支持基板の第2の筐体20と対向する面上に、複数の端子の周りを囲むように配設される。端子支持基板および防護部は、防護部と第2の筐体20の内側面との離間距離が、各端子が通ることができない距離となるよう構成される。
【選択図】 図2

Description

本発明は、筐体内部における部材の離脱を考慮した電子機器に関する。
従来、パーソナルコンピュータなどの電子機器において、外部機器との接続端子(コネクタ)の誤抜去を防止する種々の技術が提案されている(たとえば特許文献1参照)。この種の技術によれば、コネクタが意図せず離脱してしまうことを防止することができるため、電子機器を振動条件下などで用いることができるようになり、便利である。
特開2005−50619号公報
しかし、従来の技術は、あくまで離脱を防止するための技術であり、万が一離脱が生じてしまう場合に対応する技術ではない。また、従来の技術は、電子機器と外部機器とのコネクタに関する技術であり、電子機器内部で生じる部材の離脱に対応することはできない。
電子機器の内部では、取り扱い時に加わる衝撃や応力などの様々な要因により、半田剥離が生じてしまう場合がある。半田剥離により離脱した部材は、電子機器の筐体内部で転がる。この離脱した部材は、電子機器内部の回路をショートさせてしまうなど、様々な内部破壊の原因となってしまう。このため、部材の離脱に備え、あらかじめ離脱した部材が遊離する範囲を制限することが重要となる。
一方、最近、携帯型の電子機器は、より小型のものが開発され、A5サイズやそれ以下のサイズの小型の電子機器もみられるようになってきた。これらの小型の電子機器においては、離脱した部材が遊離する範囲を制限するための部材もまた、電子機器全体のサイズを小さく保つように設けられる必要がある。
本発明は、上述した事情を考慮してなされたもので、取り扱い時に加わる衝撃や応力など様々な要因で離脱した部材が筐体内部で遊離する範囲を制限することができる電子機器を提供することを目的とする。
本発明に係る電子機器は、上述した課題を解決するために、面上に配設された配線と、前記配線面と対向して設けられ、前記配線と電気的に接続される端子部と、を備え、前記端子部は、前記配線面と対向して設けられた端子支持手段と、前記配線面と対向する前記端子支持手段の面に設けられ、かつ、前記端子支持手段と前記配線面とで挟着固定されることにより前記配線と電気的に接続された端子と、前記配線面と対向する前記端子支持手段の面上に前記端子の周りを囲むように配設され、前記配線面とは離間する高さを有する移動阻止手段と、を有し、前記移動阻止手段と前記配線面との離間距離は、前記端子支持手段から離脱した前記端子の通過を阻止可能な距離であることを特徴とするものである。
本発明に係る電子機器によれば、取り扱い時に加わる衝撃や応力など様々な要因で半田離脱した部材が筐体内部で遊離する範囲を制限することができる。
本発明に係る電子機器の第1実施形態を示す概略的な全体構成図。 第2の筐体の内側面を示す斜視図。 アンテナ群に対向して端子部が設けられた第1実施形態に係る第2の筐体の一部を示す斜視図。 (a)は第1実施形態に係る端子部のアンテナ対向面の裏面を示す斜視図、(b)は第1実施形態に係る端子部のアンテナ対向面を示す斜視図。 防護部を備えていない電子機器について、一部破断して内部構造を示す側面図。 図5のA部を拡大して示す図。 端子と電子機器の内部とを隔てる移動阻止手段としての分離板を第2の筐体の内側面上に設けた電子機器の一例について、一部破断して内部構造を示す側面図。 端子と電子機器の内部とを隔てる移動阻止手段としての分離板を第2の筐体の内側面上に設けた電子機器の他の例について、一部破断して内部構造を示す側面図。 第1実施形態に係る防護部を備えた電子機器の一例について、一部破断して内部構造を示す側面図。 図9のA部を拡大して示す図。 図3に示す端子部の第1変形例を示す斜視図。 図3に示す端子部の第2変形例におけるアンテナ対向面を示す斜視図。 アンテナ群に対向して端子部が設けられた第2実施形態に係る第2の筐体の一部を示す斜視図。 (a)は第2実施形態に係る端子部のアンテナ対向面の裏面を示す斜視図、(b)は第2実施形態に係る端子部のアンテナ対向面を示す斜視図。 図13に示す端子部の第1変形例を示す斜視図。 図13に示す端子部の第2変形例におけるアンテナ対向面を示す斜視図。
本発明に係る電子機器の実施の形態について、添付図面を参照して説明する。
図1は、本発明に係る電子機器の第1実施形態を示す概略的な全体構成図である。なお、以下の説明においては、小型のパーソナルコンピュータを電子機器の一例として示す。
電子機器10は、システム構成ユニットなどが付設された第1の筐体11と、第1の筐体11と一体的に電子機器10の外枠を構成する第2の筐体20を備える。
第1の筐体11は、中央部に表示入力部の表示部としてのLCD12を有するほか、一部に電源ボタン13を有する。表示入力部は、表示部としてのLCD12および入力部としてのペンタブレットデバイスやタッチパネルなどを有する。
図2は、第2の筐体20の内側面を示す斜視図である。
第2の筐体20は、少なくとも、内側面の一部に沿ってパターン印刷された複数の配線としてのアンテナ群21を有する。以下の説明においては、図2に示すように、複数の配線としてのアンテナ群21が第1、第2、第3および第4のアンテナ22〜25の4つのアンテナを有する場合の例について説明する。
なお、この第2の筐体20の内側面の一部は、必ずしも1つの平面である必要はなく、図2に示すように、曲面を含んでも構わない。
図2に示すように、アンテナ群21の各アンテナ22〜25は、それぞれ所要の占有領域(パターン印刷領域)を有し、互いの占有領域が重ならないように、第2の筐体20の内側面の一部に沿って互いに離間して印刷される。
第1のアンテナ22および第2のアンテナ23は、ワイヤレスLAN用のダイバーシティアンテナであり、第1のアンテナ22がメインアンテナとして機能し、第2のアンテナ23がAUXアンテナ(サブアンテナ)として機能する。
また、第3のアンテナ24はGPS用のアンテナであり、第4のアンテナ25は携帯電話機との送受信用のアンテナとして機能する。
なお、アンテナ群21を構成するアンテナは、上記例以外の用途に用いられるアンテナであってもよいし、複数の用途に兼用されるアンテナを含んでもよい。
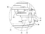
図3は、アンテナ群21に対向して端子部30が設けられた第1実施形態に係る第2の筐体20の一部を示す斜視図である。
また、図4は、第1実施形態に係る端子部30の斜視図である。図4(a)には第1実施形態に係る端子部30のアンテナ対向面の裏面を示す斜視図を、図4(b)には第1実施形態に係る端子部30のアンテナ対向面を示す斜視図を、それぞれ示した。
図4(a)および図4(b)に示すように、端子部30は、端子支持手段としての端子支持基板31と、第1〜第4の端子32〜35と、移動阻止手段としての防護部41と、第1〜第4のケーブル接続部42〜45とを有する。
第1〜第4の端子32〜35は、端子支持基板31の第2の筐体20と対向する面に半田付けにより固着して設けられる。この第1〜第4の端子32〜35は、端子支持基板31と第2の筐体20の内側面とで挟着固定されることにより、それぞれ第1〜第4のアンテナ22〜25と電気的に接続される。
移動阻止手段としての防護部41は、図4(b)に示すように、端子支持基板31の第2の筐体20と対向する面上に、第1〜第4の端子32〜35の周りを囲むように配設される。
また、図3に示すように、防護部41の端子支持基板31からの高さは、防護部41と第2の筐体20とが離間する高さとし、防護部41とアンテナ群21とが接触しないようにする。これは、第1〜第4の端子32〜35以外の物質がアンテナに接してしまうと、アンテナの特性が変化してしまうためである。また、アンテナの特性は、アンテナ近傍に存在する金属によっても影響を受ける。このため、防護部41は、アンテナの特性に影響を及ぼさないように、たとえばポリカーボネートなどの非金属材料で構成される。
さらに、端子支持基板31および防護部41は、防護部41と第2の筐体20の内側面との離間距離が、第1〜第4の端子32〜35が通ることができない距離となるよう構成される。
第1〜第4のケーブル接続部42〜45は、端子支持基板31を挟んで第1〜第4の接触端子32〜35と対向する位置にそれぞれ設けられ、第1〜第4の端子32〜35とそれぞれ電気的に接続される。この第1〜第4のケーブル接続部42〜45には、ケーブル(導線など)が接続可能である。第1〜第4のケーブル接続部42〜45にそれぞれケーブルを接続し、各ケーブルの多端を所要の無線モジュールと電気的に接続することにより、アンテナ22〜25をそれぞれ所要の無線モジュールに電気的に接続することができる。
次に、本実施形態に係る電子機器10の動作の一例について説明する。
図5は、防護部41を備えていない電子機器100について、一部破断して内部構造を示す側面図であり、図6は、図5のA部を拡大して示す図である。なお、図5および図6において、破線はアンテナ群21が印刷された第2の筐体20の内側面上の位置を示す。
第1〜第4の端子32〜35は、取り扱い時に加わる衝撃や応力など様々な要因により、半田剥離してしまう場合がある。この場合、図6に示すように、A寸法で示した端子の幅よりも、端子支持基板31と第2の筐体20との距離(図6のB寸法およびC寸法参照)が大きいと、離脱した端子が電子機器100の内部に転がり込んでしまう。たとえば、端子がメイン基板50を含むシステム構成ユニット51に転がり込んだ場合、内部ショートなどによるシステム構成ユニット51の破壊の原因となってしまう。
離脱した部材が遊離する範囲を制限できれば、離脱した端子などの部材が内部に転がり込んでしまうことを防ぐことができる。離脱した部材が遊離する範囲を制限する方法として、半田剥離が生じる可能性が高い部材が配置される箇所と、この部材が遊離してくると問題が生じてしまうメインボードなどの箇所との間に両者を空間的に分離するための移動阻止手段を設け、この移動阻止手段によって遊離範囲を限定する方法が考えられる。
図7は、端子と電子機器100の内部とを隔てる移動阻止手段としての分離板52を第2の筐体20の内側面上に設けた電子機器100の一例について、一部破断して内部構造を示す側面図である。図7において、破線はアンテナ群21が印刷された第2の筐体20の内側面上の位置を示す。
分離板52を図7に示すような位置に設けることにより、離脱した端子が電子機器100の内部に転がり込むことを防ぐことができる。しかし、図7に示す分離板52は、アンテナ群21が印刷される領域内に設けられている。このため、この分離板52は、アンテナ群21を印刷する際の障害となってしまう。
図8は、端子と電子機器100の内部とを隔てる移動阻止手段としての分離板52を第2の筐体20の内側面上に設けた電子機器100の他の例について、一部破断して内部構造を示す側面図である。図8において、破線はアンテナ群21が印刷された第2の筐体20の内側面上の位置を示す。
図8に示す電子機器100は、アンテナ群21が印刷されていない位置に分離板52を設ける点が図7に示した電子機器100と異なる。図8に示す位置に分離板52を設ければ、このアンテナ群21を印刷することができる。しかし、システム構成ユニット51は、分離板52と干渉しないように移動させなければならない。このため、電子機器100の全体のサイズが大きくなってしまう。したがって、図8に示す位置に分離板52を設ける方法は、小型の機器に適用することが難しい。
図9は、第1実施形態に係る防護部41を備えた電子機器10の一例について、一部破断して内部構造を示す側面図であり、図10は、図9のA部を拡大して示す図である。図9および図10において、破線はアンテナ群21が印刷された第2の筐体20の内側面上の位置を示す。
図10に示すように、端子支持基板31と第2の筐体20との距離(図10のD寸法およびE寸法参照)が、A寸法で示した端子の幅よりも小さければ、剥離した端子は、防護部41で囲まれた範囲内でのみ遊離する。
このため、本実施形態にかかる電子機器10によれば、端子が半田剥離してしまった場合など、電子機器10の内部で部材が離脱した場合において、この離脱した部材をシステム構成ユニット51から隔離しておくことができる。したがって、電子機器10の内部で部材が離脱した場合に、この部材が原因となる内部破壊を未然に防ぐことができる。
また、本実施形態に係る電子機器10は、構成ユニットを移動させることなく防護部41を設けることができる。このため、本実施形態に係る電子機器10によれば、電子機器10の全体のサイズを小さく保ったまま、離脱した部材が遊離する範囲を制限することが可能である。
さらに、本実施形態に係る電子機器10は、離脱した端子の移動阻止手段としての防護部41は、アンテナ群21とは離間し非接触となるように端子支持基板31に配設されるとともに、非金属材料により構成される。このため、この防護部41は、アンテナ群21のアンテナ特性に影響を与えずに配設することができる。
図11は、図3に示す端子部30の第1変形例を示す斜視図である。
端子部30の第1変形例は、第1実施形態に係る電子機器10が複数の端子部30を備える場合の例である。
パターン印刷されたアンテナ群21を構成する各アンテナは、複数の列に並ぶように設けられる場合がある。図11には、アンテナ群21が第5のアンテナ26および第6のアンテナ27をさらに有し、この第5および第6のアンテナ26および27が、第1〜第4のアンテナ22〜25が設けられた列上にはない場合の例について示した。
この場合、図11に示すように、端子部30をアンテナが設けられた各列に対応するように設けるとよい。第5および第6のアンテナ26および27に対向して設けられる端子部30は、端子支持基板31と、第5および第6の端子36および37と、防護部41と、第5および第6のケーブル接続部46および47を有する。第5および第6の端子36および37は、第1〜第4の端子32〜35と同様にして第5および第6のアンテナ26および27と電気的に接続される。
なお、同一の列上のアンテナに対して複数の端子部30を適用しても構わない。たとえば、第1および第2のアンテナ22および23に対応する端子部30と、第3および第4のアンテナ24および25に対応する端子部30とを、それぞれ独立した端子部30としてもよい。
図12は、図3に示す端子部30の第2変形例におけるアンテナ対向面を示す斜視図である。
端子部30の第2変形例は、防護部41の形状が、第1〜第4の端子32〜35のそれぞれについて周りを囲むような形状である場合の例である。図12に示すように、各端子32〜35のそれぞれの周りを防護部41によって囲むことにより、離脱した端子が遊離する範囲をさらに制限することができる。
図4(b)に示した防護部41の形状では、離脱した端子が電子機器10の内部へ移動することは阻止できる。しかし、離脱した端子に対応するアンテナ以外のアンテナ(他のアンテナ)には、影響を及ぼしてしまう。たとえば、第1の端子32が離脱した場合、離脱した第1の端子32は、第2〜第4のアンテナ23〜25の方へと転がり各アンテナ23〜25の特性を変化させてしまう場合がある。
一方、図12に示す防護部41の形状では、離脱した端子は、他のアンテナへは移動できない。このため、離脱した端子が他のアンテナに与える影響を最小限にすることができる。
たとえば、第1の端子32が離脱した場合でも、第2〜第4のアンテナ23〜25は、第1の端子32が離脱する前と変わらず利用することができる。第1のアンテナ22と第2のアンテナ23はダイバーシティアンテナであるため、第1の端子32の離脱により第1のアンテナ22の機能が失われても、第2のアンテナ23の機能が有効であるため、電子機器10はひきつづきワイヤレスLANの機能を利用することができる。
次に、本発明に係る電子機器10の第2実施形態について説明する。
本実施形態に係る電子機器10は、アンテナ群21を構成するアンテナのうちの一部のアンテナのみが利用可能であればよい場合に対応する形態であり、端子部30の形状がこの一部のアンテナにあわせて小型化可能な点で、第1実施形態に係る電子機器10と異なる。端子部30の形状が小型化されることにより、メイン基板50をはじめとするシステム構成ユニット51の実装スペースなどをより広くとることが可能となる。
図13は、アンテナ群21に対向して端子部30が設けられた第2実施形態に係る第2の筐体20の一部を示す斜視図である。
また、図14は、第2実施形態に係る端子部30の斜視図である。図14(a)には第1実施形態に係る端子部30のアンテナ対向面の裏面を示す斜視図を、図14(b)には第1実施形態に係る端子部30のアンテナ対向面を示す斜視図を、それぞれ示した。
アンテナ群21は、全てのアンテナ22〜25を一度の工程で印刷して設けることができる。このため、たとえ電子機器10の利用形態を鑑みて必要のないアンテナが含まれていたとしても、アンテナ群21を全て印刷してしまい、必要のないアンテナを用いないようにする方が効率的な場合がある。
図13ならびに図14(a)および(b)には、電子機器10の利用形態を鑑みて、GPS用のアンテナである第3のアンテナ24および携帯電話機との送受信用のアンテナである第4のアンテナ25を利用する必要がない場合の例について示す。
この場合、第3および第4のアンテナ24および25に対応する第3および第4の端子34および35ならびに第3および第4のケーブル接続部44および45は、必要のない部材である。このため、端子についても、第1〜第4の端子32〜35のうち、第1および第2のアンテナ22および23のみに対応する第1および第2の端子32および33のみが必要となる。
したがって、図13ならびに図14(a)および(b)に示すように、端子支持基板31材および防護部41を、第1および第2の端子32および33を設けるために必要かつ第2の筐体20の内側面と対向して設けるために必要な所要の寸法を有するよう構成する。なお、第2の筐体20の内側面と対向して設けるために必要な寸法とは、たとえばネジ止めにより対向配置する場合は、ネジ穴などを設けるために必要な領域を含む寸法をいうものとする。
この結果、第3および第4のアンテナ24および25の上部に空間がうまれる。第3および第4のアンテナ24および25は実質上利用されないため、この空間は、メイン基板50をはじめとするシステム構成ユニット51の実装スペースとして利用することが可能である。
本実施形態に係る電子機器10もまた、第1実施形態に係る電子機器10と同様の作用効果を奏する。また、本実施形態に係る電子機器10は、第1実施形態に係る電子機器10に比べ、端子部30の形状を小型化することができる。このため、本実施形態に係る電子機器10によれば、他の内部機器などにより利用可能なスペースをより広くとることが可能である。
図15は、図13に示す端子部30の第1変形例を示す斜視図である。
端子部30の第1変形例は、第2実施形態に係る電子機器10が複数の端子部30を備える場合の例である。
図15に示す端子部30の変形例は、図11に示した第1実施形態に係る端子部30の変形例にくらべ、利用する必要がないアンテナに対応する端子を設けないため、他の内部機器などにより利用可能なスペースを広くすることができる。
図15には、電子機器10の利用形態を鑑みて、GPS用のアンテナである第3のアンテナ24、および第5のアンテナ26を利用する必要がない場合の例について示した。
図16は、図13に示す端子部30の第2変形例におけるアンテナ対向面を示す斜視図である。
図12に示した第1実施形態に係る端子部30の第2変形例と同様に、本実施形態に係る防護部41を端子のそれぞれについて周りを囲むような形状とすることにより、図14(b)に示した形状の防護部41を用いる場合に比べ、離脱した端子が遊離する範囲をさらに制限することができる。
なお、本発明は上記実施形態そのままに限定されるものではなく、実施段階ではその要旨を逸脱しない範囲で構成要素を変形して具体化できる。また、上記実施形態に開示されている複数の構成要素の適宜な組み合わせにより、種々の発明を形成できる。例えば、実施形態に示される全構成要素から幾つかの構成要素を削除してもよい。さらに、異なる実施形態にわたる構成要素を適宜組み合わせても良い。
10、100 電子機器
11 第1の筐体
12 LCD
13 電源ボタン
20 第2の筐体
21 アンテナ群
22 第1のアンテナ
23 第2のアンテナ
24 第3のアンテナ
25 第4のアンテナ
26 第5のアンテナ
27 第6のアンテナ
30 端子部
31 端子支持基板
32 第1の端子
33 第2の端子
34 第3の端子
35 第4の端子
36 第5の端子
37 第6の端子
41 防護部
42 第1のケーブル接続部
43 第2のケーブル接続部
44 第3のケーブル接続部
45 第4のケーブル接続部
46 第5のケーブル接続部
47 第6のケーブル接続部
50 メイン基板
51 システム構成ユニット
52 分離板

Claims (11)

  1. 面上に配設された配線と、
    前記配線面と対向して設けられ、前記配線と電気的に接続される端子部と、
    を備え、
    前記端子部は、
    前記配線面と対向して設けられた端子支持手段と、
    前記配線面と対向する前記端子支持手段の面に設けられ、かつ、前記端子支持手段と前記配線面とで挟着固定されることにより前記配線と電気的に接続された端子と、
    前記配線面と対向する前記端子支持手段の面上に前記端子の周りを囲むように配設され、前記配線面とは離間する高さを有する移動阻止手段と、
    を有し、
    前記移動阻止手段と前記配線面との離間距離は、前記端子支持手段から離脱した前記端子の通過を阻止可能な距離であることを特徴とする電子機器。
  2. 前記配線を複数有し、
    前記複数の配線は、
    それぞれが所要の占有領域を有し、互いの前記占有領域が重ならないよう前記配線面上に互いに離間して設けられ、
    前記端子は、
    前記複数の配線のそれぞれに対応する位置に、前記配線面と対向する前記端子支持手段の面に複数配設された、
    請求項1記載の電子機器。
  3. 前記端子部を複数備えた請求項2記載の電子機器。
  4. 前記移動阻止手段は、
    前記複数の端子のそれぞれについて周りを囲むような形状を有する、
    請求項2記載の電子機器。
  5. 前記配線面は、電子機器の筐体の内側面であり、
    前記配線は、前記筐体の内側面の一部に沿ってパターン印刷されたアンテナである、
    請求項1記載の電子機器。
  6. 筐体の内側面上に配設された配線と、
    前記筐体内に前記内側面と対向して設けられた端子支持基板と、
    前記端子支持基板に設けられ、前記配線が配設された内側面と挟着固定されることにより前記配線と電気的に接続される端子と、
    前記端子支持基板に設けられる前記端子の周りを囲むように配設される防護部と、
    を備え、
    前記防護部は、
    前記端子支持基板から離脱した前記端子を前記防護部で囲む範囲内にとどめることを特徴とする電子機器。
  7. 前記端子支持基板に端子が複数設けられ、前記防護部は複数の端子それぞれについて周りを囲む形状を有する、
    請求項6記載の電子機器。
  8. 筐体の内側面上に配設された配線と、
    前記筐体内に前記内側面と対向して設けられた端子支持基板と、
    前記端子支持基板に設けられ、前記配線が配設された内側面と挟着固定されることにより前記配線と電気的に接続される端子と、
    前記端子支持基板に設けられる前記端子の周りを囲むように配設される防護部と、
    を備え、
    前記端子支持基板と前記内側面との間の距離が、前記端子の幅より小さいことを特徴とする電子機器。
  9. 前記端子支持基板は、前記内側面に対して第一の距離を隔てる部分と、前記第一の距離よりも短い第二の距離を隔てる部分とを有するように設けられ、
    前記端子の幅は、前記端子支持基板と前記内側面との間の第一の距離と、前記端子支持基板と前記内側面との間の第二の距離と、いずれと比べても大きいことを特徴とする、
    請求項8記載の電子機器。
  10. 筐体の内側面上に配設された配線と、
    前記筐体内に前記内側面と対向して設けられた端子支持基板と、
    前記端子支持基板に設けられ、前記配線が配設された内側面と挟着固定されることにより前記配線と電気的に接続される端子と、
    前記端子支持基板に設けられる前記端子の周りを囲むように配設される防護部と、
    を備え、
    前記内側面から前記端子支持基板までの距離は、前記内側面から前記防護部までの距離よりも大きいことを特徴とする電子機器。
  11. 前記防護部は、前記内側面に対して第一の距離を隔てる部分と、前記第一の距離よりも短い第二の距離を隔てる部分とを有するように設けられ、
    前記端子の幅は、前記防護部と前記内側面との間の前記第一の距離と、前記防護部と前記内側面との間の前記第二の距離と、いずれと比べても大きいことを特徴とする、
    請求項10記載の電子機器。
JP2009269102A 2009-11-26 2009-11-26 電子機器 Active JP4856234B2 (ja)

Priority Applications (1)

Application Number Priority Date Filing Date Title
JP2009269102A JP4856234B2 (ja) 2009-11-26 2009-11-26 電子機器

Applications Claiming Priority (1)

Application Number Priority Date Filing Date Title
JP2009269102A JP4856234B2 (ja) 2009-11-26 2009-11-26 電子機器

Related Parent Applications (1)

Application Number Title Priority Date Filing Date
JP2007339539A Division JP2009163308A (ja) 2007-12-28 2007-12-28 電子機器

Publications (2)

Publication Number Publication Date
JP2010044800A true JP2010044800A (ja) 2010-02-25
JP4856234B2 JP4856234B2 (ja) 2012-01-18

Family

ID=42016072

Family Applications (1)

Application Number Title Priority Date Filing Date
JP2009269102A Active JP4856234B2 (ja) 2009-11-26 2009-11-26 電子機器

Country Status (1)

Country Link
JP (1) JP4856234B2 (ja)

Citations (1)

* Cited by examiner, † Cited by third party
Publication number Priority date Publication date Assignee Title
JP2007049644A (ja) * 2005-08-12 2007-02-22 Sanyo Electric Co Ltd 携帯無線通信端末

Patent Citations (1)

* Cited by examiner, † Cited by third party
Publication number Priority date Publication date Assignee Title
JP2007049644A (ja) * 2005-08-12 2007-02-22 Sanyo Electric Co Ltd 携帯無線通信端末

Also Published As

Publication number Publication date
JP4856234B2 (ja) 2012-01-18

Similar Documents

Publication Publication Date Title
EP2046103B1 (en) Flexible printed board, electronic device equipped with it, and flexible printed board folding method
JP5240827B2 (ja) フレキシブル配線基板、及び電子機器
US20170131809A1 (en) Touch display device and manufacturing method thereof
WO2020204622A1 (ko) 터치 센서-안테나 모듈 및 이를 포함하는 디스플레이 장치
EP2988581B1 (en) Chip heat dissipation structure and terminal device
EP2961007B1 (en) Headphone socket assembly and electronic equipment
US20240036671A1 (en) Display module and display terminal
JP2010212609A (ja) 接続構造体、回路装置、及び電子機器
JP2008226786A (ja) 電子機器
JP4856234B2 (ja) 電子機器
US8294037B2 (en) Method for arranging a component on a circuit board
JP2009163308A (ja) 電子機器
KR101803100B1 (ko) 전자 기기의 다층 연성회로기판
CN105578732B (zh) 软硬结合板及终端
JP2001326428A (ja) プリント基板
JP4020050B2 (ja) ケーブル接続部
JP6236367B2 (ja) センサーモジュール及びセンサーモジュールの製造方法
JP2002299772A (ja) プリント基板装置および電子機器
JP4829085B2 (ja) 電子機器
CN105430891A (zh) 柔性线路板及移动终端
JP2005312036A (ja) ポータブル・コンピュータシステムと方法
JP2005317334A (ja) 極細同軸ケーブルアセンブリ及び極細同軸ケーブルの端末接続方法
KR100861255B1 (ko) 분할형 연결단자를 구비한 연성회로기판을 포함한휴대단말기
JP2010147061A (ja) プリント基板間接続構造
JP4249772B2 (ja) 電子回路ユニット

Legal Events

Date Code Title Description
A621 Written request for application examination

Free format text: JAPANESE INTERMEDIATE CODE: A621

Effective date: 20091126

TRDD Decision of grant or rejection written
A01 Written decision to grant a patent or to grant a registration (utility model)

Free format text: JAPANESE INTERMEDIATE CODE: A01

Effective date: 20111004

A01 Written decision to grant a patent or to grant a registration (utility model)

Free format text: JAPANESE INTERMEDIATE CODE: A01

A61 First payment of annual fees (during grant procedure)

Free format text: JAPANESE INTERMEDIATE CODE: A61

Effective date: 20111027

FPAY Renewal fee payment (event date is renewal date of database)

Free format text: PAYMENT UNTIL: 20141104

Year of fee payment: 3

R151 Written notification of patent or utility model registration

Ref document number: 4856234

Country of ref document: JP

Free format text: JAPANESE INTERMEDIATE CODE: R151

FPAY Renewal fee payment (event date is renewal date of database)

Free format text: PAYMENT UNTIL: 20141104

Year of fee payment: 3

S111 Request for change of ownership or part of ownership

Free format text: JAPANESE INTERMEDIATE CODE: R313121

Free format text: JAPANESE INTERMEDIATE CODE: R313117

R350 Written notification of registration of transfer

Free format text: JAPANESE INTERMEDIATE CODE: R350