JP2010044707A - 管路の設計支援装置 - Google Patents

管路の設計支援装置 Download PDF

Info

Publication number
JP2010044707A
JP2010044707A JP2008209998A JP2008209998A JP2010044707A JP 2010044707 A JP2010044707 A JP 2010044707A JP 2008209998 A JP2008209998 A JP 2008209998A JP 2008209998 A JP2008209998 A JP 2008209998A JP 2010044707 A JP2010044707 A JP 2010044707A
Authority
JP
Japan
Prior art keywords
point
vector
pipe
pipeline
plane
Prior art date
Legal status (The legal status is an assumption and is not a legal conclusion. Google has not performed a legal analysis and makes no representation as to the accuracy of the status listed.)
Granted
Application number
JP2008209998A
Other languages
English (en)
Other versions
JP5301921B2 (ja
Inventor
Kazutomi Konno
一富 今野
Susumu Kawamura
享 河村
Rei Noshita
玲 野下
Current Assignee (The listed assignees may be inaccurate. Google has not performed a legal analysis and makes no representation or warranty as to the accuracy of the list.)
Takasago Thermal Engineering Co Ltd
Original Assignee
Takasago Thermal Engineering Co Ltd
Priority date (The priority date is an assumption and is not a legal conclusion. Google has not performed a legal analysis and makes no representation as to the accuracy of the date listed.)
Filing date
Publication date
Application filed by Takasago Thermal Engineering Co Ltd filed Critical Takasago Thermal Engineering Co Ltd
Priority to JP2008209998A priority Critical patent/JP5301921B2/ja
Publication of JP2010044707A publication Critical patent/JP2010044707A/ja
Application granted granted Critical
Publication of JP5301921B2 publication Critical patent/JP5301921B2/ja
Active legal-status Critical Current
Anticipated expiration legal-status Critical

Links

Images

Abstract

【課題】設計データ上で管路をつなぎ直す際、極力管路の形成を自動化することによって、管路を設計する設計者の負担を軽減する。
【解決手段】少なくとも管部材と分岐部材と管部材を他の部材に接続する接続部材とを含む部材の管路方向の長さ、および分岐部材の分岐方向への突き出し量を含む部材属性を格納する部材属性格納手段と、管路に含まれる部材の接続順を含む位置関係を記憶する管路構成記憶手段と、部材を表す図形要素を位置関係にしたがって配置することによって管路を画面上に表示する手段と、画面上で管路中の第1および第2の点の指定を受け付ける入力手段と、2点で挟まれた管路部分を構成する部材を特定する部材特定手段と、2点間で部材を配置する仮定経路を生成する仮定経路生成手段と、仮定経路にしたがって管路部分を構成する部材を配置することによって新たな管路部分を形成する管路形成手段と、を備える。
【選択図】図1

Description

本発明は、管路の設計支援装置に関する。
流体を取り扱う設備では、各種の機器と機器との間が管路で接続され、機器間を流体が移動する。管路は、直管、フランジ、継手、バルブ等の部材を用いて形成される。さらに、分岐によって枝分かれした管路も形成される。これらの部材は、それぞれの寸法、構造、および接続上の拘束条件を有する。したがって、このような部材によって構成される管路は、複雑なものも多い。
設計された管路が複雑であると、据え付けの手間と工数が増大する。したがって、管路は極力簡略なものが望ましい。設計時、あるいは、設計後に、作成された管路を見直した結果、簡略化が望ましいと判断される場合がある。
ところで、このような管路を含む設備は、通常、コンピュータを利用した設計支援装置で設計される。しかし、従来の設計支援装置では、簡略化が望ましいと判断された場合に、基本的には、設計者のマニュアル操作で再設計されていた。すなわち、設計者がコンピュータの表示画面に対して、ポインティングデバイス等を用いて逐一管路を引き直すことによって管路を簡略化していた(例えば、下記特許文献1等を参照)。
特開平10−154164号公報 特開平10−154165号公報 特開平10−154167号公報
しかし、上記従来の技術では、設計データ上で管路をつなぎ直す際、設計者が表示画面上で逐一管路を指定する必要があるため、設計者の作業負担が大きかった。本発明の目的は、極力管路の形成を自動化することによって、管路を設計する設計者の負担を軽減することにある。
本発明は前記課題を解決するために、以下の手段を採用した。すなわち、本発明は、少なくとも管部材と分岐部材と管部材を他の部材に接続する接続部材とを含む部材の管路方向の長さ、および分岐部材の分岐方向への突き出し量を含む部材属性を格納する部材属性格納手段と、管路に含まれる部材の接続順を含む位置関係を記憶する管路構成記憶手段と、部材を表す図形要素を位置関係にしたがって配置することによって管路を画面上に表示する手段と、画面上で管路中の第1および第2の点の指定を受け付ける入力手段と、第1および第2の点と画面上に表示されている図形要素との位置関係から、それぞれの点の位置する管路中の部材を特定する手段と、特定された部材を基に、管路構成記憶手段を検索することにより、2点で挟まれた管路部分を構成する部材を特定する部材特定手段と、2点間で部材を配置する仮定経路を生成する仮定経路生成手段と、仮定経路にしたがって管路部分を構成する部材を配置することによって新たな管路部分を形成する管路形成手段と、を備える管路の設計支援装置として例示される。
本発明によれば、画面上で管路中のつなぎ直し個所の2点の指定を受け付け、その2点間で、新たな仮定経路を形成し、その仮定経路に元の管路中の部材を配置し、新たな管路を形成する。このような構成によって、ユーザによる設計データ中の管路のつなぎ直しと
、データの修正を効果的に支援する。
その場合に、特定された部材の管路方向の長さに基づいて部材を仮定経路に配置できるか否かを判定する配置可否判定手段と、特定された部材のすべてを仮定経路に施工上配置しきれないときに、仮定経路を2点の少なくとも一方の点から他方の点に対して離れる方向にその一方の点の位置する管路に沿って延伸する管路延伸手段と、をさらに備えるようにしてもよい。本設計支援装置によれば、つなぎ直しによって管路が短くなり過ぎた場合に、元の部材を配置できる程度に延伸し、ユーザの設計作業を支援する。
さらに、特定された部材のすべてを延伸された仮定経路に施工上配置しきれないときに、2点の一方の点から他方の点に対して離れる方向に経路を屈曲して延伸する継手を付与するとともに、継手にて屈曲した延伸方向に一旦延伸した位置から他方の点に接続される新たな仮定経路を生成する迂回延伸手段をさらに備えるようにしてもよい。つなぎ直しによって管路が短くなり過ぎ、単純な延伸だけでは、元の部材を配置できない場合に、本設計支援装置は、迂回する方向に延伸することで、元の部材を配置する経路を確保する。
また、2点で挟まれた管路部分と新たな管路部分とで、少なくとも管路部分の長さと管路部分に含まれる曲がり部分の数とから評価される管路部分の複雑さを評価する評価手段をさらに備えてもよい。本設計支援装置は、複雑さの評価によって、管路を評価するユーザの判断を支援できる。
また、第1の点に接続される管路上で管路が中断している第1の中断点を検出する手段と、第2の点に接続される管路上で管路が中断している第2の中断点を検出する手段と、をさらに備えてもよい。そして、仮定経路生成手段は、第1の中断点と第2の中断点との間の経路を含む仮定経路を生成すればよい。本設計支援装置によれば、経路の中断点と中断点とを手がかりに、新たな管路を生成できる。
仮定経路設定手段は、第1の点および第2の点に位置するそれぞれの部材の管路方向をそれぞれ起点ベクトルおよび終点ベクトルとして設定する手段と、起点ベクトルと終点ベクトルとが同一平面上にあるか否か、および起点ベクトルと終点ベクトルとが互いに平行な異なる平面にあるか否かを判定する平行平面判定手段と、起点ベクトルのある平面と前記終点ベクトルある平面との間で経路を設定する第1のレベル間接続手段と、をさらに備えるようにしてもよい。本設計支援装置によれば、指定された2点の位置する部材の管路方向に沿って、仮定経路を設定できる。さらに、第1の点および第2の点に位置するそれぞれの部材の管路方向を示す起点ベクトルおよび終点ベクトルが互いに平行な異なる平面にあるには、その平面間で経路を設定することで、仮定経路を設定できる。
本設計支援装置は、起点ベクトルと終点ベクトルとが同一平面上および互いに平行な異なる平面上のいずれにもなく、かつ、起点ベクトルと終点ベクトルのうちの一方のベクトルが、XY平面、YZ平面、またはZX平面と平行な第1の目標平面上にあるときに、第1の目標平面上にない他方のベクトルの示す接続部から90度継手、45度継手、他方のベクトル方向の直管と90度継手との組み合わせ、または、他方のベクトル方向の直管と45度継手との組み合わせによって第1の目標平面に平行な第2の目標平面上の直管に接続する単一目標平面経路設定手段と、第2の目標平面の直管から第1の目標平面への経路を設定する第2のレベル間接続手段と、をさらに備えるようにしてもよい。本設計支援装置によれば、起点ベクトルと終点ベクトルの一方が、XY平面、YZ平面、またはZX平面と平行な平面上にある場合、そのベクトルが存在するXY平面、YZ平面、またはZX平面と平行な平面を第1の目標平面とする。そして、第1の目標平面上にない他方のベクトルの近傍に、第2の目標平面を設定する。そして、他方のベクトルの示す接続部から、第2の目標平面への経路、第2の目標平面から第1の目標平面への経路を設定することで
、平面を共有する起点ベクトルと終点ベクトルの関係に帰着し、処理を実行する。
また、本設計支援装置は、第1の目標平面にない他方のベクトルが第1の目標平面と平行な段違い平面にあるか否かを判定する手段をさらに備え、第1のレベル間接続手段は、第1の目標平面と段違い平面との間で経路を設定するようにしてもよい。本設計支援装置によれば、2つの平行な段違いの平面上にある起点ベクトルと終点ベクトルとの処理をそれぞれの平面上での処理に帰着できる。
また、本設計支援装置は、起点ベクトルと終点ベクトルとが同一平面上および互いに平行な異なる平面上のいずれにもなく、かつ、起点ベクトルと終点ベクトルとがいずれもXY平面、YZ平面、およびZX平面のいずれとも平行でないときに、2つの座標軸に平行な第3の目標平面上の経路であって、起点ベクトルの示す接続部から90度継手、45度継手、起点ベクトル方向への直管と90度継手との組み合わせに、または、前記起点ベクトル方向への直管と45度継手との組み合わせによって接続可能な第1の直管の経路を設定するとともに、第3の目標平面に平行な第4の目標平面上の経路であって、終点ベクトルの示す接続部から90度継手、45度継手、終点ベクトル方向への直管と90度継手との組み合わせ、または、前記他方のベクトル方向の直管と45度継手との組み合わせによって接続可能な第2の直管の経路を設定する複数目標平面経路設定手段と、第1の直管と第2の直管との間の経路を設定する第3のレベル間接続手段と、をさらに備える。このような処理によって、同一平面上になく、かつ、起点ベクトルと終点ベクトルとがいずれもXY平面、YZ平面、またはZX平面と平行な平面上にない起点ベクトルと終点ベクトルの関係を、平面を共有する関係に帰着し、処理を実行する。
また、複数目標平面経路設定手段は、起点ベクトルに対して垂直な平面と第3目標平面との交線方向に第1の直管を設定するとともに、起点ベクトルの示す接続部から第1の直管に90度継手、45度継手、起点ベクトル方向への直管と90度継手との組み合わせ、または、起点ベクトル方向への直管と45度継手との組み合わせによって経路を設定する手段と、終点ベクトルに対して垂直な平面と第4の目標平面との交線方向に第2の直管を設定するとともに、終点ベクトルの示す接続部から第2の直管に90度継手、45度継手、終点ベクトル方向への直管と90度継手との組み合わせ、または、終点ベクトル方向への直管と45度継手との組み合わせによって経路を設定する手段と、を有してもよい。さらに、第3のレベル間接続手段は、第1の直管と第2の直管とを両端に90度継手または45度継手を設けた配管を含む経路で接続する手段、を有してもよい。このような構成によって、起点ベクトルに垂直な第1の直管の経路を、第3の目標平面に設定できる。また、終点ベクトルに垂直な第2の直管の経路を、第4の目標平面に設定できる。そして、第1の直管と第2の直管との間でレベル差を解消する配管を設けることで、平面を共有する処理に帰着できる。
本発明によれば、極力管路の形成を自動化することによって、管路を設計する設計者の負担を軽減できる。
以下、図面を参照して本発明を実施するための最良の形態(以下、実施形態という)に係る設計支援装置について説明する。以下の実施形態の構成は例示であり、本発明は実施形態の構成には限定されない。
<システムの概要>
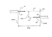
図1に、本設計支援装置が提供する機能の概要を例示する。本設計支援装置は、コンピュータの画面上に、設計済みまたは設計中の管路を表示する。そして、本設計支援装置は
、ユーザの操作を受け付け、ユーザが指定した管路中の2点(例えば、図1の点P1および点P2)を認識する。そして、指定された点P1および点P2に挟まれた管路部分L1に対して、簡略化された新たな管路部分L2を生成する。
このとき、本設計支援装置は、元の管路部分L1および新たな管路部分L2に対して、それぞれの管路部分の長さ、および曲がり部分(節点ともいう)の個数から、管路部分の複雑さを示す評価関数を算出する。そして、本設計支援装置は、元の管路部分L1と新たな管路部分L2とを比較して、複雑さが軽減したか、すなわち、簡略化されたか否かのユーザによる判定を支援する。
本設計支援装置は、枝分かれを含む管路L3に対しても、同様の機能を実行する。例えば、本設計支援装置は、管路L3上で、ユーザが指定した点P3と点P4を認識する。そして、本設計支援装置は、点P3とP4に挟まれた管路部分L3を簡略化し、新たな管路部分L4を生成する。
ただし、点P3とP4に挟まれた管路部分L3には、分岐継手T1、T2(単に、分岐ともいい、本発明の分岐部材に相当する)、これらの分岐継手T1、T2に接続される分岐管路、レジューサR1、バルブV1、V2等の部材が存在する。本設計支援装置は、新たな管路部分L4上に、分岐継手T1、T2、これらの分岐継手T1、T2に接続される分岐管路、レジューサR1、バルブV2等を配置可能か否か、を判定する。また、本設計支援装置は、分岐継手T1、T2に接続される分岐管路上にバルブV1等の部材を配置可能か否か、を判定する。
それぞれの部材は、それぞれの寸法を有し、管路方向に長さを有するので、新たな管路部分L4が元の管路L3より短くなると、部材をすべて配置できない場合がある。新たな管路部分L4に元の管路部分L3にあった部材をすべて配置できない場合、本設計支援装置は、新たな管路部分L4から延伸される部分を含めた管路部分に部材を配置しようとする。新たな管路部分L4から延伸される部分を含めた管路部分に、元の管路L3にあった部材をすべて配置できない場合、本設計支援装置は、指定された点P3、P4の一方の点から他方の点に対して離れる方向に経路を屈曲して延伸する継手(本発明の接続部材に相当)を付与するとともに、継手にて屈曲した延伸方向に一旦延伸した位置から他方の点に接続される迂回した管路部分を生成する。そして、元の管路L3にあった部材を迂回した管路部分に配置する。その処理の詳細は、以下の実施例にて説明する。
<ハードウェア構成>
図2に、本設計支援装置のハードウェア構成を例示する。この設計支援装置は、例えば、パーソナルコンピュータと、パーソナルコンピュータで実行されるコンピュータプログラムによって実現される。また、この設計支援装置は、複数のパーソナルコンピュータにサービスを提供するサーバ上のプログラムとして実現してもよい。また、本設計支援装置は、複数のコンピュータが連携して機能を提供するコンピュータシステムとして実現してもよい。例えば、1以上のデータベースサーバと、1以上のシミュレータと、1以上のウェブサーバとによって、設計支援装置を実現してもよい。
図2は、本設計支援装置を構成するコンピュータの一例である。本設計支援装置は、CPU1と、メモリ2と、各種インターフェース3、5、7、9、11と、これらのインターフェースを通じてCPU1に接続される周辺装置とを含む。図2では、周辺装置の例として、ハードディスク4,入力装置6、表示装置8、ネットワークインターフェース10、および着脱可能記憶媒体駆動装置12が示されている。
CPU1は、メモリ2に展開されたプログラムを実行し、設計支援装置の機能を提供す
る。メモリ2は、CPU1が実行可能な形式でプログラムを保持する。また、メモリ2は、CPU1が処理するデータを保持する。メモリ2は、DRAM(ダイナミックランダムアクセスメモリ)、ROM(リードオンリーメモリ)等である。ただし、メモリ2として、フラッシュメモリを用いてもよい。
ハードディスク駆動装置4は、ハードディスクにアクセスし、CPU1が処理したデータ、CPU1で実行されるプログラム等を記憶する。入力装置6は、例えば、キーボード等の文字入力装置、マウス等のポインティングデバイスなどである。表示装置8は、例えば、液晶ディスプレイ、エレクトロルミネッセンスパネル等である。
ネットワークインターフェース10は、例えば、LAN(ローカルエリアネットワーク)基板である。着脱可能媒体駆動装置12は、例えば、CD−ROM、DVD、フラッシュメモリカード等の駆動装置である。なお、CPU1で実行されるプログラムは、通常、ネットワークインターフェース10、あるいは、着脱可能記憶媒体駆動装置12を通じて、ハードディスクに保存され、メモリ2に展開される。
<機能ブロック>
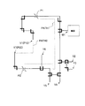
図3に、本設計支援装置の機能ブロック図を例示する。図3のように、本設計支援装置の機能ブロックは、表示装置8および入力装置6を制御し、設計支援装置の機能を提供する制御部20によって実現される。制御部20は、例えば、図2に示したCPU1、メモリ2等の構成と、図2のメモリ2に展開され、CPU1で実行されるコンピュータプログラムとによって実現される。このプログラムは、コンピュータが読み取り可能で、コンピュータから着脱可能な記憶媒体に格納し、コンピュータにインストールするようにしてもよい。また、ネットワーク上のサーバからコンピュータにダウンロードし、インストールするようにしてよい。また、プログラム自体は、ネットワーク上のサーバにインストールしておき、プログラムの機能だけをコンピュータを利用するユーザに提供してもよい。
図3のように、本設計支援装置の制御部20は、表示制御手段21、入力手段22、制御手段20A、管路構成記憶手段23A、部材属性記憶手段23B、部材特定手段24、仮定経路生成手段25、管路形成手段26、配置可否判定手段27、管路延伸手段28、迂回延伸手段29、評価手段36、中断点検出手段37、平面判定手段30、単一目標平面経路設定手段31、複数目標平面経路設定手段32、第1のレベル間接続手段33、および第2のレベル間接続手段34を有している。
このうち、表示制御手段21は、CPU1からの指令にしたがって、CPU1が処理した情報を表示装置8に表示する。表示制御手段21は、例えば、部材を表す図形要素を位置関係にしたがって配置することによって管路を画面上に表示する。
また、入力手段22は、入力装置6に対するユーザ操作を検知し、CPU1に伝達する。入力手段22は、例えば、画面上で管路中のつなぎ直し個所の指定を受け付ける。
表示装置8、入力装置6、表示制御手段21、および入力手段22は、例えば、画面上のGUI(グラフィックスユーザインターフェース)部品の表示と、GUI部品に対する操作を検知し、ユーザインターフェースを構成する。
制御手段20Aは、例えば、設計支援装置を構成する演算処理部分に相当する。より具体的には、制御手段20Aは、演算処理部分のメインプログラムによって実現される。この制御手段20Aに、多数の演算処理の部品、例えば、コンピュータプログラムのモジュールが組み合わせられている。以下、そのような演算処理の部品を例示する。
部材特定手段24は、入力手段22を通じて指定されたつなぎ直し個所の管路部分を構成する部材を特定する。
仮定経路生成手段25は、指定されたつなぎ直し個所に代わる仮定経路を生成する。管路形成手段26は、仮定経路にしたがって管路部分を構成する部材を配置することによって新たな管路部分を形成する。
配置可否判定手段27は、部材の管路方向の長さに基づいてその部材を仮定経路に配置できるか否かを判定する。管路延伸手段28は、つなぎ直し個所の部材のすべてを仮定経路に施工上配置しきれないときに、仮定経路の両端の2点の少なくとも一方の点から他方の点に対して離れる方向にその一方の点の位置する管路に沿って延伸する。迂回延伸手段29は、特定された部材のすべてを延伸された仮定経路に施工上配置しきれないときに、2点の一方の点から他方の点に対して離れる方向に経路を屈曲して延伸する継手を付与するとともに、継手にて屈曲した延伸方向に一旦延伸した位置から他方の点に接続される新たな仮定経路を生成する。
評価手段36は、つなぎ直し個所の管路部分と新たな管路部分とで、少なくとも管路部分の長さと管路部分に含まれる曲がり部分の数とから評価される管路部分の複雑さを評価する。
以上の制御手段20Aの部品(モジュール)は、管路構成記憶手段23Aと、部材属性記憶手段23Bのデータを参照しつつ、演算処理を実行する。管路構成記憶手段23Aは、管路に含まれる部材の接続順を含む位置関係を記憶する。部材属性記憶手段23Bは、部材の管路方向の長さ、および分岐部材の分岐方向への突き出し量を含む部材属性を格納する。部材には、例えば、少なくとも管部材と分岐部材と管部材を他の部材に接続する接続部材とを含む。
さらに、仮定経路生成手段25は、以下の構成部品を有する。すなわち、中断点検出手段37は、つなぎ直し個所の管路部分の両端点のうち、一方の点に接続される管路上で管路が中断している第1の中断点と、他方の点に接続される管路上で管路が中断している第2の中断点を検出する。そして、仮定経路生成手段25は、第1の中断点と第2の中断点との間の経路を含む仮定経路を生成する。
平面判定手段30は、平行平面判定手段30Aと、ベクトル平面判定手段30Bとを含む。平行平面判定手段30Aは、つなぎ直しに係る管路が、例えば、第1の機器と第2の機器を接続する管路であるとき、第1の機器の接続部における配管の配置方向を示す起点ベクトルと第2の機器の接続部における配管の配置方向を示す終点ベクトルとが同一平面上にあるか否か、および起点ベクトルと終点ベクトルとが互いに平行な異なる平面にあるか否かを判定する。また、ベクトル平面判定手段30Bは、起点ベクトルと終点ベクトルの一方が、XY平面、YZ平面、またはZX平面と平行な平面上にあるか、否かを判定する。
そして、起点ベクトルと終点ベクトルとが同一平面上になく、かつ、起点ベクトルと終点ベクトルのうち一方のベクトルが、XY平面、YZ平面、またはZX平面と平行な第1の目標平面上にあるときに、単一目標平面経路設定31は、手段第1の目標平面上にない他方のベクトルの示す接続部から90度継手、45度継手、他方のベクトル方向の直管と90度継手との組み合わせ、または、他方のベクトル方向の直管と45度継手との組み合わせによって第1の目標平面に平行な第2の目標平面上の直管に接続する。このとき、第1のレベル間接続手段33は、第2の目標平面の直管から第1の目標平面への経路を設定する。
また、起点ベクトルと終点ベクトルとが同一平面上になく、かつ、起点ベクトルと終点ベクトルとがいずれもXY平面、YZ平面、またはZX平面と平行な平面上にないときに、複数目標平面経路設定手段32は、2つの座標軸に平行な第3の目標平面上の経路であって、起点ベクトルの示す接続部から90度継手、45度継手、起点ベクトル方向への直管と90度継手との組み合わせ、または、他方のベクトル方向の直管と45度継手との組み合わせによって接続可能な第1の直管の経路を設定する。その設定とともに、複数目標平面経路設定手段32は、2つの座標軸に平行な第4の目標平面上の経路であって、終点ベクトルの示す接続部から90度継手、45度継手、終点ベクトル方向への直管と90度継手との組み合わせ、または、他方のベクトル方向の直管と45度継手との組み合わせによって接続可能な第2の直管の経路を設定する。このとき、第2のレベル間接続手段34は、第2の直管から第1の直管への配管の経路を設定する。
<データ構造>
図4Aから図6に、本設計支援装置が処理する主要なデータの構造を示す。これらのデータ構造で示す情報はメモリ2またはハードディスク上のファイルに格納される。
図4Aに、配管の経路を記述するルート情報のデータ構造例を示す。ルート情報は、単一のデータファイルに、ルート情報を格納してもよいし、個々の接点ごとに異なるファイルに情報を格納し、複数のファイルの集合によってルート情報を構成してもよい。
ルート情報は、節点と節点との接続関係を示すリスト構造200と、先頭節点へのポインタを示す先頭指示情報201とで構成される。先頭指示情報201は、ルート識別情報と、先頭節点へのポインタとを含む。ルート識別情報は、個々の経路をユニークに識別する情報である。
先頭節点へのポインタは、先頭の節点の要素情報202を指す情報であり、例えば、先頭節点の情報を有する要素情報202のアドレスである。また、要素情報202は、次の節点へのポインタ、上流へのポインタ、枝分かれ節点へのポインタ、および節点識別情報を含む。
このうち、次の節点へのポインタは、当該節点に隣接する次の節点の要素情報を指すポインタである。また、上流へのポインタは、リスト構造をさかのぼる方向、すなわち、逆方向へのポインタである。また、枝分かれ節点へのポインタは、当該節点が分岐しているときに、分岐経路の先頭を示すポインタである。また、節点識別情報は、図4Cの節点定義ファイルで定義された節点の識別情報である。この節点識別情報をキーに節点情報ファイルを検索することで、当該節点の属性を読み出すことができる。
本設計支援装置は、このようなデータ構造で定義される配管のルートを検索し、配管に含まれる部材を抽出する。さらに、本設計支援装置は、その配管に代わる新たな管路を生成し、基の配管から抽出された部材を配置する。
図4Bは、部材配置情報ファイルのデータ構造例を示す図である。部材配置情報ファイルは、管路を構成する部材の種類と、部材の接続点を記録するファイルである。部材配置情報ファイルは、配置識別情報と、基準座標、始点の節点識別情報、終点の節点識別情報および属性を有する。
配置識別情報は、配置された部材を個々に識別する識別情報である。部材は、管路上の区間を占有するので、配置識別情報は、部材の存在する区間の識別情報と考えることもできる。
基準座標は、部材ごとの原点の位置する座標である。部材ごとの原点は、部材内の座標系の原点である。始点の節点識別は、管路上で、当該部材が占有する区間の開始点に相当する節点を識別する情報である。また、終点の節点識別は、管路上で、当該部材が占有する区間の終了点に相当する節点を識別する情報である。これらの識別情報は、ルート情報で説明した節点識別情報と同一の情報である。したがって、始点の節点識別と終点の節点識別とによって、部材の管路上の占有区間が特定されることになる。さらに、節点定義ファイルを参照することによって、始点から終点への管路方向を特定できる。
また、属性は、接点と接点とで挟まれた管路部分の属性である。この管路部分には、1つの部材が配置される。本実施形態では、属性として、部材、接続口の順序、および分岐がある場合の分岐の向きを有する。部材は、節点に配置されている部材の種類を特定する。
部材の種類は、例えば、機器(接続口)、バルブ、45度継手、90度継手、45度の整数倍の角度以外の角度で経路を替える継手(任意角継手という)、レジューサ等が設定される。なお、部材の種類としては、部材マスタ(図5参照)に定義されている部材識別情報が指定される。また、接続口の順序は、その節点において管路(始点から終点)に対して部材が正方向に配置されるか、逆方向に配置されるかを記録する。各部材の正方向と逆方向とは、それぞれの部材ごとに、部材マスタに定義される。なお、接続される管路の方向に垂直な中心面に対して対称な部材の場合には、向きを記録する必要がない。
分岐のある場合の分岐の向きとしては、XYZ軸で定められる座標系での単位ベクトルが指定される。
図4Cに、節点定義ファイルのデータ構造を示す。節点定義ファイルは、節点識別情報と、その節点識別情報で指定される節点の座標を定義したファイルである。節点定義ファイルの1レコードに1節点が定義される。図4Cでは、表の1行が1レコードに相当する。また、図4Cの節点定義ファイルで定義されている節点の節点識別情報が、図4Aおよび図4Bの節点識別情報に使用される。
図5に、部材マスタのデータ構造例を示す。部材マスタは、本設計支援装置が取り扱う部材を定義したファイルである。部材マスタの1つのレコードは、部材識別情報、部材名、およびそれぞれの部材別仕様テーブルへのポインタを含む。
部材識別情報は、本設計支援装置にてそれぞれの部材の種類をユニークに識別する情報である。部材名は、それぞれの部材の名称である。部材名としては、例えば、弁類、分岐(分岐継手ともいう)、レジューサ(レジューサ継手ともいう)、フランジ、縦管等を例示できる。部材別仕様テーブルへのポインタは、弁類、分岐、レジューサ、フランジ、縦管等、それぞれの部材の仕様を定義したテーブルへの格納先を定義する。ここで、格納先とは、それぞれの部材の仕様を定義したテーブルのファイルパス名、あるいは、メモリ上の先頭アドレス等である。
このように、本設計支援装置は、部材マスタから、それぞれの部材別仕様テーブルへのポインタを検索し、それぞれの部材の寸法、管路方向の長さ、接続口の数、接続の向き、分岐の有無、分岐の方向、分岐方向の突き出し量、それぞれの部材を画面に表示するときのグラフィックスシンボル(画像パターン、部材を示す線図形)等を取得する。
図6に、中間部材リストアップテーブルのデータ構造およびデータ例を示す。中間部材リストアップテーブルは、管路のつなぎ直しの対象の管路部分に、つなぎ直し前に配置さ
れていた中間部材の一覧で、後述する管路つなぎ直し後の部材再配置に用いられる。中間部材リストアップテーブルに登録される部材が、本発明の「特定された部材」に相当する。本設計支援装置は、つなぎ直し前の管路部分から部材を逐一リストアップし、中間部材リストアップテーブルに記録する。そして、つなぎ直し後の管路部分に、中間部材リストアップテーブルに記録されている部材を配置する。
図6のように、中間部材リストアップテーブルは、1つの行(レコード)に1つの部材を記録する。中間部材リストアップテーブルの各レコードは、順序番号、部材種別、接続口の順序、管路方向の長さ、分岐がある場合の分岐の方向、分岐方向の突き出し量、分岐テーブルへのポインタを有している。
ここで、順序番号は、部材の管路部分内での配置順である。順序番号には、例えば、図1の右側に例示した点P3から点P4に向かって部材の配置順に通し番号が設定される。この場合に、点P3を開始点といい、点P4を終了点という。また、それぞれの管路部分は、図4Aに示したルート情報、および、図4Bに示した部材配置情報を基に参照される。図4Bの部材のうち、継手は、管路の曲がり部分に配置される。したがって、曲がり部分の存在する管路に対する部材リストアップテーブルには、継手が存在するが、曲がり部分の存在しない管路に対する部材リストアップテーブルには、継手が存在しない。
部材種別は、部材の種別を示す情報であり、部材配置情報に定義されている部材の情報が格納される。接続口の順序、分岐がある場合の分岐の方向、および分岐方向の突き出し量は、図5の部材マスタで参照する分岐仕様テーブルの格納先に格納される。管路方向の長さは、ユーザが指定したつなぎ直し対象の管路に接続される部分(管路に対して入り口および出口となる端点間)の長さである。
この管路方向の長さは、部材配置情報(図4B)の始点と終点の長さとして求めることができる。また、部材マスタ(図5)を基に、部材別仕様テーブルから、管路方向の長さを求めてもよい。この場合の管路方向の長さは、分岐については、分岐方向以外の長さであり、分岐のない部材(継手、直管、バルブ、レジューサ等)については、部材の入り口と出口との間の長さとして、部材別仕様テーブルに定義されている。
分岐テーブルへのポインタは、部材種別が、2(分岐)である場合に、その分岐方向で構成される管路から抽出された部材の中間部材リストアップテーブル(これを分岐先リストアップテーブルと呼ぶことにする)の格納先(メモリの先頭アドレス、あるいは、ファイルのパス名およびファイル名等)である。分岐先リストアップテーブルの構造は、図6の中間部材リストアップテーブルの構造と同様である。
以下、図7から図41の図面を参照して、本発明の実施例1を説明する。図7は、管路をつなぎ直し処理を例示するフローチャートである。この処理は、例えば、画面上のつなぎ直し処理を起動するメニューの項目をユーザが選択することで起動される。ただし、処理が起動した後でも、ユーザが入力装置6のエスケープキーを押下すると(S1でYESの場合)、処理が終了する(S2)。
エスケープキーが押下されることなく(S1でNOの場合)、ユーザが、入力装置6を用いて、画面に表示された管路のつなぎ直し区間の2点(開始点P1と終了点P2)を指定すると、本設計支援装置は、その指定を受け付ける(S3)。
そして、設計支援装置は、2点がつながった管路にあるか否かを判定する(S4)。2点がつながった管路にない場合、本設計支援装置はエラーメッセージを表示し(S5)、
制御をS3に戻し、2点の指定を促す。
2点がつながった管路上にある場合、本設計支援装置は、指定された2点それぞれについて、2点の位置にある部材の種別を判断する(S6)。本設計支援装置は、部材の種別に応じて、すなわち、直管、継手・弁類、分岐等により、処理を分ける。開始点と終了点が、指定された2点のままでよいかどうかを判断するためである。
この処理では、本設計支援装置は、開始点P1あるいは終了点P2の座標近傍の継手を示すグラフィックスオブジェクト(例えば、直管を記述するライン、継手を記述するL字側のライン、バルブを記述する多角形の座標値)から、開始点P1あるいは終了点P2が位置する個所の部材を認識する。すなわち、本設計支援装置は、開始点P1および終了点P2と画面上に表示されているグラフィックスオブジェクト(図形要素ともいう)との位置関係から、それぞれの点の位置する管路中の部材を特定する。例えば、画面上のグラフィックスオブジェクトの輪郭線に囲まれた領域に、開始点P1あるいは終了点P2が位置する場合に、開始点P1あるいは終了点P2が、そのグラフィックスオブジェクトで示される部材上に位置すると判定すればよい。
そして、例えば、開始点P1あるいは終了点P2が直管の場合、直管上のどの点を開始点、あるいは終了点としてもよい(S7)。デフォルトの処理は、指定された開始点P1あるいは終了点P2をそのまま維持する。
また、開始点P1あるいは終了点P2が継手あるいは弁類上にある場合、その継手あるいは弁類のつなぎ直し区間側の接続点(ここでは開口の中心)が開始点あるいは接続点となる(S8)。図8Aに、開始点P1あるいは終了点P2の位置が、継手あるいは弁類上の点とされた場合の処理の概念を示す。なお、図8Aの左部分には、参考として、直管の処理が示されている。なお、これらは開始点と終了点がつながっているが中間を省略して図示している。直管の場合には、指定された開始点P1、終了点P2が一応のそのまま使用されるが、スペースがない等、施工上不都合が想定できる場合は、直管上の他の任意の点に、開始点P1と終了点P2を移動するようプログラムしてもよい。
図8Aの中央には、継手の場合の処理が例示されている。開始点P1が、継手上にあった場合、本設計支援装置は、その継手が接続されている管路部分で終了点方向の接続点P01を特定する。また、終了点P2が、継手上にあった場合、本設計支援装置は、その継手が接続されている管路部分で開始点方向の接続点P02を特定する。
図8Bに、ユーザ指定の開始点P1あるいは終了点P2の位置が、継手上の場合のつなぎ直し対象の管路の起点、終点、および方向ベクトル(起点ベクトル、終点ベクトル)を特定する手順を例示する。例えば、ユーザが入力装置6を用いて、画面上に表示された継手上の位置P11をポインタした場合を考える。この場合、つなぎ直しの対象管路は、図8Bの位置P11から左側の管路であったとする。この場合、本設計支援装置は、管路の中心線LCと、継手の左側の接続口断面の交点P1を開始点P1(あるいは終了点P2)に設定する。また、開始点P1から管路方向(中心線LC方向)を方向ベクトル(起点ベクトルV1、あるいは終点ベクトルV2)として設定する。
図8Aの右側には、弁類の場合の処理が例示されている。開始点P1が、弁類上にあった場合、本設計支援装置は、その弁類が接続されている管路部分で終了点方向の接続点P01を特定する。なお、図8Aでは示されていないが、終了点P2が弁類の場合も同様である。
次に、図7に戻る。開始点P1あるいは終了点P2が分岐上にある場合、その分岐のつ
なぎ直し区間側の接続点(ここでは開口の中心)が開始点あるいは接続点となる(S9)。図9の上部に、開始点P1あるいは終了点P2の位置が、分岐上の点とされた場合の処理の概念を示す。例えば、開始点P1が、分岐上の点であった場合、本設計支援装置は、その分岐が接続されている管路部分で終了点方向の接続点P01を特定する。なお、図9では示されていないが、終了点P2が分岐上の点であった場合も同様に処理すればよい。
次に、図7に戻る。設計支援装置は、対象区間内に閉じた管路、すなわち、循環路を構成する管路があるか否かを判定する(S11)。そして、対象区間内に複数の管路がある場合、本設計支援装置は、メッセージを表示し、処理を終了し、制御を開始の状態にもどす。なお、複数の経路が存在する場合には、いずれの区間をつなぎ直しの対象とするかについて、ユーザの指示を促すようにしてもよい。図9の下側に、対象区間内に複数管路がある場合の構成を例示する。
次に、本設計支援装置は、開始点と終了点との間にある部材をリストアップする(S10)。リストアップは、図4Aに示したルート情報を開始点P1から終了点P2まで探索する処理である。リストアップした結果は、図6に示した中間部材リストアップテーブルの形式で、メモリ2に保存される。
次に、本設計支援装置は、2点間のつなぎ直し処理を実行する(S13)。2点間のつなぎ直し処理では、本設計支援装置は、開始点P1を起点とし、終了点P2を終点とする。また、開始点P1での管路の方向を起点ベクトルV1とする。また、開始点P1での管路の方向を終点ベクトルV2とする。起点ベクトルV1は、起点が位置する管路の方向から取得する。例えば、ユーザが配管を表示した画面上、所定の点を開始点P1に指定した場合を仮定する。この場合、本設計支援装置は、ユーザが指定した開始点P1を基に、その開始点P1を含む、部材のグラフィックスシンボルの情報から、部材の配置識別情報を認識する。次に、本設計支援装置は、図4Bに示した部材配置情報を探索し、その部材の始点節点識別情報および終点の節点識別情報から、部材の方向を求める。そして、その部材の方向の単位ベクトルを起点ベクトルV1に設定する。終点ベクトルについても、同様である。そして、これらの起点P1、終点P2、起点ベクトルV1、終点ベクトルV2をサブプログラムに引き渡し、2点間のつなぎ直し処理の実行を依頼する。2点間のつなぎ直し処理は、図14以降にて、詳細に説明する。
さらに、本設計支援装置は、中間部材がないか否かを判定する(S14)。中間部材がない場合には、画面につなぎ直し結果の管路の図を表示する(S15)。
一方、中間部材がある場合、本設計支援装置は、画面に接続結果を仮表示する(S17)。仮表示では、まだ、中間部材が配置されていない。仮表示された管路を仮定管路と呼ぶ。仮表示の後、本設計支援装置は、仮定管路上にリストアップした中間部材を再配置する(S18)。
図10に、仮定管路上にリストアップした中間部材を配置する処理例を示す。すなわち、仮定管路上で、始点P1から順に、中間部材リストアップテーブル上の順序番号順に、部材を配置していく。図6に示したように、各部材は、管路方向に長さを有している。その部材の長さを最小間隔として、中間部材(ここでは、バルブとレジューサと分岐)を仮定管路に配置する。
仮定管路は元の管路よりも短くなっている場合が多い。したがって、すべての部材が仮定管路に配置できない場合もあり得る。その場合、始点P1が直管上にある場合には、直管上を終点方向と逆方向に移動し、管路を延長する。
例えば、つなぎ直し区間の開始点をAとし、終了点をBとする。開始点Aから終了点Bとは逆方向の点Cで示される位置に移動する。そして、点Cから終了点Bの間で、中間部材を接続する。開始点を点Cに移動しても、まだ、配置しきれない場合で、終了点Bの位置する部材が直管の場合、終了点Bを始点Aから遠くなる方向(例えば、直管の末端D)に移動する(逆方向に遡らせる)。なお、始点、終点がともに直管上の点である場合、いずれを先に逆方向に遡らせるかは任意である。このようして、つなぎ直した区間に元の部材を配置できない場合で、始点P1または終点P2の置かれた部材が直管の場合、つなぎ直した区間を前後に延長する。
このように延長してもまだ元の部材を配置できない場合、本設計支援装置は、つなぎ直し区間に迂回路を追加する。図11に迂回路を追加する処理例を示す。すなわち、ここでは、つなぎ直し区間の開始点をAとし、終了点をBとする。また、仮定管路の長さをL0とし、部材をすべて配置するため必要な長さをD0として、不足分ΔD=D0−L0とする。
本設計支援装置は、つなぎ直し区間の開始点Aにおいて、水平面内で、直管Aから90度方向で、かつ、終了点Bから遠くなる方向に直管L1を延ばす。この直管の長さL1は、例えば、L1=ΔD/2+αとする。αは、余裕を持たせるための規定値である。そして、直管を長さL1だけ延ばした位置を中間点Eとして、中間点Eと終了点Bとの間で、管路を接続する。
このようにして、つなぎ直された管路A−E−Bにて、部材を配置する。また、このような処理の後も、部材が配置できなかった場合には、上記αを調整して、管路A−E−Bの長さを調整する。
再び、図7に戻る。中間部材を配置した後、本設計支援装置は、中間部材に分岐が含まれているか否かを判定する(S19)。中間部材に分岐が含まれている場合、分岐先の配管処理を実行する。分岐先の配管処理は、仮定管路に配置された新たな分岐の位置に、元の分岐管路をつなぐ処理である。
図12Aに、分岐先の配管処理の例を示す。図12Aでは、図11の処理がされたものとして、変更(つなぎ直し)前のつなぎ直された管から分岐する管の接続位置を点SPBとして、変更(つなぎ直し)後のつなぎ直された管の接続位置を点SPAとしている。そして、本設計支援装置は、つなぎ直し後の接続位置である点SPAから、つなぎ直し前の分岐配管L5上で距離が最も短くなる点SPCを探索する。そして、点SPAと点SPC間で、2点間のつなぎ直し処理を実行する。この処理は、S13の場合と同様である。そして、さらに、つなぎ直し前の点SPBと点SPC間に、部材が存在していた場合には、新たな管路である点SPAと点SPCとの間に、その部材を配置する。この配置処理は、S18の処理と同様である。そして、本設計支援装置は、つなぎ直し結果の管路の図を表示する(S21)。図12Bは、図12Aでの処理、すなわち、つなぎ直し結果の管路の図の例である。つなぎ直し後の管路上に、部材すなわち、分岐、レジューサ、バルブが、I、II、IIIで示される順に、配置される。この順序は、つなぎ直し前の部材の順序と等価である。
図14に、2点間つなぎ直し処理(図7のS13)で実行される処理の詳細を例示する。この処理は、例えば、コンピュータのサブプログラムとして実現される。このサブプログラムは、起点P1、起点ベクトルV1、終点P2、および終点ベクトルV2を引き渡され、起点P1から終点P2との間を接続する管路を形成する。
このサブプログラムを実行する本設計支援装置は、まず、起点ベクトルV1と終点ベク
トルV2とが同一平面上にあるいか否かを判定する(M1)。2つのベクトルが同一平面上にあるか否かは、それぞれのベクトルを含む2つの直線の方程式を設定し、2つの直線が平行であるか、平行でない場合に交点を有するか否かで判定すればよい。
起点ベクトルV1と終点ベクトルV2とが同一平面上にある場合には、本設計支援装置は、共有平面上での二次元処理を実行する(M2)。
また、起点ベクトルV1と終点ベクトルV2とが同一平面上にない場合には、本設計支援装置は、基点ベクトルV1と終点ベクトルV2とは、互いに段差のあるXY水平面(XY平面)に平行な2つの平面上にあるか否かを判定する(M1A)。起点ベクトルV1と終点ベクトルV2とが同一平面上にない場合には、本設計支援装置は、基点ベクトルV1と終点ベクトルV2とは、互いに段差のあるXY水平面(XY平面)に平行な2つの平面上にある場合、本設計支援装置は、2つの水平面を接続し、それぞれの水平面内での二次元処理を実行する(M2A)。
起点ベクトルV1と終点ベクトルV2とが、互いに段差を有する2つの水平面上(XY平面に平行な平面上)にある場合には、縦管を用いて、2つの水平面を接続することにより、基本的には、管路がすべて1つの平面上にある場合の処理に帰着できる。例えば、起点P1から90度継手、45度継手、直管と90度継手との組み合わせ、または、直管と45度継手との組み合わせによって、縦管に接続すればよい。そして、縦管を終点ベクトルP2のある平面にまで延伸し、90度継手または45度継手によって、終点ベクトルP2のある平面上の配管に接続すればよい。起点ベクトルV1と終点ベクトルV2とが、YZ平面、あるいは、ZX平面に平行な2つの平面上にある場合も同様である。
この場合に、起点P1からではなく、終点P2から90度継手、45度継手、直管と90度継手との組み合わせ、または、直管と45度継手との組み合わせによって、縦管に接続してもよい。そして、縦管を終点ベクトルP2のある平面にまで延伸し、90度継手または45度継手によって、終点ベクトルP2のある平面上の配管に接続すればよい。
図13に、起点ベクトルV1と終点ベクトルV2とが、互いにレベル差を有する、すなわち、部材の接続点の高さ等、位相の異なる2つの水平面上にある場合の処理例を示す。本実施形態では、終点に最も近い曲がり部分に、縦管LPIを設定する。また、2つの平面上のつなぎ直した管路部分に曲がりが生じなければ、終点P2の位置に縦管LPIを設けることにする。ただし、本設計支援装置の処理は、図13の例に限定される訳ではない。例えば、縦管LPIを始点P1に近い曲がり部分に置いてもよい。また、極力始点P1と終点P2の中間付近の曲がりに縦管LPIを設けてもよい。この縦管LPIの両端には、それぞれ90度継手を設ける。両端の90度継手は、縦管に対して360度回転可能である。したがって、起点P1から縦管LPIまでの第1の二次元処理、および縦管LPIから終了点P2までの第2の二次元処理をそれぞれ実行すればよい。それぞれの二次元処理は、そのまま図14のM2の処理を適用できる。
このように、縦管を設けることで、始点P1(および起点ベクトルV1)のある平面上での始点から縦管LPIまでの管路のつなぎ直しと、終点P2(および終点ベクトルV2)のある平面上での、縦管LPIから終点P2までの管路のつなぎ直しを実行すること、段差のある管路においても、水平面上の処理にて、管路のつなぎ直しを実行できる。なお、縦管および縦管に接続される部材は1つの塊データとして扱ってもよい。塊データとして扱うとは、縦管および縦管に接続される部材をグループ化し、一体化して操作する対象にすることをいう。
次に、本設計支援装置は、起点ベクトルV1と終点ベクトルV2の一方は、X、Yまた
はZ軸に平行か否かを判定する(M3)。これは、起点ベクトルV1と終点ベクトルV2のいずれかのX、Y、Z成分のいずれかが、X、Y、Z成分のいずれかだけを持つかどうか、すなわち、2つの軸方向の成分が0か否かを判定する処理である。
そして、起点ベクトルV1と終点ベクトルV2の一方が、X、YまたはZ軸に平行な場合、本設計支援装置は、座標軸に平行なベクトルを含む処理を実行する(M4)。また、起点ベクトルV1と終点ベクトルV2のいずれもが、X、YまたはZ軸上に平行でない場合、本設計支援装置は、起点ベクトルV1と終点ベクトルV2の一方が、XY、YZ、およびZX平面のいずれかに平行な平面の上にあるか否かを判定する(M5)。これは、起点ベクトルV1と終点ベクトルV2のいずれかのX、Y、Z成分のいずれかが0であるか否かを判定する処理である。M1、M3、およびM5の判定を実行するCPU1が、平面判定手段30に相当する。
そして、起点ベクトルV1と終点ベクトルV2の一方が、XY、YZ、およびZX平面のいずれかに平行な平面の上にある場合、本設計支援装置は、XY、YZ、およびZX平面に平行な平面上のベクトルを含む処理を実行する(M6)。また、起点ベクトルV1と終点ベクトルV2の両方が、XY、YZ、およびZX平面のいずれにも平行でないとき、本設計支援装置は、2つのベクトルがXY、YZ、およびZX平面のいずれにも平行でない場合の処理を実行する(M7)。
図15に、共有平面上での二次元処理(図14のM2)の処理を例示する。この処理では、本設計支援装置は、まず、起点ベクトルV1と終点ベクトルV2とが平行かつ対向しているか否かを判定する(M21)。対向しているとは、ベクトルの向きが逆であることをいう。
(A)2つのベクトルが平行かつ対向している場合(行き違いを除外);
図16に、起点ベクトルV1と終点ベクトルV2とが平行かつ対向している例を示す。2つのベクトルが平行か否かは、2つのベクトルの内積で判定できる。また、平行な2つのベクトルが対向しているか否かは、2つのベクトルに対して、それぞれ長さ1の単位ベクトルを求め、2つの単位ベクトルの加算結果がキャンセルして0(または0に近い許容値ε以下の値になるか)、2つの単位ベクトルの加算結果が単位ベクトルの2倍の大きさのベクトルに近づくか、によって判定すればよい。なお、ここでは、起点ベクトルV1と終点ベクトルV2とが行き違いの場合(図22参照)を除外する。行き違いの状態にあるか、否かの判定方法は、(B)にて説明する。
今、図16に示すように、起点P1を通り、基点ベクトルV1に平行な直線L1と、終点P2を通り、終点ベクトルV2に平行な直線との距離をΔD1とする。距離ΔD1は、起点P1を通り、起点ベクトルV1を含む直線が、終点P2を含む終点ベクトルV2に垂直な平面PLN2(基点ベクトルV1との直交面でもある)と交わる交点P3を求めると、終点P2と交点P3との距離ΔD1として算出できる。ただし、より一般的には、一方の直線L2に垂直な平面PLN2と、他方の直線L1との交点から、一方の直線L2に引いた垂線の長さとして求めることができる。
また、起点P1を通り、起点ベクトルV1に垂直な平面PLN1と、起点P2を通り、起点ベクトルV2に垂直な平面PLN2との距離をΔD2とする。
距離ΔD2は、起点P1を通り、起点ベクトルV1を含む直線が、終点P2を含む終点ベクトルV2に垂直な平面と交差する交点P3を求めると、起点P1から交点P3までの距離として求めることができる。ただし、逆に、終点P2を通り、終点ベクトルV2を含む直線が、起点P1を通り起点ベクトルV1に垂直な平面と交差する点と終点P2とから
距離ΔD2を求めてもよい。
以下、この距離ΔD1、ΔD2によって、起点P1と終点P2とを以下のように分類する。)
起点ベクトルV1と終点ベクトルV2とが平行かつ対向している場合(M21でYESの場合)、本設計支援装置は、対向ベクトル処理を実行する(M22)。対向ベクトル処理は、起点P1と起点P2との位置関係、および起点ベクトルV1と終点ベクトルV2と位置の関係を分類することで処理、例えば継手による接続の描画がされる。
(1)距離ΔD1=0または距離D1<所定の許容値ε;
これは、起点P1からの起点ベクトルV1と終点P2からの終点ベクトルV2とが、同一直線上にある場合である。この場合には、起点P1と終点P2とを直管で接続する。図17に、起点P1と、終点P2とを直管で接続する例を示す。
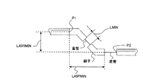
(2)許容値ε<距離ΔD1<L45RMIN;
L45RMINは、2つの平行な配管を45度継手で接続するための最低限必要な、配管に垂直な方向の距離である。L45RMINは、45度継手の配管に垂直は方向の長さと、45度継手間の直管の最低長さLMINから定まる値であり、継手の製造上の形状特性で決定されるカタログ値である。この場合に、接続すべき開口と開口との間の接続点ベクトル(起点ベクトルV1、終点ベクトルV2)に平行な方向の距離によって以下のように、さらに場合分けする。
(2−1)LAPMIN<距離ΔD2;
LAPMINは、互いに対向する配管同士を任意角継手で接続するために必要な配管に平行な方向の最低限の距離である。LAPMINは、継手の配管に平行な方向の長さと、継手間の直管の最低長さLMINから定まる値であり、継手の製造上の形状特性で決定されるカタログ値である。
この条件を満足する場合には、起点P1と終点P2とを任意角継手で接続する。図18に、任意角継手で配管を接続する例を示す。この場合、起点P1と終点P2との距離に応じて、直管が挿入されることになる。
(2−2)距離ΔD2<LAPMIN;
この場合には、任意角継手を起点P1と終点P2との間に配置できないため、90度継手を複数組み合わせて、迂回路を形成する。図19に、迂回路を形成して、起点P1と終点P2とを接続する例を示す。ここでは、起点P1、直管1、90度継手、直管2、90度継手、直管3、90度継手、直管4、90度継手、終点P2によって、迂回路が形成される。これによって、直管1によって、起点P1の位置がP11まで移動されることになる。なお、起点P1を含む配管PIPE1または終点P2を含む配管PIPE2と、迂回路とが干渉する場合、そのまま干渉が生じる状態で維持してもよいが、配管PIPE1の中心軸および配管PIPE2の中心軸を中心に、迂回路を揺動した位置に移動した上で直管2および直管4の長さを調整すればよい。すなわち、直管3を紙面に垂直な上下方向にシフトし、直管2および直管4を紙面に斜め方向にして接続すればよい。
迂回路が形成された個所は、いずれ配管をつなぎ直すことになる場合も多いと想定されるが、システム上でこのような管路が形成されることで、管路が輻輳していることが操作者の目を引き、つなぎ忘れを防止できる。すなわち、形成された迂回路の表示が、接続し直しのガイダンスとなる。
(3)L45RMIN<距離ΔD1<L90RMIN;
この場合も、接続すべき開口と開口との間の接続点ベクトル(起点ベクトルV1、終点ベクトルV2)に平行な方向の距離によって以下のように、さらに場合分けする。なお、L90RMINは、2つの平行な配管を90度継手で接続するための最低限必要な、配管同士の距離である。L90RMINは、90度継手の配管に垂直な方向の長さと、90度継手間の直管の最低長さLMINから定まる値であり、継手の製造上の形状特性で決定さ
れるカタログ値である。
(3−1)L45PMIN<距離ΔD2;
L45PMINは、対向する配管同士、平行な配管同士を45度継手で接続するために必要な配管に平行な方向の最低限の距離である。L45PMINは、継手の配管に平行な方向の長さと、継手間の直管の最低長さLMINから定まる値であり、継手の製造上の形状特性で決定されるカタログ値である。
この条件を満足する場合には、起点P1と終点P2とを45度継手で接続する。図20に、45度継手で配管を接続する例を示す。この場合、起点P1と終点P2との距離に応じて、直管が挿入されることになる。
(3−2)距離ΔD2<L45PMIN;
この場合には、45度継手を起点P1と終点P2との間に配置できないため、90度継手を複数組み合わせて、迂回路を形成する。迂回路の構成は、図19の場合と同様である。
(4)L90RMIN<距離ΔD1;
この場合も、接続すべき開口と開口との間の接続点ベクトル方向の距離によって以下のように場合分けする。
(4−1)L90PMIN<距離ΔD2;
L90PMINは、互いに対向する配管同士、平行な配管同士を90度継手で接続するために必要な配管に平行な方向の最低限の距離である。
この条件を満足する場合には、起点P1と終点P2とを90度継手で接続する。図21に、90度継手で配管を接続する例を示す。
(4−2)距離ΔD2<L90PMIN;
この場合には、90度継手を起点P1と終点P2との間に配置できないため、次に示す起点ベクトルV1と終点ベクトルV2とが平行かつ対向していない場合(P21でNOの場合)の処理と同様の処理を実行する。
なお、以上の分類では、許容値ε=<L45RMIN=<L90RMINの場合を例として説明した。例えば、L90RMIN<L45RMINの場合には、45度継手を使用せず、90度継手を使用する条件だけを考慮すればよい。すなわち、(2)の判定で、90度継手の寸法(L90RMIN)で判定するとともに、(3)の処理をなくせばよい。
(B)2つのベクトルが平行かつ対向していない場合;
以下、図15に戻り、起点ベクトルV1と終点ベクトルV2とが平行かつ対向していない場合(M21でNOの場合)、本設計支援装置は、起点ベクトルV1と終点ベクトルV2とが、対向していないが、平行であるか否かを判定する(M23)。起点ベクトルV1と終点ベクトルV2とが、対向していないが、平行である場合、本設計支援装置は、起点P1と終点P2との間に、90度継手で迂回路を形成する。図22−図24に、対向していないが、平行な起点ベクトルV1と終点ベクトルV2に対する処理例を示す。ここで、対向していなとは、起点ベクトルV1と、終点ベクトルV2とが行き違いの関係にあるか、または、方向が同一の場合ということができる。
図22に、行き違いの関係にある起点ベクトルV1と、終点ベクトルV2の例を示す。この場合には、図19の場合と同様、迂回路を形成する。図23に、起点ベクトルV1と、終点ベクトルV2とが、行き違いの関係にあって迂回路を形成する例を示す。
行き違いの関係にあるか、否かは、起点P1を起点ベクトルV1方向に微少量Δだけ移動した位置と、終点ベクトルP2と距離の変化ΔL=ΔD2の変化量を求め、ΔLが増加するか否かで判定できる。すなわち、始点P1の始点ベクトル方向への移動とともに、距
離ΔD2が長くなるか、短くなるかで判定できる。なお、すでに上記(4−2)で述べたように、本実施形態では、ΔD2<L90PMINとなる場合も、行き違いの場合と同様の処理を行う。
なお、迂回路が、起点P1を含む配管PIPE1あるいは終点P2を含む配管PIPE2と干渉する場合には、図19で説明した手順と同様、PIPE1およびPIPE2の中心軸を中心に迂回路を揺動させた位置に設定すればよい。
図24および図25に、平行な非対向ベクトルに対する処理例を示す。図24は、L90RMIN<距離ΔD1の場合である。この場合には、起点P1と終点P2とが、90度継手と直管で接続される。
図25は、距離ΔD1<L90RMINの場合である。この場合には、起点P1を通り起点ベクトルV1に平行な直線と、終点P2を通り終点ベクトルV2に平行な直線との間に90度継手を配置できないので、90度継手を組み合わせて迂回路を形成して、起点P1と終点P2とを接続する。
(C)2つのベクトルが非平行な場合;
次に、図15に戻って、起点ベクトルV1と終点ベクトルV2とが、処理M23の条件を満たさなかった場合について説明する。これは、例えば、入れ替え機器の内部の流路が、接続口に対して斜めに形成されている場合である。この場合、本設計支援装置は、ベクトルの角度ごとの処理を実行する(M25)。ベクトルの角度ごとの処理は、以下のように、起点P1と終点P2との位置関係、および起点ベクトルV1と終点ベクトルV2のなす角度θに応じて継手と直管とを組み合わせる処理である。
以下、起点P1を通り起点ベクトルV1に平行な直線L1と、終点P2を通り終点ベクトルV2に平行な直線L2のなす角度をθとする。ただし、直線のなす角は、2通りに定義できるが、本実施形態では、起点ベクトルV1と終点ベクトルV2の逆方向ベクトルのなす角度として定義される。
(1)交点PXでの角度θが45度未満の場合;
(1−1)交点PXの位置が、起点P1と終点P2との間に位置する場合には(図26参照)、任意角継手と直管で接続する(図27参照)。すなわち、交点PXに、角度θの任意角継手を配置し、始点P1と交点PXおよび交点PXと終点P2とを直管で接続する(図27参照)。ただし、始点P1と交点PXとの距離ΔDA1および交点PXと終点P2との距離ΔDA2が、任意角継手の中心から一方の端部への最小寸法LAMINより小さい場合には、(1−2)の処理による。
(1−2)交点PXの位置が、起点P1と終点P2との間に位置しない場合(図28参照)には、90度継手と任意角継手の組み合わせによって迂回路を形成する(図29参照)。図29の例では、起点P1、直管1、90度継手、直管2、90度継手、直管3、90度継手、直管4、任意角継手、終点P2の迂回路が形成される。
さらに、起点P1を有する配管PIPE1または終点P2を有する配管PIPE2のいずれか一方が迂回路と干渉する場合には、そのまま干渉が生じる状態で維持してもよいが、一旦、図の紙面に垂直な方向(例えば、図がXY平面を示す場合、Z軸方向)にレベルを移動する。例えば、図28、図29が、XY平面上にある場合、直管1にて一旦Z軸方向にシフトする90度継手と、直管2−4にてZ軸方向にレベルを戻す90度継手とを設ける。
(2)交点PXでのθが45度の場合;
(2−1)交点PXの位置が、起点P1と終点P2との間に位置する場合には、45度継手と直管で接続する。すなわち、交点PXに、45度継手を配置し、始点P1と交点PXおよび交点PXと終点P2とを直管で接続する(図30参照)。ただし、始点P1と交点PXとの距離ΔD451および交点PXと終点P2との距離ΔD452が、45度継手の中心から一方の端部への最小寸法L45MINより小さい場合には、(2−2)の処理による。
(2−2)上述の(2−1)ただし書きの場合、および、交点PXの位置が、起点P1と終点P2との間に位置しない場合(図31参照)には、90度継手と45度継手の組み合わせによって迂回路を形成する。図31の例では、起点P1、直管1、90度継手、直管2、90度継手、直管3、90度継手、直管4、45度継手、終点P2の迂回路が形成される。また、図30で、始点P1と交点PXとの距離ΔD451および交点PXと終点P2との距離ΔD452が、45度継手の中心から一方の端部への最小寸法L45MINより小さい場合も、同様に迂回路を形成する。
さらに、起点P1を有する配管PIPE1または終点P2を有する配管PIPE2のいずれか一方が迂回路と干渉する場合には、直管1にて一旦、図の紙面に垂直な方向(例えば、図がXY平面にある場合、Z軸方向)にレベルを移動する90度継手と、直管2にてZ軸方向にレベルを戻す90度継手を設ける。
(3)交点PXでのθが45度より大きく90度未満の場合;
この場合には、任意角継手として45度より大きく90度未満のものを用いることで、(2)の場合と同様の処理を実行する。図32に迂回路を形成する構成例を示す。
(4)交点PXでのθが90度の場合;
(4−1)交点PXの位置が、起点P1と終点P2との間に位置する場合には、90度継手と直管で接続する。すなわち、交点PXに、90度継手を配置し、始点P1と交点PXおよび交点PXと終点P2とを直管で接続する(図33参照)。ただし、始点P1と交点PXとの距離ΔD901および交点PXと終点P2との距離ΔD902が、90度継手の中心から一方の端部への最小寸法L90MINより小さい場合には、(4−2)の処理による。
(4−2)交点PXの位置が、起点P1と終点P2との間に位置しない場合(図34参照)には、90度継手の組み合わせによって迂回路を形成する。図34の例では、起点P1、直管1、90度継手、直管2、90度継手、直管3、90度継手、直管4、終点P2の迂回路が形成される。ただし、図33で、始点P1と交点PXとの距離ΔD901および交点PXと終点P2との距離ΔD902が、45度継手の中心から一方の端部への最小寸法L90MINより小さい場合も、同様に迂回路を形成する。
さらに、起点P1を有する配管PIPE1または終点P2を有する配管PIPE2のいずれか一方が迂回路と干渉する場合には、直管1にて一旦、図の紙面に垂直な方向(図がXYの場合にはZ軸方向)にレベルを移動する90度継手と、直管2にてZ軸方向にレベルを戻す90度継手とを設ける。
(5)交点PXでのθが90度より大きく135度未満の場合;
(5−1)交点PXの位置が、起点P1と終点P2との間に位置する場合には、起点ベクトルV1と、終点ベクトルV2の逆方向ベクトルのなす角θに対して、角度θを外角とする直角三角形TR1を設定する(図35参照)。直角三角形TR1は、交点PXと起点P1との間に起点ベクトルV1に直交する直線L1を設定することで、設定できる。
起点ベクトルV1を含む直線L1と、起点ベクトルV1に垂直な直線LH1との交点を
PX1とし、終点ベクトルV2を含む直線L2と起点ベクトルV1に垂直な直線LH1との交点をPX2とすると、交点PX、PX1、PX2三角形TR1を形成する。このとき、交点PX1に90度継手を配置し、交点PX2に任意角継手(45度未満)を配置することで、起点P1と終点P2とを接続できる。
ただし、以下の条件の場合には、図34の接続ができない。すなわち、交点P1と終点P2との間に、90度継手と任意角継手を配置できない。
(条件1)起点P1から交点PX1までの距離ΔDX1が、90度継手の中心から一方の開口までの最小寸法L90MINより小さい場合;
(条件2)終点P2から交点PX2までの距離ΔDX3が、任意角継手の中心から一方の開口までの最小寸法LAMINより小さい場合;
(条件3)交点PX1と交点PX2との距離ΔDX2が、90度継手と任意角継手のそれぞれの中心から一方の開口までの最小寸法の和であるL90MIN+LAMINより小さい場合;
この場合には、90度継手と任意角継手の位置関係を入れ替える。すなわち、直角三角形としては、交点PXと終点P2との間に終点ベクトルV2に直交する直線を設定し、同様の手順を実行する。そして、同様の手順のよって、交点P1と終点P2との間に、90度継手と任意角継手を配置できるか否かを判定する。配置できる場合には、その配置にて接続する。配置できない場合には、(5−2)の手順によって迂回路を構成する。
(5−2)交点PXの位置が、起点P1と終点P2との間に位置しない場合(図36参照)には、90度継手と任意角継手の組み合わせによって迂回路を形成する。図35の例では、起点P1、直管1、90度継手、直管2、90度継手、直管3、90度継手、直管4、任意角継手、終点P2の迂回路が形成される。
さらに、起点P1を有する配管PIPE1または終点P2を有する配管PIPE2のいずれか一方が迂回路と干渉する場合には、直管1にて一旦、図の紙面に垂直な方向(図がXY平面の場合、Z軸方向)にレベルを移動する90度継手と、直管1〜直管5のいずれかにてレベルを戻す90度継手を設ける。以上によって、図15(共有平面上での二次元処理)のベクトルの角度ごとの処理を終了する。
(D)2つのベクトルの一方が座標軸に平行な場合;
図37に、座標軸に平行なベクトルを含む処理(図14のM4)の詳細を例示する。また、図38に、座標軸に平行なベクトルを含む処理の概念を例示する。理解を容易にするため、図38の例では、起点P1が座標軸の原点(0,0,0)にあり、起点ベクトルV1が、X軸と平行であり、一方、終点ベクトルV2は、設定されたいずれの座標軸とも平行ではない場合を示している。この場合には、本設計支援装置は、まず、一方のベクトルである起点ベクトルV1がXY平面にあるものとして、終点P2からXY平面の点P3への経路を設定する。そして、その後、XY平面上の起点P1と点P3との間で、共有平面上での二次元処理を実行する。
この場合に、起点ベクトルV1を含む平面(図38では、XY平面)を目標平面TP1と呼ぶ。なお、起点P1および起点ベクトルV1がXY平面上になく、起点ベクトルV1がX軸に平行な場合、目標平面TP1は、起点ベクトルV1を含むXY平面に平行な平面として一般化できる。
また、終点P2の近傍に目標平面TP1に平行な目標平面TP2を設定する。目標平面TP2の位置は、終点P2から直管R0と90度継手CR1で、目標平面TP2上の直管R1に接続できる位置である。なお、直管R0は、終点P2に接続される直管であり、長さ0でも構わない。
以下、終点P2の近傍で、直管R0と90度継手CR1で接続可能な位置に目標平面TP2を設定する手順を説明する。まず、終点P2から終点ベクトルV2方向に所定長さ(例えば、長さ0とし、直管を省略してもよい)の直管R0の先端の位置P20に終点ベクトルV2に垂直な平面を想定する。また、位置P20を通る目標平面TP1に平行な目標平面TP2を想定する。そして、終点ベクトルV2に垂直な平面と目標平面TP2との交線の位置に直管R1を設定する。目標平面TP2は、図38でX2軸およびY2軸のなす平面である。直管R1は、XY平面に平行な目標平面TP2上にあり、かつ、終点ベクトルV2に直交する。したがって、終点P1から終点ベクトルV2方向に直管R0だけシフトした位置P20に90度継手CR1を設けることで、終点P2と直管R3を接続できる。
この場合に、目標平面TP1およびTP2は、第1には、XY平面に平行なものを候補して優先する。XY平面は、設備、配管が設けられる床と平行な平面とすると、図面の把握、および施工等において便宜であるからである。なお、入れ替え対象の機器によっては、XY平面の代わりに、壁、すなわち、ZX平面、YZ平面を基準とすると便宜となるものもある。例えば、壁掛けのエアーコンディショナー等を入れ替える場合である。
以上のように、この処理では、本設計支援装置は、まず、座標軸に平行なベクトル(例えば、起点ベクトルV1)から、目標平面TP1を設定する(M41)。
次に、本設計支援装置は、XYZ座標軸と平行でないベクトルの端点(終点P2)に90度継手CR1を配置し、目標平面TP1と平行な目標平面TP2(X2Y2平面)上の直管R1の経路を生成し、終点P2と直管R1とを接続する(M42)。この場合に、端点(終点P2)と90度継手CR1との間に、所定長さの直管R0を設けてもよい。また、90度継手CR1に替えて、90度継手CR1の経路をバイパスする経路(90度継手CR1の経路のなす直角に曲がる通路に対して、直角三角形の斜辺となる経路)を構成する45度継手を設けてもよい。この場合に、端点(終点P2)と45度継手との間に、所定長さの直管R0を設けてもよい。
さらに、直管R1の延長線上の経路に90度継手CR2を配置し、Z軸に平行な直管R2の経路を生成する(M43)。この場合に、90度継手CR1と90度継手CR2との間に直管R1を設けてもよいし、直管R1の長さを0として実質的に直管を省略してもよい。この直管R2は、XY平面とX2Y2平面とのレベル差解消のために配置される。この処理を実行するCPU1が、第1のレベル間接続手段33に相当する。
さらに、本設計支援装置は、直管R2とXY平面との交点P3に90度継手CR3を配置する(M44)。この90度継手CR3は、XY平面上で回転方向の設定自在である。以上の設定で、直管R2の両端には90度継手CR2およびCR3が設けられ、目標平面TP1(XY平面)上の経路と平行な目標平面TP2(X2Y2平面)上の経路とが接続されることになる。なお、直管R2の両端の90度継手CR2およびCR3のいずれか、または、その両方を45度継手としてもよい。すなわち、90度継手CR2またはCR3の経路をバイパスする経路(90度継手CR2あるいはCR3の経路のなす直角に曲がる通路に対して、直角三角形の斜辺となる経路)を構成する45度継手を用いてもよい。
この状態では、目標平面上で、90度継手CR3の開口方向のベクトルと、始点P1からの始点ベクトルが、目標平面を共有することになる。したがって、図14の処理M2と同様、共有平面上での二次元処理を実行する(M45)。
ただし、この90度継手CR3は、XY平面上で回転方向の設定自在である。そこで、
例えば、この例では、始点ベクトルと直交する方向に90継手CR3が設けてもよい。その結果、90度継手の延長方向の直管R3と起点ベクトルV1との交点に90度継手CN4を設けることで、始点P1と終点P2との間の経路を完成するようにしてもよい。また、単純に90度継手CN4を設けただけでは経路が設定できない場合に、共有平面上での二次元処理(図14のM2の処理)を実行してもよい。
次に、本設計支援装置は、経路の設定が成功したか否かを判定する(M46)。そして、目標平面上での始点ベクトルと、90度継手の開口方向のベクトルとの間で経路の設定が成功しなかった場合、次に、本設計支援装置は、一方のベクトル(この例では、始点ベクトルV1)と平行な平面で、まだ、目標平面にしてない、未処理の平面(図38の場合のZX平面)が存在するか否かを判定する(M47)。そして、未処理の目標平面にしていない未処理平面(XY、YZ,またはZX平面)が存在する場合、その残りの平面を目標平面に設定する(M48)。そして、本設計支援装置は、制御をP42に戻し、処理を繰り返す。
一方、P47の判定で、未処理の目標平面がない場合、本設計支援装置は、ユーザ介入による作図処理を実行する(M49)。また、P46の判定で、経路の設定に成功した場合には、本設計支援装置は、そのまま処理を終了する。
なお、図38では、起点ベクトルV1がX軸に平行であり、起点P1が原点と一致する場合の例を示したが、起点P1が原点にない場合も同様に処理できる。例えば、起点P1の座標を(a,b,c)とすると、目標平面をZ=aに設定して、図38と同様の処理を実行すればよい。
また、図38では、起点ベクトルV1がX軸に平行な場合を例に説明し、その場合に、まず、目標平面として、XY平面を想定した。これは、起点ベクトルV1がY軸に平行な場合も同様である。また、起点ベクトルがZ軸に平行な場合には、目標平面としては、例えば、デフォルトで、まず、YZ平面を目標平面として、その後にZX平面を目標平面にするようにしてもよい。
また、図38では、最初の目標平面で経路の設定が成功した場合には、そのまま処理を終了した。しかし、最初の目標平面(例えば、XY平面)の成功の有無に拘わらず、次の目標平面(例えば、XZ平面)を設定し、再度、P42−P45の処理を繰り返してもよい。そして、最初の目標平面での経路の設定結果と、2つの目の目標平面での経路の設定結果を比較し、例えば、使用する継手の個数、接続のための経路の長さ等を基準にして、簡略に経路が設定できる方を選択するようにしてもよい。
また、図38では、起点ベクトルV1がX軸に平行である場合を例に説明したが、終点ベクトルV2がいずれかの座標軸に平行な場合も同様に処理できる。
(E)2つのベクトルの一方がXY,YZ,ZXのいずれかの平面に平行な場合;
図39に、起点ベクトルまたは終点ベクトルがXY,YZ,ZX平面のいずれかに平行な場合の処理(図14のM6)の詳細を例示する。この処理を実行するCPU1が、単一目標平面経路設定手段31に相当する。この処理は、目標平面の選択の余地がない点を除いて、図37の処理と同様である。すなわち、起点ベクトルV1または終点ベクトルV2のいずれかが、XY,YZまたはZXに平行な面上にあるとすると、そのXY,YZまたはZXに平行な面がそのまま目標平面(ここでは、TP1)となる。
そして、本設計支援装置は、M62からM65の処理を実行する。この処理は、図37でのM42からM45の処理と同様であるので、その説明を省略する。
そして、本設計支援装置は、経路の設定が成功したか否かを判定する(M66)。そして、経路の設定に成功しなかった場合、本設計支援装置は、ユーザ介入による作図処理を実行する(M69)。また、M66の判定で、経路の設定に成功した場合には、本設計支援装置は、そのまま処理を終了する。
(F)起点ベクトルV1および終点ベクトルV2がいずれもXY、YZおよびZX平面のいずれにも平行でない場合;
図40に、起点ベクトルV1および終点ベクトルV2がいずれもXY、YZおよびZX平面のいずれにも平行でない場合の処理を例示する。この処理を実行するCPU1が、複数目標平面経路設定手段32に相当する。また、図41に、この場合の処理の概念を示す。図41の例では、起点P1の近傍で、直管R01と90度継手CR4で接続可能な位置に目標平面TP3を設定する。その手順は、まず、起点P1から起点ベクトルV1方向に所定長さ(例えば、長さ0とし、直管を省略してもよい)の位置P10に起点ベクトルV1に垂直な平面を想定する。また、位置P10を通るXY平面に平行な目標平面TP3を想定する。そして、起点ベクトルV1に垂直な平面と目標平面TP3との交線の位置に直管R1を設定する。直管R1は、XY平面に平行な目標平面TP3上にあり、かつ、起点ベクトルV1に直交する。したがって、起点P1から起点ベクトルV1方向に直管R01だけシフトした位置P10に90度継手CR4を設けることで、起点P1と直管R1を接続できる。また、90度継手CR4に替えて、90度継手CR4の経路をバイパスする経路(90度継手CR4の経路のなす直角に曲がる通路に対して、直角三角形の斜辺となる経路)を構成する45度継手を設けてもよい。この場合に、端点(起点P1)と45度継手との間に、所定長さの直管を設けてもよい。
同様に、終点P2の近傍で、直管R02と90度継手CR1で接続可能な位置に目標平面TP4を設定する。その手順は、まず、終点P2から終点ベクトルV2方向に所定長さ(例えば、長さ0とし、直管を省略してもよい)の直管の先端の位置P20に終点ベクトルV2に垂直な平面を想定する。また、位置P20を通る目標平面TP3に平行な目標平面TP4を想定する。そして、終点ベクトルV2に垂直な平面と目標平面TP4との交線の位置に直管R3を設定する。直管R3は、XY平面に平行な目標平面TP4上にあり、かつ、終点ベクトルV2に直交する。したがって、終点P1から終点ベクトルV2方向に直管R02だけシフトした位置P20に90度継手CR1を設けることで、終点P2と直管R3を接続できる。また、90度継手CR1に替えて、90度継手CR1の経路をバイパスする経路(90度継手CR1の経路のなす直角に曲がる通路に対して、直角三角形の斜辺となる経路)を構成する45度継手を設けてもよい。この場合に、端点(終点P2)と45度継手との間に、所定長さの直管を設けてもよい。
以上のように、目標平面TP3、目標平面TP3上の直管R1、目標平面TP4、目標平面TP4上の直管R3を設定した後、目標平面TP3と目標平面TP4との間でレベル差を解消すればよい。このレベル差解消の処理は、図38の場合と同様である。
以上の処理では、例えば、XY、YZ、ZX平面の順に目標平面を設定し、それぞれのベクトル(起点ベクトルV1と終点ベクトルV2)の双方から、目標平面へのレベル差解消の経路を設定する。そして、目標平面上で、共有平面上での二次元処理を実行する。
以下、図40により、手順の詳細を説明する。まず、本設計支援装置は、目標平面TP3、TP4の法線方向を設定する(M70)。法線方向は、例えば、Z軸方向である。次に、本設計支援装置は、目標平面TP3を設定する(M71)。目標平面TP3は、起点P1から起点ベクトル方向への直管R01と、90度継手CR4(または45度継手)によって、目標平面TP3上の直管R1に接続できる位置に設定する。この手順は、図41
にしたがって説明した通りである。
同様に、本設計支援装置は、目標平面TP4を設定する(M72)。目標平面TP4は、終点P2から終点ベクトルV2方向への直管R02と、90度継手CR1(または45度継手)によって、目標平面TP4上の直管R3に接続できる位置に設定する。次に、本設計支援装置は、目標平面TP4から目標平面TP3に至るレベル差解消処理を実行する(M73)。この処理は、図37のM43と同様である。この処理を実行するCPU1が、第2のレベル間接続手段34に相当する。
そして、本設計支援装置は、目標平面上で、共有平面上の二次元処理を実行する。この処理は、図14のM2と同様である。
次に、本設計支援装置は、経路の設定が成功したか否かを判定する(M76)。そして、目標平面上で経路の設定が成功しなかった場合、次に、本設計支援装置は、まだ、目標平面にしてない、未処理の平面(法線ベクトル)が存在するか否かを判定する(M77)。そして、未処理の目標平面にしていない未処理平面(法線ベクトル)が存在する場合、その残りの平面(YZ平面、ZX平面)を目標平面に設定する(M78)。そして、本設計支援装置は、制御をP71に戻し、処理を繰り返す。
一方、P77の判定で、未処理の目標平面がない場合、本設計支援装置は、ユーザ介入による作図処理を実行する(M79)。また、M76の判定で、経路の設定に成功した場合には、本設計支援装置は、そのまま処理を終了する。
以上述べたように、本設計支援装置によれば、一旦作図された管路が表示されているとき、ユーザの操作により2点を指定されると、その2点間で、管路のつなぎ直し処理を実行する。
なお、上記実施形態では、図40、41に示したように、始点ベクトルV1と終点ベクトルV2とが、いずれも、XY、YZ、およびZX平面のどれとも平行でない場合に、目標平面TP3、TP4を設定し、経路を算出した。しかし、本発明の実施は、このような処理に限定されるものではない。例えば、座標軸の1つ(X,Y,Z軸)が、始点ベクトルV1と終点ベクトルV2と平行になるように座標変換を実行してもよい。その場合には、図37、図38に示した座標軸に平行なベクトルを含む処理にて取り扱うことができる。ただし、そのような座標変換を用いた場合には、目標平面が、設備を構築する床面とは必ずしも平行、または垂直ではなくなるので、施工条件が異なる。したがって、施工者が設備を構築する床面を基準とした施工に慣れている場合には、図40、41に示した手順が望ましい。
上記実施形態では、図7のS4およびS5に示したように、指定された2点が管路で接続済みの場合に、その2点間の接続済みの管路に対してつなぎ直し処理を実行した。すなわち、指定された2点が直管上にあれば、そのまま指定された位置を一応の開始点P1(起点P1)、および終了点P2(終点P2)とした。また、指定された2点が継手、弁類、あるいは、分岐上にある場合には、継手、弁類、あるいは、分岐で、つなぎ直し区間側の接続点を開始点P1(起点P1)、および終了点P2(終点P2)とした。しかしそのような処理に代えて、あるいは、そのような処理とともに、指定された2点に付近の開放端(本発明の中断点に相当)を探索し、そのような開放端同士を接続してもよい。
図42に、指定された2点に近い開放端を探索し、開放端と開放端とを接続する処理の概念を例示する。ここでは、例えば、管路上で、点P1が開始点とされ、点P2が終了点
とされたとする。
本実施例では、設計支援装置は、開始点P1のある管路上で探索を実行する。ここで、管路は、図4Aのルート情報によって定義されている。探索は、管路上の開放端Y1−Y7および機器との接続点W1まで、図7と同様に、部材をリストアップしながら、すべての管路上の点を網羅するまで実行する。そして、開始点P1に最も距離が近い開放端Y1を候補点P10として抽出する。また、その探索途中で、終了点P2に至った場合は、開始点P1から終了点P2までの経路PATH1および距離を記憶する。
次に、同様に、終了点P2のある管路上で探索を実行する。そして、終了点P2に最も近い開放端Y7を候補点P20として抽出する。そして、候補点P10と候補点P20との間で、2点間の接続処理(図7のS13)を実行する。この場合、候補点P10と候補点P20との間は、未接続であるが、候補点P10の座標を起点とし、候補点P10での配管の方向を起点ベクトルとし、候補点P20の座標を終点とし、候補点P20での配管の方向を終点ベクトルとして与えることで、実施例1と同様の処理を実行できる。そして、開始点P1=>候補点P10=>候補点P20=>終了点P1を新たな経路PATH2とする。この場合に、すでに、開始点P1から終了点P2に経路PATH1が探索され、距離が算出されていた場合、PATH1よりもPATH2の距離が短い場合に、PATH2を新たな管路とすればよい。本実施例の処理は、開放端の存在する未完成の管路に対する接続処理ということができる。また、例えば、PATH1が存在しない場合には、本実施例の処理は、未接続管路での接続処理ということができる。また、本実施例の処理は、一応完成した管路での未完成個所チェック処理としても機能する。
図43に、この場合の処理を示す。この処理では、本設計支援装置は、まず、開始点のある管路を探索する(S50)。そして、本設計支援装置は、開始点P1に最も近い開放端をOT1とする(S51、S52)。また、終了点に至った場合(S53でYESの場合)、開始点P1から終了点P2に至る管路PATH1とその管路の長さを記録する(S54)。
そして、本設計支援装置は、開始点P1につながる管路上のすべての節点を探索したか否かを判定する(S55)。まだすべての節点を探索していない場合、制御をS50に戻す。一方、開始点P1につながるすべての節点を探索した場合、本設計支援装置は、次に、終了点のある管路を探索する(S56)。そして、本設計支援装置は、終了点P2に最も近い開放端をOT2とする(S57、S58)。
そして、本設計支援装置は、終了点P2につながる管路上のすべての節点を探索したか否かを判定する(S59)。まだすべての節点を探索していない場合、制御をS56に戻す。一方、終了点P2につながるすべての節点を探索した場合、本設計支援装置は、開始点P1に最も近い開放端OT1と、終了点P2に最も近い開放点OT2とを接続し、新たな管路PATH2とする。
そして、管路PATH1が見出されている場合には、元の管路PATH1と、新たな管路PATH2との間で、長さを比較する。そして、元の管路PATH1より新たな管路PATH2の長さが短い場合に、新たな管路PATH2をPATH1に代わる管路とする(S61)。なお、元の管路PATH1が存在しない場合には、無条件で管路PATH2を開始点P1から終了点P2に至る管路とする。
以上述べたように、本実施例の設計支援装置によれば、未完成部分を含む可能性のある管路に対して、管路の接続処理、未完成部分の摘出処理、および完成した管路のつなぎ直し処理を実行することができる。
上記実施例1では、管路上の2点を指定されて、2点間のつなぎ直し処理を実行した。その場合に、2点間に存在する既存の管路上の部材を順次消去しつつ、新たなつなぎ直し処理を実行してもよい。
図44Aおよび図44Bにその概念を示す。この例では、今、つなぎ直しの対象として、開始点と終了点とが与えられており、その間に既存の管路が存在するとする。本実施例では、つなぎ直し区間(例えば、ユーザが指定した開始点と終了点)の両端をさらに、さかのぼった位置をつなぎ直しの起点および終点とする。 そして、評価関数値が、減少した場合に、つなぎ直し後の管路を採用すればよい。同様に、さらに、部材U1につながる次の部材U2を削除し、新たな開放端Px2を発生させ、同様の処理を繰り返せばよい。このようにして、部材の消去と、評価関数によるつなぎ直し前後の管路の評価による、管路の選択を実行すればよい。
例えば、図44Aでは、ユーザの操作によって、2つの継手上にある2点がつなぎ直しの区間の開始点および終了点に指定されたとする。継手上に開始点および終了点があった場合、実施例1の図8で説明したように、それぞれの継手が接続される管路の接続点をそれぞれ起点P1および終点P2に設定し、その点での管路の方向を起点ベクトルV1および終点ベクトルV2とする。この場合に、起点P1、起点ベクトルV1、終点P2、終点ベクトルV2によって、つなぎ直し対象の管路が拘束されるため、図44Aのボックス矢印の次に示すようなつなぎ直し結果となる。この場合には、管路L100に対する管路L101の差分値だけ、距離が短くなるが、継手としては、T101、T102、およびT103の3個の継手が残ることになる。
一方、起点P1となった継手の位置からさらに管路を所定距離さかのぼった位置を起点P11とする。ここで、さかのぼるとは、起点と終点とを離れる方向に移動することをいう。また、起点P11における管路の方向を起点ベクトルV11とする。また、終点P2からさらに、管路を所定距離さかのぼった位置を終点P21とする。また、終点P21に管路の方向を終点ベクトルとする。このように、起点と終点を移動した後に、つなぎ直し処理を実行すると、図44Bの最下部のように、継手T104が1つだけ存在する管路が形成される。したがって、図44Aの場合と比較して、少なくとも、継手の数で、2個分の改善効果がある。
このとき、例えば、次の評価関数を導入し、つなぎ直し前後の管路を評価してもよい。(数1)
評価関数=管路の距離+重み×区間内の節点数;
評価関数は、節点に設けられた継手の種類ごとに異なる重みを付与して、評価するようにしてもよい。
(数2)
評価関数=管路の距離+K1×N1+K2×N2+K3×N3;
ここで、K1、K2、およびK3はそれぞれ、90度継手、45度継手、および任意角継手に対する重み係数である。また、N1、N2、およびN3はそれぞれ、管路中の90度継手、45度継手、および任意角継手の個数である。
すなわち、このような評価関数にて、管路のつなぎ直し効果を評価しつつ、開始点および終了点の少なくとも一方をさかのぼった位置に移動してもよい。この場合の移動範囲は、例えば、ユーザが指定した開始点および終了点から、所定距離の範囲までとしてもよい。また、ユーザが指定した開始点および終了点から、所定個数の部材(継手等)を通過するまでとしてもよい。また、数1または数2による評価関数値が増加するまでの範囲とし
てもよい。また、距離、部材の数、および評価関数値の組み合わせによって、移動範囲を設定してもよい。例えば、初期値として、ユーザが指定した開始点および終了点から、所定距離の範囲、また、ユーザが指定した開始点および終了点から、所定個数の部材(継手等)を通過するまでとしておく。そして、その範囲で、数1または数2による評価関数値が最小となる位置を求めてもよい。
上記実施例1では、管路上の2点を指定されて、2点間のつなぎ直し処理を実行し、つなぎ直し結果の管路を表示した(図7参照)。その場合に、実施例3の数1と同様の評価関数によって、つなぎ直し後の管路を評価してもよい。すなわち、数1と同様の評価関数によって、つなぎ直し前後の管路を評価し、つなぎ直し結果の管路の図とともに表示してもよい。なお、実施例3の数1の代わりに数2の評価関数を用いていてもよい。
図45に、つなぎ直し前後の管路の評価を実行する処理のフローを示す。他の構成および作用は、実施例1から実施例3の場合と同様である。そこで、これらの実施例の構成の説明は省略し、本実施例に適用するものとする。
この処理で、S15AおよびS15Bの処理以外の処理は、実施例1と同様である。この処理で、つなぎ直しの後(S13の後)、中間部材がない場合(S14でYESの場合)、または、中間部材の配置の後(S17−S20の後)、本設計支援装置は、つなぎ直し前後の管路を評価する(S15A)。この処理は、実施例3で示した数1の評価関数による。
次に、本設計支援装置は、つなぎ直し結果の管路の図および評価結果を表示する(S15B)。つなぎ直し結果の管路の図には、つなぎ直し前の管路の図に重複して、つなぎ直し後の管路の図を表示してもよい。また、評価結果は、例えば、つなぎ直し前の複雑さ=120.0;つなぎ直し前の複雑さ=96.0;のように数1の評価関数値が表示される。このとき、2点間の長さを同様に比較して表示してもよい。
次に、本設計支援装置は、ユーザにつなぎ直しがOKか否かの確認を求める(S15C)。ユーザが、入力装置6を通じて、OKを選択すると、本設計支援装置は、つなぎ直した管路をルート情報(図4A)に反映して、保存する(S15D)。一方、ユーザが、つなぎ直し結果を了解しない旨の選択をすると、本設計支援装置は、つなぎ直した管路を廃棄する。そして、本設計支援装置は、処理を終了する。
以上述べたように、本実施形態の設計支援装置によれば、管路を表示した画面にて、ユーザによる2点の指定を受け付け、その2点間の管路のつなぎ直し処理を実行する。そして、つなぎ直し前後の管路の複雑さを示す評価関数による評価結果をつなぎ直し後の管路とともに、表示する。したがって、一旦作成された管路について、ユーザがつなぎ直したいと考える区間についてのつなぎ直し処理を支援するとともに、評価結果を表示する。したがって、管路の整理を含むつなぎ直し処理を効果的に支援できる。
設計支援装置の機能概要を例示する図である。 設計支援装置のハードウェア構成の例示する図である。 設計支援装置の機能ブロック図を例示する図である。 配管の経路を記述するルート情報のデータ構造例を示す図である。 部材配置情報ファイルのデータ構造例を示す図である。 節点定義ファイルのデータ構造を示す図である。 部材マスタのデータ構造例を示す図である。 中間部材リストアップテーブルのデータ構造およびデータ例を示す図である。 管路をつなぎ直し処理を例示するフローチャートである。 開始点P1あるいは終了点P2の位置が、継手あるいは弁類上の点とされた場合の処理の概念を示す図である。 開始点P1あるいは終了点P2の位置が、継手の場合の起点、終点、および方向ベクトルを特定する手順を例示する図である。 開始点P1あるいは終了点P2の位置が、分岐上の点とされた場合の処理の概念を示す図である。 仮定管路上にリストアップした中間部材を配置する処理例を示す図である。 迂回路を追加する処理例を示す図である。 分岐先の配管処理例(処理中)を示す図である。 分岐先の配管処理例(処理結果)を示す図である。 入れ替え後の機器に配管をつなぎ直す処理(図12のS15)の詳細を例示する図である。 配管つなぎ替え処理で実行される処理の詳細を例示する図である。 共有平面上での二次元処理の処理を例示する図である。 起点ベクトルV1と終点ベクトルV2とが平行かつ対向している例を示す図である。 起点P1と、終点P2とを直管で接続する例を示す図である。 任意角継手で配管を接続する例を示す図である。 迂回路を形成して、起点P1と終点P2とを接続する例を示す図である。 45度継手で配管を接続する例を示す図である。 90度継手で配管を接続する例を示す図である。 対向していないが、平行な起点ベクトルと終点ベクトルを例示する図である。 対向していないが、平行な起点ベクトルと終点ベクトルに対する処理例を示す図である。 平行な非対向ベクトルに対する処理例を示す図である。 平行な非対向ベクトルに対する処理例を示す図である。 交点PXの位置が、起点P1と終点P2との間に位置する場合を例示する図である。 交点PXの位置が、起点P1と終点P2との間に位置する場合に任意角継手と直管で接続する処理例を示す図である。 交点PXの位置が、起点P1と終点P2との間に位置しない場合を例示する図である。 交点PXの位置が、起点P1と終点P2との間に位置しない場合に、90度継手と任意角継手の組み合わせによって迂回路を形成する処理例を示す図である。 起点ベクトルと終点ベクトルの交点の位置が、起点と終点との間に位置する場合の処理例を示す図である。 交点の位置が、起点P1と終点P2との間に位置しない場合に、迂回路を形成する処理例を示す図である。 交点での交差角が45度より大きく90度未満の場合に、迂回路を形成する構成例を示す図である。 交点PXでのθが90度の場合に、90度継手と直管で接続する処理例を示す図である。 交点の位置が、起点と終点との間に位置しない場合に、90度継手の組み合わせによって迂回路を形成する処理例を示す図である。 交点での交差角が90度より大きく135度未満で、交点の位置が、起点と終点との間に位置する場合の処理例である。 交点での交差角が90度より大きく135度未満で、交点の位置が、起点と終点との間に位置しない場合の処理例である。 座標軸に平行なベクトルを含む処理の詳細を例示する図である。 座標軸に平行なベクトルを含む処理の概念を例示する図である。 起点ベクトルまたは終点ベクトルがXY,YZ,ZX平面のいずれかに平行な場合の処理の詳細を例示する図である。 起点ベクトルおよび終点ベクトルがいずれもXY、YZおよびZX平面のいずれにも平行でない場合の処理を例示する図である。 起点ベクトルおよび終点ベクトルがいずれもXY、YZおよびZX平面のいずれにも平行でない場合の処理の外面を例示する図である。 指定された2点に近い開放端を探索し、開放端と開放端とを接続する処理の概念を例示する図である。 開放端と開放端とを接続する処理を例示する図である。 2点間に存在する既存の管路上の部材を順次消去しつつ、つなぎ直し処理を実行する場合の処理例1である。 2点間に存在する既存の管路上の部材を順次消去しつつ、つなぎ直し処理を実行する場合の処理例2である。 つなぎ直し前後の管路の評価する処理のフローチャートである。
符号の説明
1 CPU
2 メモリ
4 ハードディスク駆動装置
6 入力装置
8 表示装置
10 ネットワークインターフェース
12 着脱可能記憶媒体駆動装置
20 制御部
21 表示制御手段
22 入力制御手段
23A 管路構成記憶手段
23B 部材属性記憶手段
24 部材特定手段
25 仮定経路生成手段
26 管路形成手段
27 配置可否判定手段
28 管路延伸手段
29 迂回延伸手段
30 平面判定手段
31 単一目標平面経路設定手段
32 複数目標平面経路設定手段
33 第1のレベル間接続手段
34 第2のレベル間接続手段
36 評価手段
37 中断点検出

Claims (11)

  1. 少なくとも管部材と分岐部材と管部材を他の部材に接続する接続部材とを含む部材の管路方向の長さ、および前記分岐部材の分岐方向への突き出し量を含む部材属性を格納する部材属性格納手段と、
    管路に含まれる部材の接続順を含む位置関係を記憶する管路構成記憶手段と、
    前記部材を表す図形要素を前記位置関係にしたがって配置することによって前記管路を画面上に表示する手段と、
    前記画面上で管路中の第1および第2の点の指定を受け付ける入力手段と、
    前記第1および第2の点と前記画面上に表示されている図形要素との位置関係から、それぞれの点の位置する管路中の部材を特定する手段と、
    前記特定された部材を基に、前記管路構成記憶手段を検索することにより、前記2点で挟まれた管路部分を構成する部材を特定する部材特定手段と、
    前記2点間で部材を配置する仮定経路を生成する仮定経路生成手段と、
    前記仮定経路にしたがって前記管路部分を構成する部材を配置することによって新たな管路部分を形成する管路形成手段と、を備える管路の設計支援装置。
  2. 前記特定された部材の管路方向の長さに基づいて前記部材を前記仮定経路に配置できるか否かを判定する配置可否判定手段と、
    前記特定された部材のすべてを前記仮定経路に施工上配置しきれないときに、前記仮定経路を前記2点の少なくとも一方の点から他方の点に対して離れる方向にその一方の点の位置する管路に沿って延伸する管路延伸手段と、をさらに備える請求項1に記載の管路の設計支援装置。
  3. 前記特定された部材のすべてを前記延伸された仮定経路に施工上配置しきれないときに、前記2点の一方の点から他方の点に対して離れる方向に経路を屈曲して延伸する継手を付与するとともに、前記継手にて屈曲した延伸方向に一旦延伸した位置から前記他方の点に接続される新たな仮定経路を生成する迂回延伸手段をさらに備える請求項2に記載の管路の設計支援装置。
  4. 前記2点で挟まれた管路部分と前記新たな管路部分とで、少なくとも管路部分の長さと管路部分に含まれる曲がり部分の数とから評価される管路部分の複雑さを評価する評価手段をさらに備える請求項1から3のいずれか1項に記載の管路の設計支援装置。
  5. 前記第1の点に接続される管路上で管路が中断している第1の中断点を検出する手段と、
    前記第2の点に接続される管路上で管路が中断している第2の中断点を検出する手段と、をさらに備え、
    前記仮定経路生成手段は、前記第1の中断点と第2の中断点との間の経路を含む仮定経路を生成する請求項1から4のいずれか1項に記載の管路の設計支援装置。
  6. 前記仮定経路設定手段は、
    前記第1の点および第2の点に位置するそれぞれの部材の管路方向をそれぞれ起点ベクトルおよび終点ベクトルとして設定する手段と、
    前記起点ベクトルと終点ベクトルとが同一平面上にあるか否か、および
    前記起点ベクトルと終点ベクトルとが互いに平行な異なる平面にあるか否かを判定する平行平面判定手段と、
    前記起点ベクトルのある平面と前記終点ベクトルある平面との間で経路を設定する第1のレベル間接続手段と、をさらに備える請求項1から5のいずれか1項に記載の設備の設計支援装置。
  7. 前記起点ベクトルと前記終点ベクトルの一方が、XY平面、YZ平面、またはZX平面と平行な平面上にあるか、否かを判定するベクトル平面判定手段と、
    前記起点ベクトルと前記終点ベクトルとが同一平面上および互いに平行な異なる平面上のいずれにもなく、かつ、前記起点ベクトルと前記終点ベクトルのうちの一方のベクトルが、XY平面、YZ平面、またはZX平面と平行な第1の目標平面上にあるときに、前記第1の目標平面上にない他方のベクトルの示す接続部から90度継手、45度継手、前記他方のベクトル方向の直管と90度継手との組み合わせ、または、前記他方のベクトル方向の直管と45度継手との組み合わせによって前記第1の目標平面に平行な第2の目標平面上の直管に接続する単一目標平面経路設定手段と、
    前記第2の目標平面の直管から前記第1の目標平面への経路を設定する第2のレベル間接続手段と、をさらに備える請求項6に記載の設計支援装置。
  8. 前記起点ベクトルと前記終点ベクトルとが同一平面上および互いに平行な異なる平面上のいずれにもなく、かつ、前記起点ベクトルと前記終点ベクトルとがいずれもXY平面、YZ平面、およびZX平面のいずれとも平行でないときに、2つの座標軸に平行な第3の目標平面上の経路であって、前記起点ベクトルの示す接続部から90度継手、45度継手、前記起点ベクトル方向への直管と90度継手との組み合わせに、または、前記起点ベクトル方向への直管と45度継手との組み合わせによって接続可能な第1の直管の経路を設定するとともに、前記第3の目標平面に平行な第4の目標平面上の経路であって、前記終点ベクトルの示す接続部から90度継手、45度継手、前記終点ベクトル方向への直管と90度継手との組み合わせ、または、前記起点ベクトル方向への直管と45度継手との組み合わせによって接続可能な第2の直管の経路を設定する複数目標平面経路設定手段と、
    前記第1の直管と前記第2の直管との間の経路を設定する第3のレベル間接続手段と、をさらに備える請求項6または7に記載の設計支援装置。
  9. 前記複数目標平面経路設定手段は、
    前記起点ベクトルに対して垂直な平面と前記第3の目標平面との交線方向に前記第1の直管を設定するとともに、前記起点ベクトルの示す接続部から前記第1の直管に前記90度継手、45度継手、前記起点ベクトル方向への直管と90度継手との組み合わせ、または、前記起点ベクトル方向への直管と45度継手との組み合わせによって経路を設定する手段と、
    前記終点ベクトルに対して垂直な平面と前記第4の目標平面との交線方向に前記第2の直管を設定するとともに、前記終点ベクトルの示す接続部から前記第2の直管に前記90度継手、45度継手、前記終点ベクトル方向への直管と90度継手との組み合わせ、または、前記終点ベクトル方向への直管と45度継手との組み合わせによって経路を設定する手段と、を有し、
    前記第3のレベル間接続手段は、前記第1の直管と前記第2の直管とを両端に90度継手または45度継手を設けた配管を含む経路で接続する手段、を有する、請求項8に記載の設計支援装置。
  10. コンピュータが、
    部材属性記憶手段から、少なくとも管部材と分岐部材と管部材を他の部材に接続する接続部材とを含む部材の管路方向の長さ、および前記分岐部材の分岐方向への突き出し量を含む部材属性を読み出すステップと、
    管路構成記憶手段から、管路に含まれる部材の接続順を含む位置関係を読み出すステップと、
    前記部材を表す図形要素を前記位置関係にしたがって配置することによって前記管路を画面上に表示するステップと、
    前記画面上で管路中の第1および第2の点の指定を受け付けるステップと、
    前記2点で挟まれた管路部分を構成する部材を特定するステップと、
    前記第1および第2の点と前記画面上に表示されている図形要素との位置関係から、それぞれの点の位置する管路中の部材を特定するステップと、
    前記特定された部材を基に、前記管路構成記憶手段を検索することにより、前記2点間で部材を配置する仮定経路を生成する仮定経路生成ステップと、
    前記仮定経路にしたがって前記管路部分を構成する部材を配置することによって新たな管路部分を形成するステップと、を実行する管路の設計支援方法。
  11. コンピュータに、
    部材属性記憶手段から、少なくとも管部材と分岐部材と管部材を他の部材に接続する接続部材とを含む部材の管路方向の長さ、および前記分岐部材の分岐方向への突き出し量を含む部材属性を読み出すステップと、
    管路構成記憶手段から、管路に含まれる部材の接続順を含む位置関係を読み出すステップと、
    前記部材を表す図形要素を前記位置関係にしたがって配置することによって前記管路を画面上に表示するステップと、
    前記画面上で管路中の第1および第2の点の指定を受け付けるステップと、
    前記第1および第2の点と前記画面上に表示されている図形要素との位置関係から、それぞれの点の位置する管路中の部材を特定するステップと、
    前記特定された部材を基に、前記管路構成記憶手段を検索することにより、前記2点で挟まれた管路部分を構成する部材を特定するステップと、
    前記2点間で部材を配置する仮定経路を生成する仮定経路生成ステップと、
    前記仮定経路にしたがって前記管路部分を構成する部材を配置することによって新たな管路部分を形成するステップと、を実行させる管路の設計支援プログラム。
JP2008209998A 2008-08-18 2008-08-18 管路の設計支援装置 Active JP5301921B2 (ja)

Priority Applications (1)

Application Number Priority Date Filing Date Title
JP2008209998A JP5301921B2 (ja) 2008-08-18 2008-08-18 管路の設計支援装置

Applications Claiming Priority (1)

Application Number Priority Date Filing Date Title
JP2008209998A JP5301921B2 (ja) 2008-08-18 2008-08-18 管路の設計支援装置

Publications (2)

Publication Number Publication Date
JP2010044707A true JP2010044707A (ja) 2010-02-25
JP5301921B2 JP5301921B2 (ja) 2013-09-25

Family

ID=42016024

Family Applications (1)

Application Number Title Priority Date Filing Date
JP2008209998A Active JP5301921B2 (ja) 2008-08-18 2008-08-18 管路の設計支援装置

Country Status (1)

Country Link
JP (1) JP5301921B2 (ja)

Cited By (7)

* Cited by examiner, † Cited by third party
Publication number Priority date Publication date Assignee Title
JP2012053719A (ja) * 2010-09-02 2012-03-15 Hitachi Ltd 設計支援装置、設計支援方法、および、設計支援プログラム
WO2021246428A1 (ja) * 2020-06-03 2021-12-09 株式会社クボタ 管割図作成方法及び管割図作成装置
KR20220121063A (ko) * 2021-02-24 2022-08-31 주식회사 삼안 하수도 관망 및 관로 설계 방법 및 장치
JP2023016091A (ja) * 2021-07-21 2023-02-02 株式会社クボタ 管路の一体化長さの設計支援方法及び設計支援装置
JP2023085601A (ja) * 2021-12-09 2023-06-21 株式会社クボタ 配管設計支援装置および管路設計支援方法
JP7696035B1 (ja) 2024-03-08 2025-06-19 東芝プラントシステム株式会社 配置設計自動化システム
JP7756208B1 (ja) * 2024-08-05 2025-10-17 株式会社Ecadソリューションズ 設計支援システム

Citations (5)

* Cited by examiner, † Cited by third party
Publication number Priority date Publication date Assignee Title
JPH05225293A (ja) * 1992-02-07 1993-09-03 Daikin Ind Ltd 配管図形の作成方法及びその装置
JPH10154167A (ja) * 1996-11-21 1998-06-09 Takasago Thermal Eng Co Ltd 管路のル−ト変更方法
JPH10154164A (ja) * 1996-11-21 1998-06-09 Takasago Thermal Eng Co Ltd 部材移動方法
JP2002007494A (ja) * 2000-06-16 2002-01-11 Babcock Hitachi Kk 配管自動ルーティングシステム
JP2008117004A (ja) * 2006-10-31 2008-05-22 Toshiba Corp 配管部品の配置データと仕様データの流用装置およびその流用方法

Patent Citations (5)

* Cited by examiner, † Cited by third party
Publication number Priority date Publication date Assignee Title
JPH05225293A (ja) * 1992-02-07 1993-09-03 Daikin Ind Ltd 配管図形の作成方法及びその装置
JPH10154167A (ja) * 1996-11-21 1998-06-09 Takasago Thermal Eng Co Ltd 管路のル−ト変更方法
JPH10154164A (ja) * 1996-11-21 1998-06-09 Takasago Thermal Eng Co Ltd 部材移動方法
JP2002007494A (ja) * 2000-06-16 2002-01-11 Babcock Hitachi Kk 配管自動ルーティングシステム
JP2008117004A (ja) * 2006-10-31 2008-05-22 Toshiba Corp 配管部品の配置データと仕様データの流用装置およびその流用方法

Cited By (13)

* Cited by examiner, † Cited by third party
Publication number Priority date Publication date Assignee Title
JP2012053719A (ja) * 2010-09-02 2012-03-15 Hitachi Ltd 設計支援装置、設計支援方法、および、設計支援プログラム
WO2021246428A1 (ja) * 2020-06-03 2021-12-09 株式会社クボタ 管割図作成方法及び管割図作成装置
JP2021189923A (ja) * 2020-06-03 2021-12-13 株式会社クボタ 管割図作成方法及び管割図作成装置
JP7370931B2 (ja) 2020-06-03 2023-10-30 株式会社クボタ 管割図作成方法及び管割図作成装置
KR20220121063A (ko) * 2021-02-24 2022-08-31 주식회사 삼안 하수도 관망 및 관로 설계 방법 및 장치
KR102537787B1 (ko) 2021-02-24 2023-05-31 주식회사 삼안 하수도 관망 및 관로 설계 방법 및 장치
JP7588044B2 (ja) 2021-07-21 2024-11-21 株式会社クボタ 管路の一体化長さの設計支援方法及び設計支援装置
JP2023016091A (ja) * 2021-07-21 2023-02-02 株式会社クボタ 管路の一体化長さの設計支援方法及び設計支援装置
JP2023085601A (ja) * 2021-12-09 2023-06-21 株式会社クボタ 配管設計支援装置および管路設計支援方法
JP7640445B2 (ja) 2021-12-09 2025-03-05 株式会社クボタ 配管設計支援装置および管路設計支援方法
JP7696035B1 (ja) 2024-03-08 2025-06-19 東芝プラントシステム株式会社 配置設計自動化システム
JP2025137020A (ja) * 2024-03-08 2025-09-19 東芝プラントシステム株式会社 配置設計自動化システム
JP7756208B1 (ja) * 2024-08-05 2025-10-17 株式会社Ecadソリューションズ 設計支援システム

Also Published As

Publication number Publication date
JP5301921B2 (ja) 2013-09-25

Similar Documents

Publication Publication Date Title
JP5301921B2 (ja) 管路の設計支援装置
CN102132277B (zh) 用于管道和管的路径的无冲突cad设计的系统和方法
KR101989314B1 (ko) 배관 모델링 방법 및 이를 이를 구현하는 프로그램이 기록된 기록 매체
US7647211B2 (en) Constraint-based method of designing a route for a transport element
JP2025530307A (ja) エンジニアリング図面外挿およびフィーチャの自動化のためのシステムおよび方法
JP4940267B2 (ja) レイアウト設計支援装置、およびプログラム
US20180247002A1 (en) Custom fabrication from generic revit templates
JP2017211987A (ja) 配管の経路生成方法、複数の配管の経路生成方法、配管の経路生成装置、複数の配管の経路生成装置及びプログラム
JP2010257317A (ja) レイアウト設計支援システム、その制御方法及び制御プログラム
US20240104169A1 (en) Drawing Matching Tool
Tsai et al. AR-based automatic pipeline planning coordination for on-site mechanical, electrical and plumbing system conflict resolution
WO2014141928A1 (ja) 搬入経路計画システム
CN113366397B (zh) 规划系统中查管道一致记录的方法、规划系统和控制程序
JP5210744B2 (ja) 設備の設計支援装置、方法、およびプログラム
Korman et al. Prototype tool for mechanical, electrical, and plumbing coordination
JP5073610B2 (ja) 機器と配管を備えた設備の設計支援装置、プログラム、および方法
JP6778631B2 (ja) 建物設計情報修正支援装置、建物設計情報修正支援方法、及びプログラム
US20190042672A1 (en) Pressure loss determination device, computer readable medium, and pressure loss determination method
CN116070330A (zh) 一种基于bim的地下室管线优化方法、系统及存储介质
KR102372900B1 (ko) 배관 설계 시스템 및 배관 설계 방법
US12412356B2 (en) Hanger generation in computer-aided design programs
WO2013038460A1 (ja) 画像表示システム及びその方法
JP5074328B2 (ja) 設備要素を積み重ねる設備の設計支援装置、設計支援方法、およびプログラム
JP6185732B2 (ja) 画像処理装置
JP7620287B2 (ja) 配管設計不具合の検出方法、検出プログラム、過去配管設計不具合データベースの構築方法、構築プログラム、及び配管設計不具合の検出システム

Legal Events

Date Code Title Description
A621 Written request for application examination

Free format text: JAPANESE INTERMEDIATE CODE: A621

Effective date: 20110704

A131 Notification of reasons for refusal

Free format text: JAPANESE INTERMEDIATE CODE: A131

Effective date: 20120724

A521 Written amendment

Free format text: JAPANESE INTERMEDIATE CODE: A523

Effective date: 20120924

A02 Decision of refusal

Free format text: JAPANESE INTERMEDIATE CODE: A02

Effective date: 20130115

A521 Written amendment

Free format text: JAPANESE INTERMEDIATE CODE: A523

Effective date: 20130415

A911 Transfer to examiner for re-examination before appeal (zenchi)

Free format text: JAPANESE INTERMEDIATE CODE: A911

Effective date: 20130424

TRDD Decision of grant or rejection written
A01 Written decision to grant a patent or to grant a registration (utility model)

Free format text: JAPANESE INTERMEDIATE CODE: A01

Effective date: 20130611

A61 First payment of annual fees (during grant procedure)

Free format text: JAPANESE INTERMEDIATE CODE: A61

Effective date: 20130620

R150 Certificate of patent or registration of utility model

Ref document number: 5301921

Country of ref document: JP

Free format text: JAPANESE INTERMEDIATE CODE: R150

Free format text: JAPANESE INTERMEDIATE CODE: R150