JP2010042177A - 消防用ホース及びその製造方法 - Google Patents

消防用ホース及びその製造方法 Download PDF

Info

Publication number
JP2010042177A
JP2010042177A JP2008209416A JP2008209416A JP2010042177A JP 2010042177 A JP2010042177 A JP 2010042177A JP 2008209416 A JP2008209416 A JP 2008209416A JP 2008209416 A JP2008209416 A JP 2008209416A JP 2010042177 A JP2010042177 A JP 2010042177A
Authority
JP
Japan
Prior art keywords
hose
fire
food sanitation
receptacle
coupling fitting
Prior art date
Legal status (The legal status is an assumption and is not a legal conclusion. Google has not performed a legal analysis and makes no representation as to the accuracy of the status listed.)
Granted
Application number
JP2008209416A
Other languages
English (en)
Other versions
JP5162370B2 (ja
Inventor
Yoko Ogawa
洋子 小川
Tomoya Iwagami
友哉 岩上
Current Assignee (The listed assignees may be inaccurate. Google has not performed a legal analysis and makes no representation or warranty as to the accuracy of the list.)
Yokoi Manufacturing Co Ltd
Original Assignee
Yokoi Manufacturing Co Ltd
Priority date (The priority date is an assumption and is not a legal conclusion. Google has not performed a legal analysis and makes no representation as to the accuracy of the date listed.)
Filing date
Publication date
Application filed by Yokoi Manufacturing Co Ltd filed Critical Yokoi Manufacturing Co Ltd
Priority to JP2008209416A priority Critical patent/JP5162370B2/ja
Publication of JP2010042177A publication Critical patent/JP2010042177A/ja
Application granted granted Critical
Publication of JP5162370B2 publication Critical patent/JP5162370B2/ja
Active legal-status Critical Current
Anticipated expiration legal-status Critical

Links

Images

Landscapes

  • Fire-Extinguishing By Fire Departments, And Fire-Extinguishing Equipment And Control Thereof (AREA)
  • Packages (AREA)
  • Rigid Pipes And Flexible Pipes (AREA)

Abstract

【課題】 火災時に消防用ホースとして使用できるだけでなく、災害時に飲料水を含む生活用水の給水用ホースや送水用ホースとしても使用できる食品衛生法に適合する品質を持ち、それを長期間に亘って維持することができる。
【解決手段】 たて糸とよこ糸とを筒状に織成したジャケット1aの内周面に合成樹脂製の内張り層1bを形成して成るホース本体1と、ホース本体1の一端部に取り付けられてシール用のパッキンを有する受け口結合金具2と、ホース本体1の他端部に取り付けられた差し口結合金具3とを備えた消防用ホースに於いて、ホース本体1の内張り層1bには、食品衛生法に適合するポリウレタン樹脂又はEVA樹脂を使用し、受け口結合金具2及び差し口結合金具3には、食品衛生法に適合するアルミニウム合金又はステンレスを使用し、受け口結合金具2内のパッキンには、食品衛生法に適合するシリコンゴム製パッキン2fを使用する。
【選択図】 図1

Description

本発明は、火災発生時には、消火用の消防用ホースとして使用され、又、地震や台風等の災害時には、飲料水を含む生活用水の給水用ホースや送水用ホースとして転用できる消防用ホース及びその製造方法に関するものである。
一般に、消火活動に用いられる消防用ホースは、たて糸とよこ糸とを筒状に織成したジャケットの内周面に内張り層を形成して成るホース本体と、ホース本体の一端部に取り付けた受け口結合金具と、ホース本体の他端部に取り付けられて受け口結合金具に着脱自在に結合される差し口結合金具とから構成されており、ホース本体の内張り層には各種のゴム材や合成樹脂材が使用され(例えば、特許文献1、特許文献2、特許文献3及び特許文献4参照)、又、受け口結合金具内のシール用のパッキンにも各種のゴム製のパッキンが使用されている。(例えば、特許文献5、特許文献6及び特許文献7参照)
又、消防用ホースの製造時に於いては、ホース本体の加工時の工程(内張り層をチューブ状に成形する工程や内張り層をジャケットの内周面に密着させる工程)で使用される水には、一般的に工業用水が使用されている。
そして、消防用ホースの保管状態は、ホース本体が偏平状に折り畳まれてロール状に巻き取られた状態で外気と遮断されることなく保管、収納されている。
ところで、消防用ホースは、その内張り層の材料に一般のゴム(例えば、NRやSBR等)を使用したり、受け口結合金具内のシール用のパッキンに一般のゴム(例えば、NBR等)を使用したりすると、ゴムが飲料に不適当な成分を含んで食品衛生法に適合しない場合があり、そのために地震や台風等の災害時等の緊急時には、消防用ホースを飲料水を含む生活用水(野菜や果物、食器等の洗い水、風呂水、洗濯水等)の給水用ホースや送水用ホースとして転用できないと云う問題があった。
又、消防用ホースは、内張り層やパッキンの材料に食品衛生法に適合するものを使用していても、ホースの加工時の工程で工業用水が使用されているうえ、外気に触れた状態で保管、収納されているため、極めて不衛生であり、地震や台風等の災害時等の緊急時には、消防用ホースを飲料水を含む生活用水の給水用ホースや送水用ホースとして転用できないと云う問題があった。
上述したように、保管、収納されている消防用ホースを災害時等に飲料水を含む生活用水の給水用ホースや送水用ホースとして転用できれば、地震や台風等の災害時等の緊急時に於いては非常に有効であるが、従来の消防用ホースは、給水用ホースや送水用ホースとして使用するには、極めて不衛生であり、災害時等に給水用ホースや送水用ホースとして転用できる新しい消防用ホースの開発が望まれている。
特開平10−196854号公報 特開2000−055247号公報 特開2001−149496号公報 特開2003−343768号公報 特開平09−196271号公報 特開平09−196268号公報 特開2003−185079号公報
本発明は、このような問題点に鑑みて為されたものであり、その目的は、消火活動時には、消防用ホースとしての機能及び性能を満たすと共に、地震や台風等の災害時には、食品衛生法に適合して飲料水を含む生活用水の給水用ホースや送水用ホースとしても転用が可能な極めて衛生的な消防用ホース及びその製造方法を提供することにある。
上記目的を達成するために、本発明の請求項1の発明は、たて糸とよこ糸とを筒状に織成したジャケットの内周面に合成樹脂製の内張り層を形成して成るホース本体と、ホース本体の一端部に取り付けられてシール用のパッキンを有する受け口結合金具と、ホース本体の他端部に取り付けられて受け口結合金具に着脱自在に結合される差し口結合金具とを備えた消防用ホースに於いて、前記ホース本体の内張り層には、食品衛生法に適合するポリウレタン樹脂又はEVA樹脂を使用し、又、受け口結合金具及び差し口結合金具には、食品衛生法に適合するアルミニウム合金又はステンレスを使用し、更に、受け口結合金具内のパッキンには、食品衛生法に適合するシリコンゴム製パッキンを使用したことに特徴がある。
本発明の請求項2の発明は、請求項1に記載の消防用ホースと、加熱乾燥殺菌処理された前記消防用ホースを窒素ガスを充填した状態で密封状に包装する食品衛生法に適合するガス遮断性を有する透明な多層チューブフィルムと、多層チューブフィルム内に入れられて多層チューブフィルム内の残留酸素を除去する食品衛生法に適合する脱酸素剤と、多層チューブフィルムの外面に添付され、少なくともシール用のNBR製ゴムパッキン及び受け口結合金具の保護タイヤを入れて密封した人体に無害な材質で形成された収納袋とから成り、消火用の消防用ホースの他に飲料水を含む生活用水の給水用ホースや送水用ホースにも使用可能としたことに特徴がある。
本発明の請求項3の発明は、請求項3の発明に於いて、受け口結合金具及び差し口結合金具の両表面に食品衛生法に適合する透明な合成樹脂フィルムを巻き付けるようにしたことに特徴がある。
本発明の請求項4の発明は、たて糸とよこ糸とを筒状に織成したジャケットとジャケットの内周面に形成される食品衛生法に適合するポリウレタン樹脂製又はEVA樹脂製の内張り層とから構成されるホース本体を製造する際に、前記内張り層をチューブ状に成形する工程とこの内張り層をジャケットの内周面に密着させる工程に於いて夫々上水道水を使用し、形成されたホース本体の両端部に食品衛生法に適合するアルミニウム合金製又はステンレス製の洗浄済みの受け口結合金具及び差し口結合金具を夫々取り付け、前記ホース本体及び両結合金具を加熱乾燥殺菌処理した後、受け口結合金具内に食品衛生法に適合する洗浄済みのシリコンゴム製パッキンを挿着し、その後ホース本体及び両結合金具を食品衛生法に適合するガス遮断性を有する透明な多層チューブフィルム内に同じく食品衛生法に適合する脱酸素剤と共に入れ、多層チューブフィルム内の空気を窒素ガスに置換しつつ、ホース本体と両結合金具と脱酸素剤とを多層チューブフィルムにより密封状に包装し、最後に多層チューブフィルムの外面に少なくともシール用のNBR製ゴムパッキン及び受け口結合金具の保護タイヤを入れて密封した人体に無害な材質で形成された収納袋を添付するようにしたことに特徴がある。
本発明の請求項5の発明は、請求項4の発明に於いて、受け口結合金具及び差し口結合金具の両表面に食品衛生法に適合する透明な合成樹脂フィルムを巻き付け、この状態で多層チューブフィルムにより密封状に包装するようにしたことに特徴がある。
本発明の請求項1の消防用ホースは、ホース本体のジャケットの内張り層には、食品衛生法に適合するポリウレタン樹脂又はEVA樹脂を使用し、ホース本体の両端部に連結される受け口結合金具及び差し口結合金具には、食品衛生法に適合するアルミニウム合金又はステンレスを使用し、受け口結合金具内のシール用のパッキンには、食品衛生法に適合するシリコンゴム製パッキンを使用しているため、完成した消防用ホース自体は食品衛生法に適合する品質を備えたものとなり、飲料水を含む生活用水の給水用ホースや送水用ホースとしての転用が可能となる。
本発明の請求項2の消防用ホースは、請求項1に記載の消防用ホースと、加熱乾燥殺菌処理された前記消防用ホースを窒素ガスを充填した状態で密封状に包装する食品衛生法に適合するガス遮断性を有する透明な多層チューブフィルムと、多層チューブフィルム内に入れられた脱酸素剤と、多層チューブフィルムの外面に添付され、少なくともシール用のNBR製ゴムパッキン及び受け口結合金具の保護タイヤを入れて密封した人体に無害な材質で形成された収納袋とから構成されているため、消防用ホースの製造後から保管、収納されて使用時に開封されるまでの間、食品衛生法に適合する一定の品質を保った消防用ホースとなり、飲料水を含む生活用水の給水用ホースや送水用ホースとしての転用が可能な状態を長期間に亘って保持し続けることができる。
又、本発明の請求項2の消防用ホースは、透明な多層チューブフィルム内に密封状に包装されているため、ホース本体及び両結合金具の表面上の異常を目視によって容易に確認することができる。
本発明の請求項3の消防用ホースは、受け口結合金具及び差し口結合金具の両表面に食品衛生法に適合する透明な合成樹脂フィルムを巻き付けるようにしているため、消防用ホースを透明な多層チューブフィルム内に密封状に包装した場合、両結合金具が多層チューブフィルムに損傷を与えるのを防止することができ、多層チューブフィルム内の消防用ホースの品質を一定に保つことができるうえ、多層チューブフィルム及び合成樹脂フィルムが透明であるので、ホース本体及び両結合金具の表面上の異常を目視によって容易に確認することができる。
本発明の請求項4の消防用ホースの製造方法は、ホース本体を製造する工程に於いて使用する水に上水道水を使用し、形成されたホース本体の両端部に食品衛生法に適合するアルミニウム合金製又はステンレス製の洗浄済みの受け口結合金具及び差し口結合金具を夫々取り付け、前記ホース本体及び両結合金具を加熱乾燥殺菌処理した後、受け口結合金具内に食品衛生法に適合する洗浄済みのシリコンゴム製パッキンを挿着し、その後ホース本体及び両結合金具を食品衛生法に適合するガス遮断性を有する透明な多層チューブフィルム内に同じく食品衛生法に適合する脱酸素剤と共に入れ、多層チューブフィルム内の空気を窒素ガスに置換しつつ、ホース本体と両結合金具と脱酸素剤とを多層チューブフィルムにより密封状に包装し、最後に多層チューブフィルムの外面に少なくともシール用のNBR製ゴムパッキン及び受け口結合金具の保護タイヤを入れて密封した人体に無害な材質で形成された収納袋を添付するようにしているため、消防用ホースの製造後から保管、収納されて使用時に開封されるまで間、食品衛生法に適合する一定の品質を保った消防用ホースとなり、飲料水を含む生活用水の給水用ホースや送水用ホースとしての転用が可能な状態を長期間に亘って保持し続けることができる。
本発明の請求項5の消防用ホースの製造方法は、受け口結合金具及び差し口結合金具の両表面に食品衛生法に適合する透明な合成樹脂フィルムを巻き付け、この状態で多層チューブフィルムにより密封状に包装するようにしているため、両結合金具が多層チューブフィルムに損傷を与えるのを防止することができ、多層チューブフィルム内の消防用ホースの品質を一定に保つことができる。
このように、本発明の消防用ホース及び消防用ホースの製造方法は、消防用ホースとしての機能及び性能を満たすうえ、食品衛生法に適合する品質を確保することができる。その結果、本発明の消防用ホースは、火災発生時には、消火活動に使用され、又、地震や台風等の災害時等には、飲料水を含む生活用水の給水用ホースや送水用ホースとしても転用が可能となり、多目的ホースとすることができる。
以下、本発明の実施の形態を図面に基づいて詳細に説明する。
図1は本発明の実施の形態に係る消防用ホースの密封包装状態を示し、当該消防用ホースは、偏平状に折り畳んで長さ方向の中間点付近から二重折してロール状に巻き取った状態のホース本体1と、ホース本体1の一端部に取り付けられた受け口結合金具2と、ホース本体1の他端部に取り付けられて受け口結合金具2に結合された差し口結合金具3と、ホース本体1の両端部に受け口結合金具2及び差し口結合金具3を夫々取り付けるための筒状の金属製リング4と、ロール状に巻き取った状態のホース本体1を結束するバンド5と、結合された受け口結合金具2及び差し口結合金具3の両表面に巻き付けられた合成樹脂フィルム6と、残留酸素を除去する脱酸素剤7と、上述したホース本体1、受け口結合金具2、差し口結合金具3、金属製リング4、バンド5、合成樹脂フィルム6及び脱酸素剤7の全てを密封状に包装するガス遮断性を有する透明な多層チューブフィルム8と、多層チューブフィルム8の外面に添付され、受け口結合金具2内に挿着されるNBR製ゴムパッキン2g、受け口結合金具2に嵌合されるリング状の保護タイヤ2h及び消防用ホースの取扱説明書(図示省略)を入れて密封した収納袋9とから構成されている。
この消防用ホースに於いては、不使用時には、ホース本体1を偏平状に折り畳んで長さ方向の中間点付近から二重折してロール状に巻き取って食品衛生法に適合するバンド5(この例では、ポリウレタン製のバンド5)で結束すると共に、受け口結合金具2と差し口結合金具3を結合して両結合金具2,3の表面に食品衛生法に適合する透明な合成樹脂フィルム6(この例では、透明性、耐熱性、ガスバリヤー性に優れているポリ塩化ビニリデンフィルム)を巻き付け、この状態で結束されたホース本体1と両結合金具2,3を食品衛生法に適合する脱酸素剤7と共に食品衛生法に適合するガス遮断性を有する透明な多層チューブフィルム8に入れ、多層チューブフィルム8内の空気を窒素ガスに置換した状態で密封状に包装して保管、収納するようにしている。
このとき、受け口結合金具2内に挿着されるシール用のパッキンは、食品衛生法に適合するシリコンゴム製パッキン2fであり、又、消防用として使用される場合のNBR製ゴムパッキン2g及び保護タイヤ2hは、人体に無害な材質で形成された収納袋9(この例では、透明なポリエチレン製の収納袋9)に消防用ホースの取扱説明書(図示省略)と一緒に入れられて密封され、多層チューブフィルム8の外面に付属品として添付されている。
前記消防用ホースの要部を構成するホース本体1は、合成繊維製のたて糸と合成繊維製のよこ糸とを筒状に織成して成るジャケット1aと、ジャケット1aの内周面に形成されて食品衛生法に適合するポリウレタン樹脂から成る内張り層1bとから構成されている。
又、ホース本体1のジャケット1aの組織は、汚れが付き難く、例え汚れが付いても落ち易いように、たて糸に細いポリエステルフィラメント糸を多数本使用した筒状の綾織構造に構成されている。
更に、ホース本体1の加工工程に於いては、内張り層1bをチューブ状に成形する工程と、この内張り層1bをジャケット1aの内周面に密着させる工程に於いて水が使用されるが、本発明の実施の形態では、これらの工程で通常一般的に使用される工業用水は使用せず、上水道の水道水のみを使用してホース本体1を加工している。そのため、出来上がったホース本体1は、衛生的なものである。
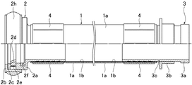
そして、ホース本体1の両端部に取り付けられる受け口結合金具2及び差し口結合金具3は、何れも食品衛生法に適合するアルミニウム合金又はステンレスにより形成されており、同じく食品衛生法に適合するアルミニウム合金により形成された金属製リング4の加締めによりホース本体1の両端部に夫々取り付けられている。
即ち、受け口結合金具2は、図2に示す如く、一端部がホース本体1の一端部に挿入されるアルミニウム合金製の筒状の受け金具2aと、受け金具2aの他端部に螺着されたアルミニウム合金製の筒状の締め輪2bと、締め輪2b内に嵌合されたアルミニウム合金製の環状の爪座2cと、締め輪2b内に等角度ごとに配設されたアルミニウム合金製の円弧状の複数の爪2dと、各爪2dを内方へ附勢するステンレス製の板バネ2eと、受け金具2a内に挿着されたシール用のパッキンとから成り、従来公知のものと同様構造に構成されている。
又、受け口結合金具2のシール用のパッキンは、消防用ホースを飲料水を含む生活用水の給水用ホースや送水用ホースとして使用する場合、食品衛生法に適合するシリコンゴム製パッキン2fを使用する。
尚、シリコンゴム製パッキン2fは、塩素に対しての耐久性が低いことから、長期間に亘って消防用ホースとして使用するには不向きである。それを補うために、消防用ホースとしてのみ使用される場合を想定して、塩素に対して耐久性が高いNBR製ゴムパッキン2gをシール用のパッキンとして付属させる。
一方、差し口結合金具3は、図2に示す如く、一端部がホース本体1の他端部に挿入されると共に、他端部が受け口結合金具2内に着脱自在に挿入係止されるアルミニウム合金製の筒状の差し金具3aと、差し金具3aの外周面に軸線方向へスライド自在に外嵌されて差し金具3aと受け口結合金具2の係止を外すアルミニウム合金製の押し輪3bと、差し金具3aの外周面に嵌合されて押し輪3bを抜け止めするステンレス製の止めリング3cとから成り、従来公知のものと同様構造に構成されている。
そして、受け口結合金具2及び差し口結合金具3は、その受け金具2a及び差し金具3aをホース本体1の両端部に夫々差し込み、ホース本体1の両端部外周面に嵌めた筒状の金属製リング4を加締めることによってホース本体1の両端部に夫々取り付けられる。両金属製リング4は、何れも食品衛生法に適合するアルミニウム合金により形成されている。
前記多層チューブフィルム8は、性質の異なる合成樹脂を別々の押出機で一つの金型へ押し込み、金型内でチューブ状に積層したものである。この多層チューブフィルム8には、食品の冷凍や煮沸に耐え得るもので、ガス遮断性があって透明性及び柔軟性に優れ、然も環境に優しい材質を使用した、ナイロンとポリエチレンと変性ポリエチレンの3層構造から成る汎用品が使用されている。
上述した消防用ホースに於いては、ガス遮断性を有する透明な多層チューブフィルム8で包装される前に、ホース本体1等の水切りが行われる。又、ホース本体1の両端部には、製造時に使用された油脂分等も含めた不純物の除去及び洗浄を行った受け口結合金具2及び差し口結合金具3が同じく洗浄を行ったアルミニウム合金製の金属製リング4の加締め加工によって取り付けられる。
そして、ホース本体1及び両結合金具2,3は、ガス遮断性を有する透明な多層チューブフィルム8により密封状に包装される直前に、ホースの性能に影響を及ぼさない摂氏72℃±5℃の温度範囲下で、3時間以上の時間を掛けて加熱乾燥殺菌処理される。
その後、受け口結合金具2と差し口結合金具3を結合させ、両結合金具2,3の表面に両結合金具2,3が多層チューブフィルム8に損傷を与えることがないように食品衛生法に適合する透明な合成樹脂フィルム6(ポリ塩化ビニリデンフィルム)を巻き付ける。
最後に、ホース本体1、受け口結合金具2及び差し口結合金具3を食品衛生法に適合する脱酸素剤7と共に食品衛生法に適合するガス遮断性を有する透明な多層チューブフィルム8内に入れたうえで、多層チューブフィルム8内の空気を窒素ガスに置換しながら、多層チューブフィルム8をヒートシールして密閉する。
このように、上述した消防用ホースに於いては、通水時に水が接触するホース本体1の内張り層1b、受け口結合金具2、差し口結合金具3、受け口結合金具2内のシリコンゴム製パッキン2fを全て食品衛生法に適合する材料を使用することで、消防用ホースとしてだけでなく、飲料水を含めた生活用水の給水用ホースや送水用ホースとしての使用が可能になる。
又、上述した消防用ホースは、その保管、収納時に衛生状態の低下を来たさないように、加熱乾燥殺菌処理した後に食品衛生法に適合した脱酸化剤を添付したうえで、同じく食品衛生法に適合したガス遮断性を有する透明な多層チューブフィルム8によって、内部の空気を窒素ガスに置換した状態で密封状に包装されるため、使用時に包装が開封されるまでは、未使用の期間が長期間に及んでも初期の状態或いは初期の状態に近い衛生状態を維持することができる。
従って、密封状に包装された消防用ホースは、塩害の影響を受け易い海浜部に於ける保管、収納に於いても、非常に効果的である。又、万一、保管上の事故等で受け口結合金具2及び差し口結合金具3等が劣化や損傷を受けた場合や定期点検等に於いても、包装材として使用されるガス遮断性を有する多層チューブフィルム8及び合成樹脂フィルム6が透明であることから、表面上の異常を目視によって容易に確認することができる。
尚、一度包装を開封して使用した消防用ホースは、水切りをしても、ホース本体1内や両結合金具2,3内に水が少量残るため、そのまま長期間放置すると、水が腐敗する危険性が高く、飲料水を含む生活用水の給水用ホースや送水用ホースとしては不適となるが、消防用ホースとしては引き続き利用が可能である。
又、この消防用ホースは、ホースとしての性能に優れていることから、散水用や工業用等、耐圧力とコンパクトな収納が要求される用途への転用も可能である。
更に、この消防用ホースは、使用後に飲料水を含む生活用水の給水用ホースや送水用ホースとして再利用が望まれる場合、汚れの程度が特別にひどくなければ、製造者の元ヘ回収され、製造者が洗浄及び品質検査を行って加熱乾燥殺菌処理した後、初回と同様の包装を行うことで再利用も可能である。特に、ホース本体1のジャケット1aは、たて糸に細いポリエステルフィラメント糸を多数本使用して筒状の綾織構造に構成しているため、汚れが付き難く、例え汚れが付いても落ち易くなっており、洗浄を簡単且つ容易に行える。
消防用ホースの内張り層1bとして、食品衛生法の適合証明を受けた熱可塑性ポリウレタン樹脂を使用し、この熱可塑性ポリウレタン樹脂から冷却水に上水道水を使った押出成形により内張り層1bと成る内張り用チューブを成形する。
次に、たて糸に多数本の細いポリエステルフィラメント糸を使い、又、よこ糸にポリエステルフィラメント糸を使って綾組織で織られた筒状のジャケット1aの内周面に上水道水を使用した蒸気加熱加工により前記内張り用チューブを貼り付けてホース本体1を製作する。このホース本体1は、ホース検査を行い、消防検定を受検して合格させる。
一方、消防検定に合格し、食品衛生法の適合証明を受けたアルミニウム合金製の受け口結合金具2から保護タイヤ2hとNBR製ゴムパッキン2gを取り外した後、この受け口結合金具2を同じく消防検定に合格し、食品衛生法の適合証明を受けたアルミニウム合金製の差し口結合金具3と一緒に洗浄して水を切る。又、食品衛生法の適合証明を受けたシリコンゴム製パッキン2fを洗浄して水を切る。
前記ホース本体1は、偏平状に折り畳んで長さ方向の中間点付近から二重折してロール状に巻き取り、食品衛生法に適合するポリウレタン製のバンド5で結束固定した後、ホース本体1の両端部に洗浄して水を切った受け口結合金具2及び差し口結合金具3を食品衛生法に適合するアルミニウム合金製の洗浄済みの金属製リング4の加締め加工により夫々取り付ける。
その後、受け口結合金具2と差し口結合金具3を結合させ、両結合金具2,3の表面に食品衛生法に適合する透明なポリ塩化ビニリデンフィルムから成る合成樹脂フィルム6を巻き付ける。
そして、消防用ホースの包装直前にホース本体1及び両結合金具2,3を72℃±5℃の温度下で加熱乾燥殺菌処理を行い、受け口結合金具2内に洗浄済みのシリコンゴム製パッキン2fを取り付ける共に、ホース本体1に食品衛生法の適合証明を受けた脱酸素剤7(商品名:エージレス(登録商標))を添付し、食品衛生法の適合証明を受けたガス遮断性を有する透明な多層チューブフィルム8(商品名:トリプルナイロン)を使用してホース本体1、両結合金具2,3、バンド5、合成樹脂フィルム6及び脱酸素剤7を密封状に包装する。このとき、多層チューブフィルム8内の空気を負圧になるまで引き抜き、替わりに多層チューブフィルム8内に窒素ガスを充填して多層チューブフィルム8をヒートシールして密封状に包装する。
最後に、保護タイヤ2hとNBR製ゴムパッキン2gと取扱説明書(図示省略)を入れて密封した人体に無害なポリエチレン製の収納袋9を多層チューブフィルム8の外表面に添付する。
このように、密封状に包装された消防用ホースは、消防用ホースとしての機能及び性能を満たすことは勿論のこと、消防用ホースの製造後から保管、収納されて使用時に開封されるまでの間、一定の品質を保った消防用ホースとなり、飲料水を含む生活用水の給水用ホースや送水用ホースとしての転用が可能な状態を長期間に亘って保持し続けることができる。
尚、上記の実施の形態に於いては、ホース本体1の内張り層1bに食品衛生法に適合するポリウレタン樹脂を使用するようにしたが、他の実施の形態に於いては、ホース本体1の内張り層1bに食品衛生法に適合するEVA樹脂を使用するようにしても良い。
又、上記の実施の形態に於いては、受け口結合金具2及び差し口結合金具3に食品衛生法に適合するアルミニウム合金を使用するようにしたが、他の実施の形態に於いては、受け口結合金具2及び差し口結合金具3に食品衛生法に適合するステンレスを使用するようにしても良い。
本発明の実施の形態に係る消防用ホースの密封包装状態を示す概略斜視図である。 消防用ホースのホース本体と両結合金具の構造を示す一部破断正面図である。
1はホース本体、1aはジャケット、1bは内張り層、2は受け口結合金具、2fはシリコンゴム製パッキン、2gはNBR製ゴムパッキン、2hは保護タイヤ、3は差し口結合金具、6は合成樹脂フィルム、7は脱酸素剤、8は多層チューブフィルム、9は収納袋。

Claims (5)

  1. たて糸とよこ糸とを筒状に織成したジャケット(1a)の内周面に合成樹脂製の内張り層(1b)を形成して成るホース本体(1)と、ホース本体(1)の一端部に取り付けられてシール用のパッキンを有する受け口結合金具(2)と、ホース本体(1)の他端部に取り付けられて受け口結合金具(2)に着脱自在に結合される差し口結合金具(3)とを備えた消防用ホースに於いて、前記ホース本体(1)の内張り層(1b)には、食品衛生法に適合するポリウレタン樹脂又はEVA樹脂を使用し、又、受け口結合金具(2)及び差し口結合金具(3)には、食品衛生法に適合するアルミニウム合金又はステンレスを使用し、更に、受け口結合金具(2)内のパッキンには、食品衛生法に適合するシリコンゴム製パッキン(2f)を使用したことを特徴とする消防用ホース。
  2. 請求項1に記載の消防用ホースと、加熱乾燥殺菌処理された前記消防用ホースを窒素ガスを充填した状態で密封状に包装する食品衛生法に適合するガス遮断性を有する透明な多層チューブフィルム(8)と、多層チューブフィルム(8)内に入れられて多層チューブフィルム内の残留酸素を除去する食品衛生法に適合する脱酸素剤(7)と、多層チューブフィルム(8)の外面に添付され、少なくともシール用のNBR製ゴムパッキン(2g)及び受け口結合金具(2)の保護タイヤ(2h)を入れて密封した人体に無害な材質で形成された収納袋(10)とから成り、消火用の消防用ホースの他に飲料水を含む生活用水の給水用ホースや送水用ホースにも使用可能としたことを特徴とする消防用ホース。
  3. 受け口結合金具(2)及び差し口結合金具(3)の両表面に食品衛生法に適合する透明な合成樹脂フィルム(6)を巻き付けるようにしたことを特徴とする請求項2に記載の消防用ホース。
  4. たて糸とよこ糸とを筒状に織成したジャケット(1a)とジャケット(1a)の内周面に形成される食品衛生法に適合するポリウレタン樹脂製又はEVA樹脂製の内張り層(1b)とから構成されるホース本体(1)を製造する際に、前記内張り層(1b)をチューブ状に成形する工程とこの内張り層(1b)をジャケット(1a)の内周面に密着させる工程に於いて夫々上水道水を使用し、形成されたホース本体(1)の両端部に食品衛生法に適合するアルミニウム合金製又はステンレス製の洗浄済みの受け口結合金具(2)及び差し口結合金具(3)を夫々取り付け、前記ホース本体(1)及び両結合金具(2),(3)を加熱乾燥殺菌処理した後、受け口結合金具(2)内に食品衛生法に適合する洗浄済みのシリコンゴム製パッキン(2f)を挿着し、その後ホース本体(1)及び両結合金具(2),(3)を食品衛生法に適合するガス遮断性を有する透明な多層チューブフィルム(8)内に同じく食品衛生法に適合する脱酸素剤(7)と共に入れ、多層チューブフィルム(8)内の空気を窒素ガスに置換しつつ、ホース本体(1)と両結合金具(2),(3)と脱酸素剤(7)とを多層チューブフィルム(8)により密封状に包装し、最後に多層チューブフィルム(8)の外面に少なくともシール用のNBR製ゴムパッキン(2g)及び受け口結合金具(2)の保護タイヤ(2h)を入れて密封した人体に無害な材質で形成された収納袋(10)を添付し、消火用の消防用ホースの他に飲料水を含む生活用水の給水用ホースや送水用ホースにも使用可能としたことを特徴とする消防用ホースの製造方法。
  5. 受け口結合金具(2)及び差し口結合金具(3)の両表面に食品衛生法に適合する透明な合成樹脂フィルム(6)を巻き付け、この状態で多層チューブフィルム(8)により密封状に包装するようにしたことを特徴とする請求項4に記載の消防用ホースの製造方法。
JP2008209416A 2008-08-18 2008-08-18 消防用ホース及びその製造方法 Active JP5162370B2 (ja)

Priority Applications (1)

Application Number Priority Date Filing Date Title
JP2008209416A JP5162370B2 (ja) 2008-08-18 2008-08-18 消防用ホース及びその製造方法

Applications Claiming Priority (1)

Application Number Priority Date Filing Date Title
JP2008209416A JP5162370B2 (ja) 2008-08-18 2008-08-18 消防用ホース及びその製造方法

Publications (2)

Publication Number Publication Date
JP2010042177A true JP2010042177A (ja) 2010-02-25
JP5162370B2 JP5162370B2 (ja) 2013-03-13

Family

ID=42014056

Family Applications (1)

Application Number Title Priority Date Filing Date
JP2008209416A Active JP5162370B2 (ja) 2008-08-18 2008-08-18 消防用ホース及びその製造方法

Country Status (1)

Country Link
JP (1) JP5162370B2 (ja)

Citations (6)

* Cited by examiner, † Cited by third party
Publication number Priority date Publication date Assignee Title
JPH09173495A (ja) * 1995-12-28 1997-07-08 Itachibori Seisakusho:Kk 消防用ホース継手
JPH10103524A (ja) * 1996-08-05 1998-04-21 Sekisui Finechem Co Ltd 多孔質管のシール構造
JPH10196854A (ja) * 1997-01-09 1998-07-31 Sakura Gomme Kk 消防ホース
JP2000233030A (ja) * 1999-02-16 2000-08-29 Yamada Seisakusho Co Ltd 消防用ホース取付構造及び結合金具付き消防用ホースの製造方法
JP2001349477A (ja) * 1999-12-28 2001-12-21 Nippon Techno:Kk フレキシブル排水管
JP2006329296A (ja) * 2005-05-25 2006-12-07 Totaku Industries Inc 管継手と管継手付管

Patent Citations (6)

* Cited by examiner, † Cited by third party
Publication number Priority date Publication date Assignee Title
JPH09173495A (ja) * 1995-12-28 1997-07-08 Itachibori Seisakusho:Kk 消防用ホース継手
JPH10103524A (ja) * 1996-08-05 1998-04-21 Sekisui Finechem Co Ltd 多孔質管のシール構造
JPH10196854A (ja) * 1997-01-09 1998-07-31 Sakura Gomme Kk 消防ホース
JP2000233030A (ja) * 1999-02-16 2000-08-29 Yamada Seisakusho Co Ltd 消防用ホース取付構造及び結合金具付き消防用ホースの製造方法
JP2001349477A (ja) * 1999-12-28 2001-12-21 Nippon Techno:Kk フレキシブル排水管
JP2006329296A (ja) * 2005-05-25 2006-12-07 Totaku Industries Inc 管継手と管継手付管

Also Published As

Publication number Publication date
JP5162370B2 (ja) 2013-03-13

Similar Documents

Publication Publication Date Title
FI72859C (fi) Slangfolie, boejbart och i ett skikt av polyamid foer foerpackning av pastaliknande material, isynnerhet livsmedel, vilka foerpackas varma eller efter packandet underkastas en vaermebehandling samt foerfarande foer dess framstaellning.
US20030188368A1 (en) Garment with releasable water-tight seal for neck and limbs
US5458516A (en) Atmospheric self inflatable suit
KR20170031731A (ko) 감김가능한 내마모성 열반사성 보호 직물 슬리브 및 이 직물 슬리브의 제조 방법
JP5162370B2 (ja) 消防用ホース及びその製造方法
CN210212717U (zh) 一种充气式多用途救生衣
WO2009155333A2 (en) Improved personal hydration system
WO2018183508A1 (en) Bleach compatible polyolefin mattress cover
JP2010139057A (ja) 熱膨張閉塞促進型耐火二層管継手及び熱膨張剤収容装置
EP1268312B1 (en) A flexible tank for liquids and method of making such a tank
US20060255048A1 (en) Personal hydration system
JP2011053080A (ja) 漏洩検査器具
FR2896959A1 (fr) Masque de protection sanitaire a liberation controlee et sequentielle de produit actif de desinfection de son air interieur.
JP5661379B2 (ja) 配管
KR20190065965A (ko) 멸균 패키지
FR2569460A1 (fr) Tuyau souple multicouche pour haute pression, a couche intermediaire en matiere polymere
BE1011987A3 (fr) Gant souple et etanche.
JPH09178058A (ja) 給水・給湯用ホ−ス
KR101673093B1 (ko) 염모제용 에어졸 용기
JP3116227U (ja) 気体透過性、水分不透過性不織布からなるオゾン氷カプセル
CA3055591A1 (en) Food covering
US11112053B2 (en) Hose liner
CN213793283U (zh) 具有消毒功能的脉冲共振管道清洗装置
JP3734585B2 (ja) 脱気装置
CN215531778U (zh) 一种安全用防护服

Legal Events

Date Code Title Description
A621 Written request for application examination

Free format text: JAPANESE INTERMEDIATE CODE: A621

Effective date: 20110610

A977 Report on retrieval

Free format text: JAPANESE INTERMEDIATE CODE: A971007

Effective date: 20120523

A131 Notification of reasons for refusal

Free format text: JAPANESE INTERMEDIATE CODE: A131

Effective date: 20120528

A521 Request for written amendment filed

Free format text: JAPANESE INTERMEDIATE CODE: A523

Effective date: 20120711

TRDD Decision of grant or rejection written
A01 Written decision to grant a patent or to grant a registration (utility model)

Free format text: JAPANESE INTERMEDIATE CODE: A01

Effective date: 20121210

A61 First payment of annual fees (during grant procedure)

Free format text: JAPANESE INTERMEDIATE CODE: A61

Effective date: 20121217

R150 Certificate of patent or registration of utility model

Ref document number: 5162370

Country of ref document: JP

Free format text: JAPANESE INTERMEDIATE CODE: R150

Free format text: JAPANESE INTERMEDIATE CODE: R150

FPAY Renewal fee payment (event date is renewal date of database)

Free format text: PAYMENT UNTIL: 20151221

Year of fee payment: 3

R250 Receipt of annual fees

Free format text: JAPANESE INTERMEDIATE CODE: R250

R250 Receipt of annual fees

Free format text: JAPANESE INTERMEDIATE CODE: R250

R250 Receipt of annual fees

Free format text: JAPANESE INTERMEDIATE CODE: R250

R250 Receipt of annual fees

Free format text: JAPANESE INTERMEDIATE CODE: R250

R250 Receipt of annual fees

Free format text: JAPANESE INTERMEDIATE CODE: R250

R250 Receipt of annual fees

Free format text: JAPANESE INTERMEDIATE CODE: R250

R250 Receipt of annual fees

Free format text: JAPANESE INTERMEDIATE CODE: R250

R250 Receipt of annual fees

Free format text: JAPANESE INTERMEDIATE CODE: R250

S111 Request for change of ownership or part of ownership

Free format text: JAPANESE INTERMEDIATE CODE: R313111

R350 Written notification of registration of transfer

Free format text: JAPANESE INTERMEDIATE CODE: R350

R250 Receipt of annual fees

Free format text: JAPANESE INTERMEDIATE CODE: R250

R250 Receipt of annual fees

Free format text: JAPANESE INTERMEDIATE CODE: R250

R250 Receipt of annual fees

Free format text: JAPANESE INTERMEDIATE CODE: R250