JP2010039101A - 画像処理装置及びその制御方法 - Google Patents

画像処理装置及びその制御方法 Download PDF

Info

Publication number
JP2010039101A
JP2010039101A JP2008200588A JP2008200588A JP2010039101A JP 2010039101 A JP2010039101 A JP 2010039101A JP 2008200588 A JP2008200588 A JP 2008200588A JP 2008200588 A JP2008200588 A JP 2008200588A JP 2010039101 A JP2010039101 A JP 2010039101A
Authority
JP
Japan
Prior art keywords
video
video signal
content information
screen
display mode
Prior art date
Legal status (The legal status is an assumption and is not a legal conclusion. Google has not performed a legal analysis and makes no representation as to the accuracy of the status listed.)
Granted
Application number
JP2008200588A
Other languages
English (en)
Other versions
JP2010039101A5 (ja
JP5288928B2 (ja
Inventor
Seiji Osawa
誠司 大澤
Current Assignee (The listed assignees may be inaccurate. Google has not performed a legal analysis and makes no representation or warranty as to the accuracy of the list.)
Canon Inc
Original Assignee
Canon Inc
Priority date (The priority date is an assumption and is not a legal conclusion. Google has not performed a legal analysis and makes no representation as to the accuracy of the date listed.)
Filing date
Publication date
Application filed by Canon Inc filed Critical Canon Inc
Priority to JP2008200588A priority Critical patent/JP5288928B2/ja
Priority to US12/512,447 priority patent/US8248534B2/en
Publication of JP2010039101A publication Critical patent/JP2010039101A/ja
Publication of JP2010039101A5 publication Critical patent/JP2010039101A5/ja
Priority to US13/547,423 priority patent/US8576339B2/en
Application granted granted Critical
Publication of JP5288928B2 publication Critical patent/JP5288928B2/ja
Expired - Fee Related legal-status Critical Current
Anticipated expiration legal-status Critical

Links

Images

Classifications

    • HELECTRICITY
    • H04ELECTRIC COMMUNICATION TECHNIQUE
    • H04NPICTORIAL COMMUNICATION, e.g. TELEVISION
    • H04N5/00Details of television systems
    • H04N5/44Receiver circuitry for the reception of television signals according to analogue transmission standards
    • H04N5/445Receiver circuitry for the reception of television signals according to analogue transmission standards for displaying additional information
    • H04N5/45Picture in picture, e.g. displaying simultaneously another television channel in a region of the screen
    • HELECTRICITY
    • H04ELECTRIC COMMUNICATION TECHNIQUE
    • H04NPICTORIAL COMMUNICATION, e.g. TELEVISION
    • H04N21/00Selective content distribution, e.g. interactive television or video on demand [VOD]
    • H04N21/40Client devices specifically adapted for the reception of or interaction with content, e.g. set-top-box [STB]; Operations thereof
    • H04N21/41Structure of client; Structure of client peripherals
    • H04N21/426Internal components of the client ; Characteristics thereof
    • H04N21/42607Internal components of the client ; Characteristics thereof for processing the incoming bitstream
    • H04N21/4263Internal components of the client ; Characteristics thereof for processing the incoming bitstream involving specific tuning arrangements, e.g. two tuners
    • HELECTRICITY
    • H04ELECTRIC COMMUNICATION TECHNIQUE
    • H04NPICTORIAL COMMUNICATION, e.g. TELEVISION
    • H04N21/00Selective content distribution, e.g. interactive television or video on demand [VOD]
    • H04N21/40Client devices specifically adapted for the reception of or interaction with content, e.g. set-top-box [STB]; Operations thereof
    • H04N21/43Processing of content or additional data, e.g. demultiplexing additional data from a digital video stream; Elementary client operations, e.g. monitoring of home network or synchronising decoder's clock; Client middleware
    • H04N21/431Generation of visual interfaces for content selection or interaction; Content or additional data rendering
    • H04N21/4312Generation of visual interfaces for content selection or interaction; Content or additional data rendering involving specific graphical features, e.g. screen layout, special fonts or colors, blinking icons, highlights or animations
    • H04N21/4316Generation of visual interfaces for content selection or interaction; Content or additional data rendering involving specific graphical features, e.g. screen layout, special fonts or colors, blinking icons, highlights or animations for displaying supplemental content in a region of the screen, e.g. an advertisement in a separate window
    • HELECTRICITY
    • H04ELECTRIC COMMUNICATION TECHNIQUE
    • H04NPICTORIAL COMMUNICATION, e.g. TELEVISION
    • H04N21/00Selective content distribution, e.g. interactive television or video on demand [VOD]
    • H04N21/40Client devices specifically adapted for the reception of or interaction with content, e.g. set-top-box [STB]; Operations thereof
    • H04N21/43Processing of content or additional data, e.g. demultiplexing additional data from a digital video stream; Elementary client operations, e.g. monitoring of home network or synchronising decoder's clock; Client middleware
    • H04N21/434Disassembling of a multiplex stream, e.g. demultiplexing audio and video streams, extraction of additional data from a video stream; Remultiplexing of multiplex streams; Extraction or processing of SI; Disassembling of packetised elementary stream
    • H04N21/4348Demultiplexing of additional data and video streams
    • HELECTRICITY
    • H04ELECTRIC COMMUNICATION TECHNIQUE
    • H04NPICTORIAL COMMUNICATION, e.g. TELEVISION
    • H04N21/00Selective content distribution, e.g. interactive television or video on demand [VOD]
    • H04N21/40Client devices specifically adapted for the reception of or interaction with content, e.g. set-top-box [STB]; Operations thereof
    • H04N21/47End-user applications
    • HELECTRICITY
    • H04ELECTRIC COMMUNICATION TECHNIQUE
    • H04NPICTORIAL COMMUNICATION, e.g. TELEVISION
    • H04N21/00Selective content distribution, e.g. interactive television or video on demand [VOD]
    • H04N21/80Generation or processing of content or additional data by content creator independently of the distribution process; Content per se
    • H04N21/83Generation or processing of protective or descriptive data associated with content; Content structuring
    • H04N21/84Generation or processing of descriptive data, e.g. content descriptors

Landscapes

  • Engineering & Computer Science (AREA)
  • Multimedia (AREA)
  • Signal Processing (AREA)
  • Business, Economics & Management (AREA)
  • Marketing (AREA)
  • Controls And Circuits For Display Device (AREA)
  • Studio Devices (AREA)
  • Two-Way Televisions, Distribution Of Moving Picture Or The Like (AREA)

Abstract

【課題】多画面表示モードと1画面表示モードを有する画像処理装置において、表示モードの切替および出力する映像信号の選択を自動的に行うことで、ユーザの利便性を向上させることができる技術を提供する。
【解決手段】画像処理装置が、多画面表示モードの信号を構成する2以上の映像信号のそれぞれについて、映像信号の内容を示す映像内容情報を記憶する記憶手段と、各入力部に入力されている映像信号の映像内容情報を取得する映像内容情報取得手段と、前記記憶手段に記憶されている映像信号の映像内容情報と、前記映像内容情報取得手段によって取得された現在入力されている映像信号の映像内容情報とを比較する比較手段と、前記比較手段の比較結果に応じて、表示モードの切替および出力する映像信号の選択を制御する制御手段と、を備える。
【選択図】図1

Description

本発明は、複数の入力部から入力された映像信号を選択し合成して出力する画像処理装置及びその制御方法に関するものである。
放送のデジタル化により、多チャンネル放送が行われている。多チャンネルの放送を視聴するスタイルとして、一つの表示面に複数の画面を配置し、それぞれの画面に対して別のチャンネルの映像を割り当てて表示するケースが増えている。例えば、図21に示すように、テレビの表示面201に二つの表示領域を配置し、一方を主画面202、他方を副画面203として二つの映像を表示する場合がある。主画面202にはサッカー中継を、副画面203には野球中継をそれぞれ表示することで、主にはサッカー中継の視聴を楽しみながら、野球中継の途中経過も随時確認できる。実際に表示面に複数の画面を表示できるテレビジョンも実用化されている。
従来は、図22Aのように多画面で視聴していた時に電源をオフにした場合、その後電源をオンにすると主画面202として表示していた映像が表示面201全体に表示されるようになっていた(図22B)。
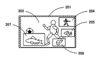
これに対して、表示面に表示している複数の画面の情報を記憶し、その情報に基づいて多画面表示を行う技術があった(特許文献1参照)。その例を図23に示す。図23において、テレビの表示面201と重なる領域に主画面202が表示されており、さらに副画面204〜207が配置されている。特許文献1の装置は、主画面202および副画面204〜207それぞれに画像を表示させる手段と、これらの各画面の位置、大きさ、番組の識別情報を記憶する手段を備えている。このようにすることで、記憶された各情報に基づいて表示面201上に複数画面の表示状態を再現することが可能となる。
特開平11−136595号公報
以上説明した従来技術では、次のような課題があった。
図22Aに示した従来例では、電源をオフした後電源をオンした場合に主画面202として表示していた映像が表示面201全体に表示される。よって、例えば多画面で視聴中に誤操作により電源をオフしてしまうと、すぐに電源をオンにしたとしても図22Bのように主画面のみの1画面で表示されてしまう。このため、継続して多画面で視聴したい場合には多画面表示のためにユーザが画面構成を再設定する必要があった。また、野球中継の途中経過を随時確認しながらサッカー中継の視聴を楽しんでいる際、視聴を一時中断するために電源をオフして、長時間経過後に再び電源をオンしたとする。このときに、まだ野球とサッカーが放送されていた場合でも、やはり図22Bのように電源オフ時の主画面であったサッカー中継が1画面で表示されてしまう。このため、電源オフ時と同様の画面構成で視聴したい場合には、画面構成の再設定操作が必要であり、ユーザの負担となっていた。
特許文献1の装置では、常に記憶された情報を元に多画面表示を行うため、電源オフ時と同じ画面構成が電源オン時に再現される。
しかし、例えば野球中継の途中経過を随時確認しながらサッカー中継の視聴を楽しんで
いる際(図24A)に電源をオフし、再び電源をオンしたとき、野球中継が終了していて他の番組が放送されていたとする。この場合でも、特許文献1の装置では、電源オフ時と同じように、主画面202と、副画面208の2画面で表示されてしまう(図24B)。このように、多画面にて野球の途中経過を確認する必要がなくなったために主画面のみを表示面に表示したいような場合には、多画面表示から1画面表示に変更する操作が必要であり、やはりユーザの負担となる。
このような例は、電源オン時のみでなく、例えばサッカー中継と野球中継の多画面視聴中に、野球中継が終了して他の番組が始まった場合でも同様である。この場合も多画面で視聴する必要はなくなるが、従来の例では継続して多画面表示されるため画面構成の再設定が必要となり、ユーザの負担が増してしまう。
そこで、本発明は、多画面表示モードと1画面表示モードを有する画像処理装置において、表示モードの切替および出力する映像信号の選択を自動的に行うことで、ユーザの利便性を向上させることができる技術を提供することを目的とする。
本発明に係る画像処理装置は、映像信号が入力される複数の入力部を備えており、1つの表示面に2以上の映像信号を同時に表示するための信号を出力する多画面表示モードと前記表示面に1つの映像信号のみを表示するための信号を出力する1画面表示モードとを有する画像処理装置であって、多画面表示モードの信号を構成する2以上の映像信号のそれぞれについて、映像信号の内容を示す映像内容情報を記憶する記憶手段と、各入力部に入力されている映像信号の映像内容情報を取得する映像内容情報取得手段と、前記記憶手段に記憶されている映像信号の映像内容情報と、前記映像内容情報取得手段によって取得された現在入力されている映像信号の映像内容情報とを比較する比較手段と、前記比較手段の比較結果に応じて、表示モードの切替および出力する映像信号の選択を制御する制御手段と、を備えることを特徴とする。
本発明に係る画像処理装置の制御方法は、映像信号が入力される複数の入力部を備えており、1つの表示面に2以上の映像信号を同時に表示するための信号を出力する多画面表示モードと前記表示面に1つの映像信号のみを表示するための信号を出力する1画面表示モードとを有する画像処理装置の制御方法であって、多画面表示モードの信号を構成する2以上の映像信号のそれぞれについて、映像信号の内容を示す映像内容情報を記憶手段に記憶する記憶工程と、各入力部に入力されている映像信号の映像内容情報を取得する取得工程と、前記記憶手段に記憶されている映像信号の映像内容情報と、前記取得工程によって取得された現在入力されている映像信号の映像内容情報とを比較する比較工程と、前記比較工程の比較結果に応じて、表示モードの切替および出力する映像信号の選択を制御する制御工程と、を含むことを特徴とする。
本発明によれば、多画面表示モードと1画面表示モードを有する画像処理装置において、表示モードの切替および出力する映像信号の選択が自動的に制御されるので、ユーザの利便性を向上させることができる。
本発明の実施形態に係る画像処理装置は、選択されている映像それぞれに対して、現在と過去の映像内容情報の比較を行い、その比較の結果に応じて表示状態を自動的に制御する。ここで、表示状態の制御には、多画面表示モードと1画面表示モードの切り替え、表示する映像信号(チャンネル)の選択などが含まれる。多画面表示モードとは、1つの表示面に2以上の映像信号を同時に表示するための信号を出力する表示モードである。1画
面表示モードとは、1つの表示面に1つの映像信号のみを表示するための信号を出力する表示モードである。映像内容情報とは、例えば放送信号の番組情報など、映像信号の内容を表す情報であり、映像や番組の名称(タイトル)やジャンルなどが含まれている。
以下、本発明の実施の形態について、図面を用いて詳細に説明する。
[実施例1]
図1は、本発明の実施例1に係る画像処理装置の構成を表すブロック図である。画像処理装置は、表示部6に出力する映像信号を生成する装置であって、アンテナ、複数のチューナ部(入力部)1〜4、映像合成部5、記憶部7、番組情報取得部8、比較部9、記憶制御部10を備える。アンテナで受信したデジタル放送波は、チューナ部1〜4に入力される。チューナ部1〜4は受信した放送波から希望のチャンネルを選局し多重分離・復号等を行って、映像・音声信号と番組情報を取り出す。映像合成部5はチューナ部1〜4で取り出された複数の映像信号から表示する映像信号を選択して合成し出力する。表示部6は映像合成部5から出力された合成後の映像信号を表示面に表示する。
図2に映像合成部5で合成されて表示部6に出力された映像の例を示す。図2において、表示部6の画面全体を表す表示面101中に、表示領域102および表示領域103が配置され、それぞれに対応した映像が表示されている。図2の例では表示領域102にはサッカー中継が、表示領域103には野球中継が表示されている。また、本実施例では、表示される各映像は全て同じサイズで表示される。図2の例では、表示領域102と表示領域103は共に表示面101の縦横サイズに対して50%の大きさで表示されている。
図1に説明を戻すと、記憶部7は映像合成部5で映像信号を合成する際の表示面上の表示領域に関する情報(以降、表示領域情報)を記憶する。記憶部7としては、画像処理装置の電源切断後も記憶内容を保持可能な不揮発性の記憶媒体を好ましく用いることができるが、揮発性の記憶媒体を用いることもできる。番組情報取得部8はチューナ部1〜4により取り出された番組情報の中から番組名情報を取得し、取得番組名情報として記憶部7および比較部9に出力する。本実施例では、番組情報取得部8が本発明の映像内容情報取得手段に対応し、比較部9が本発明の比較手段に対応する。
記憶部7に記憶される情報の具体例を図3に示す。記憶手段である記憶部7には、多画面表示モードの信号を構成する複数の映像信号のそれぞれについて、映像内容情報である番組名などが記憶されている。図3の情報は図2の映像の例に対応している。図3において、「識別番号」は各チューナ部を識別する番号である。チューナ部1には「1」、チューナ部2には「2」、チューナ部3には「3」、チューナ部4には「4」が割り当てられており、識別番号「0」は、チューナが選択されていないことを示している。これらの識別番号に対応して、各チューナ部が選局している「チャンネル番号(Ch番号)」、番組の「番組名情報」が記憶される。この表示領域情報は、多画面表示のオン/オフ時、画面数/番組/チャンネルの変更時などに書き換えられ、電源オフ後も保持される。
図3の例では、映像合成部5は、識別番号1および識別番号2に対応するチューナ部1およびチューナ部2の出力を選択して合成する。識別番号3および識別番号4は記憶されていないため、チューナ部3およびチューナ部4の出力は合成には用いられない。
再び説明を図1に戻して説明を続ける。比較部9は記憶部7に記憶されている番組名情報と、番組情報取得部8から出力された現在の取得番組名情報を比較し、結果を記憶制御部10に出力する。記憶制御部10は、比較部9による比較の結果、映像の番組名が1つでも異なっていた場合、表示面上に1画面で表示されるように表示領域情報を変更する。
表示面上に1画面で表示されるように変更された表示領域情報の例を図4に示す。図4に示す変更後の表示領域情報では、識別番号の「2」が「0」に変更され、番組名情報の「野球中継」が「NA」(Not Available)に変更されている。その結果、0以外の識別番号は1のみとなり、識別番号1に対応するチューナ部1の映像が表示面全体に1画面で表示される。
なお、識別番号2に対応する情報のうち番組名以外の情報(図4の例ではチャンネル番号)は変更せずに残しておくとよい。これらの情報は再び多画面表示をさせる場合の初期情報として利用することができる。
以上のように構成された画像処理装置の動作手順を図5〜図7のフローチャートを用いて説明する。
図5において、装置は待機状態で電源オンを待つ(ステップS1)。電源がオンになると初期設定が実行される(ステップS2)。初期設定の動作については図6のフローチャートで説明する。初期設定が開始されると、記憶制御部10がまず記憶部7の記憶内容を調べる(ステップS201)。表示領域情報が記憶されていた場合は初期設定を終了する。表示領域情報が記憶されていなかった場合、チューナ部1でチャンネル1を選局する(ステップS202)。次に記憶制御部10が記憶部7に識別番号1およびチューナ部1が選局しているチャンネル番号1を書き込み(ステップS203)、初期設定を終了し、図5のフローチャートへ戻る。
初期設定が終了したら、チューナ部1〜4はアンテナで受信した放送波から映像・音声信号と番組情報を抽出する(ステップS3)。
次に、番組情報取得部8は各チューナ部で抽出された番組情報から、放送されている番組の番組名情報を取得する(ステップS4、取得工程)。そして比較部9が、表示領域情報の番組名情報と、ステップS4で取得した番組名情報(以降、取得番組名情報)を比較し、表示領域全ての番組名情報が同じであるかを判定する(ステップS5、比較工程)。
判定した結果、1つ以上の番組名情報が異なる場合、記憶制御部10は表示面上に1画面で表示されるように表示領域情報を変更し(ステップS6、制御工程)、図7へ処理を移す。ステップS5での判定の結果、全ての番組名情報が同じであった場合は表示領域情報を変更しない。
次に、図7において、映像合成部5は記憶部7に記憶された表示領域情報に基づいて入力された映像信号を合成して出力する(ステップS7、制御工程)。
次に、記憶制御部10は、ユーザ操作により多画面表示のオン/オフや画面数、チャンネルの変更があったか、またチャンネルの変更がなくても番組が新しく始まったかなど、画面に関する情報が変更されたかどうかを調べる(ステップS8)。変更があった場合、記憶制御部10は、各表示領域の変更された情報を記憶部7に記憶する(ステップS9、記憶工程)。情報の変更がなかった場合、表示領域情報は変更しない。
そして、電源オフの指示があるかどうかを判定し(ステップS10)、電源オフの指示がなければステップS3に戻り処理を続け、電源オフの指示があった場合はメイン電源をオフにして待機状態となる。
以上のように本実施例では、記憶制御部10および映像合成部5の協働により、表示モードの切替および出力する映像信号の選択の制御が実現されている。すなわち、本実施例
では、記憶制御部10および映像合成部5が本発明の制御手段に対応する。
本実施例の画像処理装置での画面の変化を図2および図8で説明する。
図2は前述のとおり、2画面表示で放送を視聴している状態である。ユーザの操作が行われず、同じ番組が放送され続けているときは、図8Aのように2画面で表示され続ける。
ここでユーザの操作により表示領域102のチャンネルが変更された場合、番組名が変わるため、図5のステップS5の比較において番組名が異なると判定されて1画面表示になるように表示領域情報が書き換えられる。その結果、図8Bのように変更されたチャンネルの放送映像104が1画面に表示される。
また、野球中継は継続して放送されているがサッカー中継が終了して別の番組になった場合、図8Cのように表示面101にはサッカー中継終了後の放送映像105が1画面で表示される。
サッカー中継か野球中継のどちらか一方が終了したり、ユーザがチャンネルを変えるなどした場合は、2画面視聴する必要がなくなる。このような場合に、本実施例によれば自動的に1画面表示に変更される。よって、ユーザが1画面表示の指示をするような操作が不要となり、利便性が向上する。
なお、本実施例では、表示領域情報中の番組名情報と取得番組名情報を比較部9で比較した結果、番組名情報の異なる番組が1つ以上存在する場合に1画面表示を行うが、比較の結果、全ての番組名情報が異なっている場合にのみ1画面表示を行うようにしても良い。また、3画面以上の多画面表示の場合に、全ての番組名情報が同じでなくても、複数の番組名情報が同じであったときは、番組名が同じ領域のみで多画面表示するようにしても良い。つまり、番組名情報の一致する映像信号が1つであれば当該映像信号のみを1画面表示し、番組名情報の一致する映像信号が2以上であればそれらの映像信号を多画面表示するのである。
また、本実施例では、番組情報取得部8で取得する番組情報は番組名情報としているが、ジャンル情報や出演者情報など他の番組情報を用いても良い。
また、本実施例では、映像の入力源としてアンテナで受信された放送波を例として挙げており、映像内容情報として番組情報を例として用いているが、映像内容情報を取得できる入力源であれば放送波でなくとも良い。
[実施例2]
図9は、本発明の実施例2に係る画像処理装置の構成を表すブロック図である。図9において、図1と同様の構成要素には同じ番号を付している。図9は実施例1の図1に対して、主画面特定部11が追加されており、また比較部9に電源オンの検出情報が入力されるようになっている。すなわち、本実施例での番組名の比較は電源投入時のタイミングで実施される。
本実施例の表示部6に出力される映像の例を図10に示す。
実施例1では表示面101に表示される各映像のサイズは全て同じにしていたが、本実施例では、各映像の表示領域の表示位置および表示サイズもそれぞれ異ならせることができるようになっている。図10の例では、表示領域102の表示面上の座標は上端が16
0、左端が0であり、表示領域103の座標は上端が590、左端が1350である。また、スピーカ(図示していない)からは表示領域102に表示されている映像に対応する音声が出力されている。図10では、出力されている音声に対応する映像が表示されている表示領域に音符を付してある。
図9の主画面特定部11は、映像合成部5で合成し表示されている映像の表示領域のうち主画面となる表示領域を特定し、記憶部7は主画面に対応する映像信号を特定するための識別番号を記憶する。主画面特定部11は、出力されている音声に対応した表示領域を主画面とする。図10の例では、表示領域102が主画面である。
図11は記憶部7に記憶される表示領域情報の例である。図11の情報は図10の映像の例に対応している。実施例1の図3の表示領域情報との違いは、識別番号に対応した映像が表示されている表示領域の「上位置」、「左位置」、「サイズ」が追加されている点である。また、主画面の識別番号も記憶される。これらの情報は、実施例1の場合に加え、表示領域のサイズや位置の変更時にも書き換えられる。
図11の例では、映像合成部5は、識別番号1および識別番号2に対応するチューナ部1およびチューナ部2の出力を選択して、位置とサイズの情報に従って合成する。
再び説明を図9に戻して説明を続ける。本実施例では、電源オンの検出情報を受け取ったとき、比較部9は記憶部7に記憶されている番組名情報と、番組情報取得部8から出力された現在の取得番組名情報を比較し、結果を記憶制御部10に出力する。そして、記憶制御部10は、比較部9による比較の結果、映像の番組名が1つでも異なっていた場合、表示面上に1画面で表示されるように表示領域情報を変更する。
以上のように構成された画像処理装置の動作手順をフローチャートを用いて説明する。ただし、電源がオンとなってから、比較部9での比較とその結果を受けた処理の手順までは図5と同じであるため説明を省略する。ただし、図5のステップS6においては、主画面に対応する映像(番組)が1画面表示されるように、表示領域情報の更新が行われる。なお主画面に対応する映像(番組)が終了している場合には、その映像(番組)と同じ入
力部に現在入力されている映像(典型的には同じチャンネルの番組)が1画面表示される。
図12はステップS6の次の動作以降を説明するフローチャートである。図12において、ステップS8およびステップS9までの動作は、図7と同じであるため、その後の動作のみを説明する。
画面に関する情報の変更に対する処理の後、ユーザ操作などにより主画面変更の要求があるかを調べる(ステップS11)。
主画面の変更指示があった場合は、主画面特定部11において主画面を特定し、記憶部7に記憶する(ステップS12)。主画面の変更指示がなかった場合は表示領域情報は変更しない。
そして、電源オフの指示があるかどうかを判定し(ステップS13)、電源オフの指示がなければステップS7に戻り処理を続け、電源オフの指示があった場合はメイン電源をオフにして待機状態となる。
本実施例の画像処理装置での画面の変化を図10および図13A〜図13Cを用いて説明する。
図10は前述のとおり、2画面表示で放送を視聴している状態である。図13Aは、図10の状態で電源をオフして、30分後に電源をオンしたときに、サッカー中継と野球中継が共に継続して放送されていた場合の表示画面例である。この場合は、電源オン時には最初から表示領域102と表示領域103の2画面で表示される。したがって、電源をオフする前と同じ内容の放送が継続している場合には、多画面の視聴を継続することができ、ユーザが多画面表示の指示をするような操作が不要となり、利便性が向上する。
電源をオンにしたとき、サッカー中継は継続して放送されているが野球中継が終了していた場合、図13Bのように表示面101には主画面である表示領域102のサッカー中継の映像が1画面で表示される。
また、電源をオンしたとき、野球中継は継続して放送されているがサッカー中継が終了していた場合、図13Cのように表示面101にはサッカー中継終了後の放送映像105が表示される。電源をオンしたとき、サッカー中継か野球中継のどちらか一方が終了していた場合は、2画面視聴する必要がなくなるが、本実施例によれば自動的に1画面表示にすることができ、ユーザが1画面表示の指示をするような操作が不要となり、利便性が向上する。
なお、本実施例では、表示領域情報中の番組名情報と取得番組名情報を比較部9で比較した結果、1つ以上の番組名情報が異なっていた場合に主画面のみの1画面表示を行うが、全ての番組名情報が異なっている場合にのみ1画面表示を行うようにしても良い。また、主画面の番組名情報が異なっていた場合や副画面の番組名情報が異なっていた場合のみ1画面表示を行うようにしても良い。
また、主画面特定部11にて主画面と判定する条件として、出力されている音声に対応した表示領域を主画面とするようにしているが、左上の表示領域や最も表示サイズの大きい表示領域を主画面とするなど、他の方法で主画面を特定しても良い。
[実施例3]
図14は本発明の実施例3に係る画像処理装置の構成を表すブロック図である。
図14は、実施例2の図9と比べて、比較部9の比較結果が主画面特定部11に入力されている点が異なる。
本実施例においては、表示領域情報中の番組名情報と取得番組名情報を比較部9で比較した結果、主画面の番組名情報が異なっているが副画面の番組名情報が同じである場合、主画面特定部11がその副画面を主画面に変更し、1画面表示を行うようにする。
このような動作手順について図15のフローチャートを用いて説明する。図15は電源がオンとなってから表示領域の情報を設定するまでの手順を示しており、表示領域の情報を元に映像を合成する処理以降の手順については、図12と同様である。また、図15では、番組情報取得部8が番組名情報を取得する(ステップS4)までの手順は図5と同じである。
放送されている番組の番組名情報を取得後、比較部9は、まず表示領域情報中の主画面の番組名情報と、対応する取得番組名情報を比較する(ステップS14)。番組名情報が異なっていた場合、比較部9は、さらに副画面について番組名情報を比較する(ステップS15)。副画面の番組名情報が同じであった場合、主画面特定部11は、その画面を主画面として特定し、記憶部7に記憶する(ステップS16)。そして、記憶制御部10は
主画面の映像信号が表示面上に1画面で表示されるように表示領域情報を変更する(ステップS17)。ステップS15において副画面の番組名情報が異なっていた場合も1画面表示を行うためステップS17を実行する。
ステップS14で主画面の番組名情報が同じであった場合、比較部9は、さらに副画面について番組名情報を比較する。副画面の番組名情報が異なっていた場合ステップS17を実行する。副画面の番組名情報が同じであった場合は記憶部7の情報は変更せず、図12の処理に移る。すなわち、主画面の番組名情報も副画面の番組情報も変更がない場合には、多画面表示モードが維持される。
ここで、ステップS16とステップS17での記憶部7の情報の推移を、図16A、図16Bを用いて説明する。
図16Aは、電源をオフする直前の記憶部7に記憶された表示領域情報である。識別番号1に対応する表示領域でチャンネル2を視聴しており、番組名はサッカー中継である。また、識別番号2に対応する表示領域ではチャンネル5を視聴しており、番組名は野球中継である。このとき主画面は識別番号1に設定されている。
電源オフとした後、再び電源をオンした際、チャンネル2が次の番組に移行しており番組名が異なっていた場合の例が図16Bである。図16Bでは、主画面が識別番号2に設定され、識別番号2に対応する表示領域の位置、サイズ情報が書き換えられている。また、識別番号が1であった部分が0に書き換えられている。この情報を元に映像合成部5が映像を合成することで、電源オフ時に副画面であった映像が主画面となり1画面で表示される。
このときの表示面の状態を図17A、図17Bに示す。図17Aは電源オフ前の表示状態であり、表示面101上の表示領域102に主画面であるサッカー中継が、表示領域103に副画面である野球中継が表示されている。電源オン後、サッカー中継が終了しており、野球中継が継続されていた場合、図17Bのように表示領域103の野球中継が1画面で表示される。
以上のように本実施例3では、主画面の番組名が電源オフ時と電源オン時で異なった場合でも、副画面の番組名情報が同じであれば、電源オフ時に視聴していた番組を継続して視聴できるという効果がある。
[実施例4]
図18は本発明の実施例4に係る画像処理装置の構成を表すブロック図である。本実施例の装置は、実施例2の図9と比べて、検索部12が追加されている。
本実施例における番組情報取得部8では番組のジャンル情報を取得し(取得ジャンル情報)、記憶部7には実施例1の番組名の代わりにジャンル情報を記憶する。比較部9ではジャンル情報を用いて電源オフ時と電源オン時の差を比較する。
本実施例の動作手順についてフローチャートを用いて説明する。図19は電源がオンとなってから表示領域の情報を設定するまでの手順を示しており、表示領域の情報を元に映像を合成する処理以降の手順については、図12と同様である。また、図19では、チューナ部1〜4が映像・音声信号と番組情報を抽出する(ステップS3)までの手順は図5と同じである。
抽出された番組情報から、番組情報取得部8は番組のジャンル情報を取得する(ステッ
プS19)。比較部9は各表示領域について、記憶部7に記憶された表示領域情報のジャンル情報と取得ジャンル情報を比較し(ステップS20)、ジャンル情報が異なれば、検索部12が他のチャンネルの番組情報からジャンル情報を取得する(ステップS21)。他のチャンネルの情報の入手方法は、空いているチューナがある場合はそれを用いて取得しても良いし、EPG(Electronic Program Guide)などの番組情報を蓄積してあればそれを用いても良い。
さらに検索部12は同じジャンルの番組があるかどうかを検索する(ステップS22)。同じジャンルの番組があれば、検索部12は、その番組が放送されているチャンネル番号を取得し、対象となる表示領域に対応するチャンネルを、このチャンネルに変更する(ステップS23)。同時に記憶制御部10が表示領域情報のチャンネル番号およびジャンル情報を書換え(ステップS24)、図12に処理を移す。
ステップS22の検索の結果、同じジャンルの番組がなかった場合、記憶制御部10は表示面上に主画面が1画面で表示されるように表示領域情報を変更し(ステップS25)、図12に処理を移す。
ここで、ステップS22からステップS24までの記憶部7の情報の推移を、図20A、図20Bを用いて説明する。
図20Aは、電源をオフする直前の記憶部7に記憶された表示領域情報である。識別番号1に対応する表示領域でチャンネル2を視聴しており、ジャンルはスポーツのサッカーである。識別番号2に対応する表示領域ではチャンネル5を視聴しており、ジャンルはスポーツの野球である。
ステップS24で表示領域情報を書き換えた後の記憶部7に記憶された情報が図20Bである。図20Bでは、電源オフ時と同じジャンルが別のチャンネルで見つかった場合の例であり、識別番号1に対するチャンネル番号が8に変更されているが、ジャンルは同じままである。
以上のように、本実施例4によれば、電源オフ時に視聴していた番組が終了していた場合でも、他のチャンネルで同じジャンルの番組が放送されていれば、その番組を視聴することができるようになる。
図1は実施例1の画像処理装置の構成を表すブロック図である。 図2は実施例1の多画面表示の表示例である。 図3は実施例1の記憶部7の情報の例である。 図4は実施例1の記憶部7の変更後の情報の例である。 図5は実施例1の動作の一部を説明するフローチャートである。 図6は実施例1の初期設定の動作を説明するフローチャートである。 図7は実施例1の動作の一部を説明するフローチャートである。 図8A〜図8Cは実施例1の画面の変化例である。 図9は実施例2の画像処理装置の構成を表すブロック図である。 図10は実施例2の多画面表示の表示例である。 図11は実施例2の記憶部7に記憶される情報の例である。 図12は実施例2の動作の一部を説明するフローチャートである。 図13A〜図13Cは実施例2の画面の変化例である。 図14は実施例3の画像処理装置の構成を表すブロック図である。 図15は実施例3の動作の一部を説明するフローチャートである。 図16A、図16Bは実施例3の記憶部7の情報の例である。 図17A、図17Bは実施例3の画面の変化例である。 図18は実施例4の画像処理装置の構成を表すブロック図である。 図19は実施例4の動作の一部を説明するフローチャートである。 図20A、図20Bは実施例4の記憶部7の情報の例である。 図21は従来の多画面表示の例である。 図22A、図22Bは従来の多画面表示可能なテレビでの表示画面の変化例である。 図23は従来の多画面表示の例である。 図24A、図24Bは従来の表示画面の変化例である。
符号の説明
1〜4 チューナ部
5 映像合成部
6 表示部
7 記憶部
8 番組情報取得部
9 比較部
10 記憶制御部
11 主画面特定部
12 検索部
101 表示面
102〜105 表示領域

Claims (10)

  1. 映像信号が入力される複数の入力部を備えており、1つの表示面に2以上の映像信号を同時に表示するための信号を出力する多画面表示モードと前記表示面に1つの映像信号のみを表示するための信号を出力する1画面表示モードとを有する画像処理装置であって、
    多画面表示モードの信号を構成する2以上の映像信号のそれぞれについて、映像信号の内容を示す映像内容情報を記憶する記憶手段と、
    各入力部に入力されている映像信号の映像内容情報を取得する映像内容情報取得手段と、
    前記記憶手段に記憶されている映像信号の映像内容情報と、前記映像内容情報取得手段によって取得された現在入力されている映像信号の映像内容情報とを比較する比較手段と、
    前記比較手段の比較結果に応じて、表示モードの切替および出力する映像信号の選択を制御する制御手段と、
    を備えることを特徴とする画像処理装置。
  2. 映像内容情報の一致する映像信号が1つ以上存在する場合に、前記制御手段は、映像内容情報の一致する映像信号のみが1画面表示モードまたは多画面表示モードで表示されるように制御することを特徴とする請求項1に記載の画像処理装置。
  3. 映像内容情報の異なる映像信号が少なくとも1つ存在する場合に、前記制御手段は、1画面表示モードに切り替える制御を行うことを特徴とする請求項1に記載の画像処理装置。
  4. 多画面表示は1つの主画面と1つ以上の副画面とから構成され、
    前記記憶手段は多画面表示モードの信号を構成する2以上の映像信号のうち主画面に対応する映像信号を特定するための識別情報を記憶しており、
    映像内容情報の異なる映像信号が少なくとも1つ存在する場合に、前記制御手段は、前記主画面に対応する映像信号、または前記主画面に対応する映像信号と同じ入力部に入力されている映像信号が1画面表示モードで表示されるように制御することを特徴とする請求項1に記載の画像処理装置。
  5. 多画面表示は1つの主画面と1つ以上の副画面とから構成され、
    前記記憶手段は多画面表示モードの信号を構成する2以上の映像信号のうち主画面に対応する映像信号を特定するための識別情報を記憶しており、
    前記制御手段は、前記主画面に対応する映像信号の映像内容情報が一致し、且つ、前記副画面に対応する映像信号の映像内容情報が一致する場合に、多画面表示モードを維持し、それ以外の場合に1画面表示モードに切り替える制御を行うことを特徴とする請求項1に記載の画像処理装置。
  6. 前記制御手段は、
    前記主画面に対応する映像信号の映像内容情報が一致し、且つ、前記副画面に対応する映像信号の映像内容情報が異なる場合に、前記主画面に対応する映像信号が1画面表示モードで表示され、
    前記主画面に対応する映像信号の映像内容情報が異なり、且つ、前記副画面に対応する映像信号の映像内容情報が一致する場合に、前記副画面に対応する映像信号が1画面表示モードで表示されるように制御することを特徴とする請求項5に記載の画像処理装置。
  7. 映像内容情報の異なる映像信号が存在する場合に、前記制御手段は、いずれかの入力部に入力される他の映像信号の中から、映像内容情報が前記記憶手段に記憶されているもの
    と一致する映像信号を検索し、検索された映像信号が前記映像内容情報の異なる映像信号の代わりに表示されるように制御することを特徴とする請求項1に記載の画像処理装置。
  8. 前記映像内容情報は、前記映像信号のタイトルまたはジャンルであることを特徴とする請求項1〜7のうちいずれか1項に記載の画像処理装置。
  9. 画像処理装置の電源投入時に、前記比較手段による映像内容情報の比較と、前記制御手段による表示モードおよび出力する映像信号の制御とが行われることを特徴とする請求項1〜8のうちいずれか1項に記載の画像処理装置。
  10. 映像信号が入力される複数の入力部を備えており、1つの表示面に2以上の映像信号を同時に表示するための信号を出力する多画面表示モードと前記表示面に1つの映像信号のみを表示するための信号を出力する1画面表示モードとを有する画像処理装置の制御方法であって、
    多画面表示モードの信号を構成する2以上の映像信号のそれぞれについて、映像信号の内容を示す映像内容情報を記憶手段に記憶する記憶工程と、
    各入力部に入力されている映像信号の映像内容情報を取得する取得工程と、
    前記記憶手段に記憶されている映像信号の映像内容情報と、前記取得工程によって取得された現在入力されている映像信号の映像内容情報とを比較する比較工程と、
    前記比較工程の比較結果に応じて、表示モードの切替および出力する映像信号の選択を制御する制御工程と、
    を含むことを特徴とする画像処理装置の制御方法。
JP2008200588A 2008-08-04 2008-08-04 画像処理装置及びその制御方法 Expired - Fee Related JP5288928B2 (ja)

Priority Applications (3)

Application Number Priority Date Filing Date Title
JP2008200588A JP5288928B2 (ja) 2008-08-04 2008-08-04 画像処理装置及びその制御方法
US12/512,447 US8248534B2 (en) 2008-08-04 2009-07-30 Image processing apparatus and control method therefor
US13/547,423 US8576339B2 (en) 2008-08-04 2012-07-12 Image processing apparatus and control method therefor

Applications Claiming Priority (1)

Application Number Priority Date Filing Date Title
JP2008200588A JP5288928B2 (ja) 2008-08-04 2008-08-04 画像処理装置及びその制御方法

Publications (3)

Publication Number Publication Date
JP2010039101A true JP2010039101A (ja) 2010-02-18
JP2010039101A5 JP2010039101A5 (ja) 2011-09-15
JP5288928B2 JP5288928B2 (ja) 2013-09-11

Family

ID=41607959

Family Applications (1)

Application Number Title Priority Date Filing Date
JP2008200588A Expired - Fee Related JP5288928B2 (ja) 2008-08-04 2008-08-04 画像処理装置及びその制御方法

Country Status (2)

Country Link
US (2) US8248534B2 (ja)
JP (1) JP5288928B2 (ja)

Cited By (1)

* Cited by examiner, † Cited by third party
Publication number Priority date Publication date Assignee Title
JP2014010263A (ja) * 2012-06-29 2014-01-20 Mitsubishi Electric Corp マルチディスプレイシステム

Families Citing this family (11)

* Cited by examiner, † Cited by third party
Publication number Priority date Publication date Assignee Title
JP4737270B2 (ja) * 2008-10-31 2011-07-27 富士ゼロックス株式会社 画像処理装置及びプログラム
US9693108B2 (en) * 2012-06-12 2017-06-27 Electronics And Telecommunications Research Institute Method and system for displaying user selectable picture
KR102055614B1 (ko) 2012-06-12 2019-12-16 한국전자통신연구원 사용자 선택 영상을 표시하는 방법 및 시스템
JP5706494B2 (ja) * 2013-09-20 2015-04-22 ヤフー株式会社 配信装置、端末装置、配信方法及び配信プログラム
CN105306998A (zh) * 2014-07-16 2016-02-03 冠捷投资有限公司 显示装置的操作系统
JP6130335B2 (ja) * 2014-07-18 2017-05-17 ヤフー株式会社 情報表示プログラム、配信装置、情報表示方法および情報表示装置
JP6095614B2 (ja) * 2014-07-18 2017-03-15 ヤフー株式会社 情報表示プログラム、配信装置、情報表示方法および情報表示装置
KR102266901B1 (ko) 2014-11-10 2021-06-21 삼성전자주식회사 디스플레이 장치 및 디스플레이 방법
CN106534879B (zh) * 2016-11-08 2020-02-07 天脉聚源(北京)传媒科技有限公司 一种基于关注度的直播切换方法及系统
US11612806B2 (en) * 2017-11-15 2023-03-28 Stern Pinball, Inc. Multi-mode amusement game device
US20190212877A1 (en) * 2018-01-10 2019-07-11 Microsoft Technology Licensing, Llc Selectively displayable multiple display mode for a gui

Citations (3)

* Cited by examiner, † Cited by third party
Publication number Priority date Publication date Assignee Title
JPH11136595A (ja) * 1997-10-28 1999-05-21 Victor Co Of Japan Ltd マルチ画面表示装置
JP2003009016A (ja) * 2001-06-19 2003-01-10 Canon Inc 画像表示装置、方法、制御プログラム、及びコンピュータ読み取り可能な記憶媒体
JP2005210499A (ja) * 2004-01-23 2005-08-04 Fujitsu Ten Ltd 番組記録装置

Family Cites Families (2)

* Cited by examiner, † Cited by third party
Publication number Priority date Publication date Assignee Title
JPH08237563A (ja) * 1995-02-28 1996-09-13 Toshiba Corp テレビジョン受像機
JP4011949B2 (ja) * 2002-04-01 2007-11-21 キヤノン株式会社 マルチ画面合成装置及びデジタルテレビ受信装置

Patent Citations (3)

* Cited by examiner, † Cited by third party
Publication number Priority date Publication date Assignee Title
JPH11136595A (ja) * 1997-10-28 1999-05-21 Victor Co Of Japan Ltd マルチ画面表示装置
JP2003009016A (ja) * 2001-06-19 2003-01-10 Canon Inc 画像表示装置、方法、制御プログラム、及びコンピュータ読み取り可能な記憶媒体
JP2005210499A (ja) * 2004-01-23 2005-08-04 Fujitsu Ten Ltd 番組記録装置

Cited By (1)

* Cited by examiner, † Cited by third party
Publication number Priority date Publication date Assignee Title
JP2014010263A (ja) * 2012-06-29 2014-01-20 Mitsubishi Electric Corp マルチディスプレイシステム

Also Published As

Publication number Publication date
US8576339B2 (en) 2013-11-05
US20120274853A1 (en) 2012-11-01
US20100026894A1 (en) 2010-02-04
US8248534B2 (en) 2012-08-21
JP5288928B2 (ja) 2013-09-11

Similar Documents

Publication Publication Date Title
JP5288928B2 (ja) 画像処理装置及びその制御方法
KR100774168B1 (ko) 타임 쉬프트 기능을 갖는 영상표시 장치 및 그 제어방법
US8229280B2 (en) Method of performing time-shift function and television receiver using the same
US20080163296A1 (en) Broadcast receiving apparatus and method thereof
JP2010093461A (ja) 番組表示装置および番組表示方法
JPH11112899A (ja) ディジタル放送受信装置
KR100641927B1 (ko) 디지털 방송 수신기의 방송채널 탐색 제어방법
KR100597270B1 (ko) 케이블카드 펌웨어 업그레이드시 영상재생이 가능한pip 영상재생장치 및 이를 이용한 영생재생 방법
JP2006287855A (ja) 表示装置、表示方法、表示用プログラム、及び記録媒体
KR100682759B1 (ko) 다 채널 영상 합성 방송수신기 및 그 합성 방법
KR100686134B1 (ko) 티브이의 광고 프로그램 스킵 장치 및 방법
KR100722034B1 (ko) 영상 표시 장치의 자동 채널 서치시 채널 저장 방법
KR100804950B1 (ko) Dmb 방송 채널의 멀티스캔 방법
US20070277206A1 (en) Reproduction control device and method for image display apparatus
KR100820715B1 (ko) 텔레비전의 채널 편집 방법
JP2004248140A (ja) 二画面表示装置及びその方法
JP4611836B2 (ja) 選局制御装置
JP2007274608A (ja) 映像表示装置
JP2009253545A (ja) 番組録画装置および番組録画方法
JP2004140722A (ja) テレビジョン信号受信装置及びテレビジョン信号受信方法
KR20050022897A (ko) 티브이의 시청 채널 제어장치 및 그 방법
KR20070062775A (ko) 영상처리장치 및 그 제어방법
KR20060047053A (ko) 방송 채널의 자동 검색 제어 장치 및 그 방법
KR20060009220A (ko) 자동채널 설정기능을 구비한 텔레비전
JP2010028251A (ja) データ受信装置

Legal Events

Date Code Title Description
A521 Written amendment

Free format text: JAPANESE INTERMEDIATE CODE: A523

Effective date: 20110802

A621 Written request for application examination

Free format text: JAPANESE INTERMEDIATE CODE: A621

Effective date: 20110802

A977 Report on retrieval

Free format text: JAPANESE INTERMEDIATE CODE: A971007

Effective date: 20121126

A131 Notification of reasons for refusal

Free format text: JAPANESE INTERMEDIATE CODE: A131

Effective date: 20130108

A521 Written amendment

Free format text: JAPANESE INTERMEDIATE CODE: A523

Effective date: 20130304

TRDD Decision of grant or rejection written
A01 Written decision to grant a patent or to grant a registration (utility model)

Free format text: JAPANESE INTERMEDIATE CODE: A01

Effective date: 20130507

A61 First payment of annual fees (during grant procedure)

Free format text: JAPANESE INTERMEDIATE CODE: A61

Effective date: 20130604

R151 Written notification of patent or utility model registration

Ref document number: 5288928

Country of ref document: JP

Free format text: JAPANESE INTERMEDIATE CODE: R151

LAPS Cancellation because of no payment of annual fees