JP2010036117A - 水中油型乳化組成物の製造方法 - Google Patents
水中油型乳化組成物の製造方法 Download PDFInfo
- Publication number
- JP2010036117A JP2010036117A JP2008202285A JP2008202285A JP2010036117A JP 2010036117 A JP2010036117 A JP 2010036117A JP 2008202285 A JP2008202285 A JP 2008202285A JP 2008202285 A JP2008202285 A JP 2008202285A JP 2010036117 A JP2010036117 A JP 2010036117A
- Authority
- JP
- Japan
- Prior art keywords
- injection nozzle
- collision
- oil
- injection
- nozzle
- Prior art date
- Legal status (The legal status is an assumption and is not a legal conclusion. Google has not performed a legal analysis and makes no representation as to the accuracy of the status listed.)
- Granted
Links
Images
Landscapes
- Cosmetics (AREA)
- Colloid Chemistry (AREA)
Abstract
【解決手段】(A)界面活性剤、(B)25℃で液状の油性成分及び(C)水を含有する混合物を高圧流体となし、衝突用チャンバ内に回転自在に支承された球状の硬質体に噴射ノズルから噴射される高圧噴流を衝突させる衝突装置により乳化させる水中油型乳化組成物の製造方法であって、
前記硬質体に向けて流体を噴射して硬質体表面上の互いに異なる位置へ噴射流を衝突させる第1の噴射ノズルと第2の噴射ノズルとを備え、
第1の噴射ノズルの噴射軸線と第2の噴射ノズルの噴射軸線とが、それぞれ前記硬質体の球心に対して偏心した位置に指向されている衝突装置を用いて乳化させる水中油型乳化組成物の製造方法。
【選択図】図1
Description
前記硬質体に向けて流体を噴射して硬質体表面上の互いに異なる位置へ噴射流を衝突させる第1の噴射ノズルと第2の噴射ノズルとを備え、
第1の噴射ノズルの噴射軸線と第2の噴射ノズルの噴射軸線とが、それぞれ前記硬質体の球心に対して偏心した位置に指向されている衝突装置を用いて乳化させる水中油型乳化組成物の製造方法を提供するものである。
本発明で用いる衝突装置は、球状の硬質体に高圧噴流を衝突させるものであって、それぞれ噴射軸線が球状硬質体の球心に対して偏心した位置に指向され、硬質体表面上の互いに異なる位置へ噴流を衝突させる第1の噴射ノズルと第2の噴射ノズルとを備えたものである。このため、硬質体には、第1の噴射ノズルからの噴流が衝突する第1の衝突点と第2の噴射ノズルからの噴流が衝突する第2の衝突点とのそれぞれで衝突力の分力による回転力が生じ、噴流が衝突している間は、この互いに異なる二方向への回転が相乗的に作用して被衝突領域は硬質体のほぼ全表面に亘る。従って、長時間運転においても特定箇所に衝突が集中して著しい損傷を生じることもなく、従来より硬質体の長寿命化が図れ、実際の微細エマルションの製造工程に応じた長時間運転においても良好な連続衝突処理状態を維持でき、常に同品質の微細エマルションを製造することができる。
前記硬質体に向けて流体を噴射して硬質体表面上の互いに異なる位置へ噴射流を衝突させる第1の噴射ノズルと第2の噴射ノズルとを備え、
第1の噴射ノズルの噴射軸線と第2の噴射ノズルの噴射軸線とが、それぞれ前記硬質体の球心に対して偏心した位置に指向されている衝突装置である。
本発明で製造される水中油型乳化組成物は、特に制限されず、多量の油性成分を少量の界面活性剤で乳化する場合でも、安定な乳化組成物を得ることができる。
本発明により得られる水中油型乳化組成物は、(A)界面活性剤、(B)25℃で液状の油性成分及び(C)水を含有するものである。
より具体的には、ホホバ油等の植物油;液状ラノリン等の動物油;流動パラフィン、スクワラン等の炭化水素油;脂肪酸エステル、多価アルコール脂肪酸エステル、グリセリン誘導体、アミノ酸誘導体等のエステル油;ジメチルポリシロキサン、ジメチルシクロポリシロキサン、メチルフェニルポリシロキサン、メチルハイドロジェンポリシロキサン、高級アルコール変性オルガノポリシロキサン等のシリコーン油;フルオロポリエーテル、パーフルオロアルキルエーテルシリコーン等のフッ素油などが挙げられる。
また、その他の水性基剤、例えばエタノールやプロパノール等の炭素数1〜4の低級アルコールなどを含有することもできる。
かかる両親媒性物質として、具体的には、例えば、ミリスチン酸、ステアリン酸等の高級脂肪酸;セタノール、ステアリルアルコール、ベヘニルアルコール等の高級アルコール;スフィンゴシン類;セラミド類などが挙げられる。セラミド類としては、例えばRobson K.J. et al., J. Lipid Res.,35,2060(1994)や、Wertz P.W. et al., J. Lipid Res.,24,759(1983)等に記載されているタイプI〜VIIのセラミドや、特開昭62-228048号公報記載のセラミド類似化合物などが含まれ、前者の市販品としては、セラミドIII、セラミドIIIB、セラミドIIIA、セラミドIV、フィトセラミドI(以上、デグサ社)、セラミドII(セダーマ社)、セラミドTIC−001(高砂香料社)等が挙げられる。
かかる多価アルコールとしては、例えば、グリセリン、1,3−ブチレングリコール、プロピレングリコール、ジプロピレングリコール、ジグリセリン、イソプロピレングリコール、1,2−ペンタンジオール、キシリトール、ソルビトール、ポリエチレングリコール等が挙げられる。
また、(D)両親媒性物質と(E)多価アルコールを組み合わせて用いることもできる。
また、高圧乳化により得られた水中油型乳化組成物を、水等の水性成分、またはそれらに水溶性の有効成分や添加剤を加えたもので希釈して、例えば化粧水や美容液等の化粧料として用いることができる。本発明により得られる水中油型乳化組成物は、さらに希釈によって水等の水性成分が添加されても、高圧乳化により得られた乳化状態が維持され、油滴の平均粒子径が、0.01〜0.5μmであって、透過率が40〜90%の化粧料を得ることが可能である。このような化粧料は、特に使用感に優れ、乳化による油性感が少なく、さっぱりした感触を与えるものである。
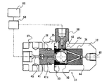
本発明で用いる衝突装置の第1例として、チャンバ本体に第1と第2の噴射ノズルの双方が形成されている一部材を組み込んだ場合の衝突装置(衝突装置1)を示す。図1は、衝突装置1の主要部の概略断面図である。
本発明で用いる衝突装置の第2例として、チャンバ本体に衝突処理用の第1の噴射ノズルと回転用の第2の噴射ノズルがそれぞれ形成された別体の二部材を組み込んだ場合の衝突装置(衝突装置2)を示す。図2は衝突装置2の主要部の概略断面図である。
流動パラフィン250kg、セチル硫酸ナトリウム15kg、セラミドII30kg、グリセリン200kg及び精製水505kgを混合し、80℃に加熱溶解し、ホモジナイザーで撹拌して粗乳化液とした。この粗乳化液を、図3に示す衝突装置にて、処理圧180000kPa、背圧10500kPaにて処理し、室温まで冷却して、水中油型乳化組成物を得た。この処理を7回繰り返し行い、各回の間に第2噴射ノズルから5秒間処理液を通液させた。この水中油型乳化組成物を計10回製造した。1回目、5回目、10回目に得られた水中油型乳化組成物を各々水で5倍に希釈し、粒度分布測定装置(LB−500、堀場製作所社製)を用いて、平均粒子径を測定した。その後、各希釈組成物の保存安定性を観察した。なお、保存安定性は、各乳化組成物を30℃、40℃、50℃で3ヶ月保存した後の外観を、目視により観察し、変化がない場合を「○」、変化がある場合(透明性低下)を「×」として示した。結果を表1に示す。
図3に示す衝突装置にて高圧乳化処理毎の、第2ノズルからの通液を行わずに、実施例1と同じ組成物を7回処理して水中油型乳化組成物を得た。この水中油型乳化組成物を計10回製造した。1回目、5回目、10回目に得られた水中油型乳化組成物を各々水で5倍に希釈し、粒度分布測定装置(LB−500、堀場製作所社製)を用いて、平均粒子径を測定した。その後、各希釈組成物の保存安定性を、実施例1と同様にして観察した。結果を表2に示す。
N−ミリストイル−N−メチルタウリンナトリウム25kg、スクワラン100kg、ジメチルポリシロキサン(6cs)200kg、セラミドIII20kg、グリセリン450kgに、精製水205kgを加え、ホモジナイザーで撹拌して粗乳化液とした。この粗乳化液を、図3に示す衝突装置にて実施例1と同様な操作手順で、処理圧180000kPa、背圧10500kPaにて、7回繰返し処理し、水中油型乳化組成物を得た。この水中油型乳化組成物を10回製造した。
10回目に製造した水中油型乳化組成物25Lに、4%アスコルビン酸マグネシウム水溶液75Lを混合し、外観が透明な美容液を得た。この美容液の平均粒子径は0.051μmであった。この美容液の使用感は油性感が少なく、さっぱりした感触であった。この美容液を30℃、40℃、50℃の環境下で3ヶ月保存した結果、いずれも外観に変化は認められなかった。
2:後方チャンバハウジング
3:ボールホルダー
4:後方支持部材
5:ノズル部材
6:前方チャンバハウジング
10:球状硬質体
11:第1の噴射ノズル(衝突処理用)
11x:第1噴射軸線
12:第2の噴射ノズル(衝突処理用)
12x:第2噴射軸線
13,14:原料液導入流路
15:導出流路
16:排出口
20:流体供給装置
31:チャンバ本体
32:後方チャンバハウジング
33:ボールホルダー
34:後方支持部材
35:中間チャンバハウジング
36:第1ノズル部材
37:前方チャンバハウジング
38:第2ノズル部材
40:球状硬質体
41:第1の噴射ノズル
41x:第1噴射軸線
42:第2の噴射ノズル
42x:第2噴射軸線
43:原料液導入流路
44:導出流路
45:排出口
50:流体供給装置
60:制御装置
Claims (9)
- (A)界面活性剤、(B)25℃で液状の油性成分及び(C)水を含有する混合物を高圧流体となし、衝突用チャンバ内に回転自在に支承された球状の硬質体に噴射ノズルから噴射される高圧噴流を衝突させる衝突装置により乳化させる水中油型乳化組成物の製造方法であって、
前記硬質体に向けて流体を噴射して硬質体表面上の互いに異なる位置へ噴射流を衝突させる第1の噴射ノズルと第2の噴射ノズルとを備え、
第1の噴射ノズルの噴射軸線と第2の噴射ノズルの噴射軸線とが、それぞれ前記硬質体の球心に対して偏心した位置に指向されている衝突装置を用いて乳化させる水中油型乳化組成物の製造方法。 - 衝突装置が、前記第1の噴射ノズルと第2の噴射ノズルへの流体の加圧供給を行う流体供給手段と、
該流体供給手段による第1の噴射ノズルと第2の噴射ノズルへの流体の供給と停止をそれぞれ任意に制御すると共に、各噴射ノズルへ供給される流体に加える圧力をそれぞれ変更可能に制御する制御手段と、
を備えている請求項1記載の製造方法。 - 衝突装置が、前記第2の噴射ノズルの噴射軸線が、前記第1の噴射ノズルの噴射軸線に対して直交する平面上にあるものである請求項2記載の製造方法。
- 水中油型乳化組成物が、油滴の平均粒子径が0.01〜0.5μmである請求項1〜3のいずれか1項記載の製造方法。
- 水中油型乳化組成物が、(B)成分/(A)成分の質量割合が11倍以上である請求項1〜4のいずれか1項記載の製造方法。
- 水中油型乳化組成物が、更に(D)両親媒性物質を含有する請求項1〜5のいずれか1項記載の製造方法。
- 水中油型乳化組成物が、更に(E)多価アルコールを含有する請求項1〜6のいずれか1項記載の製造方法。
- 請求項1〜7のいずれか1項記載の製造方法により得られる水中油型乳化組成物。
- 請求項1〜7のいずれか1項記載の製造方法により得られる水中油型乳化化粧料。
Priority Applications (1)
| Application Number | Priority Date | Filing Date | Title |
|---|---|---|---|
| JP2008202285A JP5202171B2 (ja) | 2008-08-05 | 2008-08-05 | 水中油型乳化組成物の製造方法 |
Applications Claiming Priority (1)
| Application Number | Priority Date | Filing Date | Title |
|---|---|---|---|
| JP2008202285A JP5202171B2 (ja) | 2008-08-05 | 2008-08-05 | 水中油型乳化組成物の製造方法 |
Publications (2)
| Publication Number | Publication Date |
|---|---|
| JP2010036117A true JP2010036117A (ja) | 2010-02-18 |
| JP5202171B2 JP5202171B2 (ja) | 2013-06-05 |
Family
ID=42009210
Family Applications (1)
| Application Number | Title | Priority Date | Filing Date |
|---|---|---|---|
| JP2008202285A Expired - Fee Related JP5202171B2 (ja) | 2008-08-05 | 2008-08-05 | 水中油型乳化組成物の製造方法 |
Country Status (1)
| Country | Link |
|---|---|
| JP (1) | JP5202171B2 (ja) |
Cited By (3)
| Publication number | Priority date | Publication date | Assignee | Title |
|---|---|---|---|---|
| KR101466876B1 (ko) * | 2013-03-25 | 2014-12-03 | (주) 디유티코리아 | 혼합유도 공기노즐을 갖는 소량 토출용 믹싱헤드 |
| CN109433078A (zh) * | 2018-11-30 | 2019-03-08 | 南昌大学 | 一种高内相山茶油乳液的制备装置及其制备方法 |
| CN111467987A (zh) * | 2020-04-30 | 2020-07-31 | 上海迈克孚生物科技有限公司 | 一种超大流量金刚石交互容腔均质处理器 |
Citations (4)
| Publication number | Priority date | Publication date | Assignee | Title |
|---|---|---|---|---|
| JPH04271853A (ja) * | 1990-11-27 | 1992-09-28 | Xerox Corp | 流動化ベッドジェットミル |
| JPH11319618A (ja) * | 1998-05-14 | 1999-11-24 | Seiji Kagawa | 固液混合流体の破砕・分散装置 |
| JP2000000448A (ja) * | 1998-06-18 | 2000-01-07 | Sugino Mach Ltd | 流体衝突装置 |
| JP2006341146A (ja) * | 2005-06-07 | 2006-12-21 | Kao Corp | 水中油型乳化組成物の製造方法 |
-
2008
- 2008-08-05 JP JP2008202285A patent/JP5202171B2/ja not_active Expired - Fee Related
Patent Citations (4)
| Publication number | Priority date | Publication date | Assignee | Title |
|---|---|---|---|---|
| JPH04271853A (ja) * | 1990-11-27 | 1992-09-28 | Xerox Corp | 流動化ベッドジェットミル |
| JPH11319618A (ja) * | 1998-05-14 | 1999-11-24 | Seiji Kagawa | 固液混合流体の破砕・分散装置 |
| JP2000000448A (ja) * | 1998-06-18 | 2000-01-07 | Sugino Mach Ltd | 流体衝突装置 |
| JP2006341146A (ja) * | 2005-06-07 | 2006-12-21 | Kao Corp | 水中油型乳化組成物の製造方法 |
Cited By (4)
| Publication number | Priority date | Publication date | Assignee | Title |
|---|---|---|---|---|
| KR101466876B1 (ko) * | 2013-03-25 | 2014-12-03 | (주) 디유티코리아 | 혼합유도 공기노즐을 갖는 소량 토출용 믹싱헤드 |
| CN109433078A (zh) * | 2018-11-30 | 2019-03-08 | 南昌大学 | 一种高内相山茶油乳液的制备装置及其制备方法 |
| CN109433078B (zh) * | 2018-11-30 | 2023-05-02 | 南昌大学 | 一种高内相山茶油乳液的制备装置及其制备方法 |
| CN111467987A (zh) * | 2020-04-30 | 2020-07-31 | 上海迈克孚生物科技有限公司 | 一种超大流量金刚石交互容腔均质处理器 |
Also Published As
| Publication number | Publication date |
|---|---|
| JP5202171B2 (ja) | 2013-06-05 |
Similar Documents
| Publication | Publication Date | Title |
|---|---|---|
| TWI727191B (zh) | 氣溶膠容器及使用其之立體形狀之泡體與芳香之提供方法 | |
| EP1992323B1 (de) | Tensidfreie Schaumformulierungen | |
| JP5117165B2 (ja) | 水中油型乳化組成物の製造方法 | |
| KR101646948B1 (ko) | 세라미드 분산물 및 그 제조방법 | |
| KR101637428B1 (ko) | 세라미드 분산물 및 그 제조 방법 | |
| EP1496852B1 (de) | Sonnenschutzemulsion mit schaumspender | |
| JP6114070B2 (ja) | 発泡性エアゾール組成物 | |
| EP2815737A1 (de) | DMS (Derma Membrane Structure) in Schaum-Cremes | |
| KR20120010226A (ko) | 분산 조성물 및 분산 조성물의 제조방법 | |
| KR101116899B1 (ko) | 안정한 농축형 및 희석형 수중유형 에멀젼 | |
| JP5117105B2 (ja) | 水中油型乳化組成物の製造方法 | |
| JP4996000B2 (ja) | エアゾール製品 | |
| JP2006341146A (ja) | 水中油型乳化組成物の製造方法 | |
| JP5202171B2 (ja) | 水中油型乳化組成物の製造方法 | |
| JP5117106B2 (ja) | 水中油型乳化組成物の製造方法 | |
| EP1609464B1 (de) | Produkte zur Reinigung der Intimregion | |
| CA2794960A1 (en) | Supercritical fluid treatment of high molecular weight biopolymers | |
| JP4058108B2 (ja) | リポソーム分散液の製造方法ならびに製造装置 | |
| JP4116020B2 (ja) | 親水性スクリーニング剤を含む水中油型ファインエマルション | |
| JP2010036116A (ja) | 水中油型乳化組成物の製造方法 | |
| JP2011084490A (ja) | 泡沫状皮膚塗布剤 | |
| JP4163703B2 (ja) | 水中油型ファインエマルション | |
| JP7766879B2 (ja) | 泡沫形成用のエアゾール組成物及びエアゾール製品 | |
| EP1434566A2 (de) | Kosmetische reinigungsschäume | |
| JP2008094808A (ja) | ベシクル組成物およびその製造方法並びにベシクル組成物配合化粧料 |
Legal Events
| Date | Code | Title | Description |
|---|---|---|---|
| A621 | Written request for application examination |
Free format text: JAPANESE INTERMEDIATE CODE: A621 Effective date: 20110624 |
|
| A977 | Report on retrieval |
Free format text: JAPANESE INTERMEDIATE CODE: A971007 Effective date: 20120323 |
|
| A131 | Notification of reasons for refusal |
Free format text: JAPANESE INTERMEDIATE CODE: A131 Effective date: 20120821 |
|
| A521 | Request for written amendment filed |
Free format text: JAPANESE INTERMEDIATE CODE: A523 Effective date: 20121022 |
|
| A131 | Notification of reasons for refusal |
Free format text: JAPANESE INTERMEDIATE CODE: A131 Effective date: 20121113 |
|
| A521 | Request for written amendment filed |
Free format text: JAPANESE INTERMEDIATE CODE: A523 Effective date: 20130110 |
|
| TRDD | Decision of grant or rejection written | ||
| A01 | Written decision to grant a patent or to grant a registration (utility model) |
Free format text: JAPANESE INTERMEDIATE CODE: A01 Effective date: 20130205 |
|
| A61 | First payment of annual fees (during grant procedure) |
Free format text: JAPANESE INTERMEDIATE CODE: A61 Effective date: 20130212 |
|
| R151 | Written notification of patent or utility model registration |
Ref document number: 5202171 Country of ref document: JP Free format text: JAPANESE INTERMEDIATE CODE: R151 |
|
| FPAY | Renewal fee payment (event date is renewal date of database) |
Free format text: PAYMENT UNTIL: 20160222 Year of fee payment: 3 |
|
| R250 | Receipt of annual fees |
Free format text: JAPANESE INTERMEDIATE CODE: R250 |
|
| R250 | Receipt of annual fees |
Free format text: JAPANESE INTERMEDIATE CODE: R250 |
|
| R250 | Receipt of annual fees |
Free format text: JAPANESE INTERMEDIATE CODE: R250 |
|
| R250 | Receipt of annual fees |
Free format text: JAPANESE INTERMEDIATE CODE: R250 |
|
| R250 | Receipt of annual fees |
Free format text: JAPANESE INTERMEDIATE CODE: R250 |
|
| R250 | Receipt of annual fees |
Free format text: JAPANESE INTERMEDIATE CODE: R250 |
|
| R250 | Receipt of annual fees |
Free format text: JAPANESE INTERMEDIATE CODE: R250 |
|
| R250 | Receipt of annual fees |
Free format text: JAPANESE INTERMEDIATE CODE: R250 |
|
| LAPS | Cancellation because of no payment of annual fees |
