JP2010035116A - 光通信ネットワークシステム、中央局装置、端末装置、及び、同期確立・追従方法 - Google Patents
光通信ネットワークシステム、中央局装置、端末装置、及び、同期確立・追従方法 Download PDFInfo
- Publication number
- JP2010035116A JP2010035116A JP2008197802A JP2008197802A JP2010035116A JP 2010035116 A JP2010035116 A JP 2010035116A JP 2008197802 A JP2008197802 A JP 2008197802A JP 2008197802 A JP2008197802 A JP 2008197802A JP 2010035116 A JP2010035116 A JP 2010035116A
- Authority
- JP
- Japan
- Prior art keywords
- signal
- phase
- optical
- phase information
- information signal
- Prior art date
- Legal status (The legal status is an assumption and is not a legal conclusion. Google has not performed a legal analysis and makes no representation as to the accuracy of the status listed.)
- Granted
Links
- 230000003287 optical effect Effects 0.000 title claims description 159
- 238000004891 communication Methods 0.000 title claims description 29
- 238000000034 method Methods 0.000 title claims description 25
- 238000011144 upstream manufacturing Methods 0.000 claims description 77
- 239000013307 optical fiber Substances 0.000 claims description 30
- 230000010355 oscillation Effects 0.000 claims description 11
- 239000000835 fiber Substances 0.000 claims description 5
- 238000000605 extraction Methods 0.000 claims description 4
- 230000007274 generation of a signal involved in cell-cell signaling Effects 0.000 claims description 4
- 238000001914 filtration Methods 0.000 claims 1
- 230000005540 biological transmission Effects 0.000 description 29
- 238000010586 diagram Methods 0.000 description 14
- 238000001228 spectrum Methods 0.000 description 11
- 230000008054 signal transmission Effects 0.000 description 7
- 238000000926 separation method Methods 0.000 description 6
- 230000002457 bidirectional effect Effects 0.000 description 5
- 230000003111 delayed effect Effects 0.000 description 5
- 239000000284 extract Substances 0.000 description 3
- 230000004075 alteration Effects 0.000 description 2
- 230000001934 delay Effects 0.000 description 2
- 230000000694 effects Effects 0.000 description 2
- 238000012544 monitoring process Methods 0.000 description 2
- 239000003415 peat Substances 0.000 description 2
- 230000010287 polarization Effects 0.000 description 2
- 230000003595 spectral effect Effects 0.000 description 2
- 230000006835 compression Effects 0.000 description 1
- 238000007906 compression Methods 0.000 description 1
- 238000010276 construction Methods 0.000 description 1
- 238000006073 displacement reaction Methods 0.000 description 1
- 238000005516 engineering process Methods 0.000 description 1
- 230000010354 integration Effects 0.000 description 1
- 230000002265 prevention Effects 0.000 description 1
- 230000001360 synchronised effect Effects 0.000 description 1
- 230000002194 synthesizing effect Effects 0.000 description 1
Images
Landscapes
- Time-Division Multiplex Systems (AREA)
Abstract
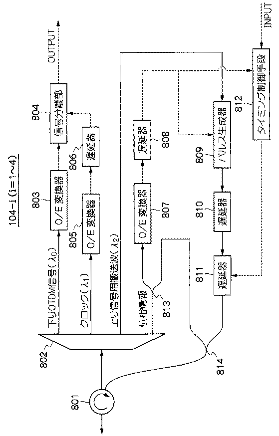
【解決手段】 本発明に係るPONシステムは、光合分岐器が各ONUからの上り光信号を時分割多重して得た上りOTDM信号がOLTに到達するものである。OLTは、各ONUから返信された位相情報信号と、基準クロックとの位相を比較し、位相差に応じた位相制御を行うと共に、位相差を反映した、各ONU用の光信号でなる位相情報信号を生成し、各ONUへ向けて送出させる。各ONUは、受信信号から自装置への位相情報信号を分離し、分離された位相情報信号が指示するタイミングに従って上り信号を生成させると共に、分離された位相情報信号をONUへ向けて返信させる。位相情報信号の流れは、位相同期ループになっている。
【選択図】 図1
Description
以下、本発明による光通信ネットワークシステム、中央局装置、端末装置、及び、同期確立・追従方法を、加入者系光通信システムに適用した一実施形態を、図面を参照しながら説明する。
図2は、実施形態の光通信ネットワークシステムの全体構成を示すブロック図である。
次に、以上のような構成を有する実施形態の光通信ネットワークシステムの動作を説明する。
まず、OLT102からONU104−1〜104−4への信号の伝送動作について説明する。なお、この伝送動作は、既存システムの伝送動作とほぼ同様である。
次に、ONU104−iからOLT102への信号の伝送動作について説明する。なお、この伝送動作は、既存システムの伝送動作とほぼ同様である。以下の上り方向への信号伝送の説明では、位相制御に関する部分の説明は省略している。
次に、各ONU104−1〜104−4からの上り光信号(スロット)の位相整合性を確立し、保持する動作を説明する。
上記実施形態によれば、特許文献2の記載技術のように、予めPONを構成する光分岐合成器(スターカプラ)から各ONUまでの正確な距離を確定させることを必要としない。
上記実施形態の説明においても、種々変形実施形態に言及したが、さらに、以下に例示するような変形実施形態を挙げることができる。
Claims (7)
- 中央局装置、光合分岐器及び複数の端末装置を備え、上記中央局装置及び上記光合分岐器が1本の光ファイバで接続され、上記各端末装置と上記光合分岐器との間がそれぞれ、光ファイバで接続され、上記各端末装置からの上り光信号を上記光合分岐器が合成させ、時間軸上で整列された上りOTDM信号を形成させて上記中央局装置へ送出する光通信ネットワークシステムにおいて、
上記中央局装置は、
上記各端末装置から返信された位相情報信号と、基準クロックとの位相を比較し、位相差に応じた位相制御を行う位相制御手段と、
上記位相差を反映した、上記各端末装置用の光信号でなる位相情報信号を生成し、上記各端末装置へ向けて送出させる位相情報信号生成手段とを有し、
上記各端末装置は、
受信した信号から自装置への位相情報信号を分離する位相情報信号抽出手段と、
分離抽出された位相情報信号が指示するタイミングに従って上り信号を生成させる上り信号タイミング制御手段と、
分離抽出された位相情報信号を上記中央局装置へ向けて返信させる位相情報信号返信手段とを有する
ことを特徴とする光通信ネットワークシステム。 - 上記位相制御手段は、
上記各端末装置から返信され、電気信号に変換された位相情報信号の位相と、基準クロックの位相とを比較する、それぞれが上記各端末装置に対応した複数の位相比較器と、
上記各位相比較器の出力を濾波する複数のローパスフィルタと、
上記各ローパスフィルタの出力に応じて発振周波数を変化させる複数の電圧制御型発振器とを有する
ことを特徴とする請求項1に記載の光通信ネットワークシステム。 - 上記位相制御手段からの上記各端末装置に関する出力信号が周波数が制御されたものであり、
上記位相情報信号生成手段は、
上記位相制御手段から出力された上記各端末装置に関する出力信号の周波数を、上記各端末装置によって定まっている異なる逓倍数又は分周比で逓倍又は分周する複数の周波数変更部と、
所定波長の連続光を発生する連続光光源と、
上記連続光光源から連続光を、上記各周波数変更部からの出力信号に応じて位相変調する複数の位相変調器と、
対応する上記位相変調器の出力信号から所定の側波帯成分を分離し、位相制御信号を得る複数のバンドパスフィルタと、
上記各バンドパスフィルタからの位相制御信号を合波する合波部とを有する
ことを特徴とする請求項1又は2に記載の光通信ネットワークシステム。 - 上記中央局装置が、
下り方向への信号から上記基準クロックを抽出するクロック抽出器と、
下り方向へのOTDM信号と、上記各端末装置用の光信号でなる位相情報信号とを合波して送出させる下り信号合成手段とをさらに有する
ことを特徴とする請求項1〜3のいずれかに記載の光通信ネットワークシステム。 - 中央局装置、光合分岐器及び複数の端末装置を備え、上記中央局装置及び上記光合分岐器が1本の光ファイバで接続され、上記各端末装置と上記光合分岐器との間がそれぞれ、光ファイバで接続され、上記各端末装置からの上り光信号を上記光合分岐器が合成させ、時間軸上で整列された上りOTDM信号を形成させて上記中央局装置へ送出する光通信ネットワークシステムにおける、上記中央局装置において、
上記各端末装置から返信された位相情報信号と、基準クロックとの位相を比較し、位相差に応じた位相制御を行う位相制御手段と、
上記位相差を反映した、上記各端末装置用の光信号でなる位相情報信号を生成し、上記各端末装置へ向けて送出させる位相情報信号生成手段とを有する
ことを特徴とする中央局装置。 - 中央局装置、光合分岐器及び複数の端末装置を備え、上記中央局装置及び上記光合分岐器が1本の光ファイバで接続され、上記各端末装置と上記光合分岐器との間がそれぞれ、光ファイバで接続され、上記各端末装置からの上り光信号を上記光合分岐器が合成させ、時間軸上で整列された上りOTDM信号を形成させて上記中央局装置へ送出する光通信ネットワークシステムにおける、いずれかの上記端末装置において、
対向する上記中央局装置が、上記各端末装置から返信された位相情報信号と、基準クロックとの位相を比較し、位相差に応じた位相制御を行う位相制御手段と、上記位相差を反映した、上記各端末装置用の光信号でなる位相情報信号を生成し、上記各端末装置へ向けて送出させる位相情報信号生成手段とを有するものであり、
当該端末装置が、
受信した信号から自装置への位相情報信号を分離する位相情報信号抽出手段と、
分離抽出された位相情報信号が指示するタイミングに従って上り信号を生成させる上り信号タイミング制御手段と、
分離抽出された位相情報信号を上記中央局装置へ向けて返信させる位相情報信号返信手段とを有する
ことを特徴とする端末装置。 - 中央局装置、光合分岐器及び複数の端末装置を備え、上記中央局装置及び上記光合分岐器が1本の光ファイバで接続され、上記各端末装置と上記光合分岐器との間がそれぞれ、光ファイバで接続され、上記各端末装置からの上り光信号を上記光合分岐器が合成させ、時間軸上で整列された上りOTDM信号を形成させて上記中央局装置へ送出する光通信ネットワークシステムにおける、上記各端末装置からの上り光信号を同期させる同期確立・追従方法において、
上記中央局装置は、
上記各端末装置から返信された位相情報信号と、基準クロックとの位相を比較し、位相差に応じた位相制御を行うと共に、
上記位相差を反映した、上記各端末装置用の光信号でなる位相情報信号を生成し、上記各端末装置へ向けて送出させ、
上記各端末装置は、
受信した信号から自装置への位相情報信号を分離し、
分離抽出された位相情報信号が指示するタイミングに従って上り信号を生成させると共に、
分離抽出された位相情報信号を上記中央局装置へ向けて返信させる
ことを特徴とする同期確立・追従方法。
Priority Applications (1)
| Application Number | Priority Date | Filing Date | Title |
|---|---|---|---|
| JP2008197802A JP5187052B2 (ja) | 2008-07-31 | 2008-07-31 | 光通信ネットワークシステム、中央局装置、端末装置、及び、同期確立・追従方法 |
Applications Claiming Priority (1)
| Application Number | Priority Date | Filing Date | Title |
|---|---|---|---|
| JP2008197802A JP5187052B2 (ja) | 2008-07-31 | 2008-07-31 | 光通信ネットワークシステム、中央局装置、端末装置、及び、同期確立・追従方法 |
Publications (2)
| Publication Number | Publication Date |
|---|---|
| JP2010035116A true JP2010035116A (ja) | 2010-02-12 |
| JP5187052B2 JP5187052B2 (ja) | 2013-04-24 |
Family
ID=41739036
Family Applications (1)
| Application Number | Title | Priority Date | Filing Date |
|---|---|---|---|
| JP2008197802A Expired - Fee Related JP5187052B2 (ja) | 2008-07-31 | 2008-07-31 | 光通信ネットワークシステム、中央局装置、端末装置、及び、同期確立・追従方法 |
Country Status (1)
| Country | Link |
|---|---|
| JP (1) | JP5187052B2 (ja) |
Citations (7)
| Publication number | Priority date | Publication date | Assignee | Title |
|---|---|---|---|---|
| JPH0851412A (ja) * | 1994-08-03 | 1996-02-20 | Nippon Telegr & Teleph Corp <Ntt> | 受動形ポイント−マルチポイント光伝送システム |
| JPH09102776A (ja) * | 1995-10-05 | 1997-04-15 | Hitachi Ltd | 光クロック信号抽出回路 |
| JPH1129830A (ja) * | 1997-07-11 | 1999-02-02 | Agency Of Ind Science & Technol | 微細構造の制御された繊維を用いた繊維強化複合材料 |
| JP2006319899A (ja) * | 2005-05-16 | 2006-11-24 | Oki Electric Ind Co Ltd | 光通信システム |
| JP2006345145A (ja) * | 2005-06-08 | 2006-12-21 | Kansai Electric Power Co Inc:The | 通信システム、通信方法および通信装置 |
| JP2008172665A (ja) * | 2007-01-15 | 2008-07-24 | Sumitomo Electric Ind Ltd | Ponシステムの局側装置、受信部、クロック及びデータ再生部、及び、ponシステムの上り方向通信方法 |
| JP2009077222A (ja) * | 2007-09-21 | 2009-04-09 | Oki Electric Ind Co Ltd | 端末装置、センタ装置、光通信ネットワークシステム及び上り信号タイミング制御方法 |
-
2008
- 2008-07-31 JP JP2008197802A patent/JP5187052B2/ja not_active Expired - Fee Related
Patent Citations (7)
| Publication number | Priority date | Publication date | Assignee | Title |
|---|---|---|---|---|
| JPH0851412A (ja) * | 1994-08-03 | 1996-02-20 | Nippon Telegr & Teleph Corp <Ntt> | 受動形ポイント−マルチポイント光伝送システム |
| JPH09102776A (ja) * | 1995-10-05 | 1997-04-15 | Hitachi Ltd | 光クロック信号抽出回路 |
| JPH1129830A (ja) * | 1997-07-11 | 1999-02-02 | Agency Of Ind Science & Technol | 微細構造の制御された繊維を用いた繊維強化複合材料 |
| JP2006319899A (ja) * | 2005-05-16 | 2006-11-24 | Oki Electric Ind Co Ltd | 光通信システム |
| JP2006345145A (ja) * | 2005-06-08 | 2006-12-21 | Kansai Electric Power Co Inc:The | 通信システム、通信方法および通信装置 |
| JP2008172665A (ja) * | 2007-01-15 | 2008-07-24 | Sumitomo Electric Ind Ltd | Ponシステムの局側装置、受信部、クロック及びデータ再生部、及び、ponシステムの上り方向通信方法 |
| JP2009077222A (ja) * | 2007-09-21 | 2009-04-09 | Oki Electric Ind Co Ltd | 端末装置、センタ装置、光通信ネットワークシステム及び上り信号タイミング制御方法 |
Also Published As
| Publication number | Publication date |
|---|---|
| JP5187052B2 (ja) | 2013-04-24 |
Similar Documents
| Publication | Publication Date | Title |
|---|---|---|
| CN111193550B (zh) | 光纤通信系统、光处理方法和注入锁定发射机 | |
| CN103973390A (zh) | 用于监控波长可调光滤波器的装置以及方法 | |
| US11855696B2 (en) | Network communications systems and methods | |
| JP4910818B2 (ja) | 端末装置、センタ装置、光通信ネットワークシステム及び上り信号タイミング制御方法 | |
| JP2006262020A (ja) | 局側装置 | |
| JP4755693B2 (ja) | 光通信システム | |
| JP2010245987A (ja) | 光/無線アクセスシステム | |
| JP4682692B2 (ja) | 光通信システム | |
| JP6381384B2 (ja) | Ponシステム、onu、oltおよび伝送方法 | |
| US20070121189A1 (en) | Data transmission devices for communication facilities of a passive optical network | |
| JP5187052B2 (ja) | 光通信ネットワークシステム、中央局装置、端末装置、及び、同期確立・追従方法 | |
| US20090232504A1 (en) | Optical line termination, optical network unit, optical communication system, timing control method, and recording medium storing program for apparatus | |
| US20230353243A1 (en) | Generating a common and stable radio frequency (rf) carrier for a plurality of distributed units | |
| JP2010114621A (ja) | 光通信システム、onuの送信器、oltの受信器、およびonuの上り信号送信方法 | |
| JP2010171788A (ja) | 光信号送信方法、光通信システム、光送信器および光受信器 | |
| JP4699413B2 (ja) | 波長多重装置 | |
| JP3615476B2 (ja) | 光アクセスシステム、アクセスノード装置およびユーザノード装置 | |
| JP2009077222A (ja) | 端末装置、センタ装置、光通信ネットワークシステム及び上り信号タイミング制御方法 | |
| CN115833954B (zh) | 波长校准方法和装置 | |
| JP7606134B2 (ja) | 中継装置、光アクセスシステム及び中継方法 | |
| JP2010114622A (ja) | 光通信システム、osuの送信器、onuの受信器、およびosuの下り信号送信方法 | |
| JP2011014960A (ja) | 加入者側終端装置、局側終端装置、及び光通信システム | |
| WO2009122577A1 (ja) | 光通信システム、親局装置および子局装置 | |
| KR20130093737A (ko) | 광 네트워크 | |
| JP2001257698A (ja) | 波長分割多重光リングネットワークおよび信号処理方法 |
Legal Events
| Date | Code | Title | Description |
|---|---|---|---|
| A621 | Written request for application examination |
Free format text: JAPANESE INTERMEDIATE CODE: A621 Effective date: 20110519 |
|
| A977 | Report on retrieval |
Free format text: JAPANESE INTERMEDIATE CODE: A971007 Effective date: 20121012 |
|
| TRDD | Decision of grant or rejection written | ||
| A01 | Written decision to grant a patent or to grant a registration (utility model) |
Free format text: JAPANESE INTERMEDIATE CODE: A01 Effective date: 20121225 |
|
| A61 | First payment of annual fees (during grant procedure) |
Free format text: JAPANESE INTERMEDIATE CODE: A61 Effective date: 20130107 |
|
| FPAY | Renewal fee payment (event date is renewal date of database) |
Free format text: PAYMENT UNTIL: 20160201 Year of fee payment: 3 |
|
| R150 | Certificate of patent or registration of utility model |
Ref document number: 5187052 Country of ref document: JP Free format text: JAPANESE INTERMEDIATE CODE: R150 Free format text: JAPANESE INTERMEDIATE CODE: R150 |
|
| LAPS | Cancellation because of no payment of annual fees |
