JP2010034969A - 衛星搭載用マルチビームアンテナ装置 - Google Patents

衛星搭載用マルチビームアンテナ装置 Download PDF

Info

Publication number
JP2010034969A
JP2010034969A JP2008196393A JP2008196393A JP2010034969A JP 2010034969 A JP2010034969 A JP 2010034969A JP 2008196393 A JP2008196393 A JP 2008196393A JP 2008196393 A JP2008196393 A JP 2008196393A JP 2010034969 A JP2010034969 A JP 2010034969A
Authority
JP
Japan
Prior art keywords
beams
antenna
satellite
frequency
antenna device
Prior art date
Legal status (The legal status is an assumption and is not a legal conclusion. Google has not performed a legal analysis and makes no representation as to the accuracy of the status listed.)
Granted
Application number
JP2008196393A
Other languages
English (en)
Other versions
JP5195126B2 (ja
Inventor
Hiroyuki Omine
裕幸 大嶺
Current Assignee (The listed assignees may be inaccurate. Google has not performed a legal analysis and makes no representation or warranty as to the accuracy of the list.)
Mitsubishi Electric Corp
Original Assignee
Mitsubishi Electric Corp
Priority date (The priority date is an assumption and is not a legal conclusion. Google has not performed a legal analysis and makes no representation as to the accuracy of the date listed.)
Filing date
Publication date
Application filed by Mitsubishi Electric Corp filed Critical Mitsubishi Electric Corp
Priority to JP2008196393A priority Critical patent/JP5195126B2/ja
Publication of JP2010034969A publication Critical patent/JP2010034969A/ja
Application granted granted Critical
Publication of JP5195126B2 publication Critical patent/JP5195126B2/ja
Expired - Fee Related legal-status Critical Current
Anticipated expiration legal-status Critical

Links

Images

Landscapes

  • Aerials With Secondary Devices (AREA)
  • Variable-Direction Aerials And Aerial Arrays (AREA)

Abstract

【課題】 異なるビーム径のビームを配置する際、同一周波数のビームの干渉を低減するように異なるビームを配置することにより、ビーム数を削減し、重量の低減化を図った衛星搭載用マルチビームアンテナ装置を得る。
【解決手段】 細いマルチビームを放射するためのリフレクタと、リフレクタに給電を行うフィードアレーを備え、マルチビームの周波数帯域を繰り返し利用して地上端末との間で相互通信を行う際、異なるビーム径を配置したマルチビームアンテナのビーム配置として、大きなビーム径の一つのセルの中に小さなビーム径を有するビームを周波数繰返しを行いながら配置することで、大きなビーム径と小さなビーム径が直接干渉することを回避する。
【選択図】 図6

Description

この発明は、人工衛星や宇宙航行体などの宇宙機器に搭載される衛星搭載用マルチビームアンテナ装置に関するものである。
従来から、海外において、衛星を用いたマルチビームによる通信が行われており、L帯を用いた移動体衛星通信サービス(MSS:Mobile Satellite Service)として、Thuraya、AceS(衛星携帯電話)が実現されている(例えば、非特許文献1、非特許文献2参照)。
安井他、「N−STARcと衛星管制システムの開発」、NTT DoCoMoテクニカルジャーナル、Vol.11、No.11、pp.67−76、Nov.2003.
鈴木他、"技術試験衛星VIII型搭載フェーズドアレー給電反射鏡アンテナ用独立指向方向制御型ビーム形成装置"、信学論(B)、Vol.J87−B、No.8、pp.1053−1062、2004.
衛星ブロードバンドサービスを低コストで提供するためには、システム周波数帯域や衛星送信電力などの衛星システムリソースを効率的に配分しなければならない。
マルチビームシステムは、周波数帯域を繰り返し利用することによりシステム全体の通信容量を向上することが可能であり、次世代の大容量衛星通信を実現するための、有望な方式も提案されている(例えば、非特許文献3参照)。
M.Ueba、et al、「Broadband and scalable mobile satellite communication system for future access networks」、AIAA 2004−3154、2004.
しかし、マルチビームにおいては、同一周波数を利用するビーム間干渉が通信品質に与える影響が大きいので、システムリソースの配分は、周辺ビームからの電力干渉を考慮して行う必要がある。また、移動体衛星通信において、サービスエリアでのユーザは、偏在し、かつ変動するという特徴があるので、マルチビームにおいては、特定ビームへのトラフィック集中などの不均一なトラフィック分布に対応して、常に通信容量が最大になるように、システムリソースの配分を行う必要がある。
例えば、FDMA(Frequency Division Multiple Access)方式では、隣接ビーム間で利用周波帯域がオーバーラップしないように、周波数繰り返しを行い、3色、4色、7色等の繰り返しが検討されている。ここで、色とは周波数のことである。
周波数繰り返し利用を行うためには、FDMAの場合は同一周波数(または、TDMAは同一時間スロット、CDMAは同一コード)を利用するビーム間での干渉を考慮する必要がある。
また、移動体通信衛星の特徴を考慮すると、時間的、地理的なトラフィック変動に柔軟に対応することが必要になってくるので、こうした背景から、マルチビームによるビーム間干渉およびトラフィック変動を前提としたリソースの配分が必要となる。このような性能・機能を有するアンテナとして、オフセットパラボラ反射鏡、ビーム形成回路を含むフィードアレーと各チャンネルのビームの割当やチャンネル幅の制御を行うチャネライザーとフィード全体を制御する制御装置からなる衛星搭載用マルチビームアンテナ装置がある。
また、衛星移動通信(MSS)周波数帯域において、衛星通信事業者にのみ許された地上系を補助的に利用するシステムとして、ATC(AnC/Illary Terrestrial Component)が米国MSV(Mobile Satellite Ventures)社から提案されている。
ATCは、衛星系および地上系の周波数をビームごとに入替え、同一周波数を共用するシステムである。すなわち、衛星の見通しエリアは衛星通信を利用し、建物内、衛星信号のシャドウイングエリアは、ATC基地局との間での地上通信を利用するものである。
こうしたATCシステムを実現するためには、更にビームを細くしたマルチビームが必要であり、地上のATC基地局からの干渉も考慮する必要がある。
通信容量を大きくするためには、ビーム幅を小さくして、周波数繰り返しを多くする必要がある。このとき大型展開アンテナを用いると、ビーム幅が0.5[degree]前後の極めて細いビームとなるが、アンテナ径が大きくなるに従い、カバレッジエリアを覆うためのビーム数が増加すると共に、ビーム形成回路が大規模になってくる。
従来の衛星搭載用マルチビームアンテナ装置では、通信容量を大きくするためには、ビーム幅を小さくし、繰り返しを多くする必要がある。例えば、外径10〜20mの大型展開アンテナを用いた衛星搭載用マルチビームアンテナ装置では、ビーム幅が0.5〜1.0[degree]程度と極めて細くなる。より高い利得を得るためにはより大きなアンテナが必要になるため、これに伴いビーム幅が狭くなると共に同一カバレッジを覆うためにはビーム数が増大する。例えば、アンテナ径が2倍になれば、ビーム数は4倍になる。 このビーム数の増大は、ビーム形成回路規模の大型化に繋がる。100ビーム級以上になると、ビーム数の増加に伴いハードウエア規模が大きくなるため、重量が増加するという課題があった。特に、衛星搭載機器の場合、重量の増加は即コスト増に繋がってしまう。
また、従来、通信トラフィックに対応してビーム幅を変えることが検討されていた。通信トラフィックの高いカバレッジはビーム幅を狭くし、ビーム数を増やすことで通信量の増加を図り、通信トラフィックの低いカバレッジはビーム幅を広げることで、一つのビームのカバーするカバレッジエリアを広げることによりビーム数を少なくすることが考えられている。このようにダイナミックにビーム幅や形状を変えることは周波数有効利用の観点からも有効である。
しかし、ビーム幅を変える際、デジタルでビーム合成する場合にビーム形成自体は容易であるが、マルチビームの周波数帯において周波数繰り返しを行っている以上、同一周波数間の干渉を考慮する必要がある。
すなわち、周波数繰返しに伴いあらかじめ周波数配列を決めているが、ビーム幅が変わることで、干渉レベルや、周波数繰返しのビーム配置に影響を及ぼすことになる。
ビーム幅の広い大きなビームとビーム幅の狭い小さいビームが混在してビームが配置されると、大きなビームのそばに小さいビームを配置することは、干渉増のため、容易ではなくなる。このため、ビーム幅の異なるビームを配置する場合、周波数繰返しを考慮しながら、所望の干渉レベルになるようにリソースを割り当てることは、現実的には容易ではないという課題がある。
この発明は、上記のような課題を解消するためになされたものであり、異なるビーム径のビームを配置する際、同一周波数のビームの干渉を低減するように、異なるビーム径のビーム配置を容易に実現できるビーム配置を得るとともに、ビーム数を削減することのできるマルチビームアンテナ装置を得ることを目的とする。
この発明による衛星搭載用マルチビームアンテナ装置は、複数のビームを放射するフィードアレーと、前記フィードアレーから放射された複数のビームを、地上のカバレッジエリアに向けて反射しマルチビームを形成するリフレクタと、前記フィードアレーから放射される複数のビームの周波数を制御するビーム制御器とを備え、前記フィードアレーは、複数個の第1のビームと、第1のビームよりもビーム径が小さい複数個の第2のビームを形成し、前記第1のビームは、前記カバレッジエリアを覆うように、周波数繰り返しを行いながら複数個配列され、前記第2のビームは、前記カバレッジエリア内で前記第1のビームに周囲を囲まれて配置され、少なくとも前記第1のビームのビーム径に相当する大きさを有したエリア内に、それぞれが周波数繰返しを行いながら複数個配列されたものである。
また、前記第1のビームにおける隣接するビーム間のクロスオーバーレベルを−1乃至−3dBと高くし、前記第2のビームにおける隣接するビーム間のクロスオーバーレベルを−3乃至−10dBと低くしても良い。
この発明によれば、大きなビーム径と小さなビーム径が直接干渉することを回避するようにマルチビームを配置できるため、ビーム径を変えても周波数繰返しが実現できるとともに、大きなビームを用いてビーム数を削減することができる効果がある。
また、異なるビーム径が混在する場合、ビーム径は、ビーム間のクロスオーバーレベルを変えて配列することにより、異なるビーム径が混在し、ダイナミックに制御する場合においても干渉を増大させることなく、周波数繰返しが実現できる効果がある。
実施の形態1.
図1はこの発明に係る実施の形態1による衛星搭載用マルチビームアンテナ装置の構成を示す図であり、大型展開アンテナを用いたマルチビームの全体構成を概略的に示している。
図において、衛星搭載用マルチビームアンテナ装置は、リフレクタを構成する大型展開アンテナ1(以下、単に「アンテナ1」という)と、フィードアレー2と、ビーム制御器40を備えて構成される。大型展開アンテナ1(以下、単に「アンテナ1」という)は、人工衛星に搭載され、宇宙空間で展開される通信用の大型のリクレクタアンテナであり、フィードアレー2から給電された複数のビームを地上に向けて反射し、地上のカバレッジエリアにマルチビーム3を形成するとともに、地上から受けた複数のビームをフィードアレー2に給電する。
フィードアレー(または、デフォーカスフィードアレー)2は、マルチビーム3を作り出すためのアンテナ給電部であり、アンテナ1に向けて複数のビーム3を放射するとともに、アンテナ1により反射された地上からの複数のビームを受信する。フィードアレー2は、それぞれビームを放射または受信する複数のアンテナ素子と、アンテナ素子毎に給電されるビームを複数個形成し、各アンテナ素子にビームを分配するビームフォーミングネットワーク(BFN)と、送信時にアンテナ素子に給電されるビームを電力増幅するとともに、受信時にアンテナ素子で受信されるビームを低雑音増幅し、所望の送信チャンネルと受信チャンネルを用いて通信信号を送受信するトランスポンダとを備えている。
ビーム制御器40は、フィードアレー2において送受信されるビームを制御し、各ビームに対応して給電を行うアンテナ素子を選択し、各ビームの周波数や位相を制御し、フィードアレー2におけるビームの送受信動作を切り替える。
ここで、実施の形態1による衛星搭載用マルチビームアンテナ装置に関連した技術思想を説明する。
図1において、斜線で示したビームは、同一周波数を使用するビームであり、繰返し使用することで、周波数の利用効率が高くなる。
一般的に、ビームには、メインビーム以外に干渉レベル(サイドローブ)が存在し、このサイドローブが同一周波数を使用するビーム内に入ることで、サイドローブレベルでの干渉が生じる。この干渉波は、異なる信号が含まれているので、干渉波の強度が或る閾値以上に高くなると、BER(Bit Error Rate)の劣化により、通信品質が劣化して通信ができなくなる。したがって、干渉波が或る一定レベル以下になるようにビーム間隔を離す必要がある。
一方、ビームを離しすぎると干渉は低減されるものの、周波数の繰り返し数が低減するので、周波数の利用効率は低下する。こうした点から一般的には、3色、4色、7色での繰り返しが行われることが多いが、通信方式や通信容量と干渉レベルとのトレードオフとなる。
この干渉レベルは、周波数の繰返しのみならず、ビーム間のクロスオーバーレベルでも変わってくる。ここでクロスオーバーレベルとは、隣接ビーム間でビームがクロスするレベルと定義する。同じ色の周波数繰返しであっても、クロスオーバーを3dBよりも高く設定すると、同一周波数のビーム間の干渉が大きくなり過ぎてBERが劣化し、逆に、クロスオーバーを3dBよりも小さく設定すると、干渉は低減するが、EOC(Edge of Coverage)利得が小さくなり通信容量が低下するため、高速伝送を行う場合は、ビームエッジのユーザに対して通信品質が低下することになる。
このため、全カバレッジエリアでより高い利得を得るためには、より大きなアンテナで多くのビームを形成することが必要になるが、前述したように、例えば、アンテナ径が2倍になれば、ビーム数は4倍になる。このため、ビーム数の増大は、ビーム形成回路の規模大に繋がる。100ビーム級以上になると、ハードウエア規模が増大するため、衛星のコストが増加することで通信費も高くなる。こうした点から、単にカバレッジ全体の利得を高くするだけでなく、通信容量とビーム数とハードウエア規模のトレードオフを行い、実効的なトラフィックを想定した検討を行うことが重要となる。すなわち、より経済的な通信システムを構築する場合、欧米のような諸国におけるビーム構成と、日本近海におけるビーム構成とは、異なるのが当然である。
例えば、欧米諸国では陸続きのエリアが広がっているのに対し、日本近海を考えると周囲は海に囲われている。日本国内を陸域と海域に分けて考えると、通信トラフィックにおいて陸域と海域では差が生じる。
また、海域の方が船舶搭載型のより大きな衛星通信用端末を使用することが可能なことから、人による携行型や車両搭載型が主流となる陸域の衛星通信用端末に対して、端末の大きさが異なってくる。このため、実効的な通信トラフィックを想定したマルチビームシステムを検討していく必要がある。
こうした観点を考慮すると、フレキシブルな制御を行うのみならず、マルチビームの利得やビーム幅をあらかじめある程度、各領域の通信トラフィックに対応して設計しておくことで、より無駄の少ないシステムを構成することが可能となる。
このため、実施の形態1による衛星搭載用マルチビーム装置では、陸域と海域とで異なるビーム径を有するマルチビームを構成し、それぞれビームを2次元的に配列することを特徴としている。
この際、ビーム間アイソレーションを取るためには、低サイドローブ化を図り、且つ、同一周波数のビーム間隔を広くとる必要がある。しかし、異なるビーム径を2次元的に配列した場合やビーム幅をビーム毎に可変した場合、大きなビーム径と小さなビーム径が混在すると、干渉レベルがビーム毎に変化するため、干渉により通信不可となるビームが生じてしまう。また、大きなビーム径近傍では、小さなビームとの周波数繰返し周期が異なるため、周期性が乱れ、小さいビームを配置することが困難になるなど、各種ビーム配置の制約が生じる。
この問題について図を用いて説明する。
図2は、異なるビームを周波数繰返しにより配置した場合の参考例を示している。大きなビーム径を有するビーム4a、4b、4c、4d、4e、4f、4gが周波数繰返しにより配置される。また、小さなビーム径を有するビーム5a、5b、5c、5d、5e、5f、5gも同様に、周波数繰返しにて配置され、大きなビーム径のビームと小さなビーム径のビームとが混在している場合を示している。
この場合ビーム径が異なるので、同じ7色繰り返しでは周期が合わない。このため、同一周波数を有したビームの接近や重なりが起こり、周波数干渉を生じる。図において、6a、6b、6c、6d、6eはこの周波数干渉を示している。こうした同一周波数のビーム接近時やビームが重なる場合は、通信ができなくなる。このようにビーム径の異なるビームが配置される場合には、周波数繰返しを行いながら、且つ、干渉を考慮した上で、リソース割当をフレキシブルに行う必要があるが、これは容易ではない。特に日本近郊においては、陸地部が細長形状をなすため、陸域と海域の接する領域が広く、異なるビーム径のビーム配置は難しくなる。
そこで、実施の形態1による衛星搭載用マルチビームアンテナ装置では、この点を改善するために、異なるビームを混在させる場合において、両ビーム径の周期性に着目し、この周期性が崩れないようにビームを配置することで、ビーム配置が容易になるように工夫している。
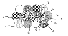
図3は実施の形態1の衛星搭載用マルチビームアンテナ装置によるビーム配置の一例を示す図である。図中、同一パターンのものは同一周波数をなす。また、図の破線はビーム径の大きなビームを仮想的に配置したものであり、この領域は第1のビーム4が存在せず、第2のビーム7のみが存在する空エリアを示している。
図において、ビーム径の大きな第1のビーム4とビーム径の小さな第2のビーム7とを混在させて、衛星通信を行うべきカバレッジエリア内に第1のビーム4と第2のビーム7からなるマルチビームを配置している。このとき、第1のビーム4を基本配列として、少なくとも一つの第1のビーム4が照射されない空のエリア200を除いたカバレッジエリア全体を覆うように、第1のビーム4のセルを複数個敷き詰めて配列する。このとき、隣接する第1のビーム4同士で重なりを有するが、その重なりが小さくなるように第1のビーム4のセルを配置しておく。また、第1のビーム4が存在しない空のエリア200の周囲は、周波数繰返しを行いながら配列される複数の第1のビーム4によって囲まれている。
第1のビーム4を基本として配列した後、カバレッジエリア内の第1のビーム4が存在しない少なくとも1つの空のエリア200に、第2のビーム7としてのビーム7a、7b、7c、7d、7e、7f、7gが、周波数繰返しを行いながら一纏まりに集まって、同心円状もしくはスパイラル状に配列される。このとき、隣接する第2のビーム7同士で、その重なりが小さくなるように第2のビーム7のセルを配置しておく。ここで、第2のビーム7が配列されるエリア200は、第1のビーム4のセルが少なくとも1つ配置し得る大きさのエリア面積を有し、第1のビーム4のビーム径と同等もしくはそれ以上の大きさを有している。また、図3の例では、第2のビーム7の周波数繰返しが7色の場合を示している。このような関係にてビームを配置することで、ビームの周波数繰返しの周期性を維持しているため、小さいビームと大きなビームとが直接干渉しないようにマルチビームを形成することができる。例えば、図の矢印に示すように、同じ周波数を有する第1のビーム4と第2のビーム7との間を少なくとも小さいビーム径1つ分だけ離隔することができる。
また、このように配置することで、大きなビーム内の一つのセル内に、7色の小さなビームを配置できるため、この小さなビーム(第2のビーム7)を7色配置したセルにおいては、小さなビームを配置しない第1のビームのセルに比べて、7倍の通信容量を増加させることができる。このため、通信トラフィックの多い場所として、例えば都市部エリアにこの小さなビームを繰返し配置することで、通信トラフィックに対応したビーム形成が可能になる効果を有している。
なお、この実施の形態1では、7色の周波数繰返しの場合を例示しているが、3色、4色等でもよく、あるいは周波数繰返しを大きくし、12色や16色の繰返しであっても良い。周波数繰返しを大きくすることで、全体として通信要量は低下するが、クロスオーバーレベルを高くできることで、アンテナ利得を高くすることができるため、受信で考えると、その分地上の端末を小さくでき、送信で考えと、送信電力をその分小さくできる。
また、特定のビームに電力を集中することもできるため、災害時のような場合は、特定のビームにおける高品質な通信を確保できる。また、周波数帯はS帯衛星通信を想定しているが、特に周波数帯には依存せずに同様の効果が得られることは言うまでもない。また、特定の2ビームにおいて、小さいビームの周波数繰返しを行っているが、このビームは、他のビームであっても、またトラフィックに対応して小さいビームをダイナミックに移動させてもよく、ダイナミックに小さいビームの周波数繰返しが変化してもよい。
以上説明した通り、この実施の形態1による衛星搭載用マルチビームアンテナ装置は、細いマルチビームを放射するためのリフレクタと、リフレクタに給電を行うフィードアレーと、フィードアレーを制御するビーム制御器とを備え、マルチビームの周波数帯域を繰り返し利用して地上端末との間で相互通信を行うものであって、異なるビーム径を配置したマルチビームアンテナのビーム配置として大きなビームのビーム径の中に小さなビームを複数配置し、大きなビーム径の中で周波数繰返しを行いながら小さいビームを配置するようにしたものである。これによって、大きなビーム径と小さなビーム径が直接干渉することを回避するようにマルチビームを配置できるため、ビーム径を変えても周波数繰返しが実現できる効果がある。また、大きなビームを用いることで、ビーム数を削減することができる効果がある。
実施の形態2.
図4は、この発明に係る実施の形態2による衛星搭載用マルチビームアンテナ装置のビーム配列を示す説明図であり、大小2種類のビームを配置したビーム構成を示している。図中、同一パターンのものは同一周波数をなす。
図3では特定の円形状の大きいビーム内に、周波数繰返しを行う小さいビームを配列した例を図示したが、図4では、或る一繋がりの小カバレッジエリア内にて、小さいビームが連続的に周波数繰返しを行って配列される場合を例示している。ここで重要なことは、大きいビーム(第1のビーム7)の一つのセルに相当するエリアを小さいビーム群50の配置される基本単位として、小さいビーム(第2のビーム4)が周波数繰返しを行う規則性を維持したまま、この周波数繰り返しを行う小さいビーム群50を数珠繋がりに繋げて、連続的にビームの周波数繰返しを行うことで、大小のビームの周期性が保たれることである。この周期性が保たれることで、大きいビームと小さいビームが直接干渉することがないことが分かる。例えば、図の矢印に示すように、同じ周波数を有する第1のビーム4と第2のビーム7との間を離隔することができる。また、小さいビーム群50を横長に配列できるので、小さいビーム(第2のビーム4)によるカバレッジエリアを、長円形状やピーナッツ形状や涙的形状などの各種形状に柔軟に形成することができる。
このように小さいビームを連続して配置する場合においても、周期性を維持したビーム配置を連続的に行うことで、各ビーム同士が直接干渉すること無しにマルチビームを配置することができる効果がある。これにより、都市部などのトラフィックの高い領域のみならず、陸域とその陸域を囲む海域の形状を考慮してビーム配置ができるため、島型の陸域では小さいビームの繰返しを行うことで通信容量を増加させ、トラフィックの低いエリア、例えば海域でのビーム数を削減したビーム構成が可能になる。この結果、ビーム数の削減に伴うビーム形成回路の小型化を図れる効果がある。
実施の形態3.
図5は、この発明に係る実施の形態3が適用される衛星搭載用マルチビームアンテナ装置を示す説明図であり、このビーム配置を日本列島及び日本近海に適用した場合のビーム配置例を示している。
日本列島は、赤道軸(緯線に並行な軸)に対して約斜め40度程度傾いていると見なすことができる。日本列島を含むカバレッジは他大陸に比べ、陸の形状が複雑であり、また、海域も複雑な形状をしている。こうした地理形状を考慮したビーム形成は複雑になる。一般的に、ビームは、赤道に沿って、緯度に並行にビームが配置される。これは一般的通信サービスエリアを考えると、自然なビーム配置である。同一サイズのビームを配置する場合は問題ないが、異なるビームを周波数繰返しを行いながら、且つ、基本近海のカバレッジを考慮しながらビーム配列を行うことは難しい。日本近郊は、周囲諸国と海域を考えると複雑なため、同様に緯度に並行にビームを配置した場合、陸域のビームが斜めになるため、周波数繰返しを考慮するとビーム配列が複雑になることを意味している。
そこで、ビーム配列を容易にするために、ビームの配置する軸も赤道軸に対して斜め40度程度にし、配置も赤道軸に対して40度傾けて配置した場合を図5に示す。このように斜めにビームを配置することで、図4に示したように周波数繰返しを考慮しながら、第1のビーム4による大きなビームを配置後、第2のビーム7による小さなビームを陸域中心に配置する。これにより、陸域と海域を考えた日本近郊に適したビーム配置が可能になる。このようにカバレッジエリアを考慮しビーム配置の軸を傾けることで異なるビームの配置が容易になる効果がある。これは日本のみならず、近隣諸国の陸地においても、同様に、大きなビームの周期性の中に、小さなビームを繰返し配置することで、必要に応じて、ビーム配置ができることになる。
実施の形態4.
この実施の形態4は、大きなビーム径に対してビーム幅の拡大に制約を与え、ビーム間のクロスオーバーレベルを変えることでビーム径を制御するようにしたことを特徴とする。
図6はこの発明の実施の形態4が適用される衛星搭載用マルチビームアンテナ装置を示す説明図であり、2種類の異なるビーム径を配置したビーム構成を示している。
図4では、第1のビーム4による大きいビームはビーム幅が広く、第2のビーム7による小さいビームはビーム幅が狭いことを前提にしていた。これに対し、この実施の形態4の図6では、第1のビーム4による大きなビームのビーム径について、ビーム幅を狭くしている。図において、ビーム10a、10b、10c、10d、10e、10f、10gはカバレッジエリアをカバーする大きなビームのビーム径であり、9a、9b、9c、9d、9e、9f、9gは大きなビームのビーム幅(3dB)を示している。
ここで、一般的に、ビーム径とはビーム幅のことを意味することが多いが、本件での定義は、ビーム径とビーム幅は異なる定義としていることに注意が必要である。
例えば、海域の場合は、船舶搭載用の衛星通信端末の場合、地上で用いられる衛星通信用携帯電話(以下、地上携帯電話)に比べて、アンテナを設置する面積が大きいため、現状の端末であれば、アンテナ利得は地上携帯電話よりも10dBi以上高い。このため、その分衛星のもつビームのEOC利得を小さくすることもできる。すなわち、トラフィックに対応してビーム径を変えるだけでなく、海域ではビームのEOC利得も下げることができる。実施の形態1〜3では、ビーム幅を広げることで、ビーム径を大きくしているが、ビーム径は大きくても、ビーム幅を狭くすることでEOC利得は低下するものの、干渉をより低減することができる。
この干渉を考慮した所望のビーム径を得るためには、ビーム径を変えるだけでなく、ビーム間のクロスオーバーレベルを変えることで実現できる。一般的には、ビーム径を変える際、クロスオーバーレベルは同じにしたままビーム幅を変えてビーム径を変える。しかし、ビーム径を変えたビームを配置する場合、ビーム間干渉が増加する可能性がある。これを解決するために、この実施の形態4では、可変するビーム幅はある程度制御し基本的にビーム幅はあまり変えずに、クロスオーバーレベルを変えることでビーム径を変えている。こうすることで、基本的にはクロスオーバーレベルが変わったことによるEOC利得は変化するが、急激に干渉が増加することはないため、ダイナミックなビーム制御が容易になる。
図7にクロスオーバーレベルを変えた場合のビーム配置のカット面を示す。図7(a)は、クロスオーバーレベルをビームピークから−1〜−3dBと高くした場合であり、陸域でのビーム配置を想定した場合である。
一方、図7(b)は、クロスオーバーレベルをビームピークから−3〜−10dBと低くした場合であり、海域でのビーム配置を想定した場合である。ここで、ビーム径はあくまでも、このクロスオーバーレベルで定義しているため、ビーム幅(3dB)とは異なる。また、クロスオーバーレベルは、あくまでも、一つの目安として代表的な値を示しているため、各ビームでの要求利得並びに干渉レベルに対応して、可変するものとする。
図8は、ビーム径を同一とし1種類のビームを配置した場合と、2つのビーム径のクロスオーバーレベルを変えることで配置した場合のC/I比の比較を示している。C/Iの定義は以下としている。
各ビームの電力および周波数帯域幅の割り当てを同一に設定した場合、i番目のビームを評価ビーム、j番目のビームを与干渉ビームとすると、i番目の評価ビームにおける信号/与干渉のC/I比(C/I)iは、評価エリアにおける利得Gを用いて、以下の式(1)で表される。
(C/I)i=Gij/Σj=1Gij ・・・(1)
図8は、式(1)より算出したC/I比を全ビームで平均化したものであり、C/I比とそのC/I比を満足するカバレッジ率を表した図である。C/I比が大きくなるほどカバレッジエリアが狭くなることが分かる。
また、同一のビーム径(クロスオーバーレベルが高い)を配置した場合と、2種類のビーム径(クロスオーバーレベル可変)を配置した場合における、C/I比の比較を示している。この図より、2つのビーム径のクロスオーバーレベルを変えてビームを配置した方が、同一のビームで配置した場合よりもクロスオーバーが低くなることで、C/I比が改善されていることがわかる。
このように、クロスオーバーレベルを高くすることで、ビーム幅には基本的には依存せず、また、ビーム幅の異なるビームを複数配置した場合や、ビーム毎にビーム幅が異なる場合であってもビームの配置は容易になるため、この実施の形態4のビーム径制御は有効である。例えば、都市部が集中するエリア(関東や近畿など)は、クロスオーバーレベルが高くなるようトラフィックに対応して多数のビームを配置し、それ以外の陸地や海洋域は、干渉が低減するようにクロスオーバーレベルを低くなるようにビームを配置すればよい。当然ながら、ビーム幅を広げることも可能ではあるが、どこまでビームを広げるかは、干渉とのトレードオフになる。
したがって、この発明の実施の形態4に係る衛星搭載用マルチビームアンテナ装置によれば、ビームのクロスオーバーレベルを変えてビーム径の異なるビームを配列することで、干渉を低減できる効果がある。
実施の形態5.
図9はこの発明の実施の形態5が適用される衛星搭載用マルチビームアンテナ装置を示す説明図であり、2種類のビームを配置したビーム構成を示しており、符号11は大きなビーム、符号12は小さいビームを示している。
災害発生時のように、ある特定のビームにリソース(周波数帯域、電力)を割り当てる場合、その周辺のビームに割り当てられるリソースは小さくなる。また、同一周波数干渉を更に低減し、災害発生エリアに集中させるためには、周波数繰返しを変えることが必要となることが想定される。実施の形態1〜4では、大きなビームも小さいビームも周波数繰返しを同じ7色とした場合を示しているが、この実施の形態5では、トラフィックに応じて、周波数繰り返しの色数を可変とすることを特徴とする。
例として、クロスオーバーレベルの高い陸域のビームの周波数繰返しを16色、クロスオーバーレベルの低い海域のビームの周波数繰返しを4色とした場合を図9に示している。周波数の繰返しとしては、10色、12色等にすることもできる。
また、トラフィックに応じて、7色→16色→7色→4色、というように、ダイナミックに可変することも可能である。
このように、周波数繰返しをビームに対して可変とすることで、C/I比を改善できるため、ある特定のビームにリソースを割り当てることが可能になる効果がある。
実施の形態6.
図10はこの発明の実施の形態6が適用される衛星搭載用マルチビームアンテナ装置を示す説明図であり、一次放射器であるフィードアレーの素子アンテナの配列図を示しており、図において、符号13は素子間隔を狭めた素子アンテナ、符号14は素子間隔を広げた素子アンテナを示す。
実施の形態1〜5では、フィードアレー用の素子アンテナの素子寸法及び素子間隔は一定としていた。ビーム形成回路と同様に、素子数が増加するに従い、重量も増加する。そこで、この実施の形態6では、重量を低減するために、素子寸法と素子間隔を変えるようにしている。
陸域用素子13は、素子間隔を狭くし、それに対応して素子間隔と同一の素子を配置している。素子間隔が狭くなることでグレーティングローブが抑制され、アンテナ利得を高くすることができる。
一方、海域用素子14は、素子数を減らすために、素子間隔を広げている。素子間隔が広がることで利得は低下する。更に、素子間隔に応じて素子寸法を大きくせずに、素子間のすき間をあけている。素子間隔を広げたことで素子数を削減するだけでなく、素子寸法も制約を加えることで、素子アンテナ自体の重量を低減している。当然、素子間のすき間に伴う更なる利得低下が発生するが、許容される範囲で、素子アンテナを小型化するものとする。
最終的には、重量と利得とのトレードオフにより素子アンテナ寸法を決定すればよいが、陸域と海域では地上端末の利得差は10dB程度あることから、海域でのEOC利得は可能な限り低減した方が、より軽量化を図ることができる。
図11は、図10に示した2種類の素子アンテナを用いてC/I比を解析した結果を示している。2種類の素子を用いても、C/I比が改善されていることがわかる。素子数は、約1/2に削減されているため、重量低減の効果がある。
尚、ここでは、2種類の素子寸法と素子間隔を用いた場合を示したが、2種類以上であっても、効果があることは言うまでもない。
実施の形態7.
上記実施の形態6では、フィードアレーとして、2種類の素子アンテナ用いた例を示したが、更に素子の種類と形状を組合せてフィードアレーを構成することで、性能向上を図ることができる。
図12は、この発明の実施の形態7による2種類の素子形状を用いたフィードアレーを示す説明図である。図において、符号15はパッチアンテナの素子アンテナ、符号16はヘリカルアンテナの素子アンテナである。ヘリカルアンテナ16は、複数個配列されたパッチアンテナ素子15の周囲を取り囲むように、複数個配列される。
素子アンテナは、その素子の種類と形状に対応して、素子アンテナの利得が異なる。
例えば、1素子あたりのアンテナ利得が10dBi以下の素子アンテナを並べる場合、1波長以下の素子間隔にする必要があり、これに適している素子アンテナとしては、パッチアンテナ、カップ付ダイポール、スロットアンテナ、誘電体アンテナなどがある。
一方、10dBiより以上の高い素子利得を持つアンテナの場合は、グレーティングローブは発生するものの、1波長以下で配列するとその配置が物理的に困難になったり、素子間結合量が増加するため、1波長以上素子間隔を広げて配置することも可能である。
この1波長よりも大きな素子間隔に適している素子としては、ヘリカルアンテナや、導波器付のパッチアンテナ、ホーンアンテナ及びホーン形状の素子アンテナ、ショートバックファイアなどがある。これらの素子は、素子アンテナ利得が高いため、1波長よりも大きな素子間隔に適している。
図12はこの種類の異なる素子の組み合わせ例を示し、素子間隔を広げた素子としては円偏波で利得の高いヘリカルアンテナ15を用い、陸域の素子間隔を狭くしたところの素子アンテナとしてはパッチアンテナ16のような平面的なアンテナを用いている。
ここで、全素子にパッチアンテナを用いて素子間隔を広げた場合は、グレーティングローブによる利得低下は大きくなる。しかし、図12に示す例のように、パッチアンテナ15の周囲にヘリカルアンテナ16を配列することで、ビームが絞れ、グレーティングローブによる利得低下が小さくできるため、最適な素子数を選択することでフィードアレー全体としての性能を改善できる効果が得られる。
尚、ここでは、S帯を前提にした例を示したが、より高周波数帯になるに従い、素子アンテナの選択種類が変わることは言うまでもなく、高周波数帯において導波管アンテナやホーンアンテナを用いて素子利得を変えて配置することも可能である。
実施の形態8.
実施の形態7では、海域及び陸域用素子アンテナとして、片偏波のアンテナを用いていたが、陸域用素子アンテナとしては、両偏波を使用することで、ダイバーシチ受信が可能となる。
図13はこの発明の実施の形態8によるダイバーシチ用に2つの給電端子を設けた例を示すであり、図において、符号21は放射素子、符号22は広帯域化のための非励振素子、符号23は一つの給電端子、符号24はもう一つの直交した偏波を励振する給電端子である。
図のように放射素子21に、円周方向に90度の角度ずれをなして配置された2つの給電端子23、24を設け、それぞれの端子を異なる偏波を給電するための給電端子として用いる。放射素子21としてパッチアンテナを用いる場合、給電位置を直交させることで、直交した偏波を容易に励振することができる。
また、片方の端子で励振する場合、円偏波が励振されるように給電回路を構成することで、それと直交する位置から給電することにより、もう片方の円偏波を励振することができる。例えば、給電回路としてハイブリッド回路を用いることで、一つの端子から励振した場合、右旋円偏波が励振し、もう片方の端子から励振することで、左旋円偏波が励振できる。
また、放射素子あるいは非励振素子に凹部などの縮退を設けることで円偏波を励振した場合においても、直交した端子から励振することで一つの円偏波と逆旋円偏波を励振することができる。
このように2つの直線偏波か2つの円偏波を利用することで、ダイバーシチ受信を行うことが可能となり、地上の携帯電話からの微弱な信号の受信レベルを高くすることができる。
尚、ここでは受信ダイバーシチを例に説明したが、送信ダイバーシチについては、2つの偏波の受信信号をモニターすることで、それを送信にフィードバックして、送信ダイバーシチも可能となる。
但し、送信の場合、2つの偏波を有効に利用するためには、時間ダイバーシチを行えばよい。あるいは2つの偏波を同時に送信した場合、合成した一つの偏波を励振させることになるが、位相差を変えることで偏波制御ができる。このため、地上端末アンテナとの整合をとりながら、ダイバーシチを行えばよい。
以上のように、この発明の実施の形態8によるフィードアレー3は、素子間隔を狭めた素子アンテナに2つの偏波を給電できる構成とすることでダイバーシチ受信が可能となる。
実施の形態9.
図14はこの発明の実施の形態9による送信用の端子と受信用の端子を分離した例を示す図であり、図において、符号25は送信用端子、符号26は受信用の片偏波の給電端子、符号27は受信用の直交した偏波の給電端子、符号28は送信用のもう一つの端子である。
送信電力が大きくなると受信周波数へのインターモジュレーションの影響を考慮する必要がある。PIM(Passive Inter Modularion)は、パッシブ機器でありながら、スプリアスが高次モードに生じる非線形動作によりインターモジュレーションが発生したものであり、通信において、受信波に大きなダメージを与える。これを抑圧するためには、PIMが発生しないように給電回路を注意深く設計する必要がある。これを回避する手段として、送信と受信の給電回路を分離することで、不要なPIMの発生を低減することができる。
パッチアンテナの場合、一つの給電点に対して、パッチ導体の中心に点対称な位置から給電しても励振することができる。但し、位相は180度異なる。ここで、対称な位置の片方は送信用、もう片方は受信用とすれば、同じモードを励振しながら、送受信の給電端子を分離することができる。送信用と受信用の給電回路は異なるため、上記位相差180度は、給電回路にて別々に補正すればよい。更に、受信用の端子としては、上記ダイバーシチ用の直交した偏波用の給電端子を設けておくことで、実施の形態8と同じくダイバーシチ受信ができる。送信用のもう一つの端子28は、受信同様に、ダイバーシチ、あるいは偏波制御を行うことができる。
以上のように、この発明の実施の形態9によるフィードアレー3は、送信用の端子と受信用の端子を分離することで、給電部で発生するPIMを低減できる効果がある。
この発明の実施の形態1が適用されるマルチビーム通信システムのビーム配置を示す図である。 マルチビーム通信システムにて2種類のビーム配置を行った場合のビームの干渉を示す図である。 この発明の実施の形態1による特定のカバレッジエリアの利得を高くし、同一周波数干渉が少ない2種類のビーム配置を示す図である。 この発明の実施の形態2によるビーム径の異なる2種類のビーム配置を示す図である。 この発明の実施の形態3による複雑なカバレッジエリアに対応して効率的なビーム径の異なる2種類のビーム配置を示す図である。 この発明の実施の形態4によるビーム間干渉を低減したビーム径の異なる2種類のビーム配置を示す図である。 この発明の実施の形態4によるクロスオーバーレベルを変えた場合のビームカット面を示す説明図である。 この発明の実施の形態4によるC/I比の解析結果を示す図である。 この発明の実施の形態5による周波数の繰返しを2種類のビームで変えた場合のビーム配置例を示す説明図である。 この発明の実施の形態6による2種類の素子間隔を用いたフィードアレーを示す説明図である。 この発明の実施の形態6による2種類の素子間隔を用いたフィードアレーによるC/I比の解析結果を示す説明図である。 この発明の実施の形態7による2種類の素子形状を用いたフィードアレーを示す説明図である。 この発明の実施の形態8による偏波ダイバーシチを行う素子アンテナの構成を示す図である。 この発明の実施の形態9による送信と受信の給電端子を分離した素子アンテナの構成を示す図である。
符号の説明
1 リフレクタ(大型展開アンテナ)、2 フィードアレー、3 マルチビーム、4 第1のビーム配列、5 第2のビーム配列、7 第2のビームのビーム径、9 第1のビームのビーム径、10 第1のビームのビーム幅、11 第2のビーム配列、12 周波数繰返しの異なる第1のビーム配列、13 素子間隔の狭い素子アンテナ、14 素子間隔を広げた素子アンテナ、15 パッチアンテナ、16 ヘリカルアンテナ、21 放射素子、22 非励振素子、23 片偏波の給電端子、24 直交する偏波の給電端子、25 送信用給電端子、26 受信用片偏波の給電端子、27 受信用直交する偏波の給電端子、28 送信用直交偏波の給電端子、40 ビーム制御器。

Claims (9)

  1. 複数のビームを放射するフィードアレーと、
    前記フィードアレーから放射された複数のビームを、地上のカバレッジエリアに向けて反射しマルチビームを形成するリフレクタと、
    前記フィードアレーから放射される複数のビームの周波数を制御するビーム制御器とを備え、
    前記フィードアレーは、複数個の第1のビームと、第1のビームよりもビーム径が小さい複数個の第2のビームを形成し、
    前記第1のビームは、前記カバレッジエリアを覆うように、周波数繰り返しを行いながら複数個配列され、
    前記第2のビームは、前記カバレッジエリア内で前記第1のビームに周囲を囲まれて配置され、少なくとも前記第1のビームのビーム径に相当する大きさを有したエリア内に、それぞれが周波数繰返しを行いながら複数個配列された、
    ことを特徴とする衛星搭載用マルチビームアンテナ装置。
  2. 前記第2のビームが周期的に周波数繰り返しを行いながら、前記第2のビームが同一周波数を有する前記第1のビームと隣接しないように連続的に配置されるとともに、
    前記第1のビームを通信トラフィックが高い地上のカバレッジエリアに配置し、
    前記第2のビームを通信トラフィックが低い地上のカバレッジエリアに配置したことを特徴とする請求項1記載の衛星搭載用マルチビームアンテナ装置。
  3. 前記第1、第2のビームにおける長手方向のビーム配列軸を、赤道軸に対して、略斜め40度になるように配置したことを特徴とする請求項1または請求項2記載の衛星搭載用マルチビームアンテナ装置。
  4. 前記第1のビームにおける隣接するビーム間のクロスオーバーレベルを−1乃至−3dBと高くし、前記第2のビームにおける隣接するビーム間のクロスオーバーレベルを−3乃至−10dBと低くしたことを特徴とする請求項1から請求項3の何れか1項記載の衛星搭載用マルチビームアンテナ装置。
  5. 前記第1のビームの周波数繰返し数と、前記第2のビームの周波数繰返し数を異なるものとしたことを特徴とする請求項第1から請求項4の何れか1項記載の衛星搭載用マルチビームアンテナ装置。
  6. 前記フィードアレーは、素子寸法と素子間隔の異なる2種類以上の素子アンテナを配列して構成されることを特徴とする請求項1から請求項5の何れか1項記載の衛星搭載用マルチビームアンテナ装置。
  7. 前記フィードアレーは、素子形状の異なる2種類以上の素子アンテナを配列して構成されることを特徴とする請求項1から請求項6記載の衛星搭載用マルチビームアンテナ装置。
  8. 前記フィードアレーは、第1のビームを形成する素子アンテナ及び第1のビームのビーム形成に関与する素子アンテナの一部に、片偏波の円偏波を有する素子アンテナを配置し、第2のビームを形成する素子アンテナ及び第2のビームのビーム形成に関与する素子アンテナの一部に、両偏波を有する素子を配列し、
    前記第2のビームは、両偏波を合成してダイバーシチアンテナとして用いられることを特徴とする、請求項第1から請求項7の何れか1項記載の衛星搭載用マルチビームアンテナ装置。
  9. 前記第2のビームを形成する素子アンテナ及び第2のビームのビーム形成に関与する素子アンテナの一部に、送信用と受信用の端子を分けた給電端子を有することを特徴とする請求項1から請求項8の何れか1項記載の衛星搭載用マルチビームアンテナ装置。
JP2008196393A 2008-07-30 2008-07-30 衛星搭載用マルチビームアンテナ装置 Expired - Fee Related JP5195126B2 (ja)

Priority Applications (1)

Application Number Priority Date Filing Date Title
JP2008196393A JP5195126B2 (ja) 2008-07-30 2008-07-30 衛星搭載用マルチビームアンテナ装置

Applications Claiming Priority (1)

Application Number Priority Date Filing Date Title
JP2008196393A JP5195126B2 (ja) 2008-07-30 2008-07-30 衛星搭載用マルチビームアンテナ装置

Publications (2)

Publication Number Publication Date
JP2010034969A true JP2010034969A (ja) 2010-02-12
JP5195126B2 JP5195126B2 (ja) 2013-05-08

Family

ID=41738930

Family Applications (1)

Application Number Title Priority Date Filing Date
JP2008196393A Expired - Fee Related JP5195126B2 (ja) 2008-07-30 2008-07-30 衛星搭載用マルチビームアンテナ装置

Country Status (1)

Country Link
JP (1) JP5195126B2 (ja)

Cited By (6)

* Cited by examiner, † Cited by third party
Publication number Priority date Publication date Assignee Title
WO2016201139A1 (en) 2015-06-09 2016-12-15 SEAKR Engineering, Inc. Leo flexible single axis beamforming
WO2017145379A1 (ja) * 2016-02-26 2017-08-31 三菱電機株式会社 アンテナ装置
JP2019140511A (ja) * 2018-02-09 2019-08-22 三菱電機株式会社 アンテナ装置
CN114978269A (zh) * 2022-06-02 2022-08-30 中国科学院计算技术研究所 一种用于卫星通信的多点波束区域规划方法及系统
CN115459811A (zh) * 2022-11-14 2022-12-09 西安空间无线电技术研究所 基于多波束馈源阵排布的波束优化方法及装置
CN118400023A (zh) * 2024-06-26 2024-07-26 四川创智联恒科技有限公司 波宽确定方法、装置、电子设备及存储介质

Citations (8)

* Cited by examiner, † Cited by third party
Publication number Priority date Publication date Assignee Title
JPS63204902A (ja) * 1987-02-20 1988-08-24 Radio Res Lab 交差偏波抑圧方式
JPH03158006A (ja) * 1989-11-15 1991-07-08 Toshiba Corp 衛星通信方式
JPH04151905A (ja) * 1990-10-15 1992-05-25 Uchu Tsushin Kiso Gijutsu Kenkyusho:Kk 衛星搭載用マルチビームアンテナ
JPH10257550A (ja) * 1997-03-07 1998-09-25 Mitsubishi Electric Corp 無線ゾーン構成方法および無線通信システム
JP2000216631A (ja) * 1999-01-26 2000-08-04 Mitsubishi Electric Corp マルチビ―ムアンテナ
JP2003163536A (ja) * 2001-11-28 2003-06-06 Mitsubishi Electric Corp マルチビームアンテナ
JP2004349886A (ja) * 2003-05-20 2004-12-09 Mitsubishi Electric Corp アンテナ装置
JP2004363801A (ja) * 2003-06-03 2004-12-24 Nippon Hoso Kyokai <Nhk> アレーアンテナ給電装置及びそれを用いたアレーアンテナシステム並びに可変ビームパターン放送衛星

Patent Citations (8)

* Cited by examiner, † Cited by third party
Publication number Priority date Publication date Assignee Title
JPS63204902A (ja) * 1987-02-20 1988-08-24 Radio Res Lab 交差偏波抑圧方式
JPH03158006A (ja) * 1989-11-15 1991-07-08 Toshiba Corp 衛星通信方式
JPH04151905A (ja) * 1990-10-15 1992-05-25 Uchu Tsushin Kiso Gijutsu Kenkyusho:Kk 衛星搭載用マルチビームアンテナ
JPH10257550A (ja) * 1997-03-07 1998-09-25 Mitsubishi Electric Corp 無線ゾーン構成方法および無線通信システム
JP2000216631A (ja) * 1999-01-26 2000-08-04 Mitsubishi Electric Corp マルチビ―ムアンテナ
JP2003163536A (ja) * 2001-11-28 2003-06-06 Mitsubishi Electric Corp マルチビームアンテナ
JP2004349886A (ja) * 2003-05-20 2004-12-09 Mitsubishi Electric Corp アンテナ装置
JP2004363801A (ja) * 2003-06-03 2004-12-24 Nippon Hoso Kyokai <Nhk> アレーアンテナ給電装置及びそれを用いたアレーアンテナシステム並びに可変ビームパターン放送衛星

Non-Patent Citations (1)

* Cited by examiner, † Cited by third party
Title
JPN6012040535; 大嶺 裕幸,藪下 剛: 'クロスオーバーレベル可変による衛星マルチビームアンテナの検討' 電子情報通信学会技術研究報告 A・P, アンテナ・伝播 108(30), 20080508, 53-58, 一般社団法人電子情報通信学会 *

Cited By (9)

* Cited by examiner, † Cited by third party
Publication number Priority date Publication date Assignee Title
WO2016201139A1 (en) 2015-06-09 2016-12-15 SEAKR Engineering, Inc. Leo flexible single axis beamforming
EP3308475A4 (en) * 2015-06-09 2019-01-16 Seakr Engineering, Inc. LEO-FLEXIBLE UNIQUE BEAM FORMATION
WO2017145379A1 (ja) * 2016-02-26 2017-08-31 三菱電機株式会社 アンテナ装置
JP6250255B1 (ja) * 2016-02-26 2017-12-20 三菱電機株式会社 アンテナ装置
JP2019140511A (ja) * 2018-02-09 2019-08-22 三菱電機株式会社 アンテナ装置
CN114978269A (zh) * 2022-06-02 2022-08-30 中国科学院计算技术研究所 一种用于卫星通信的多点波束区域规划方法及系统
CN114978269B (zh) * 2022-06-02 2025-06-27 中国科学院计算技术研究所 一种用于卫星通信的多点波束区域规划方法及系统
CN115459811A (zh) * 2022-11-14 2022-12-09 西安空间无线电技术研究所 基于多波束馈源阵排布的波束优化方法及装置
CN118400023A (zh) * 2024-06-26 2024-07-26 四川创智联恒科技有限公司 波宽确定方法、装置、电子设备及存储介质

Also Published As

Publication number Publication date
JP5195126B2 (ja) 2013-05-08

Similar Documents

Publication Publication Date Title
US9438278B2 (en) Multi-array antenna
US5872547A (en) Conical omni-directional coverage multibeam antenna with parasitic elements
US6172654B1 (en) Conical omni-directional coverage multibeam antenna
US7558568B2 (en) Systems and methods for modifying antenna radiation patterns of peripheral base stations of a terrestrial network to allow reduced interference
US8265637B2 (en) Systems and methods for modifying antenna radiation patterns of peripheral base stations of a terrestrial network to allow reduced interference
US6268828B1 (en) Cylindrical antenna coherent feed system and method
JP5613939B2 (ja) マルチビームを生じるための、共用給電部を備えるアンテナ
US7382743B1 (en) Multiple-beam antenna system using hybrid frequency-reuse scheme
US20040157645A1 (en) System and method of operation an array antenna in a distributed wireless communication network
CN112290989B (zh) 一种星地通信的方法及装置
JP5195126B2 (ja) 衛星搭載用マルチビームアンテナ装置
US20050164664A1 (en) Dynamically reconfigurable wireless networks (DRWiN) and methods for operating such networks
US10511378B2 (en) Hybrid analog/digital beam forming rain fade mitigation
ES2922130T3 (es) Procedimiento de cobertura multihaz mediante la agrupación de haces elementales del mismo color, y carga útil de telecomunicaciones para implementar dicho procedimiento
US10499256B2 (en) Approaches for increasing coverage-area of spot beams in a wireless communications system
US20170237182A1 (en) Antenna with beamwidth reconfigurable circularly polarized radiators
Fenech et al. The role of array antennas in commercial telecommunication satellites
JP4954099B2 (ja) 衛星搭載用マルチビームアンテナ装置
Salas-Natera et al. On the design of HAPs high throughput and flexible 5G communication payloads
US10887004B2 (en) Telecommunications satellite, beamforming method and method for manufacturing a satellite payload
EP3424157A2 (en) Approaches for achieving improved capacity plans for a satellite communications system via interleaved beams from multiple satellites
US7013137B2 (en) Smaller aperture antenna for multiple spot beam satellites
Yun et al. Multibeam reflector antenna fed by few elements for Ka-band communication satellite
WO2004082070A1 (en) System and method of operation of an array antenna in a distributed wireless communication network
JP3634047B2 (ja) 移動体sng用グレーティングローブキャンセルアンテナ

Legal Events

Date Code Title Description
A621 Written request for application examination

Free format text: JAPANESE INTERMEDIATE CODE: A621

Effective date: 20110526

A977 Report on retrieval

Free format text: JAPANESE INTERMEDIATE CODE: A971007

Effective date: 20120709

A131 Notification of reasons for refusal

Free format text: JAPANESE INTERMEDIATE CODE: A131

Effective date: 20120807

A521 Request for written amendment filed

Free format text: JAPANESE INTERMEDIATE CODE: A523

Effective date: 20120920

A131 Notification of reasons for refusal

Free format text: JAPANESE INTERMEDIATE CODE: A131

Effective date: 20121030

A521 Request for written amendment filed

Free format text: JAPANESE INTERMEDIATE CODE: A523

Effective date: 20121129

TRDD Decision of grant or rejection written
A01 Written decision to grant a patent or to grant a registration (utility model)

Free format text: JAPANESE INTERMEDIATE CODE: A01

Effective date: 20130108

A61 First payment of annual fees (during grant procedure)

Free format text: JAPANESE INTERMEDIATE CODE: A61

Effective date: 20130121

FPAY Renewal fee payment (event date is renewal date of database)

Free format text: PAYMENT UNTIL: 20160215

Year of fee payment: 3

R151 Written notification of patent or utility model registration

Ref document number: 5195126

Country of ref document: JP

Free format text: JAPANESE INTERMEDIATE CODE: R151

FPAY Renewal fee payment (event date is renewal date of database)

Free format text: PAYMENT UNTIL: 20160215

Year of fee payment: 3

R250 Receipt of annual fees

Free format text: JAPANESE INTERMEDIATE CODE: R250

R250 Receipt of annual fees

Free format text: JAPANESE INTERMEDIATE CODE: R250

R250 Receipt of annual fees

Free format text: JAPANESE INTERMEDIATE CODE: R250

R250 Receipt of annual fees

Free format text: JAPANESE INTERMEDIATE CODE: R250

R250 Receipt of annual fees

Free format text: JAPANESE INTERMEDIATE CODE: R250

R250 Receipt of annual fees

Free format text: JAPANESE INTERMEDIATE CODE: R250

R250 Receipt of annual fees

Free format text: JAPANESE INTERMEDIATE CODE: R250

R250 Receipt of annual fees

Free format text: JAPANESE INTERMEDIATE CODE: R250

LAPS Cancellation because of no payment of annual fees