JP2010033565A - ビデオ画像のレイアウトエリアの検出方法及び該方法を用いた縮小画像の生成方法 - Google Patents

ビデオ画像のレイアウトエリアの検出方法及び該方法を用いた縮小画像の生成方法 Download PDF

Info

Publication number
JP2010033565A
JP2010033565A JP2009154368A JP2009154368A JP2010033565A JP 2010033565 A JP2010033565 A JP 2010033565A JP 2009154368 A JP2009154368 A JP 2009154368A JP 2009154368 A JP2009154368 A JP 2009154368A JP 2010033565 A JP2010033565 A JP 2010033565A
Authority
JP
Japan
Prior art keywords
saliency
area
maximum
image
areas
Prior art date
Legal status (The legal status is an assumption and is not a legal conclusion. Google has not performed a legal analysis and makes no representation as to the accuracy of the status listed.)
Granted
Application number
JP2009154368A
Other languages
English (en)
Other versions
JP5399790B2 (ja
Inventor
Christel Chamaret
シャマレ クリステル
Olivier Le Meur
ル ムール オリヴィエ
Jean-Claude Chevet
シュヴェ ジャン−クロード
Current Assignee (The listed assignees may be inaccurate. Google has not performed a legal analysis and makes no representation or warranty as to the accuracy of the list.)
Thomson Licensing SAS
Original Assignee
Thomson Licensing SAS
Priority date (The priority date is an assumption and is not a legal conclusion. Google has not performed a legal analysis and makes no representation as to the accuracy of the date listed.)
Filing date
Publication date
Application filed by Thomson Licensing SAS filed Critical Thomson Licensing SAS
Publication of JP2010033565A publication Critical patent/JP2010033565A/ja
Application granted granted Critical
Publication of JP5399790B2 publication Critical patent/JP5399790B2/ja
Active legal-status Critical Current
Anticipated expiration legal-status Critical

Links

Images

Classifications

    • GPHYSICS
    • G06COMPUTING OR CALCULATING; COUNTING
    • G06TIMAGE DATA PROCESSING OR GENERATION, IN GENERAL
    • G06T3/00Geometric image transformations in the plane of the image
    • G06T3/04Context-preserving transformations, e.g. by using an importance map
    • GPHYSICS
    • G06COMPUTING OR CALCULATING; COUNTING
    • G06TIMAGE DATA PROCESSING OR GENERATION, IN GENERAL
    • G06T7/00Image analysis
    • GPHYSICS
    • G06COMPUTING OR CALCULATING; COUNTING
    • G06TIMAGE DATA PROCESSING OR GENERATION, IN GENERAL
    • G06T7/00Image analysis
    • G06T7/10Segmentation; Edge detection
    • G06T7/11Region-based segmentation
    • GPHYSICS
    • G06COMPUTING OR CALCULATING; COUNTING
    • G06TIMAGE DATA PROCESSING OR GENERATION, IN GENERAL
    • G06T7/00Image analysis
    • G06T7/40Analysis of texture
    • GPHYSICS
    • G06COMPUTING OR CALCULATING; COUNTING
    • G06VIMAGE OR VIDEO RECOGNITION OR UNDERSTANDING
    • G06V20/00Scenes; Scene-specific elements
    • G06V20/40Scenes; Scene-specific elements in video content
    • G06V20/41Higher-level, semantic clustering, classification or understanding of video scenes, e.g. detection, labelling or Markovian modelling of sport events or news items
    • G06V20/42Higher-level, semantic clustering, classification or understanding of video scenes, e.g. detection, labelling or Markovian modelling of sport events or news items of sport video content
    • GPHYSICS
    • G06COMPUTING OR CALCULATING; COUNTING
    • G06VIMAGE OR VIDEO RECOGNITION OR UNDERSTANDING
    • G06V20/00Scenes; Scene-specific elements
    • G06V20/60Type of objects
    • G06V20/62Text, e.g. of license plates, overlay texts or captions on TV images
    • GPHYSICS
    • G06COMPUTING OR CALCULATING; COUNTING
    • G06TIMAGE DATA PROCESSING OR GENERATION, IN GENERAL
    • G06T2207/00Indexing scheme for image analysis or image enhancement
    • G06T2207/10Image acquisition modality
    • G06T2207/10016Video; Image sequence
    • GPHYSICS
    • G06COMPUTING OR CALCULATING; COUNTING
    • G06TIMAGE DATA PROCESSING OR GENERATION, IN GENERAL
    • G06T2207/00Indexing scheme for image analysis or image enhancement
    • G06T2207/20Special algorithmic details
    • G06T2207/20112Image segmentation details
    • G06T2207/20132Image cropping
    • GPHYSICS
    • G06COMPUTING OR CALCULATING; COUNTING
    • G06TIMAGE DATA PROCESSING OR GENERATION, IN GENERAL
    • G06T2207/00Indexing scheme for image analysis or image enhancement
    • G06T2207/20Special algorithmic details
    • G06T2207/20112Image segmentation details
    • G06T2207/20164Salient point detection; Corner detection
    • GPHYSICS
    • G06COMPUTING OR CALCULATING; COUNTING
    • G06VIMAGE OR VIDEO RECOGNITION OR UNDERSTANDING
    • G06V2201/00Indexing scheme relating to image or video recognition or understanding
    • G06V2201/09Recognition of logos

Landscapes

  • Engineering & Computer Science (AREA)
  • Physics & Mathematics (AREA)
  • General Physics & Mathematics (AREA)
  • Theoretical Computer Science (AREA)
  • Computer Vision & Pattern Recognition (AREA)
  • Multimedia (AREA)
  • Computational Linguistics (AREA)
  • Software Systems (AREA)
  • Image Analysis (AREA)
  • Processing Or Creating Images (AREA)
  • Studio Circuits (AREA)
  • Two-Way Televisions, Distribution Of Moving Picture Or The Like (AREA)

Abstract

【課題】従来技術の問題のすべてまたは一部を解消するソリューションを提供することである。
【解決手段】本発明は、ソース画像中の、ロゴ及び/またはスコアなどの少なくとも1つのレイアウトを含むレイアウトエリアと呼ばれる少なくとも1つのエリアの自動検出方法に関する。本発明では、ソース画像のレイアウトエリアを、その画像画素の顕著性を用いて検出する。検出はソース画像顕著性マップの特定のエリアで行う。通常は、画像の隅に対応するエリア、または画像の上部及び下部の帯状領域に対応するエリアで行う。これらのエリアでは、顕著性値が最大で互いに少なくともp点だけ離れた2つの点を探す。この2つの点はレイアウトエリアの始めと終わりに対応する。この2つの点を囲むウィンドウがレイアウトエリアに対応する。
【選択図】図1

Description

本発明は、ビデオ画像中のロゴ及び/またはスコア等のレイアウトエリアの検出と、ソース画像からの縮小画像の生成とに関する。
ビデオ画像中のレイアウトエリアの検出方法が知られている。第1の方法は非特許文献1に記載されている。この方法は、画像シーケンス中で変化しない画像エリアを検出するものである。レイアウトを含む画像エリアを除き、画像の内容は時間的に変化するという仮説に基づく。レイアウト検出に用いるアルゴリズムは、画像ごとの違いに基づき、画像間の違いがゼロであるか、またはゼロに近い画素はレイアウトの一部を構成すると考える。この方法の第1の問題は、この方法は動きがほとんど、またはまったく無いシーンには適さないことである。第2の問題は、実施するためには、連続する複数の画像を分析しなければならないことである。
知られている第2の方法は非特許文献2に記載されている。この文献では、レイアウト検出は輪郭の検出に基づき、連続する複数の画像を前処理する必要がある。
最後に、知られている第3の方法は、処理する画像中の視覚的コンテンツを所定のレイアウトベースと比較するものである。画像エリアの視覚的コンテンツを、ベースに含まれる各レイアウトの視覚的コンテンツと比較する。視覚的コンテンツが、テストされるエリアの視覚的コンテンツと同じとき、レイアウトが検出される。この方法では、ベースに含まれるレイアウトのみを検出でき、検出するロゴを予め知っていないとならない。
K. Meisinger, T. Troeger, M. Zellerand A. Kaup著「Automatic logo removal using statistical based logo detection andfrequency selective inpainting」(Proc. European Signal Processing Conference,September 2005) A. Reis dos Santos and H. Yong Kim著「Real-time opaqueand semi-transparent TV logos detection」(Proc. 5th International Informationand Telecommunication Technologies Symposium, 2006)
本発明の目的は、上記の問題のすべてまたは一部を解消するソリューションを提供することである。
本発明では、ソース画像中のレイアウトの検出を、前記ソース画像の顕著性マップにより行う。顕著性マップは視覚的注意モデルにより生成される。
この目的のため、本発明は、ソース画像中の、ロゴ及び/またはスコアなどの少なくとも1つのレイアウトを含むレイアウトエリアと呼ばれる少なくとも1つのエリアの自動検出方法を提案するものである。該方法は、前記ソース画像の顕著性マップであって前記ソース画像の各画素に顕著性値を有する顕著性点を関連付ける顕著性マップを、視覚的注意モデルを用いて生成する段階と、前記顕著性マップから、前記ソース画像中の前記少なくとも1つのレイアウトエリアを決定する段階とを含むことを特徴とする。
このように、検出は単一のソース画像により行われ、検出するレイアウトに関する事前の知識を必要としない。
本発明の特徴によると、ソース画像中のレイアウトエリアを決定する段階は、a)検索エリアと呼ぶ前記顕著性マップの少なくとも1つの所定のエリア内を検索して、前記顕著性マップの最大顕著性値と同じ、またはほぼ同じ顕著性値を有し、少なくともp点だけ離れた2つの点を探し、顕著性が最大である2つの点の各々に対して、顕著性が最大となる点を囲む最大顕著性エリアを画成する段階と、b)2つの最大顕著性エリアを囲む、2つの最大顕著性エリアを含む各検索エリアの囲みウィンドウというウィンドウであって前記ソースビデオ画像中のレイアウトエリアに対応する顕著性マップ中に画成された囲みウィンドウを画成する段階とを含む。
第1の実施形態によると、レイアウトは一般的にソース画像の隅のエリアに配置されるので、検索エリアは、ソース画像の隅のソース画像エリアに対応する顕著性マップ中の所定サイズの少なくとも1つのエリアを含む。
好ましくは、mを2ないし4として、前記少なくとも1つの検索エリアは、前記顕著性マップの所定サイズのm個のエリアを含み、各エリアは前記ソース画像の隅に配置されたソース画像エリアに対応する。
第2の実施形態によると、上記方法の段階a)は、nを2以上とし、qをn+1より大きいとして、前記顕著性マップのn個の所定の検索エリアを検索して、前記顕著性マップの最大顕著性に等しい、またはほぼ等しい顕著性値を有し、互いに少なくともp点の距離にあるq個の点を探し、そのq個の最大顕著性点の各々の前記最大顕著性点を囲むエリアである最大顕著性エリアを画成する段階と、前記q個の最大顕著性エリアから、少なくとも1つの所定の基準を満たす2つの最大顕著性エリアを選択する段階とを含む。
nが2の場合、2つの検索エリアは、ソース画像の上部及び下部の所定幅の2つの帯状領域に対応する顕著性マップのエリアであり、これら2つの検索エリアにおいて少なくとも3つの最大顕著性点を検索する。
この第2の実施形態では、選択される前記2つの最大顕著性エリアは次の基準のうち少なくとも1つを満たす、
−前記2つの最大顕著性エリアを含む最小四角形の高さが最大高さより小さい、
−前記2つの最大顕著性エリアを含む最小四角形の面積が最大面積より小さい、及び
−前記顕著性マップの中心と前記2つの最大顕著性エリアの各々との間の距離が最小距離より大きい。
さらに、最大顕著性点に対して画成された最大顕著性エリアは、有利にも、前記最大顕著性点を中心とする所定半径の円である。
本発明は、ソース画像から縮小サイズ画を得を生成できる、ソース画像の処理方法にも関する。該方法は、上記の自動レイアウト検出方法によりレイアウトエリアの自動検出する段階と、前記レイアウトエリアの自動検出のために生成された前記顕著性マップと前記検出されたレイアウトエリアとに基づき前記ソース画像から縮小サイズ画像を生成する段階とを含む。
一実施形態では、縮小サイズ画像を生成するために用いられる前記顕著性マップにおいて、前記自動レイアウトエリア検出方法により決定された前記囲みウィンドウに含まれる点をゼロに設定する。このように、ソース画像レイアウトエリアは、視聴者の関心領域ではなく、縮小画像の決定に影響しない。
前記の実施形態と組み合わせできる他の実施形態では、上記のレイアウトエリア自動検出方法により決定した囲みウィンドウに含まれる点に対応する画素を含まないように、縮小サイズ画像を生成する。
添付した図面を参照して本発明の好ましい実施形態の詳細な説明を読めば、本発明をよく理解でき、その目的、詳細、特徴、利点などが明らかとなるであろう。
本発明の第1の実施形態による検出方法を示す図である。 本発明の第2の実施形態による検出方法を示す図である。 第2の実施形態のステップS′3で用いる、ステップS′2で画成された3つの最大顕著性エリアのうち2つのみを保持する基準を示す図である。 知られている方法によるソース画像から縮小画像の生成を示す図である。 図4Aと比較される、本発明の方法による、同一ソース画像から縮小画像の生成を示す図である。
本発明では、ソース画像のレイアウトエリアを、その画像の顕著性マップ(saliency
map)から決定する。顕著性マップの同一領域に2つの最大顕著性エリア(maximum salience areas)を検出し、第1の最大顕著性エリアがレイアウトの始まりに対応し、第2の最大顕著性エリアがレイアウトの終わりに対応するとき、レイアウトが検出される。
以下の説明では、レイアウトとはソース画像(source image)に付加または埋め込まれた任意の情報を指し、例えばロゴ(logo)、時間または時刻に関する情報、スポーツイベントに関する画像の場合のスコアなどである。
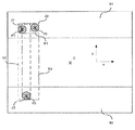
図1は、本発明の第1の実施形態によるステップを示す図である。処理するソース画像はサッカーの試合から取った画像である。この画像にはサッカー選手とその近くにサッカーボールが写っている。画像の左上には試合のスコアが表示され、右上にはこのサッカーの試合を再送しているテレビチャンネルを識別するAF1というロゴが表示されている。
ステップS1において、視覚的注意モデル(visual attention model)を用いてソース画像の顕著性マップ(saliency
map)を生成する。顕著性マップの生成は欧州特許第1,685,288号に記載されている。この顕著性マップは、ソース画像の各画素に、画像画素の知覚的関心(perceptual
interest of the image pixel)の関数である顕著性値を関連づけるものである。画像画素の知覚的関心が高いほど、顕著性値は高くなる。例えば、顕著性値は規格化され、0ないし255である。顕著性マップにおいて、顕著性は、ソース画像の画素と同じ空間座標を有し、その画素の顕著性値に比例するグレーレベルを有する点で表される。顕著性マップ上の最も明るい点は、ソース画像の最も顕著な点を表している。これらの点は、画像中のコントラストが強いエリアに対応している。図1に示した例では、最も明るい点は、プレーヤ、ボール、試合スコア、及びロゴを表す画像エリアにあることが分かる。
次のステップS2において、顕著性マップの所定の少なくとも1つの(検索エリアと呼ぶ)エリアにおいて、顕著性マップの最大顕著性値と等しいまたはほぼ等しい顕著性値を有し、少なくとも「p」だけ離れた2つの点を探す。この2つの点は、以下の説明では最大顕著性点と呼ぶ。複数の検索エリアで検索をするとき、各エリアにおいて2つの最大顕著性点を検索する。規格化された値が0と255の間の顕著性マップでは、少なくとも「p」個の点だけ離れた、顕著性値が255、または255でなくても255に近い、好ましくは250ないし255である2つの点を検索する。これらの2つの点は、両方が同じレイアウトエリアの始めまたは終わりに対応しないようにするため、少なくとも「p」個の点だけ離れていなければならない。数「p」はソース画像の大きさに応じて変化し得る。例えば、360×240画素の画像や352×288画素の画像の場合、25である。
この実施形態では、検索エリアは、有利にも、レイアウトがある確率が高いソース画像の隅のエリアに対応する、顕著性マップの所定の大きさのエリアである。図1の例では、検索エリアは、ソース画像の左右の隅にある2つの四角形エリアに対応する、顕著性マップのエリアである。有利にも、ソース画像の4つの隅に対応する、顕著性マップのエリアで検索を行う。
各検索エリアでは、例えば左から右へ、上から下へ、そのエリアをスキャンすることにより検索を行う。最初に検索エリアをスキャンして、このエリアの最大顕著性値を確認する。この値は255であるか、または255に近く、レイアウトエリアの始めまたは終わりに対応していなければならない。この値は250より大きい方が好ましい。かかる値がなければ、この検索エリアではレイアウトエリアは検出されず、必要に応じて次の検索エリアを検討する。255に近い顕著性値が見つかると、2回目のスキャンを行い、最大顕著性値を有する検索エリアの点を検索する。かかる点を検出するたびに、その点を選択し、選択した点の周りの点を抑制(inhibit)する。例えば、選択した点を中心とする(「p」個の点と等しい)半径Rの円に属する点を抑制(inhibit)する。抑制された点を無視してスキャンを続け、最大顕著性値を有する顕著性マップの他の点を同様に選択する。このスキャンにより2つの点が選択されないとき、最大顕著性値をデクリメント(decrement)して、2つの最大顕著性点が選択されるまでスキャンを行う。デクリメントした最大顕著性値が250より小さくなると、スキャンを中止する。2つの点が選択されていなければ、次の検索エリアを検討する。
選択された2つの点の各点の周りに、最大顕著性エリアを画成する。有利にも、選択された点に対して、このエリアは前に画成された抑制エリア(inhibited area)、すなわち選択された点を中心とする半径Rの円に対応する。画成された最大顕著性エリアの外にある点の顕著性値をゼロに設定する。
各検索エリアに対して、2つまでの最大顕著性エリアを求める。図1の例では、ソース画像の上側の両隅にある検索エリアで、最大顕著性エリアを検出した。
次のステップS3において、2つの最大県庁性エリアを含む各検索エリアに、2つの最大顕著性エリアを囲むウィンドウを画成する。xとyが顕著性マップの水平及び垂直の軸を示すとすると、このウィンドウは、x軸に平行な2辺を有し、y軸に平行な2辺を有し、選択した2つのエリアを囲む最小の四角形であることが好ましい。本発明では、顕著性マップ中の対応する点がこの囲みウィンドウ(bounding window)に入るソース画像の画素は、ソース画像中のレイアウトエリアに属すると考える。
図2は、本発明の第2の実施形態によるステップを示す図である。処理するソース画像は南フランスの地理的マップである。画像の左下隅に放送しているテレビチャンネルのAF1というロゴがある。ステップS′1において、第1の実施形態のステップS1で説明したように、視覚的注意モデルを用いて画像の顕著性マップを生成する。図2の例では、顕著性マップの最も顕著な点は、ロゴ、画像に含まれるテキスト、及び地理的マップの色が異なるゾーン間の境界に対応するエリアである。
次のステップS′2において、顕著性マップの所定の2つの検索エリアにおいて、3つの最大顕著性エリアを検索する。図2に示した例では、所定の幅を有する、顕著性マップの上部と下部にある2つの帯状領域(band)で検索を行う。第1の実施形態のステップS2に示したように、この検索は、例えば、左から右へ、上から下へ、顕著性マップの2つの帯状領域をスキャンすることにより行う。1回目に2つの帯状領域帯状をスキャンして、2つの帯状領域の最大顕著性値を求める。この値は255であるか、255でなければ255に近く、例えば250と255の間である。かかる値がなければ、レイアウトエリアは検出されない。255に近い顕著性値があれば、2つの帯状領域をまたスキャンして、顕著性値が最大となる点を検索する。かかる点を検出するたびに、その点を選択し、選択した点の周りの点を抑制(inhibit)する。例えば、選択した点を中心とする半径Rの円に含まれる点を抑制(inhibit)する。2つの帯状領域のスキャンを、抑制した点を無視して継続し、顕著性値が最大となる他の2つの点があればそれを選択する。このスキャンにより3つの点が選択されないとき、最大顕著性値をデクリメント(decrement)して、3つの顕著性が最大となる点(three
maximum salience points)が選択されるまで他のスキャンを行う。
選択された3つの点の各点の周りに、最大顕著性エリアを画成する。有利にも、選択された点に対して、このエリアは前に画成された抑制エリア(inhibited area)、すなわち選択された点を中心とする半径Rの円に対応する。画成された最大顕著性エリアの外にある点の顕著性値をゼロに設定する。
図2の例では、最大顕著性エリアのうち1つが顕著性マップの上側の帯状領域にあり、他の2つが下側の帯状領域にある。
次のステップS′3において、3つの最大顕著性エリアのうち1つを削除する。このステップは、レイアウトの始めと終わりに当たる2つの最大顕著性エリアを保存するためである。3つめのエリアは一般的には見かけ上のものである。このステップでは、3つの最大顕著性点を、顕著性が最大のものから最小のものまで分類する。顕著性が大きい2つの点により構成される第1のペアをテストして、このペアが所定の基準を満たすか確認する。このペアが上記の基準を満たせば、この2つの点に対応する最大顕著性エリアを保存し、顕著性が最も低い点に対応する最大顕著性エリアを削除する。このペアが上記の基準を満たさなければ、3つの点のうち顕著性が最大のものと最小のものよりなる第2のペアをテストし、次に必要があれば、3つの点のうち顕著性が低い2つの点よりなる第3のペアをテストする。
3つの最大顕著性エリアのうちの1つを削除する基準を図3に示す。この図は、3つの最大顕著性点P1、P2、P3が特定された顕著性マップを示している。これら3つの点に係わる半径Rの最大顕著性エリアをZ1、Z2、Z3とする。点P1、P2は顕著性マップの上部の帯状領域B1にあり、点P3は顕著性マップの下部の帯状領域B2にある。帯状領域B1、B2は検索エリアを表す。この図では、R1はx軸に平行な2辺とy軸に平行な2辺を有して領域Z1とZ2を含む最小の四角形を指す。R2はx軸に平行な2辺とy軸に平行な2辺を有して領域Z1とZ3を含む最小の四角形を指す。
R3はx軸に平行な2辺とy軸に平行な2辺を有して領域Z2とZ3を含む最小の四角形を指す。最後に、Cはソース画像の中心に対応する顕著性マップの中心を指す。
第1の基準を満たす点のペアは、そのペアの点の最大顕著性エリアを含む(bounding)四角形の高さが所定の最大高さより小さいものである。この基準により、2つの最大顕著性エリアが上部または下部の同じ顕著性マップ帯状領域のものであることを裏付ける。この基準は、レイアウトの始めと終わりを表す最大顕著性エリアにより常に満たされる。
第2の基準を満たす点のペアは、そのペアの点の最大顕著性エリアを含む(bounding)四角形の面積が所定の最大面積より小さいものである。この基準により、考慮中の2つの点が垂直または水平に顕著に並んでいることを裏付けられる。
第3の基準を満たす点のペアは、このペアの各点について、その点と顕著性マップの中心Cとの間の距離が最小距離より大きいものである。
本発明では、これらの3つの(点の)ペアが第1の基準を満たすか確認する。この第1の基準を満たさないペアは削除する。1つのペアがこの第1の基準を満たせば、そのペアを選択する。2つ以上のペアが満たした場合、削除されていないペアをテストして、第2の基準を満たすか調べる。1つのペアがこの第2の基準を満たせば、そのペアを選択する。この第1と第2の基準を満たさないペアは削除する。最後に、複数のペアが残った場合、削除されていないペアをチェックして、第3の基準を満たすか調べる。1つのペアがこの第3の基準を満たせば、そのペアを選択する。第1の基準のみ、または第1と第2の基準のみを用いることも可能である。3つの最大顕著性エリアのうち2つのみを選択するのに3つの基準では足りない場合、他の基準を設けることもできる。
次のステップS4において、選択した2つの最大顕著性エリアを囲むウィンドウを、顕著性マップ中に決定する。このウィンドウは、x軸に平行な2辺とy軸に平行な2辺とを有し、選択したエリアを囲む最小の四角形を指す。本発明では、顕著性マップ中の対応する点がこの囲みウィンドウ(bounding window)に入るソース画像の画素は、ソース画像中のレイアウトエリアに属すると考える。
この実施形態の変形では、qを3より大きい整数とすると、ステップS′2において、q個の最大顕著性点を見つけ、q個の最大顕著性エリアを画成する。この最大顕著性エリアの数を所定の基準をすべてのエリアまたはエリアペアに適用することにより2に制限する。
同様に、検索エリアの数nを増やし、最大顕著性エリアの数qを少なくとも「n+1」としてもよい。
上記の2つの実施形態に適用可能な改善として、自動レイアウトエリア検出方法は、囲みウィンドウ(bounding window)を決定する(ステップS4またはS′3)前に顕著性マップを二値化する二値化ステップを含んでいてもよい。このステップ中、3つの最大顕著性エリア中の点の顕著性値(第1の実施形態)、または各検索エリアの最大顕著性エリアの顕著性値(第2の実施形態)を255(または最大顕著性値)に設定し、他の点の顕著性値をゼロに設定する。この二値化ステップは、囲みウィンドウ(bounding
window)決定ステップを容易にするためである。
上記の2つの実施形態に適用可能な他の改善として、自動レイアウトエリア検出方法は、ステップS4またはS′3で画成された最大顕著性エリアの時間的な一貫性をチェックするステップを含んでいてもよい。このステップは、最大顕著性エリアの各点に対して、その点が先行する画像のかかるエリアに属するか確認することを含む。このステップはカウンタを用いて実施できる。例えば、各検索エリア点に対してカウンタを設ける。その点が画像の最大顕著性エリアに属すると判断されるたびに、カウンタをインクリメント(increment)する。このように、考慮中の点が現在の画像の最大顕著性エリアに属し、先行する画像の最大顕著性エリアにも属するとき、この点を最大顕著性エリアの一部であるとする。このステップは、現在の画像に画成された最大顕著性エリアの選択を補強することを目的とする。
本発明は、ソース画像から、縮小サイズの画面に表示する所定の縮小サイズの画像を生成する画像処理方法にも関する。自動再フレーミング方法も説明する。かかる方法は、従来、ソース画像の顕著性マップを生成するステップと、その顕著性マップを用いてソース画像から縮小サイズ画像を生成するステップとを含む。生成する縮小サイズ画像は、視聴者が最も高い知覚的関心を有するサブ画像すなわちソース画像の一部である。より具体的には、縮小サイズ画像の生成ステップは、ソース画像中にフレーミングウィンドウ(framing window)を画成するステップを含む。このフレーミングウィンドウはソース画像より小さく、画像の顕著性が最も高い点または最も多くの顕著性点を含むものである。このように、生成する縮小サイズ画像は、フレーミングウィンドウに含まれる画像である。この従来の方法では、レイアウトエリアは、視聴者が関心をもつものではないが、画像の顕著な部分としてフレーミング(framing)に影響するため、フレーミングウィンドウのサイズと位置を決定する問題を提起する。
本発明では、自動再フレーミング方法は、上記の自動レイアウト検出方法によりソース画像中のレイアウトエリアを検出するステップを有する。これらのレイアウトエリアは、縮小サイズ生成ステップにおいて考慮される。自動再フレーミング方法の顕著性マップ生成ステップは、有利にも、自動レイアウトエリア検出方法の顕著性マップ生成ステップである。
自動再フレーミング方法の第1の実施形態では、レイアウトエリア検出方法により決定される囲みウィンドウ(bounding window)に含まれる点の顕著性値をゼロに設定する。顕著性マップにおいて、ソース画像のレイアウトエリアにより生成される顕著性エリアを取り消しまたは削除する。こうしてその顕著性マップを「掃除」する。フレーミングウィンドウのサイズと位置を「掃除」した顕著性マップを用いて計算するフレーミングウィンドウの自動決定は、ソース画像のレイアウトエリアの顕著性により汚れない。
自動再フレーミング方法の第2の実施形態により、レイアウトエリア検出方法により決定された囲みウィンドウ(bounding window)は禁止エリア(prohibited areas)であると考えられる。この実施形態では、禁止エリアに属する点に対応する点を含まないようにフレーミングウィンドウを決定する。よって縮小サイズ画像は、本発明の自動検出方法により検出されるどのレイアウトエリアも含まない。
第3の実施形態は、これらの2つの実施形態を結合したものであり、フレーミングウィンドウの位置とサイズを決定するのに用いられる顕著性マップを掃除するだけでなく、これに加えて、レイアウトエリアに属する画素に対する画素を含まないように自動フレーミングウィンドウを決定するものである。
図4Bは、本発明(第3の実施形態)の方法により決定された自動再フレーミングウィンドウを示し、サッカーの試合からのシーンを示す画像の場合に、標準的な方法により決定される自動再フレーミングウィンドウを示す図4Aと比較すべきものである。具体的に、処理後のソース画像は、下部及び中央部にサッカー場にいる選手を示し、上部にスタンドにいる観客を示している。試合時間とスコアは画像の左上に表示され、ロゴが画像の右上に表示されている。この画像に標準的な自動再フレーミング方法を適用した場合(図4A)、選手とレイアウトエリア(試合時間、スコア、及びロゴ)の両方を含むフレーミングウィンドウ(図中の白い四角)が得られる。本発明の方法を適用すると、ウィンドウからレイアウトエリアが排除される。ウィンドウの位置と大きさは選手のみを含むように決められる。
様々な具体的実施形態に関して本発明を説明したが、本発明は、これらに限定されず、本発明の範囲内にはいる均等な手段及びその組み合わせを含むものである。

Claims (11)

  1. ロゴ及び/またはスコアなどの少なくとも1つのレイアウトを含む、ソース画像中のレイアウトエリアと呼ぶ少なくとも1つのエリアの自動検出方法であって、
    前記ソース画像の顕著性マップであって前記ソース画像の各画素に顕著性値を有する顕著性点を関連付ける顕著性マップを、視覚的注意モデルを用いて生成する段階と、
    前記顕著性マップから、前記ソース画像中の前記少なくとも1つのレイアウトエリアを決定する段階とを含むことを特徴とする方法。
  2. ソース画像中のレイアウトエリアを決定する段階は、
    a)検索エリアとして知られる前記顕著性マップの少なくとも1つの所定のエリア内を検索して、前記顕著性マップの最大顕著性値と同じ、またはほぼ同じ顕著性値を有し、少なくともp点だけ離れた2つの点を探し、顕著性が最大である2つの点の各々に対して、前記最大顕著性点を含む最大顕著性エリアを画成する段階と、
    b)2つの最大顕著性エリアを囲む、2つの最大顕著性エリアを含む各検索エリアの囲みウィンドウと呼ばれるウィンドウであって前記ソースビデオ画像中のレイアウトエリアに対応する顕著性マップ中に画成された囲みウィンドウを画成する段階とを含む、
    請求項1に記載の方法。
  3. 前記少なくとも1つの検索エリアは、前記ソース画像の隅に配置されたソース画像エリアに対応する所定サイズの少なくとも1つの顕著性マップエリアを有する、
    請求項2に記載の方法。
  4. mを2ないし4として、前記少なくとも1つの検索エリアは、前記顕著性マップの所定サイズのm個のエリアを含み、各エリアは前記ソース画像の隅に配置されたソース画像エリアに対応する、
    請求項3に記載の方法。
  5. 段階aは、
    nを2以上とし、qをn+1より大きいとして、前記顕著性マップのn個の所定の検索エリアを検索して、前記顕著性マップの最大顕著性に等しい、またはほぼ等しい顕著性値を有し、互いに少なくともp点の距離にあるq個の点を探し、そのq個の最大顕著性点の各々の前記最大顕著性点を囲むエリアである最大顕著性エリアを画成する段階と、
    前記q個の最大顕著性エリアから、少なくとも1つの所定の基準を満たす2つの最大顕著性エリアを選択する段階とを含む、
    請求項2に記載の方法。
  6. nは2でありqは3であり、前記2つの検索エリアは、前記ソース画像の上部と下部にある所定幅の2つの帯状領域に対応する、前記顕著性マップ中のエリアである、
    請求項5に記載の方法。
  7. 選択される前記2つの最大顕著性エリアは次の基準、すなわち
    −前記2つの最大顕著性エリアを含む最小四角形の高さが最大高さより小さい、
    −前記2つの最大顕著性エリアを含む最小四角形の面積が最大面積より小さい、
    −前記顕著性マップの中心と前記2つの最大顕著性エリアの各々との間の距離が最小距離より大きい、
    のうち少なくとも1つを満たす、
    請求項5または6に記載の方法。
  8. 最大顕著性点に対して画成された最大顕著性エリアは、前記最大顕著性点を中心とする所定半径の円である、
    請求項1ないし7いずれか一項に記載の方法。
  9. ソース画像から縮小サイズ画像を生成できる前記ソース画像の処理方法であって、
    請求項1ないし8いずれか一項に記載の方法によりレイアウトエリアを自動検出する段階と、
    前記レイアウトエリアの自動検出のために生成された前記顕著性マップと前記検出されたレイアウトエリアとに基づき前記ソース画像から縮小サイズ画像を生成する段階とを含む、
    方法。
  10. 縮小サイズ画像を生成するために用いられる前記顕著性マップにおいて、前記自動レイアウトエリア検出方法により決定された前記囲みウィンドウに含まれる点をゼロに設定する、
    請求項9に記載の方法。
  11. 前記自動レイアウトエリア検出方法を用いて決定された前記囲みウィンドウ内に含まれる点に対応する画素を排除するように、前記縮小サイズ画像を生成する、
    請求項9または10に記載の方法。
JP2009154368A 2008-06-30 2009-06-29 ビデオ画像のレイアウトエリアの検出方法及び該方法を用いた縮小画像の生成方法 Active JP5399790B2 (ja)

Applications Claiming Priority (2)

Application Number Priority Date Filing Date Title
FR0854409 2008-06-30
FR0854409 2008-06-30

Publications (2)

Publication Number Publication Date
JP2010033565A true JP2010033565A (ja) 2010-02-12
JP5399790B2 JP5399790B2 (ja) 2014-01-29

Family

ID=40344663

Family Applications (1)

Application Number Title Priority Date Filing Date
JP2009154368A Active JP5399790B2 (ja) 2008-06-30 2009-06-29 ビデオ画像のレイアウトエリアの検出方法及び該方法を用いた縮小画像の生成方法

Country Status (4)

Country Link
EP (1) EP2141658B1 (ja)
JP (1) JP5399790B2 (ja)
KR (1) KR101678208B1 (ja)
CN (1) CN101620731B (ja)

Cited By (1)

* Cited by examiner, † Cited by third party
Publication number Priority date Publication date Assignee Title
JP2015520467A (ja) * 2012-06-18 2015-07-16 トムソン ライセンシングThomson Licensing 画像のカラー調和のための装置及び方法

Families Citing this family (8)

* Cited by examiner, † Cited by third party
Publication number Priority date Publication date Assignee Title
CA2804484A1 (en) 2010-07-07 2012-01-12 Brian E. Brooks Systems and methods for improving visual attention models
CN101980248B (zh) * 2010-11-09 2012-12-05 西安电子科技大学 基于改进视觉注意力模型的自然场景目标检测方法
EP2549754A1 (en) * 2011-07-19 2013-01-23 Thomson Licensing Method and apparatus for reframing and encoding an original video signal
EP2709038A1 (en) * 2012-09-17 2014-03-19 Thomson Licensing Device and method for detecting the presence of a logo in a picture
EP2731074A1 (en) * 2012-11-13 2014-05-14 Thomson Licensing Method for reframing an image based on a saliency map
JP2016519366A (ja) 2013-03-28 2016-06-30 トムソン ライセンシングThomson Licensing 知覚調和マップを作成する方法および装置
CN109145784B (zh) * 2018-08-03 2022-06-03 百度在线网络技术(北京)有限公司 用于处理视频的方法和装置
CN110992251B (zh) * 2019-11-29 2023-11-10 北京金山云网络技术有限公司 视频中logo替换方法、装置及电子设备

Citations (1)

* Cited by examiner, † Cited by third party
Publication number Priority date Publication date Assignee Title
JP2007074091A (ja) * 2005-09-05 2007-03-22 Pioneer Electronic Corp テロップ検出装置及び方法並びにレコーダ

Family Cites Families (5)

* Cited by examiner, † Cited by third party
Publication number Priority date Publication date Assignee Title
US7116716B2 (en) * 2002-11-01 2006-10-03 Microsoft Corporation Systems and methods for generating a motion attention model
DE10343407B4 (de) 2003-09-19 2006-02-16 A. Monforts Textilmaschinen Gmbh & Co. Kg Düsenblaskasten eines Spannrahmens
CN101103376A (zh) * 2005-01-07 2008-01-09 皇家飞利浦电子股份有限公司 用于检测图形对象的方法和电子设备
CN1904940A (zh) * 2005-07-28 2007-01-31 汤姆森许可贸易公司 用于产生缩减尺寸的图像序列的方法与设备
EP1936566A1 (en) * 2006-12-22 2008-06-25 Thomson Licensing Method for creating the saliency map of an image and system for creating reduced pictures of video frames

Patent Citations (1)

* Cited by examiner, † Cited by third party
Publication number Priority date Publication date Assignee Title
JP2007074091A (ja) * 2005-09-05 2007-03-22 Pioneer Electronic Corp テロップ検出装置及び方法並びにレコーダ

Non-Patent Citations (1)

* Cited by examiner, † Cited by third party
Title
JPN7013002250; LE MEUR、外2名: 'Predicting visual fixations on video based on low-level visual features' VISION RESEARCH vol.47, no.19, 20070901, pp.2483-2498 *

Cited By (1)

* Cited by examiner, † Cited by third party
Publication number Priority date Publication date Assignee Title
JP2015520467A (ja) * 2012-06-18 2015-07-16 トムソン ライセンシングThomson Licensing 画像のカラー調和のための装置及び方法

Also Published As

Publication number Publication date
EP2141658B1 (en) 2013-05-01
JP5399790B2 (ja) 2014-01-29
CN101620731B (zh) 2013-10-16
EP2141658A1 (en) 2010-01-06
KR20100003233A (ko) 2010-01-07
CN101620731A (zh) 2010-01-06
KR101678208B1 (ko) 2016-11-21

Similar Documents

Publication Publication Date Title
JP5399790B2 (ja) ビデオ画像のレイアウトエリアの検出方法及び該方法を用いた縮小画像の生成方法
US8374436B2 (en) Method for detecting layout areas in a video image and method for generating an image of reduced size using the detection method
US8036451B2 (en) Creating a depth map
US7027101B1 (en) Selectively overlaying a user interface atop a video signal
JP4664432B2 (ja) ショットサイズ識別装置及び方法、電子機器、並びにコンピュータプログラム
US7949188B2 (en) Image processing apparatus, image processing method, and program
US9311533B2 (en) Device and method for detecting the presence of a logo in a picture
US8929656B2 (en) Method and apparatus for detecting important information from moving picture
US20110234765A1 (en) Image processing apparatus, image processing method, image processing program, and compound eye digital camera
US8711141B2 (en) 3D image generating method, 3D animation generating method, and both 3D image generating module and 3D animation generating module thereof
JP2001188910A (ja) 画像の輪郭抽出方法、画像からの物体抽出方法およびこの物体抽出方法を用いた画像伝送システム
CN113516609B (zh) 分屏视频检测方法、装置、计算机设备和存储介质
US20070230781A1 (en) Moving image division apparatus, caption extraction apparatus, method and program
US20070291134A1 (en) Image editing method and apparatus
CN1551624A (zh) 广播节目内容菜单建立装置和方法
US9218782B2 (en) Video window detection
KR20080011050A (ko) 비디오 윈도우 검출기
WO2007129591A1 (ja) 遮蔽物映像識別装置及び方法
US7003160B2 (en) Image processing apparatus, image processing method, and computer readable recording medium recording image processing program for processing image obtained by picking up or reading original
JP2008116459A (ja) 画像の輪郭抽出方法、画像からの物体抽出方法およびこの物体抽出方法を用いた画像伝送システム
JP2012114665A (ja) 特徴図形付加方法、特徴図形検出方法、特徴図形付加装置、特徴図形検出装置、およびプログラム
JP4042602B2 (ja) 画像処理装置
EP1484763A1 (en) Music program contents menu creation apparatus and method
JPH09181953A (ja) 自動追尾装置
EP1384204A2 (en) Apparatus and method for boundary detection in vector sequences and edge detection in color image signals

Legal Events

Date Code Title Description
A621 Written request for application examination

Free format text: JAPANESE INTERMEDIATE CODE: A621

Effective date: 20120517

A977 Report on retrieval

Free format text: JAPANESE INTERMEDIATE CODE: A971007

Effective date: 20130426

A131 Notification of reasons for refusal

Free format text: JAPANESE INTERMEDIATE CODE: A131

Effective date: 20130618

A521 Request for written amendment filed

Free format text: JAPANESE INTERMEDIATE CODE: A523

Effective date: 20130918

TRDD Decision of grant or rejection written
A01 Written decision to grant a patent or to grant a registration (utility model)

Free format text: JAPANESE INTERMEDIATE CODE: A01

Effective date: 20131008

A61 First payment of annual fees (during grant procedure)

Free format text: JAPANESE INTERMEDIATE CODE: A61

Effective date: 20131024

R150 Certificate of patent or registration of utility model

Free format text: JAPANESE INTERMEDIATE CODE: R150

Ref document number: 5399790

Country of ref document: JP

Free format text: JAPANESE INTERMEDIATE CODE: R150

R250 Receipt of annual fees

Free format text: JAPANESE INTERMEDIATE CODE: R250

S111 Request for change of ownership or part of ownership

Free format text: JAPANESE INTERMEDIATE CODE: R313113

S531 Written request for registration of change of domicile

Free format text: JAPANESE INTERMEDIATE CODE: R313531

R360 Written notification for declining of transfer of rights

Free format text: JAPANESE INTERMEDIATE CODE: R360

R360 Written notification for declining of transfer of rights

Free format text: JAPANESE INTERMEDIATE CODE: R360

R371 Transfer withdrawn

Free format text: JAPANESE INTERMEDIATE CODE: R371

S531 Written request for registration of change of domicile

Free format text: JAPANESE INTERMEDIATE CODE: R313531

R350 Written notification of registration of transfer

Free format text: JAPANESE INTERMEDIATE CODE: R350

R250 Receipt of annual fees

Free format text: JAPANESE INTERMEDIATE CODE: R250

S111 Request for change of ownership or part of ownership

Free format text: JAPANESE INTERMEDIATE CODE: R313113

R350 Written notification of registration of transfer

Free format text: JAPANESE INTERMEDIATE CODE: R350

R250 Receipt of annual fees

Free format text: JAPANESE INTERMEDIATE CODE: R250

R250 Receipt of annual fees

Free format text: JAPANESE INTERMEDIATE CODE: R250

R250 Receipt of annual fees

Free format text: JAPANESE INTERMEDIATE CODE: R250

R250 Receipt of annual fees

Free format text: JAPANESE INTERMEDIATE CODE: R250

R250 Receipt of annual fees

Free format text: JAPANESE INTERMEDIATE CODE: R250

R250 Receipt of annual fees

Free format text: JAPANESE INTERMEDIATE CODE: R250