JP2010032251A - 計器装置 - Google Patents

計器装置 Download PDF

Info

Publication number
JP2010032251A
JP2010032251A JP2008192274A JP2008192274A JP2010032251A JP 2010032251 A JP2010032251 A JP 2010032251A JP 2008192274 A JP2008192274 A JP 2008192274A JP 2008192274 A JP2008192274 A JP 2008192274A JP 2010032251 A JP2010032251 A JP 2010032251A
Authority
JP
Japan
Prior art keywords
magnets
along
magnet assembly
moving body
electromagnets
Prior art date
Legal status (The legal status is an assumption and is not a legal conclusion. Google has not performed a legal analysis and makes no representation as to the accuracy of the status listed.)
Granted
Application number
JP2008192274A
Other languages
English (en)
Other versions
JP5095543B2 (ja
Inventor
Shuichi Ishibashi
秀一 石橋
Current Assignee (The listed assignees may be inaccurate. Google has not performed a legal analysis and makes no representation or warranty as to the accuracy of the list.)
Yazaki Corp
Original Assignee
Yazaki Corp
Priority date (The priority date is an assumption and is not a legal conclusion. Google has not performed a legal analysis and makes no representation as to the accuracy of the date listed.)
Filing date
Publication date
Application filed by Yazaki Corp filed Critical Yazaki Corp
Priority to JP2008192274A priority Critical patent/JP5095543B2/ja
Publication of JP2010032251A publication Critical patent/JP2010032251A/ja
Application granted granted Critical
Publication of JP5095543B2 publication Critical patent/JP5095543B2/ja
Expired - Fee Related legal-status Critical Current
Anticipated expiration legal-status Critical

Links

Images

Landscapes

  • Instrument Panels (AREA)

Abstract

【課題】指針の指示精度を向上可能な計器装置を提供する。
【解決手段】スピードメータ1は、文字板2の指標部11を指示する指針3と、指標部11に沿って複数の磁石18が並ぶ磁石集合体4と、磁石集合体4に形成された一対のレール部5と、指針3を取着したケース20と該ケース20内で磁石集合体4と所定間隔をあけた複数の電磁石24A,24Bとを有する移動体6と、を有する。移動体6は、ケース20からレール部5を挟むように延出し且つ磁石集合体4及び複数の電磁石24A,24Bの接離方向に弾性変形可能な複数の延出部30と、複数の延出部30各々にレール部5と対向して設けた位置決め部31と、レール部5と位置決め部31とに挟持された複数のローラ32と、ローラ32をレール部5及び位置決め部31間に回動自在に位置付け且つ位置決め部31を所定間隔に対応した位置に位置付けるよう延出部30を変形させる複数の軸33とを有する。
【選択図】図6

Description

本発明は、指針に指示されることにより計測量を表示する計器装置に関し、特に、駆動系にリニアモータを用いた計器装置に関するものである。
例えば、車両のコンビネーションメータ等に用いられるセンターレスタイプのメータとしては、文字板の表側に配置した指針を、文字板の外側に設けられた円弧状のガイド溝部にその延在方向に摺動可能に収容された移動体に連結し、リニアモータユニットにより移動体をガイド溝部の延在方向にスライド駆動させて、指針を移動させるものが提案されている(例えば、特許文献1参照。)。
前述した特許文献1に開示されたメータは、外周に沿って円弧状に配された目盛・文字からなる指標部が設けられた文字板と、計測量に応じて指標部を指示する指針と、文字板の外側に指標部に沿って設けられたガイド溝部と、指針が取り付けられ且つガイド溝部に収容された移動体と、移動体をガイド溝部に沿って移動させることで指針を指標部に沿って移動させるリニアモータユニットと、を備えている。
ガイド溝部は、文字板の外側に配され且つ該文字板の指標部に沿って延在している。ガイド溝部は、断面が樋状に形成されており、両側面に内側に向かって突出した一対のガイドレールが当該ガイド溝部の全長に亘って設けられている。
移動体は、指針が取り付けられた上ケースと、該上ケースが取り付けられる下ケースとで構成された、箱状に形成されている。下ケースには、当該下ケースから外側に突出し且つガイド溝部の各ガイドレール上にそれぞれ重なるように形成された一対のガイド片が設けられている。一対のガイド片には、それぞれ、各ガイドレールに重ねられる面から突出し且つ長手方向に沿って間隔をあけて配された複数の凸部が設けられている。
リニアモータユニットは、ガイド溝部の底面に設けられ且つ該ガイド溝部の全長に亘って延在した多極マグネットと、移動体内に収容された一対の電磁石と、ガイド溝部の外周に沿って設けられ且つ一対の電磁石に電圧を印加するためのフラットケーブルとを備えている。多極マグネットは、隣り合う磁極が反対となるように配置し且つ隣り合う磁極の間隔が等間隔となるように構成されている。
一対の電磁石は、それぞれ、外側にコイル線が巻き付けられたコイルボビンと、該コイルボビンの軸方向の両端部からL字状に延出し且つ磁極を形成する一対の電極部とを有している。一対の電磁石は、それぞれ、コイルボビンの軸方向が多極マグネットの延在方向即ちガイド溝部の延在方向と平行に配されている。各電磁石の一対の電極部は、多極マグネットの隣り合う磁極の間隔と等しい間隔をあけて配されている。
そして、一対の電磁石は、多極マグネットの延在方向と直交する方向に並べられているとともに、各電磁石の一方の電極部同士の間と、各電磁石の他方の電極部同士の間と、一方の電磁石の他方の電極部と他方の電磁石の一方の電極部との間とは、それぞれ、多極マグネットの隣り合う磁極の間隔の半分の間隔で位置をずらして配置されている。
前述した構成のメータは、指針をリニアモータユニットによって文字板の外側に指標部に沿って設けられたガイド溝部に沿って移動させるので、指針を文字板の中央表側に配置し且つ該指針を回動させる駆動装置を文字板の中央裏側に設ける必要がなく、よって、文字板の中央に液晶表示パネル等の表示装置を設置可能となり、これまで利用できなかった指針の回動中心部を表示に利用でき、メータのデザイン構成や形態などの自由度を高めることができる。
特開2007−212322号公報
しかしながら、前述した従来のセンターレスタイプのメータは、リニアモータユニットの一対の電磁石が多極マグネットの延在方向と直交する方向に並べられているので、一方の電磁石の一対の電極部と他方の電磁石の一対の電極部とが多極マグネット上の同部位を捉えることができないため、一対の電磁石同士の多極マグネットへの吸引力・反発力が異なり、これら一対の電磁石を収容した移動体が多極マグネット上をその延在方向に移動する際にガタツキが生じる。そして、移動体が多極マグネット上を移動する際に生じるガタツキに影響されて、指針の動作がスムーズにならず、指示精度が低下する恐れがあるという問題があった。
したがって、本発明は、指針の指示精度を向上させることができる計器装置を提供することを目的とする。
前記課題を解決し目的を達成するために、請求項1に記載された発明は、文字板に形成された移動体の状況を示す指標部を計測量に応じて指示する指針と、隣り合う磁石の磁極の向きが反対となるように前記指標部に沿って並べられた複数の磁石を有する磁石集合体と、前記複数の磁石の並ぶ方向と直交する直交方向に沿って互いの間に前記複数の磁石を挟むように、前記並ぶ方向に沿って前記磁石集合体に形成された一対のレール部と、前記指針が取り付けられたケースと該ケース内に前記磁石集合体と所定の間隔をあけて配された複数の電磁石とを有する移動体と、を有し、前記電磁石への電圧の印加方向が切り換えられることで、前記移動体を前記一対のレール部に沿って前記磁石集合体上を移動させる計器装置であって、前記移動体が、前記一対のレール部を挟む位置に配置されるとともに、前記ケースの前記磁石集合体側から延出し且つ前記磁石集合体と前記複数の電磁石とが近づいたり離れたりする方向に沿って弾性変形可能に形成された複数の延出部と、前記複数の延出部の各々に前記レール部と対向して設けられた位置決め部と、前記レール部と前記位置決め部とに挟持され且つ前記移動体が前記一対のレール部に沿って前記磁石集合体上を移動する際に回動する複数のローラと、前記ローラを前記レール部と前記位置決め部との間に回動自在に位置付けるとともに、前記位置決め部を前記所定の間隔に対応した位置に位置付けるように前記延出部を弾性変形させる複数の軸と、を有していることを特徴とする計器装置である。
請求項2に記載された発明は、請求項1に記載された発明において、前記複数の電磁石の各々が、前記複数の磁石の並ぶ方向に沿って直列配置されていることを特徴とするものである。
請求項3に記載された発明は、請求項1又は請求項2に記載された発明において、前記複数の磁石は、互いに当該複数の磁石18の並ぶ方向Dの幅が等しく形成されているとともに、等間隔で前記指標部に沿って並べられていることを特徴とするものである。
請求項1に記載された発明によれば、移動体が、ケースの磁石集合体側から延出して磁石集合体と複数の電磁石とが近づいたり離れたりする方向に沿って弾性変形可能に形成され且つ一対のレール部を挟む位置に配置された複数の延出部と、複数の延出部の各々にレール部と対向して設けられた位置決め部と、レール部と位置決め部とに挟持され且つ移動体がレール部に沿って磁石集合体上を移動する際に回動する複数のローラと、ローラをレール部と位置決め部との間に回動自在に位置付け且つ位置決め部を所定の間隔に対応した位置に位置付けるように延出部を弾性変形させる複数の軸と、を有しているので、複数の軸によって複数の延出部の各々を弾性変形させて位置決め部の位置を調整することで、磁石集合体と複数の電磁石との間の間隔を調整することができる。
請求項2に記載された発明によれば、移動体を構成する複数の電磁石の各々が、複数の磁石の並ぶ方向に沿って直列配置されているので、複数の電磁石同士が磁石集合体上の同部位を捉えることができる。このため、複数の電磁石同士の各磁石への吸引力・反発力を等しくすることができ、よって、移動体が磁石集合体上をその延在方向に沿って移動する際にガタつくことを抑制することができる。
請求項3に記載された発明によれば、複数の磁石は互いに当該複数の磁石の並ぶ方向の幅が等しく形成され且つ等間隔で指標部に沿って並べられているので、移動体を構成する複数の電磁石同士が複数の磁石各々の同部位を確実に捉えることができる。このため、複数の電磁石同士の各磁石への吸引力・反発力をより等しくすることができ、よって、移動体が磁石集合体上をその延在方向に沿って移動する際にガタつくことを確実に抑制することができる。
以上説明したように、請求項1に記載の発明は、複数の軸によって複数の延出部の各々を弾性変形させて位置決め部の位置を調整することで、磁石集合体と複数の電磁石との間の間隔を調整することができるので、複数の電磁石同士が磁石集合体上の同部位を捉えられず、該複数の電磁石同士の各磁石への吸引力・反発力が異なる場合でも、これら複数の電磁石同士の各磁石への吸引力・反発力を等しくすることができる。このため、移動体が磁石集合体上をその延在方向に沿って移動する際にガタつくことを抑制することができ、よって、移動体がレール部に沿ってスムーズに移動するので、指針の指示精度を向上させることができる。
請求項2に記載の発明は、複数の電磁石同士が磁石集合体上の同部位を捉えることができるので、複数の電磁石同士の各磁石への吸引力・反発力を等しくすることができ、よって、移動体が磁石集合体上をその延在方向に沿って移動する際にガタつくことを抑制することができる。したがって、移動体がガタつくことなく複数の磁石の並ぶ方向に沿ってスムーズに移動するため、指針の指示精度をさらに向上させることができる。
請求項3に記載の発明は、移動体を構成する複数の電磁石同士が複数の磁石各々の同部位を確実に捉えることができるので、複数の電磁石同士の各磁石への吸引力・反発力をより等しくすることができ、よって、移動体が磁石集合体上をその延在方向に沿って移動する際にガタつくことを確実に抑制することができる。したがって、移動体がガタつくことなく複数の磁石の並ぶ方向に沿ってスムーズに移動するため、指針の指示精度をより一層向上させることができる。
以下、本発明の一実施の形態に係る計器装置を図1乃至図9を参照して説明する。本実施形態に係る計器装置としてのスピードメータ1は、移動体としての自動車等の車両に搭載されて、この車両の乗員に対して該車両の状況を表示する車両用コンビネーションメータ10を構成する。
前述した車両用コンビネーションメータ10は、図1及び図2に示すように、メータケース8と、このメータケース8に取り付けられたスピードメータ1と、前記メータケース8に取り付けられた液晶ディスプレイ9と、を有している。この液晶ディスプレイ9は、走行距離情報、ナビゲーション情報、シフトポジション情報、などの各種情報を表示する。
メータケース8は、合成樹脂等で構成され、乗員と相対する側に開口する平面視半円形の箱状に形成されている。そして、メータケース8は、内側にスピードメータ1や前述した液晶ディスプレイ9などを収容して、前記開口を塞ぐ格好でスピードメータ1の後述する文字板2が嵌め込まれる。
スピードメータ1は、車両の速度を表示するメータであり、指標部11が印刷された文字板2と、計測量に応じて指標部11を指示する指針3と、前述したメータケース8内に取り付けられた磁石集合体4と、この磁石集合体4に形成されたレール部5と、磁石集合体4上をレール部5に沿って移動する移動体6と、FPC(Flexible Printed Circuit)7と、を有している。
文字板2は、平面視半円形の板状に形成されており、中央に平面視半円形に形成された貫通窓14が形成されている。そして、文字板2の円弧状をなす縁部の曲率中心と、貫通窓14の円弧状をなす縁部の曲率中心と、は一致している。この貫通窓14は、一端が移動体6の後述のケース20に取り付けられた指針3を文字板2の手前側(乗員室側)に位置付けるとともに、前述した液晶ディスプレイ9を乗員に対して露出させる。即ち、前述した液晶ディスプレイ9は、車両用コンビネーションメータ10の奥行き方向(図1中矢印Cで示す。)に沿って前記貫通窓14と重なる位置に配されている。
また、文字板2の乗員室側の表面に印刷された指標部11は、目盛部12及び数字部13により構成され、前述した貫通窓14の外側に円弧状に延在している。そして、この指標部11の曲率中心と、貫通窓14の円弧状をなす縁部の曲率中心と、は一致している。
指針3は、合成樹脂で構成されており、図1に示すように、移動体6の後述するケース20に取り付けられる取付部15と前述した指標部11を指示する指示部16とを一体に有して、コ字状に形成されている。指針3は、長手方向の一端から他端に向かうに従って徐々に細くなる錐状に形成され、一端側が取付部15に連なっている。
また、指針3は、取付部15が移動体6の後述するケース20に取り付けられて、指示部16が前述した貫通窓14を通されて文字板2の手前側(乗員室側)に位置付けられている。そして、この指針3は、指示部16の前記一端が文字板2の中心側に位置付けられ且つ前記他端が文字板2の外側に位置付けられた状態で前述した指標部11に沿って移動することにより、該指標部11を指示する。
磁石集合体4は、図1又は図7に示すように、合成樹脂で構成され且つメータケース8の内面に取り付けられた枠部17と、この枠部17に嵌め込まれた複数の磁石18と、を有している。
枠部17は、図1又は図7に示すように、円弧状に形成された円弧状部17aと、直線状に形成され且つ円弧状部17aの一端と他端とを連結した直線状部17bと、を有している。円弧状部17aは、メータケース8の図1中上側に位置する曲面部と間隔をあけて相対している。また、円弧状部17aの曲率中心と、前述した貫通窓14の円弧状をなす縁部の曲率中心と、は一致している。直線状部17bは、メータケース8の図1中下側に位置する底部に当接している。そして、この枠部17の中央の空間には、前述した液晶ディスプレイ9が位置付けられている。
複数の磁石18は、前述した指標部11に沿って等間隔に並べられた状態で前述した円弧状部17aに取り付けられている。また、各磁石18は、その正極Nとその負極Sとが奥行き方向Cに沿って並ぶ向きで取り付けられている。このような複数の磁石18は、各磁石18の正極Nが隣り合う磁石18の負極Sと隣り合うように並べられている。さらに、複数の磁石18は、互いに当該複数の磁石18の並ぶ方向(図1中矢印Dで示す)の幅が等しく形成されている。そして、複数の磁石18の並ぶ方向Dは、前述した奥行き方向Cと直交している。
レール部5は、金属で構成されており、前述した円弧状部17aの複数の磁石18の並ぶ方向Dと直交する直交方向(図1中矢印Eで示す。)に相対する両側面から突出して一対設けられている。即ち、一対のレール部5は、前記直交方向Eに沿って互いの間に複数の磁石18を挟むように配置されている。また、一対のレール部5は、それぞれ、円弧状部17aの全長に亘って形成されている。即ち、一対のレール部5は、それぞれ、複数の磁石18の並ぶ方向Dに沿って円弧状部17a即ち磁石集合体4に形成されている。
また、本実施形態では、前述した複数の磁石18の並ぶ方向Dが円弧方向であるので、「直交方向E」は、文字板2の前述した曲率中心から円弧状をなす縁部に向かう方向となる。また、前述した「奥行き方向C」は、直交方向Eと直交している。この「奥行き方向C」は、本発明では後述する「磁石集合体4と複数の電磁石24とが近づいたり離れたりする方向」とも表現する。
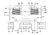
移動体6は、図1又は図3及び図4に示すように、前述した指針3が取り付けられるケース20と、このケース20内に配された複数の電磁石24と、ケース20に設けられた複数の延出部30と、該複数の延出部30の各々に設けられた位置決め部31と、複数の延出部30の各々に取り付けられる複数のローラ32と、該複数のローラ32をそれぞれ各延出部30に回動自在に取り付ける複数の軸33と、を有している。
ケース20は、合成樹脂で構成されており、複数の電磁石24を収容する収容空間が形成されたケース本体21と、このケース本体21との間に複数の電磁石24を挟むカバー部22と、を有している。ケース本体21は、カバー部22から離れた側の表面に前述した指針3の取付部15が取り付けられる。また、カバー部22のケース本体21が取り付けられる側の縁部には、FPC7の端部をケース20内に引き込むための切欠き部23が4つ形成されている。
複数の電磁石24は、図3又は図5及び図6に示すように、前述した複数の磁石18の並ぶ方向Dに沿って間隔をあけて配置されており、図示例では一対(以下、符号24A,24Bで示す)設けられている。複数の電磁石24A,24Bは、それぞれ、鉄板が所定の形状に型抜きされて形成されたコア25と、このコア25の外周に設けられたボビン26と、このボビン26の外周に巻き付けられるコイル27と、このコイル27とFPC7の端部とを接続する一対のリード部28と、を有している。
コア25は、前述した複数の磁石18の並ぶ方向Dに沿って相対する一対の電極部29a,29bと、これら一対の電極部29a,29bを連結した連結部29cと、を有した平面視コ字状に形成されている。
ボビン26は、前述したコア25の一方の電極部29aの外周を覆うように設けられている。コイル27は、ボビン26の外周に巻き付けられることにより、コア25の一方の電極部29aの外周に位置付けられている。このコイル27の端部はリード部28に接続されている。一対のリード部28は、ボビン26に圧入保持されている。
前述した構成の複数の電磁石24A,24Bは、コイル27にFPC7を介して交流電圧が印加されることにより、一対の電極部29a,29bに図8及び図9に示すように、周期的に極性が入れ替わる磁極S,Nを形成する。
また、前述した構成の複数の電磁石24A,24Bは、図5に示すように、複数の磁石18の並ぶ方向Dに沿って互いに間隔をあけて並べられた状態で前述したケース20に収容されている。さらに、これら複数の電磁石24A,24B各々は、図6に示すように、一対の電極部29a,29bが複数の磁石18の並ぶ方向Dに沿って相対する状態で、且つ、一対の電極部29a,29bが前述した磁石集合体4と奥行き方向Cに沿って所定の間隔をあけて、前述したケース20内に収容されている。即ち、これら複数の電磁石24A,24Bは、双方の各電極部29a,29bが複数の磁石18の並ぶ方向Dに沿って間隔をあけて並べられて、該複数の磁石の並ぶ方向Dに沿って直列配置されている。
複数の延出部30は、ケース20のケース本体21の前述した直交方向Eに相対する両側に、複数の磁石18の並ぶ方向Dに沿って間隔をあけて配置されている。即ち、複数の延出部30は、ケース本体21を挟むように配置されており、図示例では4つ設けられている。複数の延出部30は、ぞれぞれ、図6又は図7に示すように、前述したケース20のケース本体21のカバー部22から離れた端部、即ち磁石集合体4側に該ケース本体21から外側に延出して形成されている。
また、複数の延出部30は、それぞれ、断面コ字状に形成されており、ケース本体21に前述した奥行き方向C即ち磁石集合体4と複数の電磁石24とが近づいたり離れたりする方向に沿って弾性変形可能に設けられている。これら複数の延出部30は、直交方向Eに沿って互いの間に前述した一対のレール部5を挟む位置に配置されている。
位置決め部31は、前述した複数の延出部30の各々に前述した各レール部5と対向して設けられている。位置決め部31は、複数の延出部30の互いに相対する側の面から突出して形成されている。位置決め部31は、各延出部30の複数の磁石18の並ぶ方向Dに沿った幅方向に延在して形成されている。そして、複数の延出部30の各々の直交方向Eに相対する位置決め部31同士が、互いの間に位置する前述した各レール部5との間に各ローラ32を挟持することで、これら各レール部5即ち磁石集合体4及び各ローラ32を位置決めする。
複数のローラ32は、前述した複数の延出部30の各々に取り付けられており、図示例では4つ設けられている。複数のローラ32は、それぞれ、金属で構成されており、円筒状に形成され且つ前述した直交方向Eを回転軸方向として回転する。そして、これら複数のローラ32は、それぞれ、移動体6が磁石集合体4に取り付けられた際に、前述したレール部5と位置決め部31とに挟持される。
複数の軸33は、それぞれ、金属で構成されており、棒状に形成されている。複数の軸33は、それぞれ、長手方向が前述した直交方向Eと平行に各延出部30に取り付けられている。また、複数の軸33は、それぞれ、一端部が各延出部30のケース本体21側に突出した状態で、該各延出部30に圧入保持されている。そして、複数の軸33は、それぞれ、一端部の各延出部30からの突出量を調整することによって、該各延出部30を前述した直交方向E即ち磁石集合体4と各電磁石24A,24Bとが近づいたり離れたりする方向に沿って弾性変形させて、前述した位置決め部31を変位させる。
前述した構成の移動体6は、直交方向Eに沿って複数のローラ32の間に前述した一対のレール部5を挟む格好で前述した磁石集合体4に移動自在に取り付けられている。そして、移動体6が磁石集合体4の枠部17の複数の磁石18の並ぶ方向Dに沿って移動する際に、複数のローラ32が各レール部5上を回動することにより、少ない力で移動体6を移動させることができる。
FPC7は、図1に示すように、一端がケース本体21の切欠き部23を通されてケース20内に引き込まれてリード部28と接続しているとともに、他端が図示しないマイクロコンピュータ等の電源供給装置と接続している。また、このFPC7は、移動体6の移動量に対応した余長が設けられており、この余長部分が図1に示すように、メータケース8内に収容されている。このことにより、磁石集合体4の枠部17に沿って移動する移動体6の移動動作にFPC7が追従するので、複数の電磁石24A,24Bに常時給電を行うことができる。
また、上記FPC7を介して複数の電磁石24A,24Bに印加される交流電圧の波形図を図8に示す。図8の波形図における横軸は時間を示しており、縦軸は電圧を示している。また、図8は、移動体6即ち指針3を図1に示す指標部11の0側から160側に向かって移動させる際の交流電圧の波形図を示している。図8に示すように、複数の電磁石24A,24Bに印加される交流電圧は、互いの位相を90°ずらした正弦波であり、この正弦波が通電されることにより一方の電極部29aに形成される磁極と他方の電極部29bに形成される磁極とは互いに極性が逆になる。
また、図8に示すように、一方の電磁石24Aに印加される電圧は、t0及びt8のタイミングでプラス側にピークとなり、t4のタイミングでマイナス側にピークとなり、t2及びt6のタイミングでゼロとなる。このことから、一方の電磁石24Aは、t0,t4,t8のタイミングにおいて各電極部29a,29bの磁力が最大になり、t2及びt6のタイミングにおいて各電極部29a,29bに形成されていた磁極が消失する。即ち各電極部29a,29bの磁力が消失する。
また、図8に示すように、他方の電磁石24Bに印加される電圧は、t2のタイミングでプラス側にピークとなり、t6のタイミングでマイナス側にピークとなり、t0,t4,t8のタイミングでゼロとなる。このことから、他方の電磁石24Bは、t2,t6のタイミングにおいて各電極部29a,29bの磁力が最大になり、t0,t4,t8のタイミングにおいて各電極部29a,29bに形成されていた磁極が消失する。即ち各電極部29a,29bの磁力が消失する。
また、図8の波形図に基づく時間ごとの磁石集合体4と移動体6との位置関係を模式的に示した説明図を図9に示す。また、図9においては、紙面方向の左側が図1に示す指標部11の0側に相当し、紙面方向の右側が図1に示す指標部11の160側に相当する。
図9に示すように、t0のタイミングにおいては、電磁石24Aは、一方の電極部29aに正極Nが形成され、他方の電極部29bに負極Sが形成されている。また、これら一対の電極部29a,29bの磁力は最大となっている。そして、電磁石24Bは、一対の電極部29a,29b双方の磁極が消失した状態である。
このような磁場配置により、5つの磁石18のうち左端に位置する磁石18の負極Sの各磁石18の並ぶ方向Dに沿った中央部に電磁石24Aの一方の電極部29a(N)が相対しているとともに、左から2番目の磁石18の正極Nの各磁石18の並ぶ方向Dに沿った中央部に電磁石24Aの他方の電極部29b(S)が相対し、そして、左から2番目の磁石18と左から3番目の磁石18との間に電磁石24Bの他方の電極部29bが位置付けられるとともに、左から3番目の磁石18と左から4番目の磁石18との間に電磁石24Bの一方の電極部29aが位置付けられている。
また、t0からt1にかけて、電磁石24Aは、一対の電極部29a,29b双方の極性はそのままで、電磁石24Bは、他方の電極部29bに正極Nが形成され、一方の電極部29aに負極Sが形成される。そして、t1のタイミングにおいては、電磁石24Aの磁力と電磁石24Bの磁力とは等しい。
このような磁場配置により、左端に位置する磁石18の負極Sの各磁石18の並ぶ方向Dに沿った右端に電磁石24Aの一方の電極部29a(N)が相対しているとともに、左から2番目の磁石18の正極Nの各磁石18の並ぶ方向Dに沿った右端に電磁石24Aの他方の電極部29b(S)が相対し、そして、左から3番目の磁石18の負極Sの各磁石18の並ぶ方向Dに沿った左端に電磁石24Bの他方の電極部29b(N)が相対しているとともに、左から4番目の磁石18の正極Nの各磁石18の並ぶ方向Dに沿った左端に電磁石24Bの一方の電極部29a(S)が相対している。
前述したように、電磁石24Bの他方の電極部29bに正極Nが形成され、一方の電極部29aに負極Sが形成されることにより、即ち電磁石24Bの他方の電極部29bが左から2番目の磁石18との間に反発磁界を形成し且つ一方の電極部29aが左から3番目の磁石18との間に反発磁界を形成することにより、移動体6が各磁石18の並ぶ方向Dに沿って右側(即ち電磁石24Bの他方の電極部29bが左から2番目の磁石18から離れる側及び一方の電極部29aが3番目の磁石18から離れる側)に移動する。
また、t1からt2にかけて、電磁石24Bは、一対の電極部29a,29b双方の極性はそのままで、電磁石24Aは、一対の電極部29a,29b双方の磁極が消失する。
このような磁場配置により、t2のタイミングにおいては、左端に位置する磁石18と左から2番目の磁石18との間に電磁石24Aの一方の電極部29aが位置付けられるとともに、左から2番目の磁石18と左から3番目の磁石18との間に電磁石24Aの他方の電極部29bが位置付けられ、そして、左から3番目の磁石18の負極Sの各磁石18の並ぶ方向Dに沿った中央部に電磁石24Bの他方の電極部29b(N)が相対しているとともに、左から4番目の磁石18の正極Nの各磁石18の並ぶ方向Dに沿った中央部に電磁石24Bの一方の電極部29a(S)が相対している。
また、t1からt2にかけて、電磁石24Bの磁力が電磁石24Aの磁力よりも大きくなることにより、電磁石24Bの他方の電極部29b(N)が左から3番目の磁石18の正極Sのうち最も高磁力の位置となる各磁石18の並ぶ方向Dに沿った中央部に相対する位置に吸引されるとともに、電磁石24Bの一方の電極部29a(S)が、左から4番目の磁石18の負極Nのうち最も高磁力の位置となる各磁石18の並ぶ方向Dに沿った中央部に相対する位置に吸引される。
このことにより、移動体6が各磁石18の並ぶ方向Dに沿って右側(即ち電磁石24Bの他方の電極部29bが左から3番目の磁石18に近づく側及び一方の電極部29aが左から4番目の磁石18に近づく側)に移動する。
移動体6は、このようにして、t0からt8までを1周期として磁石集合体4の枠部17上を移動する。また、この1周期で移動体6が移動する距離は、1つの磁石18の各磁石18の並ぶ方向Dに沿った幅をXとし、互いに隣り合う磁石18同士の間隔をYとすると、「2X+2Y」の距離となる。また、各磁石18の並ぶ方向Dに沿った一方の電磁石24Aの中心から他方の電磁石24Bの中心までの間隔は、「(2X+2Y)×3/4」となっている。
また、電磁石24Aに印加される交流電圧の位相を、電磁石24Bに印加される交流電圧の位相よりも90°遅らせると、移動体6は、図9に示した方向と逆の方向に移動する。即ち、移動体6は、図1に示す指標部11の160側から0側に移動する。
本実施形態によれば、移動体6が、ケース20の磁石集合体4側から延出して該磁石集合体4と複数の電磁石24A,24Bとが近づいたり離れたりする方向に沿って弾性変形可能に形成され且つ一対のレール部5を挟む位置に配置された複数の延出部30と、複数の延出部30の各々にレール部5と対向して設けられた位置決め部31と、レール部5と位置決め部31とに挟持され且つ移動体6がレール部5に沿って磁石集合体4上を移動する際に回動する複数のローラ32と、該各ローラ32をレール部5と位置決め部31との間に回動自在に位置付け且つ位置決め部31を所定の間隔に対応した位置に位置付けるように延出部30を弾性変形させる複数の軸33と、を有している。
このため、複数の軸33によって複数の延出部30の各々を弾性変形させて位置決め部31の位置を調整することで、磁石集合体4と複数の電磁石24A,24Bとの間の間隔を調整することができる。よって、複数の電磁石24A,24B同士が磁石集合体4上の同部位を捉えられず、該複数の電磁石24A,24B同士の各磁石18への吸引力・反発力が異なる場合でも、これら複数の電磁石24A,24B同士の各磁石18への吸引力・反発力を等しくすることができる。したがって、移動体6が磁石集合体4上をその延在方向に沿って移動する際にガタつくことを抑制することができ、よって、移動体6がレール部5に沿ってスムーズに移動するので、指針3の指示精度を向上させることができる。
また、複数の電磁石24A,24Bの各々が、複数の磁石18の並ぶ方向Dに沿って直列配置されているので、複数の電磁石24A,24B同士が磁石集合体4上の同部位を捉えることができる。このため、複数の電磁石24A,24B同士の各磁石18への吸引力・反発力を等しくすることができ、よって、移動体6が磁石集合体4上をその延在方向に沿って移動する際にガタつくことを抑制することができる。したがって、移動体6がガタつくことなく複数の磁石18の並ぶ方向Dに沿ってスムーズに移動するため、指針3の指示精度をさらに向上させることができる。
さらに、複数の磁石18は、互いに当該複数の磁石18の並ぶ方向Dの幅が等しく形成され且つ等間隔で指標部11に沿って並べられているので、複数の電磁石24A,24B同士が複数の磁石18各々の同部位を確実に捉えることができる。このため、複数の電磁石24A,24B同士の各磁石18への吸引力・反発力をより等しくすることができ、よって、移動体6が磁石集合体4上をその延在方向に沿って移動する際にガタつくことを確実に抑制することができる。したがって、移動体6がガタつくことなく複数の磁石18の並ぶ方向Dに沿ってスムーズに移動するため、指針3の指示精度をより一層向上させることができる。
また、前述した実施形態では、円筒状に形成された複数のローラ32を用いているが、本発明はこれに限定されるものではなく、例えば、図10に示すような、ローラ本体の両端部内側に複数の円柱ベアリングを有したローラや、図11に示すような、ローラ本体の両端部内側に複数のボールベアリングを有したローラなどを用いて構成されていても良いことは勿論である。
さらに、前述した実施形態では、指標部11が円弧状に延在したスピードメータ1を例にあげて説明したが、本発明はこれに限定されるものではなく、例えば、指標部が直線状に延在した計器装置にも適用することができる。
また、前述した実施形態では、車両に搭載されるスピードメータ1を例にあげて説明したが、本発明は、車両用の計器装置に限らず他の分野で用いられる計器装置にも適用することができる。
なお、前述した実施形態は本発明の代表的な形態を示したに過ぎず、本発明は、実施形態に限定されるものではない。即ち、本発明の骨子を逸脱しない範囲で種々変形して実施することができる。
本発明の一実施の形態にかかる計器装置を示す斜視図である。 図1に示された計器装置の平面図である。 図1に示された計器装置の移動体を示す平面図である。 図3に示された移動体の側面図である。 図4中のVーV線に沿った断面図である。 図3中のVIーVI線に沿った断面図である。 図1に示された計器装置の磁石集合体の平面図である。 図5に示された電磁石に印加される電圧の波形図である。 図8に示された波形図に基づく時間ごとの磁石集合体と移動体との位置関係を模式的に示した説明図である。 図6に示された移動体のローラの変形例を示す断面図である。 図6に示された移動体のローラの別の変形例を示す断面図である。
符号の説明
1 スピードメータ(計器装置)
2 文字板
3 指針
4 磁石集合体
5 レール部
6 移動体
11 指標部
18 磁石
20 ケース
24A,24B 電磁石
30 延出部
31 位置決め部
32 ローラ
33 軸
C 奥行き方向(磁石集合体と電磁石とが接離する方向)
D 複数の磁石の並ぶ方向
E 直交方向

Claims (3)

  1. 文字板に形成された移動体の状況を示す指標部を計測量に応じて指示する指針と、
    隣り合う磁石の磁極の向きが反対となるように前記指標部に沿って並べられた複数の磁石を有する磁石集合体と、
    前記複数の磁石の並ぶ方向と直交する直交方向に沿って互いの間に前記複数の磁石を挟むように、前記並ぶ方向に沿って前記磁石集合体に形成された一対のレール部と、
    前記指針が取り付けられたケースと該ケース内に前記磁石集合体と所定の間隔をあけて配された複数の電磁石とを有する移動体と、を有し、
    前記電磁石への電圧の印加方向が切り換えられることで、前記移動体を前記一対のレール部に沿って前記磁石集合体上を移動させる計器装置であって、
    前記移動体が、
    前記一対のレール部を挟む位置に配置されるとともに、前記ケースの前記磁石集合体側から延出し且つ前記磁石集合体と前記複数の電磁石とが近づいたり離れたりする方向に沿って弾性変形可能に形成された複数の延出部と、
    前記複数の延出部の各々に前記レール部と対向して設けられた位置決め部と、
    前記レール部と前記位置決め部とに挟持され且つ前記移動体が前記一対のレール部に沿って前記磁石集合体上を移動する際に回動する複数のローラと、
    前記ローラを前記レール部と前記位置決め部との間に回動自在に位置付けるとともに、前記位置決め部を前記所定の間隔に対応した位置に位置付けるように前記延出部を弾性変形させる複数の軸と、
    を有していることを特徴とする計器装置。
  2. 前記複数の電磁石の各々が、前記複数の磁石の並ぶ方向に沿って直列配置されていることを特徴とする請求項1に記載の計器装置。
  3. 前記複数の磁石は、互いに当該複数の磁石の並ぶ方向の幅が等しく形成されているとともに、等間隔で前記指標部に沿って並べられていることを特徴とする請求項1又は請求項2に記載の計器装置。
JP2008192274A 2008-07-25 2008-07-25 計器装置 Expired - Fee Related JP5095543B2 (ja)

Priority Applications (1)

Application Number Priority Date Filing Date Title
JP2008192274A JP5095543B2 (ja) 2008-07-25 2008-07-25 計器装置

Applications Claiming Priority (1)

Application Number Priority Date Filing Date Title
JP2008192274A JP5095543B2 (ja) 2008-07-25 2008-07-25 計器装置

Publications (2)

Publication Number Publication Date
JP2010032251A true JP2010032251A (ja) 2010-02-12
JP5095543B2 JP5095543B2 (ja) 2012-12-12

Family

ID=41736916

Family Applications (1)

Application Number Title Priority Date Filing Date
JP2008192274A Expired - Fee Related JP5095543B2 (ja) 2008-07-25 2008-07-25 計器装置

Country Status (1)

Country Link
JP (1) JP5095543B2 (ja)

Cited By (3)

* Cited by examiner, † Cited by third party
Publication number Priority date Publication date Assignee Title
US20140000508A1 (en) * 2012-06-27 2014-01-02 Delphi Technologies, Inc. Needle indicator oriented by periphery electromagnets
JP2014016180A (ja) * 2012-07-06 2014-01-30 Yazaki Corp 指針装置
DE102013224895A1 (de) * 2013-12-04 2015-06-11 Continental Automotive Gmbh Anzeigeeinrichtung

Families Citing this family (1)

* Cited by examiner, † Cited by third party
Publication number Priority date Publication date Assignee Title
KR102660088B1 (ko) * 2022-12-30 2024-04-24 주식회사 유닉스엔지니어링 아크형 리니어 스테이지 및 그 제조방법

Citations (2)

* Cited by examiner, † Cited by third party
Publication number Priority date Publication date Assignee Title
FR2790552A1 (fr) * 1999-03-04 2000-09-08 Magneti Marelli France Indicateur perfectionne pour vehicule automobile
JP2007212322A (ja) * 2006-02-10 2007-08-23 Yazaki Corp メータ

Patent Citations (2)

* Cited by examiner, † Cited by third party
Publication number Priority date Publication date Assignee Title
FR2790552A1 (fr) * 1999-03-04 2000-09-08 Magneti Marelli France Indicateur perfectionne pour vehicule automobile
JP2007212322A (ja) * 2006-02-10 2007-08-23 Yazaki Corp メータ

Cited By (4)

* Cited by examiner, † Cited by third party
Publication number Priority date Publication date Assignee Title
US20140000508A1 (en) * 2012-06-27 2014-01-02 Delphi Technologies, Inc. Needle indicator oriented by periphery electromagnets
JP2014016180A (ja) * 2012-07-06 2014-01-30 Yazaki Corp 指針装置
DE102013224895A1 (de) * 2013-12-04 2015-06-11 Continental Automotive Gmbh Anzeigeeinrichtung
US10043589B2 (en) 2013-12-04 2018-08-07 Continental Automotive Gmbh Display device

Also Published As

Publication number Publication date
JP5095543B2 (ja) 2012-12-12

Similar Documents

Publication Publication Date Title
JP5095543B2 (ja) 計器装置
JP5268364B2 (ja) 距離測定システムを有する磁気駆動システムを備えたスライドドア
EP1193847B1 (en) Slider unit with built-in moving-coil linear motor
CN107925338B (zh) 电动机磁性组合
JP5991326B2 (ja) リニアモータ
JP5895774B2 (ja) モータ
JP4719023B2 (ja) メータ
JP2008527217A5 (ja)
KR20130105341A (ko) 각도 검출 장치 및 각도 검출 장치를 사용한 토크 검출 장치
JP6187161B2 (ja) 入力デバイス
US20150165969A1 (en) Seat haptic device of vehicle
KR102154569B1 (ko) 리니어 모터
US20090179505A1 (en) Polygonal electrical machine
CN208285192U (zh) 直线电动机用磁体板和直线电动机
JP2006320035A (ja) リニアモータ
JP4963256B2 (ja) 計器装置
JP2002354779A (ja) リニアモータ
JP2016226094A (ja) 制御ユニット一体型電動駆動装置
JP6854158B2 (ja) リニアモータ
JP2002191164A (ja) リニアモータ
JP6436457B2 (ja) 回転入力装置
JP5759918B2 (ja) 電磁開閉器
US6989615B2 (en) Stepping motor
JP5995078B2 (ja) 電磁リレー
JP6547675B2 (ja) 入力装置

Legal Events

Date Code Title Description
A621 Written request for application examination

Free format text: JAPANESE INTERMEDIATE CODE: A621

Effective date: 20110527

TRDD Decision of grant or rejection written
A01 Written decision to grant a patent or to grant a registration (utility model)

Free format text: JAPANESE INTERMEDIATE CODE: A01

Effective date: 20120904

A01 Written decision to grant a patent or to grant a registration (utility model)

Free format text: JAPANESE INTERMEDIATE CODE: A01

A977 Report on retrieval

Free format text: JAPANESE INTERMEDIATE CODE: A971007

Effective date: 20120905

A61 First payment of annual fees (during grant procedure)

Free format text: JAPANESE INTERMEDIATE CODE: A61

Effective date: 20120919

R150 Certificate of patent or registration of utility model

Ref document number: 5095543

Country of ref document: JP

Free format text: JAPANESE INTERMEDIATE CODE: R150

Free format text: JAPANESE INTERMEDIATE CODE: R150

FPAY Renewal fee payment (event date is renewal date of database)

Free format text: PAYMENT UNTIL: 20150928

Year of fee payment: 3

R250 Receipt of annual fees

Free format text: JAPANESE INTERMEDIATE CODE: R250

R250 Receipt of annual fees

Free format text: JAPANESE INTERMEDIATE CODE: R250

R250 Receipt of annual fees

Free format text: JAPANESE INTERMEDIATE CODE: R250

R250 Receipt of annual fees

Free format text: JAPANESE INTERMEDIATE CODE: R250

R250 Receipt of annual fees

Free format text: JAPANESE INTERMEDIATE CODE: R250

R250 Receipt of annual fees

Free format text: JAPANESE INTERMEDIATE CODE: R250

R250 Receipt of annual fees

Free format text: JAPANESE INTERMEDIATE CODE: R250

S531 Written request for registration of change of domicile

Free format text: JAPANESE INTERMEDIATE CODE: R313531

R350 Written notification of registration of transfer

Free format text: JAPANESE INTERMEDIATE CODE: R350

R250 Receipt of annual fees

Free format text: JAPANESE INTERMEDIATE CODE: R250

LAPS Cancellation because of no payment of annual fees