JP2010032047A - ワッシャ状アンカー素子 - Google Patents

ワッシャ状アンカー素子 Download PDF

Info

Publication number
JP2010032047A
JP2010032047A JP2009171434A JP2009171434A JP2010032047A JP 2010032047 A JP2010032047 A JP 2010032047A JP 2009171434 A JP2009171434 A JP 2009171434A JP 2009171434 A JP2009171434 A JP 2009171434A JP 2010032047 A JP2010032047 A JP 2010032047A
Authority
JP
Japan
Prior art keywords
anchor
anchor element
shaft
washer
guide opening
Prior art date
Legal status (The legal status is an assumption and is not a legal conclusion. Google has not performed a legal analysis and makes no representation as to the accuracy of the status listed.)
Granted
Application number
JP2009171434A
Other languages
English (en)
Other versions
JP5464933B2 (ja
Inventor
Pietro Bianchi
ビアンキ ピエトロ
Roger Tognini
トニーニ ロジェ
Bernhard Sander
サンダー ベルンハルト
Clemens Lutz
ルッツ クレメンス
Joerg Appl
アプル ヨルグ
Current Assignee (The listed assignees may be inaccurate. Google has not performed a legal analysis and makes no representation or warranty as to the accuracy of the list.)
Hilti AG
Original Assignee
Hilti AG
Priority date (The priority date is an assumption and is not a legal conclusion. Google has not performed a legal analysis and makes no representation as to the accuracy of the date listed.)
Filing date
Publication date
Application filed by Hilti AG filed Critical Hilti AG
Publication of JP2010032047A publication Critical patent/JP2010032047A/ja
Application granted granted Critical
Publication of JP5464933B2 publication Critical patent/JP5464933B2/ja
Expired - Fee Related legal-status Critical Current
Anticipated expiration legal-status Critical

Links

Images

Classifications

    • FMECHANICAL ENGINEERING; LIGHTING; HEATING; WEAPONS; BLASTING
    • F16ENGINEERING ELEMENTS AND UNITS; GENERAL MEASURES FOR PRODUCING AND MAINTAINING EFFECTIVE FUNCTIONING OF MACHINES OR INSTALLATIONS; THERMAL INSULATION IN GENERAL
    • F16BDEVICES FOR FASTENING OR SECURING CONSTRUCTIONAL ELEMENTS OR MACHINE PARTS TOGETHER, e.g. NAILS, BOLTS, CIRCLIPS, CLAMPS, CLIPS OR WEDGES; JOINTS OR JOINTING
    • F16B13/00Dowels or other devices fastened in walls or the like by inserting them in holes made therein for that purpose
    • F16B13/14Non-metallic plugs or sleeves; Use of liquid, loose solid or kneadable material therefor
    • F16B13/141Fixing plugs in holes by the use of settable material
    • FMECHANICAL ENGINEERING; LIGHTING; HEATING; WEAPONS; BLASTING
    • F16ENGINEERING ELEMENTS AND UNITS; GENERAL MEASURES FOR PRODUCING AND MAINTAINING EFFECTIVE FUNCTIONING OF MACHINES OR INSTALLATIONS; THERMAL INSULATION IN GENERAL
    • F16BDEVICES FOR FASTENING OR SECURING CONSTRUCTIONAL ELEMENTS OR MACHINE PARTS TOGETHER, e.g. NAILS, BOLTS, CIRCLIPS, CLAMPS, CLIPS OR WEDGES; JOINTS OR JOINTING
    • F16B13/00Dowels or other devices fastened in walls or the like by inserting them in holes made therein for that purpose
    • F16B13/04Dowels or other devices fastened in walls or the like by inserting them in holes made therein for that purpose with parts gripping in the hole or behind the reverse side of the wall after inserting from the front
    • F16B13/08Dowels or other devices fastened in walls or the like by inserting them in holes made therein for that purpose with parts gripping in the hole or behind the reverse side of the wall after inserting from the front with separate or non-separate gripping parts moved into their final position in relation to the body of the device without further manual operation
    • F16B13/0875Dowels or other devices fastened in walls or the like by inserting them in holes made therein for that purpose with parts gripping in the hole or behind the reverse side of the wall after inserting from the front with separate or non-separate gripping parts moved into their final position in relation to the body of the device without further manual operation with elastic discs or spring washers anchoring in the hole
    • FMECHANICAL ENGINEERING; LIGHTING; HEATING; WEAPONS; BLASTING
    • F16ENGINEERING ELEMENTS AND UNITS; GENERAL MEASURES FOR PRODUCING AND MAINTAINING EFFECTIVE FUNCTIONING OF MACHINES OR INSTALLATIONS; THERMAL INSULATION IN GENERAL
    • F16BDEVICES FOR FASTENING OR SECURING CONSTRUCTIONAL ELEMENTS OR MACHINE PARTS TOGETHER, e.g. NAILS, BOLTS, CIRCLIPS, CLAMPS, CLIPS OR WEDGES; JOINTS OR JOINTING
    • F16B43/00Washers or equivalent devices; Other devices for supporting bolt-heads or nuts

Landscapes

  • Engineering & Computer Science (AREA)
  • General Engineering & Computer Science (AREA)
  • Mechanical Engineering (AREA)
  • Joining Of Building Structures In Genera (AREA)
  • Bolts, Nuts, And Washers (AREA)

Abstract

【課題】外側溝付き輪郭を有するシャフトに簡単に組み付け可能であり、固定素子の打込みコストを低減するアンカー素子を得る。
【解決手段】外側溝付き輪郭を備えた、固定素子のシャフトに取付けるワッシャ状アンカー素子11であって、シャフトのための案内開口12を有する該ワッシャ状アンカー素子11において、案内開口12に向かって開口し、かつ、この案内開口12の半径方向外方に位置する少なくとも1個の補整切除部13を設ける。好適には、アンカー素子11の外周縁14に溝付き輪郭を設け、この溝付き輪郭は切欠き15によって形成する。また、アンカー素子11に、硬化可能物質43用の少なくとも1個の通口17を設けると好適である。
【選択図】図1

Description

本発明は、固定素子の、外側溝付き輪郭を有するシャフトに組み付ける、シャフトのための案内開口を備えるワッシャ状アンカー素子に関する。さらに本発明は、硬化可能物質によってドリル孔内に定着可能である、少なくとも1個のワッシャ状アンカー素子を備える固定素子、および、このような固定素子を用いた固定アセンブリにも関する。
外側溝付き輪郭を有するシャフトを備え、固定素子をドリル孔内に挿入する前または後にドリル孔内に注入する硬化可能物質によってドリル孔内に化学的に定着する固定素子が知られている。固定素子は、例えば、その全長に渡りねじ山を外側溝付き輪郭として備える、ねじ山ロッドとする。これらの固定素子が化学的に定着されると、シャフトと硬化した硬化可能物質との間の接触領域や、ドリル孔壁と硬化した硬化可能物質との間の接触領域などの固定点において破断が生じ得る。
ドリル孔や、特にドリル孔壁を洗浄することで、ドリル孔壁付近の硬化可能物質の付着性は改善され、結果としてドリル孔内での固定素子の定着も改善される。ドリル孔の洗浄には、付加的な作業コストが必要であるほか、別個の補助手段が必要とし、この補助手段は別途入手する必要がある。
特許文献1(米国特許第1688087号)に記載する、硬化可能物質によりドリル孔内に定着可能な固定素子は、ねじ山を外側溝付き輪郭として有するシャフトと、シャフトのための案内開口を有する複数のワッシャ状アンカー素子とを備え、ワッシャ状アンカー素子の外径は、ドリル孔の呼び径よりも大きい。この固定素子は、全体として、つまりシャフトに取付けたアンカー素子と共に、ドリル孔内に挿入する。ワッシャ状アンカー素子は、例えば固定素子の挿入前または挿入後に注入される、固定素子をドリル孔内に定着するための硬化可能物質が充分に硬化するまで、固定素子をドリル孔内に機械的に定着する。さらに、アンカー素子は、硬化した硬化可能物質を補強するので、一層高い引き抜き抵抗が得られる。
この既知の解法の欠点は、シャフトの外側溝付き輪郭が原因で、ワッシャ状アンカー素子が、シャフトに組み付けられた状態において、シャフトの長手方向軸に直交する平面から傾き易い点にある。このため、固定素子の打込み作業後にドリル孔から突出するシャフト部分が、建設構造部分の表面から直角に突出しないこととなる。後からシャフトを調整するのは、もしするとしても、少なくとも1個のアンカー素子から発生した反作用力に抗して行わなくてはならないため、限定的にのみ可能である。
米国特許第1688087号明細書
したがって、本発明の課題は、ひとつには、外側溝付き輪郭を有するシャフトに簡単に組み付け可能であり、固定素子の打込みコストを低減するアンカー素子を得ることにある。さらには、化学的に定着可能であり、少なくとも1個のアンカー素子を備える固定素子、および、このような固定素子を用いた固定アセンブリであって、打込みコストを低減するものを得ることにある。
この課題は、アンカー素子、固定素子、固定アセンブリにおいて、独立請求項に記載する特徴によって解決される。好適な実施形態については従属請求項に記載する。
本発明によれば、少なくとも1個の、案内開口に向かって開口し、かつ、この案内開口の半径方向外方に位置する補整切除部を設ける。
少なくとも1個の補整切除部を設けることで、の外側溝付き輪郭を有するシャフトの傾斜が補整され、アンカー素子が、据え付けられた状態において、シャフトに対して実質的に直交方向、または半径方向に延びる平面上に延在するようになる。アンカー素子をシャフトに組み付けた状態において、アンカー素子から広がる主平面は、シャフトの長手方向軸線とほぼ90°の角度で交わる。少なくとも1個の補整切除部は、案内開口の半径方向限定端縁に設け、半径方向外方に拡大する。好適には、この少なくとも1個の補整切除部を、切欠き、または一方が閉じたスリットとして構成する。少なくとも1個のアンカー素子を備える固定素子は、打込み後にドリル孔内で向き調整する必要は無い場合が多く、また、向き調整するとしても簡単に行うことができる。
案内開口は、好適には、固定素子のシャフト上で適合する形態を有するものとし、このため、円から逸脱した形態を有しても良い。好適には、案内開口は、アンカー素子の外周縁を構成する仮想包絡線に対し同心に設ける。また、代替実施形態において、案内開口は、同心配置からずらして設けてもよい。こうすることで、案内開口の半径方向の輪郭とアンカー素子の外周縁を構成する仮想包絡線との間の幅が変化する。
好適には、アンカー素子の外周縁に溝付き輪郭を設ける。この溝付き輪郭を設けることで、アンカー素子は、ドリル孔の形態に簡単に適合することが可能となる。溝付き輪郭は、例えば、半径方向外方に開口する切欠きとして構成する。切欠きは、好適には、外周縁からアンカー素子の中心に向かって延在する、一方が閉じたスリットとして構成する。切欠き相互間のアンカー素子部分は、容易に偏向可能なフィンを構成する。これにより、剛性の高い材料で形成したアンカー素子も、挿入する穿孔への適合性を確保することができる。汎用性の高いアンカー素子の実施形態においては、少なくとも1個の補整切除部および溝付き輪郭の切欠きは、少なくとも部分的にオーバーラップする。さらに好適には、異なる種類の切欠きをアンカー素子の外周縁に設ける。例えば、外周縁に可動フィンを構成する第1スリットを設け、これら第1スリット間にアンカー素子の端縁を広げる第2スリットを設ける。
好適には、アンカー素子のワッシャ平面を波状形態に構成する。これにより、少なくとも1個の補整切除部を設けていても、特にドリル孔内に挿入する際に、アンカー素子に充分な剛性をもたせることができる。
アンカー素子をドリル孔壁に好適に定着したり、シャフトに好適に固定したりするには、アンカー素子の厚さを、好適には0.01mm〜2.00mm、特に好適には0.05mm〜1.00mmとする。
好適には、アンカー素子のワッシャ平面の厚みを変化させる。この構成により、アンカー素子は、特にドリル孔内に挿入する際に好適に順応しやすく変形するようになる。特に好適な実施形態において、この厚みを、案内開口から半径方向外方に向かって増大する。こうすることで、アンカー素子とドリル孔壁との接触領域に、固定素子を機械的に定着するのに充分な量の材料を配備することができる。他の好適な実施形態においては、外周縁から半径方向内方の案内開口に向かって厚みを増大する。こうすることで、アンカー素子とシャフトとの接触領域に、アンカー素子をシャフトに固定するのに充分な量の材料を配備することができる。さらに、アンカー素子の厚みは、一方では案内開口から半径方向外方に向かって、他方では外周縁から半径方向内方の案内開口に向かって増大することもできる。こうすることで、アンカー素子は、外周縁と案内開口との間に、最大量の材料を備えることができる。
好適には、硬化可能物質のための少なくとも1個の通口をアンカー素子に設ける。こうすることで、アンカー素子を硬化可能物質で満たしたドリル孔に挿入する際に、押し退けられた硬化可能物質がアンカー素子を貫通し、これを完全に包み込むことができる。固定素子の挿入後に、ドリル孔を硬化可能物質で充填する場合、注入した物質が、少なくとも1個の通口を通って邪魔されることなくドリル孔底に流動して到達することができる。好適な実施形態においては、アンカー素子の外周縁に少なくとも1個の通口を設ける。代替として、またはこれへの補完として、硬化可能物質のための、半径方向に閉じた少なくとも1個の通口をアンカー素子に設けてもよい。
好適には、アンカー素子を金属製、特に好適には、金属プレート製とする。これにより、アンカー素子に充分な剛性をもたせることができる。簡単かつ経済的にアンカー素子を製造するには、特に打抜き/曲げ加工が適している。
代替実施形態においては、アンカー素子を合成樹脂製としてもよい。簡単かつ経済的にアンカー素子を製造するには、特に射出成形が適している。
好適な実施形態において、アンカー素子は、絶縁素材製とする。例えば、鉄道の枕木を固定する際など、電流が遮断されるべき使用時には、アンカー素子により、シャフトとドリル孔壁との間に充分な距離が確保され、電流は、建設構造体から固定素子のシャフトに流れる。
代替案において、アンカー素子は、硬化可能物質が硬化するまでドリル孔内にて固定素子を充分に機械的に定着するものであれば、金属や合成樹脂以外の素材から作っても良い。
本発明に係る、硬化可能物質によりドリル孔内に定着可能な固定素子には、外側溝付き輪郭を有するシャフトと、シャフトのための案内開口を有する少なくとも1個のワッシャ状アンカー素子とを設け、案内開口に向かって開口し、かつ、この案内開口の半径方向が外方に位置する少なくとも1個の補整切除部を設ける。
この固定素子は、容易に製造可能であり、かつ、例えば壁や天井などの、建設構造部分に設けたドリル孔に簡単に組み付けることができる。外側溝付き輪郭は、例えばねじ山とする。
固定素子の、少なくとも1個のワッシャ状アンカー素子は、個別にも、また、全体としてでも、前述のアンカー素子の特徴を備えることができる。
好適には、複数のアンカー素子を、互いに離間するようにシャフトに取付ける。こうすることで、好適に固定素子を機械的に定着し、ドリル孔内で固定素子を簡単に向き調整することができ、加えて、硬化した硬化可能物質が好適に補強される。好適には、複数のアンカー素子を互いに一定の間隔を置いて離間するようにシャフトに取付ける。
好適には、異なる形態を有する複数のアンカー素子を一本のシャフトに取付けても良い。こうすることで、様々なアンカー深さにおいて、異なるアンカー特性を必要に応じて組み合わせることができる。例えば、ワッシャ状アンカー素子を、筒状やねじ状のアンカー素子と組み合わせてシャフトに設けても良い。
好適には、少なくとも2個のワッシャ状アンカー素子を、それぞれ、その端縁部分において、互いに連結し、1個のアンカーユニットとする。こうすることで、シャフトは、全ての、互いに連結されたワッシャ状アンカー素子を貫通して案内されることになる。少なくとも2個のワッシャ状アンカー素子を連結するには、例えばこれらを、打抜き/曲げ加工において完全に互いに切り離さないようにするか、または、例えばはんだ付けポイントや貼り付け点などの固定ポイントにおいて、もしくは、クランプ手段や把持手段によって、互いに連結する。
好適には、3個以上のワッシャ状アンカー素子を、それぞれ、交互にその対峙する側にて互いに連結する。特に好適には、アンカー素子間の距離は、アンカーユニットが押し潰されたり、引き伸ばされたりすることで、穿孔内にて固定素子またはアンカー長さを簡単に適合するものとする。
ドリル孔内の固定素子のための本発明固定アセンブリは、硬化可能物質による呼び径を有し、また、該固定アセンブリが備える固定素子は、外側溝付き輪郭を有するシャフトと、シャフトのための案内開口、および、穿孔の呼び径よりも大きい外径を有する少なくとも1個のワッシャ状アンカー素子とを備え、このワッシャ状アンカー素子は、案内開口に向かって開口し、かつ、この開口の半径方向外方に位置する少なくとも1個の補整切除部を備える。
固定素子をドリル孔内に挿入する際に、アンカー素子がドリル孔壁に触れながらこれに沿って摺動することで、同時に穿孔の洗浄が行われる。このとき、剥がされてドリル孔底に溜まった掘削屑は、場合によっては硬化可能物質内に混入し、その大部分が、もはや外部に漏れ出ることはない。固定素子を打込む前にドリル孔を洗浄することは、もはや必要としないが、それでも、定着された固定素子は、高い荷重支持能力を備えることとなる。さらに、この、少なくとも1個のアンカー素子は、固定素子をドリル孔内に挿入する際に、硬化可能物質の飛沫が外部に飛び散るのを防止する役割も果たす。
洗浄ステップを省略できることで、利用確実性が高まり、固定素子の打込み速度が速まる。また、他に装置が必要とされることはなく、外気が掘削屑によってさらに汚染されることもない。さらに、この固定素子においては、特に、複数のアンカー素子によって、シャフトをそのアンカー長さ全体に渡って、ドリル孔内の硬化可能物質によって充分に覆うことができる。
少なくとも1個のワッシャ状のアンカー素子もしくは固定素子は、個別にも、また、全体としてでも、前述のアンカー素子または前述の固定素子の特徴を備えることができる。
本発明アンカー素子の第1実施例の平面図である。 図1に示すアンカー素子の側面図である。 本発明アンカー素子の第2実施例の平面図である。 固定素子を有する固定アセンブリの部分断面図である。 本発明固定素子の変更例の側面図である。
以下図面につき、本発明の実施形態を詳述する。
図1および図2に示すワッシャ状アンカー素子11には、シャフトのための案内開口12と、この案内開口12の半径方向の限定範囲における補整用切除部13とを設け、この補整用切除部13は、半径方向内方に向かって開口する切欠きとして構成する。アンカー素子11の外周縁14は、半径方向外方に開口する複数の切欠き15を設けた溝付き輪郭を有する。これら切欠き15は、複数の、容易に偏向可能なフィンを構成する。これら切欠き15間のフィンには、外周縁14から半径方向内方に指向する複数のスリット16を設ける。これらスリット16の存在によりアンカー素子11の遊端縁を部分的に拡開し、これにより、ドリル孔壁に簡単に適合可能となる。アンカー素子11の外周縁14には、さらに、硬化可能物質用の2個の通口17を設ける。アンカー素子11は外径D1を有する。
アンカー素子11のワッシャ平面は波状の形態を有する(図2参照)。また、アンカー素子11のワッシャ平面の厚みには変化を持たせる。図示する実施形態においては、案内開口12から半径方向外方に向かって厚さが増大する。
アンカー素子11は、金属製、好適には、金属プレート製とし、打抜き/曲げ加工により製造する。
アンカー素子11は、据え付け状態において、硬化可能物質43に完全に包囲されるため、その厚さEが薄い場合にも、硬化可能物質43が完全に硬化する前に、荷重の下で折れ曲ることは回避される。
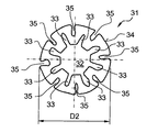
図3に示すワッシャ状アンカー素子31は、やはり、シャフトのための案内開口32と、この案内開口32の半径方向の限定範囲における補整用切除部33として、複数の半径方向外方に延在するスリットを設ける。容易に偏向可能なフィン、または、外周縁34の溝付き輪郭を構成するために、アンカー素子11の外周縁34から半径方向内方に指向する複数のスリット35を設ける。平面図における投射影においては、補整用切除部33とスリット35とは部分的にオーバーラップする。アンカー素子31は外径D2を有する。
アンカー素子31は合成樹脂製、好適には、繊維補強合成樹脂製とし、射出成形により製造する。
図4には、固定素子51をドリル孔42内に硬化可能物質43を用いて定着した固定アセンブリ41を示す。
固定素子51は、外側溝付き輪郭53として雄ねじを有するシャフト52と、複数の互いに離間するアンカー素子11および31とを備える。アンカー素子11および31は、それぞれ、シャフト52の2つのグループ54および55として配列する。シャフト52の打込み方向の端部56側のグループ55は、シャフト52に一定間隔で取付けた複数のアンカー素子31を設ける。このグループ55から距離をおいて、他方のグループ54を設ける。このグループ54は、シャフト52に一定間隔で取付けた複数のアンカー素子11を設ける。
また、グループ54または55には、異なる形態のアンカー素子11,31の双方を含むものとしてもよい。さらに、グループ54または55内におけるアンカー素子11,31同士間の間隔は異なるものとすることもでき、こうすることで、固定素子51を個々の状況に簡単に適合させることができる。
固定素子51を打込むには、まず、建設構造部分44にドリル孔42を形成する。この形成したドリル孔42の呼び径Nは、アンカー素子11の外径D1およびアンカー素子31の外径D2よりも小さいものとする。また、穿孔深さTは、一方では、固定素子51が必要とするアンカー長さによって、他方では、固定素子51が掘削屑を穿孔42内に収容するのに必要とする空間によって、決定される。
続いて、ドリル孔42に、規定量の硬化可能物質43を充填し、固定素子51をそのシャフト52の打込み方向側の端部56からドリル孔42内に挿入する。この挿入は、手動または機械により行う。このとき、アンカー素子11,31はドリル孔壁に触れながらこれに沿って摺動するので、ドリル孔壁に付着した掘削屑の大部分がドリル孔壁から剥がされ、硬化可能物質43に混入する、または、ドリル孔底に溜まる。アンカー素子11,31は、例えば、シャフト52上に留まる、または例えばシャフト52にねじ留めされる。固定素子51を挿入する際に、硬化可能物質43は流動し、アンカー素子11,31は、通口17および切欠き15またはスリット33,35に流れ込み、よって、硬化可能物質43および混入した掘削屑を均一に撹拌し、アンカー素子11,31は、物質43の硬化後、十分な埋設状態となる。
代替案として、まず固定素子51をドリル孔42内に挿入し、続いて硬化可能物質43を注入することもできる。他の代替案として、まず、少量の硬化可能物質43をドリル孔42内に注入してから固定素子51をドリル孔42内に挿入し、続いてドリル孔42の残りの空間に残りの硬化可能物質43を充填することもできる。
さらに、シャフト52には注入孔を設けることもでき、この構成により、固定素子51をドリル孔42内に挿入した後、または挿入中にも、硬化可能物質43をドリル孔42内に注入することが可能となる。
硬化可能物質43の硬化前においても、固定素子51は既に限定的なレベルの荷重支持能力を備える。なぜなら、固定素子51のアンカー素子11,31がドリル孔42内で機械的に定着するからである。また、硬化可能物質43の硬化後は、据え付けた固定素子51は、最大許容荷重支持能力を備える。
その後もアンカー素子11または31の外周縁14または34は、少なくとも部分的にドリル孔壁に定着して、充分な接触面が存在するので、固定アセンブリ41をひび割れたコンクリートにも適用することができる。
図5に示す固定素子61は、その外側溝付き輪郭63としてねじ山を有するシャフト62に、アンカーユニット72を備える。このアンカーユニット72は、複数のワッシャ状アンカー素子71より成り、これらアンカー素子71は、それぞれその端縁部分73で互いに連結する。

Claims (12)

  1. 外側溝付き輪郭(53)を備えた、固定素子(51;61)のシャフト(52;62)に取付けるワッシャ状アンカー素子(11;31;71)であって、前記シャフト(52;62)のための案内開口(12;32)を有する該ワッシャ状アンカー素子(11;31;71)において、
    前記案内開口(12;32)に向かって開口し、かつ、この案内開口(12;32)の半径方向外方に位置する少なくとも1個の補整切除部(13;33)を設けたことを特徴とする、ワッシャ状アンカー素子。
  2. 請求項1記載のアンカー素子において、前記アンカー素子(11;31)の外周縁(14;34)に溝付き輪郭を設けた、ワッシャ状アンカー素子。
  3. 請求項1または2記載のアンカー素子において、前記アンカー素子(11)のワッシャ平面を波状形態にした、ワッシャ状アンカー素子。
  4. 請求項1〜3のうちいずれか一項に記載のアンカー素子において、前記アンカー素子(11)の前記ワッシャ平面の厚みを変化させ、随意的に、前記案内開口(12)から半径方向外方に向かって前記厚みを増大させた、ワッシャ状アンカー素子。
  5. 請求項1〜4のうちいずれか一項に記載のアンカー素子において、前記アンカー素子(11)に、硬化可能物質(43)用の少なくとも1個の通口(17)を設けた、ワッシャ状アンカー素子。
  6. 請求項1〜5のうちいずれか一項に記載のアンカー素子において、前記アンカー素子(11;31;71)を金属製としたワッシャ状アンカー素子。
  7. 請求項1〜5のうちいずれか1項に記載のアンカー素子において前記アンカー素子(11;31;71)を合成樹脂製としたワッシャ状アンカー素子。
  8. 固定素子(51;61)であって、硬化可能物質(43)により、ドリル孔(42)内に定着可能であり、外側溝付き輪郭(53;63)を有するシャフト(52;62)を備え、また、前記シャフト(52;62)のための案内開口(12;32)を有する少なくとも1個のワッシャ状アンカー素子(11;31;71)を備える該固定素子において、
    前記案内開口(12;32)に向かって開口し、かつ、この案内開口(12;32)の半径方向外方に位置する少なくとも1個の補整切除部(13;33)を設けたことを特徴とする、固定素子。
  9. 請求項8記載の固定素子において、複数の前記アンカー素子(11;31)を互いに離間するように前記シャフト(52)に取付けた固定素子。
  10. 請求項8または9記載の固定素子において、異なる形態を有する複数のアンカー素子(11;31)を前記シャフト(52)に設けた、固定素子。
  11. 請求項8〜10のうちいずれか一項に記載の固定素子において、少なくとも2個のワッシャ状アンカー素子(71)を、それぞれの端縁部分(73)で互いに連結し、1個のアンカーユニット(72)とした、固定素子。
  12. 呼び径(N)を有するドリル孔(42)内の固定素子(51)のための、硬化可能物質(43)による固定アセンブリ(41)であって、前記固定素子(51)は、外側溝付き輪郭(53)を有するシャフト(52)と、前記シャフト(52)のための案内開口(12;32)、および、前記ドリル孔(42)の呼び径(N)よりも大きい外径(D1;D2)を有する少なくとも1つのワッシャ状アンカー素子(11;31)とを備える、該固定アセンブリにおいて、
    前記案内開口(12;32)に向かって開口し、かつ、この開口(12;32)の半径方向外方に位置する少なくとも1個の補整切除部(13;33)を前記アンカー素子(11;31)に設けたことを特徴とする固定アセンブリ。
JP2009171434A 2008-07-24 2009-07-22 ワッシャ状アンカー素子 Expired - Fee Related JP5464933B2 (ja)

Applications Claiming Priority (2)

Application Number Priority Date Filing Date Title
DE102008040677.5 2008-07-24
DE102008040677A DE102008040677A1 (de) 2008-07-24 2008-07-24 Ringscheibenförmiges Verankerungselement

Publications (2)

Publication Number Publication Date
JP2010032047A true JP2010032047A (ja) 2010-02-12
JP5464933B2 JP5464933B2 (ja) 2014-04-09

Family

ID=41119324

Family Applications (1)

Application Number Title Priority Date Filing Date
JP2009171434A Expired - Fee Related JP5464933B2 (ja) 2008-07-24 2009-07-22 ワッシャ状アンカー素子

Country Status (5)

Country Link
US (1) US20100021261A1 (ja)
EP (1) EP2148098A3 (ja)
JP (1) JP5464933B2 (ja)
CA (1) CA2671583A1 (ja)
DE (1) DE102008040677A1 (ja)

Cited By (1)

* Cited by examiner, † Cited by third party
Publication number Priority date Publication date Assignee Title
JP2018080495A (ja) * 2016-11-16 2018-05-24 株式会社ティ・エス・プランニング アンカー固定金具

Families Citing this family (6)

* Cited by examiner, † Cited by third party
Publication number Priority date Publication date Assignee Title
US9362634B2 (en) * 2011-12-27 2016-06-07 Perfectvision Manufacturing, Inc. Enhanced continuity connector
CN103085977A (zh) * 2013-02-04 2013-05-08 哈尔滨东安发动机(集团)有限公司 一种直升机传动系统使用的铝箔调整垫
JP6513501B2 (ja) * 2015-06-15 2019-05-15 大豊工業株式会社 ワッシャの製造方法及びワッシャ
US10472999B2 (en) * 2016-08-18 2019-11-12 Ford Global Technologies, Llc Methods and system for adjusting camshafts
CN107183092A (zh) * 2017-06-22 2017-09-22 无锡市锡东金属磁材厂 转炉主轴垫片
CN107197889A (zh) * 2017-06-22 2017-09-26 无锡市锡东金属磁材厂 热风旋转炉主轴垫片

Citations (3)

* Cited by examiner, † Cited by third party
Publication number Priority date Publication date Assignee Title
GB664218A (en) * 1948-09-17 1952-01-02 United Carr Fastener Corp Improvements in and relating to screw fasteners
JPS5980515A (ja) * 1982-07-29 1984-05-10 イリノイ・ツ−ル・ワ−クス・インコ−ポレイテツド アンカー装置
EP0316199A1 (en) * 1987-11-12 1989-05-17 David Patrick Payne Method & means for fixing building components together

Family Cites Families (20)

* Cited by examiner, † Cited by third party
Publication number Priority date Publication date Assignee Title
US1688087A (en) 1927-07-12 1928-10-16 Richard A Mirzan Means for anchoring bolts
US2012032A (en) * 1932-08-11 1935-08-20 William E Zinnbauer Lock washer
US2158378A (en) * 1937-03-20 1939-05-16 Illinois Tool Works Lock washer
US2640219A (en) * 1949-06-28 1953-06-02 United Carr Fastener Corp Furniture glider
US3149655A (en) * 1961-08-14 1964-09-22 Illinois Tool Works Twisted tooth lock washer
FR88658E (fr) * 1965-01-25 1967-03-10 Procédé et dispositif de soutènement par scellement, notamment des toits et des parements de mines
EP0181945B1 (de) * 1984-10-24 1988-09-21 Georg Walz Verfahren zum dichten Einbau eines rohr- oder stangenförmigen Bauteils in eine Aufnahmeöffnung eines Konstruktionskörpers
US4812193A (en) * 1986-12-22 1989-03-14 Gauron Richard F Inset panel fastener and method of using
JP2759126B2 (ja) * 1988-06-29 1998-05-28 清水建設株式会社 アンカーの埋込構造
US4958970A (en) * 1988-08-17 1990-09-25 The United States Of America As Represented By The Secretary Of The Navy Graduated-load spring washer system for screws and threaded fasteners
DE4010051C1 (ja) * 1990-03-29 1991-08-08 Upat Gmbh & Co, 7830 Emmendingen, De
GB9115850D0 (en) * 1991-07-23 1991-09-04 Univ Manchester Coupling
US5188494A (en) * 1992-04-21 1993-02-23 Itt Corporation Torque indicator device and method for use with a threaded fastener
US5205693A (en) * 1992-05-11 1993-04-27 Fuller S Wyatt Quick release bolt
US5562377A (en) * 1995-04-28 1996-10-08 Giannuzzi; Louis N. Anchor sleeve and bolt assembly
US5857817A (en) * 1995-04-28 1999-01-12 Anthony C. Giannuzzi Centering sleeve and overflow member assembly for masonry installations
JP3238327B2 (ja) * 1996-06-27 2001-12-10 株式会社オー・ピー・ジ 木材締結用座金付きナット
US6393795B1 (en) * 2000-08-16 2002-05-28 Illinois Tool Works Inc. Adhesive anchor and system
US6468011B2 (en) * 2001-01-31 2002-10-22 Hewlett-Packard Company Precision fastener assembly having a pre-compressed captive spring
US6705813B2 (en) * 2002-02-07 2004-03-16 Pierre P. Schwab Snap disc device

Patent Citations (3)

* Cited by examiner, † Cited by third party
Publication number Priority date Publication date Assignee Title
GB664218A (en) * 1948-09-17 1952-01-02 United Carr Fastener Corp Improvements in and relating to screw fasteners
JPS5980515A (ja) * 1982-07-29 1984-05-10 イリノイ・ツ−ル・ワ−クス・インコ−ポレイテツド アンカー装置
EP0316199A1 (en) * 1987-11-12 1989-05-17 David Patrick Payne Method & means for fixing building components together

Cited By (1)

* Cited by examiner, † Cited by third party
Publication number Priority date Publication date Assignee Title
JP2018080495A (ja) * 2016-11-16 2018-05-24 株式会社ティ・エス・プランニング アンカー固定金具

Also Published As

Publication number Publication date
JP5464933B2 (ja) 2014-04-09
DE102008040677A1 (de) 2010-01-28
US20100021261A1 (en) 2010-01-28
EP2148098A2 (de) 2010-01-27
CA2671583A1 (en) 2010-01-24
EP2148098A3 (de) 2011-05-11

Similar Documents

Publication Publication Date Title
JP5464933B2 (ja) ワッシャ状アンカー素子
KR101245888B1 (ko) 골절합용 플레이트
JP2013510660A (ja) 縫合糸を固定するアンカーアセンブリ
JP2010503502A (ja) 胸骨閉鎖装置
JPS6149526B2 (ja)
KR100767324B1 (ko) 유리패널에 앵커볼트를 고정하는 방법
KR101629720B1 (ko) 잠금 수단을 가지는 뼈 플레이트 조립체 및 그 조립방법
US9551370B2 (en) Anchoring sleeve
KR20100010756U (ko) 방사형핀을 구비한 히트싱크
US6709214B1 (en) Fixing element adapted to be manually pushed into position for fixing insulating strips or plates on a solid substructure
JP5517518B2 (ja) アンカ素子
JP2013514469A (ja) アンカスリーブ
EP3842646A1 (en) Expansion dowel
JP5611148B2 (ja) 鉄筋コンクリート構造物のせん断補強方法および補助装置
US20100021259A1 (en) Anchoring Element
WO2012155127A1 (en) Water draining plug
KR100981679B1 (ko) 타공장치
KR20160127961A (ko) 앙카볼트 및 그 시공방법
JP6410975B1 (ja) 床版水抜き管及び該床版水抜き管を使用する橋面排水システム施工方法
US20120282058A1 (en) Anchor Rod
US10233959B2 (en) Anchor for accepting a screw or fastener and a method of using the same
KR20100024171A (ko) 차량의 오버슬램 범퍼유닛
KR20020059242A (ko) 내벽 봉합 고정용 장치
JP3219390U (ja) 戸の振動防止具
JP2018015926A (ja) 穿孔治具及びそれを用いた穿孔方法並びに脚部固定方法

Legal Events

Date Code Title Description
A621 Written request for application examination

Free format text: JAPANESE INTERMEDIATE CODE: A621

Effective date: 20120711

A977 Report on retrieval

Free format text: JAPANESE INTERMEDIATE CODE: A971007

Effective date: 20130725

A131 Notification of reasons for refusal

Free format text: JAPANESE INTERMEDIATE CODE: A131

Effective date: 20130730

A601 Written request for extension of time

Free format text: JAPANESE INTERMEDIATE CODE: A601

Effective date: 20131030

A602 Written permission of extension of time

Free format text: JAPANESE INTERMEDIATE CODE: A602

Effective date: 20131105

A521 Written amendment

Free format text: JAPANESE INTERMEDIATE CODE: A523

Effective date: 20131125

TRDD Decision of grant or rejection written
A01 Written decision to grant a patent or to grant a registration (utility model)

Free format text: JAPANESE INTERMEDIATE CODE: A01

Effective date: 20140107

A61 First payment of annual fees (during grant procedure)

Free format text: JAPANESE INTERMEDIATE CODE: A61

Effective date: 20140121

R150 Certificate of patent or registration of utility model

Ref document number: 5464933

Country of ref document: JP

Free format text: JAPANESE INTERMEDIATE CODE: R150

Free format text: JAPANESE INTERMEDIATE CODE: R150

R250 Receipt of annual fees

Free format text: JAPANESE INTERMEDIATE CODE: R250

R250 Receipt of annual fees

Free format text: JAPANESE INTERMEDIATE CODE: R250

R250 Receipt of annual fees

Free format text: JAPANESE INTERMEDIATE CODE: R250

LAPS Cancellation because of no payment of annual fees