JP2010031743A - 内燃機関の蒸発燃料処理装置 - Google Patents

内燃機関の蒸発燃料処理装置 Download PDF

Info

Publication number
JP2010031743A
JP2010031743A JP2008194806A JP2008194806A JP2010031743A JP 2010031743 A JP2010031743 A JP 2010031743A JP 2008194806 A JP2008194806 A JP 2008194806A JP 2008194806 A JP2008194806 A JP 2008194806A JP 2010031743 A JP2010031743 A JP 2010031743A
Authority
JP
Japan
Prior art keywords
fuel
canister
concentration
purge
evaporated fuel
Prior art date
Legal status (The legal status is an assumption and is not a legal conclusion. Google has not performed a legal analysis and makes no representation as to the accuracy of the status listed.)
Granted
Application number
JP2008194806A
Other languages
English (en)
Other versions
JP4952678B2 (ja
Inventor
Yusaku Nishimura
勇作 西村
Current Assignee (The listed assignees may be inaccurate. Google has not performed a legal analysis and makes no representation or warranty as to the accuracy of the list.)
Toyota Motor Corp
Original Assignee
Toyota Motor Corp
Priority date (The priority date is an assumption and is not a legal conclusion. Google has not performed a legal analysis and makes no representation as to the accuracy of the date listed.)
Filing date
Publication date
Application filed by Toyota Motor Corp filed Critical Toyota Motor Corp
Priority to JP2008194806A priority Critical patent/JP4952678B2/ja
Publication of JP2010031743A publication Critical patent/JP2010031743A/ja
Application granted granted Critical
Publication of JP4952678B2 publication Critical patent/JP4952678B2/ja
Expired - Fee Related legal-status Critical Current
Anticipated expiration legal-status Critical

Links

Images

Landscapes

  • Supplying Secondary Fuel Or The Like To Fuel, Air Or Fuel-Air Mixtures (AREA)

Abstract

【課題】キャニスタの小型化および非給油時における封鎖弁の開閉制御の簡素化を図ることができる内燃機関の蒸発燃料処理装置を提供する。
【解決手段】給油専用キャニスタシステムにおけるキャニスタ11のキャニスタケーシング5内の略全域に吸着剤6A,6Bを充填する。キャニスタケーシング5に形成されているタンクポート51とパージポート52との間にHC濃度検出用配管7を挿通し、非給油時に燃料タンクからキャニスタ11内に流入した蒸発燃料が流れるバイパス領域Bでの蒸発燃料濃度を検出する。この蒸発燃料濃度が高い状況では、パージ動作を継続すると共に封鎖弁の閉鎖状態を維持する。蒸発燃料濃度が低くなると、封鎖弁を一時的に開放して燃料タンク内の蒸発燃料をキャニスタ11内に導入する。これにより、導入された蒸発燃料は上記バイパス領域Bのみを流れることになる。
【選択図】図2

Description

本発明は、燃料タンク(例えば自動車用燃料タンク)内で発生した蒸発燃料を大気中に放出することなく処理するための内燃機関の蒸発燃料処理装置に係る。
従来より、自動車用エンジンの燃料供給系には、燃料タンク内で発生した蒸発燃料が大気中に放出されることを防止するためのキャニスタシステム(蒸発燃料処理装置)が備えられている。この種のキャニスタシステムでは、燃料タンク内で発生した蒸発燃料を一時的にチャコールキャニスタ(以下、単にキャニスタという)に吸着保持しておき、所定のパージ条件が成立すると、エンジン吸気系の吸入負圧を利用してキャニスタ内の蒸発燃料をエンジンの吸気管に導入(パージ)するようになっている(例えば、下記の特許文献1および特許文献2を参照)。
一般的なキャニスタシステムでは、燃料タンクとキャニスタとを接続するベーパ配管、キャニスタとエンジンの吸気管とを接続するパージ配管、キャニスタ内を大気に連通させる大気導入配管が備えられている。そして、上記ベーパ配管には、燃料タンクとキャニスタとの間を遮断可能な封鎖弁が設けられている。また、上記パージ配管には、吸気管への蒸発燃料の導入量を制御するための電動弁で成るパージ制御弁(以下、パージVSVという)が設けられている。更に、大気導入配管には、キャニスタ内への大気圧の導入/非導入を切り替える切り替え弁が設けられている。
また、キャニスタシステムの1タイプとして、特許文献2に開示されている給油専用キャニスタシステムと呼ばれるものがある。この給油専用キャニスタシステムは、燃料タンクへの給油作業が行われる際に上記封鎖弁を開放し、燃料タンク内の蒸発燃料をキャニスタ内に回収するようにしたものである。つまり、車両の走行時や給油作業が行われていない車両停車時など(以下、これらの状態を非給油時と呼ぶ)では、燃料タンクの内圧が所定圧以上まで上昇しない限り封鎖弁の閉鎖状態を維持するようにしている。これにより、キャニスタの蒸発燃料回収負荷を軽減し、キャニスタ内に吸着保持していた蒸発燃料を非給油時に効果的に吸気管に向けて排出(パージ)できるようにしている。
この給油専用キャニスタシステムでは、上記非給油時において、燃料タンクの内圧が所定圧以上まで上昇した場合には封鎖弁を開放し、燃料タンク内の蒸発燃料をキャニスタ内に向けて流すことになる。この際、キャニスタ内の中央部分(メイン空間)に充填されている吸着剤(活性炭)に蒸発燃料を吸着させることなく、この蒸発燃料を、キャニスタ内を通過させてエンジンの吸気管に導入させる機能が必要となる。
このため、従来のキャニスタでは、その内部にパージバッファと呼ばれる空間が形成され、非給油時に燃料タンクから流入した蒸発燃料を、パージバッファに通過させ、または、このパージバッファに一時的に保持した後に吸気管に導入するようにし、これにより給油専用キャニスタシステムを成立させている。
図6は、従来の一般的な給油専用キャニスタシステムに使用されるキャニスタaの内部構造を示す断面図である。この図6に示すように、キャニスタaは、キャニスタケーシングbの内部に吸着剤(活性炭)cが充填された構成となっている。そして、キャニスタケーシングbには、上記ベーパ配管の接続部であるタンクポートd、パージ配管の接続部であるパージポートe、大気導入配管の接続部である大気ポートfがそれぞれ形成されている。また、キャニスタケーシングbの内部の大部分はメイン空間b1として構成され、このメイン空間b1にメイン吸着剤c1が充填されている。一方、キャニスタケーシングbの内部の一部の空間であって、上記タンクポートdからパージポートeに亘ってパージバッファgが形成されている。このパージバッファgは、タンクポートdに臨み且つ吸着剤が配設されていない空間部g1と、パージポートeに臨んで配設されたサブ吸着剤g2とを有している。そして、非給油時において、燃料タンクの内圧が所定圧以上まで上昇したことで、タンクポートdからキャニスタa内部に導入される蒸発燃料は、パージバッファg内部を上記空間部g1からサブ吸着剤g2に亘って流れ、一部がサブ吸着剤g2に吸着されながらパージバッファgを通過してパージポートeから吸気管に向けて排出されることになる(図6に実線で示す矢印を参照)。尚、図6に破線で示す矢印は、給油時にメイン空間b1に導入されてメイン吸着剤c1に吸着保持される蒸発燃料の流れを示している。
特開平7−310608号公報 特開平7−290982号公報
このように、従来の給油専用キャニスタシステムでは、蒸発燃料を通過させるためのパージバッファgが必要とされていた。
一方、給油作業時に燃料タンクから導入される蒸発燃料の全量をキャニスタaによって十分に回収するためには、所定量のメイン吸着剤c1が必要であり、上記メイン空間b1の容積として、燃料タンクの容積(給油作業時にキャニスタa内に導入される蒸発燃料の量と略相関がある)に応じた必要容積が規定される。
つまり、従来の給油専用キャニスタシステムに使用されるキャニスタaにあっては、上記規定されるメイン空間b1の容積に加えて、上記パージバッファgの容積も必要となり、キャニスタa全体が大型になってしまうものであり、その設置スペースを確保することが難しかった。また、上記パージバッファgを設けているため、このパージバッファgの空間部g1を区画するためのプレートg3やサブ吸着剤g2などといった構成部品が必要となり、その部品点数が多く、構造の複雑化および製造コストの高騰を招いていた。
また、この種の給油専用キャニスタシステムにあっては、非給油時には、メイン空間b1に蒸発燃料を導入させないような封鎖弁の開閉制御を行う必要があり、その制御を実現するための作業が煩雑であった。つまり、この封鎖弁の開閉制御では、現在のエンジン運転状態に応じて得られるパージ量(ベーパ処理量)と、燃料タンクの内圧、つまり、封鎖弁を開放した際に燃料タンクからキャニスタaに導入されてくる蒸発燃料の量とを考慮して、メイン空間b1に蒸発燃料を導入させないよう、封鎖弁を間欠的に開閉させる場合の開弁期間や、閉弁から開弁までの間のインターバルの制御を行う必要がある。そして、この封鎖弁の開閉制御を実現するために、実験やシミュレーションによる適合動作を行うことで得られる制御量をマップ化してエンジンECUのROMに記憶させているため、パージ量や燃料タンク内圧に応じた各マップ値を取得するための適合工数が膨大となり、非常に煩雑となっていた。
本発明は、かかる点に鑑みてなされたものであり、その目的とするところは、キャニスタの小型化および非給油時における封鎖弁の開閉制御の簡素化を図ることができる内燃機関の蒸発燃料処理装置を提供することにある。
−課題の解決原理−
上記の目的を達成するために講じられた本発明の解決原理は、キャニスタ(蒸発燃料回収器)内を通過する蒸発燃料の濃度を検出できるようにし、その検出結果に応じて封鎖弁の開閉制御を行うことで、封鎖弁を制御するためのマップを不要にし、また、パージバッファも不要とすることでキャニスタの小型化および構成の簡素化が図れるようにしている。
−解決手段−
具体的に、本発明は、吸着剤が充填され且つ燃料タンク内で発生した蒸発燃料を回収するための蒸発燃料回収器と、燃料タンクと蒸発燃料回収器とを接続するベーパ通路と、このベーパ通路に備えられた開閉弁と、蒸発燃料回収器と内燃機関の吸気系とを接続するパージ通路とを備え、蒸発燃料回収器に回収されている蒸発燃料を、上記パージ通路を経て内燃機関の吸気系に導入するパージ動作が実行可能な内燃機関の蒸発燃料処理装置を前提とする。この内燃機関の蒸発燃料処理装置に対し、上記ベーパ通路から蒸発燃料回収器に流入する蒸発燃料が、上記吸着剤が充填されている領域の一部の領域をバイパス領域として通過または一時的に保持された後にパージ通路から流出する際において、このバイパス領域に存在する蒸発燃料の濃度またはバイパス領域を通過した蒸発燃料の濃度を検出する濃度検出手段を備えさせる。そして、上記パージ動作時に、上記開閉弁を一時的に開放した後、濃度検出手段によって検出される蒸発燃料濃度が所定のバイパス領域通過可能濃度に低下するまで開閉弁の再度の開放動作を禁止する開弁禁止手段を備えさせている。
この場合、上記開閉弁を、燃料タンク内への給油時に開放されるものとし、燃料タンクの非給油時においてこの燃料タンクの内部圧力が所定圧力まで上昇した場合に一時的に開放され、この際、上記ベーパ通路から蒸発燃料回収器に流入する蒸発燃料が、上記吸着剤が充填されている領域の一部の領域をバイパス領域として通過または一時的に保持された後にパージ通路から流出する構成としている。
この特定事項により、蒸発燃料回収器に回収されている蒸発燃料を、パージ通路を経て内燃機関の吸気系に導入するパージ動作を実行している際において、上記開閉弁が開放されることで上記ベーパ通路から蒸発燃料回収器に蒸発燃料が流入する場合、その蒸発燃料は、吸着剤が充填されている領域の一部の領域をバイパス領域として通過または一時的に保持された後にパージ通路から流出することになる。つまり、このバイパス領域は従来の給油専用キャニスタシステムにおけるキャニスタのパージバッファとしての機能を果たす領域となっている。そして、このようなパージ動作時において、濃度検出手段によって検出されるバイパス領域での蒸発燃料濃度が所定濃度に低下するまでは上記開閉弁の再度の開放動作を禁止している。つまり、この検出される蒸発燃料濃度が所定濃度に低下するのを待ち、新たに蒸発燃料が導入されても、バイパス領域以外の領域に蒸発燃料が流れ込まない状況となった後に、開閉弁を再度開放して、この蒸発燃料を蒸発燃料回収器に向けて流すようにする。これにより、パージ動作の実行中に蒸発燃料回収器に新たに流れ込んできた蒸発燃料は、蒸発燃料回収器の中央部分(バイパス領域以外の領域)に流れ込むことなく内燃機関の吸気系に向けて流されることになる。このため、従来のキャニスタにおいて必要とされていたパージバッファを必要とすることなしに、この新たに流れ込んできた蒸発燃料を、蒸発燃料回収器を通過または一時的に保持させて内燃機関の吸気系に流すことができる。このため、パージバッファを廃止できる分だけ、蒸発燃料回収器の小型化を図ることができる。また、上記開閉弁の開閉制御は、上記濃度検出手段によって検出される蒸発燃料濃度に従って実行できるので、この開閉弁の開閉制御を、実験やシミュレーションによる適合動作によって制御量をマップ化して記憶させておくといったことが必要なくなり、この開閉弁の開閉制御手法の簡素化を図ることもできる。
上述した如く開閉弁の再度の開放動作を禁止している状況におけるより具体的な動作を実施するための構成としては以下のものが挙げられる。つまり、上記パージ動作時に、上記開閉弁を一時的に開放した場合、濃度検出手段によって検出される蒸発燃料濃度が上記バイパス領域通過可能濃度に低下するまで上記パージ動作を強制的に継続させるパージ動作継続手段を備えさせている。
つまり、パージ動作の実行中に蒸発燃料回収器に新たに流れ込んできた蒸発燃料が十分に内燃機関の吸気系に向けて流されるまで、パージ動作を強制的に継続させるものである。これにより、新たに流れ込んできた蒸発燃料が処理できないままにパージ動作が停止してしまって、この蒸発燃料が蒸発燃料回収器の内部に残留してしまうといった状況を回避することができる。つまり、この蒸発燃料が蒸発燃料回収器の中央部分(バイパス領域以外の領域)に流れ込むといった状況を回避でき、給油専用キャニスタシステムとしての機能を維持することができる。
上記濃度検出手段が蒸発燃料の濃度を検出する際の対象とする検出領域として、具体的には以下のものが挙げられる。
先ず、蒸発燃料回収器においてパージ通路が接続されるパージポート近傍での蒸発燃料濃度を検出する構成とされたものである。
また、蒸発燃料回収器においてベーパ通路が接続されるタンクポート近傍での蒸発燃料濃度を検出する構成とされたものである。
本発明では、蒸発燃料回収器内を通過する蒸発燃料の濃度を検出できるようにし、その検出結果に応じて、ベーパ通路に備えられた開閉弁の開閉制御を行うようにしている。このため、開閉弁を制御するためのマップを不要にし、また、パージバッファも不要とすることで蒸発燃料回収器の小型化および構成の簡素化を図ることができる。
以下、本発明の実施の形態を図面に基づいて説明する。
本実施形態は、蒸発燃料処理装置として自動車に搭載される密閉式の給油専用キャニスタシステムに本発明を適用した場合について説明する。
図1は、本実施形態に係るキャニスタシステム1およびこのキャニスタシステム1が接続するエンジンの吸気系2の概略構成を示す図である。
−吸気系2および燃料タンク3の構成−
この図1に示すように、エンジン(内燃機関)の吸気系2は、吸気の流れ方向の上流側から順に、エアクリーナ21、吸気管22、サージタンク23、図示しないインテークマニホールドを備えている。また、上記吸気管22内にはスロットルバルブ24が配設されていると共に、上記インテークマニホールドには図示しない燃料噴射弁(インジェクタ)が取り付けられている。
上記インジェクタへ供給するための燃料を貯留している燃料タンク3は、例えば合成樹脂製であって、給油のための給油管31が取り付けられている。この給油管31の給油口31aにはフューエルキャップ32が装着されている一方、燃料タンク内部側の開口31bには逆止弁33が設けられている。また、給油管31における給油口31a近傍位置と燃料タンク3の上部空間Sとの間は循環配管34によって接続されている。また、この燃料タンク3の内部にはフューエルポンプ35が配設されており、このフューエルポンプ35と上記インジェクタとの間が燃料供給管36によって接続されている。これにより、フューエルポンプ35の駆動に伴って圧送された燃料がインジェクタから各燃焼室に向けて噴射供給されるようになっている。更に、この燃料タンク3の内部には、その上面に取り付けられて燃料タンク3内部における上部空間Sの圧力を検知するタンク内圧センサ38と、貯留している燃料の液面を検出するための液面センサ39とが備えられている。
−キャニスタシステム1の構成−
キャニスタシステム1は蒸発燃料を回収するためのキャニスタ(蒸発燃料回収器)11を備えている。このキャニスタ11は、金属製または合成樹脂製の筒型のキャニスタケーシング5内に活性炭等の吸着剤6が充填された構成となっている(このキャニスタ11の構成の詳細については後述する)。これにより、燃料タンク3内で発生した燃料蒸気を吸着剤6が吸着することによって燃料蒸気が大気中に放出されることを防止している。
また、このキャニスタ11のキャニスタケーシング5には、タンクポート51、パージポート52、大気ポート53がそれぞれ形成されている。タンクポート51にはベーパ通路を構成するベーパ配管12が接続されている。パージポート52にはパージ通路を構成するパージ配管14が接続されている。大気ポート53には大気導入配管13が接続されている。以下、各配管12,13,14について説明する。
ベーパ配管12は、燃料タンク3内で発生する燃料蒸気(蒸発燃料)をキャニスタ11内に導入するためのものである。このベーパ配管12の上流端は、燃料タンク3内の燃料液面よりも上方で開放されており、この開放端部にはROV(Roll Over Valve)15が設けられて液相燃料の浸入を防止している。
また、このベーパ配管12には封鎖弁ユニット16が設けられている。この封鎖弁ユニット16は、封鎖弁(開閉弁)16aとリリーフ弁16bとを備えている。封鎖弁16aは、非通電状態では閉鎖しており、通電により開放する電磁弁で構成されている。この封鎖弁16aの閉鎖状態では、燃料タンク3内の空間とキャニスタ11内の空間とが遮断される(非連通状態となる)一方、開放状態では、ベーパ配管12により燃料タンク3内の空間とキャニスタ11内の空間とが連通するようになっている。つまり、この開放状態で、燃料タンク3内の蒸発燃料がキャニスタ11内に導入可能な状態となる。
一方、リリーフ弁16bは、正方向リリーフ弁16cおよび逆方向リリーフ弁16dを備えている。正方向リリーフ弁16cは、燃料タンク3内の圧力がキャニスタ11内の圧力に比べて大幅に高くなった(例えば20kPa以上高くなった)場合に開放し、燃料タンク3内の蒸発燃料をキャニスタ11に向けて導入する。一方、逆方向リリーフ弁16dは、燃料タンク3内の圧力がキャニスタ11内の圧力に比べて大幅に低くなった(例えばその差が15kPa以上になった)場合に開放し、キャニスタ11側の圧力を燃料タンク3内に送り込む。尚、リリーフ弁16bが開放動作を行うこれら圧力差の値はこれに限るものではない。
大気導入配管13は、キャニスタ11内を大気に連通させるためのものであり、その一端は上記給油管31の給油口31a付近に設けられたフューエルリッド37近傍で開放されている。また、この大気導入配管13の途中にはOBD(On−Boad Diagnostic System)用ポンプモジュール(診断用モジュール)17が設けられている。このOBD用ポンプモジュール17には図示しない切り替え弁が備えられている。この切り替え弁は、非通電状態で開放してキャニスタ11内部を大気に連通させ、また、通電により閉鎖してキャニスタ11内部を大気から遮断するようになっている。
また、大気導入配管13における上記OBD用ポンプモジュール17よりも大気開放側には大気防塵フィルタ13aが設けられている。
パージ配管14は、キャニスタ11内に吸着されている蒸発燃料を吸気管22に導入するためのものであって、その一端はサージタンク23の上流側に接続されている。このパージ配管14の通路途中には開度調整可能な電動弁で成るパージVSV(パージ制御弁)14aが設けられている。このパージVSV14aは、通常は閉弁されており、エンジン運転中において所定のパージ条件が成立したタイミングで開弁し、これによって、吸気管22の負圧をキャニスタ11内に作用させるようになっている。
つまり、キャニスタ11内に蒸発燃料が吸着保持されている状態で、上記OBD用ポンプモジュール17の切り替え弁を開弁させ、且つパージVSV14aを開放すると、キャニスタ11内に吸気管22内の負圧が作用し、また、キャニスタ11内には大気導入配管13から大気が導入され、キャニスタ11内の蒸発燃料が、この大気と共にパージ配管14を経て吸気管22に導入されるようになっている。これにより蒸発燃料の処理が可能になっている。尚、この際、吸気管22に導入される混合気の濃度は、キャニスタ11内に吸着されている蒸発燃料の量によって異なるものとなる。
尚、上記パージVSV14aは、吸気管22への蒸発燃料の流量を制御するための所謂VSV(Vacuum Switching Valve)であって、デューティ制御されることにより開度調整されて吸気管22への蒸発燃料の供給量を調整するようになっている。
また、本実施形態に係るキャニスタシステム1は、ECU(Electronic Control Unit)4を備えている。このECU4は、CPU(Central Processing Unit)、ROM(Read Only Memory)、RAM(Random Access Memory)およびバックアップRAMなどを備えたマイクロコンピュータを主体に構成されており、車両の駐車中において経過時間を計数するためのソークタイマ等を内蔵している。また、このECU4には、上述したタンク内圧センサ38、封鎖弁16a、OBD用ポンプモジュール17の他に、リッドスイッチ41およびリッドオープナー開閉スイッチ42が接続されている。また、リッドオープナー開閉スイッチ42には、ワイヤによりリッド手動開閉装置43が連結されている。
上記リッドスイッチ41は、ユーザーにより操作された場合に瞬間的にON出力を発するモメンタリースイッチである。リッドオープナー開閉スイッチ42は、給油口31aを覆うフューエルリッド37を閉じた状態に保持するための機構である。ECU4は、リッドスイッチ41からON出力が発せられると、リッドオープナー開閉スイッチ42に対して、フューエルリッド37の保持解除を要求する。リッドオープナー開閉スイッチ42は、ECU4からリッド開信号を受けた場合、或いは、リッド手動開閉装置43に対して所定の開動作が行われた場合に、フューエルリッド37の保持を一時的に解除する。フューエルリッド37には、板バネによる開方向の付勢力が常に作用している。このため、その保持が解除されると、フューエルリッド37は開状態となる。
−キャニスタ11の構成−
次に、本実施形態の特徴部分であるキャニスタ11の構成について説明する。
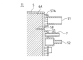
図2は、キャニスタ11の内部構造を示す断面図である。上述した如く、キャニスタ11は、キャニスタケーシング5の内部に吸着剤(活性炭)6A,6Bが充填された構成となっている。また、キャニスタケーシング5は、上述した如く金属製または合成樹脂製の筒型(直方体形状または円筒形状)の容器で成り、一方の側面(図2における右側の側面)に、上記タンクポート51、パージポート52、大気ポート53がそれぞれ形成されている。
また、このキャニスタケーシング5の内部は水平方向に延びる(各ポート51,52,53の軸心に沿う方向に延びる)隔壁54によってベーパ側空間5Aと大気側空間5Bとに仕切られている。尚、大気側空間5Bに比べてベーパ側空間5Aは容積が大きく設定されている。そして、ベーパ側空間5Aに臨んで上記タンクポート51およびパージポート52が形成されている一方、大気側空間5Bに臨んで上記大気ポート53が形成されている。このため、封鎖弁16aの開放動作などに伴って燃料タンク3からベーパ配管12に蒸発燃料が流出する場合、この蒸発燃料は、タンクポート51を介してベーパ側空間5Aに流入する。また、吸気管22へ蒸発燃料を供給する際には、このベーパ側空間5Aからパージポート52を経てパージ配管14より吸気管22へ蒸発燃料が導入されるようになっている。また、上記OBD用ポンプモジュール17の切り替え弁が開弁した際には、上記大気側空間5Bが大気導入配管13を介して大気に連通されることになる。
尚、上記隔壁54は、先端部分(図中の左側の先端部)がキャニスタケーシング5の内面から後退しており、このキャニスタケーシング5の内面と隔壁54の先端部分との間に形成されている空間5Cによってベーパ側空間5Aと大気側空間5Bとは互いに連通している。このため、キャニスタ11内部の蒸発燃料を吸気管22へ供給する場合、ベーパ側空間5A内の蒸発燃料は、大気導入配管13から大気側空間5Bおよび空間5Cを経てベーパ側空間5A内に流入した大気と混合され、混合気となってパージポート52を経てパージ配管14より吸気管22に向けて導入されることになる。
そして、上記ベーパ側空間5Aおよび大気側空間5Bそれぞれには吸着剤6A,6Bが充填されている。ベーパ側空間5Aには、キャニスタケーシング5の内面との間に配設されたコイルスプリング55Aからの付勢力を受けて吸着剤6Aをタンクポート51およびパージポート52に向けて押圧するプレッシャプレート56Aが設けられている。また、大気側空間5Bにも、同様に、キャニスタケーシング5の内面との間に配設されたコイルスプリング55Bからの付勢力を受けて吸着剤6Bを大気ポート53に向けて押圧するプレッシャプレート56Bが設けられている。上記各吸着剤6A,6Bと各ポート51,52,53との間には、不織布またはウレタンで構成され通気性を有する(蒸発燃料の通過を許容する)吸着剤押さえ板57A,57Bが配設されている。このため、各吸着剤6A,6Bは、プレッシャプレート56A,56Bと吸着剤押さえ板57A,57Bとの間に隙間無く充填され、キャニスタケーシング5の内部空間の略全体に充填されている。つまり、本実施形態に係るキャニスタ11にあっては、従来の給油専用キャニスタシステムのキャニスタに備えられていたパージバッファ(タンクポートからパージポートに亘って形成され、且つ吸着剤が充填されていない空間:図6参照)は備えていない構成となっている。
また、上記キャニスタケーシング5の内面におけるタンクポート51とパージポート52との間には、ガイドプレート58が一体形成されている。このガイドプレート58は、キャニスタケーシング5の内面における水平方向(図2において紙面に直交する方向)に延びる平板状の板材で形成されている。このため、後述する「非給油時」において、キャニスタ11の内部に蒸発燃料が導入される際に、タンクポート51から導入された蒸発燃料は、上記ガイドプレート58の周囲を迂回するように流れてパージポート52に達するようになっている(図2に実線で示す矢印参照)。
つまり、この「非給油時」にあっては、キャニスタ11の内部に導入された蒸発燃料が、このガイドプレート58の周囲のみを流れて(キャニスタ11の内部の中央部分に流れ込むことなく)、パージポート52に達することになる。即ち、本実施形態にあっては、このガイドプレート58の周囲の領域が、「非給油時」にキャニスタ11の内部に導入された蒸発燃料が流れる従来のパージバッファと同等の機能を果たすバイパス領域Bとして構成されている。また、このバイパス領域Bにあっては、「非給油時」にキャニスタ11の内部に導入された蒸発燃料の一部が吸着保持されることになる。
また、このバイパス領域Bは、上述した如く、「非給油時」にキャニスタ11の内部に導入された蒸発燃料が流れるパージバッファ機能を備えるばかりでなく、「給油時」にキャニスタ11の内部に導入される比較的大量の蒸発燃料(図2に破線で示す矢印参照)を吸着保持する領域としても利用可能となっている。つまり、このバイパス領域Bは、「非給油時」に発揮されるパージバッファ機能と、「給油時」に発揮される本来の蒸発燃料吸着保持機能とを兼ね備えた領域(共用領域)として構成されている。
そして、キャニスタケーシング5における上記タンクポート51とパージポート52との間であって、上記ガイドプレート58の下側位置(パージポート52側の位置)には、HC濃度検出用配管7が挿入されている。このHC濃度検出用配管7は、キャニスタケーシング5の側面を貫通し、その内側端が、上記ガイドプレート58の先端位置よりもキャニスタケーシング5の壁面側(タンクポート51およびパージポート52が形成されている壁面側)位置している。これにより、このHC濃度検出用配管7の先端は、上記バイパス領域B(ガイドプレート58の周囲の領域であって、「非給油時」にキャニスタ11の内部に導入された蒸発燃料が通過または一時的保持される領域)に臨むことになる。また、このHC濃度検出用配管7の他端(外側端)は、HC濃度検出装置8に接続されている。これにより、上記ガイドプレート58の周囲を迂回してパージポート52に向かって流れ込んでくる蒸発燃料と大気との混合気をHC濃度検出用配管7によって抽出し、上記HC濃度検出装置8において、混合気のHC(Hydrocarbons:炭化水素)濃度の検出が行えるようにしている。これにより、本発明でいう濃度検出手段が構成されている。尚、このHC濃度検出装置8におけるHC濃度検出原理としては、周知の種々のものが適用可能であり、例えば、特開2006−291709号公報や特開2006−161690号公報に開示されているように、流路途中にオリフィスを設け、このオリフィスの前後圧力差およびオリフィスにおける気体通過流量に基づき、所定の演算を行ってHC濃度の算出を行うものが挙げられる。
−キャニスタシステム1の蒸発燃料処理動作−
次に、上述の如く構成されたキャニスタシステム(給油専用キャニスタシステム)1における蒸発燃料処理の具体的な動作について説明する。この給油専用キャニスタシステム1は、基本的には、燃料タンク3への給油作業が行われる際に上記封鎖弁16aを開放し、燃料タンク3内の蒸発燃料をキャニスタ11内に回収するようにしたものとなっている。以下、駐車中、給油中、車両走行中のそれぞれにおけるキャニスタシステム1の動作について説明する。
(1)駐車中
車両の駐車中(エンジンの停止中)は、原則として上記封鎖弁16aを閉弁状態に維持する。封鎖弁16aが閉弁状態とされると、リリーフ弁16bが閉じている限り燃料タンク3はキャニスタ11から遮断される。従って、本実施形態のキャニスタシステム1においては、タンク内圧がリリーフ弁16bの正方向開弁圧(例えば20kPa)を超えない限り、車両の駐車中に蒸発燃料が新たにキャニスタ11に吸着されることはない。また、タンク内圧が、リリーフ弁16bの逆方向開弁圧(例えば−15kPa)を下回らない限り、車両の駐車中に燃料タンク3の内部に空気が吸入されることはない。
(2)給油中
車両の停車中(エンジンの停止中)にリッドスイッチ41が操作され、その操作に伴うON信号がECU4に送信されると、ECU4が起動して、先ず、封鎖弁16aが開状態とされる。この際、タンク内圧が大気圧より高圧であれば、封鎖弁16aが開くと同時に燃料タンク3内の蒸発燃料がキャニスタ11のベーパ側空間5Aに流入し、その内部の吸着剤6Aに吸着される(図2に破線で示す矢印を参照)。その結果、タンク内圧は大気圧近傍にまで低下する。
ECU4は、タンク内圧が大気圧近傍にまで低下すると、リッドオープナー開閉スイッチ42に対してフューエルリッド37の保持を解除する旨の指令を発する。リッドオープナー開閉スイッチ42は、その指令を受けてフューエルリッド37の閉位置での保持を解除する。その結果、タンク内圧が大気圧近傍値になった後にフューエルリッド37の開動作が可能となる。
このようにしてフューエルリッド37の開動作が許可されると、このフューエルリッド37が開かれ、次いでフューエルキャップ32が開かれ、燃料の給油が可能になる。このようにフューエルキャップ32が開かれる前にタンク内圧が大気圧近傍にまで減圧されているため、その開動作に伴い蒸発燃料が給油口31aから大気中に放出されることはない。
ECU4は、給油が終了するまで(例えば、フューエルリッド37が閉じられるまで、或いは、車両が走行を始めるまで、または、リッドスイッチ41からON信号が発せられた後に所定時間が経過するまで)封鎖弁16aを開状態に維持する。このため、給油の際には燃料タンク3内の蒸発燃料を、ベーパ配管12を通ってキャニスタ11に流出させることができ、その結果、良好な給油性が確保される。また、この際、流出する蒸発燃料は、キャニスタ11内の吸着剤6Aに吸着されるため、大気中に放出されることはない。
(3)走行中
車両の走行中(エンジンのアイドル運転中を含む)は、所定のパージ条件が成立する場合に、キャニスタ11に吸着されている蒸発燃料をパージさせるための制御が実行される。このパージ条件は、例えば、エンジンの冷却水温度、潤滑油温度、エンジン回転数等の車両状態を表す物理量が所定範囲にある場合(例えば、冷却水温度および潤滑油温度が所定温度以上で且つエンジン回転数が所定回転数以上である場合)に成立する。
このパージ制御では、具体的には、OBD用ポンプモジュール17の切り替え弁を開放してキャニスタ11内を大気に連通させたまま、パージVSV14aがデューティ駆動される。このようにしてパージVSV14aがデューティ駆動されると、吸気管22の吸入負圧がキャニスタ11に導かれる。その結果、大気導入配管13から導入された空気と共に、キャニスタ11内の蒸発燃料が吸気管22にパージされる。
そして、本実施形態では、このようなパージ動作中において、上記タンク内圧センサ38によって検出される燃料タンク3の内部圧力が所定圧以上まで上昇した場合には、上記封鎖弁16aを強制的に一定時間(例えば1sec)だけ開放させ、燃料タンク3内の蒸発燃料を、ベーパ配管12を経てキャニスタ11に向けて導入する。
このようにしてパージ動作中に蒸発燃料がキャニスタ11に導入される状況となった場合、この新たに導入される蒸発燃料は、図2に実線で示す矢印の如く、上記タンクポート51を通り、吸着剤押さえ板57Aを通過した後、上述したバイパス領域Bに沿うように流れ方向を下向き(パージポート52が配設されている側)に変え、上記ガイドプレート58の周囲を迂回して、一部はその周囲(上記バイパス領域B)の吸着剤に吸着保持され、また、他の一部は吸着剤押さえ板57Aを通過してパージポート52から排出される。この排出される蒸発燃料は、元々ベーパ側空間5Aに吸着されていた蒸発燃料および大気側空間5Bを経てベーパ側空間5Aに流れ込んできた大気と共に混合気を構成して、パージポート52からパージ配管14を経て吸気管22に向けて導入される。
また、上記バイパス領域Bに存在する蒸発燃料(このバイパス領域Bに吸着されている蒸発燃料やこのバイパス領域Bを通過している蒸発燃料)のうちの一部は、上記HC濃度検出用配管7によって抽出されて、上記HC濃度検出装置8においてHC濃度が検出される。
この際、燃料タンク3内で発生していた蒸発燃料の量が多く、封鎖弁16aを強制的に一定時間だけ開放させた際にタンクポート51から流入される蒸発燃料の量が多い状況では、HC濃度検出装置8において検出されるHC濃度が高い状態がしばらくの間(例えば20sec程度)継続されることになる。
一方、燃料タンク3内で発生していた蒸発燃料の量が少なく、封鎖弁16aを強制的に一定時間だけ開放させた際にタンクポート51から流入される蒸発燃料の量が少ない状況であったり、燃料タンク3から導入された蒸発燃料の大部分がパージポート52からパージ配管14に排出された状況になると、HC濃度検出装置8において検出されるHC濃度は低い値として求められることになる。
そして、この検出されたHC濃度が比較的高い場合には、上記パージ動作を継続すると共に封鎖弁16aの閉鎖状態を維持する一方、検出されたHC濃度が比較的低い場合であって、未だに、タンク内圧センサ38によって検出される燃料タンク3の内部圧力が所定圧以上である場合には、燃料タンク3内に残っている蒸発燃料の量は未だ回収すべき量にあるとして、再度、一定時間(例えば1sec)だけ封鎖弁16aを開放させ、燃料タンク3内の蒸発燃料を、ベーパ配管12を介してキャニスタ11に向けて導入する。この再度の封鎖弁16aの開放動作を実行するか否かの判定値となる上記所定圧は、実験的または経験的に設定される。
そして、燃料タンク3の内部圧力が所定圧未満に低下するまで、この動作を繰り返すようにしている。
このように、本実施形態では、ガイドプレート58の周囲を迂回してパージポート52に向かって流れる蒸発燃料のHC濃度(上記バイパス領域Bに存在している蒸発燃料のHC濃度)を検出しながら封鎖弁16aの開閉制御を行っている。
−走行中の制御手順−
図3は、上述した走行中における制御手順を示すフローチャートである。この図3に示すルーチンは、例えば、所定時間毎に繰り返して実行される。
先ず、ステップST1において、現在、蒸発燃料のパージ動作が実行中であるか否か、つまり、パージVSV14aの開度が制御されて、キャニスタ11の内部に吸着されている蒸発燃料を吸気管22に向けて供給している状態であるか否かを判定する。
パージ動作が実行されていない場合には本ルーチンを終了する。一方、パージ動作の実行中であって、ステップST1でYES判定された場合には、ステップST2に移り、上記タンク内圧センサ38によって検出されている燃料タンク3の内部圧力が所定圧以上(例えば大気圧に対して10kPa以上)に達しているか否かを判定する。この値はこれに限定されるものではない。
燃料タンク3の内部圧力が所定圧未満である場合には、燃料タンク3内での蒸発燃料の発生量は少ないとして本ルーチンを終了する。一方、燃料タンク3の内部圧力が所定圧以上に達しており、ステップST2でYES判定された場合には、ステップST3に移り、上記封鎖弁16aを所定時間(例えば1sec)だけ開放し、その後、封鎖弁16aを閉鎖する。これにより、燃料タンク3内の蒸発燃料の一部がベーパ配管12を通ってキャニスタ11に流出することになる。そして、この流入した蒸発燃料は、図2に実線の矢印で示すように、ガイドプレート58の周囲を迂回するように流れ(上記バイパス領域Bを流れ)、一部は、このバイパス領域Bに設けられている吸着剤に吸着保持される。
このような状況で、ステップST4において、上記HC濃度検出用配管7によって抽出された混合気のHC濃度が所定濃度(バイパス領域通過可能濃度)以上となっているか否かを判定する。
ここで設定される所定濃度は、その濃度よりも高い濃度にある状況で再び封鎖弁16aを所定時間だけ開放して蒸発燃料をベーパ配管12から導入した場合に、その蒸発燃料が上記バイパス領域Bのみを流れる状況とはならず、このバイパス領域Bを外れてキャニスタケーシング5内の中央部にまで流れ込んでしまうような値として設定されている。つまり、HC濃度検出装置8において検出されるHC濃度が、この所定濃度未満である場合には、再び封鎖弁16aを所定時間だけ開放して蒸発燃料をベーパ配管12から導入したとしても、その蒸発燃料は上記バイパス領域Bのみを流れてパージポート52から排出されるか、または、このバイパス領域Bのみに吸着されるものとなる。
そして、混合気のHC濃度が所定濃度よりも高く、ステップST4でYES判定された場合には、ステップST5に移り、上記パージ動作を継続する(強制的にパージ動作を継続させる、つまり、仮に、パージ停止条件が成立したとしてもパージ動作を継続させる:パージ動作継続手段によるパージ動作の継続動作)と共に、封鎖弁16aの閉鎖状態を維持する(開弁禁止手段による封鎖弁16aの開放禁止動作)。そして、ステップST6に移り、上記ステップST3で封鎖弁16aを所定時間だけ開放した後に閉鎖してから10secが経過したか否かを、上記ECU4に予め備えられていたタイマによって判定する。
10secが経過して、ステップST6でYES判定された場合には、再びステップST4に戻り、上記HC濃度検出用配管7によって抽出された混合気のHC濃度が所定濃度よりも高いか否かを再び判定する。
そして、依然として、混合気のHC濃度が所定濃度よりも高い場合にはステップST5に移って、上記パージ動作を継続すると共に、封鎖弁16aの閉鎖状態を維持する。このような動作を、ステップST4でNO判定されるまで、つまり、上記HC濃度検出用配管7によって抽出された混合気のHC濃度が所定濃度よりも低くなるまで継続する。このように、HC濃度が所定濃度よりも低くなったことで、燃料タンク3から導入された蒸発燃料の大部分がキャニスタ11を通過して吸気管22に向けて供給されたことが確認できる。尚、上述した如く10secを経過する度にHC濃度を判定する動作(上記ステップST4)を行っているのは、上記HC濃度検出装置8においてHC濃度を検出するのに所定時間(上記10sec)を要するため、その時間の経過を待って判定を行うためである。
その後、ステップST7に移り、所定のパージ停止条件が成立したか否かを判定し、このパージ停止条件が成立するまで上記ステップST2〜ステップST6の動作を繰り返す。つまり、パージ動作が実行中であることを条件とし、タンク内圧センサ38によって検出されている燃料タンク3の内部圧力が所定圧以上であれば、上記封鎖弁16aを所定時間だけ開放して燃料タンク3内の蒸発燃料の一部をキャニスタ11内に流入し、この蒸発燃料を、上記バイパス領域Bに通過させ、または、このバイパス領域Bに一時的に保持させて、パージポート52から排出させるといった動作を実行する。この動作を繰り返すことで、燃料タンク3内からキャニスタ11の内部に新たに導入されてくる蒸発燃料は、キャニスタ11内の中央部分に殆ど吸着されることなく、キャニスタ11内を通過して(バイパス領域Bを通過して)吸気管22に向けて供給されることになる。これにより、給油専用キャニスタシステムとしての機能が成立することになる。尚、上記パージ停止条件は、エンジン回転数や排気ガス中の酸素濃度などの車両状態を表す物理量が所定範囲から外れている他、燃料タンク3の内圧が所定圧未満である場合に成立する。
そして、パージ停止条件が成立して、ステップST7でYES判定された場合には、ステップST8に移り、上記パージ動作を停止して本ルーチンを終了する。
以上のように、本実施形態では、上記バイパス領域Bに、従来の給油専用キャニスタシステムにおけるキャニスタのパージバッファとしての機能を発揮させることができる。また、パージ動作時において、バイパス領域Bにおける蒸発燃料濃度に応じて封鎖弁16aの開閉制御を行うようにしている。これにより、パージ動作の実行中にキャニスタ11に新たに流れ込んできた蒸発燃料は、キャニスタ11の中央部分(バイパス領域B以外の領域)に流れ込むことなく吸気管22に向けて流されることになる。その結果、従来のキャニスタにおいて必要とされていたパージバッファを必要とすることなしに、この新たに流れ込んできた蒸発燃料を、キャニスタ11を通過または一時的に保持させて吸気管22に流すことができ、パージバッファを廃止できる分だけ、キャニスタ11の小型化を図ることができる。また、上記封鎖弁16aの開閉制御は、上記検出される蒸発燃料濃度(HC濃度)に従って実行できるので、この封鎖弁16aの開閉制御を、実験やシミュレーションによる適合動作によって制御量をマップ化して記憶させておくといったことが必要なくなり、この封鎖弁16aの開閉制御手法の簡素化を図ることもできる。
(変形例)
次に、本発明についての複数の変形例を説明する。
上述した実施形態では、上記HC濃度検出用配管7を、ガイドプレート58の下側に配設し、その先端が吸着剤6Aの内部に位置していた。以下の変形例では、このHC濃度検出用配管7の配設状態が上記実施形態のものとは異なっている。その他の構成および制御動作は、上記実施形態と同様であるので、ここではHC濃度検出用配管7の配設状態についてのみ説明する。
図4は、変形例1に係るキャニスタ11のタンクポート51およびパージポート52の周辺部を示す断面図である。この図4に示すように、本変形例では、HC濃度検出用配管7が、キャニスタケーシング5の側面における上記タンクポート51とガイドプレート58との間の領域を貫通するように配設されている。つまり、このHC濃度検出用配管7は、キャニスタケーシング5の側面を貫通し、その内側端が、上記ガイドプレート58の上側であって、このガイドプレート58の先端位置よりもキャニスタケーシング5の壁面側(タンクポート51が形成されている壁面側)位置している。これにより、このHC濃度検出用配管7の先端は、タンクポート51の直下流側で開口され、このタンクポート51から流入してくる蒸発燃料を抽出して、上記HC濃度検出装置において混合気のHC濃度が検出されるようになっている。
これにより、燃料タンク3からキャニスタ11の内部に流入されてくる蒸発燃料のHC濃度を直接的に検出することができ、キャニスタ11内の中央部分の環境状態(吸着材6Aに吸着されている蒸発燃料の量や大気の導入量など)の影響を殆ど受けること無しに蒸発燃料のHC濃度を検出することができる。
図5は、変形例2に係るキャニスタ11のタンクポート51およびパージポート52の周辺部を示す断面図である。この図5に示すように、本変形例では、HC濃度検出用配管7が、キャニスタケーシング5の側面における上記ガイドプレート58とパージポート52との間の領域を貫通するように配設されている。また、このHC濃度検出用配管7の内側端は、吸着剤6Aまでは達しておらず、上記吸着剤押さえ板57Aとキャニスタケーシング5の側面との間に形成された空間S1に臨んでいる。
このように、HC濃度検出用配管7の内側端(開口端)を、吸着剤6Aの充填領域ではなく、空間部分に位置させたことで、このHC濃度検出用配管7への混合気の流入が容易になり、HC濃度検出装置8におけるHC濃度の検出精度を高めることが可能になる。
−他の実施例−
以上説明した実施形態および変形例では、自動車に搭載される給油専用キャニスタシステム1に本発明を適用した場合について説明した。本発明はこれに限らず、自動車以外のエンジンにおける吸気系に接続されるキャニスタシステムに対しても適用が可能である。
実施形態に係るキャニスタシステムおよびこのキャニスタシステムが接続するエンジンの吸気系の概略構成を示す図である。 キャニスタの内部構造を示す断面図である。 走行中における蒸発燃料処理制御の手順を示すフローチャート図である。 変形例1に係るキャニスタのタンクポートおよびパージポートの周辺部を示す断面図である。 変形例2に係るキャニスタのタンクポートおよびパージポートの周辺部を示す断面図である。 従来のキャニスタの内部構造を示す断面図である。
符号の説明
1 キャニスタシステム(蒸発燃料処理装置)
2 吸気系
3 燃料タンク
6A,6B 吸着剤
7 HC濃度検出用配管
8 HC濃度検出装置
11 キャニスタ(蒸発燃料回収器)
12 ベーパ配管(ベーパ通路)
14 パージ配管(パージ通路)
16a 封鎖弁(開閉弁)

Claims (5)

  1. 吸着剤が充填され且つ燃料タンク内で発生した蒸発燃料を回収するための蒸発燃料回収器と、燃料タンクと蒸発燃料回収器とを接続するベーパ通路と、このベーパ通路に備えられた開閉弁と、蒸発燃料回収器と内燃機関の吸気系とを接続するパージ通路とを備え、蒸発燃料回収器に回収されている蒸発燃料を、上記パージ通路を経て内燃機関の吸気系に導入するパージ動作が実行可能な内燃機関の蒸発燃料処理装置において、
    上記ベーパ通路から蒸発燃料回収器に流入する蒸発燃料が、上記吸着剤が充填されている領域の一部の領域をバイパス領域として通過または一時的に保持された後にパージ通路から流出する際において、このバイパス領域に存在する蒸発燃料の濃度またはバイパス領域を通過した蒸発燃料の濃度を検出する濃度検出手段が備えられ、
    上記パージ動作時に、上記開閉弁を一時的に開放した後、濃度検出手段によって検出される蒸発燃料濃度が所定のバイパス領域通過可能濃度に低下するまで開閉弁の再度の開放動作を禁止する開弁禁止手段を備えていることを特徴とする内燃機関の蒸発燃料処理装置。
  2. 上記請求項1記載の内燃機関の蒸発燃料処理装置において、
    上記開閉弁は、燃料タンク内への給油時に開放されるものであり、燃料タンクの非給油時においてこの燃料タンクの内部圧力が所定圧力まで上昇した場合に一時的に開放され、この際、上記ベーパ通路から蒸発燃料回収器に流入する蒸発燃料が、上記吸着剤が充填されている領域の一部の領域をバイパス領域として通過または一時的に保持された後にパージ通路から流出するよう構成されていることを特徴とする内燃機関の蒸発燃料処理装置。
  3. 上記請求項1または2記載の内燃機関の蒸発燃料処理装置において、
    上記パージ動作時に、上記開閉弁を一時的に開放した場合、濃度検出手段によって検出される蒸発燃料濃度が上記バイパス領域通過可能濃度に低下するまで上記パージ動作を強制的に継続させるパージ動作継続手段を備えていることを特徴とする内燃機関の蒸発燃料処理装置。
  4. 上記請求項1、2または3記載の内燃機関の蒸発燃料処理装置において、
    上記濃度検出手段は、蒸発燃料回収器においてパージ通路が接続されるパージポート近傍での蒸発燃料濃度を検出するよう構成されていることを特徴とする内燃機関の蒸発燃料処理装置。
  5. 上記請求項1、2または3記載の内燃機関の蒸発燃料処理装置において、
    上記濃度検出手段は、蒸発燃料回収器においてベーパ通路が接続されるタンクポート近傍での蒸発燃料濃度を検出するよう構成されていることを特徴とする内燃機関の蒸発燃料処理装置。
JP2008194806A 2008-07-29 2008-07-29 内燃機関の蒸発燃料処理装置 Expired - Fee Related JP4952678B2 (ja)

Priority Applications (1)

Application Number Priority Date Filing Date Title
JP2008194806A JP4952678B2 (ja) 2008-07-29 2008-07-29 内燃機関の蒸発燃料処理装置

Applications Claiming Priority (1)

Application Number Priority Date Filing Date Title
JP2008194806A JP4952678B2 (ja) 2008-07-29 2008-07-29 内燃機関の蒸発燃料処理装置

Publications (2)

Publication Number Publication Date
JP2010031743A true JP2010031743A (ja) 2010-02-12
JP4952678B2 JP4952678B2 (ja) 2012-06-13

Family

ID=41736510

Family Applications (1)

Application Number Title Priority Date Filing Date
JP2008194806A Expired - Fee Related JP4952678B2 (ja) 2008-07-29 2008-07-29 内燃機関の蒸発燃料処理装置

Country Status (1)

Country Link
JP (1) JP4952678B2 (ja)

Cited By (2)

* Cited by examiner, † Cited by third party
Publication number Priority date Publication date Assignee Title
JP2013001294A (ja) * 2011-06-20 2013-01-07 Honda Motor Co Ltd 燃料タンク装置
JP2017067008A (ja) * 2015-09-30 2017-04-06 株式会社デンソー 蒸発燃料処理装置

Citations (3)

* Cited by examiner, † Cited by third party
Publication number Priority date Publication date Assignee Title
JPH06185418A (ja) * 1992-12-16 1994-07-05 Honda Motor Co Ltd 蒸発燃料処理装置
JPH06280639A (ja) * 1993-03-26 1994-10-04 Mitsubishi Electric Corp 内燃機関の制御装置
JP2004156495A (ja) * 2002-11-05 2004-06-03 Toyota Motor Corp 内燃機関の蒸発燃料処理装置

Patent Citations (3)

* Cited by examiner, † Cited by third party
Publication number Priority date Publication date Assignee Title
JPH06185418A (ja) * 1992-12-16 1994-07-05 Honda Motor Co Ltd 蒸発燃料処理装置
JPH06280639A (ja) * 1993-03-26 1994-10-04 Mitsubishi Electric Corp 内燃機関の制御装置
JP2004156495A (ja) * 2002-11-05 2004-06-03 Toyota Motor Corp 内燃機関の蒸発燃料処理装置

Cited By (2)

* Cited by examiner, † Cited by third party
Publication number Priority date Publication date Assignee Title
JP2013001294A (ja) * 2011-06-20 2013-01-07 Honda Motor Co Ltd 燃料タンク装置
JP2017067008A (ja) * 2015-09-30 2017-04-06 株式会社デンソー 蒸発燃料処理装置

Also Published As

Publication number Publication date
JP4952678B2 (ja) 2012-06-13

Similar Documents

Publication Publication Date Title
JP4483523B2 (ja) 内燃機関の蒸発燃料処理装置
JP5232079B2 (ja) 蒸発燃料処理装置
JP5394330B2 (ja) 蒸発燃料処理装置の漏れ診断装置
JP4110932B2 (ja) 内燃機関の蒸発燃料処理装置
US10060367B2 (en) Method and system for high fuel vapor canister purge flow
EP3575587B1 (en) Evaporative emissions control system leak check module including first and second solenoid valves
JP2011226308A (ja) 内燃機関の蒸発燃料処理装置
WO2016207964A1 (ja) 蒸発燃料処理装置の診断装置
JPH08232781A (ja) 内燃機関の蒸発燃料制御装置
EP3315755B1 (en) Evaporated fuel processing device
JP2004156496A (ja) 内燃機関の蒸発燃料処理装置
JP2014058940A (ja) 蒸発燃料処理装置
JP4952678B2 (ja) 内燃機関の蒸発燃料処理装置
JP2005330924A (ja) 内燃機関の蒸発燃料制御装置
JP2006299994A (ja) 蒸発燃料処理装置の制御装置
JP3444125B2 (ja) 内燃機関の蒸発燃料制御装置
JP4172167B2 (ja) 密閉タンクシステムの給油制御装置
JPH11193755A (ja) 内燃機関の蒸発燃料制御装置
JP2004156495A (ja) 内燃機関の蒸発燃料処理装置
JP4352945B2 (ja) 内燃機関の蒸発燃料処理装置
JP3134704B2 (ja) 内燃機関の蒸発燃料制御装置
JP4468769B2 (ja) 蒸発燃料吸着装置
JP2003013808A (ja) 密閉燃料タンクシステムの給油制御装置
JP3391209B2 (ja) 内燃機関の蒸発燃料制御装置
JPH10246156A (ja) エンジンの蒸発燃料回収装置

Legal Events

Date Code Title Description
A621 Written request for application examination

Free format text: JAPANESE INTERMEDIATE CODE: A621

Effective date: 20100908

A977 Report on retrieval

Free format text: JAPANESE INTERMEDIATE CODE: A971007

Effective date: 20111026

A131 Notification of reasons for refusal

Free format text: JAPANESE INTERMEDIATE CODE: A131

Effective date: 20111108

A521 Written amendment

Free format text: JAPANESE INTERMEDIATE CODE: A523

Effective date: 20111220

RD02 Notification of acceptance of power of attorney

Free format text: JAPANESE INTERMEDIATE CODE: A7422

Effective date: 20111220

TRDD Decision of grant or rejection written
A01 Written decision to grant a patent or to grant a registration (utility model)

Free format text: JAPANESE INTERMEDIATE CODE: A01

Effective date: 20120214

A01 Written decision to grant a patent or to grant a registration (utility model)

Free format text: JAPANESE INTERMEDIATE CODE: A01

A61 First payment of annual fees (during grant procedure)

Free format text: JAPANESE INTERMEDIATE CODE: A61

Effective date: 20120227

FPAY Renewal fee payment (prs date is renewal date of database)

Free format text: PAYMENT UNTIL: 20150323

Year of fee payment: 3

LAPS Cancellation because of no payment of annual fees