JP2010030592A - シートベルト巻取装置及び制御方法 - Google Patents

シートベルト巻取装置及び制御方法 Download PDF

Info

Publication number
JP2010030592A
JP2010030592A JP2009255696A JP2009255696A JP2010030592A JP 2010030592 A JP2010030592 A JP 2010030592A JP 2009255696 A JP2009255696 A JP 2009255696A JP 2009255696 A JP2009255696 A JP 2009255696A JP 2010030592 A JP2010030592 A JP 2010030592A
Authority
JP
Japan
Prior art keywords
seat belt
motor
webbing
belt retractor
winding
Prior art date
Legal status (The legal status is an assumption and is not a legal conclusion. Google has not performed a legal analysis and makes no representation as to the accuracy of the status listed.)
Granted
Application number
JP2009255696A
Other languages
English (en)
Other versions
JP5190434B2 (ja
Inventor
Hiroaki Fujii
弘昭 藤居
Koji Tanaka
康二 田中
Hitoshi Fujita
仁 藤田
Koichi Furukawa
晃一 古川
Current Assignee (The listed assignees may be inaccurate. Google has not performed a legal analysis and makes no representation or warranty as to the accuracy of the list.)
Takata Corp
Original Assignee
Takata Corp
Priority date (The priority date is an assumption and is not a legal conclusion. Google has not performed a legal analysis and makes no representation as to the accuracy of the date listed.)
Filing date
Publication date
Application filed by Takata Corp filed Critical Takata Corp
Priority to JP2009255696A priority Critical patent/JP5190434B2/ja
Publication of JP2010030592A publication Critical patent/JP2010030592A/ja
Application granted granted Critical
Publication of JP5190434B2 publication Critical patent/JP5190434B2/ja
Anticipated expiration legal-status Critical
Expired - Fee Related legal-status Critical Current

Links

Images

Landscapes

  • Automotive Seat Belt Assembly (AREA)

Abstract

【課題】 単一のモータ駆動により、乗員のシートベルト装着状態、車両走行時の種々の状況に対応したシートベルト巻き取り状態を実現し、シートベルト装着時の快適性、安全性を向上させる。
【解決手段】 ベースフレーム3にスプール軸15を介して軸支され、リターンスプリングの巻き戻し解放力により、外周にウェビングWが巻き取られるスプール2を、減速機構10を介したモータ5の駆動によって回転させてウェビングWを巻き取るようにした。その際、減速機構10は異なる減速比に設定された2系統の減速機構10A、10Bとから構成され、いずれかの減速機構に、制御部9を介して外部検知部40、50及び外部信号センサから得られた駆動信号に対応して切り替る切替手段70と、共有されている伝達要素が設定された回転トルク以下の回転を伝達するようにした抵抗トルク手段60とを備えた。
【選択図】 図5

Description

本発明はシートベルト巻取装置及び制御方法に係り、特に乗員のシートベルト装着状態や外部からの信号によりその駆動状態を変化させることができるモータ巻取方式によるシートベルト巻取装置及び制御方法に関する。
自動車等に装備されるシートベルト巻取装置では、乗員が着席してシートベルトを引き出し、トングをバックル装置に締結した際に、その余分な引き出し分を吸収し、正常装着した状態で乗員の胸部等に不必要な圧迫感を与えないようにすることが好ましい。一般にシートベルトの巻取装置では、ベルト巻き取りに単一のリターンスプリングの付勢力が利用されている。装着時における乗員の胸部への圧迫感を小さくするために付勢力の弱いスプリングを使用すると、ベルト巻取り時(収容時)の巻込み力が弱くなり、操作性、格納性が低下する。反対に、緊急時に充分な巻込み力を発揮するために付勢力の強いスプリングを使用すると、正常装着時における乗員の胸部への圧迫感が大きくなってしまうという問題があった。
また、従来のシートベルト巻取装置では、単一のリターンスプリングが内蔵されているので、ウェビング(以下、本明細書ではシートベルトのベルト自体をさす際にはウェビングと記す。)の引き出し量が増すにつれてリターンスプリングが巻回されてその付勢力が増大し、ウェビングの引き出し量が増すにつれて、引き出し力も増大するという問題もある。
この種の単一のリターンスプリングを用いたことによって生じるベルト巻き取り時の問題点を解決する一手段として、出願人はらせん状案内溝を有する円錐台形状の2個のローププーリで構成されているテンションレデューサ機構等を開発している(特許文献1参照)。
一方、シートベルト巻取装置の機能として、緊急時に乗員を確実に拘束して保護する機能を果たす以上に、通常のベルト装着時において、その装着時の快適性(コンフォート性能)を高めたり、車両走行時において、自車の前後を走行している車両との車間等を検知してシートベルトのテンション制御を内蔵した電動モータで行うようにした乗員拘束保護システムのためのシートベルト巻取装置も開発している(特許文献2参照)。
特許第2711428号公報 特開平9−132113号公報
ところで、特許文献2で開示したシートベルト巻取装置では、テンション制御のための駆動装置として超音波モータを採用し、主巻き取り機構としてバネ機構を備えている。このモータは乗員がシートベルトを装着する際のシートベルトのテンション調整や、走行時に入力された外部信号に対してシートベルトの巻き取り、引き出しの制御に使用されていた。このため、モータ駆動を正逆回転させる必要があるため、制御回路が複雑になっていた。また、シートベルト巻き取りも2系統になり、入力された外部信号に対しての巻き取り動作の切替えが滑らかに行えないという問題があった。
また、車載された各種のセンサからの外部信号をモータ駆動のトリガーとした場合、上述のシートベルト巻取装置に用いられているモータ減速機構では減速可能範囲が限定されるため、幅広い巻き取りモードに対応することができないと言う問題もある。そこで、本発明の目的は上述した従来の技術が有する問題点を解消し、シンプルな制御回路及び駆動機構を用いたモータ駆動のみでシートベルトを巻き取るようにし、乗員の装着状態、走行時の外部信号に応じてその巻き取りモードを幅広く設定できるようにしたコストを抑えたシートベルト巻取装置及びその制御方法を提供することにある。
上記目的を達成するために、本発明はベースフレームにスプール軸を介して軸支され外周にウェビングが巻き取られるスプールを、リターンスプリングの巻き戻し解放力により回転させて前記ウェビングを巻き取るようにしたシートベルト巻取装置であって、前記減速機構は所定の減速比に設定された伝達経路と、該伝達経路を、外部から得られた駆動信号に対応してスプール軸に連結す切替手段とを備えたことを特徴とする。
前記駆動信号は、乗員のシートベルト装着動作において得られる状態信号及び/または車両走行時に、該車両に搭載された検知手段から得られる外部信号とをもとに設定されるようにすることが好ましい。
前記外部信号を受け、前記切替手段の動作を行い、前記リターンスプリングにより大減速比で前記ウェビングの巻き取りを行うようにすることが好ましい。
前記伝達経路は、前記外部信号を受けた際の駆動信号により前記切替手段を動作させて前記減速機構内に設けられた伝達要素の一部を固定して切り替えられるようにすることが好ましい。
前記切替手段は、前記爪機構からなり、該爪機構が遊星ギアユニットの内歯ギアの外周に形成されたラチェット歯に係止して該内歯ギアの回転を固定することが好ましい。
上述の巻取装置を効率よく作動させるための発明として、乗員のシートベルト装着動作において得られる状態信号及び/または車両走行時に該車両に搭載された検知手段から得られる外部信号を受け、モータの回転トルクを、該状態信号または外部信号に対応した所定の減速比に切り替え、あるいは前記モータ駆動状態を制御して所定の駆動トルク値に変更してスプール回転を制御し、前記ウェビングを前記スプールに巻き取るようにしたことを特徴とする。
巻き取り状態にあるウェビングの引き出しを検知して得られた状態信号をもとに、モータの回転を停止させることが好ましい。
トングがバックルに装着されたことを検知して得られた状態信号をもとに、乗員にベルトフィットさせる程度の駆動トルク値で前記モータを駆動して前記ウェビングを巻き取ることが好ましい。
前記ベルトフィットが終了したことを検知して得られた状態信号をもとに、前記モータの駆動トルク値を減少させ、あるいはモータ駆動を停止させることが好ましい。
ウェビングの引き出しが中断したことを検知して得られた状態信号をもとに、前記モータを駆動させ前記ウェビングの巻き取りを再開させるようにすることが好ましい。
トングがバックルに装着された状態で、ウェビングが引き出されその引き出しが中断した状態からウェビングの巻き取りが再開され、その後ベルトフィットさせた後にモータの駆動トルク値を減少させ、あるいはモータ駆動を停止させることが好ましい。
前記ベルトフィット動作におけるモータの駆動トルク値は最初にトングが装着された際のベルトフィット動作における値より低く設定することが好ましい。
前記トングがバックルから分離されたことを検知して得られた状態信号をもとに、前記モータを駆動して前記ウェビングを巻取装置内に巻き取ることが好ましい。
前記ウェビングの引き出しを検知すると同時あるいは一定時間経過後に、前記モータを駆動する制御回路の電源をON状態とすることが好ましい。
前記ウェビングが巻き取り完了したことを検知すると同時あるいは一定時間引き出し動作がないことを検知して、前記モータを駆動する制御回路の電源をOFF状態とすることが好ましい。
得られた外部信号に応じて前記モータの駆動トルク値を一定値あるいは途中可変値に切替手段を介して切り替え、前記モータ駆動により前記ウェビングの巻き取りを行うことが好ましい。
前記切替手段を解除させずに、切り替え後のモータの駆動状態を保持するモードを備えることが好ましい。
前記切替手段を解除させずに、切り替え後のモータの駆動状態を、減速機構のトルク抵抗手段を介して保持させるモードを備えることが好ましい。
前記モードは車両走行時のホールドモードあるいはチャイルドシート固定モードとすることが好ましい。
また、前記外部信号に対応した前記モータの動作指令信号を、各座席に設けられた各シートベルト巻取装置に対して独立あるいは斉一情報として各座席を認識した通信方法を介して伝達し、各座席ごとに所定のモード設定を行えるようにすることが好ましい。
以上に述べたように、適応性の高い減速機構を備えた単一モータを各種の状況を設定して制御したり、公知の巻取機構と組み合わせることで、ウェビングの巻き取り状態を様々な範囲において適応させることができ、シートベルトを装着した乗員の快適性、安全性を確実に確保することができるという効果を奏する。
本発明によるシートベルト巻取装置の一実施の形態の構成要素を示した分解斜視図。 本発明のシートベルト巻取装置の減速機構の構成要素を示した分解斜視図。 減速機構の内部の伝達要素を端面で示した横断面図。 減速機構の内部の伝達要素を断面で示した横断面図。 シートベルト巻取装置の巻取機構の変形例を示した分解斜視図。 シートベルト巻取装置の巻取機構の別の変形例を示した分解斜視図。 本発明によるシートベルト巻取装置を構成する機構群及び装置を制御するための構成要素を模式的に示したシステム構成図。 ウェビング引き出し検知部とスプール回転検知部の構成を示した端面図。 爪機構(第1構成例)の構成及びその動作を模式的に示した状態説明図。 爪機構(第2構成例)の構成を示した部分分解斜視図。 図10に示した爪機構の構成及びその動作を模式的に示した状態説明図。 減速機構の切替機構の変形例を模式的に示した説明図。 減速ギアと滑り機構の連係動作状態を示した状態説明図。 遊星ギアユニットにおける切替動作状態を示した状態説明図。 ウェビング巻取り時にウェビングを引き出した状態を示した状態説明図。 ウェビング巻き取り制御における動作フローを示したフローチャート。 設定モード処理の動作フローを示したフローチャート。 ベルト装着時の弛み防止のための動作フローを示したフローチャート。 ウェビング巻き取り状態における電流、繰り出し量及びウェビング張力の関係を示した模式状態変化図。 ウェビングの引き出し、巻き取りに応じたモータ速度制御状態を示した模式状態変化図。 減速機構の全体構成を模式的に示した説明図。 第1減速機構の変形例を模式的に示した説明図。 第2減速機構の変形例を模式的に示した説明図。 減速機構の切替機構の変形例を模式的に示した説明図。 滑り機構の変形例を模式的に示した説明図。 滑り機構の変形例を模式的に示した説明図。 ウェビング引き出し検知部の変形例を模式的に示した説明図。
以下、本発明のシートベルト巻取装置及びその制御方法の一実施の形態について、添付図面を参照して説明する。
[シートベルト巻取装置本体の構成]
以下、本発明のシートベルト巻取装置の構成について、添付図面を参照して説明する。図1は、本発明のシートベルト巻取装置1のアッセンブリとしてのウェビング巻き取りリール部2A、リールロック機構4、駆動源としてのモータ5と減速機構を収容する減速機構ケーシング11、減速機構10(図2)の一部を構成する遊星ギアユニット30及びモータ制御用の検知部40、50の概略構成を示した分解斜視図である。図2はそのうちの減速機構10の内部構成を示した分解斜視図である。
図1においては、公知機構としてのウェビング巻き取りリール部2Aとリールロック機構4とは一体的に図示されている。ウェビング巻き取りリール部2Aは、ウェビングWが巻き取られるスプール2と、このスプール2のスプール軸15を回転自在に軸支するベースフレーム3とからなり、スプール2の回転を抑止するリールロック機構4(外観形状のみ図示)がベースフレーム3に一体的に取り付けられている。本実施の形態では駆動源として単一の可変速のDCモータ5が装備されている。DCモータ5を回転制御するための制御部9(図7参照)には図示しない回路デバイスが用いられている。さらにDCモータ5の回転トルクが伝達される駆動機構として減速機構ケーシング11内に減速機構10が設けられている。
この減速機構10は、第1減速機構10Aと第2減速機構10Bの2系統の駆動機構からなり、いずれか1系統の駆動機構を介してスプール2の巻き取り動作を実現するようになっている。このときモータ等の1個の駆動源から伝達される回転トルクが2系統を介して直結するのを防止するために、所定の抵抗トルクを介在させて一方の伝達トルクが滑るようにして遮断される抵抗トルク手段60として滑り機構(以下、符号60を付す。)が設けられている。この滑り機構60を介在させることにより、減速比の異なる駆動機構を、条件に応じて切替手段70により切り替えて使用する。
ベースフレーム3は図1に示したように、平面形状が略コ字形をなした鋼板加工品で、左右の側面壁3aにはスプール2の端部フランジが遊嵌される支持孔3bが形成されている。この支持孔3bの周縁3cには図示しない略鋸歯状部(図示せず)が形成され、この周縁3cに公知のリールロック機構4のロック動作により揺動する係止片(図示せず)が係止するようになっている。この係止動作により、ウェビングWが巻取装置1から急激に引き出された際に、スプール2の回転をロックし、ウェビングWの引き出しが阻止される。ベースフレーム3の他方の側面壁3aにはモータ5の回転駆動力を減速する減速機構10のアッセンブリが収容された減速装置ケーシング11が遊星ギアユニットを介して取り付けられている。減速装置ケーシング11の外側端とリールロック機構4の外側端とにはそれぞれウェビング引き出し検知部40と、スプール回転検知部50とが取り付けられている。減速装置ケーシング11の内面の下部にはモータギア6が挿入され、内部の減速機構10のアッセンブリ(その構成は後述)に所定回転駆動力を伝達できるようになっている。なお、モータ5を収容するケーシングは図の簡単化のために図示を省略している。
[減速機構の構成]
減速機構10の構成について図2〜図4を参照して説明する。減速機構10は前述したように、第1減速機構10Aと第2減速機構10Bの2系統が、一部の伝達要素を共有して一体化して構成されたものである。本実施の形態ではこの減速機構10の切り替えを行う切替手段70として電磁ソレノイド71で動作する爪機構70が用いられている。
第1減速機構10Aの構成要素について図2〜図4を参照して説明する。図3は、シートベルト巻取装置1のうち、減速機構10の伝達要素の噛合状態を説明するために、各要素(歯車)を端面で詳細に示した内部断面図、図4は減速機構10の伝達要素の支持状態を説明するために各要素(歯車)を断面で詳細に示した内部断面図である。まず、モータ5は、図1、図3に示したようにモータギア6が減速機構ケーシング11に形成された下部穴に挿入された状態でベースフレーム下端に堅固に取り付けられている。モータギア6はケーシング11内面の回転軸(図示せず)に軸支された2段ギア12に噛合されている。この2段ギア12は図2において2枚構成となっているが、一体ギアとして構成してもよい。2段ギア12の小ギア12aは減速ギア13に噛合している。この減速ギア13の回転軸ボス14はスプール軸15の突出軸15aに遊嵌する太陽ギア31(遊星ギアユニット30については後述する。)と同軸的に一体成形された六角形断面ブシュ16に嵌着され、減速ギア13全体が突出軸15aに軸支されている。減速ギア13の外側面には扁平な凹所13aが全面形成されている。この凹所13aの側面に公知のロータリーダンパ17が固着され、さらにロータリーダンパ17のローター軸18にギア19が軸支されている。このロータリーダンパ17の内部にはオイルが封入されており、このオイル内を回転するローターベーン(図示せず)の粘性抵抗によってローター軸18に一定の抵抗トルクが付与されている。さらに減速ギア13の凹所13aには突出軸15a端に形成された六角形スプライン15bに定着されたスプール軸入力ギア20が収容されている。このスプール軸入力ギア20の回転によりスプール軸15の軸端に所定の回転トルクが付与される。
さらに、このスプール軸15に同軸的に装着される遊星ギアユニット30の構成について図1、図3、図4を参照して説明する。この遊星ギアユニットは図1の分解斜視図に明確に示されているように、減速ギア13と同数回転する太陽ギア31に噛合する2枚の遊星ギア32と、これら遊星ギア32を軸支し、太陽ギア31と同軸回転可能なキャリア33と、遊星ギア32が内接、内歯37に噛合する内歯ギア34から構成されている。これらのうち、キャリア33は背面側に六角形状をなすソケット部35を有し、このソケット部35がスプール軸15を挿通させた際に六角形をなす拡径部15cに嵌着されるようになっている。さらに内歯ギア34の外周にはラチェット歯36が全周にわたって形成されている。このラチェット歯36と係止する切替機構としての爪機構70については後に詳述する。このラチェット歯36に爪機構70が係止することで内歯ギア34が固定され、太陽ギア31から入力された回転は、遊星ギア32の公転とともに回転するキャリア33に伝達され、ソケット部35を介してスプール軸15の拡径部15cを大減速比で回転させることができる。
[巻取機構の変形例]
(渦巻きバネ併用タイプ)
次に、従来の渦巻きバネをリターンスプリングとして巻き取り機構中に組み込んだ変形例について図5を参照して説明する。この変形例では図2の構成に対して通常使用時におけるスプール軸の巻き取りにリターンスプリングの巻き戻り解放力を利用するようになっている。スプール軸15aの突端にはコッター15dが形成され、スプリングブシュ101が嵌着されるようになっている。スプリングブシュ101には渦巻きバネのリターンスプリング102の内周端102aが定着される。これによりリターンスプリング102の巻き、巻き戻り動作によるトルクをスプール軸15への伝達する役割を果たす。さらにリターンスプリング102全体を覆うようにスプリングカバー103がケーシング11にボルト止め(図示せず)されている。このような構成からなるシートベルト巻取装置では、通常の使用時ではリターンスプリング103によるウェビング巻き取りが行われ、車両走行時にシートベルトの引き込みが必要な状態で併設されたモータ5を駆動させたウェビング巻き取りを行うこともできる。
(省機能フェースギア駆動タイプ)
図6は上述した大減速比機能を省略し、乗員のシートベルト装着時の快適性が得られるようにした減速機構の変形例の部分構成を示した部分斜視図である。同図に示したように、スプール軸15の先端15aはケーシング11内に収容された高減速比のフェースギア110のボス110aを貫通し、図示しないリターンスプリング(図5参照)の内周端に固着されている。フェースギア110には所定の円錐ピッチ面が形成された大直径ギアが用いられている。一方、スプール軸15とその回転軸とが直交あるいは所定傾角をなす食違い軸を構成するように電動モータ112がケーシング11内に収容されている。この電動モータ112の回転軸端にはフェースギア110と噛合する駆動歯車114が装着されている。電動モータ112の回転はフェースギア110に減速されて伝達され、スプール軸15の低速回転が実現する。この電動モータ112の駆動は乗員のシートベルト装着時に行われ、これによりシートベルト装着時に余分に引き出されたウェビング(図示せず)を乗員の胸部に圧迫感のない程度まで引き込み、乗員の体型に軽くフィットさせることができる。走行時のウェビングの巻き取りは上述したリターンスプリング等により行う。このように大減速比の巻き取り機能を省略したことにより低廉で小型の巻取装置を提供することができる。
[制御部を中心として機能する装置全体の構成]
以上に説明したシートベルト巻取装置の各機構と、これらの機構を連係づけて動作させるための制御部及び制御部に必要な駆動信号を送る各種検知部、検知センサの模式構成を図7に示した。図7には上述した巻取装置1と、図1〜図4に示したように巻取装置1内に収容された各機構に所定の動作指令を行う装置外の制御部9と、この制御部9に送られる乗員のシートベルト装着状態や走行時の車両の安全状態を知らせる外部信号センサとが模式的に示されている。すなわち、巻取装置1内にはスプール軸12を介してベースフレーム3に軸支されたスプール2が配置され、このスプール2にウェビングWが巻回されるようになっている。このスプール2の巻き取り動作は、モータ5の回転トルクを減速比の異なる2系統の伝達経路としての第1減速機構10A、第2減速機構10Bと、この伝達経路を制御部9からの駆動信号に応じて切り替えるための切替手段70と、伝達される回転トルクの大きさにより第1減速機構10Aと第2減速機構10Bのいずれかの経路を経由するように経路上に設けられた抵抗トルク手段60と、モータ駆動あるいはウェビングWの引き出しによるスプール2の回転を検知するウェビング引き出し検知部40と、スプール回転検知部50とが備えられている。そして、車内の一部にはこの巻取装置1のモータ5に駆動信号を出力する制御部9が装備されている。この制御部9には入力I/F(図示せず)を介してウェビング引き出し検知部40、スプール回転検知部50、ウェビングのトングが装着されるバックル7内に内蔵され、ウェビングのトングがバックルに装着されたことを知らせるバックルスイッチ8及び走行時に車両の様々状態を知らせる複数の外部信号センサS1、…Snが接続されており、乗員の様々なシートベルト装着状態に応じて得られる状態信号、走行時の様々な状態において得られる外部信号が入力される。制御部9ではこれらの入力信号をもとにCPU電源、モータ駆動電源のON/OFF制御がなされ、またモータ回転制御信号、減速機構の切替のための切替信号等の駆動信号が生成され、これらの駆動信号によりモータ駆動制御が行われる。
[ウェビング引き出し検知部とスプール回転検知部の構成と動作]
次に、ウェビング引き出し検知部40とスプール回転検知部50の構成について図8を参照して説明する。図8は両検知部を説明するために、それぞれの検知部が取り付けられているシートベルト巻取装置1の側面を対向させた状態で模式的に示したものである。図8左半図に示したように、このウェビング引き出し検知部40は扇形形状したスイッチプレート41と、スイッチプレート41を要位置で軸支する回動ピン42と、回動ピン42から短い腕長で延びる接点アーム43と、接点アーム43の回動により接点がON/OFFされるリミットスイッチ44とから構成されている。図3(図4)に示したように、スイッチプレート41は両端にガイド41aが設けられ、その回動範囲(角度)が規制されている。この範囲で前述したスプール軸入力ギア20の端部のリング状溝21に円弧状縁辺41bが接触している。円弧状縁辺41bは縁辺に沿った内側に円弧溝41cが形成されており、円弧状縁辺41bがリング状溝21に当接するとわずかに撓み、押圧力が付与され、リング状溝21の回転に伴い、滑ることなくスイッチプレート41が回動できる。同図は初期位置にあったスイッチプレート41(2点鎖線)がスプール2のCW方向への回動(ウェビングWの引き出しに対応)に伴い、スイッチプレート41がCCW方向に支点周りに回動し、リミットスイッチ44のON状態が示されている。
このウェビング引き出し検知部40のリミットスイッチ44がONになったときの作用について説明する。通常の場合、本装置のように、モータ駆動がCPUの動作により実現するものである場合、乗用車のイグニションキーのON動作を、CPU電源PwをON状態とするトリガーとすることが考えられる。しかし、本装置においてはウェビング引き出しという動作が行われた際にCPU電源PwをONするのがもっとも効率的であり、装置のコンパクト化につながる。そこで、ウェビングが引き出された瞬間にCPUの電源PwがONするタイミングをウェビング引き出し検知部40で検知するようにした。
一方、リールロック機構4の外側にはスプール回転検知部50が設けられている。このスプール回転検知部50はスプール2の回転方向、すなわちウェビングWの引き出しあるいはウェビングWの巻き取り方向の検知と停止状態とを検出できる。スプール回転検知部50は図1、図8に示したように、スプール2と同軸回転するスプール軸15の端部に取り付けられたギア51と、このギア51から得られる回転を減速する3枚のギアトレイン52と、最終的に減速された回転角を抵抗変化量として検知する可変抵抗53とからなる。この可変抵抗53を介して得られる電圧の変化を検出してそのスプール2の回転状態を検出することができる。
ウェビング引き出し検知部40の実際の動作について簡単に説明する。通常のモータ5の駆動によりウェビングWが巻き取られている際に、乗員がそのウェビングWの巻き取りを阻止したりウェビングWを引き出すと、スイッチプレート41が僅かに回動し、リミットスイッチ44がON状態となる。このトリガーによりモータ駆動が停止するので、それ以後乗員はウェビングWを巻取装置1から軽く引き出すことができる。このウェビング引き出し検知部40とスプール回転検知部50のいずれかの検知部によりウェビングWの引き出しが検出されると、モータ駆動が停止する。ウェビングWの引き出しが停止したら、モータ5がONとなり、ウェビングWの巻き取りが再開される。
このように、ウェビング引き出し検知部40とスプール回転検知部50とはともに、スプール2の回転を検知し、それをトリガーとして回路に取り入れることができる。たとえば図8に示したように、両検知部のOR状態によりCPU電源PwをONとしてもよい。
[爪機構の構成と動作]
遊星ギアユニット30の内歯ギア34の外周に形成されたラチェット歯36に係止される爪機構70について、代表的な2種類の構成例を説明し、併せてその変形例について簡単に説明する。
(第1構成例)第1構成例としての爪機構70の構成とその動作について図2及び図9各図を参照して説明する。爪機構70はケーシング11の内面に保持されたソレノイド71と回転構造のレバーストッパ75とから構成されている。図9(a)に示したように、ソレノイド71は励磁されることでそのコイル内をスライドするプランジャ72を有している。ソレノイド71は通電状態(励磁状態)ではコイル内に引き込まれ、励磁が解除された状態ではスプリング73により初期状態まで引き出されるようにスライドする。
このプランジャ72近傍には回転軸に軸支されたレバーストッパ75が配置されている。このレバーストッパ75は回転軸と同心の円板部75aに主動レバー76と従動レバー77が回転軸に関して所定の角度をなして一体的に形成された形状からなる。このうち主動レバー76は図示したように、レバー先端76aがプランジャ72先端まで延在し、初期状態においてスプリング73によってプランジャ72の先端72a側に付勢され、その位置が保持されている。従動レバー77の近傍には円板部75に形成された回転軸を介して回動可能に取り付けられた係止爪78が取り付けられている。この係止爪78は、初期状態において円板部75を周回して装着された線材バネ79によって従動レバー77に押圧されるように一体化した状態にある。この係止爪78の先端にはさらに逃げ突起78aが形成されている。
ここで、爪機構70による内歯ギア34のラチェット歯36への係止及びその解除時の動作について図9(b)、図9(c)を参照して説明する。種々のウェビング巻き取りモードの1モードとして大トルクによるウェビングWの急激な巻き取り動作がある。この急激なウェビング巻き取り動作は第2減速機構10Bを経由してモータ5の回転トルクを遊星ギア32のキャリア33の減速回転により直接スプール2に伝達して実現するようになっている。このため、前述したように遊星ギアユニット30のうち、内歯ギア34の外周に形成されたラチェット歯36を爪機構70で係止し、内歯ギア34の回転をロックする必要がある。
図9(b)はソレノイド71に通電され、プランジャ72がソレノイド71のコイル内に引き込まれた状態を示している。このプランジャ72の引き込みと同時にプランジャ先端72aに押されてレバーストッパ75の主動レバー76がCCW方向に回動し、これに伴い円板部75に突設された従動レバー77と一体となった係止爪78の一部がラチェット歯36の回転方向からラチェット歯36の谷に係止される。これにより内歯ギア34のCW方向への回転がロックされ、この内歯37に噛合した遊星ギア32がCCW方向に自転しながら公転する。この公転に伴い、キャリア33もスプール2を大減速比でスプール軸15回りに回転させることができる。
この状態から内歯ギア34のロックを解除する際のレバーストッパ75の動作について説明する。内歯ギア34の回転がロックされた状態からソレノイド71の励磁を解除するとプランジャ72がコイルから抜けるように伸長し、レバーストッパ75の主動レバー76はCW方向に回動する。これと同時に従動レバー77も回動する。このとき係止爪78はラチェット歯36に所定の押圧力で当接しているため、従動レバー77が回動しても係止爪78とラチェット歯36との係止状態は保持されている。さらに円板部75が回動すると、係止爪78は線材バネ79の復元力により逃げ突起78aの根元部を支点としてラチェット歯36の頂点を乗り越えるように従動レバー77側に回動する。これによりラチェット歯36との係止が解かれる。
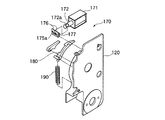
(第2構成例)第2構成例としての爪機構170の構成とその動作について図10及び図11各図を参照して説明する。爪機構170は図10及び図11(a)に示したように、リテーナプレート120の内面に保持されたソレノイド171と、ソレノイド171のプランジャ72の伸縮動作に追従して動作可能なレバー175と、レバー175の動作によりその一部がラチェエト歯36に係止する第1パウル180と、第1パウル180の回動に伴い第1パウル180と同様に先端部でラチェエト歯36を係止する第2パウル182から構成されている。
ソレノイド171は励磁されることでそのコイル内をスライドするプランジャ172を有している。プランジャ172は通電状態(励磁状態)ではコイル内に引き込まれ、励磁が解除された状態では解放スプリング190及び第2パウルの動作により初期状態まで引き出されるようにスライドする。
このプランジャ172の先端近傍には回転軸184に軸支されたレバー175が配置されている。このレバー175は回転軸184と同心の軸部175aに主動レバー176と、従動レバー177が所定の角度をなして一体的に形成された形状からなる。このうち主動レバー176は図示したように、二股形状をなしたレバー先端176aがプランジャ172の細径部172aに係止され、プランジャ172の伸縮動作に追従して主動レバー176が揺動し、レバー175全体が回転軸184回りに回動するようになっている。
従動レバー177の下面には長孔186に沿って解放スプリング190の付勢力により移動可能に支持された第1パウル180が配置されている。長孔186はスプール軸15の中心軸を中心とする緩い曲率をなす。この第1パウル180は略弓形をなし、後端部分に連結された解放スプリング190により長孔186に沿ってA方向に付勢されている。さらにその一部に形成された切欠部分には回転軸188に軸支された第2パウル182先端側の半分がはまり込むようにして配置されている。
ここで、爪機構170による内歯ギア34のラチェット歯36への係止及びその解除時の動作について図11(b)〜図11(d)を参照して説明する。第1構成例と同様に、大トルクによるウェビングWの急激な巻き取り動作を例に説明する。この急激なウェビング巻き取り動作は前述したように第2減速機構10Bを経由してモータ5の回転トルクを遊星ギア32のキャリア33の減速回転により直接スプール2に伝達して実現する。このため、前述したように遊星ギアユニット30のうち、内歯ギア34の外周に形成されたラチェット歯36を爪機構170で係止し、内歯ギア34の回転をロックする必要がある。
図11(b)はソレノイド171に通電され、プランジャ172がソレノイド171のコイル内に引き込まれた状態を示している。このプランジャ172の引き込みと同時にプランジャ先端172bに押されてレバー175の主動レバー176がCCW方向に回動し、これに伴い従動レバー177も軸部175a回りに回動するが、このとき従動レバー177は、その下面に当接している第1パウル180を解放スプリング190の付勢力に打ち勝ってCCW方向に回動させ、第1パウル180の下面に形成された係止爪180aがラチェット歯36の回転方向からラチェット歯36の谷に係止される。
図11(c)に示したように、この状態で内歯ギア34が回転軸15(スプール軸)回りのCW方向へ回転すると、第1パウル180全体が解放スプリング190を押し縮めるように回転軸15回りに長孔186に沿ってCW方向へ回動する。このとき第1パウル180の上面は従動レバー177で押圧規制されているため、係止が解かれることはない。これと同時に第1パウル180の切欠180bの一部が第2パウル182の先端182aを押圧し、第2パウル182を回転軸188回りにCCW方向に回動させる。これにより内歯ギア34のCW方向への回転がロックされ、この内歯37に噛合した遊星ギア32がCCW方向に自転しながら公転する。この公転に伴い、キャリア33もスプール2を大減速比でスプール軸15回りに回転させることができる。
次に、図11(d)を参照して内歯ギア34のロックを解除する際のレバー175及び第1パウル180、第2パウル182の動作について説明する。内歯ギア34の回転がロックされた状態からソレノイド171の励磁を解除すると、プランジャ172をコイル内に保持する力が失われ、解放スプリング190の伸長方向(矢印A方向)への付勢力により、従動レバー177が回転軸184回りにCW方向に回動する。これにより第1パウル180をラチェット歯36に押圧係止させていた規制力が解除され、第1パウル180は回転軸15回りのCCW方向へ回動し、切欠端180cが第2パウル182の突状部182bに当接して第2パウル182を回転軸188回りにCW方向へ回動させ、内歯ギア34のラチェエト歯36と2個のパウル180、182との係止はすべて解除され、内歯ギア34のロックが完全に解かれる。
以上に述べた第2構成例によれば、特にロック解除時において、モータを逆回転させたりすることなく、解放スプリングの付勢力を利用して動作する2個のパウルにより、パウルとラチェット歯との係止を容易に解くことができる。
(爪機構の変形例)次に、第1構成例としての爪機構70の変形例について簡単に説明する。図12(a)には従動レバー77が直接ラチェット歯36に係止する変形例が示されている。この爪機構70では従動レバー77の先端にローラRが取り付けられており、プランジャ72が伸長して主動レバー76、従動レバー77が一体的にCW方向に回動した際に、ローラRの回転によりラチェット歯36とレバー先端との摩擦を小さくし、レバー先端がラチェット歯36から外れやすくしている。
図12(b)はギアドモータ91の出力軸にアーム状ストッパ92を取り付け、ギアドモータ91の駆動によりストッパ92(爪)を回動させるようにした例を示している。図12(c)はギアドモータ91に対してラックピニオン機構90を用いてラック90a先端をラチェット歯36に当接させる。図12(b)、図12(c)の場合、ギア駆動によりストッパを当接させるため、ストッパの確実な切放し動作が可能になる。
[減速機構間の駆動力伝達動作と滑り機構の動作]
次に、上述した各機構によって実現する第1減速機構10A及び第2減速機構10Bにおける回転駆動力の伝達経路および滑り機構60の動作について図13〜図15を参照して説明する。本実施の形態のDCモータ5では、駆動回路から出力される駆動パルス信号に応じてその回転数をオープンループ制御しているが、本実施の形態ではモータ5の回転数を3段階のデューティー比(25,50,100%)で弱、中、強度の回転トルクでウェビング巻き取りを行うように制御回路を設計している。実際の使用状態とウェビング巻き取り設定との関係は後述する。まず、モータ5の回転が第1減速機構10Aを経由して小トルクのままスプール軸15に伝達され、ウェビングWが巻き取られる時の伝達経路における各伝達要素の動作について説明する。図13(a)に示したように、ウェビング巻き取りのために、モータ5がCCW方向に低速回転すると、ギア12を介して減速ギア13が低速回転する。このとき減速ギア13の回転トルクは凹所13aに取り付けられたロータリーダンパ17のローター軸18の設定トルク以下であるため、スプール軸入力ギア20は減速ギア13に対して相対回転せず減速ギア13と一体的に回転し、減速ギア13の回転トルクがそのままスプール2の巻き取り回転力として付与される。このときスプール2の回転に伴い、スプール2に一体的に嵌着されている遊星ギアユニット30のキャリア33、スプール軸15の突出軸15aに遊嵌されている太陽ギア31、内歯ギア34が互いに相対回転せずにスプール2と一体的にCCW方向に回転する(図14(a)参照)。
[伝達要素の構成及び動作]
次に、モータ5の回転が、大トルクを生じさせる第2減速機構10Bを経由してスプール軸15に伝達され、ウェビングWが急速に巻き取られる時の伝達経路における各伝達要素の動作について説明する。図13(b)に示したように、ウェビング巻き取りのために、モータ5がCCW方向に設定された回転数で高速回転すると、ギア12を介して減速ギア13が所定の減速比で回転する。一方、図14(b)に示した遊星ギアユニット30の太陽ギア31は減速ギア13と同数回転する。このとき内歯ギア34の外周に形成されたラチェット歯36には爪機構70が係止しているので、内歯ギア34の回転がロックされる。このため、遊星ギア32と遊星ギア32を軸支しているキャリア33は太陽ギア31の自転に伴い、ロックされた内歯ギア34の内歯37に噛合しながらCCW方向に公転する。キャリア33の回転に伴ってソケット部35で嵌合しているスプール軸15の拡径部に大回転トルクが付与される。
このとき滑り機構60として設けられているロータリーダンパ17のローター軸18の設定トルクを減速ギア13の回転トルクが上回るため、スプール軸入力ギア20と噛合するロータリーダンパ17のギア19が粘性抵抗を受けながら制動回転する。このように減速ギア13側からの入力が滑り機構60により遮断されることより、第1減速機構10A側に滑りが生じ、第1減速機構10Aの伝達経路と第2減速機構10Bの伝達経路が直結することが回避される(図13(b)参照)。
[滑り機構の動作]
さらに、この滑り機構60が動作する典型的な状態について図15を参照して説明する。モータ5が低速回転し、ウェビングWを巻き取っている最中に乗員がウェビングWを押さえてその巻き取りを阻止したり引き出したりすると、スプール軸入力ギア20は停止あるいはCW方向に回転する。このときモータ5はCCW方向に回転している状態にあり、減速ギア13のCCW方向の回転を阻止すると逆方向に負荷がかかり、その瞬間にロータリーダンパ17のローター軸18の設定トルクを上回ったスプール軸入力ギア20はモータ回転方向と反対向き回転し、ローター軸18のギア19間に滑りが生じる。またウェビングWが引き出されたことが引き出し検知部40で検知されるので、モータ5の回転は停止する。これにより、乗員はウェビングWを容易に引き出すことができる。
[装置全体の使用時における動作フロー]
以上の構成からなるシートベルト巻取装置の制御方法におけるモータ駆動モードについて、図16〜図18の動作フロー図及び図19、図20のウェビング巻き取り状態における各変化図を参照して説明する。図16はウェビング巻き取り制御における動作フローを示したフローチャートである。図17は各種の設定モードにおける処理動作フローを示したフローチャートである。図18はベルト装着時における快適性向上のための動作フローを示したフローチャートである。
前述したようにシートベルト巻取装置1に使用されているDCモータ5は、その回転数を制御回路における電圧設定あるいはパルス信号設定により詳細に設定することができる。そのため、乗員がシートベルトを装着する際の様々な動作や、走行時に外部から受ける種々の信号に対応させたウェビング巻き取り動作モードを設定することで、きめの細かいシートベルト巻き取り動作を実現することができる。
以下に乗員が乗車時にシートベルトを装着してから、降車時にシートベルトを解装するまでの一連の動作状態のときに得られる状態信号と、走行時に得られる外部信号に対応した各モードにおける動作をモータの回転数設定と関係つけて説明する。
(1)乗車時、降車時(コンフォートモード)
通常、乗員は座席にすわると同時に、ピラー内等に格納されているシートベルトを引き出し、座席の反対側サイドにあるバックルにトングを装着する。このときウェビングWの引き出しを巻取装置1のウェビング引き出し検知部40が検知し、回路、CPU電源PwをON状態とする(ステップ100,110)。シートベルト取り扱い動作ではなく、イグニションキーの操作等による外部信号により電源ONとなるようにしてもよい。ウェビング引き出しを検知した状態信号により、モータ5は回転を停止し、ウェビング巻き取りは停止される(ステップ120,130)。その後、適正にトングがバックルに装着され、バックル7に内蔵されているバックルスイッチ8(図7参照)がONになったら、余分に引き出されたウェビングWの弛みをとり、ベルトフィットさせるためにモータ5が中速回転し、ウェビングWの巻き取りを行う。これにより乗員の胸部から腹部にかけて圧迫感がない程度に弛みなくウェビングWが掛け渡される。この結果、ベルトのスラッグを取り、乗員の体型に軽くフィットさせることができる(ステップ150)。このベルトフィットが終了したことを知らせる状態信号をもとに、さらにモータのトルクを小さくしたり、モータ駆動を停止してベルト装着による圧迫感を除去することができる。この状態から乗員が体を大きく前に傾けた場合等にはその動きに追従してウェビングが引き出され、引き出しが停止した時点から再度同様の動作でウェビングの巻き取りが行われる。なお、ウェビングW引き出しが途中で中断したという状態信号を検知した場合には、ウェビングWが所定の駆動トルク値で巻き取られ、巻取装置1に格納される(ステップ125,145)。
トングがバックルに装着された状態で、乗員が前傾姿勢をとったりすると、ウェビングがさらに引き出されることになる。このときモータ5の運転は停止し、さらに前傾姿勢を止めた状態でウェビングの引き出しが中断した状態信号を受けると、モータが再度駆動し、ウェビングの巻き取りが再開される。その後ベルトフィットさせた後にモータの駆動トルク値を減少させたり、モータ駆動を停止させることができる。
さらに、乗員が車を降りる際には、トングを外した状態でウェビングWは緩やかな速度で巻き取られ、ピラー内等に所定量だけ格納されるようにすることが必要である。その後、一定時間引き出し動作がないことが確認されたら、回路側からCPU電源PwをOFFする(ステップ170〜195)。
このようにして、乗員がシートベルトを装着する際の快適性を高めることができる。さらに、シートベルト装着時の快適性を向上させるために、具体的に以下のような動作を行うように制御することが好ましい。図18及び図20を参照して以下説明する。
(a)ベルト装着時の弛み防止従来は、シートベルトを装着した後にシートスライド等により座席を後ろに下げてもシートベルトの引き出しを検知しない。そこで、シートベルト装着時において所定の時間間隔でシートベルトの巻き取り動作を繰り返して行い、装着時にシートベルトがゆるんだ状態が生じないようにしている。具体的には図18に示したように、シートベルトの引き出しが検知された場合には所定の巻き取りが行われるが(ステップ300、310)、さらにシートベルトの引き出し、巻き取りが完了した後に一定時間経過した場合に(ステップ320、330)、再度巻き取り動作に入り(ステップ310)、巻き取り状態を判断し(ステップ340)、巻き取りが完了した後に(ステップ350)、再度、所定の時間間隔で検知ループが動作するようにした。これによりシートベルト装着時のベルト弛みを確実に解消することができる。
(b)ベルト装着時、ベルト引き出しから巻き取りへの移行時の不快感の低減本発明ではベルトフィット時にモータによる巻き取りが可能であるが、この場合、モータ駆動速度を調整することでベルトを装着した際に乗員の胸部等に加わる圧迫感等を緩和することができる。具体的には図20に示したように、モータ速度を可変とすることで対応することができる。モータ速度を制御するにはPWM駆動あるいは駆動電圧を調整する等の公知のモータ速度制御により対応することができる。所定の間隔(たとえば1分ごと等)で行うことができる。また、このようなモータ速度制御を行う際、図20に示した速度状態変化図に示したように、バックルがまだ装着されていない場合のシートベルトの引き出しに関しては引き出しを容易にするために、モータを停止し、シートベルトの張力を低減するようにしている。一方、バックル装着直後の巻き取りも素早く行うことが望ましいため、このときのモータ速度の立ち上げは従来通りとしている。
(2)走行時走行時には主に外部信号を検知して、信号に対応した駆動パルス信号を発生させモータ駆動を行う。走行時の緊急度等によって以下のようなモード設定が可能である。
(c)警告モードたとえば、走行時の前後車両の車間検知センサにより車間距離が設定距離より接近したような場合で、ドライバーにその状況を体感的に警告することを主目的とする。車間距離は車両スピード等に応じて多岐に設定することができるが、一定の車間距離以内に障害となる物体が存在した場合等に、ウェビングの巻き取りを行い、ドライバーに物体の存在、接近状態を体感させる。このとき自車の速度、物体との相対速度、変化率等を因子として用い、車庫入れ等のように壁等の対象に自分の操作で接近させるような場合には、警告モードにならないようにすることも考慮できる。
(d)ホールドモードウェビングを巻き込んで乗員の身体を保持(ホールド)するためのモードで、たとえば、上記警告モードより緊急性の高い状態を対象としたり、走行時にドライバーが居眠りをし、前屈みに倒れ込むようにしてシートベルトの引き出しがあったり、既存技術で実現している居眠り検知センサが居眠りを検知した場合等にドライバーの姿勢を正し、さらに覚醒させるための警報として機能する。その他、急カーブや悪路走行においてドライバーや乗員を座席にホールドさせて安全を図るためにウェビングの巻き取り動作信号を発生させることもできる。この場合の外部信号発生のトリガーとしてはABS作動信号や操舵角センサ、路面センサ等による信号を利用することができる。
(e)プリテンションモード従来、衝突や急減速度を検知した場合にウェビングを所定量だけ巻き取り、乗員の拘束効果を高めることができるプリテンショナーがあるが、レーザーレーダー等の車間距離検知センサによる衝突回避不可能情報が得られた場合にはモータ駆動によりウェビングを急速に巻き込み、乗員の拘束保護を衝突に先立って行えるようにする。急速な巻き取りにおいて乗員が傷害を受けることのないような巻き込み速度等を設定することができ、2次的な傷害を防止することができる。
(3)チャイルドシート固定時チャイルドシートは通常、ウェビングを利用して座席に固定するようになっている。このとき、従来のシートベルト巻取装置では走行時にウェビングの緩みを防止する全量を引き出した状態でチャイルドシートを座席に固定する必要があった。そこで、チャイルドシートを座席に固定するための専用のモードを設定することが好ましい。たとえばチャイルドシートスイッチを設け、このスイッチがONであるとき、比較的大トルクでチャイルドシートが座席に固定できるまでウェビングをきつく巻き取るようにする。
図17は、上述した各モードに応じた処理手順を示した動作フローチャートである。走行時あるいはチャイルドシート固定時に外部信号から各モードに適合する信号が制御回路に入力されると、各モードに対応したウェビング巻取速度、巻取時間が設定される(ステップ310,320,330)。その後減速機構10の切り替えのために、減速機構切替をON状態(爪機構70のソレノイド通電)にし、モータ駆動が上述の第2減速機構10Bを介してスプール2に伝達されるようにする(ステップ340)。所定モードでのウェビングW巻き取りを行う(ステップ350)。上記モードの解除信号あるいは安全確認された信号が入力された場合に、減速機構切替OFFする(ステップ370)。チャイルドシート固定時には、チャイルドシートのスイッチONが確認されたら、減速機構切替をON状態にし、ウェビングWを一定時間だけ巻き取る(ステップ400〜420)。また、チャイルドシートを取り外す場合、トングをバックルから外した時点でバックルスイッチがOFF(ステップ430)となり、減速機構切替OFF(ステップ370)を経てコンフォートモードに戻り、緩やかにウェビングが巻き取られる。
上述した各モードにおいて、モータの駆動信号はホールドモード、警告モードの場合は中程度回転トルクが得られるように設定し、プリテンションモードの場合は強度回転トルクが得られるようにその回転数を設定することが好ましい。
図19は、以上の状態を制御にフィードバックするために計測されたウェビングの巻き取りのためのモータ駆動のための状態信号電流、そのときのウェビングの繰り出し量及びウェビングを巻取装置に巻き取る張力の大きさとの関係を模式的に示したウェビング巻き取り状態変化図である。同図において、横軸は経過時間軸(t)を示し、乗員の動作、走行状態等の時間経過の相対関係が確認できる程度の模式スケールで示したものである。各変化曲線において、信号電流はモータ駆動の状態を示しており、繰り出し量は巻取装置から繰り出されるウェビングの動きを示している。張力は乗員によるウェビングの引き出し力、モータ駆動による巻き込み力の状態を示している。同図から明らかなように、巻取装置から繰り出されたウェビングの状態に応じてモータ駆動を制御することで、ウェビング張力を適正な値に調整することができる。
[各構成部品の変形例]
(減速機構の変形例)
次に、上述した全体構造及び各減速機構10の変形例について説明する。図21(a)〜図21(e)は減速機構10の全体構造の変形例を示した模式説明図である。図21(a)では、第1減速機構10Aと第2減速機構10Bを独立して設け、モータ5からの回転トルクの伝達を伝達ギア70の切替により切り替えるようにしている。この伝達ギア70の移動はギア軸を図示したようにスライドさせたり、軸方向に移動させたりすることで実現できる。この場合には第2減速機構10Bに滑り機構60を介さないので大トルク回転を効率よく出力することができる。さらに、図21(b)に示したように切替ギアに代えてソレノイド71の動作によりモータ5の連結を滑り機構60側と第2減速機構10B側に切り替えることもできる。図21(c)では上述した本実施の形態に代え第2減速機構10Bと滑り機構60との間に切替ギア70を配置した変形例を示した。さらに、図21(d)に示したように、第1減速機構10A及び第2減速機構10Bとの間でモータ駆動を直接切り替えるとともに、スプール2と滑り機構60との間をソレノイド71の動作により連結、切断したりするようにもできる。図21(e)はモータ5の回転トルクを第1減速機構10Aと滑り機構60を介してスプール2に伝達した単一伝達経路から構成された変形例である。この装置では上述したコンフォートモードでの操作性を重視し、緊急時の大トルクのウェビング巻き取り動作を他の付勢手段に負担させることが好ましい。
図22各図は、第1減速機構10Aの変形例を示した概略説明図である。モータ回転軸からの回転トルクを確実にウェビング巻き取り軸等の出力軸25に伝達させるようにすることを基本とし、本実施の形態に示した構造に代えてモータの出力軸に対してプーリ6Pを配置し、伝達ベルト22を介してモータ駆動を減速機構等の出力軸25の駆動に伝達させている。(図22(a)参照)。伝達ベルト22としてはタイミングベルトの他、各種断面形状(V、平)ベルト、樹脂ワイヤ、スチールワイヤ、チェーン等を採用することができる。
モータからの減速機構として、遊星ギアユニット23を用いることもできる。その場合には遊星ギアを支持する遊星ギア側(キャリア23a)あるいは内歯ギア23bの内歯を入力軸とし、そのトルクを出力軸25へ伝達させることができる(図22(b)、(c)参照)。
また、上述の第1減速機構から大トルクを得る第2減速機構への切替える伝達機構について説明する。図23(a)は、遊星ギア23のキャリア23aをロックして太陽ギアからの入力を内歯ギア23bの内歯から出力軸25に出力するようにした変形例を示している。図23(b)、(c)は同軸的に配置された入力軸24から出力軸25への伝達を、中間ギア26によって実現するようにしている。このとき中間ギア26はクラッチ操作により継断動作を行える。入力軸24と出力軸25とが異なるような配置において、中間ギア26を介したギアトレインを構成するようにしてもよい。
図24(a)、(b)は内歯ギア34の近傍に、内歯ギア34とほぼ同径のフランジ93を配置し、このフランジ93をガイドとした電磁コイル94を巻回し、ギア34とフランジ93との間隙に磁性粉体95を充填した磁性粉体クラッチの構成例を示している。この磁性粉体クラッチでは、通電を行いコイル94を励磁状態にし、間隙に充填された磁性粉体95を固体化させ、内歯ギア34の回転をロックすることができる。図24(a)は磁性粉体クラッチを内歯ギア34の側面に沿って配置した例を示しており、(b)は磁性粉体クラッチを内歯ギア34の外周面に沿って配置した例を示している。
(滑り機構の変形例)
次に滑り機構60の変形例について説明する。本実施の形態では、ロータリーダンパ17を用いた滑り機構60を採用したが、トルクリミッタとして摩擦機構、バネ付勢機構を用いた種々の変形例を挙げることができる。図25(a)は、板バネ63によりディスクが一定のトルク以下で回転しないようにした滑り機構60である。内側ディスク61のフランジに取り付けられた板バネ63の先端に取り付けられた制動パッド64で外側ディスク62のフランジ62aを押圧して摺動抵抗が付加されているので、外側ディスク62のトルクが一定以上になるまで内外のディスク61、62は一体的に回転する。図25(b)は、内側ディスク61の外周にリング状ベーン66を設け、このベーン66をシリコンオイル等を封入したリング状オイル室65を有する外側ディスク62と同心的に組み立てた変形例である。この場合にもベーンと回りのオイルの粘性抵抗の一定値を越えるまで内外ディスク61、62は一体回転する。
さらに、図25(c)に示したように、各種の滑り機構60を外周リング状に構成し、滑り機構60の内側空間に巻き締めた状態の渦巻バネ67を装着することで、所定のトルクを越えるまでバネ付勢による回転トルクが外側リング62に伝達されるが、一定トルクを越えると滑り機構60が機能し、バネ付勢による回転トルクが遮断される滑り機構60を実現できる。図25(d)に示したように渦巻バネ67に代えて所定のコイル圧縮バネ67Cを内蔵させて所定回動角に応じて付勢力が発揮できるようにしてもよい。
図26各図に示した滑り機構60は外周ディスク62と、外周ディスク62と同心的に配置された内周ブシュ61との間に設けられている。図26(a)の滑り機構60では、外周ディスク61の内周縁には1/4円周分の遷移曲線部62bと段差部62aとが設けられており、鋼球68がその遷移曲線62bの終端部に収容されている。内周ブシュ61の一部には直径方向切欠が設けられ、その内部に収容されたスプリングSにより鋼球68が遷移曲線部62bの終端位置に保持されている。この滑り機構60では設定トルク以下では鋼球68が段差部62aを乗り越えられず、内周ブシュ61と外周ディスク62とは一体的に回転する。設定トルク以上の回転トルクが付与されると、鋼球68が段差部62aを乗り越えてスプリングSに押圧された状態で外周ディスク62の内周面に沿って1回転し、遷移曲線部62bから再度終端位置にはまる。
図26(b)には小径の内周ブシュ61と外周ディスク62との間にトルクリミッタとしてのスプリングSが装着された変形例が示されている。同図に示したように、スプリングSの外周端は外周ディスク62の内周位置に形成された凹所62dに納まっており、設定トルク以下で生じるスプリングの撓み変形ではこの凹所62dから外れない。このため、内周ブシュ61と、外周ディスク62とは一体回転する。付与された回転トルクが設定トルクを越えるとスプリングS外周端は外周ディスク62の内周面に沿って摺動しながら1回転する。そして、1周した状態で外周端が再び凹所62dに納まる。
図26(c)には図26(a)に類似した滑り機構60が示されている。この滑り機構60では弾性体球69が使用されており、スプリングSによる押圧により直径方向に圧縮変形し、外周ディスク62の内周面に押し宛てられている。この内周ブシュ61と外周ディスク62間に設定トルク以上の回転トルクが発生すると、弾性体球69はせん断変形して内周ブシュ61と外周ディスク62との一体化が解かれ、独立して回転する。
図26(d)は図25(a)の変形例で、外周ディスク62のフランジをネジ61cの調整により間隔を設定可能な2枚の内周ブシュ61a、61bで挟持し、所定の抵抗トルクを得るようにした滑り機構60を示している。必要に応じてネジ61cにスプリング(図示せず)等を介装して内周ブシュ61のディスクへの押圧力を調整することもできる。
(ウェビング引き出し検知部の変形例)
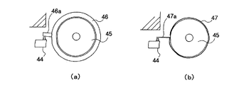
ウェビング引き出し検知部40の変形例について説明する。上述した扇形のスイッチプレート41(図8参照)に代えてウェビングの引き出しを検知するスイッチの変形例を図27各図に示す。図27(a)は、トリガー突起46aが形成されたリング46と、このリング46に所定の摺動抵抗をとって相対回転可能なブシュ45とから構成された引き出し検知部40を示している。ブシュ45はスプール軸(図示せず)の回転を受けて直接回転する。回転トルクが摺動抵抗以下であるときにリング46はブシュ45と一体回転する。そしてトリガー突起46aによってリミットスイッチ44はONとなる。同図(b)は締め輪として機能するリング状スプリング47をブシュ45に外嵌し、ブシュ45とブシュ45を締め付けるスプリング47の付勢力との間の摩擦を利用してブシュ45とスプリング47とを一体回転させる段階で、リミットスイッチ44をONさせる引き出し検知部を示している。また、本実施の形態で用いた公知のリミットスイッチに代えて、通常の接点スイッチや、スイッチプレートやリングにスリットを設け、回転動作によってスリットを透過した光を受光するようにした光電センサ、金属製のスイッチプレートやリングの移動を検知可能な金属感知の近接センサー、磁界変化を検知するホール素子等、公知のセンサスイッチを利用することができることは言うまでもない。
(スプール回転検知部の変形例)
次に、スプール回転検知部について説明する。スプール回転検知部においては上述した可変抵抗により直接電圧変化を検出するだけでなく、この回転軸に沿ったエンコーダー形式の光電センサ及び引き出し検知にも利用可能なスリットの位置を検出する光電センサ、近接センサ、磁気ヘッドによってその位置を読み取る磁気検出センサ等を用いることができる。
(その他の構成)
また、本実施の形態では、モータとしてDC(直流)モータを利用したが、可変速のモータであれば、公知の各種サーボモータ、たとえばステッピングモータ、超音波モータ、ACモータ等とそれぞれのモータ駆動回路を用いることができ、これにより上述の巻き取り動作を実現できることはいうまでもない。また、このモータ駆動のための制御基板はモータを設置した際に生じるウェビング巻き取り部の下の空きスペースに、モータと隣接するようにして据えることがハーネスの配線上の理由等により好ましい。しかし、フレーム内において設置可能な範囲であれば適当な位置に設置してよいことはいうまでもない。
以上の説明に示したように、乗員がシートベルトを装着した状態で種々の状況に応じてシートベルトの巻き取り機能を提供できるが、各機能の設定値は工場出荷時の標準値として設定されている。そこで、乗員は各種のモードをあらかじめ擬似的に体験(シミュレート機能)し、その効果の度合いを好みに応じて変更することができる。この操作は例えば装備されたナビゲーションシステムのディスプレイの表示に従って行うこともできるし、専用のコントローラによっても行えるようにすることが好ましい。
また、警告モード、プリテンションモード等に警告音、警告メッセージを同時に発生させることに加えて、コンフォートモードにおいても、各種の効果音を発生させたり、動作確認画像をディスプレイ表示させることで、ユーザーフレンドリーな機器としての使い勝手を向上させることができる。
以上の設定は、車体内に配線された所定のワイヤーハーネスを介し、運転席とそれ以外の座席を特定したり、全席に同時対応させるようにして行うことができる。また、通信回線を介して各座席のモード制御を行うことも可能である。たとえば、上述のディスプレイや、リモートコントローラ等からの指令により、各座席に装備された巻取装置の設定モードを、運転者あるいは同乗者が任意に公知の通信プロトコルによる通信回線を介して設定することができる。このとき取り扱われるデータとしては座席特定のID、各種モード設定コマンド(警報、ホールド、一時停止(ウェイト)、解除、チャイルドシート固定)等を盛り込むことができる。
1 シートベルト巻取装置
2 スプール
3 ベースフレーム
5 モータ
9 制御部
10 減速機構
10A 第1減速機構
10B 第2減速機構
13 減速ギア
15 スプール軸
17 ロータリーダンパ
20 スプール軸入力軸
30 遊星ギアユニット
31 太陽ギア
32 遊星ギア
33 キャリア
34 内歯ギア
36 ラチェット歯
40 ウェビング引き出し検知部
41 スイッチプレート
44 リミットスイッチ
50 スプール回転検知部
52 減速ギアトレイン
60 抵抗トルク手段(滑り機構)
70,170 切替手段(爪機構)
71,171 ソレノイド
76,176 主動レバー
77,177 従動レバー
78 係止爪
180 第1パウル
182 第2パウル
190 解放スプリング
W ウェビング

Claims (25)

  1. ベースフレームにスプール軸を介して軸支され外周にウェビングが巻き取られるスプールを、リターンスプリングの巻き戻し解放力により前記ウェビングを巻き取るとともに、減速機構を備えたモータ駆動により巻き取りを切り替えて行うようにしたシートベルト巻取装置であって、前記減速機構は所定の減速比に設定された伝達経路と、該伝達経路を、外部から得られた駆動信号に対応してスプール軸に連結する切替手段とを備えたことを特徴とするシートベルト巻取装置。
  2. 前記駆動信号は、乗員のシートベルト装着動作において得られる状態信号及び/または車両走行時に、該車両に搭載された検知手段から得られる外部信号とをもとに設定されることを特徴とする請求項1記載のシートベルト巻取装置。
  3. 前記外部信号を受け、前記切替手段の動作を行い、前記リターンスプリングにより大減速比で前記ウェビングの巻き取りを行うようにしたことを特徴とする請求項2記載のシートベルト巻取装置。
  4. 前記伝達経路は、前記外部信号を受けた際の駆動信号により前記切替手段を動作させて前記減速機構内に設けられた伝達要素の一部を固定して切り替えられるようにしたことを特徴とする請求項1記載のシートベルト巻取装置。
  5. 前記切替手段は、爪機構からなり、該爪機構が遊星ギアユニットの内歯ギアの外周に形成されたラチェット歯に係止して該内歯ギアの回転を固定するようにしたことを特徴とする請求項1記載のシートベルト巻取装置。
  6. 前記切替手段は、爪機構からなり、回転軸に軸支された2個のパウルが協働して前記内歯ギアのラチェット歯に係止して前記内歯ギアの回転を固定するようにしたことを特徴とする請求項5記載のシートベルト巻取装置。
  7. 前記2個のパウルのうち、第1のパウルがソレノイドの励磁により回転軸回りに回動し、前記ラチェット歯との係止する動作を経て、第2のパウルを前記ラチェット歯に係止させるようにしたことを特徴とする請求項6記載のシートベルト巻取装置。
  8. 前記ソレノイドの消磁により第1のパウルに連結された付勢バネが伸長し、前記第2のパウルの前記ラチェット歯への係止が解かれるようにしたことを特徴とする請求項7記載のシートベルト巻取装置。
  9. 乗員のシートベルト装着動作において得られる状態信号及び/または車両走行時に該車両に搭載された検知手段から得られる外部信号を受け、モータの回転トルクを、該状態信号または外部信号に対応した所定の減速比に切り替え、あるいは前記モータ駆動状態を制御して所定の駆動トルク値に変更してスプール回転を制御し、前記ウェビングを前記スプールに巻き取るようにしたことを特徴とするシートベルト巻取装置の制御方法。
  10. 巻き取り状態にあるウェビングの引き出しを検知して得られた状態信号をもとに、モータの回転を停止させるようにしたことを特徴とする請求項9に記載のシートベルト巻取装置の制御方法。
  11. トングがバックルに装着されたことを検知して得られた状態信号をもとに、乗員にベルトフィットさせる程度の駆動トルク値で前記モータを駆動して前記ウェビングを巻き取るようにしたことを特徴とする請求項9に記載のシートベルト巻取装置の制御方法。
  12. 前記ベルトフィットが終了したことを検知して得られた状態信号をもとに、前記モータの駆動トルク値を減少させ、あるいはモータ駆動を停止させるようにしたことを特徴とする請求項11に記載のシートベルト巻取装置の制御方法。
  13. ウェビングの引き出しが中断したことを検知して得られた状態信号をもとに、前記モータを駆動させ前記ウェビングの巻き取りを再開させるようしたことを特徴とする請求項9に記載のシートベルト巻取装置の制御方法。
  14. トングがバックルに装着された状態で、ウェビングが引き出され、その引き出しが中断した状態からウェビングの巻き取りが再開され、その後ベルトフィットさせた後にモータの駆動トルク値を減少させ、あるいはモータ駆動を停止させるようにしたことを特徴とする請求項9に記載のシートベルト巻取装置の制御方法。
  15. 前記ベルトフィット動作におけるモータの駆動トルク値は最初にトングが装着された際のベルトフィット動作における値より低く設定されたことを特徴とする請求項14に記載のシートベルト巻取装置の制御方法。
  16. トングがバックルから分離されたことを検知して得られた状態信号をもとに、前記モータを駆動して前記ウェビングを巻取装置内に巻き取るようにしたことを特徴とする請求項9に記載のシートベルト巻取装置の制御方法。
  17. 前記ウェビングの引き出しを検知すると同時あるいは一定時間経過後に、前記モータを駆動する制御回路の電源をON状態とするようにしたことを特徴とする請求項9に記載のシートベルト巻取装置の制御方法。
  18. 前記ウェビングが巻き取り完了したことを検知すると同時あるいは一定時間引き出し動作がないことを検知して、前記モータを駆動する制御回路の電源をOFF状態とするようにしたことを特徴とする請求項9に記載のシートベルト巻取装置の制御方法。
  19. 前記ウェビング巻き取り完了後に一定経過時間間隔をとってウェビングの巻き取りか必要かを判定し、必要に応じた巻き取り動作を行うようにしたことを特徴とする請求項9記載のシートベルト巻取装置の制御方法。
  20. 前記モータ駆動によるウェビング巻き取り速度を、モータ速度制御により可変切替させるようにしたことを特徴とする請求項9記載のシートベルト巻取装置の制御方法。
  21. 得られた外部信号に応じて前記モータの駆動トルク値を一定値あるいは途中可変値に切替手段を介して切り替え、前記モータ駆動により前記ウェビングの巻き取りを行うようにしたことを特徴とする請求項9に記載のシートベルト巻取装置の制御方法。
  22. 前記切替手段を解除させずに、切り替え後のモータの駆動状態を保持するモードを備えたことを特徴とする請求項20に記載のシートベルト巻取装置の制御方法。
  23. 前記切替手段を解除させずに、切り替え後のモータの駆動状態を、減速機構のトルク抵抗手段を介して保持させるモードを備えたことを特徴とする請求項21に記載のシートベルト巻取装置の制御方法。
  24. 前記モードは車両走行時のホールドモードあるいはチャイルドシート固定モードであることを特徴とする請求項23に記載のシートベルト巻取装置の制御方法。
  25. 前記外部信号に対応した前記モータの動作指令信号を、各座席に設けられた各シートベルト巻取装置に対して独立あるいは斉一情報として各座席を認識した通信方法を介して伝達し、各座席ごとに所定のモード設定を行えるようにしたことを特徴とする請求項21に記載のシートベルト巻取装置の制御方法。
JP2009255696A 1999-01-19 2009-11-09 シートベルト巻取装置及び制御方法 Expired - Fee Related JP5190434B2 (ja)

Priority Applications (1)

Application Number Priority Date Filing Date Title
JP2009255696A JP5190434B2 (ja) 1999-01-19 2009-11-09 シートベルト巻取装置及び制御方法

Applications Claiming Priority (5)

Application Number Priority Date Filing Date Title
JP1018499 1999-01-19
JP1999010184 1999-01-19
JP1999173624 1999-06-21
JP17362499 1999-06-21
JP2009255696A JP5190434B2 (ja) 1999-01-19 2009-11-09 シートベルト巻取装置及び制御方法

Related Parent Applications (1)

Application Number Title Priority Date Filing Date
JP35533499A Division JP4467688B2 (ja) 1999-01-19 1999-12-15 シートベルト巻取装置

Publications (2)

Publication Number Publication Date
JP2010030592A true JP2010030592A (ja) 2010-02-12
JP5190434B2 JP5190434B2 (ja) 2013-04-24

Family

ID=41735599

Family Applications (1)

Application Number Title Priority Date Filing Date
JP2009255696A Expired - Fee Related JP5190434B2 (ja) 1999-01-19 2009-11-09 シートベルト巻取装置及び制御方法

Country Status (1)

Country Link
JP (1) JP5190434B2 (ja)

Cited By (1)

* Cited by examiner, † Cited by third party
Publication number Priority date Publication date Assignee Title
KR102024048B1 (ko) * 2018-12-31 2019-09-24 주식회사 우신세이프티시스템 자세 제어가 가능한 가변차량센서를 구비하는 안전벨트 리트랙터

Citations (11)

* Cited by examiner, † Cited by third party
Publication number Priority date Publication date Assignee Title
JPS58179256U (ja) * 1982-05-27 1983-11-30 タカタ株式会社 安全ベルト巻取装置
JPS6087754U (ja) * 1983-11-11 1985-06-17 株式会社東海理化電機製作所 ウエビング巻取装置
JPS6270046U (ja) * 1985-10-22 1987-05-02
JPS62130965U (ja) * 1986-02-12 1987-08-18
JPS6422654A (en) * 1987-07-20 1989-01-25 Aisin Seiki Webbing winder
JPH0379212A (ja) * 1989-08-15 1991-04-04 Taga Electric Co Ltd 超音波回転加工装置
JPH09132113A (ja) * 1995-09-08 1997-05-20 Takata Kk 車両の乗員拘束保護システム
JP2711428B2 (ja) * 1993-08-09 1998-02-10 タカタ株式会社 シートベルト用巻取装置
JPH10167003A (ja) * 1996-12-16 1998-06-23 Takata Kk シートベルトリトラクタ
JP2001187561A (ja) * 1999-12-01 2001-07-10 Trw Automot Electronics & Components Gmbh & Co Kg 搭乗者拘束装置用のベルトリトラクタ
JP2004532150A (ja) * 2000-12-21 2004-10-21 オートリブ・デベロプメント・アクツイエボラーグ 予備緊張装置を持つ安全ベルト巻取り器

Patent Citations (11)

* Cited by examiner, † Cited by third party
Publication number Priority date Publication date Assignee Title
JPS58179256U (ja) * 1982-05-27 1983-11-30 タカタ株式会社 安全ベルト巻取装置
JPS6087754U (ja) * 1983-11-11 1985-06-17 株式会社東海理化電機製作所 ウエビング巻取装置
JPS6270046U (ja) * 1985-10-22 1987-05-02
JPS62130965U (ja) * 1986-02-12 1987-08-18
JPS6422654A (en) * 1987-07-20 1989-01-25 Aisin Seiki Webbing winder
JPH0379212A (ja) * 1989-08-15 1991-04-04 Taga Electric Co Ltd 超音波回転加工装置
JP2711428B2 (ja) * 1993-08-09 1998-02-10 タカタ株式会社 シートベルト用巻取装置
JPH09132113A (ja) * 1995-09-08 1997-05-20 Takata Kk 車両の乗員拘束保護システム
JPH10167003A (ja) * 1996-12-16 1998-06-23 Takata Kk シートベルトリトラクタ
JP2001187561A (ja) * 1999-12-01 2001-07-10 Trw Automot Electronics & Components Gmbh & Co Kg 搭乗者拘束装置用のベルトリトラクタ
JP2004532150A (ja) * 2000-12-21 2004-10-21 オートリブ・デベロプメント・アクツイエボラーグ 予備緊張装置を持つ安全ベルト巻取り器

Cited By (1)

* Cited by examiner, † Cited by third party
Publication number Priority date Publication date Assignee Title
KR102024048B1 (ko) * 2018-12-31 2019-09-24 주식회사 우신세이프티시스템 자세 제어가 가능한 가변차량센서를 구비하는 안전벨트 리트랙터

Also Published As

Publication number Publication date
JP5190434B2 (ja) 2013-04-24

Similar Documents

Publication Publication Date Title
JP4467688B2 (ja) シートベルト巻取装置
JP3924221B2 (ja) ウエビング巻取装置
US4669680A (en) Webbing retractor
US20060097096A1 (en) Method for controlling a seat belt retractor
US20050011983A1 (en) Seat belt retractor and seat belt device
JP2001151076A (ja) 乗員拘束保護システム
JP3924212B2 (ja) ウエビング巻取装置
JP2011230691A (ja) シートベルトリトラクタの制御装置およびこれを備えたシートベルト装置
JP4705058B2 (ja) モータ駆動シートベルト装置
EP1243486A1 (en) Motor retractor system
JP3964750B2 (ja) ウエビング巻取装置
JP2003335218A (ja) 車輛安全ベルト用のベルトリトラクター
JP3886088B2 (ja) 乗員拘束保護装置
JP5190434B2 (ja) シートベルト巻取装置及び制御方法
CN103732455B (zh) 座椅安全带装置
EP2199160A1 (en) Seatbelt apparatus for vehicle
JP2000071935A (ja) シートベルトリトラクタおよびこれを用いた車両の乗員拘束保護システム
JP2005289261A (ja) ウエビング巻取装置
CN100562447C (zh) 座椅安全带装置
JP2005231388A (ja) 駆動力伝達機構及びウエビング巻取装置
US5816522A (en) Tension controlled seat belt retractor
JP5268807B2 (ja) 車両用シートベルト装置
JPH10167007A (ja) シートベルトリトラクタ
JP2006143154A (ja) ウエビング巻取装置
JP3990617B2 (ja) ウエビング巻取装置

Legal Events

Date Code Title Description
A621 Written request for application examination

Free format text: JAPANESE INTERMEDIATE CODE: A621

Effective date: 20091109

A977 Report on retrieval

Free format text: JAPANESE INTERMEDIATE CODE: A971007

Effective date: 20110914

A131 Notification of reasons for refusal

Free format text: JAPANESE INTERMEDIATE CODE: A131

Effective date: 20111101

A521 Written amendment

Free format text: JAPANESE INTERMEDIATE CODE: A523

Effective date: 20111228

A131 Notification of reasons for refusal

Free format text: JAPANESE INTERMEDIATE CODE: A131

Effective date: 20120619

A521 Written amendment

Free format text: JAPANESE INTERMEDIATE CODE: A523

Effective date: 20120820

TRDD Decision of grant or rejection written
A01 Written decision to grant a patent or to grant a registration (utility model)

Free format text: JAPANESE INTERMEDIATE CODE: A01

Effective date: 20130108

A61 First payment of annual fees (during grant procedure)

Free format text: JAPANESE INTERMEDIATE CODE: A61

Effective date: 20130128

FPAY Renewal fee payment (event date is renewal date of database)

Free format text: PAYMENT UNTIL: 20160201

Year of fee payment: 3

R150 Certificate of patent or registration of utility model

Ref document number: 5190434

Country of ref document: JP

Free format text: JAPANESE INTERMEDIATE CODE: R150

Free format text: JAPANESE INTERMEDIATE CODE: R150

R250 Receipt of annual fees

Free format text: JAPANESE INTERMEDIATE CODE: R250

R250 Receipt of annual fees

Free format text: JAPANESE INTERMEDIATE CODE: R250

R250 Receipt of annual fees

Free format text: JAPANESE INTERMEDIATE CODE: R250

S111 Request for change of ownership or part of ownership

Free format text: JAPANESE INTERMEDIATE CODE: R313113

S343 Written request for registration of root pledge or change of root pledge

Free format text: JAPANESE INTERMEDIATE CODE: R316354

SZ02 Written request for trust registration

Free format text: JAPANESE INTERMEDIATE CODE: R316Z02

S343 Written request for registration of root pledge or change of root pledge

Free format text: JAPANESE INTERMEDIATE CODE: R316354

R350 Written notification of registration of transfer

Free format text: JAPANESE INTERMEDIATE CODE: R350

S343 Written request for registration of root pledge or change of root pledge

Free format text: JAPANESE INTERMEDIATE CODE: R316354

SZ02 Written request for trust registration

Free format text: JAPANESE INTERMEDIATE CODE: R316Z02

R350 Written notification of registration of transfer

Free format text: JAPANESE INTERMEDIATE CODE: R350

LAPS Cancellation because of no payment of annual fees