JP2010029903A - 押出装置および押出材の製造方法 - Google Patents

押出装置および押出材の製造方法 Download PDF

Info

Publication number
JP2010029903A
JP2010029903A JP2008194640A JP2008194640A JP2010029903A JP 2010029903 A JP2010029903 A JP 2010029903A JP 2008194640 A JP2008194640 A JP 2008194640A JP 2008194640 A JP2008194640 A JP 2008194640A JP 2010029903 A JP2010029903 A JP 2010029903A
Authority
JP
Japan
Prior art keywords
extrusion
refrigerant
die
refrigerant passage
cooling
Prior art date
Legal status (The legal status is an assumption and is not a legal conclusion. Google has not performed a legal analysis and makes no representation as to the accuracy of the status listed.)
Granted
Application number
JP2008194640A
Other languages
English (en)
Other versions
JP5180719B2 (ja
Inventor
Hidekazu Sakihama
秀和 崎浜
Yoichi Momo
陽一 百々
Koichi Tanaka
幸一 田中
Teruo Tate
輝雄 舘
Current Assignee (The listed assignees may be inaccurate. Google has not performed a legal analysis and makes no representation or warranty as to the accuracy of the list.)
Resonac Holdings Corp
Original Assignee
Showa Denko KK
Priority date (The priority date is an assumption and is not a legal conclusion. Google has not performed a legal analysis and makes no representation as to the accuracy of the date listed.)
Filing date
Publication date
Application filed by Showa Denko KK filed Critical Showa Denko KK
Priority to JP2008194640A priority Critical patent/JP5180719B2/ja
Publication of JP2010029903A publication Critical patent/JP2010029903A/ja
Application granted granted Critical
Publication of JP5180719B2 publication Critical patent/JP5180719B2/ja
Expired - Fee Related legal-status Critical Current
Anticipated expiration legal-status Critical

Links

Images

Landscapes

  • Extrusion Of Metal (AREA)

Abstract

【課題】ベアリング部を選択的に冷却できる押出装置を提供する。
【解決手段】 押出装置は、押出材(1)の内面(2a)を成形するベアリング部(25)を有し、前記ベアリング部(25)の内側を通り、下流側端面に開口部(28)を有する冷媒用通路(26)を備える押出ダイス(20)と、前記開口部(28)から冷媒用通路(26)を介して冷媒(C)を吸引する吸引手段(60)とを備える。
【選択図】図3

Description

この発明は、ダイスのベアリング部を冷却できる押出装置およびこの押出装置による押出材の製造方法に関する。
なお、本明細書および特許請求の範囲の記載において、押出材および押出材料の進む方向を下流または下流側と称し、逆方向を上流または上流側と称する。
押出ダイスにおいては、押出加工時に熱が発生してベアリング部の温度が上昇すると、焼付き等によって押出材の表面品質が低下し、またベアリング部の摩耗が激しくなるため、ダイスの温度を下げるための方策が採られている(特許文献1、2参照)。
特許文献1に記載されているホローダイスは、雄型の内部に非酸化性流体用の流通路を設けるとともに、マンドレルの先端面に前記流通路に連通し、ベアリング部の外側縁(下流側の面)に対向配置された複数個の噴出孔を有するノズルを設け、外部から供給した流体をノズルから噴出させてベアリング部の外側縁に吹き付けるものである。
特許文献2に記載されたホローダイスは、マンドレルの前端面に開口する冷却ガス用導通孔を設け、マンドレルを内部から冷却するようにしたものである。
特開平4−66216号公報(請求項2、第1図) 特許第3645963号公報(請求項2、図1)
しかしながら、ベアリング部の外側縁に流体を吹き付ける方法(特許文献1)は、流体を下流側から吹き付けるので最も冷却されるのは押出材であって、ベアリング部は十分に冷却されない。また、マンドレルを内部から冷却する方法(特許文献2)は、冷却ガスが流通する導通孔の全域を冷却することになるので、ベアリング部を所期する温度に下げようとすれば低温の冷媒や冷媒の流量増大が必要となる。しかしそうすると、ダイス全体が冷却されてしまい、材料がベアリング部の上流側で過度に冷却されて押出が困難になる。
本発明は、上述した技術背景に鑑み、ベアリング部を選択的に冷却できる構造を有する押出装置、この押出装置を用いた押出材の製造方法、およびこの押出装置に用いる押出ダイスの提供を目的とする。
即ち、本発明は下記[1]〜[15]に記載の各構成を有する。
[1]押出材の内面を成形するベアリング部を有し、前記ベアリング部の内側を通り、下流側端面に開口部を有する冷媒用通路を備える押出ダイスと、
前記開口部から冷媒用通路を介して冷媒を吸引する吸引手段と
を備えることを特徴とする押出装置。
[2]前記押出ダイスの冷媒用通路は、ベアリング部の内側における熱交換効率がその上流側部分における熱交換効率よりも高く設定されている前項1に記載の押出装置。
[3]前記冷媒用通路において、ベアリング部の内側に熱交換効率を高めた冷却促進部が設けられている前項2に記載の押出装置。
[4]前記冷却促進部は冷媒用通路の表面積を拡大することにより形成されている前項3に記載の押出装置。
[5]前記冷却促進部は冷媒用通路に凹凸を設けることにより表面積が拡大されている前項4に記載の押出装置。
[6]前記冷却促進部は冷媒用通路の断面積を拡大することにより形成されている前項3〜5のいずれかに記載の押出装置。
[7]前記冷却促進部は、冷媒用通路内にダイス素材よりも熱伝導率の良い材料からなる冷却促進部材を取り付けることにより形成されている前項3〜6のいずれかに記載の押出装置。
[8]前記冷媒用通路において、ベアリング部の上流側に熱交換効率を低下させた冷却抑制部が設けられている前項2〜7のいずれかに記載の押出装置。
[9]前記冷却抑制部は、冷媒用通路内壁面にダイス素材よりも熱伝導率の悪い材料からなる冷却抑制部材を取り付けることにより形成されている前項8に記載の押出装置。
[10]前記押出ダイスの下流側端面の開口部の一部が閉塞されている前項1〜9のいずれかに記載の押出装置。
[11]前記押出ダイスのベアリング部は、中空部の内周面または湾状凹部の輪郭面を成形する前項1〜10のいずれかに記載の押出装置。
[12]前記押出ダイスの下流側に冷媒供給手段を備える前項1〜11のいずれかに記載の押出装置。
[13]前項1〜12のいずれかに記載の押出装置を用い、吸引手段によって押出ダイスの開口部から吸引した冷媒を冷媒用通路に流通させながら金属を押出すことにより、ベアリング部を冷却しながら押出材の内面を成形することを特徴とする押出材の製造方法。
[14]前記押出ダイスの下流側から冷媒を供給する前項13に記載の押出材の製造方法。
[15]押出材の内面を成形するベアリング部を有し、前記ベアリング部の内側を通り、下流側端面に開口部を有する冷媒用通路を備え、前記冷媒用通路の他端に吸引手段との接続部が形成されていることを特徴とする押出ダイス。
上記[1]に記載の発明によれば、吸引手段の稼働により、冷媒が押出ダイスの下流側端面の開口部から冷媒用通路に吸引され、ダイスとの間で熱交換をしながら押出方向の下流側から上流側へと流通する。ダイスの下流側端面に近いベアリング部は低温に冷媒によって良く冷却される一方、上流側部分は冷媒温度が上昇しているのでベアリング部ほどには冷却されない。すなわち、ベアリング部を上流側部分よりも低い温度に冷却できる。そして、ベアリング部の冷却により、焼付きやダイスの摩耗を防止することができる。しかも上流側に進むにつれて冷却されなくなるので、上流側においては冷媒用通路を設けたことによるダイス強度の低下や過剰な冷却を回避できる。
上記[2]に記載の発明によれば、熱交換効率の差によってベアリング部が上流側部分よりも効率良く速やかに熱交換されて冷却される。
上記[3]に記載の発明によれば、ベアリング部の内側に冷却促進部を設けた構造により上流側部分との間に熱交換効率差を生じさせることができる。
上記[4][5][6][7]に記載の各発明によれば、冷却促進部における熱交換効率を効率良く高めることができる。
上記[8]に記載の発明によれば、ベアリング部の上流側に冷却抑制部を設けた構造により上流側部分との間に熱交換効率差を生じさせることができる。
上記[9]に記載の発明によれば、冷却抑制部における熱交換効率を効率良く低下させることができる。
上記[10]に記載の発明によれば、ベアリング部の内側における熱交換効率を高めることができる。
上記[11]に記載の発明によれば、中空部を有する中空材または湾状凹部を有する半中空材の押出において上記効果を奏することができる。
上記[12]に記載の発明によれば、冷媒を積極的に供給することによって冷却効果を高めることができる。
上記[13]に記載の発明によれば、ベアリング部が選択的に冷却されかつ焼付きが防止されるので、品質の良い押出材を製造できる。
上記[14]に記載の発明によれば、冷却効果が高められて特に品質の良い押出材を製造できる。
上記[15]に記載の発明によれば、押出装置に組み込んでベアリング部を上流側部分よりも低い温度に冷却できる。
本発明の押出装置は、押出材の内面を成形する押出ダイス、例えば図1に示す中空材(1)や図2に示す半中空材(3)を押出すダイスを備えている。本発明における押出材の内面とは、押出材において外部に露出していない面であり、前記中空材(1)にあっては、閉じられた中空部(2)を形成する中空材(1)の内周面(2a)であり、前記半中空材(3)にあっては、中空部の一部が開かれた湾状凹部(4)の輪郭面(4a)である。押出ダイスは、前記内周面(2a)や輪郭面(4a)を成形するベアリング部の内側を通る冷媒用通路を備え、冷媒を押出方向の下流側から上流側へ流通させることによってダイスを内部から冷却しうる構造となされている。
以下に、本発明について、前記中空材(1)を押出すためのポートホールダイスと、このポートホールダイスを備える押出装置を例示して図3〜図9Bを参照しつつ詳述する。
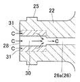
図3に示すポートホールダイス(10)は、中空材(1)の外周面を成形する雌型(11)と内周面(2a)を成形する雄型(20)とが組み合わされてなり、前記雄型(20)が本発明の押出ダイスに対応する。
雌型(11)は、中央部にベアリング孔(12)を有し、ベアリング孔(12)の上流側には溶着室用凹部(13)が形成され、下流側にはリリーフ孔(14)が形成されている。
前記雄型(20)は、ダイス基盤(21)の中央から下流側にマンドレル(22)が突出し、このマンドレル(22)の周囲に押出方向に貫通する複数個のポートホール(23)を有している。隣接するポートホール(23)(23)間には前記マンドレル(22)を基端部で支持する脚部(24)が形成されている。前記マンドレル(22)の先端側の周面には中空材(1)の内周面(2a)を成形するベアリング部(25)が突設されている。
前記雄型(20)は内部に冷媒用通路(26)を有している。前記冷媒用通路(26)は一端がダイス基盤(21)の側面に開口して吸引手段(60)との接続部(27)となされ、脚部(24)を通ってダイスの軸心に達し、軸心で屈曲してマンドレル(22)の中心を通り、他端がマンドレル(22)の先端面に開口して冷媒(C)の吸引口(28)となされている。前記接続部(27)にはネジが切られ、吸引装置(60)に連通接続するためのジョント(61)が取り付けられている。冷媒用通路(26)は、吸引口(28)側のベアリング部(25)内側において通路の直径が拡大され、上流側部分(26a)よりも断面積および表面積が拡大されて本発明における冷却促進部(29)を形成している。
前記雌型(10)と雄型(20)とを組み合わせると、雌型(10)のベアリング孔(12)内に雄型(20)のマンドレル(22)のベアリング部(25)が嵌り込んでこれらの間に環状の成形用間隙(符号なし)が形成され、雌型(10)の溶着室用凹部(13)の一部が雄型(20)のダイス基盤(21)の端面で塞がれてポートホール(23)に連通する溶着室を形成する。そして、各ポートホール(23)に流入した押出材料は溶着室で合流し、成形用間隙から中空材(1)として押出される。
前記吸引装置(60)は、接続部(27)に連通する排出管(62)とポンプ等の吸引手段とを備え、冷媒用通路(26)を介して吸引した冷媒(C)をダイス外に排出するものとなされている。
前記ポートホールダイス(10)を用いて金属を押出す工程において、押出材(1)の先端は開放され、冷媒(C)としての外部の空気が先端開口部から中空部(2)内に自由に流入するものとなされている。この状態で吸引装置(60)を稼働して接続部(27)から冷媒用通路(26)内の流体を排出すると、中空部(2)内の冷媒(C)がマンドレル(22)端面の吸引口(28)から冷媒用通路(26)内に吸引され、押出材(1)の先端開口部、中空部(2)、吸引口(28)、冷媒用通路(26)、接続部(27)、排出管(62)を通る冷媒(C)の流れが生じる。
前記冷媒用通路(26)に吸引された冷媒(C)は、ベアリング部(25)の内側の冷却促進部(29)において雄型(20)との間で熱交換を行ってベアリング部(25)を冷却する。このとき、冷媒(C)が押出材(1)の中空部(2)から中空部(2)よりも断面積の小さい吸引口(28)に流入することで流速が速くなるので、ベアリング部(25)の冷却が促進される。冷却促進部(29)から上流側部分(26a)に進むと断面積はさらに小さくなって冷媒(C)は加速されるが、表面積の減少と冷媒(C)温度の上昇によって熱交換効率が低下するため、マンドレル(22)の根元やダイス基盤(21)はベアリング部(25)ほどには冷却されず、ダイス基盤(21)が過度に冷却されることによる押出不良を回避できる。冷媒(C)は上流側部分(26a)を過ぎた後もダイスとの間で熱交換をしながら進んでいき、接続部(27)を介して排出管(62)から排出される。流通中の冷媒(C)は熱交換により温度が上昇していき、ダイス温度に近づいていく。冷媒用通路(26)内の冷媒(C)温度はベアリング部(25)に近い吸引口(28)において最も低いので、吸引口(28)に近いベアリング部(25)は効率良く冷却される。冷媒を脚部から導入してマンドレルの先端面で排出する従来のダイス(例えば特許文献1、2)、即ち本発明とは逆方向に冷媒を流通させるダイスでは、排出口に近いベアリング部で最も冷媒温度が高くなるので、本発明よりも冷却効率が悪い。
さらに、本発明においては、冷媒(C)とダイスとの温度差は接続部(27)の手前で最も小さくなるため、冷媒用通路(26)が設けられている脚部(24)と設けられていない脚部(24)との間の温度差も小さい。従来のダイスでは、導入口に近い脚部において冷媒温度が最も低くダイスとの温度差が最大となるので、冷媒用通路の有無による脚部の温度差が本発明よりも大きくなる。複数の脚部における温度差は、温度に影響されるダイス強度(高温変形抵抗値)の不均衡による偏肉や材料温度の不均衡の原因となる。従って、複数の脚部(24)における温度差が小さい本発明では、ダイス強度や材料温度の不均衡も小さくなる。
前記冷却促進部(29)はその断面積および表面積が上流側部分(26a)よりも拡大されていることで熱交換効率が高められている。かかる構造の冷媒用通路(26)の下流側から冷媒(C)を導入すると、ベアリング部(25)を効率良く冷却する一方でマンドレル(22)の根元およびダイス基盤(21)の冷却は抑制される。
上記構成により、ベアリング部(25)は上流側のマンドレル(22)の根元やダイス基盤(21)よりも低い温度に冷却されて焼付きや摩耗が防止され、脚部(24)に冷媒用通路(26)を設けたことによる過剰な冷却や脚部温度の不均衡によるダイス強度および材料温度の不均衡が抑制されるので、品質の良い押出材(1)を製造できる。
冷媒用通路内に吸引する冷媒は気体、液体のいずれでも良いが、非酸化性の冷媒を推奨できる。非酸化性冷媒を用いるのは、冷媒が押出材の内部を通ってダイスに導入されるので、押出材の内面を酸化させないためである。気体冷媒として、空気、窒素ガス、アルゴンガスを例示でき、液体冷媒として、水、液体窒素を例示できる。液体冷媒は冷媒用通路内で気化し、気化熱によっても冷却効果が得られる。冷媒としては上に挙げた液体冷媒と気体冷媒の混合物でも良く、液体冷媒と気体冷媒の混合物の場合には冷却効果の調整が容易である。更には液体冷媒と気体冷媒の混合物の中でも気体冷媒中に液体冷媒の粒を浮揚させた混合物、いわゆるミストにしたものを用いても良い。冷媒として該ミストを用いた場合には調整した冷却効果を安定化する効果が得られる。
これらの冷媒は押出ダイスの下流側に供給手段を設けて積極的に供給すれば、冷却効果を高めることができる。具体的には、押出材が図1に例示した中空材(1)の場合は、中空材(1)の先端を開口させ、冷媒供給用ノズルを中空部(2)に向けて配置し、中空部(2)内に吐出した冷媒を吸引口(28)から吸引させる。中空材(1)の進行ともにノズルを移動させるようにすれば、押出ながら冷媒を供給することができる。図2に例示した半中空材(3)の場合は、湾状凹部(4)の湾口が押出方向に沿って開口しているので、冷媒供給用ノズルを押出ダイスの近傍に配置して吸引口(28)の至近位置から冷媒を供給することができ、かつノズルを移動させることなく押出ながら冷媒を供給することができる。
また、冷媒として室温の空気を用い、上流側からの吸引によって外部の空気を中空部(2)や湾状凹部(4)に流入させるようにすれば格別の供給手段が無くても冷媒(空気)を導入することができ、冷媒の貯蔵タンクさえ必要としないので、押出装置を簡略化できる。
いずれの場合も、所期するベアリング部の冷却温度に応じて、冷媒の吸引量を調節して冷媒用通路内の流通量を適宜調節する。冷媒供給手段においても冷媒の温度や流量を調節することでベアリング部の冷却温度を調節することができるので、吸引側と供給側の両方を組み合わせて調節することもできる。
また、冷媒は押出中にのみ冷媒用通路に流通させれば良く、押継ぎ時は停止すれば良い。
熱交換効率を高めた冷却促進部は他の構造によっても実現できる。以下に、他の冷却促進部の構造について説明する。なお、図3と同一の符号は同一物を示すものとして説明を省略する。
図4Aおよび図4Bに示す冷却促進部(30)は、冷媒用通路(26)の直径を上流側部分(26a)よりも拡大するとともに、壁面からマンドレル(22)の軸心に向かって多数のフィンを(31)を突設したものである。冷却促進部(30)に入った冷媒(C)は隣接するフィン(31)間にまで入り込んで熱交換し、多数フィン(31)により表面積が飛躍的に拡大されたことで高い熱交換効率が達成される。なお、図示例では拡径した冷媒用通路(26)にフィン(31)を設けているが、拡径することなくフィンを設けることできる。拡径することなくフィンを設けた場合でも、表面積拡大による熱交換効率の向上分が断面積減少による熱交換効率の低下分を上回れば、上流側部分よりも熱交換効率を高めることができる。
図5Aおよび図5Bの冷却促進部(32)(34)もまた、冷媒用通路(26)の表面積を拡大したものである。図5Aの冷却促進部(32)は、フィン(31)の替わりに断面三角形の凸部(33)を設けたものである。前記冷却促進部(30)よりも表面積の拡大率が小さいので熱交換効率の向上率も小さいが、薄板状のフィン(31)よりも加工が容易である。このように冷媒通路内に凹凸を設ければ表面積を拡大することができる。図5Bの冷却促進部(34)は冷媒用通路内に格子(35)を設けて表面積を拡大したものである。
上述したフィン(31)、凸部(33)および格子(35)は、例えば形彫放電加工によって成形することができる。また、フィン(31)等はマンドレル(22)と一体に成形して良いし、別部材で製作して冷媒用通路(26)内に取り付けても良い。別部材として取り付ける場合は、フィン等のみを別部材として製作して取り付けても良いし、環体の内部に前記フィン等を一体に成形したものを別部材とし、これを冷媒用通路(26)内に嵌め込むこともできる。
図6の冷却促進部(36)は、冷媒用通路(26)の直径をテーパー状に拡大することにより断面積および表面積を拡大したものである。
以上は、冷媒用通路の断面形状の変更によって冷却促進部を形成したものであるが、ダイス素材よりも熱伝導率の良い素材を用いて冷却促進部を形成することもできる。
図7に示す冷却促進部(38)は、図1と同様に冷媒用通路(26)の直径を拡大し、広げたスペースにダイス素材よりも熱伝導率の良い素材からなる筒状の冷却促進部材(39)を密着状態に嵌め込んだものである。通路の断面形状が同一であっても、冷却促進部材(39)を取り付けたことでダイス素材で構成された上流側部分(26a)よりも熱交換効率を高めることができる。
熱交換効率に差を設けるのは、ベアリング部の温度を上流側部分よりも下げることが目的であるから、ベアリング部の内側と上流側部分とで熱交換効率に高低差を設ければ目的は達成される。図8Aおよび図8Bは、冷媒用通路(26)において、内壁面にベアリング部(25)の上流側にダイス素材よりも熱伝導率の低い材料からなる筒状の冷却抑制部材(40)を取付けて上流側部分(26a)の熱交換効率を低下させて冷却抑制部とし、これによりベアリング部(25)の内側における熱交換効率を上流側部分(26a)よりも相対的に高めた構造を示している。なお、前記冷却抑制部材(40)は、図8Aのように冷媒用通路(26)の壁面から突出するように取り付けても良いし、図8Bのように取付け部分の通路径を拡大して冷却抑制部材(40)と壁面が同一高さになるようにしても良い。
押出用ダイスの素材としては、SKD61、SKT4、SKD4、SKD5、SKD7、SKD8、SKD11、SKD12等のダイス鋼が用いられる。これらのダイス鋼のなかで、20℃における熱伝導率は、SKD61が30.6W/(m・K)、SKT4が36W/(m・K)、SKD11が29W/(m・K)であり、他のダイス鋼の熱伝導率も同程度である。上述したように熱伝導率の異なる素材を用いて熱交換効率に高低差を付ける場合、ダイス鋼よりも熱伝導率の良い素材として銅やアルミニウムを例示でき、ダイス鋼よりも熱伝導率の悪い素材としてセラミック材料やステンレス材料を例示できる。これらの材料の20℃における熱伝導率は、銅が401W/(m・K)、アルミニウムが236W/(m・K)ジルコニア系のセラミックが2W/(m・K)、SUS304が16W/(m・K)である。
また、前記冷却促進部の熱交換効率をさらに高くする手段として、冷媒用通路の吸入口の一部を塞ぐ方法がある。図9Aおよび図9Bは、図4Aおよび図4Bのフィン付の冷却促進部(30)の中心部に吸引口(28)側からピン(50)を打ち込んだものである。各フィン(31)の先端で形成される円柱形空間にピン(50)の脚部(51)が挿入されて該円柱形空間を塞ぎ、かつ径大の頭部(52)が吸引口(28)の一部を塞いでいる。吸引口(28)の一部を塞いで押出材(1)の中空部(2)と吸引口(28)の開口面積との差を拡大すると、冷媒(C)の流速が速くなって冷却促進部における熱交換効率を高めることができる。しかも、冷却促進部(30)の断面積や表面積の拡大による熱交換効率向上効果も損なわれないので、両方の熱交換効率向上効果を享受できる。また、吸引口(28)の中心部を塞いで周縁から冷媒(C)を導入すると、冷媒(C)が各フィン(31)の付け根まで均等に行き渡るので効率良く熱交換がなされる。このように、冷却促進部(30)の吸引口(28)の一部を塞ぐことによって冷媒(C)の流れを強制的に変更し、冷媒(C)が円柱形空間を通り抜けること(図4A参照)を妨げることによってフィン(31)による熱交換を活用できる。
上述した熱交換効率に差を設けるための種々の構造は複数種を組み合わせることもできる。例えば、ダイス素材よりも熱伝導率の良い素材で別途フィン等を製作し、または環の内部にフィン等を突設した部材を製作し、これらを拡径した冷媒用通路に取付けた場合は、フィンによる表面積拡大効果と素材の熱伝導率差による効果の両方を得て熱交換効率を高めることができる。また、ベアリング部の内側に冷却促進部を設けるとともに、上流側部分に冷却抑制部を設けて、熱交換効率の高低差を拡大することもできる。ベアリング部の内側と上流側部分との熱交換効率の差は、所期するベアリング部の冷却温度および上流側部分との温度差に応じて適宜設定する。
さらに、ダイスの冷媒用通路の断面形状が、ベアリング部の内側とその上流側部分とで同一である場合も本発明に含まれる。冷媒用通路を流通する冷媒は、上流側に進むに従って冷媒温度が上昇し冷媒とダイスとの温度差が小さくなるので、自ずとベアリング部の内側よりも上流側部分が冷却されにくくなるためである。
図3に参照されるように、冷媒用通路(26)はダイス基盤(21)の側面とマンドレル(22)の下流側端面とに開口部を有し、L字形に曲がって両方の開口部に通じている。このような通路はL字形に切削する必要はなく、ダイス基盤(21)の側面の開口部(接続部)(27)から脚部(24)を通ってマンドレル(2)の中心に向かう第1通路と、マンドレル(22)の中心を押出方向に貫通して吸入口(28)に通じる第2通路とを穿設し、第2通路の上流側開口部を閉塞すればL字形通路となる。閉塞方法は、ボルト止め、棒状閉塞部材の溶接や焼嵌め等により適宜行えば良い。また、接続部(27)に通じる第2通路は必ずしも脚部(24)を貫いて設けることに限定されず、ダイス基盤(21)の上流側端面とダイスの上流側に配置するプレート(図示省略)との合わせ面に臨む位置に形成することもでき、ダイス基盤の側面に開口させることができる。
本欄の冒頭で説明したように、本発明の押出ダイスは中空部の一部が開かれた湾状凹部(4)を有する半中空材(3)を押出すダイスにも適用できる。半中空材の押出には雌型と雄型の組合せダイスまたは平ダイスのいずれかが用いられる。組合せダイスの場合は湾状凹部(4)の輪郭を形成する内面(4a)は雄型によって成形されるので、雄型に上述したポートホールダイス(10)の雄型(20)と同様の構造を採用すれば良い。また平ダイスの場合は、所要ベアリング部の内側に冷媒用通路を設け、要すればさらに上流側部分よりも熱交換効率を高める構造を採用すれば良い。また、中空部および湾状凹部の両方を有する押出材、あるいは複数の中空部または複数の湾状凹部を有する押出材を押出すダイスについては、少なくとも一つの内面を成形するベアリング部について冷媒用通路および吸引手段が設けられていれば、本発明の押出装置に該当する。
また、本発明の押出ダイスを用いて成形する材料は金属である限り何ら限定されず、アルミニウム、銅、鉄およびこれらの合金を例示できる。
本発明は中空材または半中空材の内面を成形する押出装置に適用することができる。
本発明の押出装置によって成形される中空材の断面図である。 本発明の押出装置によって成形される半中空材の断面図である。 本発明の押出装置の一実施形態を示す断面図である。 本発明の押出装置における押出ダイスの他の実施形態の要部を示す断面図である。 図4Aの押出ダイスを下流側から見た側面図である。 図4Aの押出ダイスの変形例を示す側面図である。 図4Aの押出ダイスの他の変形例を示す側面図である。 押出ダイスのさらに他の実施形態の要部を示す断面図である。 押出ダイスのさらに他の実施形態の要部を示す断面図である。 押出ダイスのさらに他の実施形態の要部を示す断面図である。 図8Aの押出ダイスの変形例を示す断面図である。 押出ダイスのさらに他の実施形態を示す断面図である。 図9Aの押出ダイスを下流側から見た側面図である。
符号の説明
1…中空材(押出材)
2…中空部
2a…内周面(内面)
3…半中空材(押出材)
4…湾状凹部
4a…輪郭面(内面)
10…ポートホールダイス
20…雄型(押出ダイス)
21…ダイス基盤
25…ベアリング部
26…冷媒用通路
26a…上流側部分
27…接続部
28…吸引口(開口部)
29,30,32,34,36,38…冷却促進部
39…冷却促進部材
40…冷却抑制部材(冷却抑制部)
60…吸引装置(吸引手段)
C…冷媒

Claims (15)

  1. 押出材の内面を成形するベアリング部を有し、前記ベアリング部の内側を通り、下流側端面に開口部を有する冷媒用通路を備える押出ダイスと、
    前記開口部から冷媒用通路を介して冷媒を吸引する吸引手段と
    を備えることを特徴とする押出装置。
  2. 前記押出ダイスの冷媒用通路は、ベアリング部の内側における熱交換効率がその上流側部分における熱交換効率よりも高く設定されている請求項1に記載の押出装置。
  3. 前記冷媒用通路において、ベアリング部の内側に熱交換効率を高めた冷却促進部が設けられている請求項2に記載の押出装置。
  4. 前記冷却促進部は冷媒用通路の表面積を拡大することにより形成されている請求項3に記載の押出装置。
  5. 前記冷却促進部は冷媒用通路に凹凸を設けることにより表面積が拡大されている請求項4に記載の押出装置。
  6. 前記冷却促進部は冷媒用通路の断面積を拡大することにより形成されている請求項3〜5のいずれかに記載の押出装置。
  7. 前記冷却促進部は、冷媒用通路内にダイス素材よりも熱伝導率の良い材料からなる冷却促進部材を取り付けることにより形成されている請求項3〜6のいずれかに記載の押出装置。
  8. 前記冷媒用通路において、ベアリング部の上流側に熱交換効率を低下させた冷却抑制部が設けられている請求項2〜7のいずれかに記載の押出装置。
  9. 前記冷却抑制部は、冷媒用通路内壁面にダイス素材よりも熱伝導率の悪い材料からなる冷却抑制部材を取り付けることにより形成されている請求項8に記載の押出装置。
  10. 前記押出ダイスの下流側端面の開口部の一部が閉塞されている請求項1〜9のいずれかに記載の押出装置。
  11. 前記押出ダイスのベアリング部は、中空部の内周面または湾状凹部の輪郭面を成形する請求項1〜10のいずれかに記載の押出装置。
  12. 前記押出ダイスの下流側に配置される冷媒供給手段を備える請求項1〜11のいずれかに記載の押出装置。
  13. 請求項1〜12いずれかに記載の押出装置を用い、吸引手段によって押出ダイスの開口部から吸引した冷媒を冷媒用通路に流通させながら金属を押出すことにより、ベアリング部を冷却しながら押出材の内面を成形することを特徴とする押出材の製造方法。
  14. 前記押出ダイスの下流側から冷媒を供給する請求項13に記載の押出材の製造方法。
  15. 押出材の内面を成形するベアリング部を有し、前記ベアリング部の内側を通り、下流側端面に開口部を有する冷媒用通路を備え、前記冷媒用通路の他端に吸引手段との接続部が形成されていることを特徴とする押出ダイス。
JP2008194640A 2008-07-29 2008-07-29 押出装置および押出材の製造方法 Expired - Fee Related JP5180719B2 (ja)

Priority Applications (1)

Application Number Priority Date Filing Date Title
JP2008194640A JP5180719B2 (ja) 2008-07-29 2008-07-29 押出装置および押出材の製造方法

Applications Claiming Priority (1)

Application Number Priority Date Filing Date Title
JP2008194640A JP5180719B2 (ja) 2008-07-29 2008-07-29 押出装置および押出材の製造方法

Publications (2)

Publication Number Publication Date
JP2010029903A true JP2010029903A (ja) 2010-02-12
JP5180719B2 JP5180719B2 (ja) 2013-04-10

Family

ID=41735036

Family Applications (1)

Application Number Title Priority Date Filing Date
JP2008194640A Expired - Fee Related JP5180719B2 (ja) 2008-07-29 2008-07-29 押出装置および押出材の製造方法

Country Status (1)

Country Link
JP (1) JP5180719B2 (ja)

Cited By (1)

* Cited by examiner, † Cited by third party
Publication number Priority date Publication date Assignee Title
CN106216421A (zh) * 2016-08-30 2016-12-14 湖北纳福传动机械股份有限公司 一种齿圈热挤压模具及其装配方法

Citations (4)

* Cited by examiner, † Cited by third party
Publication number Priority date Publication date Assignee Title
JPH01170516A (ja) * 1987-12-24 1989-07-05 Showa Alum Corp 中空形材の押出用ダイス
JPH01241323A (ja) * 1988-03-23 1989-09-26 Furukawa Electric Co Ltd:The 複合線および管の連続押出装置
JPH08206729A (ja) * 1995-01-31 1996-08-13 Showa Alum Corp 押出設備
JPH1076312A (ja) * 1996-09-04 1998-03-24 Yano Eng:Kk 金属製中空材の押出工具

Patent Citations (4)

* Cited by examiner, † Cited by third party
Publication number Priority date Publication date Assignee Title
JPH01170516A (ja) * 1987-12-24 1989-07-05 Showa Alum Corp 中空形材の押出用ダイス
JPH01241323A (ja) * 1988-03-23 1989-09-26 Furukawa Electric Co Ltd:The 複合線および管の連続押出装置
JPH08206729A (ja) * 1995-01-31 1996-08-13 Showa Alum Corp 押出設備
JPH1076312A (ja) * 1996-09-04 1998-03-24 Yano Eng:Kk 金属製中空材の押出工具

Cited By (1)

* Cited by examiner, † Cited by third party
Publication number Priority date Publication date Assignee Title
CN106216421A (zh) * 2016-08-30 2016-12-14 湖北纳福传动机械股份有限公司 一种齿圈热挤压模具及其装配方法

Also Published As

Publication number Publication date
JP5180719B2 (ja) 2013-04-10

Similar Documents

Publication Publication Date Title
US8523527B2 (en) Apparatus for cooling a platform of a turbine component
EP3708272B1 (en) Casting core for a cooling arrangement for a gas turbine component
CN102076443B (zh) 气体压控制式铸造用铸型
CN103244196B (zh) 一种离散气膜冷却孔型
JP2005118816A (ja) プラズマトーチ用のノズル
JP2017106463A (ja) 物品及び物品を冷却する方法
CN104923760B (zh) 一种可降低包模力的铝合金压铸模具
KR101377090B1 (ko) 쌍롤식 주조기와 그 작동장치 및 방법
JP5180719B2 (ja) 押出装置および押出材の製造方法
CN214185179U (zh) 一种用于平引铸造黄铜合金的冷却装置
JP5180756B2 (ja) 中空押出材の製造方法
JP2010017747A (ja) 押出ダイスおよび押出材の製造方法
CN106996319A (zh) 定子热屏蔽件、带有其的燃气涡轮机及冷却其的方法
KR101824500B1 (ko) 다이캐스팅용 칠 벤트
JP2010082684A (ja) 鋳造方法及び鋳造装置
JP2009287511A (ja) タービン用翼
JP3642537B2 (ja) ガスタービン冷却翼
JP2010099727A (ja) 中空押出材の製造方法
JP2006055860A (ja) 絞り・しごき成形におけるパンチ冷却の方法とその構造
KR101083436B1 (ko) 다이캐스팅 금형 플런저용 냉각기
KR20110079075A (ko) 가스터빈 블레이드 및 그의 내부유로 형성방법
JP2004025248A (ja) シリンダブロック鋳造用ボアピン
JPS6281274A (ja) プラズマ・ジエツト・ト−チ
JP2003136193A (ja) シリンダブロック鋳造用ボアピン
RU2353463C2 (ru) Система бесслиткового литья металла

Legal Events

Date Code Title Description
A621 Written request for application examination

Free format text: JAPANESE INTERMEDIATE CODE: A621

Effective date: 20110401

A977 Report on retrieval

Free format text: JAPANESE INTERMEDIATE CODE: A971007

Effective date: 20120510

A131 Notification of reasons for refusal

Free format text: JAPANESE INTERMEDIATE CODE: A131

Effective date: 20120516

A521 Written amendment

Free format text: JAPANESE INTERMEDIATE CODE: A523

Effective date: 20120712

TRDD Decision of grant or rejection written
A01 Written decision to grant a patent or to grant a registration (utility model)

Free format text: JAPANESE INTERMEDIATE CODE: A01

Effective date: 20121218

A61 First payment of annual fees (during grant procedure)

Free format text: JAPANESE INTERMEDIATE CODE: A61

Effective date: 20130111

R150 Certificate of patent or registration of utility model

Ref document number: 5180719

Country of ref document: JP

Free format text: JAPANESE INTERMEDIATE CODE: R150

Free format text: JAPANESE INTERMEDIATE CODE: R150

FPAY Renewal fee payment (event date is renewal date of database)

Free format text: PAYMENT UNTIL: 20160118

Year of fee payment: 3

RD02 Notification of acceptance of power of attorney

Free format text: JAPANESE INTERMEDIATE CODE: R3D02

LAPS Cancellation because of no payment of annual fees