JP2010027498A - 照明器具 - Google Patents

照明器具 Download PDF

Info

Publication number
JP2010027498A
JP2010027498A JP2008189880A JP2008189880A JP2010027498A JP 2010027498 A JP2010027498 A JP 2010027498A JP 2008189880 A JP2008189880 A JP 2008189880A JP 2008189880 A JP2008189880 A JP 2008189880A JP 2010027498 A JP2010027498 A JP 2010027498A
Authority
JP
Japan
Prior art keywords
light source
reflecting mirror
light
opening edge
cone
Prior art date
Legal status (The legal status is an assumption and is not a legal conclusion. Google has not performed a legal analysis and makes no representation as to the accuracy of the status listed.)
Granted
Application number
JP2008189880A
Other languages
English (en)
Other versions
JP5230292B2 (ja
Inventor
Takaaki Kataoka
高明 片岡
Current Assignee (The listed assignees may be inaccurate. Google has not performed a legal analysis and makes no representation or warranty as to the accuracy of the list.)
Panasonic Electric Works Co Ltd
Original Assignee
Panasonic Electric Works Co Ltd
Priority date (The priority date is an assumption and is not a legal conclusion. Google has not performed a legal analysis and makes no representation as to the accuracy of the date listed.)
Filing date
Publication date
Application filed by Panasonic Electric Works Co Ltd filed Critical Panasonic Electric Works Co Ltd
Priority to JP2008189880A priority Critical patent/JP5230292B2/ja
Publication of JP2010027498A publication Critical patent/JP2010027498A/ja
Application granted granted Critical
Publication of JP5230292B2 publication Critical patent/JP5230292B2/ja
Expired - Fee Related legal-status Critical Current
Anticipated expiration legal-status Critical

Links

Images

Landscapes

  • Non-Portable Lighting Devices Or Systems Thereof (AREA)

Abstract

【課題】光源部からの直接光を低く抑えながらも、壁や床に投影される配光の形状を美しくすることができる照明器具を提供する。
【解決手段】反射鏡4をコーン5より奥側に配設すると共に、反射鏡4の開口縁を光源部3の略中心と筐体部の開口縁(コーン5又は本体6の開口縁と同じ)を結ぶ線分よりも光源部3から離れる方向に延出させて光源部3からの直接光の一部が筐体部で遮られることがないようにした。これにより、光源部3からの直接光を低く抑えながらも(即ち眩しさを低く抑えながらも)、壁や床に投影される配光の形状を美しくすることが可能となる。
【選択図】図3

Description

本発明は、複数の光源部と、各光源部ごとに設けられた反射鏡と、複数の光源部及び反射鏡を収容する筐体部とを備えた照明器具に関する。
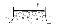
天井面に形成された取付け孔に挿入して取付けられる埋込型の照明器具が広く用いられている(例えば、特許文献1参照)。特に近年では光源部に発光ダイオード素子を用いた製品が多く見られるようになってきている。図8はこの種の照明器具50を示す斜視図であり、図9は図8のC−C線断面図である。図8及び図9に示すように、照明器具50は、基板51に実装された複数の光源部52と、各光源部52ごとに、その光源部52からの光を反射する反射鏡53と、光源部52及び反射鏡53の周囲を覆うコーン54とを有している。光源部52は発光ダイオード素子を有している。反射鏡53は、その面が放物線状に湾曲している。コーン54は、その開口部がテーパ状に広がった円筒形状を成している。なお、コーン54と本体55は筐体部を構成し、コーン54と本体55の開口縁の位置は一致している。
特開2007−265961号公報
しかしながら、上述した従来の照明器具においては、壁や床に投影される光即ち配光の形が美しくないという問題がある。即ち、図9に示すように反射鏡53を出る光のうち、特に強い光である光源部52からの直接光の一部(矢印Yaで示す光)がコーン54にて遮られて図10に示すように一部が矩形となった形状の配光60となってしまう。この問題は、反射鏡53から出てくる光源部52からの直接光の一部がコーン54で遮られることがないように、例えば反射鏡53をその開口部がコーン54の開口部の近傍に位置するように配置することで解決可能である。しかしこのようにすると、光源部52が目立つようになりデザイン上好ましくなく、また光源部52からの直接光が多くなって眩しさが目立つようになる。なお、配光を美しくすることは照明器具にとって重要な点の1つである。
本発明は、係る事情に鑑みてなされたものであり、光源部からの直接光を低く抑えながらも、壁や床に投影される配光の形状を美しくすることができる照明器具を提供することを目的とする。
本発明の照明器具は、それぞれが発光ダイオード素子を有する複数の光源部と、前記複数の光源部のそれぞれに設けられる反射鏡と、前記複数の光源部及び反射鏡を収容する筐体部と、を備えた照明器具であって、前記反射鏡及び筐体部は、それぞれ開口縁を有し、前記筐体部の周縁部の近傍に位置する前記反射鏡は、その開口縁が前記光源部の略中心と前記筐体部の前記開口縁を結ぶ線分よりも前記光源部から離れる方向に延出してなる。
上記構成によれば、光源部からの直接光の一部が筐体部で遮られることがないので、壁や床に投影される配光の形状を美しくすることが可能となる。
また、上記構成において、前記複数の反射鏡が前記筐体部の開口縁より内側に配設された。
上記構成によれば、光源部からの直接光を低く抑えることができる(即ち眩しさを低く抑えることができる)。
また、上記構成において、隣接する前記反射鏡間の部分が前記反射鏡の開口縁方向に対して傾斜を有する。
上記構成によれば、隣接する反射鏡間の部分にも反射鏡からの光を当てることが可能となり、該部分における輝度を上げることができる。
本発明は、光源部からの直接光を低く抑えながらも、壁や床に投影される配光の形状を美しくすることが可能な照明器具を提供できる。
以下、本発明を実施するための好適な実施の形態について、図面を参照して詳細に説明する。
(実施の形態1)
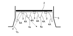
図1は、本発明の実施の形態1に係る照明器具を示す一部断面を含む構造図、図2は本実施の形態の照明器具を示す斜視図、図3は図2のA−A線断面図である。図1〜図3において、本実施の形態の照明器具1は、基板2に実装された複数の光源部3と、各光源部3ごとに、その光源部3からの光を反射する反射鏡4と、光源部3及び反射鏡4の周囲を覆うコーン5と、本体6内で基板2の後方に配設される電源基板7と、本体6の後端に設けられて電源基板7に電源を供給するための端子台8と、本体6を天井面20に形成された取付け孔20aに挿入して取付けるための取付けバネ9とを有している。なお、コーン5と本体6は筐体部を構成する。また、コーン5と本体6の開口縁の位置は一致している。
光源部3は発光ダイオード素子を有している。コーン5はその開口部がテーパ状に広がった円筒形状を成している。反射鏡4は、その面が放物線状に湾曲している。複数の反射鏡4のうち、筐体部の周縁部の近傍に位置する反射鏡4は、その開口縁が光源部3の略中心と筐体部の開口縁(コーン5又は本体6の開口縁と同じ)を結ぶ線分よりも光源部3から離れる方向に延出した形状となっている。反射鏡4の開口縁を延出させる形状とすることで、反射鏡4を出る光のうち、特に強い光である光源部3からの直接光の一部(矢印Ybで示す光)が筐体部で遮られるのを回避できる。
図5の(a)に示すように、反射鏡4の開口縁からコーン5の開口縁までの距離a(即ち、コーン5の深さ)は反射鏡4の深さxに比例するが、反射鏡4の深さxを長くすると、反射鏡4内での反射が多くなって反射鏡4から出る光の量が減少する。そこで、図5の(b)に示すように、反射鏡4のコーン5で遮られる部分のみ反射鏡4の深さxを長くとることで(x1<x2)、反射鏡4から出る光の量の減少を最小限に抑えることが可能となる。この場合、反射鏡4の筐体部で遮られる部分のみ反射鏡4の深さxを調整することで、反射鏡4の開口縁からコーン5の開口縁までの距離aを長くとることが可能である(a1<a2)。なお、反射鏡4の開口縁を延出させることによる副次的な効果として、図5の(b)の矢印Ycで示す方向へ光を出射することができ、広い配光とすることが可能となる。
このように、反射鏡4の筐体部で遮られる部分のみ反射鏡4の深さを長くとることにより、図10に示したような一部が矩形となった形状の配光60になることがなく、図4に示すような円形に近い角を持たない滑らかな形状の配光61となる。しかも、反射鏡4をコーン5より奥側に配設するので、デザイン上の悪化が無く、また光源部3からの直接光が少なくなることから眩しさが抑えられる。即ち、光源部3からの直接光を低く抑えながらも、壁や床に投影される配光の形状を美しくすることが可能となる。
以上のように本実施の形態の照明器具1によれば、反射鏡4をコーン5より奥側に配設すると共に、反射鏡4の開口縁を光源部3の略中心と筐体部の開口縁(コーン5又は本体6の開口縁と同じ)を結ぶ線分よりも光源部3から離れる方向に延出させて光源部3からの直接光の一部が筐体部で遮られることがないようにしたので、光源部3からの直接光を低く抑えながらも(即ち眩しさを低く抑えながらも)、壁や床に投影される配光の形状を美しくすることが可能となる。
(実施の形態2)
図6は、本発明の実施の形態2に係る照明器具を示す斜視図、図7は図6のB−B線断面図である。図6及び図7において、上述した図1〜図3と共通する部分には同一の符号を付けてその説明を省略する。本実施の形態の照明器具10は、隣接する反射鏡間の部分に傾斜を付けたものである。この場合、傾斜を付けた部分4aの角度は、反射鏡4Aの開口方向に対して垂直以外であればどのような角度であってもよい。前述した実施の形態1における反射鏡4は、隣接する反射鏡間の部分が平坦になっているため、殆ど光が当たらずその部分の輝度が得られないが、本実施の形態における反射鏡4Aは、隣接する反射鏡間の部分4aに傾斜が付けられているので、該部分4aにも反射鏡4Aからの光を当てることが可能となり、該部分4aにおける輝度を上げることができる。
本発明は、光源部からの直接光を低く抑えながらも、壁や床に投影される配光の形状を美しくすることができるといった効果を有し、天井面に形成された取付け孔に挿入して取付けられる埋込型の照明器具などへの適用が可能である。
本発明の実施の形態1に係る照明器具を示す一部断面を含む構造図 図1の照明器具を示す斜視図 図2のA−A線断面図 図1の照明器具による配光を示す図 図1の照明器具の特徴を説明するための図 本発明の実施の形態2に係る照明器具を示す斜視図 図6のB−B線断面図 従来の照明器具を示す斜視図 図8のC−C線断面図 図8の照明器具による配光を示す図
符号の説明
1、10 照明器具
2 基板
3 光源部
4、4A 反射鏡
4a 隣接する反射鏡間の部分
5 コーン
6 本体
7 電源基板
8 端子台
9 取付けバネ
20 天井面
20a 取付け孔
61 配光

Claims (3)

  1. それぞれが発光ダイオード素子を有する複数の光源部と、
    前記複数の光源部のそれぞれに設けられる反射鏡と、
    前記複数の光源部及び反射鏡を収容する筐体部と、
    を備えた照明器具であって、
    前記反射鏡及び筐体部は、それぞれ開口縁を有し、
    前記筐体部の周縁部の近傍に位置する前記反射鏡は、その開口縁が前記光源部の略中心と前記筐体部の前記開口縁を結ぶ線分よりも前記光源部から離れる方向に延出してなる照明器具。
  2. 前記複数の反射鏡が前記筐体部の開口縁より内側に配設された請求項1に記載の照明器具。
  3. 隣接する前記反射鏡間の部分が前記反射鏡の開口縁方向に対して傾斜を有する請求項1又は請求項2に記載の照明器具。
JP2008189880A 2008-07-23 2008-07-23 照明器具 Expired - Fee Related JP5230292B2 (ja)

Priority Applications (1)

Application Number Priority Date Filing Date Title
JP2008189880A JP5230292B2 (ja) 2008-07-23 2008-07-23 照明器具

Applications Claiming Priority (1)

Application Number Priority Date Filing Date Title
JP2008189880A JP5230292B2 (ja) 2008-07-23 2008-07-23 照明器具

Publications (2)

Publication Number Publication Date
JP2010027498A true JP2010027498A (ja) 2010-02-04
JP5230292B2 JP5230292B2 (ja) 2013-07-10

Family

ID=41733119

Family Applications (1)

Application Number Title Priority Date Filing Date
JP2008189880A Expired - Fee Related JP5230292B2 (ja) 2008-07-23 2008-07-23 照明器具

Country Status (1)

Country Link
JP (1) JP5230292B2 (ja)

Cited By (3)

* Cited by examiner, † Cited by third party
Publication number Priority date Publication date Assignee Title
JP2011171236A (ja) * 2010-02-22 2011-09-01 Panasonic Electric Works Co Ltd 照明器具
JP2011228231A (ja) * 2010-04-23 2011-11-10 Panasonic Electric Works Co Ltd 照明器具
JP2012182024A (ja) * 2011-03-01 2012-09-20 Mitsubishi Electric Corp 照明器具

Citations (2)

* Cited by examiner, † Cited by third party
Publication number Priority date Publication date Assignee Title
JP2003291872A (ja) * 2002-04-08 2003-10-15 Cateye Co Ltd 自転車用ヘッドランプ
JP2008047541A (ja) * 2007-09-25 2008-02-28 Mirai Kankyo Kaihatsu Kenkyusho Kk 照明装置

Patent Citations (2)

* Cited by examiner, † Cited by third party
Publication number Priority date Publication date Assignee Title
JP2003291872A (ja) * 2002-04-08 2003-10-15 Cateye Co Ltd 自転車用ヘッドランプ
JP2008047541A (ja) * 2007-09-25 2008-02-28 Mirai Kankyo Kaihatsu Kenkyusho Kk 照明装置

Cited By (3)

* Cited by examiner, † Cited by third party
Publication number Priority date Publication date Assignee Title
JP2011171236A (ja) * 2010-02-22 2011-09-01 Panasonic Electric Works Co Ltd 照明器具
JP2011228231A (ja) * 2010-04-23 2011-11-10 Panasonic Electric Works Co Ltd 照明器具
JP2012182024A (ja) * 2011-03-01 2012-09-20 Mitsubishi Electric Corp 照明器具

Also Published As

Publication number Publication date
JP5230292B2 (ja) 2013-07-10

Similar Documents

Publication Publication Date Title
JP5077274B2 (ja) 車両用ヘッドランプ
JP2001060405A (ja) Led光源を用いた車両用灯具
CN105874271B (zh) 声学照明瓦片
TW201015018A (en) Illuminant device and light reflecting shade thereof
JP2016149332A (ja) 照明装置
JP5230292B2 (ja) 照明器具
JP2007059075A (ja) 車両用灯具
CN101718415A (zh) 照明装置及其光反射罩
JP2014222605A (ja) 照明器具
JP2005078938A (ja) 車両用灯具
JP2011249219A (ja) 照明器具
JP2010251206A (ja) ダウンライト
US7384167B1 (en) Optimal wall washing kick reflector
JP2007250231A (ja) 照明器具
JP2010092611A (ja) 反射笠、及びこの反射笠を用いた照明装置
EP2309175A1 (en) Asymmetrical reflector element for reflecting light emitted by one LED unit, reflector comprising at least one reflector element, and lighting unit
KR100980248B1 (ko) 터널등용 반사판
JP2002270009A (ja) Ledを光源とする車両用灯具
JP2009283198A (ja) 埋込型照明器具
US7347587B2 (en) Apparatus for reducing socket shadow
JPWO2009107193A1 (ja) 照明方法
JP5618323B2 (ja) 照明器具及び照明システム
JP5547003B2 (ja) 投光器
JP2019016499A (ja) 拡張反射面を備えたレンズ
CN209944024U (zh) 一种发光组件及其带反光罩的线形灯具

Legal Events

Date Code Title Description
A621 Written request for application examination

Free format text: JAPANESE INTERMEDIATE CODE: A621

Effective date: 20110622

A711 Notification of change in applicant

Free format text: JAPANESE INTERMEDIATE CODE: A712

Effective date: 20120111

A131 Notification of reasons for refusal

Free format text: JAPANESE INTERMEDIATE CODE: A131

Effective date: 20120814

A521 Request for written amendment filed

Free format text: JAPANESE INTERMEDIATE CODE: A523

Effective date: 20120904

TRDD Decision of grant or rejection written
A01 Written decision to grant a patent or to grant a registration (utility model)

Free format text: JAPANESE INTERMEDIATE CODE: A01

Effective date: 20130219

A61 First payment of annual fees (during grant procedure)

Free format text: JAPANESE INTERMEDIATE CODE: A61

Effective date: 20130319

FPAY Renewal fee payment (event date is renewal date of database)

Free format text: PAYMENT UNTIL: 20160329

Year of fee payment: 3

R150 Certificate of patent or registration of utility model

Ref document number: 5230292

Country of ref document: JP

Free format text: JAPANESE INTERMEDIATE CODE: R150

Free format text: JAPANESE INTERMEDIATE CODE: R150

LAPS Cancellation because of no payment of annual fees