JP2010027239A - コネクタ装置およびスタック装置 - Google Patents

コネクタ装置およびスタック装置 Download PDF

Info

Publication number
JP2010027239A
JP2010027239A JP2008183984A JP2008183984A JP2010027239A JP 2010027239 A JP2010027239 A JP 2010027239A JP 2008183984 A JP2008183984 A JP 2008183984A JP 2008183984 A JP2008183984 A JP 2008183984A JP 2010027239 A JP2010027239 A JP 2010027239A
Authority
JP
Japan
Prior art keywords
housing
current collecting
spring
collecting member
connector device
Prior art date
Legal status (The legal status is an assumption and is not a legal conclusion. Google has not performed a legal analysis and makes no representation as to the accuracy of the status listed.)
Granted
Application number
JP2008183984A
Other languages
English (en)
Other versions
JP5248226B2 (ja
Inventor
Katsuhiro Kajio
克宏 梶尾
Current Assignee (The listed assignees may be inaccurate. Google has not performed a legal analysis and makes no representation or warranty as to the accuracy of the list.)
Toyota Motor Corp
Aisin Corp
Original Assignee
Aisin Seiki Co Ltd
Toyota Motor Corp
Priority date (The priority date is an assumption and is not a legal conclusion. Google has not performed a legal analysis and makes no representation as to the accuracy of the date listed.)
Filing date
Publication date
Application filed by Aisin Seiki Co Ltd, Toyota Motor Corp filed Critical Aisin Seiki Co Ltd
Priority to JP2008183984A priority Critical patent/JP5248226B2/ja
Publication of JP2010027239A publication Critical patent/JP2010027239A/ja
Application granted granted Critical
Publication of JP5248226B2 publication Critical patent/JP5248226B2/ja
Expired - Fee Related legal-status Critical Current
Anticipated expiration legal-status Critical

Links

Images

Classifications

    • YGENERAL TAGGING OF NEW TECHNOLOGICAL DEVELOPMENTS; GENERAL TAGGING OF CROSS-SECTIONAL TECHNOLOGIES SPANNING OVER SEVERAL SECTIONS OF THE IPC; TECHNICAL SUBJECTS COVERED BY FORMER USPC CROSS-REFERENCE ART COLLECTIONS [XRACs] AND DIGESTS
    • Y02TECHNOLOGIES OR APPLICATIONS FOR MITIGATION OR ADAPTATION AGAINST CLIMATE CHANGE
    • Y02EREDUCTION OF GREENHOUSE GAS [GHG] EMISSIONS, RELATED TO ENERGY GENERATION, TRANSMISSION OR DISTRIBUTION
    • Y02E60/00Enabling technologies; Technologies with a potential or indirect contribution to GHG emissions mitigation
    • Y02E60/30Hydrogen technology
    • Y02E60/50Fuel cells

Landscapes

  • Fuel Cell (AREA)
  • Connector Housings Or Holding Contact Members (AREA)

Abstract

【課題】集電部材とバネ状接触部との電気的な接触性が長期にわたり良好に維持されるコネクタ装置およびスタック装置を提供することを課題とする。
【解決手段】コネクタ装置1は、電気絶縁性を有する材料で形成され配線7が取り付けられるハウジング2と、ハウジング2に保持された導電材料で形成され且つ配線7に電気的に接続された導電端子6とを有する。各導電端子6は、集電部材80に電気的に接触するためのバネ状接触部61を備えている。ハウジング2は、各バネ状接触部61と集電部材80との間に設けられバネ状接触部61の潰れを抑制する潰れ抑制突起部42をもつ。
【選択図】図1

Description

本発明は燃料電池等に取り付けられるコネクタ装置およびスタック装置に関する。
燃料電池のスタックに使用されるセル電圧検出装置を例にとって説明する。従来、燃料電池のスタックのセル電圧検出装置が知られている(特許文献1)。この装置によれば、燃料電池の単セルを構成するセパレータの上縁には、溝底面を斜面とした溝が形成されている。そして、断面で円形状をなす導電端子が、セパレータ(集電部材)の溝内に挿入されて溝の溝底面に当接されている。このものによれば、導電端子は、セパレータの溝底面に電気的に接触するように当接されている。
特開2003−123816号公報
しかしながら上記した技術によれば、セパレータの厚みは寸法公差内で変動するが、セパレータの厚みの変動に対処することができない。
本発明は上記した実情に鑑みてなされたものであり、集電部材と導電端子との電気的な接触性が長期にわたり良好に維持されるコネクタ装置およびスタック装置を提供することを課題とする。
(1)様相1に係るコネクタ装置は、電気絶縁性を有する材料で形成され配線が取り付けられるハウジングと、ハウジングに保持された導電材料で形成され且つ配線に電気的に接続された導電端子とを具備しており、導電端子は、相手側の集電部材に電気的に接触するためのバネ状接触部を備えており、ハウジングは、各バネ状接触部と集電部材との間に設けられバネ状接触部の潰れを抑制する潰れ抑制突起部をもつ。
コネクタ装置のハウジングは潰れ抑制突起部をもつ。潰れ抑制突起部は、各バネ状接触部と集電部材との間に設けられており、バネ状接触部の過剰な潰れを抑制することができる。このため集電部材とバネ状接触部との電気的な接触性が長期にわたり良好に維持される。潰れ抑制突起部の構造および形状は特に限定されない。
(2)様相2に係るコネクタ装置は、電気絶縁性を有する材料で形成され配線が取り付けられるハウジングと、ハウジングに保持された導電材料で形成され且つ配線に電気的に接続された導電端子とを具備しており、導電端子は、相手側の集電部材に電気的に接触するためのバネ状接触部を備えており、ハウジングは、集電部材に形成される差込空間に差込可能であり且つバネ状接触部を対面させた状態で支持する支持面をもつ電気絶縁材料で形成された足状をなす差込突起部を有する。
ハウジングは、集電部材に形成される差込空間に差込可能な足状をなす差込突起部を有する。差込突起部は、導電端子のバネ状接触部を対面させた状態で支持する支持面をもち、電気絶縁材料で形成されており、電気絶縁作用を有する。このように電気絶縁性を有する差込突起部がスタックの差込空間に差し込まれて配置される。このため、隣設する集電部材同士が直接短絡することが抑制される。従って、集電部材とバネ状接触部との電気的な接触性が長期にわたり良好に維持される。差込突起部の構造および形状は特に限定されない。
(3)様相3に係るスタック装置は、複数の集電部材を並設した構造をもつスタックと、スタックに取り付けられ集電部材に電気的に接触するためのコネクタ装置とを具備するスタック装置において、コネクタ装置は、上記した様相に係るコネクタ装置である。
(4)各様相において、ハウジングは、電気絶縁性を有する材料(例えば硬質樹脂等の樹脂)で形成されている。導電端子は、ハウジングに保持された導電材料(例えば銅、アルミニウム、鉄、銅合金、アルミニウム合金、鉄合金)で形成されている。銅合金はりん青銅を含む。導電端子は、集電部材に電気的に接触するためのバネ状接触部を備えている。バネ状接触部とは、集電部材にバネ力で電気的に接触するため導電部をもつものをいう。バネ状接触部の形状および構造は特に限定されず、V形状、U形状、W形状、N形状、M形状、S形状、Z形状のうちの少なくとも一つを利用した形状でも良い。
本発明のコネクタ装置は次の好適態様を採用できる。
・好ましくは、ハウジングは、集電部材に形成される差込空間に差込可能である足状をなす差込突起部を有する。差込突起部は、電気絶縁材料で形成されており、バネ状接触部を対面させた状態で支持する支持面をもつ。集電部材は、コネクタ装置の導電端子の相手となる集電性をもつ部位であり、燃料電池などの電池を構成するセパレータまたは活物質配流板が挙げられる。この場合、差込突起部は、集電部材に形成される差込空間に差し込まれる。差込突起部は、バネ状接触部を対面させて支持させる。差込突起部は電気絶縁材料で形成されているため、バネ状接触部による導電回路の短絡は抑えられる。
・好ましくは、差込突起部はハウジングに対して相対変位可能とされている。差込突起部がハウジングに複数個並設されているとき、差込突起部の並設方向において、差込突起部は集電部材に対して相対変位することが好ましい。集電部材がこれの厚み方向に積層されているときには、当該積層方向において、各差込突起部は相対変位することが好ましい。
・好ましくは、ハウジングは、バネ状接触部と係合可能であり係合によりハウジングに対するバネ状接触部の浮きを抑制する複数の浮き抑制突起部をもつ。この場合、導電端子がハウジングに取り付けられているとき、ハウジングに対するバネ状接触部の浮きが浮き抑制突起部により抑制され、バネ状接触部の保持性が高まる。
・好ましくは、バネ状接触部と集電部材とがそれぞれ電気的に接触するとき、ハウジングは、集電部材の形成されている凹または凸状の相手係合部に係合することにより導電端子のバネ状接触部の抜け止めを図る抜け止め係合部を有する。この場合、導電端子のバネ状接触部の抜け止めが図られる。
・好ましくは、ハウジングの差込突起部は、集電部材に対する差込突起部の変位性を高めるくぼみ部を有する。この場合、差込突起部の可撓性および変位性が高まる。
・好ましくは、ハウジングは、ハウジングを集電部材から取り外すためにハウジングを摘むための取り外し用の摘み突起を有する。この場合、摘み突起によりハウジングを集電部材から取り外し易くなる。
・好ましくは、配線は、導線と導線を覆うと共に導線の先端部を表出させた外層部をもつ。好ましくは、ハウジングは、配線の導線を挿入させて保持する導線保持孔を有する。この場合、配線の導線はハウジングの導線保持孔に挿入されて良好に保持される。
・好ましくは、導電端子は、配線の外層部にかしめられるかしめ部と、バネ状接触部および配線の導線に電気的に接触しつつ導線の外周部を覆うと共に導線保持孔に挿入される挿入被覆部を有する。好ましくは、ハウジングは、導線を覆う被覆部に係合して挿入被覆部を導線保持孔内に固定するための係合力を発揮させる係合爪を有する。この場合、挿入被覆部はハウジングの係合爪に係合するため、ハウジングの導線保持孔内に良好に固定される。
・好ましくは、差込突起部は、ハウジングにおいて一方向に並設されて複数個設けられている。好ましくは、導線保持孔は、ハウジングにおいて前記一方向に並設されて複数個設けられている。この場合、各差込突起部は導電端子をそれぞ搭載しており、各導線保持孔は各導線を搭載している。配線が複数本存在する場合に対処し易い。
・好ましくは、ハウジングのうち差込突起部のつけ根部分を強化させる補強部がハウジングに設けられている。差込突起部のつけ根部分を強化させることができる。
本発明に係るコネクタ装置は、電気部品に対する電圧検出用、放電用、充電用として使用することができる。電気部品としては燃料電池、電池(例えばリチウム電池、ニッケル水素電池、鉛蓄電池等)が例示される。本発明に係るコネクタ装置は、集電部材が厚み方向に積層されている形態に適用できる。
本発明によれば、バネ状接触部はバネ性を有するため、集電部材とバネ状接触部との電気的な接触性が長期にわたり良好に維持される。
様相1に係るコネクタ装置によれば、潰れ抑制突起部は、各バネ状接触部と集電部材との間に設けられており、バネ状接触部の過剰な潰れを抑制することができる。このため集電部材とバネ状接触部との電気的な接触性が長期にわたり良好に維持される。
様相2に係るコネクタ装置によれば、電気絶縁性を有する差込突起部がスタックの差込空間に配置されるため、隣設する集電部材同士が直接短絡することが抑制される。
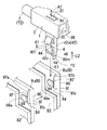
以下、本発明の実施形態1について図面を参照しつつ説明する。本実施形態に係るコネクタ装置1は、燃料電池のスタック8を構成する集電部材80に取り付けられるものであり、セルの電圧を検出するセル電圧検出装置である。図1は、コネクタ装置1をスタック8の上面8u側に取り付けた状態を示す。図2は、コネクタ装置1をスタック8に取り付ける前の状態を示す。矢印YU方向は重力方向の上方向を示す。矢印YD方向は重力方向の下方向を示す。
図1に示すように、スタック8は、コネクタ装置1の相手となる集電部材80を有する。集電部材80は、セパレータとも呼ばれる第1集電部材81と、セパレータとも呼ばれる第2集電部材82とを積層させて組み付けることにより形成されている。第1集電部材81および第2集電部材82は、炭素または合金鋼(ステンレス鋼)等の導電材料で形成されている。第1集電部材81と第2集電部材82との間には、発電作用を発揮する膜電極接合体9(MEA)が介在している。隣設する二つの第1集電部材81の間には、差込空間84が形成されている。差込空間84は、スタック8の上面8u側に位置して複数個並設されている。MEA9は、イオン伝導膜90(例えば、炭化フッ素系または炭化水素系等の固体高分子型、あるいは、ガラス質等の無機系膜)を燃料極91および酸化剤極92を厚み方向に挟んで形成されている。燃料極91および酸化剤極92は、ガス透過性を有するように多孔質であり、発電反応を促進させる触媒金属および微小導電物質(例えばカーボンブラック)を有する。
第1集電部材81は、MEA9の酸化剤極92に対面すると共に酸化剤極92に酸化剤ガスを供給する溝状をなす酸化剤通路85と、冷媒(冷却水)が流れる溝状をなす冷媒通路95fとを有する。第2集電部材82は、MEA9の燃料極91に対面すると共に燃料極91に燃料を供給する溝状をなす燃料通路86と、冷媒(冷却水等の冷却液)が流れる溝状をなす冷媒通路95sとを有する。第1集電部材81の冷媒通路95fおよび第2集電部材82の冷媒通路95s同士は、互いに対面して冷媒通路95を形成する。冷媒通路95は、冷却液等の冷媒が流れる通路である。1個のMEA9を第1集電部材81および第2集電部材82で挟むことにより、1単位のセル97が形成されている。なお、燃料はガス状でも、液状でも良く、水素ガス、水素含有ガス、メタノールが例示される。酸化剤ガスは空気等の酸素ガス、酸素ガスでも良い。
図1に示すように、コネクタ装置1は、スタック8を構成する集電部材80に着脱可能に取り付けられるハウジング2と、ハウジング2に搭載された導電材料(例えばりん青銅等の銅合金にメッキ膜が積層されている)で形成された導電端子6とを有する。メッキ膜はニッケル、スズ、金メッキなどが挙げられる。
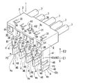
ハウジング2は、電気絶縁性を有する材料(例えば硬質樹脂等の樹脂)で形成されており、複数個(5個)の導線保持孔30を並設するボックス部3と、ボックス部3のうちスタック8に対面する側の面に電気絶縁材料で一体成形された複数個(5個)並設された足状の差込突起部4とを有する。ボックス部3は上面3uと側面3sと下面3dとを有する。差込突起部4および導線保持孔30は、一方向に並設されている。一方向は、スタック8を構成する第1集電部材81および第2集電部材82の積層方向(矢印P1方向,スタック8の積層方向)に相当する。電気絶縁材料は樹脂が好ましい。樹脂は難燃性を有する樹脂が好ましい。樹脂としては、例えばポリブチレンテレフタレート(PBT)、ポリアミド(PA)、ポリアセタール(POM)、ボリカーボネイト(PC)、ポリフェニレンサルファイド(PPS)のうちの少なくとも1つで形成できる。導線保持孔30は、ほぼ断面四角形状をなしており、配線7の導線70を挿入できる。
図3は、配線7と、配線7に結合させる前の初期の導電端子6とを示す。配線7は、銅合金等の導電材料で形成された導線70と、導線70の先端部を表出させた電気絶縁材料(樹脂)で形成された外層72とをもつ。初期の導電端子6はリン青銅等の金属を母材とする導電材料で形成されており、板状をなす本体部60と、本体部60の先端60mから曲成されたバネ状接触部61とを有する他に、配線7をかしめつけるための爪状をなす第1かしめ部62および第2かしめ部63と、第1かしめ部62および第2かしめ部63と本体部60との間に設けられた挿入被覆部64と、ハンドリング部65とを有する。なお、ハンドリング部65は、初期の導電端子6を製造する過程におけるハンドリング性を考慮したものである。
図3に示すように、導電材料で形成されている挿入被覆部64は、断面でコの字形状をなしており、第1壁部641と、第1壁部641に対面する第2壁部642と、第1壁部641と第2壁部642との間に設けられた第3壁部643と、切欠644とを有する。図4は、配線7の導線70と導電端子6とを電気的に接続した状態を示す。第2かしめ部63を曲成して配線7の外層72にかしめる。第1かしめ部62を曲成して配線7の導線70にかしめる。これにより導電端子6の挿入被覆部64が配線7の導線70を覆いつつ、配線7の導線70と導電端子6とは互いに電気的に繋がれている。この場合、配線7の導線70と導電端子6の本体部60およびバネ状接触部61とは、電気的に接続されている。第2かしめ部63および第1かしめ部62の双方を曲成して配線7の外層72にかしめると共に、配線7の導線70を挿入被覆部64に電気的に接触させても良い。なお、適宜の製造段階においてハンドリング部65は導電端子6から除去される。
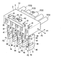
図5は、配線7をハウジング2に取り付ける直前の形態を示す。図6は、配線7をハウジング2に取り付けているときの形態を示し、図5および図7は反対方向から視認して示す。図7は、導電端子6を組み付けた配線7をハウジング2に取り付けた後の形態を示す。図6に示すように、ハウジング2のボックス部3のうち、差込突起部4と反対側に位置する上面3u(表面)には、矢印A1,A2方向に弾性変形可能な係合爪31が溝34により揺動可能に形成されている。係合爪31は、互いに背向する係合案内面32および係合面33を有する。配線7の導線70に取り付けられている導電端子6の挿入被覆部64を、矢印X1方向(挿入方向)に相対移動させることにより、ハウジング2のボックス部3の導線保持孔30にそれぞれ挿入させる。この場合、1個の挿入被覆部64を1個の導線保持孔30に挿入させる。このときハウジング2の係合爪31の案内面32が挿入被覆部64により矢印A1方向に沿って開き、その後、自身のバネ力により矢印A2方向に沿って自動的に復帰する。このため、配線7の導線70に連結されている導電端子6の挿入被覆部64の切欠644は、ハウジング2の係合爪31に着脱可能に係合される。この結果、挿入被覆部64は、導線70と共にハウジング2の導線保持孔30にそれぞれ挿入されて固定される。配線7の導線70に一体的に取り付けられている導電端子6も、ハウジング2の差込突起部4の支持面40に対面した状態で、差込突起部4の広い平坦な支持面40に保持される(図8参照)。
この結果、図8に示すように、ハウジング2の差込突起部4には、導電材料で形成された複数個の導電端子6がそれぞれ取り付けられている。差込突起部4の支持面40に支持されている各導電端子6は、差込突起部4に搭載された本体部60と、本体部60の先端部60mから曲成されたバネ状接触部61とをもつ。バネ状接触部61は、集電部材80にバネ弾性で電気的に接触可能となるようにV形状をなす導電接触部61cをもつ。
図2は、ハウジング2の差込突起部4に各導電端子6が配線7と共に取り付けられている状態を示す。図2に示すように、導電端子6の本体部60は、差込突起部4の支持面40に対面して支持されている。ここで図6に示すように、ハウジング2の差込突起部4は、潰れ抑制突起部42をもつ。潰れ抑制突起部42は、差込突起部4の長辺部の外縁部に沿って形成された長辺突起部42aと、差込突起部4の短辺部の外縁部に沿って形成された短辺突起部42cとを備えている。図8に示すように、潰れ抑制突起部42は、差込突起部4の支持面40から導電端子6の本体部60を載せる方向に対して突出しており、バネ状接触部61の過剰な潰れを抑制する。なお、差込突起部4の支持面40から潰れ抑制突起部42が突出する突出量は、H1として示される。
この結果、図8から理解できるように、差込突起部4の支持面40に支持されている導電端子6のバネ状接触部61の潰れ変形は、H1の突出量を有する潰れ抑制突起部42の突出壁面42tにより制約されている。故に、バネ状接触部61が過剰に潰れることが抑制されている。このため、導電端子6のバネ状接触部61のバネ弾性(バネ定数)が長期にわたり良好に維持される。故に、スタック8の第1集電部材81と導電端子6のバネ状接触部61との電気的な接触性が長期にわたり良好に維持される。
図6に示すように、ハウジング2の差込突起部4は浮き抑制突起部44をもつ。浮き抑制突起部44は、ハウジング2の差込突起部4の潰れ抑制突起部42のうちの長辺突起部42aに一体成形で爪状をなすように形成されている。浮き抑制突起部44は、ハウジング2を構成する差込突起部4に形成されている潰れ抑制突起部42のうちの長辺突起部42aから、導電端子6のバネ状接触部61に向けて矢印W1方向に突出されている。浮き抑制突起部44は、ハウジング2の差込突起部4の支持面40に支持されている導電端子6のバネ状接触部61に係合可能である。この係合により、ハウジング2に対してバネ状接触部61が矢印B1方向(図8参照)に浮くことが抑制される。この結果、ハウジング2の差込突起部4の支持面40に対する導電端子6のバネ状接触部61の浮きが抑制される。従って、ハウジング2の差込突起部4の支持面40に対する導電端子6のバネ状接触部61の支持性が一層高まる。
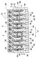
前述したように、図2は、コネクタ装置1をスタック8の集電部材80に取り付ける前の状態を示す。互いに隣設する第1集電部材81同士により、差込空間84が形成されている。差込空間84は、スタック8の積層方向(矢印P1方向)に複数個並設されている。コネクタ装置1をスタック8に取り付けるにあたり、コネクタ装置1のハウジング2の複数個の差込突起部4を、矢印E1方向(差込方向,下方向)に向けて、スタック8に対して相対移動させて差込空間84に差し込む。この場合、1個の差込突起部4は1個の差込空間84に差し込まれる。この結果、図1に示すように、コネクタ装置1は、スタック8を構成する第1集電部材81および第2集電部材82に取り付けられる。
すなわち、図1に示すように、コネクタ装置1がスタック8の上面8u側に取り付けられる。この状態では、図1に示すように、ハウジング2の差込突起部4に取り付けられている導電端子6のバネ状接触部61の導電接触部61cは、バネ状接触部61のバネ弾性により、第1集電部材81の表面に密接する。これによりスタック8の第1集電部材81とコネクタ装置1の導電端子6のバネ状接触部61との電気的接触性が良好に確保されている。この場合、ハウジング2の差込突起部4に支持されている導電端子6のバネ状接触部61は、潰れ抑制突起部42の突出壁面42tよりも過剰に潰れることが抑制されている。このため、導電端子6のバネ状接触部61のバネ弾性が長期にわたり良好に維持される。故に、スタック8の第1集電部材81と導電端子6のバネ状接触部61との電気的な接触性が長期にわたり良好に維持される。
ところで、第1集電部材81および第2集電部材82は工業製品である。このため寸法公差等の影響で、スタック8の積層方向(矢印P1方向)において複数個の差込空間84のピッチPAが多少変位するおそれがある。このような場合であっても、ハウジング2から差込突起部4は、脚状に延設されており、差込突起部4はスタック8の積層方向(図2に示す矢印P2方向)において可撓性を有しており、図2に示す矢印P2方向(スタック8の積層方向)においてスタック8に対して変位可能である。このため、ハウジング2の各差込突起部4は、差込空間84のピッチPAの変動に良好に対処できる。更に、差込突起部4の根元部にはこれの肉厚を薄くする窪み49が形成されている。このため差込突起部4の先端部4e(下端部)は、矢印P2方向において更なる可撓性および変位性を発揮でき、差込空間84のピッチPAの変動に一層対処できる。
更に本実施形態によれば、図1および図2に示すように、差込突起部4の先端部4eには、案内作用を発揮できる先端案内面46が形成されている。このため、ハウジング2の差込突起部4をスタック8の集電部材80の差込空間84に差し込むとき、ハウジング2の複数個の差込突起部4を差込空間84のそれぞれに挿入する挿入操作が簡便化される。
図9は、ハウジング2の差込突起部4をスタック8の集電部材80の差込空間84に差し込む状態を示す。図9に示すように、第1集電部材81のうち差込空間84に対面する位置には、傾斜面状またはアール状をなす案内壁面87aを有する案内突起87が突設されている。案内突起87は縦方向に沿って延設されている。案内突起87は、スタック8の第1集電部材81の側面81s側に形成されており、スタック8の上面8u側の差込空間84に対面する。
上記したようにハウジング2の複数個の差込突起部4をスタック8の複数個の差込空間84にそれぞれ挿入する挿入操作を実施するとき、差込突起部4を案内突起87の案内壁面87aに案内しつつ、特に、差込突起部4の長辺突起部42aを案内突起87の案内壁面87aに案内しつつ、スタック8の差込空間84に差し込む。この場合、図10から理解できるように、コネクタ装置1のハウジング2の差込突起部4は、特に、差込突起部4の長辺突起部42aは、案内突起87により案内され、位置決めされる。このため、ハウジング2の差込突起部4が矢印E3方向(第1集電部材81の表面に沿った面方向)において抜け出ることは、抑制されている。従って、スタック8側の案内突起87は矢印E3方向におけるストッパとして機能する。この意味においてもコネクタ装置1がスタック8の差込空間84から抜け出ることが抑制されている。
更に本実施形態によれば、図1および図2に示すように、ハウジング2の差込突起部4には、抜け止め係合部48が凹状に形成されている。抜け止め係合部48は、差込突起部4において導電端子6の本体部60に対して反対側に位置している。すなわち、抜け止め係合部48は、差込突起部4の支持面40と反対側の表面41に形成されている。これに対して、第1集電部材81には凸状の相手係合部88が、スタック8の差込空間84に対面するように、且つ、抜け止め係合部48と対面し得るように、形成されている。この結果、ハウジング2の差込突起部4をスタック8の差込空間84に挿入させるとき、ハウジング2の差込突起部4の凹状の抜け止め係合部48は、第1集電部材81の凸状の相手係合部88に自動的に係合する。これによりハウジング2の差込突起部4を矢印E2方向(離脱方向)に沿ってスタック8から抜こうとしても、ハウジング2の差込突起部4がスタック8の第1集電部材81から抜けることが抑制される。ひいては、コネクタ装置1がスタック8から簡単に抜けてしまうことが抑制される。この結果、ハウジング2の差込突起部4に支持されているバネ状接触部61の抜け止めが図られる。
ここで、図2に示すように、凸状の相手係合部88は、案内作用を有する係合案内面88aを有する。このため、ハウジング2の差込突起部4の先端案内面46が係合案内面88aに当接すれば、差込突起部4を徐々に撓ませることが可能となる。更に、コネクタ装置1のハウジング2の差込突起部4を差込空間84から矢印E2方向(離脱方向)に沿って離脱させるときであっても、コネクタ装置1のハウジング2の差込突起部4をゆっくりと矢印E2方向に沿って離脱操作させれば、差込突起部4の抜け止め係合部48が係合案内面88aに当接する。この結果、差込突起部4を矢印P2方向に徐々に撓ませることが可能となり、差込突起部4を差込空間84から容易に離脱させることができる。この場合、コネクタ装置1およびスタック8のメンテナンス性を更に高めることができる。
更に図7に示すように、ハウジング2のボックス部3を作業者の指先またはロボットハンドでハウジング2のボックス部3を摘むための摘み突起39が、ハウジング2のボックス部3に突設されている。この結果、ハウジング2をスタック8の第1集電部材81の差込空間84に矢印E1方向(差込方向)に沿って差し込むとき、あるいは、ハウジング2をスタック8の第1集電部材81から矢印E2方向(離脱方向)に沿って取り外すとき、摘み突起39により、ハウジング2のボックス部3をスタック8の差込空間84から取り外し易くなる利点が得られる。
ところで、セル97の電位を測定するに際しては、一般的には、セル97を構成する酸化剤極92(+極)と燃料極91(−極)との間の電位が電圧計により測定される。ここで本実施形態によれば、図1に示すように、スタック8では、複数のセル97のMEA9は電気的に直列に接続されている。ここで、MEA9の酸化剤極92(+極)に対面する第1集電部材81と燃料極91(−極)に対面する第2集電部材82とは、冷媒通路95を形成しつつ互いに背中合わせで電気的に接触している。互いに背中合わせで接触している第1集電部材81および第2集電部材82は、実質的には同電位となる。図1に示すように、コネクタ装置1に搭載されている複数の導電端子6のうち一の導電端子6Aは、第1集電部材81に電気的に接触している。コネクタ装置1に搭載されている複数の導電端子6のうち他の導電端子6Bは、第1集電部材81に電気的に接触している。本実施形態によれば、コネクタ装置1の導電端子6Aと導電端子6Bとが電圧計に繋がれ、コネクタ装置1の導電端子6Aと導電端子6Bとの間における電位が電圧計で測定される。測定にあたり、図1から理解できるように、電気絶縁性をもつ樹脂で形成された差込突起部4が、互いに隣設する第1集電部材81同士の間の差込空間84に挿入されている。このため、スタック8において互いに隣設する第1集電部材81の直接的な短絡が、電気絶縁性を有する樹脂製の差込突起部4により抑えられる。
図7に示すように、複数個の差込突起部4は、ボックス部3から下方向に沿って延設されている。差込突起部4は、導電端子6の本体部60およびバネ状接触部61を保持すると共に、差込空間84に差し込まれる重要な役割を果たす。従って、ボックス部3のうち差込突起部4を延設させる部分を補強することが好ましい。このため、ハウジング2のボックス部3を補強することができる補強部38がボックス部3の各導線保持孔30に形成されている。このためハウジング2のボックス部3のうち差込突起部4のつけ根部分が強化されている。
(実施形態2)
図11は実施形態2を示す。本実施形態は前記した実施形態1と基本的には同様の構成および同様の作用効果を有する。コネクタ装置1Bにおいて、導電端子6は、本体部60と、本体部60から延設されたバネ状接触部61Bとを有する。バネ状接触部61Bは、断面(矢印P1方向に沿った断面)でドーム形状をなす。バネ状接触部61の凸円弧形状をなす導電接触部61cは、自身のバネ弾性力により、スタック8の第1集電部材81に電気的に当接する。
(実施形態3)
図12は実施形態3を示す。本実施形態は前記した実施形態1と基本的には同様の構成および同様の作用効果を有する。コネクタ装置1Cは、スタック8を構成する集電部材80に着脱可能に取り付けられるハウジング2と、ハウジング2に搭載された導電材料で形成された導電端子6とを有する。ハウジング2は、電気絶縁性を有する材料(硬質樹脂等の樹脂)で形成されており、複数個(10個)の導線保持孔30を並設するボックス部3と、ボックス部3のうちスタック8に対面する側の面に電気絶縁材料で一体成形された複数個(10個)並設された足状の差込突起部4とを有する。差込突起部4および導線保持孔30は、一方向に並設されている。一方向は、スタック8を構成する第1集電部材81および第2集電部材82の積層方向(矢印P1方向)に相当する。樹脂はPBT等が挙げられる。
(実施形態4)
図13は実施形態4を示す。本実施形態は前記した実施形態1と基本的には同様の構成および同様の作用効果を有する。コネクタ装置1Dにおいては、ハウジング2に形成されている複数の摘み突起39Dは互いに対向しつつ、ハウジング2のボックス部3において差込突起部4から遠ざかる方向に向けて突出している。このためコネクタ装置1Dをスタック8から取り外し易い。差込突起部4の根元に形成されている窪み49(可撓性促進部)は、差込突起部4の並設方向(矢印P1方向)に対して直交する方向(矢印P2方向)において形成されている。従って、差込突起部4は、差込突起部4の並設方向(矢印P1方向)に対して可撓性を有すると共に、差込突起部4の並設方向(矢印P1方向)に対して直交する方向(矢印P2方向)において可撓性を有する。従って、コネクタ装置1のハウジング2の差込突起部4をスタック8の差込空間84に挿入させる自由度を高めることができる。
(実施形態5)
図14は実施形態5を示す。本実施形態は前記した実施形態1と基本的には同様の構成および同様の作用効果を有する。コネクタ装置1Eは、スタック8に着脱可能に取り付けられるハウジング2と、ハウジング2に搭載された導電材料で形成された導電端子6とを有する。ハウジング2は、電気絶縁性を有する材料(硬質樹脂等の樹脂)で形成されており、複数個の導線保持孔30を並設するボックス部3と、ボックス部3のうちスタック8に対面する側の面に電気絶縁材料で一体成形された複数個並設された足状の差込突起部4とを有する。ハウジング2は挿入孔25を有する。挿入孔25は、第1挿入孔25fと第2挿入孔25sとを有する。コネクタ装置1の差込突起部4は、ハウジング2に対して別体で形成されており、ハウジング2の第1挿入孔25fから第2挿入孔25sに圧入される挿入頭部401と、挿入頭部401の最大肉厚よりも厚みが小さな首部402とを有する。差込突起部4の首部402がハウジング2の第1挿入孔25fに挿入され、挿入頭部401がハウジング2の第2挿入孔25sに圧入される。これにより差込突起部4はハウジング2に接続される。
図14に示すように、第1挿入孔25fの空間幅D1は、首部402の最大厚みF1よりも大きくされている。第2挿入孔25sの空間幅D2は、挿入頭部401の最大厚みF2よりも大きくされている。このため、首部402および挿入頭部401は、挿入孔25に挿入されている状態で、スタック8の積層方向(矢印P1方向)に変位することができ、ひいては差込突起部4はスタック8の積層方向(矢印P1方向)に変位することができる。
前述したように第1集電部材81および第2集電部材82は工業製品であるため、寸法公差等の影響で、スタック8の積層方向(矢印P1方向)において差込空間84のピッチPAが多少変位するおそれがある。このような場合であっても、首部402および挿入頭部401は、挿入孔25に挿入されている状態で、スタック8の積層方向(矢印P1方向)に変位することができ、ひいては差込突起部4はスタック8の積層方向(矢印P1方向)に変位することができ、スタック8の複数個の差込空間84のピッチPAの変位に容易に対処することができる。差込突起部4は電気絶縁性を有する樹脂で形勢されているため、隣設する導電端子6同士の直接短絡が抑えられる。
(その他)
本発明は上記した実施形態のみに限定されるものではなく、要旨を逸脱しない範囲内で適宜変更して実施できる。上記した実施形態によれば、図1に示すようにコネクタ装置1をスタック8の上面8u側に取り付ける。ただしこれに限らず、コネクタ装置1をスタック8の横側面側に取り付けることにしてもよいし、あるいは、コネクタ装置1をスタック8の下面側に取り付けることにしてもよい。上記した実施形態によれば、コネクタ装置1のハウジング2の差込突起部4の数は5個とされているが、これに限定されず、1個でも、2個でも、3個でも、4個でも、6個でも良く、それ以上でもよく、必要に応じて設定される。上記した実施形態によれば、図1に示すように、ハウジング2の差込突起部4をスタック8の差込空間84に挿入させるとき、ハウジング2の差込突起部4の凹状の抜け止め係合部48は、第1集電部材81の凸状の相手係合部88に係合することにより、ハウジング2の差込突起部4をスタック8から抜こうとしても、ハウジング2の差込突起部4がスタック8の第1集電部材81から抜けることが抑制される。これに限らず、差込突起部4に形成されている凸状の抜け止め係合部48を、第1集電部材81の凹状の相手係合部88に係合させることにしても良い。更に上記したコネクタ装置1は燃料電池に適用されているが、これに限定されず、リチウム電池、ニッケル水素電池、マンガン電池、鉛電池、太陽電池等にも適用できる。本明細書から次の技術的思想も把握される。
[付記項1]
電気絶縁性を有する材料で形成され配線が取り付けられるハウジングと、ハウジングに保持された導電材料で形成され且つ配線に電気的に接続された導電端子とを具備しているコネクタ装置。コネクタ装置は相手に取り付けられる。
[付記項2]
付記項1において、導電端子は、集電部材に電気的に接触するためのバネ状接触部を備えているコネクタ装置。
[付記項3]
付記項1または2において、ハウジングは、各バネ状接触部と集電部材との間に設けられバネ状接触部の潰れを抑制する潰れ抑制突起部をもつコネクタ装置。この場合、バネ状接触部の過剰の潰れが抑制される。
[付記項4]
付記項1〜3のうちの一項において、ハウジングは、集電部材に形成される差込空間に差込可能であり且つバネ状接触部を対面させた状態で支持する電気絶縁材料で形成された足状をなす差込突起部を有するコネクタ装置。差込突起部は差込空間に差し込まれる。
[付記項5]
付記項1〜4のうちの一項において、差込突起部はハウジングに対して相対変位可能とされているコネクタ装置。差込突起部の変位性が高められている。
[付記項6]
付記項5において、差込突起部は挿入頭部を有しており、ハウジングは挿入頭部を受け入れ可能な挿入孔を有しており、差込突起部の挿入頭部はハウジング2の挿入孔内において相対変位可能とされているコネクタ装置。ハウジングに対する差込突起部の変位性が高められている。複数個の差込突起部が一方向においてハウジングに並設されていても良い。
[付記項7]
付記項1〜6のうちの一項において、ハウジングは、バネ状接触部と係合可能であり係合によりハウジングに対するバネ状接触部の浮きを抑制する複数の浮き抑制突起部をもつコネクタ装置。ハウジングに対するバネ状接触部の浮きが抑制されている。
[付記項8]
付記項1〜7のうちの一項において、ハウジングは、バネ状接触部と集電部材とがそれぞれ電気的に接触するとき、集電部材の形成されている凹または凸状の相手係合部に係合することにより、集電部材からハウジングの抜け止めを図る抜け止め係合部を有するコネクタ装置。集電部材からのハウジング2の抜けが抑制される。
[付記項9]
付記項1〜8のうちの一項において、ハウジングの差込突起部は、集電部材に対する差込突起部の変位性を高めるくぼみ部を有するコネクタ装置。差込突起部の変位性が高められている。
[付記項10]
付記項1〜9のうちの一項において、ハウジングは、ハウジングを集電部材から取り外すためにハウジングを摘むための取り外し用の摘み突起を有するコネクタ装置1。ハウジングの取り外しが簡便となる。
[付記項11]
付記項1〜10のうちの一項において、導線と導線を覆うと共に導線の先端部を表出させた外層とをもつ配線が設けられており、ハウジングは、配線の導線を挿入させて保持する導線保持孔を有するコネクタ装置。導線がハウジングで保持される。
[付記項12]
付記項1〜11のうちの一項において、導電端子は、配線の外層にかしめられるかしめ部と、バネ状接触部および配線の導線に電気的に接触しつつ導線の外周部を覆うと共に導線保持孔に挿入される挿入被覆部を有しており、ハウジングは、導線を覆う挿入被覆部に係合して挿入被覆部をハウジングの導線保持孔内に固定するための係合力を発揮させる係合爪を有するコネクタ装置。導線がハウジングで保持される。
[付記項13]
請求項1〜12のうちの一項において、差込突起部は、一方向に並設されて複数個設けられており、導線保持孔は、前記一方向に並設されて複数個設けられており、各差込突起部は導電端子をそれぞれ搭載しており、各導線保持孔は各導線を搭載しているコネクタ装置。導線がハウジングで保持される。
[付記項14]
セルを有するスタックと、前記スタックに取り付けられ前記セル97の電位を測定するコネクタ装置とを具備するスタック装置において、前記コネクタ装置は、上記した付記項のうちの一項に係るコネクタ装置であるスタック装置。
本発明は例えば定置用、車両用、電子機器用、電気機器用、携帯用、可搬用の燃料電池に適用できる。更に燃料電池に限定されず、他の電池に利用することもできる。
コネクタ装置をスタックに取り付けた後の状態を示す断面図である。 コネクタ装置をスタックに取り付ける前の状態を示す断面図である。 初期の導電端子を示す斜視図である。 導電端子と配線とを接続した状態を示す斜視図である。 コネクタ装置のハウジングを示す斜視図である。 導電端子を保持した複数の配線をコネクタ装置に取り付ける状態を示す斜視図である。 導電端子を保持した複数の配線を取り付けたコネクタ装置を示す斜視図である。 導電端子を保持した複数の配線を取り付けたコネクタ装置を示す正面図である。 導電端子を保持した配線を取り付けたコネクタ装置をスタックの第1集電部材の差込空間に取り付ける状態を示す斜視図である。 導電端子を保持した配線を取り付けたコネクタ装置をスタックの第1集電部材の差込空間に取り付けた状態を示す図である。 実施形態2に係り、コネクタ装置をスタックに取り付けた後の状態を示す断面図である。 実施形態3に係り、コネクタ装置をスタックに取り付けた後の状態を示す断面図である。 実施形態4に係り、導電端子を保持した複数の配線を取り付けたコネクタ装置を示す斜視図である。 実施形態5に係り、コネクタ装置をスタックに取り付ける前の状態を示す断面図である。
符号の説明
1はコネクタ装置、2はハウジング、3はボックス部、30は導線保持孔、31は係合爪、38は補強部、39は摘み突起、4は差込突起部、40は支持面、42は潰れ抑制突起部、44は浮き抑制突起部、46は先端案内面、48は抜け止め係合部、49は窪み、6は導電端子、60は本体部、61はバネ状接触部、61cは導電接触部、62は第1かしめ部、63は第2かしめ部、64は挿入被覆部、644は切欠、7は配線、70は導線、72は外層、8はスタック、80は集電部材、81は第1集電部材、82は第2集電部材、84は差込空間、87は案内突起、87aは案内壁面、88は相手係合部、88aは係合案内面、9はMEA、90はイオン伝導膜、91は燃料極、92は酸化剤極を示す。

Claims (12)

  1. 電気絶縁性を有する材料で形成され配線が取り付けられるハウジングと、前記ハウジングに保持された導電材料で形成され且つ前記配線に電気的に接続された導電端子とを具備しており、
    前記導電端子は、相手側の集電部材に電気的に接触するためのバネ状接触部を備えており、前記ハウジングは、前記バネ状接触部と前記集電部材との間に設けられ前記バネ状接触部の潰れを抑制する潰れ抑制突起部をもつコネクタ装置。
  2. 請求項1において、前記ハウジングは、前記集電部材に形成される差込空間に差込可能であり且つ前記バネ状接触部を対面させた状態で支持する支持面をもつ電気絶縁材料で形成された足状をなす差込突起部を有するコネクタ装置。
  3. 請求項2において、前記差込突起部は前記ハウジングに対して相対変位可能とされているコネクタ装置。
  4. 請求項2または3において、前記ハウジングの前記差込突起部は、前記集電部材に対する前記差込突起部の変位性を高めるくぼみ部を有するコネクタ装置。
  5. 請求項2〜4のうちの一項において、前記ハウジングのうち前記差込突起部のつけ根部分を強化させる補強部が前記ハウジングに設けられているコネクタ装置。
  6. 請求項1〜5のうちの一項において、前記ハウジングは、前記バネ状接触部と係合可能であり係合により前記ハウジングに対する前記バネ状接触部の浮きを抑制する複数の浮き抑制突起部をもつコネクタ装置。
  7. 請求項1〜6のうちの一項において、前記ハウジングは、前記バネ状接触部と前記集電部材とがそれぞれ電気的に接触するとき、前記集電部材に形成されている凹または凸状の相手係合部に係合することにより、前記集電部材からの前記ハウジングの抜け止めを図る抜け止め係合部を有するコネクタ装置。
  8. 請求項1〜7のうちの一項において、前記ハウジングは、前記ハウジングを前記集電部材から取り外すために前記ハウジングを摘むための取り外し用の摘み突起を有するコネクタ装置。
  9. 請求項1〜8のうちの一項において、前記配線は、導線と前記導線を覆うと共に前記導線の先端部を表出させた電気絶縁材料で形成された外層部とを有しており、
    前記ハウジングは、前記配線の前記導線を挿入させて保持する導線保持孔を有するコネクタ装置。
  10. 請求項9において、前記導電端子は、前記配線の前記外層部にかしめられるかしめ部と、前記バネ状接触部および前記配線の前記導線に電気的に接触しつつ前記導線の外周部を覆うと共に前記ハウジングの前記導線保持孔に挿入される挿入被覆部とを有しており、
    前記ハウジングは、前記導線を覆う前記挿入被覆部に係合して前記挿入被覆部を前記ハウジングの前記導線保持孔内に固定するための係合力を発揮させる係合爪を有するコネクタ装置。
  11. 電気絶縁性を有する材料で形成され配線が取り付けられるハウジングと、前記ハウジングに保持された導電材料で形成され且つ前記配線に電気的に接続された導電端子とを具備しており、
    前記導電端子は、相手側の集電部材に電気的に接触するためのバネ状接触部を備えており、前記ハウジングは、前記集電部材に形成される差込空間に差込可能であり且つ前記バネ状接触部を対面させた状態で支持する支持面をもつ電気絶縁材料で形成された足状をなす差込突起部を有するコネクタ装置。
  12. 複数の集電部材を並設した構造をもつスタックと、前記スタックに取り付けられ前記集電部材に電気的に接触するためのコネクタ装置とを具備するスタック装置において、前記コネクタ装置は、請求項1〜11のうちの一項に係るコネクタ装置であるスタック装置。
JP2008183984A 2008-07-15 2008-07-15 コネクタ装置およびスタック装置 Expired - Fee Related JP5248226B2 (ja)

Priority Applications (1)

Application Number Priority Date Filing Date Title
JP2008183984A JP5248226B2 (ja) 2008-07-15 2008-07-15 コネクタ装置およびスタック装置

Applications Claiming Priority (1)

Application Number Priority Date Filing Date Title
JP2008183984A JP5248226B2 (ja) 2008-07-15 2008-07-15 コネクタ装置およびスタック装置

Publications (2)

Publication Number Publication Date
JP2010027239A true JP2010027239A (ja) 2010-02-04
JP5248226B2 JP5248226B2 (ja) 2013-07-31

Family

ID=41732893

Family Applications (1)

Application Number Title Priority Date Filing Date
JP2008183984A Expired - Fee Related JP5248226B2 (ja) 2008-07-15 2008-07-15 コネクタ装置およびスタック装置

Country Status (1)

Country Link
JP (1) JP5248226B2 (ja)

Cited By (6)

* Cited by examiner, † Cited by third party
Publication number Priority date Publication date Assignee Title
JP2013051036A (ja) * 2011-08-30 2013-03-14 Daihatsu Motor Co Ltd 燃料電池およびその製造方法
JP2013120655A (ja) * 2011-12-06 2013-06-17 Toyota Motor Corp コネクタ取付構造
EP3174151A1 (fr) * 2015-11-27 2017-05-31 Commissariat à l'Énergie Atomique et aux Énergies Alternatives Connecteur electrique et reacteur electrochimique muni d'un tel connecteur electrique
JP2019021522A (ja) * 2017-07-19 2019-02-07 トヨタ自動車株式会社 セルモニタコネクタ
JP2019029165A (ja) * 2017-07-28 2019-02-21 トヨタ自動車株式会社 セルモニタコネクタの組付方法
JP2019075340A (ja) * 2017-10-19 2019-05-16 トヨタ自動車株式会社 セルモニタコネクタの取付方法、燃料電池モジュール

Citations (4)

* Cited by examiner, † Cited by third party
Publication number Priority date Publication date Assignee Title
JP2003077571A (ja) * 2001-09-03 2003-03-14 Japan Storage Battery Co Ltd 充電台
JP2003123816A (ja) * 2001-10-16 2003-04-25 Honda Motor Co Ltd 燃料電池のセル電圧検出装置
JP2004087163A (ja) * 2002-08-23 2004-03-18 Toyota Motor Corp セル電圧モニターの燃料電池への取付け構造
JP2005093395A (ja) * 2003-09-19 2005-04-07 Honda Motor Co Ltd セル電圧測定装置側の端子と燃料電池側の端子間接続構造

Patent Citations (4)

* Cited by examiner, † Cited by third party
Publication number Priority date Publication date Assignee Title
JP2003077571A (ja) * 2001-09-03 2003-03-14 Japan Storage Battery Co Ltd 充電台
JP2003123816A (ja) * 2001-10-16 2003-04-25 Honda Motor Co Ltd 燃料電池のセル電圧検出装置
JP2004087163A (ja) * 2002-08-23 2004-03-18 Toyota Motor Corp セル電圧モニターの燃料電池への取付け構造
JP2005093395A (ja) * 2003-09-19 2005-04-07 Honda Motor Co Ltd セル電圧測定装置側の端子と燃料電池側の端子間接続構造

Cited By (8)

* Cited by examiner, † Cited by third party
Publication number Priority date Publication date Assignee Title
JP2013051036A (ja) * 2011-08-30 2013-03-14 Daihatsu Motor Co Ltd 燃料電池およびその製造方法
JP2013120655A (ja) * 2011-12-06 2013-06-17 Toyota Motor Corp コネクタ取付構造
EP3174151A1 (fr) * 2015-11-27 2017-05-31 Commissariat à l'Énergie Atomique et aux Énergies Alternatives Connecteur electrique et reacteur electrochimique muni d'un tel connecteur electrique
FR3044473A1 (fr) * 2015-11-27 2017-06-02 Commissariat Energie Atomique Connecteur electrique et reacteur electrochimique muni d’un tel connecteur electrique
JP2017143056A (ja) * 2015-11-27 2017-08-17 コミサリア ア レネルジ アトミク エ オウ エネルジ アルタナティヴ 電気コネクタ及び該電気コネクタを備える電気化学的リアクタ
JP2019021522A (ja) * 2017-07-19 2019-02-07 トヨタ自動車株式会社 セルモニタコネクタ
JP2019029165A (ja) * 2017-07-28 2019-02-21 トヨタ自動車株式会社 セルモニタコネクタの組付方法
JP2019075340A (ja) * 2017-10-19 2019-05-16 トヨタ自動車株式会社 セルモニタコネクタの取付方法、燃料電池モジュール

Also Published As

Publication number Publication date
JP5248226B2 (ja) 2013-07-31

Similar Documents

Publication Publication Date Title
JP4911978B2 (ja) 燃料電池及び燃料電池用コネクタ
EP1979968B1 (en) Voltage detection connector for a fuel cell and a fuel cell adapted for same
JP5248226B2 (ja) コネクタ装置およびスタック装置
CN100486014C (zh) 燃料电池和燃料电池连接器
EP2624376B1 (en) Cell voltage detecting connector
CN2562408Y (zh) 电池连接器
US11031608B2 (en) Connecting element for electrically contact-connecting separator plates of a fuel cell stack
EP2270898B1 (en) Battery
KR101173386B1 (ko) 연료전지의 스택 전압 검출 장치
JP2013171617A (ja) 電池用配線モジュール
US9263815B2 (en) Rechargeable battery socket and manufacturing method thereof
JP5481421B2 (ja) 燃料電池モジュール
JP7425013B2 (ja) 電池スタック用プレート
JP5267686B2 (ja) 燃料電池の電圧検出用コネクタ
JP7612274B2 (ja) デバイスとの接触不良を防止することができる部材を含むバッテリーパック
CN215732089U (zh) 一种锂电池连接装置及锂电池套装
JP2010123487A (ja) 電気コネクタ
JP2024047874A (ja) コネクタ
CN121359294A (zh) 电池电芯组件、电池组和包括该电池组的交通装置
CN2651983Y (zh) 电连接器
CN120657344A (zh) 蓄电装置及蓄电装置的制造方法
CN2651982Y (zh) 电连接器
JP2009163892A (ja) 燃料カートリッジ、燃料電池および電子機器
TW201042799A (en) Battery connector, battery receiving structure and battery

Legal Events

Date Code Title Description
A621 Written request for application examination

Free format text: JAPANESE INTERMEDIATE CODE: A621

Effective date: 20110520

A977 Report on retrieval

Free format text: JAPANESE INTERMEDIATE CODE: A971007

Effective date: 20121001

A131 Notification of reasons for refusal

Free format text: JAPANESE INTERMEDIATE CODE: A131

Effective date: 20121025

A521 Written amendment

Free format text: JAPANESE INTERMEDIATE CODE: A523

Effective date: 20121210

TRDD Decision of grant or rejection written
A01 Written decision to grant a patent or to grant a registration (utility model)

Free format text: JAPANESE INTERMEDIATE CODE: A01

Effective date: 20130326

A61 First payment of annual fees (during grant procedure)

Free format text: JAPANESE INTERMEDIATE CODE: A61

Effective date: 20130410

R150 Certificate of patent or registration of utility model

Free format text: JAPANESE INTERMEDIATE CODE: R150

FPAY Renewal fee payment (event date is renewal date of database)

Free format text: PAYMENT UNTIL: 20160419

Year of fee payment: 3

LAPS Cancellation because of no payment of annual fees