JP2010026528A - 表示装置およびその駆動方法 - Google Patents

表示装置およびその駆動方法 Download PDF

Info

Publication number
JP2010026528A
JP2010026528A JP2009246031A JP2009246031A JP2010026528A JP 2010026528 A JP2010026528 A JP 2010026528A JP 2009246031 A JP2009246031 A JP 2009246031A JP 2009246031 A JP2009246031 A JP 2009246031A JP 2010026528 A JP2010026528 A JP 2010026528A
Authority
JP
Japan
Prior art keywords
signal
data
clock signal
driver
display device
Prior art date
Legal status (The legal status is an assumption and is not a legal conclusion. Google has not performed a legal analysis and makes no representation as to the accuracy of the status listed.)
Granted
Application number
JP2009246031A
Other languages
English (en)
Other versions
JP5260470B2 (ja
Inventor
Naoki Takada
直樹 高田
Hiroyuki Nitta
博幸 新田
Nobuyuki Koganezawa
信之 小金沢
Kikuo Ono
記久雄 小野
Takashi Shoji
孝志 庄司
Current Assignee (The listed assignees may be inaccurate. Google has not performed a legal analysis and makes no representation or warranty as to the accuracy of the list.)
Hitachi Ltd
Japan Display Inc
Original Assignee
Hitachi Ltd
Hitachi Displays Ltd
Priority date (The priority date is an assumption and is not a legal conclusion. Google has not performed a legal analysis and makes no representation as to the accuracy of the date listed.)
Filing date
Publication date
Application filed by Hitachi Ltd, Hitachi Displays Ltd filed Critical Hitachi Ltd
Priority to JP2009246031A priority Critical patent/JP5260470B2/ja
Publication of JP2010026528A publication Critical patent/JP2010026528A/ja
Application granted granted Critical
Publication of JP5260470B2 publication Critical patent/JP5260470B2/ja
Anticipated expiration legal-status Critical
Expired - Lifetime legal-status Critical Current

Links

Images

Landscapes

  • Liquid Crystal (AREA)
  • Liquid Crystal Display Device Control (AREA)
  • Transforming Electric Information Into Light Information (AREA)
  • Control Of Indicators Other Than Cathode Ray Tubes (AREA)

Abstract

【課題】
本発明の目的は、表示装置の階調電圧の不足及び動画ぼやけを抑制することである。
【解決手段】
本発明は、走査ドライバ104が、4行分の画素をまとめて選択した後に他の4行分の画素について1行単位でかつダブルゲート駆動で順次選択し、データドライバ103が、黒データに応じた階調電圧を4行分の画素へまとめて供給した後に表示データに応じた階調電圧を他の4行分の画素へ順次供給する。
【選択図】 図3

Description

本発明は、ホールド型輝度応答である液晶表示装置において、1フレーム期間において映像データをブランキング・データによりマスクをする輝度応答化する駆動技術と、各画素行に対応した夫々ゲート線にゲート信号を2度印加するダブルゲートパルス駆動技術を組み合わせた表示装置及びその駆動方法に関する。
第1の従来の技術として、動画データ中に黒データを挿入し液晶表示パネルに表示する表示装置がある(特許文献1〜3参照)。
第2の従来の技術として、正規の階調電圧を液晶表示パネルの画素行に印加する前に予備的な電圧をその画素行に印加する表示装置(ダブルゲート駆動)がある(特許文献4及び5参照)。
特開平9−18814号公報 特開平11−109921号公報 特開2003−36056号公報 特開平8−248385号公報 特開2002−258817号公報
第1の従来技術では、動画ぼやけを防止できるが、画素に階調電圧を印加する期間が短い場合や画素の応答性が悪い場合には画素に階調電圧を十分に印加できない恐れがある。
第2の従来技術では、画素に階調電圧を十分に印加できるが、動画表示する場合に残像が発生し動画ぼやけが発生する恐れがある。
本発明の目的は、階調電圧の不足及び動画ぼやけを抑制した高画質の表示装置及びその駆動方法を提供することである。
本発明は、走査ドライバが、n行分の画素をまとめて選択した後に他のn行分の画素についてn行よりも少ない行単位でかつダブルゲート駆動で順次選択し、データドライバが、黒データに応じた階調電圧をn行分の画素へまとめて供給した後に表示データに応じた階調電圧を他のn行分の画素へ順次供給する。さらに、制御回路が、n周期に1度の割合で信号を発生しないクロック信号(例えば、走査・クロック)と1フレーム周期で信号を複数回発生する走査開始信号を走査ドライバへ出力し、ブランキング・データをクロック信号の信号を発生しないタイミングで表示データの代わりにデータドライバへ出力する。
また、本発明は、制御回路が、n周期に1度の割合で信号を発生しないクロック信号とクロック信号の信号を発生しないタイミングで走査ドライバによる画素の選択を無効化する第1の走査有効信号とクロック信号の信号を発生しないタイミングで走査ドライバによる画素の選択を有効化する第2の走査有効信号を走査ドライバへ出力し、特定データ(例えば、ブランキング・データ)をクロック信号の信号を発生しないタイミングで表示データの代わりにデータドライバへ出力する。好ましくは、制御回路が、クロック信号の信号を発生しないタイミングから次の次に信号を発生しないタイミングまでの期間分(例えば、8H水平周期期間分)の時間幅を有する信号を1フレーム周期で1回発生する走査開始信号を走査ドライバへ出力する。
また、本発明は、制御回路が、n周期に1度の割合で信号を発生しないクロック信号と1フレーム周期で信号を複数回発生する走査開始信号を走査ドライバへ出力し、ブランキング・データをクロック信号の信号を発生しないタイミングの直前の信号を発生したタイミングで表示データの代わりにデータドライバへ出力する。
また、本発明は、制御回路が、クロック信号と1フレーム周期で信号を複数回発生する走査開始信号を走査ドライバへ出力し、ブランキング・データをクロック信号の周期期間のうち後半期間に表示データの代わりにデータドライバへ出力する。
本発明によれば、表示データをブランキング・データによってマスクすることにより動画ぼやけを抑制すると共に、ダブルゲート駆動により階調電圧の不足を抑制するという効果を奏する。これにより、高画質の表示装置を実現できる。
本発明によるアクティブ・マトリクス型の表示装置に備えられる画素アレイの一例の概略図。 本発明による液晶表示装置の概要を示すブロック図。 本発明の第1の実施例による液晶表示装置において、黒挿入を5H水平周期に1度のタイミングで行い、且つゲートダブルパルス駆動を1×1ドット反転駆動において行うタイミングチャート。 本発明の第1の実施例による液晶表示装置において、黒挿入を5H水平周期に1度のタイミングで行い、且つゲートダブルパルス駆動を1×2ドット反転駆動において行うタイミングチャート。 本発明の第2の実施例による液晶表示装置において、挿入される黒データに対するゲートダブルパルス駆動を行うタイミングチャート。 Cgs起因によるデータ信号の飛び込み電圧、再書き込み電圧を相殺するための画素の設計図。 本発明による液晶表示装置において、ダミー信号を生成したゲート信号がシフトし、且つゲートダブルパルス駆動を1×1ドット反転駆動において行う第3の実施例におけるタイミングチャート。 本発明の第3の実施例による液晶表示装置において、ダミー信号を生成したゲート信号がシフトし、且つゲートダブルパルス駆動を1×2ドット反転駆動において行うタイミングチャート。 本発明の第4の実施例による液晶表示装置において、黒挿入を1H水平周期に1度のタイミングで行い、ゲートダブルパルス駆動を行う1×1ドット反転駆動において行うタイミングチャート。 本発明の第4の実施例による液晶表示装置において、黒挿入を1H水平周期に1度のタイミングで行い、ゲートダブルパルス駆動を行う1×2ドット反転駆動において行うタイミングチャート。
以下、本発明による表示装置及びその駆動方法に関する具体的な実施形態を、第1の実施例及びこれに関連する図面を参照して説明する。この実施例の説明にて参照する図面で、同一機能を有するものは同一符号を付け、その繰り返しの説明は省略する。また、夫々の実施例において、本発明による表示装置はノーマリ・ブラック方式で画像を表示する液晶表示装置として記述されるが、その画素構造を先述の如く変更することにより、本発明によるエレクトロルミネセンス型や発光素子アレイ型の表示装置が具現され得ることは言うまでもない。また、ノーマリ・ホワイト方式で画像を表示する液晶表示装置でもよい。
以下、第1の実施例について図1、図2、図3、図4で説明する。
第1の実施例は、アクティブ・マトリクス方式の液晶表示装置においてダブルゲート駆動を行い、さらにホールド型輝度応答である液晶表示装置にブランキング・データを挿入する駆動を行うことを特徴とする。特に、第1の実施例は、映像データに対してダブルゲート駆動を行い、ブランキング・データに対してシングルゲート駆動を行う。これら2つの駆動を併せ持つことによって、高精細化が進む液晶表示装置において、高画質な映像を実現し、且つホールド型輝度応答による表示装置に特有な「動画ぼやけ」を改善することができる。
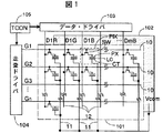
図1に、アクティブ・マトリクス方式(Active Matrix Scheme)の液晶表示装置の構成を示す。
図1に示す如く、二次元的又は行列(Matrix)状に配置された複数の画素PIXの各々に画素電極PXとこれに映像信号を供給するスイッチング素子SW(例えば、薄膜トランジスタ)が設けられる。このように複数の画素PIXが配置された素子は、画素アレイ(Pixels Array)101とも呼ばれ、液晶表示装置における画素アレイは液晶表示パネルとも呼ばれる。この画素アレイにおいて、複数の画素PIXは画像を表示する所謂画面をなす。
図1に示された画素アレイ101には、横方向に延びる複数のゲート線10(Gate Lines、走査信号線とも呼ばれる)と縦方向(このゲート線10と直交する方向)に延びる複数のデータ線12(Data Lines、映像信号線とも呼ばれる)とがそれぞれ並設(juxtapose)される。図1に示される如く、G1,G2,G3,…Gnなる番地で識別される夫々のゲート線10沿いには複数の画素PIXが横方向に並ぶ所謂画素行(Pixel Row)が、D1R,D1G,D1B,…DmBなる番地で識別される夫々のデータ線12沿いには複数の画素PIXが縦方向に並ぶ所謂画素列(Pixel Column)が形成される。ゲート線10は、走査ドライバ104(Scanning Driver,走査駆動回路とも呼ばれる)からその各々に対応する画素行(図1の場合、各ゲート線の下側)をなす画素PIXに夫々設けられたスイッチング素子SWに電圧信号を印加し、夫々の画素PIXに設けられた画素電極PXとデータ線12の一つとの電気的な接続を開閉する。特定の画素行に設けられたスイッチング素子SWの群を、これに対応するゲート線10から電圧信号(選択電圧)を印加して制御する動作は、ラインの選択又は「走査(Scanning)」とも呼ばれ、走査ドライバ104からゲート線10に印加される上記電圧信号は走査信号又はゲート信号とも呼ばれる。
一方、データ線12の夫々には、データ・ドライバ103(Data Driver,映像信号駆動回路とも呼ばれる)から階調電圧(Gray Scale Voltage,又はTone Voltage)とよばれる電圧信号が印加され、その各々に対応する画素列(図1の場合、各データ線の右側)をなす画素PIXの上記走査信号で選択された夫々の画素電極PXに上記階調電圧を印加する。データ・ドライバ103は、画素アレイ101に対して片側に配置される。よって、データ・ドライバ103は、1度に1行分の階調電圧しか出力できない。
このような液晶表示装置をテレビジョン装置に組み込んだ場合、インタレース方式で受信される映像データ(映像信号)の1フィールド期間又はプログレッシブ方式で受信される映像データの1フレーム期間に対して、上記走査信号はゲート線10のG1からGnに順次印加され、1フィールド期間又は1フレーム期間に受信される映像データから生成された階調電圧が夫々の画素行を構成する画素の一群に順次印加される。画素の各々には、上述の画素電極PXと、共通電極102からの基準電圧(Reference Voltage)又はコモン電圧(Common Voltage)が信号線11を通して印加される対向電極CTとで液晶層LCを挟む言わば容量素子が形成され、画素電極PXと対向電極CTとの間に生じる電界で液晶層LCの光透過率を制御する。上述の如く、映像データのフィールド期間毎又はフレーム期間毎にゲート線G1乃至Gnを順次選択する動作を1回行う場合、例えば或るフィールド期間に或る画素の画素電極PXに印加された階調電圧は、この或るフィールド期間に続く次のフィールド期間で別の階調電圧を受けるまで、この画素電極PXに理論的には保持される。従って、この画素電極PXと上記対向電極CTとに挟まれる液晶層LCの光透過率(換言すれば、この画素電極PXを有する画素の明るさ)は、1フィールド期間毎に所定の状態に保たれる。このようにフィールド期間毎又はフレーム期間毎に画素の明るさを保持しながら画像を表示する液晶表示装置は、ホールド型表示装置(Hold-type Display Device)とも呼ばれ、映像信号を受けた瞬間に画素毎に設けられた蛍光体を電子線照射により発光させる陰極線管(Cathode-ray Tube)のような所謂インパルス型表示装置(Impulse-type Display Device)と区別される。
図2に液晶表示装置における駆動回路のブロック図を示す。データ・ドライバ駆動信号群107には、ドライバ・データ106に含まれるデータ群とその各々に対応する水平走査期間との関係をデータ・ドライバ103に認識させる水平データ・クロック(Horizontal Data Clock)CL1と、各水平走査期間に対応するデータ群に含まれるデータの夫々と液晶パネル101の信号線との関係をデータ・ドライバ103に認識させるドットクロック(Dot Clock)CL2と、データ・ドライバ103に入力するLCD制御信号の極性反転制御信号POLとが含まれる。
一方、走査ドライバ104には、走査・ドライバ駆動信号群108として、上記水平走査期間に呼応して階調電圧を供給すべき1又は複数の画素行を選択する、換言すれば夫々の画素行に対応するゲート線10に走査信号を印加するタイミングを制御する走査クロック(Scanning Clock)CL3と、夫々の画素行に対応するゲート線10に走査信号を印加するのを有効もしくは無効にする走査有効信号(Scanning Enable Signal)DISP1、DISP2と、画素アレイの1画面を表示制御回路105から水平走査期間毎に転送されるデータ郡で走査する一連の工程の開始と終了を指示する走査開始信号(Scanning Start Signal)FLMが表示制御回路105から転送される。走査クロックCL3は、水平データ・クロックCL1と同期している。しかし、走査クロックCL3は、水平走査期間の周期で信号を発生するが、n周期(nは2以上の自然数)に一度の割合で信号を発生しない信号である。走査開始信号FLMは、1フレーム期間(画素アレイ101が1画面分の映像データを表示する期間)に2回の信号を発生する。走査開始信号FLMの1回分の信号の時間幅は、水平走査期間の整数倍(自然数倍)である。よって、1フレーム期間中の走査開始信号FLM全体の時間幅も整数倍(2以上の自然数倍)である。
液晶タイミング・コントローラ105は、8つのメモリ回路(ライン・メモリとも呼ばれる。)113-1、113-2、・・・、113-8を持ち、表示装置に入力される映像データ109は、1ライン毎にこのメモリ回路の何れかにメモリライトデータ112として書き込まれ、且つこのメモリ回路から映像データ109がメモリリードデータ112として再生映像に適した様式で読み出される。液晶タイミング・コントローラ105は、メモリリードライト制御信号111を用いて、メモリ回路113へのメモリライトデータ112の書き込み及びメモリリードデータ112の読み出しを制御する。本実施例の場合、例えば、1ライン分のデータが113-1のメモリ回路に書き込まれると同時に113-2のメモリ回路から映像データ109が再生映像に適した様式で読み出される。次に次ライン分の映像データが113-2のメモリ回路に書き込まれると同時に113-3のメモリ回路から映像データ109が再生映像に適した様式で読み出される。このような映像データのメモリ回路113への書き込みとこれからの読み出しがライン毎に繰り返される。本実施例では、映像データ処理用のメモリ回路113を8つ使用しているが、その数は表示装置に要請される機能に応じて適宜変更しうる。なお、メモリ回路を示す参照番号に付けられたサフィックス(Suffix)-1、-2、・・・、-8は、本実施例の表示装置に備えられた表示制御回路(液晶タイミング・コントローラ)に接続された8つのメモリ回路を識別させる為のものであり、これらのサフィックスが省かれて記される参照番号113はメモリ回路を総称するものとして理解されたい。液晶タイミング・コントローラ105は、ブランキング・データを予め(初期設定で)保持しており、所定のタイミングでブランキング・データを出力する。液晶タイミング・コントローラ105は、ROM内にブランキング・データを予め保持しておくのが好ましい。
図3は液晶表示制御回路ブロックへの入力信号と上記液晶表示制御回路ブロックからの出力信号及び各ゲート線におけるゲート信号の波形を示すタイミングチャートである。
液晶表示装置ブロック100に入力される映像データ109は、メモリ回路113から水平データ・クロックCL1の周期で読み出される。図3に示すように、液晶表示装置に出力される映像データData(出)には、映像データ1,2,3,4・・・と、ブランキング・データとしての黒データBKが水平走査期間毎に分けられる。ブランキング・データは、黒データでなくても、データ・ドライバ103で生成可能な複数の階調電圧のうち、相対的に低い又は最も低い階調電圧を出力するためのデータ、即ち画素アレイ101上で相対的に低い又は最も低い輝度を発するためのデータであればよい。
図3の各ゲートG1、G2、G3・・・のゲート信号は、走査開始信号FLM、走査・クロックCL3及びに走査有効信号DISP1、DISP2によって制御される。本実施例における図3では、1×1ドット反転駆動において、映像データに対してのみダブルゲート駆動を行い、且つブランキング・データには正規のゲート電圧信号のみを挿入する。ダブルゲート駆動において、2つの走査開始信号FLMのうち、各画素行において予備充電(Pre-Charge)を行う1つめのゲート電圧信号を生成するための第一弾目のFLM信号は、各画素行において正規のゲート電圧信号を生成するための第二弾目のFLM信号の、走査・クロックCL3信号の周期で数えて二つ手前に、換言すれば黒データBKの階調電圧信号が印加される1H水平周期期間を除いた2H水平周期期間手前のタイミングに合わせて生成する。走査されるゲート線は、走査・クロックCL3の周期でシフトされ、且つゲート線の走査タイミングは、走査有効信号DISP1が有効な場合にのみ行われる。尚、予備充電の電圧は、正規のゲート電圧と同一である。
例えば、図3においては1つ目の走査開始信号FLMが来たときに、走査・クロックCL3信号の周期に合わせ、1H水平周期期間、データ線G1にデータ信号が生成される。またこの時、DISP1は有効状態になっている。また、1つ目のゲート信号が印加される場合においては、予備充電を行うので、データ信号の極性は正規の階調電圧と同極性である。この1H水平周期期間を経て次の走査・クロックCL3信号によって、選択されるゲート線はG1からG2にシフトする。ここで、ゲート線G1からゲート線G2にシフトしてきてから、次のゲート線G3にシフトするまでは2H水平周期期間ある。その中で、走査有効信号DISP1の制御により、2H水平周期期間の内の前半の1H水平周期期間ではゲート信号を生成して、後半の1H水平周期期間ではゲート信号を生成しない。また、DISP1の制御によって、ゲート線のG2においてゲート信号が生成されない1H水平周期期間では、走査有効信号DISP2による制御により、ゲート線G253、G254、G255、G256にゲート信号を生成する。そして、このゲート信号が生成された4つのゲート線には、データ・ドライバよりデータ信号として黒データBKの階調電圧が印加される。次に、走査・クロックCL3によってゲート信号が印加されるゲート線はG2からG3へとシフトし、1H水平周期期間の間、ゲート線G3にゲート信号が生成される。このように、ダブルゲート駆動の予備充電を行う為の1つ目のゲート信号は、選択するゲート線をゲート線G1、G2、G3・・・と走査・クロックCL3に同期させて順次シフトさせ、走査有効信号DISP1による制御によって生成される。ここで、ダブルゲート駆動の予備充電を行う為の1つ目のゲート信号が生成されるゲート線に対応した画素行に印加されるデータ極性は、正規の階調電圧を印加する為の二つ目のゲート信号電圧と同極性になる。また、途中、DISP1の制御によってゲート信号が生成されない1H水平周期期間では、DISP2の制御によって選択された4つのゲート線において、黒データBKのデータ信号が印加される。
次に図3において2つ目の走査開始信号が来たときにも、同様に、走査・クロックCL3信号の周期に合わせ、1H水平周期期間、データ線G1にデータ信号が生成される。またこの時、DISP1は有効状態になっている。この1H水平周期期間を経て次の走査・クロックCL3信号によって、選択されるゲート線はG1からG2にシフトする。さらに、走査・クロックCL3の周期にあわせ、選択されるゲート線はG2からG3へ、G3からG4へと順次シフトする。またこの時の、DISP1も有効状態になっている。各ゲート線における夫々2つ目のゲート信号が生成され、順次ゲート線をシフトしていく時、メモリ回路113からは1H水平周期期間毎の映像データ1,2,3,4・・・が順次送られてくる。ここで、映像データ1,2,3,4・・・とした映像データの数字は、液晶表示装置の画素アレイにおいて、先頭ラインを1として上から順番に番号をつけた時のライン番号に対応している。よって、各ゲート線G1,G2,G3,G4に対応した夫々画素行における各画素PIXへは、各データ線からの階調電圧として
、夫々映像データ1,2,3,4からの階調電圧が印加される。
そして、ゲート線G3からゲート線G4にシフトしてきてから、次のゲート線G5にシフトするまでは2H水平周期期間ある。ここでも上記したダブルゲート駆動の1つ目のゲート信号の生成と同様な制御を行う。走査有効信号DISP1の制御により、2H水平周期期間の内の前半の1H水平周期期間ではゲート信号を生成して、後半の1H水平周期期間ではゲート信号を生成しない。また、DISP1の制御によって、ゲート線のG2においてゲート信号が生成されない1H水平周期期間では、走査有効信号DISP2による制御により、ゲート線G257、G258、G259、G260にゲート信号を生成する。そして、このゲート信号が生成された4つのゲート線には、ブランキング・データとして黒データBKの階調電圧がデータ信号に印加される。このように、ダブルゲート駆動の正規な階調電圧を各ラインに印加する為の2つ目のゲート信号においても、選択するゲート線をゲート線G1、G2、G3・・・と走査・クロックCL3に同期させて順次シフトさせ、走査有効信号DISP1による制御によって生成される。この時、映像データ1,2,3,4・・・の各データ線におけるデータ信号は、夫々ゲート線G1、G2、G3、G4・・・に対応した夫々の画素行における各画素PIXに順次印加される。そして、途中、DISP1の制御によってゲート信号が生成されない1H水平周期期間では、DISP2の制御によって選択された4つのゲート線において、黒データBKのデータ信号が画素アレイ101へ印加される。つまり黒データBKに応じた階調電圧が4行分の画素行にまとめて供給され、その後、表示データに応じた階調電圧が1行づつ順次画素行へ供給される。また、図3の例では、黒データBKのデータ信号は、予備充電の直後の1H水平周期期間又は正規充電の直後の1H水平周期期間の何れかに画素アレイ101へ印加される。
次に図4の各ゲートG1、G2、G3・・・のゲート信号は、走査開始信号FLM、走査・クロックCL3及びに走査有効信号DISP1、DISP2によって制御される。図4では、1×2ドット反転駆動において、映像データに対してのみダブルゲート駆動を行い、ブランキング・データには正規のゲート電圧信号のみを挿入する。ダブルゲート駆動において、2つの走査開始信号FLMのうち、各画素行において予備充電を行う1つめのゲート電圧信号を生成するための第一弾目のFLM信号は、各画素行において正規のゲート電圧信号を生成するための第二弾目のFLM信号の、走査・クロックCL3信号の周期で数えて4つ手前に、換言すれば黒データBKの階調電圧信号が印加される1H水平周期期間を除いた4H水平周期期間手前のタイミングに合わせて生成する。走査されるゲート線は、走査・クロックCL3の周期でシフトされ、且つゲート線の走査タイミングは、走査有効信号DISP1が有効な場合にのみ行われる。図4における制御は図3と同じであり、よって走査開始信号FLMが異なるだけであるので、ここでは図4における事象の説明を省略する。図4の例では、黒データBKのデータ信号は、予備充電と正規充電の間の1H水平周期期間に画素アレイ101へ印加される。
上記したような走査開始信号FLM、走査・クロックCL3、走査有効信号DISP1、DISP2により制御することで、各ゲート線に対応した夫々の画素行の走査においては、映像データに関して、ダブルパルス駆動が行われる事で各画素PIXにおける画素電極PXへの充電率を改善し、且つ映像データの途中にブランキング・データが入ることで、ホールド型輝度応答によりみられる「動画ぼやけ」を改善することができる。第1の実施例では、1フレーム期間内にダブルゲート駆動とブランキング・データ挿入の両者を実現できる。
次に、第2の実施例について図1、図2、図5で説明する。
本第2の実施例における液晶表示装置に関しては図1と同様なので、ここでは液晶表示装置の映像表示原理の説明については省略する。また本第2の実施例における液晶表示装置の制御回路ブロック図についても、図2と同様なものなので詳細は略す。
第2の実施例は、第1の実施例でシングルゲート駆動を行っていたブランキング・データに対してもダブルゲート駆動を行う点を特徴とする。第2の実施例での駆動方法により、第1の実施例が有する効果に加え、ホールド型輝度応答による表示装置に特有な「動画ぼやけ」を、より改善する事が可能である。
図5は液晶表示制御回路ブロックへの入力信号と上記液晶表示制御回路ブロックからの出力信号及び各ゲート線におけるゲート信号の波形を示すタイミングチャートである。
液晶表示装置ブロック100に入力される映像データ109は、メモリ回路113から水平データ・クロックCL1の周期で読み出される。図5においても、図3と同様に、液晶表示装置の中の画素アレイへ出力される映像データData(出)には、映像データ1,2,3,4・・・と、ブランキング・データとしての黒データBKが水平走査期間毎に分けられる。図5の各ゲートG1、G2、G3・・・のゲート信号は、走査開始信号FLM、走査・クロックCL3及びに走査有効信号DISP1、DISP2によって制御される。
映像データに対するダブルゲート駆動に関しては、第1の実施例における制御と同じ方法で行われるので、第2の実施例においてはその説明を省く。
ブランキング・データに対するダブルゲート駆動では、生成された走査開始信号FLMが8H水平周期期間を持つ。走査開始信号FLMにより、先頭ゲート線G1の選択期間には8回分の走査・クロックCL3周期期間が、換言すれば10H水平周期期間が存在する。一方、走査有効信号DISP2は常に5H水平周期期間毎に1回、1H水平周期間の走査有効期間を生成する。よって、ゲート線G1の選択期間と走査有効信号DISP2が有効になる周期より、ゲート線G1には二つのゲート信号が生成される。
例えば、図5に示すように生成された走査開始信号FLMが8H水平周期期間を持つ場合、先頭ゲート線G1の選択期間には8回の走査・クロックCL3周期が、換言すれば10H水平周期期間が存在する。選択された10H水平周期期間の間で、走査有効信号DISP2の制御によって、先頭ゲート線G1におけるゲート信号は、4H水平周期期間を空けて、二つ生成される(図5)。また、先頭ゲート線G1が選択された後は、選択されるゲート線が走査・クロックCL3毎に順次ゲート線G2,G3,G4・・・とシフトしていき、またゲート線G1と同様に、夫々のゲート線においては、4H水平周期を空けてゲート信号が二つ生成される(図5)。夫々のゲート線における二つの生成されたゲート信号により選択された各画素行におけるそれぞれの画素PIXには、データ・ドライバから、ブランキング・データとして黒データBKの階調電圧が印加される。
このように、ダブルゲート駆動を映像データに加えブランキング・データにおいても行うことで、各画素行における黒データへの充電率は改善される。
次に、第3の実施例について図1、図2、図6、図7、図8で説明する。
本第3の実施例における液晶表示装置に関しては図1と同様なので、ここでは液晶表示装置の映像表示原理の説明については省略する。また本第3の実施例における液晶表示装置の制御回路ブロック図についても、図2と同様なものなので詳細は略す。
映像データもしくはブランキング・データの階調電圧をデータ・ドライバから各画素PIXに書き込むのは、夫々のゲート線においてゲート信号が生成されている期間において行われる。映像データの書き込みが行われるゲート線においてゲート信号が生成され、そのゲート信号の立下り時、ゲート波形遅延により、飛び込み電圧、再書き込み電圧がばらつく。図6はスイッチング素子(例えば、薄膜トランジスタなど)の特性により作られるCgs起因の飛び込み電圧をCaddで相殺することで、飛び込み電圧絶対値を小さくし、飛び込み電圧ばらつき、再書き込みばらつきを低減し横輝度傾斜を改善する。
本第3の実施例は、第1の実施例に対し、Cadd,Cgs相殺駆動を追加した点を特徴とするこれによって、第1の実施例が有する効果に加え、横輝度傾斜を改善することができる。
Cadd、Cgs相殺駆動を行う為には、ゲート線G(n)におけるゲート信号の立ち下がりとゲート線G(n+1)におけるゲート信号の立ち上がりのタイミングが一致することが必要となる。
図7は、第1の実施例における1×1ドット反転駆動においての駆動方法に加えCadd、Cgs相殺駆動を行う場合の液晶表示制御回路ブロックへの入力信号と上記液晶表示制御回路ブロックからの出力信号及び各ゲート線におけるゲート信号の波形を示すタイミングチャートである。
例えば、図7における各ゲート線に生成される二つのゲート信号のうち正規の階調電圧を印加する為の2つ目のゲート信号に着目すると、ゲート線G4におけるゲート信号の立ち下がりとゲート線G5、もしくはゲート線G8におけるゲート信号の立ち下がりとゲート線G9におけるゲート信号の立ち上がりのタイミングが一致するようにする。換言すると、ブランキング・データである黒データBKの書き込み前後のタイミングでゲート信号をシフトしていくゲート線G4とG5もしくはゲート線G8とG9において、黒データ書き込み直前のゲート線G4もしくはG8におけるゲート信号の立ち下がりのタイミングと黒データ書き込み直後のゲート線G5もしくはG9におけるゲート信号の立ち上がりのタイミングを一致させる。その為に、黒データ書き込み直前のゲート線G4もしくはG8におけるゲート信号の立ち下がりのタイミングにあわせて、黒データ書き込み直後のゲート線におけるゲート信号G5もしくはG9のゲート信号が立ち上げるようにダミー信号を生成する。よって、黒データ書き込み直後のゲート線G5もしくはG9におけるゲート信号は2H水平周期期間、生成される。この時ゲート信号の中にダミー信号が生成されたゲート線G5もしくはG9では、ダミー信号である1H水平周期期間では黒データBKの階調電圧が、正規の階調電圧が印加される1H水平周期期間では映像データの階調電圧が、データ・ドライバより送られてくるデータ信号として印加される。その為、ダミー信号の1H水平周期期間では黒データが一度走査されるが、この程度の時間的変化である場合、人間の視覚能力では変化をあまり感じ取れない程度であると考えられるので、影響は少ない。
同様に第1の実施例と同じ制御により、ブランキング・データである黒データBKが書き込まれるタイミングでは、4つのゲート線G257、G258、G259、G260もしくはG261、G262、G263、G264が同時に選択され、各ゲート線にゲート信号が印加される。この場合、同時に選択された4つのゲート線のうちの一番下になるゲート線G260もしくはG264とその次にくるゲート線G261もしくはG265のうち、前者のゲート線G260もしくはG264におけるゲート信号の立下りと後者のゲート線G261もしくはG265におけるゲート信号の立ち上がりを同じタイミングにするように、後者側のゲート線G261もしくはG265にダミー信号を生成する。こうする事で、同時に4つ選択されたゲート線において一番下にくるゲート線G260もしくはG264とその次にくるゲート線G261もしくはG265の間には、Cgs起因の飛び込み電圧をCaddで相殺することで、飛び込み電圧絶対値を小さくし、飛び込み電圧ばらつき、再書き込みばらつきを低減し横輝度傾斜を改善する。また、ゲート線G261もしくはG265と夫々の次にシフトしていくゲート線G262もしくはG266の間では、Cgs起因の飛び込み電圧をCaddにより相殺されないので、飛び込み電圧ばらつき、再書き込みばらつきが低減されず横輝度傾斜が起こる。しかしゲート線G261もしくはG265と夫々の次にシフトしていくゲート線G262もしくはG266は、それぞれ4H水平周期期間が経過した後に、それら二つのゲート線を含めた4つのゲート線が同時に選択されゲート信号が印加される為、この横輝度傾斜はキャンセルされる。
図8は、第1の実施例における1×2ドット反転駆動においての駆動方法に加えCadd、Cgs相殺駆動を行う場合の液晶表示制御回路ブロックへの入力信号と上記液晶表示制御回路ブロックからの出力信号及び各ゲート線におけるゲート信号の波形を示すタイミングチャートである。
図8における制御は図7と同じであり、よって走査開始信号FLMが異なるだけであるので、ここでは図8における事象の説明を省略する。
上記したように、ゲート線G(n)において生成されるゲート信号の立下り時とゲート線G(n+1)において生成されるゲート信号の立ち上がり時を同タイミングにするためにダミー信号を生成する。このような制御を行う事で、第1の実施例に加え、横輝度傾斜において改善するので、液晶表示装置における高画質化を計ることができる。
次に、第4の実施例について図1、図2、図9、図10で説明する。
本第4の実施例における液晶表示装置に関しては図1と同様なので、ここでは液晶表示装置の映像表示原理の説明については省略する。また本第4の実施例における液晶表示装置の制御回路ブロック図についても、図2と同様なものなので詳細は略す。
本第4の実施例は、第1の実施例及び第3の実施例で、映像データの階調電圧のホールド時間とブランキング・データである黒データBKの階調電圧のホールド時間の比率が、1フレーム周期で3対1であったものを、1対1にしたことを特徴とする。このような駆動を行う事で、第1の実施例から第3の実施例に比べ、ブランキング・データのホールド時間が長くなり、よりインパルス型輝度応答に近づくので、ホールド型表示装置において見られる「動画ぼやけ」をさらに改善できる。
図9は液晶表示制御回路ブロックへの入力信号と上記液晶表示制御回路ブロックからの出力信号及び各ゲート線におけるゲート信号の波形を示すタイミングチャートである。
図9の各ゲートG1、G2、G3・・・のゲート信号は、走査開始信号FLM、走査・クロックCL3及びに走査有効信号DISP1、DISP2によって制御される。本実施例における図9では、1×1ドット反転駆動における映像データに対してのみダブルゲート駆動を行い、ブランキング・データには正規のゲート電圧信号のみを挿入する。ダブルゲート駆動において、2つの走査開始信号FLMのうち、各画素行において予備充電を行う1つめのゲート電圧信号を生成するための第一弾目のFLM信号は、各画素行において正規のゲート電圧信号を生成するための第二弾目のFLM信号の、走査・クロックCL3信号の周期で数えて二つ手前に生成する。また、この走査開始信号FLMにより生成されるゲート線におけるゲート信号は、走査・クロックCL3の周期でシフトされ、且つ走査有効信号DISP1が有効な場合にのみ生成される。走査有効信号DISP1は1H水平周期期間の前半半分において有効となり後半半分を無効にする。また走査有効信号DISP1が1H水平周期期間の前半半分において有効なときに走査有効信号DISP2は無効となり、走査有効信号DISP1が1H水平周期期間の後半半分において無効なときに走査有効信号DISP2は有効となる。よって、各ゲート線におけるゲート信号は、走査・クロックCL3の周期でシフトしていき、且つ生成期間は1H水平周期期間の前半半分となり、後半半分の1H水平周期期間にはブランキング・データである黒データBKがある。
例えば、図9においては1つ目もしくは2つ目の走査開始信号FLMが来たときに、走査・クロックCL3信号の周期に合わせ、1H水平周期期間の半分でデータ線G1にデータ信号が生成される。またこの時、1H水平周期期間の前半半分の期間でDISP1は有効状態になっている。また、1つ目と2つ目のゲート信号が印加される場合においては、データ信号の極性は予備充電の階調電圧と正規の階調電圧とは同極性である。これらのゲート線G1における二つのゲート信号が1H水平周期期間を経て次の走査・クロックCL3信号によって、選択されるゲート線はG1からG2にシフトする。また、DISP1の制御によって、選択されたゲート線G1においてゲート信号が生成されない1H水平周期期間の後半では、走査有効信号DISP2による制御により、ゲート線G257にゲート信号を生成する。そして、ゲート線G257には、データ・ドライバよりデータ信号として黒データBKの階調電圧が印加される。このように、ダブルゲート駆動の予備充電を行う為の1つ目と正規の階調電圧を印加する2つ目のゲート信号は
、選択するゲート線をゲート線G1、G2、G3・・・と走査・クロックCL3に同期させて順次シフトさせ、走査有効信号DISP1による制御によって1H水平周期の前半半分の期間で生成される。それに対応したDISP1の制御によってゲート信号が生成されない1H水平周期の後半半分の期間では、走査・クロックCL3に同期して、ゲート線GG258、G259、260、261・・・と順次シフトさせて、DISP2の制御によって黒データBKの階調電圧としてデータ信号が印加される。
次に本実施例における図10では、1×2ドット反転駆動における映像データに対してのみダブルゲート駆動を行い、ブランキング・データには正規のゲート電圧信号のみを挿入する。ダブルゲート駆動において、2つの走査開始信号FLMのうち、各画素行において予備充電を行う1つめのゲート電圧信号を生成するための第一弾目のFLM信号は、各画素行において正規のゲート電圧信号を生成するための第二弾目のFLM信号の、走査・クロックCL3信号の周期で数えて4つ手前に生成する。また、この走査開始信号FLMにより生成されるゲート線におけるゲート信号は、走査・クロックCL3の周期でシフトされ、且つ走査有効信号DISP1が有効な場合にのみ生成される。走査有効信号DISP1は1H水平周期期間の前半半分において有効となり後半半分を無効にする。また走査有効信号DISP1が1H水平周期期間の前半半分において有効なときに走査有効信号DISP2は無効となり、走査有効信号DISP1が1H水平周期期間の後半半分において無効なときに走査有効信号DISP2は有効となる。よって、各ゲート線におけるゲート信号は、走査・クロックCL3の周期でシフトしていき、且つ生成期間は1H水平周期期間の前半半分となり、後半半分の1H水平周期期間にはブランキング・データである黒データBKがある。
図10における制御は図9と同じであり、よって走査開始信号FLMが異なるだけであるので、ここでは図10における事象の説明を省略する。
このように、1H水平周期期間において、半周期を映像データの階調電圧のゲート信号を生成する時間とし、もう半周期をブランキング・データである黒データBKの階調電圧のゲート信号を生成する時間とする。そうすることで、1フレーム期間において、各画素PIXにおける画素電極PXに対して印加される映像データの階調電圧のホールド時間とブランキング・データである黒データBKの階調電圧のホールド時間を、1対1の比率にし、且つダブルゲート駆動を行う。
本発明によれば、液晶表示装置に1フレーム期間に入力される映像データをブランキング・データによってマスクしてインパルス型輝度応答に近づけ、且つ各画素行に対応した夫々ゲート線にゲート信号を複数回印加することによりゲート走査駆動電位と同一極性電位を画素容量に予備充電するため、書き込み率の低下を回避でき、さらに高画質動画表示を実現できる。
100…表示装置、101…画素アレイ、102…共通電圧電極、103…データ・ドライバ、104…走査ドライバ、105…タイミング・コントローラ、106…ドライバ・データ、107…データ・ドライバ駆動信号郡、108…走査・ドライバ駆動信号郡、109…映像データ(映像信号)、110…映像制御信号、111…メモリリードライト制御信号、112…メモリリードデータ及びメモリライトデータ、113…メモリ回路、114…nライン目ゲート線、115…n+1ライン目ゲート線、116…nライン目ドレイン線、117…n+1ライン目ドレイン線、118…薄膜トランジスタ(TFT)。

Claims (13)

  1. マトリックス状に配置された複数の画素を有する画素アレイと、表示データに応じた階調電圧を前記画素へ供給するデータドライバと、前記階調電圧を供給すべき前記画素を1又は複数の行単位で選択する走査ドライバと、前記データドライバ及び前記走査ドライバを制御する制御回路を備えた表示装置において、
    前記制御回路は、第1のクロック信号と前記表示データを前記データドライバへ出力し、n周期に1度の割合で信号を発生しない第2のクロック信号と1フレーム周期で信号を複数回発生する走査開始信号を前記走査ドライバへ出力し、前記表示データとは異なる予め定められたブランキング・データを前記第2のクロック信号の信号を発生しないタイミングで前記表示データの代わりに前記データドライバへ出力することを特徴とする表示装置。
  2. 前記表示データを保持する第1のメモリと
    前記ブランキング・データを予め保持する第2のメモリを備え、
    前記制御回路は、前記表示データを前記第1のクロック信号に同期して前記第1のメモリから読み出して前記データドライバへ出力し、前記ブランキング・データを前記第1のクロック信号に同期しかつ前記第2のクロック信号の信号を発生しないタイミングで前記第2のメモリから読み出して前記データドライバへ出力することを特徴とする請求項1に記載の表示装置。
  3. 前記第1のクロック信号の周期及び前記第2のクロック信号の周期は、水平走査期間の周期に同期していることを特徴とする請求項1に記載の表示装置。
  4. 前記走査ドライバは、前記第2のクロック信号に従って前記画素を1行単位で順次選択すると共に前記走査開始信号に従って前記画素を1フレーム周期で1行あたり2回選択し、前記第2のクロック信号の信号を発生しないタイミングで前記画素をn行単位で選択し、
    前記データドライバは、前記第1のクロック信号に従って、前記表示データに応じた階調電圧を前記1行単位で選択された画素へ供給し、前記ブランキング・データに応じた階調電圧を前記n行単位で選択された画素へ供給することを特徴とする請求項1に記載の表示装置。
  5. 前記制御回路は、前記第2のクロック信号の信号を発生しないタイミングで前記走査ドライバによる前記画素の選択を無効化する第1の走査有効信号と、前記第2のクロック信号の信号を発生しないタイミングで前記走査ドライバによる前記画素の選択を有効化する第2の走査有効信号を前記走査ドライバへ出力することを特徴とする請求項1に記載の表示装置。
  6. マトリックス状に配置された複数の画素を有する画素アレイと、表示データに応じた階調電圧を前記画素へ供給するデータドライバと、前記階調電圧を供給すべき前記画素を1又は複数の行単位で選択する走査ドライバと、前記データドライバ及び前記走査ドライバを制御する制御回路を備えた表示装置において、
    前記制御回路は、第1のクロック信号と前記表示データを前記データドライバへ出力し、n周期に1度の割合で信号を発生しない第2のクロック信号と前記第2のクロック信号の信号を発生しないタイミングで前記走査ドライバによる前記画素の選択を無効化する第1の走査有効信号と前記第2のクロック信号の信号を発生しないタイミングで前記走査ドライバによる前記画素の選択を有効化する第2の走査有効信号を前記走査ドライバへ出力し、前記表示データとは異なる予め定められた特定データを前記第2のクロック信号の信号を発生しないタイミングで前記表示データの代わりに前記データドライバへ出力することを特徴とする表示装置。
  7. 前記制御回路は、前記第2のクロック信号の信号を発生しないタイミングから次の次に信号を発生しないタイミングまでの期間分の時間幅を有する信号を1フレーム周期で1回発生する走査開始信号を前記走査ドライバへ出力することを特徴とする請求項6に記載の表示装置。
  8. マトリックス状に配置された複数の画素を有する画素アレイと、表示データに応じた階調電圧を前記画素へ供給するデータドライバと、前記階調電圧を供給すべき前記画素を1又は複数の行単位で選択する走査ドライバと、前記データドライバ及び前記走査ドライバを制御する制御回路を備えた表示装置において、
    前記制御回路は、第1のクロック信号と前記表示データを前記データドライバへ出力し、n周期に1度の割合で信号を発生しない第2のクロック信号と1フレーム周期で信号を複数回発生する走査開始信号を前記走査ドライバへ出力し、前記表示データとは異なる予め定められたブランキング・データを前記第2のクロック信号の信号を発生しないタイミングの直前の信号を発生したタイミングで前記表示データの代わりに前記データドライバへ出力することを特徴とする表示装置。
  9. 前記走査ドライバは、前記第2のクロック信号及び前記走査開始信号に従って、前記第2のクロック信号のうち信号を発生しないタイミングの直前の信号を発生したタイミングを始期とする1水平周期期間から前記第2のクロック信号の信号を発生しないタイミングを始期とする1水平周期期間までに前記画素を1行単位で順次選択すると共に、前記第2のクロック信号の信号を発生しないタイミングの直前の信号を発生したタイミングを始期とする1水平周期期間に前記画素をn行単位で選択することを特徴とする請求項8に記載の表示装置。
  10. 前記データドライバは、前記第1のクロック信号に従って、前記第2のクロック信号のうち信号を発生しないタイミングの直前に信号を発生したタイミングを始期とする1水平周期期間に前記表示データに応じた階調電圧を前記画素へ供給し、前記第2のクロック信号の信号を発生しないタイミングを始期とする1水平周期期間に前記ブランキング・データに応じた階調電圧を前記画素へ供給することを特徴とする請求項9に記載の表示装置。
  11. マトリックス状に配置された複数の画素を有する画素アレイと、表示データに応じた階調電圧を前記画素へ供給するデータドライバと、前記階調電圧を供給すべき前記画素を1又は複数の行単位で選択する走査ドライバと、前記データドライバ及び前記走査ドライバを制御する制御回路を備えた表示装置において、
    前記制御回路は、第1のクロック信号と前記表示データを前記データドライバへ出力し、前記第1のクロック信号に同期した第2のクロック信号と1フレーム周期で信号を複数回発生する走査開始信号を前記走査ドライバへ出力し、前記表示データとは異なる予め定められたブランキング・データを前記第2のクロック信号の周期期間のうち後半期間に前記表示データの代わりに前記データドライバへ出力することを特徴とする表示装置。
  12. 前記第1のクロック信号及び前記第2のクロック信号の周期は、2水平周期期間であることを特徴とする請求項11に記載の表示装置。
  13. 前記走査ドライバは、前記第2のクロック信号に従って前記第2のクロック信号の周期期間のうち前半期間に前記画素を1行単位で順次選択すると共に前記走査開始信号に従って前記画素を1フレーム周期で1行あたり2回選択し、前記第2のクロック信号に従って前記第2のクロック信号の周期期間の後半期間に前記画素を1行単位で順次選択することを特徴とする請求項12に記載の表示装置。
JP2009246031A 2009-10-27 2009-10-27 表示装置およびその駆動方法 Expired - Lifetime JP5260470B2 (ja)

Priority Applications (1)

Application Number Priority Date Filing Date Title
JP2009246031A JP5260470B2 (ja) 2009-10-27 2009-10-27 表示装置およびその駆動方法

Applications Claiming Priority (1)

Application Number Priority Date Filing Date Title
JP2009246031A JP5260470B2 (ja) 2009-10-27 2009-10-27 表示装置およびその駆動方法

Related Parent Applications (1)

Application Number Title Priority Date Filing Date
JP2003071194A Division JP4628650B2 (ja) 2003-03-17 2003-03-17 表示装置およびその駆動方法

Publications (2)

Publication Number Publication Date
JP2010026528A true JP2010026528A (ja) 2010-02-04
JP5260470B2 JP5260470B2 (ja) 2013-08-14

Family

ID=41732346

Family Applications (1)

Application Number Title Priority Date Filing Date
JP2009246031A Expired - Lifetime JP5260470B2 (ja) 2009-10-27 2009-10-27 表示装置およびその駆動方法

Country Status (1)

Country Link
JP (1) JP5260470B2 (ja)

Cited By (1)

* Cited by examiner, † Cited by third party
Publication number Priority date Publication date Assignee Title
JP2021063967A (ja) * 2019-10-17 2021-04-22 エルジー ディスプレイ カンパニー リミテッド 表示制御装置、表示装置及び表示制御方法

Citations (5)

* Cited by examiner, † Cited by third party
Publication number Priority date Publication date Assignee Title
JPH08248385A (ja) * 1995-03-08 1996-09-27 Hitachi Ltd アクティブマトリックス型液晶ディスプレイとその駆動方法
JP2002072968A (ja) * 2000-08-24 2002-03-12 Advanced Display Inc 表示方法および表示装置
JP2002328654A (ja) * 2001-04-27 2002-11-15 Matsushita Electric Ind Co Ltd 液晶表示装置の駆動方法
JP2004029506A (ja) * 2002-06-27 2004-01-29 Hitachi Displays Ltd 液晶表示装置およびその駆動方法
JP2004029539A (ja) * 2002-06-27 2004-01-29 Hitachi Displays Ltd 表示装置およびその駆動方法

Patent Citations (5)

* Cited by examiner, † Cited by third party
Publication number Priority date Publication date Assignee Title
JPH08248385A (ja) * 1995-03-08 1996-09-27 Hitachi Ltd アクティブマトリックス型液晶ディスプレイとその駆動方法
JP2002072968A (ja) * 2000-08-24 2002-03-12 Advanced Display Inc 表示方法および表示装置
JP2002328654A (ja) * 2001-04-27 2002-11-15 Matsushita Electric Ind Co Ltd 液晶表示装置の駆動方法
JP2004029506A (ja) * 2002-06-27 2004-01-29 Hitachi Displays Ltd 液晶表示装置およびその駆動方法
JP2004029539A (ja) * 2002-06-27 2004-01-29 Hitachi Displays Ltd 表示装置およびその駆動方法

Cited By (2)

* Cited by examiner, † Cited by third party
Publication number Priority date Publication date Assignee Title
JP2021063967A (ja) * 2019-10-17 2021-04-22 エルジー ディスプレイ カンパニー リミテッド 表示制御装置、表示装置及び表示制御方法
JP7463074B2 (ja) 2019-10-17 2024-04-08 エルジー ディスプレイ カンパニー リミテッド 表示制御装置、表示装置及び表示制御方法

Also Published As

Publication number Publication date
JP5260470B2 (ja) 2013-08-14

Similar Documents

Publication Publication Date Title
JP4628650B2 (ja) 表示装置およびその駆動方法
CN1570716B (zh) 显示装置
US8031153B2 (en) Liquid crystal display and driving method thereof
KR101324361B1 (ko) 액정표시장치
US20030227428A1 (en) Display device and method for driving the same
CN101520993B (zh) 液晶显示器及其驱动方法
JP5619119B2 (ja) 液晶表示装置とそのフレームレートコントロール方法
US20120113084A1 (en) Liquid crystal display device and driving method of the same
KR20080054190A (ko) 표시장치 및 이의 구동방법
KR20020067097A (ko) 액정 표시 장치와 이의 구동 장치 및 방법
JP2006267525A (ja) 表示装置用駆動装置および表示装置用駆動方法
JP6042597B2 (ja) 液晶表示装置及びその駆動方法
US20070262310A1 (en) Liquid crystal display device and driving method thereof
CN101681610A (zh) 液晶面板驱动装置、液晶显示装置、液晶显示装置的驱动方法、驱动条件设定程序及电视接收机
TW200832345A (en) Display device
KR20130032161A (ko) 디스플레이 패널 구동 방법 및 이를 적용한 디스플레이 장치
JP5260470B2 (ja) 表示装置およびその駆動方法
JP2002149132A (ja) 液晶表示装置
JP2008233283A (ja) 液晶表示装置およびその駆動方法
JP2014077907A (ja) 液晶表示装置
EP1914710B1 (en) Display device
JP2007328120A (ja) 液晶表示装置の駆動方法およびその装置
JP2009180855A (ja) 液晶表示装置
JP2010101915A (ja) 画像表示装置、及び画像表示方法
JP2006301213A (ja) 液晶表示装置

Legal Events

Date Code Title Description
A621 Written request for application examination

Free format text: JAPANESE INTERMEDIATE CODE: A621

Effective date: 20091029

RD02 Notification of acceptance of power of attorney

Free format text: JAPANESE INTERMEDIATE CODE: A7422

Effective date: 20100127

RD04 Notification of resignation of power of attorney

Free format text: JAPANESE INTERMEDIATE CODE: A7424

Effective date: 20100222

A711 Notification of change in applicant

Free format text: JAPANESE INTERMEDIATE CODE: A711

Effective date: 20110617

A131 Notification of reasons for refusal

Free format text: JAPANESE INTERMEDIATE CODE: A131

Effective date: 20120321

A521 Request for written amendment filed

Free format text: JAPANESE INTERMEDIATE CODE: A523

Effective date: 20120521

A131 Notification of reasons for refusal

Free format text: JAPANESE INTERMEDIATE CODE: A131

Effective date: 20121002

A521 Request for written amendment filed

Free format text: JAPANESE INTERMEDIATE CODE: A523

Effective date: 20121130

TRDD Decision of grant or rejection written
A01 Written decision to grant a patent or to grant a registration (utility model)

Free format text: JAPANESE INTERMEDIATE CODE: A01

Effective date: 20130326

A61 First payment of annual fees (during grant procedure)

Free format text: JAPANESE INTERMEDIATE CODE: A61

Effective date: 20130425

FPAY Renewal fee payment (event date is renewal date of database)

Free format text: PAYMENT UNTIL: 20160502

Year of fee payment: 3

R150 Certificate of patent or registration of utility model

Ref document number: 5260470

Country of ref document: JP

Free format text: JAPANESE INTERMEDIATE CODE: R150

Free format text: JAPANESE INTERMEDIATE CODE: R150

R250 Receipt of annual fees

Free format text: JAPANESE INTERMEDIATE CODE: R250

R250 Receipt of annual fees

Free format text: JAPANESE INTERMEDIATE CODE: R250

R250 Receipt of annual fees

Free format text: JAPANESE INTERMEDIATE CODE: R250

R250 Receipt of annual fees

Free format text: JAPANESE INTERMEDIATE CODE: R250

R250 Receipt of annual fees

Free format text: JAPANESE INTERMEDIATE CODE: R250

R250 Receipt of annual fees

Free format text: JAPANESE INTERMEDIATE CODE: R250

R250 Receipt of annual fees

Free format text: JAPANESE INTERMEDIATE CODE: R250

EXPY Cancellation because of completion of term