JP2010024652A - 剥離装置 - Google Patents

剥離装置 Download PDF

Info

Publication number
JP2010024652A
JP2010024652A JP2008184776A JP2008184776A JP2010024652A JP 2010024652 A JP2010024652 A JP 2010024652A JP 2008184776 A JP2008184776 A JP 2008184776A JP 2008184776 A JP2008184776 A JP 2008184776A JP 2010024652 A JP2010024652 A JP 2010024652A
Authority
JP
Japan
Prior art keywords
slider
piston
peeling
tile
force
Prior art date
Legal status (The legal status is an assumption and is not a legal conclusion. Google has not performed a legal analysis and makes no representation as to the accuracy of the status listed.)
Granted
Application number
JP2008184776A
Other languages
English (en)
Other versions
JP5161678B2 (ja
Inventor
Masaki Ayano
正毅 綾野
Current Assignee (The listed assignees may be inaccurate. Google has not performed a legal analysis and makes no representation or warranty as to the accuracy of the list.)
Furukawa Rock Drill Co Ltd
Original Assignee
Furukawa Rock Drill Co Ltd
Priority date (The priority date is an assumption and is not a legal conclusion. Google has not performed a legal analysis and makes no representation as to the accuracy of the date listed.)
Filing date
Publication date
Application filed by Furukawa Rock Drill Co Ltd filed Critical Furukawa Rock Drill Co Ltd
Priority to JP2008184776A priority Critical patent/JP5161678B2/ja
Publication of JP2010024652A publication Critical patent/JP2010024652A/ja
Application granted granted Critical
Publication of JP5161678B2 publication Critical patent/JP5161678B2/ja
Expired - Fee Related legal-status Critical Current
Anticipated expiration legal-status Critical

Links

Images

Landscapes

  • Shovels (AREA)
  • Working Measures On Existing Buildindgs (AREA)

Abstract

【課題】タイル等の剥離対象の剥離作業を効率的に行うことができる剥離装置を提供する。
【解決手段】この剥離装置10は、シリンダ2と、そのシリンダ2内に摺嵌されて圧油の給排に応じて往復動するピストン1と、そのピストン1の軸線上に摺動可能に配置され且つピストン1で打撃されて進退するとともに自身先端にスクレーパ9が装着されるスライダ6と、そのスライダ6をスクレーパ9側に付勢するように設けられた付勢ばね7とを備えて構成されている。
【選択図】図4

Description

本発明は、屋内改装等においてタイル等の剥離対象を剥離するための剥離装置に関する。
屋内の改装工事では、床に接着されたタイルやカーペット、あるいは壁面の吹付け材等の内装材などの剥離対象を剥離する作業が生じる。そこで、この剥離作業を効率的に行うために、油圧ショベル等の作業機に取付け可能な剥離装置が開発されている(例えば特許文献1参照)。
例えば特許文献1に記載の剥離装置は、圧油で駆動する油圧モータと、この油圧モータに連結された偏心輪と、この偏心輪の回転振動が伝達されるへら(スクレーパ)とを備えて構成されている。この剥離装置は、油圧ショベル側からの圧油が油圧モータに供給されると、油圧モータに連結された偏心輪が回転する。この偏心輪は、その重心と回転軸とが一致していない構造になっている。そのため、その回転にともなって振動が発生し、この回転振動が、剥離作業のために必要な力(以下、「作業力」ともいう)としてへら(スクレーパ)に伝達され、これにより、タイル等を剥離するものである。
実開平3−33151号公報
しかしながら、特許文献1に記載の剥離装置は、偏心輪の回転振動によってその作業力を得ているので、作業力の方向が円周方向に沿った方向となる。そのため、この作業力の方向と剥離作業の作業方向とは一致しておらず、剥離作業において作業力を効率的に利用する上で未だ検討の余地が残されている。また、上記剥離装置での作業力は、偏心輪の回転速度によってその作業力の大きさを調整可能ではあるものの、偏心輪の回転速度は飛躍的に大きく変えることは困難なので、その調整範囲が狭いものになっている。したがって、剥離対象の剥離時の抵抗力(例えばタイルと床との相互の接着力)が強く、高い作業力が必要とされる場合でも、剥離時の抵抗力の強さに応じて作業力を飛躍的に増大させることが難しい。
そこで、本発明は、このような問題点に着目してなされたものであって、タイル等の剥離対象の剥離作業を一層効率的に行うために、作業方向と剥離装置の振動方向が一致しており、さらに、剥離対象の剥離時の抵抗力に応じて作業力を増大させることのできる剥離装置を提供することを目的としている。
上記課題を解決するために、本発明は、床等に接着されたタイル等の剥離対象を剥離するための剥離装置であって、シリンダと、そのシリンダ内に摺嵌されて圧油の給排に応じて往復動するピストンと、自身先端にスクレーパが装着されるとともに前記ピストンの軸線上に摺動可能に配置されるスライダと、そのスライダをスクレーパ側に付勢するように設けられた付勢ばねとを備え、前記スライダは、前記ピストンが当該スライダを打撃可能な位置から前記ピストンが当該スライダに接しない位置までをその摺動範囲とし、当該スライダが最前進した位置では前記ピストンが当該スライダに接しないことを特徴としている。
本発明に係る剥離装置によれば、往復動するピストンの軸線上にスライダを摺動可能に配置しており、このスライダが、スクレーパ側にピストンによって所定範囲で打撃されて進退するので、ピストンの軸線と同一方向の作業力をスライダに生じさせ、この作業力によってスライダ先端に装着されたスクレーパでタイル等の剥離対象を剥離することができる。したがって、剥離作業の方向と作業力の方向とが一致しているため、タイル等の剥離対象の剥離作業を一層効率的に行うことができる。
また、本発明に係る剥離装置によれば、スライダは、付勢ばねでスクレーパ側に付勢されているので、スクレーパを剥離対象に押しつけると、スライダは、剥離対象の剥離時の抵抗力に応じた量だけ、ピストン側に押し込まれた状態となり、その位置でピストンに打撃される。そのため、スライダに生じる作業力を、スライダがピストン側に押し込まれた量に応じて変化させることができる。したがって、剥離対象の剥離時の抵抗力に応じて作業力を増大させることができる。
さらに、前記スライダは、前記ピストンが当該スライダを打撃可能な位置から前記ピストンが当該スライダに接しない位置までをその摺動範囲とし、当該スライダが最前進した位置では前記ピストンが当該スライダに接しないので、作業負荷の少ない場合はピストンはスライダを打撃せず、ピストンの往復動によって発生する振動で剥離作業を行うことができる。また、このときピストンの振動の方向と剥離作業の方向が同じなので効率がよい。そして、作業負荷が増大するとピストンはスライダを打撃し強力な衝撃力によって剥離作業を行うことができる。
ここで、本発明に係る剥離装置において、前記シリンダは、前記ピストンを減速させるブレーキ室を有し、当該ブレーキ室は、前記ピストンが前記スライダを打撃するときに、前記スライダが最後退した位置において前記ピストンの速度が最大になるとともに、前記スライダ側に移動するにつれて前記ピストンを減速させるようになっていることは好ましい。このような構成であれば、負荷の増加量に応じて打撃力を増大させることができるので処理対象に過大な破損が生じることがなく、作業力の大きさを調整可能としつつ、その調整範囲を一層広く設定可能な構成とする上で好適である。
また、本発明に係る剥離装置において、前記スライダは、前記ピストンが当該スライダを打撃可能な位置から前記ピストンが当該スライダに接しない位置までをその摺動範囲として有することは好ましい。このような構成であれば、作業力の大きさを調整可能としつつ、その調整範囲を一層広く設定可能な構成とする上で好適である。
上述のように、本発明に係る剥離装置によれば、作業方向と剥離装置の振動方向が一致しており、さらに、作業状況に応じて作業力を増大させることができる。したがって、タイル等の剥離対象の剥離作業を一層効率的に行うことができる。
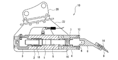
以下、本発明の一実施形態について、図面を適宜参照しつつ説明する。ここで、本実施形態は、屋内の改装工事において、剥離対象として床Fに接着されたタイルTを剥離する例である。なお、図1は、本発明に係る剥離装置を装着した油圧ショベル(作業機)を説明する図である。
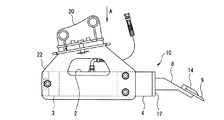
同図に示すように、この油圧ショベル30は、走行台車34と、その走行台車34上で旋回可能な旋回台36と、その旋回台36に起伏自在に支持されたアーム32とを備えている。そして、このアーム32の先端部に、ブラケット20を介して剥離装置10が装着されている。なお、このブラケット20は、その左右に且つ下方に延出して設けられる一対の側板22を備えており、剥離装置10は、この一対の側板22同士の間に挟持されて、複数のボルトによって固定されている。
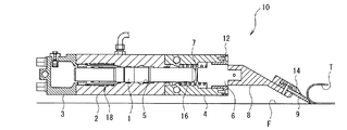
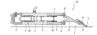
次に、上記剥離装置10について図2〜図4を参照しつつ詳しく説明する。なお、図2は、図1の剥離装置10の側面図、図3は図2でのA矢視図、また、図4は、図1の剥離装置10の断面図であり、同図では、剥離装置10を、その軸線を含む断面にて図示している。
この剥離装置10は、図2ないし図3に示すように、その軸方向での中央部にシリンダ2を有し、このシリンダ2の先端側(図2ないし図3での右側)にフロントヘッド4、また、後端側にバックヘッド3を備え、これらがねじ等によって相互に一体に連結されて剥離装置本体が構成されている。
そして、図4に示すように、上記シリンダ2内には、軸方向に往復動可能にピストン1が摺嵌されている。また、上記フロントヘッド4内には、その先端側からスライダ6が挿着されており、フロントヘッド4の先端側にはカバー12が設けられている。そして、このカバー12によって、ピストン1およびシリンダ2と同軸線上に摺動可能にスライダ6が保持されている。このスライダ6には、その前部にホルダ8が取付けられており、このホルダ8の先端に、スクレーパ固定板14によって、スクレーパ9を着脱可能に装着できるようになっている。
さらに、フロントヘッド4内には、スライダ6の後端側とピストン1との間の位置に、打撃室16が形成されている。また、この打撃室16内には、スライダ6を前方、つまりスクレーパ9側(同図右側)に付勢するように設けられた付勢ばね7が介装されている。本実施形態の例では、この付勢ばね7として円筒コイルばねを用いており、この円筒コイルばねの外周部分が打撃室16の内周面で支持され、また、円筒コイルばねの内周部分がスライダ6後端の小径部分で支持されることで、その介装された姿勢および伸縮時の動作が安定するようになっている。なお、スライダ6は、打撃室16の前方側の段部とカバー12の後方側の端面とによって、自身の軸方向での前後の移動が規制され、これにより、その往復移動する摺動範囲が制限されている。ここで、このスライダ6の摺動範囲は、次の条件を満たすように設定されている。すなわち、スライダ6が最も前方にあるときには、ピストン1が打撃室16の最も前方にあっても、スライダ6がピストン1と接しないようになっている。一方、スライダ6が最も後方にあるときには、ピストン1はブレーキ室5に進入することなく、スライダ6がピストン1とピストン1の速度が最大の状態で接するようになっている。
そして、上記シリンダ2の内部には、ピストン1を往復駆動させるための油圧ポートを有する切換弁機構18が設けられており、不図示の油圧供給源から圧油が供給されると、この切換弁機構18で高圧回路と低圧回路とを交互に切換えることにより、ピストン1が前後進可能になっている。これにより、上記スライダ6は、その後端面がピストン1の先端で打撃されることによって、その摺動範囲内で軸方向に所定距離の進退動が可能になっている。
さらに、シリンダ2内には、フロントヘッド4側の位置に、ピストン1を減速させるためのブレーキ室5が設けられている。このブレーキ室5は、室内に高圧油が常時供給されており、ピストン1が上記打撃室16内に進入し且つスライダ6側に移動するときに、高圧油がピストン1の受圧部に作用するとともに、圧油の粘性抵抗を利用することによって、スライダ6側に移動するにつれてピストン1を急速に減速させるようになっている。図5に、ピストン1の前進時におけるピストン1の位置とその速度の関係、並びにピストン1およびスライダ6の位置の関係を模式的に示す。
同図に示すように、スライダ6がその摺動範囲において最も後方にある場合には(同図での符号Aの位置)、ピストン1がスライダ6を打撃するときに、ブレーキ室5によるピストン1への減速はほとんど行われない位置で打撃するように構成されている。これにより、ピストン1はその速度が最大の状態でスライダ6を打撃することができる。これに対し、スライダ6がその摺動範囲の中間(例えば同図での符号Bの位置)にある場合には、ピストン1はブレーキ室5の作用により打撃室16に進入するにつれてその速度を減速する。これにより、ピストン1は打撃室16に進入した程度に応じてその速度を落とした状態でスライダ6を打撃する。また、スライダ6がその摺動範囲において最も前方にある場合には(同図での符号Cの位置)、往復駆動するピストン1は打撃室16に所定の位置まで進入したところで自身の運動の方向を反転して後方に向けて加速を行うが、この反転位置での速度はゼロ(零)であり、このとき、スライダ6はピストン1と接しないように構成されている。以上のように、この剥離装置10は、スライダ6を打撃する時のピストン1の速度が、ブレーキ室5の作用とスライダ6の位置とによって変化し、スライダ6が後方にあるほどピストン1の打撃時の速度が高くなるようになっている。
次に、この剥離装置10の作業状態、およびこの剥離装置10の作用・効果について説明する。なお、図6ないし図8は、タイルTと床F相互の接着力の差異に応じた作業状態を説明する図である。
この剥離装置10で剥離作業を開始する際は、油圧ショベル30のアーム32先端に剥離装置10を装着した状態とし、この状態から剥離作業を開始する。このとき、剥離装置10のスライダ6は、上記付勢ばね7の作用によって最も前方に位置しているため(例えば図6参照)、上述のように、スライダ6とピストン1とが相互に接することはない。
次いで、この剥離装置10にて床FからタイルTを剥がす剥離作業を行なう場合には、図1に示すように、スライダ6のスクレーパ9をタイルTと床Fとの間に差し込む。これにより、スライダ6は、付勢ばね7に抗して差し込まれた力に応じてフロントヘッド4内にスライド移動する。そして、剥離装置10に圧油を供給すると、内蔵されたピストン1は、スライダ6の位置に応じた速度でスライダ6を打撃する。これにより、スライダ6は、ピストン1での打撃によってスクレーパ9の方向に進行し、スクレーパ9がタイルTと床Fとの間に前進する作業力を得る。
そして、この剥離装置10によれば、上述したように、往復動するピストン1の軸線上にスライダ6を摺動可能に配置しており、このスライダ6がピストン1でスクレーパ9側に打撃されて進退するので、スライダ6にピストン1の軸線と同一方向に作業力を生じさせ、この作業力によって自身先端に装着されたスクレーパ9でタイルTを剥離することができる。したがって、この剥離装置10によれば、剥離作業を行う方向と剥離装置10の作業力の方向とが一致しているため、タイル等の剥離対象の剥離作業を、上述した従来の剥離装置に比べて一層効率的に行うことができる。
特に、この剥離装置10によれば、スライダ6をスクレーパ9側に付勢するように設けた付勢ばね7を備え、シリンダ2は、ピストン1を減速させるブレーキ室5を有し、このブレーキ室5は、ピストン1がスライダ6を打撃するときに、ピストン1がスライダ6側に移動するにつれてピストン1を減速させるようになっており、さらに、スライダ6は、ピストン1がスライダ6を打撃可能な位置からピストン1がスライダ6に接しない位置までをその摺動範囲として有するので、タイルTと床F相互の接着力の程度に応じて、作業力の大きさを調整可能としつつ、その調整範囲を広く設定可能な構成とする上で好適である。
すなわち、スクレーパ9がタイルTおよび床Fから受ける抵抗力はタイルTおよび床F相互の接着力(剥離対象の剥離時の抵抗力)に依存する。そのため、タイルTおよび床F相互の接着力が大であるほど、スライダ6がフロントヘッド4内部に押し込まれる量も大きくなる。
今、スクレーパ9をタイルTと床Fとの間に差し込む前、あるいは、図6に示すように、タイルTと床F相互の接着力が非常に弱い場合には、スクレーパ9に作用する抵抗力も小さい。このとき、この剥離装置10によれば、スライダ6がフロントヘッド4内部に押し込まれる量も少なくなり、ピストン1は、ブレーキ室5で十分に減速された状態でスライダ6を打撃するか、あるいはスライダ6を打撃しない状態となる。そのため、タイルTが床Fから容易に剥離可能な場合には、その剥離に必要十分な、小さな作業力を適切に加えることができる。したがって、床Fを損傷するような過剰な作業力を加えずに剥離作業をすることができる。そして、スライダ6が最前進した位置ではピストン1がスライダ6に接しないので、作業負荷の少ない場合はピストン1はスライダ6を打撃せず、ピストン1の往復動によって発生する振動で剥離作業を行うことができる。また、このときピストン1の振動の方向と剥離作業の方向が同じなのでこの際の作業効率もよい。
また、タイルTが床Fから容易に剥離されない場合には、この状態で油圧ショベル30のアーム32を操作すると、スクレーパ9にはタイルTおよび床Fから比較的に大きな抵抗力が作用する。そのため、スライダ6はフロントヘッド4内部に押し込まれ、この押し込まれる位置は、スクレーパ9がタイルTおよび床Fから受ける抵抗力と、スライダ6を前方に付勢する付勢ばね7のばね力とが釣り合う位置となる。
特に、タイルTと床Fとの接着力が高いときには、図7に示すように、スライダ6は摺動範囲の最も後方の位置まで押し込まれる。このとき、ピストン1がスライダ6と接する打撃位置は、図5での符号Aに示す位置になる。この状態で剥離装置10に圧油が供給されると、油圧によって前方に加速されたピストン1は、ブレーキ室5で減速されることなくスライダ6を打撃する。したがって、スライダ6に強い打撃力が作用し、これにより、強い作業力をスライダ6に発生させ、この作業力がスクレーパ9に伝達され、この強い作業力によってタイルTの剥離を行うことができる。
さらに、タイルTおよび床F相互の接着力が中適度である場合には、図8に示すように、スライダ6はその摺動範囲の中程度まで押し込まれる。この状態で剥離装置10に圧油が供給されると、油圧によって前方に加速されたピストン1は、スライダ6側に移動するにつれてブレーキ室5で減速されてスライダ6を打撃する。そのため、スライダ6には押し込まれた位置に応じた中程度の作業力が発生しこれがスクレーパ9に伝達される。このスクレーパ9に伝えられた作業力は中程度であるから、床Fを損傷することなくタイルTの剥離を行うことができる。また、図8に示す状態よりもタイルTと床Fとの接着力が増減すれば、それに応じてスライダ6がフロントヘッド4内部に押し込まれる量が増減する。そのため、得られる作業力もこれに応じて増減する。したがって、この剥離装置10によれば、タイルTと床Fとの相互の接着力に応じて適切な作業力を得ることができるため、床Fを損傷することなく能率良く効率的にタイルTを剥離することができる。
このように、この剥離装置10によれば、スライダ6を付勢ばね7でスクレーパ9側に付勢しているので、スライダ6は、タイルTと床Fとの相互の接着力、つまり、タイルTの剥離時の抵抗力に応じた量だけフロントヘッド4内部に押し込まれた状態(ピストン1側に押し込まれた状態)でピストン1に打撃される。そして、ピストン1はブレーキ室5の作用によって打撃室16での打撃時の速度が変わるようになっているので、スライダ6に生じる作業力は、スライダ6がピストン1側に押し込まれた量に応じて、タイルTと床Fとの相互の接着力が大きくなるにつれて作業力を増大させることができる。そのため、負荷の増加量に応じて打撃力を増大させることができるので処理対象に過大な破損が生じることがなく、タイルTと床Fとの相互の接着力に応じた作業力を得ることができる。したがって、タイルT等の剥離対象の剥離作業を効率的に行う上でより好適である。
なお、本発明に係る剥離装置10は、上記実施形態に限定されるものではなく、本発明の趣旨を逸脱しなければ種々の変形が可能である。
例えば、上記実施形態では、シリンダ2にピストン1を減速させるブレーキ室5を設けた例で説明したが、これに限らず、ブレーキ室5を設けることなく構成してもよい。しかし、タイル等の剥離対象の剥離作業をより効率的に行う上では、上記実施形態のように、シリンダにブレーキ室を設け、ピストンがスライダを打撃するときに、スライダ側に移動するにつれてピストンを急速に減速させることは好ましい。
また、例えば上記実施形態では、スライダ6は、ピストン1がスライダ6を打撃可能な位置から接しない位置までをその摺動範囲として有する例で説明したが、これに限らず、例えばピストン1がスライダ6を打撃する位置を常に一定の位置とすることもできる。しかし、タイル等の剥離対象の剥離作業をより効率的に行う上では、上記実施形態のように、ピストン1がスライダ6を打撃可能な位置から接しない位置までをその摺動範囲として有する構成とすることは好ましい。
本発明に係る剥離装置を装備した作業機の一実施形態を示す側面図である。 図1の剥離装置の側面図である。 図2の剥離装置のA矢視図である。 図2の剥離装置の断面図において、剥離装置の本体部分をその軸線を含む断面図で示している。 ピストンの位置とピストンの速度との関係を示すグラフ、およびその関係に応じて変わる剥離装置の要部の状態を示す図である。 本発明に係る剥離装置による作業状態(タイルと床相互の接着力が弱い場合)を説明する図である。 本発明に係る剥離装置による作業状態(タイルと床相互の接着力が強い場合)を説明する図である。 本発明に係る剥離装置による作業状態(タイルと床相互の接着力が中程度の場合)を説明する図である。
符号の説明
1 ピストン
2 シリンダ
3 バックヘッド
4 フロントヘッド
5 ブレーキ室
6 スライダ
7 付勢ばね
8 ホルダ
9 スクレーパ
10 剥離装置
12 カバー
14 スクレーパ固定板
16 打撃室
18 切換弁機構
20 ブラケット
22 側板
30 油圧ショベル(作業機)
32 アーム
34 走行台車
36 旋回台
F 床
T タイル(剥離対象)

Claims (2)

  1. 床等に接着されたタイル等の剥離対象を剥離するための剥離装置であって、
    シリンダと、そのシリンダ内に摺嵌されて圧油の給排に応じて往復動するピストンと、自身先端にスクレーパが装着されるとともに前記ピストンの軸線上に摺動可能に配置されるスライダと、そのスライダをスクレーパ側に付勢するように設けられた付勢ばねとを備え、
    前記スライダは、前記ピストンが当該スライダを打撃可能な位置から前記ピストンが当該スライダに接しない位置までをその摺動範囲とし、当該スライダが最前進した位置では前記ピストンが当該スライダに接しないことを特徴とする剥離装置。
  2. 前記シリンダは、前記ピストンを減速させるブレーキ室を有し、当該ブレーキ室は、前記ピストンが前記スライダを打撃するときに、前記スライダが最後退した位置において前記ピストンの速度が最大になるとともに、前記スライダ側に移動するにつれて前記ピストンを減速させるようになっていることを特徴とする請求項1に記載の剥離装置。
JP2008184776A 2008-07-16 2008-07-16 剥離装置 Expired - Fee Related JP5161678B2 (ja)

Priority Applications (1)

Application Number Priority Date Filing Date Title
JP2008184776A JP5161678B2 (ja) 2008-07-16 2008-07-16 剥離装置

Applications Claiming Priority (1)

Application Number Priority Date Filing Date Title
JP2008184776A JP5161678B2 (ja) 2008-07-16 2008-07-16 剥離装置

Publications (2)

Publication Number Publication Date
JP2010024652A true JP2010024652A (ja) 2010-02-04
JP5161678B2 JP5161678B2 (ja) 2013-03-13

Family

ID=41730732

Family Applications (1)

Application Number Title Priority Date Filing Date
JP2008184776A Expired - Fee Related JP5161678B2 (ja) 2008-07-16 2008-07-16 剥離装置

Country Status (1)

Country Link
JP (1) JP5161678B2 (ja)

Cited By (3)

* Cited by examiner, † Cited by third party
Publication number Priority date Publication date Assignee Title
CN103496657A (zh) * 2013-09-03 2014-01-08 中国人民解放军总后勤部建筑工程研究所 一种轮式机动破障车
CN111706089A (zh) * 2020-06-22 2020-09-25 河南城建学院 一种建筑施工用卸料平台
CN112681676A (zh) * 2020-12-07 2021-04-20 江苏新貌城市建设有限公司 一种旧小区改造用保温真石漆喷涂装置

Citations (2)

* Cited by examiner, † Cited by third party
Publication number Priority date Publication date Assignee Title
JPH0333151U (ja) * 1989-08-10 1991-04-02
JPH0688436A (ja) * 1992-09-07 1994-03-29 Takeshi Mizuno 床材剥離機

Patent Citations (2)

* Cited by examiner, † Cited by third party
Publication number Priority date Publication date Assignee Title
JPH0333151U (ja) * 1989-08-10 1991-04-02
JPH0688436A (ja) * 1992-09-07 1994-03-29 Takeshi Mizuno 床材剥離機

Cited By (5)

* Cited by examiner, † Cited by third party
Publication number Priority date Publication date Assignee Title
CN103496657A (zh) * 2013-09-03 2014-01-08 中国人民解放军总后勤部建筑工程研究所 一种轮式机动破障车
CN103496657B (zh) * 2013-09-03 2015-09-30 中国人民解放军总后勤部建筑工程研究所 一种轮式机动破障车
CN111706089A (zh) * 2020-06-22 2020-09-25 河南城建学院 一种建筑施工用卸料平台
CN112681676A (zh) * 2020-12-07 2021-04-20 江苏新貌城市建设有限公司 一种旧小区改造用保温真石漆喷涂装置
CN112681676B (zh) * 2020-12-07 2022-09-06 江苏新貌城市建设有限公司 一种旧小区改造用保温真石漆喷涂装置

Also Published As

Publication number Publication date
JP5161678B2 (ja) 2013-03-13

Similar Documents

Publication Publication Date Title
US5520254A (en) Fluid-actuated impact hammer
JP6309022B2 (ja) プッシュスタート機能を有する衝撃レンチ
JP5161678B2 (ja) 剥離装置
CN105829029A (zh) 手持工具机
JP2009527370A5 (ja)
JP2013230514A (ja) 打込み工具
US10058987B2 (en) Hand-held power tool
AU2014343102B2 (en) A pneumatic hammer device and a method pertaining to a pneumatic hammer device
JP6045372B2 (ja) 電動湿式微粒化装置
EP1802426B1 (en) Percussion device
CN102773841A (zh) 一种新型电锤
CA2606788C (en) Percussion device for a rock drilling machine, method for achieving a reciprocating percussion piston movement and rock drilling machine
JP2008543592A5 (ja)
JP4481229B2 (ja) 固着具打込装置
US8739896B2 (en) Percussion device
US20170274517A1 (en) Hand-held chiselling machine tool
JP2008543593A (ja) 打撃装置用バルブ装置及び削岩機用打撃装置
JP2006000983A (ja) 打込力切換え可能な固着具打込装置
CA2459858A1 (en) Pneumatic carpet setter
KR20130024471A (ko) 머드펌프를 구비한 지하천공기

Legal Events

Date Code Title Description
A625 Written request for application examination (by other person)

Free format text: JAPANESE INTERMEDIATE CODE: A625

Effective date: 20110509

TRDD Decision of grant or rejection written
A977 Report on retrieval

Free format text: JAPANESE INTERMEDIATE CODE: A971007

Effective date: 20121205

A01 Written decision to grant a patent or to grant a registration (utility model)

Free format text: JAPANESE INTERMEDIATE CODE: A01

Effective date: 20121211

A61 First payment of annual fees (during grant procedure)

Free format text: JAPANESE INTERMEDIATE CODE: A61

Effective date: 20121214

R150 Certificate of patent or registration of utility model

Ref document number: 5161678

Country of ref document: JP

Free format text: JAPANESE INTERMEDIATE CODE: R150

Free format text: JAPANESE INTERMEDIATE CODE: R150

FPAY Renewal fee payment (event date is renewal date of database)

Free format text: PAYMENT UNTIL: 20151221

Year of fee payment: 3

R250 Receipt of annual fees

Free format text: JAPANESE INTERMEDIATE CODE: R250

LAPS Cancellation because of no payment of annual fees