JP2010020850A - 光ディスク装置および発光制御方法 - Google Patents
光ディスク装置および発光制御方法 Download PDFInfo
- Publication number
- JP2010020850A JP2010020850A JP2008181715A JP2008181715A JP2010020850A JP 2010020850 A JP2010020850 A JP 2010020850A JP 2008181715 A JP2008181715 A JP 2008181715A JP 2008181715 A JP2008181715 A JP 2008181715A JP 2010020850 A JP2010020850 A JP 2010020850A
- Authority
- JP
- Japan
- Prior art keywords
- recording medium
- light emission
- clocks
- light emitting
- optical disc
- Prior art date
- Legal status (The legal status is an assumption and is not a legal conclusion. Google has not performed a legal analysis and makes no representation as to the accuracy of the status listed.)
- Granted
Links
Images
Classifications
-
- G—PHYSICS
- G11—INFORMATION STORAGE
- G11B—INFORMATION STORAGE BASED ON RELATIVE MOVEMENT BETWEEN RECORD CARRIER AND TRANSDUCER
- G11B23/00—Record carriers not specific to the method of recording or reproducing; Accessories, e.g. containers, specially adapted for co-operation with the recording or reproducing apparatus ; Intermediate mediums; Apparatus or processes specially adapted for their manufacture
- G11B23/38—Visual features other than those contained in record tracks or represented by sprocket holes the visual signals being auxiliary signals
- G11B23/42—Marks for indexing, speed-controlling, synchronising, or timing
-
- G—PHYSICS
- G11—INFORMATION STORAGE
- G11B—INFORMATION STORAGE BASED ON RELATIVE MOVEMENT BETWEEN RECORD CARRIER AND TRANSDUCER
- G11B23/00—Record carriers not specific to the method of recording or reproducing; Accessories, e.g. containers, specially adapted for co-operation with the recording or reproducing apparatus ; Intermediate mediums; Apparatus or processes specially adapted for their manufacture
- G11B23/38—Visual features other than those contained in record tracks or represented by sprocket holes the visual signals being auxiliary signals
- G11B23/44—Information for display simultaneously with playback of the record, e.g. photographic matter
Landscapes
- Optical Recording Or Reproduction (AREA)
Abstract
【課題】レーベル面に記載された可視情報を任意の位置で目視することが可能な光ディスク装置を提供する。
【解決手段】本発明の光ディスク装置100は、情報記録面に複数のアドレスが記録された光ディスク114を回転させるスピンドルモータ110と、スピンドルモータ110により回転される光ディスク114の情報記録面に対して情報信号を記録再生する光ピックアップ116と、光ディスク114のレーベル面に対して光を照射するストロボ発光部150と、複数のアドレスから選択された一の基準アドレスと光ディスク114から読み取り可能な基準信号とに基づいてストロボ発光部150を発光させる制御部121とを備える。
【選択図】図2
【解決手段】本発明の光ディスク装置100は、情報記録面に複数のアドレスが記録された光ディスク114を回転させるスピンドルモータ110と、スピンドルモータ110により回転される光ディスク114の情報記録面に対して情報信号を記録再生する光ピックアップ116と、光ディスク114のレーベル面に対して光を照射するストロボ発光部150と、複数のアドレスから選択された一の基準アドレスと光ディスク114から読み取り可能な基準信号とに基づいてストロボ発光部150を発光させる制御部121とを備える。
【選択図】図2
Description
本発明は、光ディスク装置および発光制御方法に関し、より詳細には、回転する記録媒体のレーベル面を視認することの可能な光ディスク装置およびその発光制御方法に関する。
近年、映像や音声をデジタル形式で記録する記録媒体として光ディスクを利用することが一般的になっている。光ディスクの非記録面であるレーベル面には可視情報を記載することが可能であり、例えば光ディスクに記録した内容に関する情報等を記載することによって光ディスクの管理を容易にすることができる。
レーベル面に印刷された可視情報は、記録媒体が停止している場合には視認することができるが、記録媒体が高速で回転している場合には視認することができない。しかし、再生中の光ディスクの内容を確認したり、レーベル面に可視情報を印刷する際に印刷が正しく行われているか否かを確認するため、記録媒体が高速回転している場合にもレーベル面の可視情報を視認できることが求められている。
このような要求に対して、例えば特許文献1には、記録媒体が回転しているときにもレーベル面の可視情報を視認できるように、レーベル面に対してストロボライトを発光させる技術が開示されている。かかるディスク装置は、ディスク上のアドレスからディスクの回転周期を検出し、検出された回転周期に基づいて発光手段の発光制御を行う。
しかし、ディスクのレーベル面に記載された可視情報と情報記録面の情報とは対応していない。このため、特許文献1のディスク装置においては、レーベル面の可視情報がディスク上のどの位置に記載されているかをユーザが入力しなければ任意の位置で目視することはできなかった。
そこで、本発明は、上記問題に鑑みてなされたものであり、本発明の目的とするところは、レーベル面に記載された可視情報を任意の位置で目視することが可能な、新規かつ改良された光ディスク装置および発光制御方法を提供することにある。
上記課題を解決するために、本発明のある観点によれば、情報記録面に複数のアドレスが記録された記録媒体を回転させる回転駆動部と、回転駆動部により回転される記録媒体の情報記録面に対して情報信号を記録再生する光ピックアップと、記録媒体のレーベル面に対して光を照射する発光部と、複数のアドレスから選択された一の基準アドレスと記録媒体から読み取り可能な基準信号とに基づいて発光部を発光させる制御部とを備える、光ディスク装置が提供される。
本発明によれば、記録媒体の基準アドレスと、記録媒体の盤面上から読み取り可能な基準信号に基づいて、記録媒体の基準となる位置状態や記録媒体の回転角度を検出し、発光部を発光させる。このように、記録媒体が有する情報に基づいて発光部の発光を制御することにより、記録媒体の回転角度を正確に把握することができ、記録媒体を所望の位置で目視可能にすることができる。
また、制御部は、光ピックアップにより基準信号を検出する検出部と、基準アドレスに基づいて記録媒体の基準位置状態を決定する決定部と、基準信号および基準アドレスに基づいて発光部を発光させる発光タイミングを算出するタイミング算出部と、発光タイミングに基づいて発光部を発光させる発光制御部とを備えることもできる。
さらに、タイミング算出部は、基準位置状態から発光部を発光させる発光位置までの記録媒体の回転角度を基準信号のクロック数に変換した表示クロック数を算出するようにしてもよい。このとき、発光制御部は、基準アドレスを読み取った基準位置状態から基準信号のクロック数のカウントを開始し、当該クロック数が表示クロック数になったとき発光部を発光させる。
また、発光制御部は、記録媒体が所定数回転する毎に基準位置状態から基準信号のクロック数をカウントし、クロック数が表示クロック数となったときに発光部を発光させるようにしてもよい。あるいは、タイミング算出部は、記録媒体が所定数回転する毎に表示クロック数を所定のクロック数ずつ変更するようにしてもよい。ここで、所定数は、1または2以上の数とすることができる。
本実施形態にかかる光ディスク装置は、記録媒体のレーベル面の表示位置を入力する入力部をさらに備えることもできる。このとき、タイミング算出部は、基準位置状態から表示位置を表示させるまでの記録媒体の回転角度を表示クロック数に変換する。そして、発光制御部は、基準位置状態から基準信号のクロック数のカウントし、クロック数が表示クロック数になったとき発光部を発光させるようにしてもよい。
基準アドレスは、記録媒体のレーベル面の印刷時に記録媒体の回転制御の基準となるアドレスであってもよい。
また、上記課題を解決するために、本発明の別の観点によれば、情報記録面に複数のアドレスが記録された記録媒体を回転させる回転駆動ステップと、回転される記録媒体の前記情報記録面に対して情報信号を記録再生する記録再生ステップと、記録媒体のレーベル面に対して光を照射する発光ステップと、複数のアドレスから選択された一の基準アドレスと記録媒体から読み取り可能な基準信号とに基づいて発光部を発光させる制御ステップとを含む、発光制御方法が提供される。
以上説明したように本発明によれば、レーベル面に記載された可視情報を任意の位置で目視することが可能な光ディスク装置および発光制御方法を提供することができる。
以下に添付図面を参照しながら、本発明の好適な実施の形態について詳細に説明する。なお、本明細書及び図面において、実質的に同一の機能構成を有する構成要素については、同一の符号を付することにより重複説明を省略する。
(第1の実施形態)
まず、図1および図2に基づいて、本発明の第1の実施形態にかかる光ディスク装置100について説明する。なお、図1は、本実施形態にかかる光ディスク装置100の構成を示すブロック図である。図2は、本実施形態にかかる光ディスク装置100の制御部121の構成を示すブロック図である。
まず、図1および図2に基づいて、本発明の第1の実施形態にかかる光ディスク装置100について説明する。なお、図1は、本実施形態にかかる光ディスク装置100の構成を示すブロック図である。図2は、本実施形態にかかる光ディスク装置100の制御部121の構成を示すブロック図である。
<光ディスク装置の構成>
本実施形態にかかる光ディスク装置100は、CD−R(Compact Disc−Recordable)やDVD−RW(Digital versatile Disc−Rewritable)等のディスク状の記録媒体の一例である光ディスク114の情報記録面に対して、新たに情報信号を記録(書き込み)したり、予め記録されている情報信号を再生(読み出し)したりすることができる。
本実施形態にかかる光ディスク装置100は、CD−R(Compact Disc−Recordable)やDVD−RW(Digital versatile Disc−Rewritable)等のディスク状の記録媒体の一例である光ディスク114の情報記録面に対して、新たに情報信号を記録(書き込み)したり、予め記録されている情報信号を再生(読み出し)したりすることができる。
かかる光ディスク装置100は、図1に示すように、光ディスク114を回転させるスピンドルモータ110と、光ピックアップ116と、信号処理部120と、ドライブ制御部132と、トレイ駆動回路134と、記録制御回路136と、モータ駆動回路138と、中央制御部140と、インタフェース部145と、ストロボ発光部150とを備えて構成される。
スピンドルモータ110は、光ディスク114を回転させる回転駆動部である。スピンドルモータ110の回転軸には光ディスク114が載置されるテーブル111が設けられる。光ディスク114の中心孔をテーブル111に嵌合させることにより、光ディスク114をテーブル111と一体となって回転させることができる。また、スピンドルモータ110は、テーブル111に嵌合された光ディスク114の上方から光ディスク114を固定するチャッキングプレート112を備える。チャッキングプレート112は、支持板(図示せず。)に回転可能に支持されており、光ディスク114と一体となって回転することができる。このように、チャッキングプレート112とテーブル111とによって光ディスク114を挟持することにより、光ディスク114がテーブル111から外れるのを防止する。
光ピックアップ116は、光を出射する発光部と、発光部から出射された光の戻り光を受光する受光部とからなる。光ピックアップ116は、スピンドルモータ110により回転された光ディスク114の情報記録面へ光を出射することにより情報信号を記録する。また、光ピックアップ116は、発光部から出射された光の戻り光を受光部にて検出することにより予め情報記録面に記録されている情報信号を再生する。光ピックアップ116は、ピックアップベース(図示せず。)に搭載され、ピックアップベースと一体に移動される。
信号処理部120は、光ピックアップ116から入力される信号(例えばRF(Radio Frequency)信号)から再生データ信号を生成する処理部である。また、信号処理部120は、RF信号に基づいて同期信号等の特定パターンを有する信号や光ディスクの位置情報を示す位置データ信号を検出する。信号処理部120は、検出した再生データ信号および位置データ信号を後述するドライブ制御部132へ出力する。
また、信号処理部120は、ストロボ発光部150の発光を制御する制御部121を備える。制御部121は、図2に示すように、アドレス信号処理部122と、ホームポジション生成部124と、タイミング算出部126と、発光制御部128とから構成される。
アドレス信号処理部122は、光ディスク114上の複数のアドレスのうち一のアドレスについて、光ディスク114が1回転する間のクロック数を取得する。アドレス信号処理部122は、光ディスク114上から読み取り可能な基準信号のクロック数を測定するクロックカウンタ(図示せず。)から、光ディスク114が1回転する間のクロック数を取得する。なお、基準信号は、回転制御に用いられる信号であって、光ピックアップ116からの位置データ信号に基づいて光ディスク114の盤面上から読み取られたクロックに基づいて生成される信号である。このようなクロックとして、例えばウォブル(wobble)クロックを用いることができる。アドレス信号処理部122は、取得したクロック数をホームポジション生成部124へ出力する。
ホームポジション生成部124は、光ディスク114の回転およびレーベル面の表示の基準位置状態となるホームポジションを決定する。ホームポジション生成部124は、光ディスク114上の複数のアドレスから決定された基準アドレスを決定する。そして、ホームポジション生成部124は、光ピックアップ116により読み取ったアドレスと基準アドレスとが一致したときの光ディスク114の位置状態をホームポジションとする。
タイミング算出部126は、ストロボ発光部150を発光させる発光タイミングを算出する。タイミング算出部126は、後述するインタフェース部145から光ディスク114のレーベル面について表示させたい位置状態が入力されると、ホームポジションから当該位置状態までの回転角度を示すクロック数である表示クロック数を算出する。タイミング算出部126は、算出した表示クロック数を発光制御部128へ出力する。
発光制御部128は、タイミング算出部126により算出された表示クロック数に基づいてストロボ発光部150を発光させる。
図1に戻り、ドライブ制御部132は、制御信号を後述するモータ駆動回路128へ出力し、スピンドルモータ110とピックアップベースを駆動するピックアップ駆動モータ(図示せず。)の駆動を制御する。また、ドライブ制御部132は、制御信号を光ピックアップ116へ出力し、光ピックアップ116から出射される光が光ディスク114のトラックを追跡するようにトラックサーボおよびフォーカスサーボを制御する。さらに、ドライブ制御部132は、後述する記録制御回路134へ再生データ信号を出力し、トレイ駆動回路136へトレイの開閉を制御する開閉制御信号を出力する。また、ドライブ制御部132は、信号処理部120から入力されたデータ信号のうち少なくとも位置データ信号を後述する中央制御部140へ出力する。
記録制御回路134は、ドライブ制御部132から入力された再生データ信号にエンコード処理や変調等の処理を行い、処理された再生データ信号をドライブ制御部132へ出力する。また、トレイ駆動回路136は、ドライブ制御部132から入力された開閉制御信号に基づいて、トレイの開閉駆動を行う駆動部(図示せず。)を制御する制御信号を生成する。そして、モータ駆動回路138は、ドライブ制御部132から入力される制御信号に基づいてスピンドルモータ110を回転駆動する。
中央制御部140は、ドライブ制御部132を制御する。中央制御部140は、インタフェース部145から入力される記録データ信号をドライブ制御部132へ出力する。また、中央制御部140は、光ディスク114の情報記録面から読み出した再生データ信号等をインタフェース部145を介して外部装置へ出力する。
インタフェース部145は、例えばパーソナルコンピュータ等の外部装置と光ディスク装置100とを接続する接続部である。インタフェース部145は、外部装置から入力された信号を中央制御部140へ出力したり、中央制御部140から入力された信号を外部装置へ出力したりする。外部装置から入力される信号としては、例えば、光ディスク114の情報記録面に記録する記録情報に対応した記録データ信号等がある。一方、中央制御部140から入力される信号としては、例えば、光ディスク114の情報記録面から読み出した再生データ信号等がある。
ストロボ発光部150は、光ディスク114のレーベル面に光を照射する発光部であって、例えば瞬間的に光を発する閃光装置等を用いることができる。ストロボ発光部150は、発光制御部128により発光制御されて発光する。ここで、光ディスク114の回転が高速で、かつストロボ発光部150の発光時間が長いと、発光中に光ディスク114が回転してしまい、目視される可視情報がぶれてしまう。例えば、発光中に光ディスク114が回転するとレーベル面に記載された可視情報(例えば、文字)が移動する間の残像が見えてしまう。発光時間はなるべく短くするほど可視情報はぶれずに見えるが、光量が不足してレーベル面全体を視認することができなくなる可能性がある。このため、ストロボ発光部150の明るさにより発光時間を調整する。ストロボ発光部150の発光時間により、回転中に目視されるレーベル面の可視情報の画質が決定する。
以上、本実施形態にかかる光ディスク装置100の構成について説明した。本実施形態にかかる光ディスク装置100は、回転状態の光ディスク114のレーベル面に記載された可視情報を視認することができるように、所定のタイミングでストロボ発光部150を発光させる。
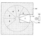
ここで、光ディスク114の発光位置とストロボ発光部150の発光タイミングとの関係を図3および図4に基づいて説明する。上述したように、発光制御部128は、光ピックアップ116により基準アドレスを読み取り、基準アドレスからカウントされる基準信号のクロック数が表示クロック数となったときにストロボ発光部150を発光させる。例えば、基準アドレスPを光ピックアップ116で読み取ったときにストロボ発光部150を発光させる場合、光ディスク114は図3に示すような位置状態のときにストロボ発光部150は発光される。このとき、ユーザは、図3に示す状態のレーベル面を目視することができる。
しかし、図4に示すように、光ディスク装置100の構成により、筐体160に形成された開口部162から光ディスク114のレーベル面の一部しか目視することができない場合には、レーベル面の特定部分しか目視することができない。すなわち、ストロボ発光部150がホームポジションにおいて発光するとき、ホームポジションにおいて開口部162に対応するレーベル面の第1のエリアは目視することができるが、他のエリアは目視することができない。
そこで、本実施形態にかかるストロボ発光部の発光制御方法は、開口部162の位置に所望のエリアを対応させる等、レーベル面の可視情報を所望の位置で目視できるようにストロボ発光部150の発光タイミングを制御する。以下、図5〜図9Dに基づいて、本実施形態にかかるストロボ発光部150の発光制御方法について説明する。なお、図5は、本実施形態にかかる発光制御方法を説明するフローチャートである。図6は、本実施形態にかかるストロボ発光部150の発光タイミングを説明するための説明図である。図7は、光ディスク114のレーベル面の表示位置を説明するための説明図である。図8は、ストロボ発光部150を発光させないときの光ディスク114のレーベル面の見え方を示す説明図である。図9A〜図9Dは、ストロボ発光部150の発光タイミングにより変化する光ディスク114のレーベル面の見え方を示す説明図である。
<発光制御方法>
本実施形態にかかるストロボ発光部150の発光制御方法は、図4に示すように、まず、光ディスク114の1回転中のクロック数を測定する(ステップS100)。本実施形態にかかる光ディスク装置100は、光ディスク114の盤面上から読み取り可能なクロックを基準信号として用いる。このようなクロックとして、例えばウォブル(wobble)クロックを用いることができる。ウォブルクロックは、図6に示すように、周期的に発せられている。アドレス信号処理部122は、光ディスク114上の複数のアドレスのうち一のアドレスについて、光ディスク114が1回転する間の基準信号のクロック数をクロックカウンタ(図示せず。)により取得する。例えば、基準アドレスについて光ディスク114が1回転する間のウォブルクロックのクロック数を取得した場合、光ディスク114の1回転中のクロック数は、図6に示すホーム信号の1区間に存在するウォブルクロックのクロックの数となる。
本実施形態にかかるストロボ発光部150の発光制御方法は、図4に示すように、まず、光ディスク114の1回転中のクロック数を測定する(ステップS100)。本実施形態にかかる光ディスク装置100は、光ディスク114の盤面上から読み取り可能なクロックを基準信号として用いる。このようなクロックとして、例えばウォブル(wobble)クロックを用いることができる。ウォブルクロックは、図6に示すように、周期的に発せられている。アドレス信号処理部122は、光ディスク114上の複数のアドレスのうち一のアドレスについて、光ディスク114が1回転する間の基準信号のクロック数をクロックカウンタ(図示せず。)により取得する。例えば、基準アドレスについて光ディスク114が1回転する間のウォブルクロックのクロック数を取得した場合、光ディスク114の1回転中のクロック数は、図6に示すホーム信号の1区間に存在するウォブルクロックのクロックの数となる。
次いで、レーベル面の表示部分についてホームポジションからの回転角度を設定する(ステップS102)。例えば図4に示すように光ディスク装置100の開口部162からレーベル面の一部のみしか目視できない場合に、どの位置を目視できるようにするかを設定する。レーベル面の表示する位置は、例えば図7に示すように、ホームポジション(図7に示す光ディスク114の位置状態)から回転方向にどれだけ回転しているかにより表すことができる。例えば、エリアAを表示させる場合にはホームポジションからのずれはないので、0°と設定する。同様に、エリアBであれば45°、エリアCであれば90°、エリアDであれば180°、エリアEであれば270°、エリアFであれば315°と設定する。
さらに、ホームポジションから発光位置までのクロック数を算出する(ステップS104)。発光位置は、光ディスク114のレーベル面を所望の位置状態で見せるために、ストロボ発光部150を発光させる位置である。ステップS104は、ステップS100で算出された光ディスク114の1回転中のクロック数およびステップS102で設定された角度に基づいて、光ディスク114がホームポジションから設定された角度だけ回転した位置状態となるまでのクロック数を算出する。かかるクロック数は、表示クロック数とも称する。
その後、ホームポジションの検出を開始する(ステップS106)。ホームポジション生成部124は、光ディスク114上の基準アドレスPを読み取り、基準アドレスPと光ピックアップ116により読み取ったアドレスとが一致した位置をホームポジションとする。また、基準アドレスPと光ピックアップ116により読み取ったアドレスとが一致したときにアクティブとなる信号をホーム信号とする(図6参照)。かかる処理は、ホームポジションが検出されるまで行われる(ステップS108)。
次いで、ホームポジションが検出されると、ホームポジションからのウォブルクロックのクロック数をカウントする(ステップS110)。そして、カウントするクロック数とステップS104で算出した表示クロック数とが等しいか否かを判定し(ステップS112)、これらのクロック数が等しくなるまでカウント処理を行い、判定処理を繰り返す。
ステップS112において、カウントするクロック数とホームポジションから発光位置までのクロック数とが等しいと判定されると、発光制御部128はストロボ発光部150を発光させる(ステップS114)。これにより、回転する光ディスク114のレーベル面が照射され、レーベル面の可視情報を目視することができる(ステップS116)。
その後、レーベル面の表示位置を変更する指示があるか否かを判定し(ステップS118)、表示位置の変更指示があった場合にはステップS102の処理に戻る。そして、新たな表示位置についてホームポジションから発光位置までのクロック数を算出し、ホームポジションを検出して、ホームポジションからカウントしたクロック数が表示クロック数と等しくなったときにストロボ発光部150を発光させる。
一方、ステップS118において表示位置の変更指示がないと判定したときはレーベル面の表示処理を終了する終了指示があるか否かを判定する(ステップS120)。終了指示がない場合には、ステップS106へ戻り、ストロボ発光部150を発光させてレーベル面の表示を継続して行う。終了指示があったときには、レーベル面の表示処理を終了する。
以上、本実施形態にかかるストロボ発光部150の発光制御方法について説明した。ここで、本実施形態にかかる発光制御方法によりストロボ発光部150を発光させて、図7のエリアA、エリアC、エリアDおよびエリアEを光ディスク装置100の開口部162から目視できるようにすることについて説明する。
エリアAを表示させる場合には、ホームポジションからのずれがないため、ホーム信号がアクティブとなるタイミングでストロボ発光部150を発光させればよい。この発光タイミングは、図6のフラッシュ1のようになる。また、エリアBを表示させる場合には、エリアBはホームポジションから90°のずれがあるため、発光タイミングを光ディスク114がホームポジションから90°回転したときに発光するように設定する。光ディスク114が1/4回転したときのクロック数は、図6のホーム信号の1/4区間に存在するウォブルクロックのクロック数に相当する。これより、エリアBを表示させる発光タイミングは、図6のフラッシュ2のように、ホーム信号がアクティブとなる位置から上記クロック数だけ遅延した位置でアクティブとなるように設定される。
同様に、エリアCを表示させる場合には、発光タイミングを光ディスク114がホームポジションから180°回転(1/2回転)したときに発光するように設定する。すなわち、エリアCを表示させる発光タイミングは、図6のフラッシュ3のように、ホーム信号がアクティブとなる位置からホーム信号の1/2区間に存在するクロック数だけ遅延した位置でアクティブとなるように設定される。そして、エリアDを表示させる場合には、発光タイミングを光ディスク114がホームポジションから270°回転(3/4回転)したときに発光するように設定する。すなわち、エリアDを表示させる発光タイミングは、図6のフラッシュ4のように、ホーム信号がアクティブとなる位置からホーム信号の3/4区間に存在するクロック数だけ遅延した位置でアクティブとなるように設定される。
回転状態にある光ディスク114のレーベル面を、ストロボ発光部150を発光させないで目視した場合、図8に示すように、レーベル面の可視情報は流れてしまい可視情報を認識することは困難である。一方、ストロボ発光部150を所定の発光タイミングで発光させると、図9A〜図9Dに示すように、発光タイミングに応じた位置でレーベル面の可視情報を認識することができる。
例えば、図6において、フラッシュ1の発光タイミングに基づいてストロボ発光部150を発光させると、図9Aに示すように、ホームポジションと同一の状態で停止しているように見える。このとき、開口部162には、エリアA(図7参照)が対応する。また、フラッシュ2の発光タイミングに基づいてストロボ発光部150を発光させると、図9Bに示すように、ホームポジションから90°回転した状態で停止しているように見える。このとき、開口部162には、エリアC(図7参照)が対応する。さらに、フラッシュ3の発光タイミングに基づいてストロボ発光部150を発光させると、図9Cに示すように、ホームポジションから180°回転した状態で停止しているように見える。このとき、開口部162には、エリアE(図7参照)が対応する。そして、フラッシュ4の発光タイミングに基づいてストロボ発光部150を発光させると、図9Dに示すように、ホームポジションから270°回転した状態で停止しているように見える。このとき、開口部162には、エリアF(図7参照)が対応する。
このように、基準信号および基準アドレスに基づいてストロボ発光部150の発光タイミングを変更することにより、所望の位置状態で光ディスク114のレーベル面を目視することができる。これにより、光ディスク装置100の開口部162から光ディスク114のレーベル面の一部のみしか目視できないときであっても、レーベル面の任意の位置を開口部162から目視できるようにすることができる。また、光ディスク114のレーベル面全体を目視できる場合にも、本実施形態にかかる発光制御方法を用いることにより、ユーザが光ディスク114を目視する方向に合わせて光ディスク114の位置状態を変更することができる。
また、光ディスク114のレーベル面に記載された可視情報と盤面上のアドレスとが関連付けられていれば、光ディスク114のレーベル面を所望の位置状態にすることが容易になる。ここで、ストロボ発光部150の発光制御に用いる基準アドレスに、可視情報をレーベル面に印刷する際に光ディスク114の回転制御に用いるアドレスを用いることで、レーベル面に記載された可視情報と盤面上のアドレスとの位置関係が関連付けることができる。これにより、ユーザが別途入力しなくとも、レーベル面の可視情報がディスク上のどの位置に記載されているかを基準アドレスから把握することができ、光ディスクのレーベル面を所望の位置状態で見せることが可能となる。
以上、本実施形態にかかる光ディスク装置100の構成およびストロボ発光部150の発光制御方法について説明した。本実施形態によれば、光ディスク114上の基準アドレスと、光ディスク114の盤面上から読み取り可能な基準信号(例えば、ウォブルクロック)とに基づいて、光ディスク114のレーベル面の任意の位置を視認することができる。
(第2の実施形態)
次に、図10〜図13に基づいて、本発明の第2の実施形態にかかる光ディスク装置100の発光制御方法について説明する。本実施形態にかかる光ディスク装置100の構成は、第1の実施形態と同一とすることができる。本実施形態にかかる発光制御方法は、光ディスク114がゆっくりと回転しているように目視可能にストロボ発光部150を発光させることを特徴とする。以下、本実施形態にかかる発光制御方法について説明する。なお、図10は、本実施形態にかかる発光制御方法を説明するフローチャートである。図11は、本実施形態にかかるストロボ発光部150の発光タイミングを説明するための説明図である。図12は、図11に示す発光タイミングにより目視される光ディスク114の状態を示す説明図である。図13Aおよび図13Bは、開口部162から視認される光ディスク114の状態を示す説明図である。また、本実施形態の発光制御方法の説明において、第1の実施形態と同様の処理についての詳細な説明は省略する。
次に、図10〜図13に基づいて、本発明の第2の実施形態にかかる光ディスク装置100の発光制御方法について説明する。本実施形態にかかる光ディスク装置100の構成は、第1の実施形態と同一とすることができる。本実施形態にかかる発光制御方法は、光ディスク114がゆっくりと回転しているように目視可能にストロボ発光部150を発光させることを特徴とする。以下、本実施形態にかかる発光制御方法について説明する。なお、図10は、本実施形態にかかる発光制御方法を説明するフローチャートである。図11は、本実施形態にかかるストロボ発光部150の発光タイミングを説明するための説明図である。図12は、図11に示す発光タイミングにより目視される光ディスク114の状態を示す説明図である。図13Aおよび図13Bは、開口部162から視認される光ディスク114の状態を示す説明図である。また、本実施形態の発光制御方法の説明において、第1の実施形態と同様の処理についての詳細な説明は省略する。
<発光制御方法>
本実施形態にかかる発光制御方法は、図10に示すように、まず、ホームポジションから発光位置までのクロック数を初期化する(ステップS200)。次いで、ホームポジションの検出を開始する(ステップS202)。ホームポジション生成部124は、光ディスク114上の基準アドレスを読み取り、基準アドレスと光ピックアップ116により読み取ったアドレスとが一致した位置をホームポジションとする。そして、ホームポジションが検出されるまでホームポジションの検出を続ける(ステップS204)。
本実施形態にかかる発光制御方法は、図10に示すように、まず、ホームポジションから発光位置までのクロック数を初期化する(ステップS200)。次いで、ホームポジションの検出を開始する(ステップS202)。ホームポジション生成部124は、光ディスク114上の基準アドレスを読み取り、基準アドレスと光ピックアップ116により読み取ったアドレスとが一致した位置をホームポジションとする。そして、ホームポジションが検出されるまでホームポジションの検出を続ける(ステップS204)。
さらに、ホームポジションが検出されると、ホームポジションからのウォブルクロックのクロック数をカウントする(ステップS206)。カウントするクロック数とホームポジションから発光位置までのクロック数とが等しいか否かを判定し(ステップS208)、これらのクロック数が等しくなるまで判定処理を繰り返す。
ステップS208において、カウントするクロック数とホームポジションから発光位置までのクロック数とが等しいと判定されると、発光制御部128はストロボ発光部150を発光させる(ステップS210)。これにより、回転する光ディスク114のレーベル面が照射され、レーベル面の可視情報を目視することができる(ステップS212)。なお、ステップS200〜S212の処理は、図5に示す第1の実施形態の発光制御方法におけるステップS104〜S116までの処理と同一である。
その後、ホームポジションから発光位置までのクロック数を変更する(ステップS214)。本実施形態にかかる発光制御方法は、図11に示すように、光ディスク114が1回転する毎にストロボ発光部150の発光タイミングをずらすことにより、光ディスク114がゆっくりと回転して見えるようにストロボ発光部150を発光させるものである。第1の実施形態で説明したように、ホームポジションから発光位置までの回転角度をクロック数で表し、ホームポジションから当該クロック数をカウントしたときにストロボ発光部150を発光させると、光ディスク114を所望の位置状態で目視することができる。そこで、光ディスク114が1回転する毎にストロボ発光部150の発光タイミングを所定のクロック数ずつ遅くすることにより、図12に示すようにレーベル面の可視情報が所定の方向にゆっくりと回転するように見えるようになる。
ステップS214では、現在のホームポジションから発光位置までのクロック数である表示クロック数に所定のクロック数を加算する。このようにストロボ発光部150の発光タイミングをずらすことにより、光ディスク114がゆっくりと回転しているように見せることができる。
そして、レーベル面の表示処理を終了する終了指示があるか否かを判定する(ステップS216)。終了指示がない場合には、ステップS202へ戻り、新たに設定された表示クロック数に基づいてストロボ発光部150を発光させる。一方、ステップS216にて終了指示があったときには、レーベル面の表示処理を終了する。
以上、本実施形態にかかるストロボ発光部150の発光制御方法について説明した。このように、光ディスク114がゆっくりと回転するように見せることにより、光ディスク装置100の開口部162から光ディスク114のレーベル面の一部しか目視することができない場合にも、レーベル面全体を把握することができる。例えば、光ディスク装置100の開口部162から目視できる可視情報が図13Aに示すようなものであったとする。その後、所定の時間が経過すると、図13Bに示すようにレーベル面の表示位置が変化し、図13Aとは別の可視情報を目視することができる。
以上、本実施形態にかかる光ディスク装置100における発光制御方法について説明した。本実施形態の発行制御方法によれば、ストロボ発光部150による発光タイミングを光ディスク114が1回転する毎に所定のクロック数ずつずらすことにより、光ディスク114がゆっくり回転しているように見せることができる。これにより、レーベル面の一部のみしか目視できない場合であっても、光ディスク114が回転しているように見えるので、レーベル面全体を把握することができる。
以上、添付図面を参照しながら本発明の好適な実施形態について詳細に説明したが、本発明はかかる例に限定されない。本発明の属する技術の分野における通常の知識を有する者であれば、特許請求の範囲に記載された技術的思想の範疇内において、各種の変更例または修正例に想到し得ることは明らかであり、これらについても、当然に本発明の技術的範囲に属するものと了解される。
例えば、上記実施形態では、制御部121は信号処理部120内に設けられたが、本発明はかかる例に限定されない。例えば、図14に示すように、信号処理部120内にアドレス信号処理部222およびホームポジション生成部224とからなる処理部220を設け、タイミング算出部232および発光制御部234とからなる処理部230を別途設けるようにしてもよい。
また、上記実施形態では、光ディスク114の盤面上から読み取り可能なアドレスを用いて光ディスク114の回転位置を検出して発光制御を行ったが、本発明はかかる例に限定されない。例えば、光ディスク114を光ディスク装置100に挿入したときに、光ディスク114のアドレスとエンコーダとの関連付けを行い、エンコーダのパルスとZ層の信号とに基づいて、本発明と同様に発光制御を行うことができる。
さらに、上記実施形態では、光ディスク114が1回転する毎に所定の発光タイミングでストロボ発光部150を発光させたが、本発明はかかる例に限定されない。例えば、光ディスク114の回転速度が速いときには、光ディスク114が複数回転する毎に(例えば、2回転する毎に)ストロボ発光部150を1回発光させるようにしてもよい。また、光ディスク114が所定数回転する毎に表示クロック数を変更することもできる。これにより、光ディスク114がよりゆっくり回転しているように見せることができる。
このように、ホーム信号とディスクの盤面上のクロックとを用いてレーベル印刷を行うシステムにおいて、本発明の発光制御を行えば、印刷している任意の場所をユーザが目視することが可能となる。また、回転毎に発光させるクロック数を変更すれば、印刷の様子をゆっくり回転しているように見せることも可能である。このとき、ディスク上のアドレスとエンコーダとを関連付けて発光制御する方法もディスクの盤面上のクロックを用いて発光制御する方法と同様に動作することが可能である。
100 光ディスク装置
110 スピンドルモータ
114 光ディスク
116 光ピックアップ
120 信号処理部
121 制御部
122、222 アドレス信号処理部
124、224 ホームポジション生成部
126、232 タイミング算出部
128、234 発光制御部
150 ストロボ発光部
162 開口部
110 スピンドルモータ
114 光ディスク
116 光ピックアップ
120 信号処理部
121 制御部
122、222 アドレス信号処理部
124、224 ホームポジション生成部
126、232 タイミング算出部
128、234 発光制御部
150 ストロボ発光部
162 開口部
Claims (9)
- 情報記録面に複数のアドレスが記録された記録媒体を回転させる回転駆動部と、
前記回転駆動部により回転される前記記録媒体の前記情報記録面に対して情報信号を記録再生する光ピックアップと、
前記記録媒体のレーベル面に対して光を照射する発光部と、
前記複数のアドレスから選択された一の基準アドレスと前記記録媒体から読み取り可能な基準信号とに基づいて前記発光部を発光させる制御部と、
を備える、光ディスク装置。 - 前記制御部は、
前記光ピックアップにより前記基準信号を検出する検出部と、
前記基準アドレスに基づいて前記記録媒体の基準位置状態を決定する決定部と、
前記基準信号および前記基準アドレスに基づいて前記発光部を発光させる発光タイミングを算出するタイミング算出部と、
前記発光タイミングに基づいて前記発光部を発光させる発光制御部と、
を備える、請求項1に記載の光ディスク装置。 - 前記タイミング算出部は、前記基準位置状態から前記発光部を発光させる発光位置までの前記記録媒体の回転角度を前記基準信号のクロック数に変換した表示クロック数を算出し、
前記発光制御部は、前記基準位置状態から前記基準信号のクロック数のカウントを開始し、前記クロック数が前記表示クロック数になったとき前記発光部を発光させる、請求項2に記載の光ディスク装置。 - 前記発光制御部は、前記記録媒体が所定数回転する毎に前記基準位置状態から前記基準信号のクロック数をカウントし、前記クロック数が前記表示クロック数となったときに前記発光部を発光させる、請求項3に記載の光ディスク装置。
- 前記タイミング算出部は、前記記録媒体が所定数回転する毎に前記表示クロック数を所定のクロック数ずつ変更する、請求項3に記載の光ディスク装置。
- 前記所定数は、1または2以上の数である、請求項4または5に記載の光ディスク装置。
- 前記記録媒体のレーベル面の表示位置を入力する入力部をさらに備え、
前記タイミング算出部は、前記基準位置状態から前記表示位置を表示させるまでの前記記録媒体の回転角度を前記表示クロック数に変換し、
前記発光制御部は、前記基準位置状態から前記基準信号のクロック数のカウントし、前記クロック数が前記表示クロック数になったとき前記発光部を発光させる、請求項3に記載の光ディスク装置。 - 前記基準アドレスは、前記記録媒体のレーベル面の印刷時に前記記録媒体の回転制御の基準となるアドレスである、請求項1に記載の光ディスク装置。
- 情報記録面に複数のアドレスが記録された記録媒体を回転させる回転駆動ステップと、
回転される前記記録媒体の前記情報記録面に対して情報信号を記録再生する記録再生ステップと、
前記記録媒体のレーベル面に対して光を照射する発光ステップと、
前記複数のアドレスから選択された一の基準アドレスと前記記録媒体から読み取り可能な基準信号とに基づいて前記発光部を発光させる制御ステップと、
を含む、発光制御方法。
Priority Applications (3)
| Application Number | Priority Date | Filing Date | Title |
|---|---|---|---|
| JP2008181715A JP4557062B2 (ja) | 2008-07-11 | 2008-07-11 | 光ディスク装置および発光制御方法 |
| US12/489,581 US8111598B2 (en) | 2008-07-11 | 2009-06-23 | Optical disk apparatus and emission control method |
| CN2009101400424A CN101625884B (zh) | 2008-07-11 | 2009-07-10 | 光盘装置和发光控制方法 |
Applications Claiming Priority (1)
| Application Number | Priority Date | Filing Date | Title |
|---|---|---|---|
| JP2008181715A JP4557062B2 (ja) | 2008-07-11 | 2008-07-11 | 光ディスク装置および発光制御方法 |
Publications (2)
| Publication Number | Publication Date |
|---|---|
| JP2010020850A true JP2010020850A (ja) | 2010-01-28 |
| JP4557062B2 JP4557062B2 (ja) | 2010-10-06 |
Family
ID=41505050
Family Applications (1)
| Application Number | Title | Priority Date | Filing Date |
|---|---|---|---|
| JP2008181715A Expired - Fee Related JP4557062B2 (ja) | 2008-07-11 | 2008-07-11 | 光ディスク装置および発光制御方法 |
Country Status (3)
| Country | Link |
|---|---|
| US (1) | US8111598B2 (ja) |
| JP (1) | JP4557062B2 (ja) |
| CN (1) | CN101625884B (ja) |
Cited By (2)
| Publication number | Priority date | Publication date | Assignee | Title |
|---|---|---|---|---|
| WO2011118012A1 (ja) * | 2010-03-25 | 2011-09-29 | 富士通株式会社 | マルチコアプロセッサシステム、制御プログラム、および制御方法 |
| JP2012254512A (ja) * | 2011-06-10 | 2012-12-27 | Disco Corp | 加工装置 |
Families Citing this family (2)
| Publication number | Priority date | Publication date | Assignee | Title |
|---|---|---|---|---|
| US8693300B1 (en) * | 2010-08-20 | 2014-04-08 | Marvell International Ltd. | Write PLL for optical disc labeling applications |
| US20210169675A1 (en) | 2019-12-05 | 2021-06-10 | Vision Quest Industries Incorporated Dba Vq Orthocare | Orthopedic device |
Citations (2)
| Publication number | Priority date | Publication date | Assignee | Title |
|---|---|---|---|---|
| JPH10199227A (ja) * | 1997-01-06 | 1998-07-31 | Sony Corp | ディスク再生装置 |
| JPH11250644A (ja) * | 1998-02-26 | 1999-09-17 | Kenwood Corp | ディスクプレーヤー |
Family Cites Families (4)
| Publication number | Priority date | Publication date | Assignee | Title |
|---|---|---|---|---|
| KR100312619B1 (ko) * | 1998-05-15 | 2001-12-28 | 구자홍 | 기록매체종류판별장치및판별방법과그에따른초기구동전압제어방법 |
| JP2002150762A (ja) | 2000-11-07 | 2002-05-24 | Teac Corp | ディスク装置 |
| US20030123353A1 (en) * | 2001-12-27 | 2003-07-03 | Hiroshi Ito | Optical disc apparatus |
| JP3758614B2 (ja) * | 2002-06-28 | 2006-03-22 | ヤマハ株式会社 | 光ディスク記録装置及び光ディスクに対する画像形成方法 |
-
2008
- 2008-07-11 JP JP2008181715A patent/JP4557062B2/ja not_active Expired - Fee Related
-
2009
- 2009-06-23 US US12/489,581 patent/US8111598B2/en not_active Expired - Fee Related
- 2009-07-10 CN CN2009101400424A patent/CN101625884B/zh not_active Expired - Fee Related
Patent Citations (2)
| Publication number | Priority date | Publication date | Assignee | Title |
|---|---|---|---|---|
| JPH10199227A (ja) * | 1997-01-06 | 1998-07-31 | Sony Corp | ディスク再生装置 |
| JPH11250644A (ja) * | 1998-02-26 | 1999-09-17 | Kenwood Corp | ディスクプレーヤー |
Cited By (3)
| Publication number | Priority date | Publication date | Assignee | Title |
|---|---|---|---|---|
| WO2011118012A1 (ja) * | 2010-03-25 | 2011-09-29 | 富士通株式会社 | マルチコアプロセッサシステム、制御プログラム、および制御方法 |
| US9292339B2 (en) | 2010-03-25 | 2016-03-22 | Fujitsu Limited | Multi-core processor system, computer product, and control method |
| JP2012254512A (ja) * | 2011-06-10 | 2012-12-27 | Disco Corp | 加工装置 |
Also Published As
| Publication number | Publication date |
|---|---|
| US8111598B2 (en) | 2012-02-07 |
| US20100008197A1 (en) | 2010-01-14 |
| JP4557062B2 (ja) | 2010-10-06 |
| CN101625884B (zh) | 2011-09-14 |
| CN101625884A (zh) | 2010-01-13 |
Similar Documents
| Publication | Publication Date | Title |
|---|---|---|
| JP4557062B2 (ja) | 光ディスク装置および発光制御方法 | |
| JP4569625B2 (ja) | ディスクドライブ装置及びディスク印刷方法 | |
| JP4979018B2 (ja) | コンピュータプログラム、並びに情報再生装置及び方法 | |
| JP4817452B2 (ja) | 情報表示装置、コンピュータプログラム及び制御方法 | |
| TWI232442B (en) | Recording disc and apparatus for playing back recorded information | |
| CN1643365B (zh) | 分析装置及其使用的分析用盘片 | |
| EP1873763A1 (en) | Optical disk image drawing method and optical disk apparatus, and optical disk recording medium | |
| JPH10188430A (ja) | ラウンドルーレット制御方法 | |
| JP2002157853A (ja) | ディスクカートリッジ及びディスクドライブ装置 | |
| JPH11338956A (ja) | ディスクバーコードデータ再生装置 | |
| JP2005228410A5 (ja) | ||
| JP2011141948A (ja) | 回転操作装置、コンピュータプログラム及び制御方法 | |
| JPH097288A (ja) | 光ディスク再生装置及び光ディスクの判別方法 | |
| US7940619B2 (en) | Optical disk apparatus and optical disk recording method with format warning information | |
| JP5349150B2 (ja) | 再生装置及び再生方法 | |
| TW200818129A (en) | Optical disc access apparatus for evaluating compatibility between a disc and a disc drive and method thereof | |
| JP3879748B2 (ja) | 光ディスク装置および光ディスクマウント方法 | |
| KR100643698B1 (ko) | 랜드 프리피트 검출장치 | |
| EP1553767A3 (en) | Image recording and/or reproducing apparatus | |
| JP2006040433A5 (ja) | ||
| JP3964696B2 (ja) | 光記録媒体の性能データ算出装置及び方法 | |
| JP2012053966A (ja) | オーディオ再生装置 | |
| KR20050082600A (ko) | 광디스크의 라벨 이미지 기록 및 재생방법 | |
| JP2011096325A (ja) | 光ディスク装置及び偏重心パラメータ選択方法 | |
| JP2000057581A (ja) | 円盤状記録媒体 |
Legal Events
| Date | Code | Title | Description |
|---|---|---|---|
| TRDD | Decision of grant or rejection written | ||
| A01 | Written decision to grant a patent or to grant a registration (utility model) |
Free format text: JAPANESE INTERMEDIATE CODE: A01 Effective date: 20100629 |
|
| A01 | Written decision to grant a patent or to grant a registration (utility model) |
Free format text: JAPANESE INTERMEDIATE CODE: A01 |
|
| A61 | First payment of annual fees (during grant procedure) |
Free format text: JAPANESE INTERMEDIATE CODE: A61 Effective date: 20100712 |
|
| FPAY | Renewal fee payment (event date is renewal date of database) |
Free format text: PAYMENT UNTIL: 20130730 Year of fee payment: 3 |
|
| LAPS | Cancellation because of no payment of annual fees |