JP2010007604A - 輸液ユニット - Google Patents

輸液ユニット Download PDF

Info

Publication number
JP2010007604A
JP2010007604A JP2008169337A JP2008169337A JP2010007604A JP 2010007604 A JP2010007604 A JP 2010007604A JP 2008169337 A JP2008169337 A JP 2008169337A JP 2008169337 A JP2008169337 A JP 2008169337A JP 2010007604 A JP2010007604 A JP 2010007604A
Authority
JP
Japan
Prior art keywords
case
pump
cable
hose
tube
Prior art date
Legal status (The legal status is an assumption and is not a legal conclusion. Google has not performed a legal analysis and makes no representation as to the accuracy of the status listed.)
Granted
Application number
JP2008169337A
Other languages
English (en)
Other versions
JP2010007604A5 (ja
JP5283991B2 (ja
Inventor
Kenichi Ono
健一 小野
Mitsuharu Kimura
光春 木村
Kenji Nozaki
健志 野崎
Sosuke Akiyama
壮右 秋山
Current Assignee (The listed assignees may be inaccurate. Google has not performed a legal analysis and makes no representation or warranty as to the accuracy of the list.)
Welco Co Ltd
Original Assignee
Welco Co Ltd
Priority date (The priority date is an assumption and is not a legal conclusion. Google has not performed a legal analysis and makes no representation as to the accuracy of the date listed.)
Filing date
Publication date
Application filed by Welco Co Ltd filed Critical Welco Co Ltd
Priority to JP2008169337A priority Critical patent/JP5283991B2/ja
Publication of JP2010007604A publication Critical patent/JP2010007604A/ja
Publication of JP2010007604A5 publication Critical patent/JP2010007604A5/ja
Application granted granted Critical
Publication of JP5283991B2 publication Critical patent/JP5283991B2/ja
Active legal-status Critical Current
Anticipated expiration legal-status Critical

Links

Images

Landscapes

  • Washing And Drying Of Tableware (AREA)
  • Details And Applications Of Rotary Liquid Pumps (AREA)

Abstract

【課題】チューブポンプのモータとこのモータを制御する制御部をケースに収容した輸液ユニットにおいて、組立工数や部品点数を増やすことなく、ケースとチューブポンプとの間のシール性を十分に確保することである。
【解決手段】チューブポンプのロータが支持されると共にチューブが収容されるベースが、チューブポンプのモータ及び制御部が収容される枡形状のケース本体の本体を塞ぐようにケース本体に固定されている構成とすることにより、上記課題を解決した。
【選択図】 図5

Description

本発明は、チューブポンプを搭載した輸液ユニットに関する。
飲食店等で大量の食器を洗浄するための装置として、特許文献1のような食器洗浄機が広く利用されている。このような食器洗浄機は、洗浄液を温水で希釈した洗浄水が洗浄水タンクに溜められており、洗浄水ポンプにてこの洗浄水をくみ上げて洗浄室内の食器に噴射して食器の洗浄を行う。次いで、清浄な温水(すすぎ水)をすすぎ水ポンプにてくみ上げて洗浄室内の食器に噴射して食器のすすぎを行う。食器の洗浄に使用された洗浄水及びすすぎに使用されたすすぎ水は洗浄水タンクに送られ、次回の洗浄時に使用される。また、洗浄水タンクが空のときは、すすぎ水ポンプを駆動してすすぎ水を洗浄水タンクに供給して、タンクを満水にする。
特開2004−89843
このような食器洗浄機には、食器を洗浄するための洗浄水に洗浄液を混入する、或いは、食器をすすぐためのすすぎ水にリンスを混入するための輸液ユニットが使用される。
輸液ユニットとしては、特許文献1に使用されているもののような、チューブポンプを使用したものが広く利用されている。チューブポンプとは、U字状のフレーム壁面に沿って配置されたチューブの内側にチューブを圧搾するローラを配置し、チューブの軸方向に沿った円周上をローラが周回することにより、チューブの蠕動によって輸液を行うものである。ローラを周回させるため、ローラはロータに保持されており、このロータをモータで回転することによってチューブポンプは輸液を行う。一般的に、チューブポンプは、チューブ、ローラ及びロータがフレームに収容されており、このフレームにモータが固定された構成となっている。輸液ユニットは、このチューブポンプのモータと、チューブポンプを制御するための制御部とを防水性のケースに収容したものである。
食器洗浄機に使用される輸液ユニットは、水分の飛沫がかかりやすい環境にて使用されるものであるため、チューブポンプのモータをケース内に収容する必要がある。このため、ケースの一面にモータが通過できる程度の大きな開口を形成し、この開口からチューブポンプのモータをケース内に入れ、次いでこの一面にチューブポンプのフレームをねじ止め等で固定する。すなわち、チューブポンプのフレームが、輸液ユニットのケースの開口を塞ぐ蓋として機能する。
食器洗浄機用の輸液ユニットに使用されるチューブポンプのモータは、直径30mm程度であるため、輸液ユニットのケースに形成される開口も、モータの径に合わせて大きく取る必要がある。しかしながら、このような大きな開口を備えたケースにおいて、ケースとチューブポンプのフレームとの間に配置されるパッキンのシール性能を確保するために、従来はチューブポンプを多くのビスでケースに固定するか、或いは接着剤をパッキンの両面に塗布する等の追加の工程を必要としていた。
本発明は上記の目的を達成するためになされたものである。すなわち、本発明は組立工数や部品点数を増やすことなく、ケースとチューブポンプとの間のシール性が十分に確保されたチューブポンプを提供することを目的とする。
上記の目的を達成するため、本発明の輸液ユニットにおいては、チューブポンプのロータが支持されると共にチューブが収容されるベースが、チューブポンプのモータ及び制御部が収容される枡形状のケース本体の本体を塞ぐようにケース本体に固定されている。
このような構成によれば、ベースに設けられる開口はモータの回転軸が通過できる程度の小さなものでよいため、工数や部品点数を増やすことなく、上記開口とチューブポンプとの間のシール性を確保することができる。
また、本発明の輸液ユニットは、輸液ユニットの制御部に外部から電力が供給された後、第1のポンプ駆動時間だけチューブポンプを駆動すると共にタイマによるカウントを開始し、制御部への電力供給が停止する前に、タイマが第1のポンプ駆動時間より長い第1のタイマ時間をカウントした時に、チューブポンプを第2のポンプ駆動時間だけ前記チューブポンプを駆動する。
食器洗浄機において、洗浄水に洗浄液を混入するために使用される輸液ユニットは、空の洗浄水タンクに洗浄水を貯める際に比較的多量の洗浄剤を追加する、及び、すすぎ水によって希釈された洗浄水に少量の洗浄剤を追加する、という二種類の状況に応じてチューブポンプを駆動させる必要がある。輸液ユニットは、ポンプを長時間連続駆動させる長時間駆動モードと、ポンプを短時間だけ駆動して停止する短時間駆動モードの二種類の動作モードのいずれかで動作するようになっており、空の洗浄水タンクに洗浄水を貯める際は長時間駆動モードが選択され、すすぎ水によって希釈された洗浄水に少量の洗浄剤を追加する際は短時間駆動モードが選択される。特許文献1に記載されているもののような、従来の輸液ユニットは、洗浄水タンクの水位や、すすぎ水を洗浄室に供給する際に駆動される電磁弁の動作状態等を検出し、上記二種類の状況のいずれであるかを判定し、その判定結果に基づいて長時間駆動モードと短時間駆動モードとを切り換えている。すなわち、従来の構成においては、上記二種類の状況を判別するためのセンサを食器洗浄機に取り付け、このセンサと輸液ユニットを接続する必要があった。また、センサを使用しない場合は、上記二種類の状況のいずれかであるかに応じて、食器洗浄機の使用者が手動で輸液ユニットの駆動モードを切り換える必要があった。
これに対し、本発明の輸液ユニットは、輸液ユニットに供給される電力の状態のみによって上記二種類の状態のどちらかであるかを判別するものである。本発明の輸液ユニットをすすぎ水ポンプの駆動電源と並列に接続すると、輸液ユニットへの電力の供給はすすぎ水ポンプが駆動している間のみ行われる。また、空の洗浄水タンクに洗浄水を貯める際は、すすぎ時よりも長時間すすぎポンプを連続駆動させる。そのため、本発明においては、第1のタイマ時間以上輸液ユニットに電力が供給された場合は、空の洗浄水タンクに洗浄水を貯めているものと判断し、第1のポンプ駆動時間+第2のポンプ駆動時間という長時間、チューブポンプが駆動され、比較的多量の洗浄剤が供給される。一方、すすぎ時はタイマが第1のタイマ時間をカウントする前に輸液ユニットへの電力供給が停止するため、チューブポンプは第1のポンプ駆動時間のみ駆動されることになり、比較的少量の洗浄剤のみが供給される。
また、本発明の輸液ユニットにおいては、輸液ユニットの制御部が、制御部への電力が停止した時にタイマによるカウントを開始し、制御部への電力供給が再開した時のタイマによるカウント値が第2のタイマ時間以上である時にチューブポンプの駆動を開始すると共にタイマのカウント値をリセットし、制御部への電力供給が再開した時のタイマによるカウント値が第2のタイマ時間未満である時にはチューブポンプの駆動を開始せずに前記タイマのカウント値をリセットする。
前述のように、輸液ユニットはすすぎ水にリンスを混入する際にも使用される。この場合、空の洗浄水タンクに洗浄水を貯める際には輸液ユニットの駆動時間を極力抑えることが、リンス消費量を抑えるという観点からは好ましい。食器洗浄機においては、空の洗浄水タンクに洗浄水を貯める際は、一度に全ての洗浄水を供給するのではなく、複数回に分けて洗浄水の供給を行う。この場合、すすぎ水ポンプは間欠的に駆動することになるが、その間隔(すすぎ水ポンプが停止してから再度駆動されるまでの時間)は比較的短い。一方、食器のすすぎを行う場合においては、すすぎ水ポンプを駆動する前に必ず洗浄を行う必要があり、連続して複数回の食器洗浄を行う場合であっても、すすぎ水ポンプの停止から再駆動までの時間は比較的長くなる。
このため、本発明においては、すすぎ水ポンプの停止から再駆動までの時間を計測し、その時間が第2のタイマ時間未満である時には、空の洗浄水タンクに洗浄水を貯めているものと判断し、輸液ユニットはリンスを供給しない。一方、すぎ水ポンプの停止から再駆動までの時間が第2のタイマ時間以上であるときには、すすぎが行われているものと判断し、すすぎ水ポンプが駆動している間リンスの供給が行われ続ける。
また、食器洗浄機用の輸液装置等の、特に飛沫に曝されるような環境下で使用される電気機器は、スイッチや電源ケーブルのケースへの導入部等から水分が侵入しないように保護することが望まれる。
従来の電気機器においては、ロッカースイッチ等を直接ケースの外側に取り付けていた。このようなスイッチは、スイッチに直接配線が接続されているため、万が一スイッチの摺動部から水分が混入した場合に、水分による短絡が発生する可能性が高い。
本発明においては、電気機器のケースの内部に収容され且つこの電気回路を制御するための電気スイッチを、一端にツマミが形成され他端がケースに設けられた開口に差し込まれるようになっているシリンダと、シリンダの他端に固定されシリンダの回転に伴って揺動して電気スイッチに対して接触/離間可能でありこの接触/離間により電気スイッチを切り換えるアームとを有する回転スイッチによって操作するよう構成されている。
本発明はアームを介してケース内のスイッチを操作するため、ケース外側のスイッチを電源の配線をからある程度離すことができる。このため、万が一スイッチの摺動部から水分が混入したとしても、水分による短絡が発生する可能性は低い。
また、回転スイッチのシリンダとケースとの間にOリング等のシールを設けることによって、回転スイッチとケースとの間からの水分の混入をより確実に防止することができる。
また、本発明においては、内周面がケーブルのシースに密着するようにケーブルに装着される円筒形状のパッキンと、ケースの外面から突出して形成されその内径パッキンの外径よりも小さく構成されているケーブル引込管と、パッキンをケーブル引込管の端面に向けて付勢すると共にケーブル引込管に固定されるケーブルロックとを有するケーブルクランプ機構により、ケーブルとケースとの隙間からの水分の侵入を防止している。ここで、ケーブル引込管の外周には突起が設けられており、ケーブルロックがケーブル引込管が差し込まれる円筒部を有し、円筒部の内周には突起を収容するための凹部である突起収容部が形成されており、突起収容部と円筒部の内周との間にはこの内周に沿ったらせん状に延びる段差部が形成されており、段差部には突起と係合する突起係合凹面が形成されており、突起収容部に突起が入るようにケーブル引込管を円筒部に差し込み、次いで突起が段差部に沿って移動するようにケーブルロックを回転させて、突起を突起係合凹面に係合させることによって、ケーブルロックがケーブル引込管に固定されるようにしている。
この構成により、パッキンがケーブル引込管とケーブルロックとの間で圧縮されてケーブルとケーブル引込管との間の隙間をふさぎ、この隙間からの水分の侵入を防止することができる。また、ケーブル引込管の突起が突起係合凹面に収容された状態では、パッキンの反発力によって突起が突起係合凹面に向かって付勢されるため、ケーブルロックは容易にはケーブル引込管から外れないようになっており、パッキンによる良好なシールが維持される。
また、輸液装置は、液切れを検知するための液面センサから液切れの信号を受けて、ポンプの動作を停止する、或いは警報を発する等の動作を行ってもよい。このような液面センサは、検査用光線を放射する光源と、ホースの内周面で反射した検査用光線を受光する受光部とを有する。ここで、検査用光線はホースの側方からホースの内周面に向かって入射し、ホース内に液体が無い時はホースの内周で検査用光線が反射して受光部に入射し、ホース内に液体がある時にはホースの内周でほとんど反射しないように、光源は配置されている。
また、本発明の液面センサは、光源及び受光部が収容されるケースと、ケースの前面を覆うカバーとをさらに有しており、ケースの前面にはホースが収容されるホース収容凹部が形成され、カバーにおいてケースの前面と対向する背面には、弾性体が設けられており、ホースをホース収容凹部に配置し、次いでカバーをケースに取り付けると弾性体と収容凹部との間でホースが弾性体に圧迫されてケースにホースが固定されるようになっている。
この構成によれば、ホースと弾性体との間に働く摩擦力によって、ホースを液面センサに強固に固定することができる。
好ましくは、カバーとケースの一方には爪が形成されると共に他方には爪と係合可能な溝が複数段に亙って形成されており、爪と溝の係合によってカバーが前記ケースに固定され、爪と係合する溝に応じてケースに対するカバーの位置を調整可能である。このような構成によれば、ホースの径に応じてカバーの位置を調整することができるため、複数種類の径のホースを液面センサに固定することができる。
また、ケース及びカバーが、光を実質通さない材料にて形成されていることがより好ましい。このような構成によれば、ケース外部の光源からの光が受光部に入射することによって起こりうる液面センサの誤動作を防止することができる。
また、液面センサが、ケース内の温度を計測するセンサと、ケース内の温度が変化しても光源からの光の光量が略一定に保たれるように温度センサの計測結果に基づいて光源に供給する電力を調整する光源調整手段と、をさらに有する構成とすることが好ましい。
以上のように、本発明によれば、組立工数や部品点数を増やすことなく、ケースとチューブポンプとの間のシール性が十分に確保されたチューブポンプが実現される。
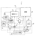
以下、本発明の実施の形態について図面を用いて説明する。図1は、本実施形態の食器洗浄機のブロック図を示したものである。なお、図1において、実線の矢印は洗浄水、すすぎ水、洗浄液、リンスなどの液体の流れを示すものであり、破線の矢印はポンプへの電力供給の流れを示すものである。
本実施形態の食器洗浄機1は、洗浄室40に収容された食器を洗浄する装置である。本実施形態の食器洗浄機は、洗浄室40内に洗浄水を供給するための洗浄部10と、洗浄室40にすすぎ水を供給するためのすすぎ部20とを有している。洗浄室40内の食器は、洗浄部10から供給される洗浄水によって洗浄された後、すすぎ部20から供給されるすすぎ水によってすすがれるようになっている。
洗浄部10は、洗浄水タンク12、洗浄液ボトル14、洗浄水ポンプ16、及び洗浄液用ポンプユニット100を有している。洗浄水タンク12に溜められる洗浄水は、水に洗浄液を加えたものである。洗浄液用ポンプユニット100は、洗浄液ボトル14内の洗浄液を洗浄水タンク12に送るための輸液手段である。洗浄水ポンプ16は、洗浄水タンク12に溜められた洗浄水を汲み出して洗浄室40に送る。
すすぎ部20は、貯湯タンク22と、リンスボトル24と、すすぎ水ポンプ26と、リンス用ポンプユニット200とを有している。貯湯タンク22には、図示しない外部の給湯手段によって60〜80度程度に加熱された飲用可能な水(以下、「温水」という。)が溜められる。すすぎ水ポンプ26は、貯湯タンク22に溜められた温水を汲み出して洗浄室40に送る。この時、リンス用ポンプユニット200を駆動して、すすぎ水にリンス(乾燥仕上げ剤)を加える。
洗浄室40に送られた洗浄水及びすすぎ水は、食器の汚れを洗い流した後、洗浄水タンク12に戻される。この時、洗浄水タンクからあふれた洗浄水又はすすぎ水は排水される。従って、洗浄水中の洗浄液の濃度は、食器の洗浄を行うたびに徐々に低下する。そこで、本実施形態においては、適宜洗浄液用ポンプユニット100を駆動して、洗浄水に洗浄液を追加するようになっている。
図1に示されるように、すすぎ水ポンプ26と洗浄室40との間には、三方切換弁34が設けられている。三方切換弁34は、すすぎ水ポンプ26から送られる温水を、洗浄水タンク12と洗浄室40のいずれに送るかを切り換えるためのものである。洗浄水タンク12の中が空の時は、すすぎ水ポンプ26の出口が洗浄水タンク12に接続されるように、三方切換弁34が駆動され、洗浄水タンク12に温水が溜められる。
洗浄水ポンプ16、すすぎ水ポンプ26及び三方切換弁34は、コントローラ電源32から駆動電力の供給を受けている。洗浄水ポンプ16及びすすぎ水ポンプ26は、コントローラ電源32から駆動電力の供給を受けている間は常に駆動するよう構成されている。また、三方切換弁34は、コントローラ電源32から駆動電力の供給を受けているか否かに応じて、すすぎ水ポンプ26の接続先を切り換えるようになっている。すなわち、コントローラ電源32は、洗浄水ポンプ16、すすぎ水ポンプ26及び三方切換弁34を制御する制御手段として機能する。
また、洗浄液用ポンプユニット100及びリンス用ポンプユニット200への電力供給線は、すすぎ水ポンプ26の電力供給線と並列になっている。すなわち、すすぎ水ポンプ26が駆動している間のみに、洗浄液用ポンプユニット100及びリンス用ポンプユニット200への電力供給が行われるようになっている。
次に、本発明の洗浄液用ポンプユニット100及びリンス用ポンプユニット200の構造につき、図面を用いて詳細に説明する。なお、洗浄液用ポンプユニット100及びリンス用ポンプユニット200の構造は略同一であるため、以下においては、洗浄液用ポンプユニット100についてのみ説明し、リンス用ポンプユニット200についての説明は省略する。
洗浄液用ポンプユニット100の正面図を図2に、右側面図を図3に、上面図を図4に夫々示す。図2に示されるように、洗浄液ポンプユニット100は、U字状に屈曲した軟性樹脂のチューブ123を押しつぶすローラ124をチューブに沿って移動させてチューブを蠕動させることによって液体の輸送を行う、チューブポンプ又はスクイーズポンプといわれるポンプ120によって洗浄液の輸液を行う装置である。
チューブ123の一端(図中左側)123a及び他端123bには、夫々コネクタ128a、128bが取り付けられている。具体的には、コネクタ128a、128bの基端側には管部が形成されており、この基端側管部をチューブ123の両端に差し込んで、さらに結束バンド144でチューブ123の両端を締めつけることによって、チューブ123の両端をコネクタ128a、128bの基端側管部に密着させて、チューブ123を漏れなくコネクタ128a、128bに接続する。
また、コネクタ128a、128bの先端側は外周におねじが形成された管部となっている。この先端側管部に、洗浄液ボトル14又は洗浄水タンク12(図1)に接続されたホース146を差し込み、さらに袋ナット145を先端側管部にねじ込むことによって、ホース146とコネクタ128a、128bを連結することができる。なお、袋ナット145の内部には、樹脂製のスリーブが設けられており、袋ナット145を締めつけるとスリーブがホース146とコネクタ128a、128bとの間で圧迫される。この結果、コネクタ128a、128bとホース146とが漏れなく連結される。なお、本実施形態においてはスリーブと袋ナット145とが別個に用意されているが、この構成の代わりにスリーブが一体に形成された袋ナットを使用してもよい。
図2に示されるように、ポンプ120には、樹脂製のローラ124が2つ設けられている。このローラ124の軸124aは、樹脂製のロータ125の軸受部125aによって回転自在に支持されている。ロータ125は、その略中央に設けられた軸部125bを中心に回転駆動されるようになっている。そして、ロータ125を図2中時計回りに回転させることにより、チューブ123の一端123a側のホース146を介して洗浄液を吸引して、チューブ123の他端側123bのホース146に送る。なお、本実施形態においては、ロータ125に2つのローラ124が取り付けられた構成となっているが、3つ、4つ、或いはそれ以上の数のローラ124を使用する構成としてもよい。
チューブ123の両端以外の部分、ローラ124及びロータ125は、保護のためキャップ127によって覆われている。また、ロータ125の中心には、手前側(図2において図面裏から表に向かう方向)に向かって延びる軸部125bが設けられており、この軸部125bは、軸受スリーブ126を介して、キャップ127の内面に形成されている保持穴127aに差し込まれている。
軸受スリーブ126は、固体潤滑剤を分散させた樹脂から形成されており、低摩擦に構成されている。このため、ロータ125の軸部125bは、軸受スリーブ126を介して保持穴127aに保持され、且つ極めて低い摩擦で回転可能となる。
なお、固体潤滑剤を分散させた樹脂にて軸受スリーブ126を形成する代わりに、摩擦係数の小さい材料、例えばフッ素樹脂やポリアセタール樹脂によって軸受スリーブ126を形成してもよい。また、軸受スリーブ126を介さずに、ロータ125の軸部125bをキャップ127の保持穴127aに直接差し込む構成としてもよい。
本実施形態の洗浄液ポンプユニット100は、ポンプ120のモータ及び、モータを駆動するための制御基板をケース110に収容したものである。ケース110の構造について以下に説明する。
図3及び4に示されるように、ケース110は、枡形のケース本体111と、このケース本体111の開口部をふさぐように取り付けられるベース112とを有している。ケース本体111の奥側(図3中左側)の上下両端(図3中上下両端)には、固定部111a及び111cがフランジ状に延びている。図2に示されるように、固定部111a及び111cには、夫々取り付け穴111b及び111dが形成されており、この取り付け穴111b、111dにボルトを通して締めつけることによって、洗浄剤用ポンプユニット100を、壁などに固定することができる。
次に、ケース本体111にベース112を固定する方法について説明する。図4に示されるように、ケース本体111の上面(図4中表側)には爪111eが形成されている。また、ベース112の上部には、この爪111eに係合可能な係合穴112cが設けられたタブ112aが形成されている。爪111eを係合穴112cを係合させた状態で、ベース112の下部においてタッピンねじ114(図2、3)によってベース112はケース本体111に固定される。この時、爪111eが係合穴112cを介してベース112をケース本体111に向かって引き込み、その結果、ベース112の上端はケース本体111に向かって付勢される。また、ベース112の下部は、タッピンねじ114の締めつけによってケース本体111に付勢される。ベース112とケース本体111との間にはパッキンが設けられており、このパッキンが圧縮されることにより、ベース112とケース本体111は隙間無く一体化する。
本実施形態においては、ベース112はポンプ120のフレームとしての機能をも有している。図5は、ベース112にポンプ120及び他の部品を取り付ける際の組図である。
図5に示されるように、ベース112の略中央には凹部112dが形成されており、この凹部112dに、ローラ124を保持したロータ125及びチューブ123が収容されるようになっている。また、凹部112dの内面側には、ギアボックス122がビス止めされている。また、ギアボックス122にはモータ121が固定されており、且つ、モータ121の駆動軸はギアボックス122の入力軸に連結されている。凹部112dの底には開口が形成されており、ギアボックス122の出力軸122aはこの開口を通過して凹部112dの中に入ってロータ125に連結される。ギアボックス122は、入力軸に入力される高速・低トルクの回転運動を、低速・高トルクの回転運動に変換する一種の減速機構である。従って、モータ121を駆動すると、その回転運動はギアボックス122にて減速された後、ロータ125に伝達され、ロータ125が低速且つ高トルクで回転する。
なお、符号113は、ベース112とケース本体111との間に配置されて、両者間の隙間を密閉するためのパッキンである。
次に、制御基板をケース110に収容するための機構について説明する。図6は、ケース本体111に制御基板131及び他の部品を取り付ける際の組図である。また、図7はケース本体111の正面図、図8は図7のI−I断面図である。
制御基板131には、モータ121(図5)等を駆動するための直流電流を生成するコイル132と、モータ121の駆動/停止を制御するための制御回路(図示せず)と、コイル132が生成した直流電流をモータ121や制御回路に送るかどうかを切り換えるためのスイッチ133が実装されている。
また、図6〜8に示されるように、ケース本体111の内面の左側(図6:左上、図7:左、図8:図面裏側)の上下両端には、奥行方向(図6:左下−右上方向、図7:表−裏方向、図8:左右方向)に向かって延びるコの字断面の基板用ガイド111fが設けられている。この基板用ガイド111fに制御基板131の上下両端が夫々差し込まれることによって、制御基板131はガイドされ、その移動方向は奥行方向のみに限定される。また、図7及び8に示されるように、ケース本体111の奥側の内面には、奥行方向に突出する突出部111gが形成されている。制御基板131を基板用ガイド111fに差し込むと、突出部111gの先端が制御基板131の奥行側端面に当接するように構成されている。すなわち、突出部111gは制御基板131の奥行方向の位置を制限するための規制部材として機能する。
また、図7及び8に示されるように、ケース本体111には、その奥行側の内面から奥行方向に突出する3つのコイル用ガイド111hが形成されている。図8に示されるようにコイル用ガイド111hの各々は、L字形状となっており、このL字部のコーナ部にコイル132の角が当接して、コイル132は上下方向に移動しないように保持される。また、図7及び8に示されるように、ケース本体111の奥側の内面には、奥行方向に突出する突出部111iが形成されている。制御基板131を基板用ガイド111fに差し込むと、突出部111iの先端がコイル132の奥行側端面に当接するように構成されている。すなわち、突出部111iはコイル用ガイド111hと共にコイル132を支持する。
また、ベース112をケース本体111に取り付けた状態では、図7及び8に示されるように、制御基板131においてコイルが配置されていない部分にモータ121が近接するようになっている。この結果、ケース110の内部にはデッドスペースが小さくなり、ケース110は必要最低限の大きさとなる。
図2に示されるように、本実施形態の洗浄液用ポンプユニット100のベース112には、回転ツマミ141が設けられている。この回転ツマミ141は、ケース110の外部から制御基板131上のスイッチ133にアクセスするためのものである。すなわち、この回転ツマミ141を回すことにより、コイル132が生成した直流電流をモータ121や制御回路に送るかどうかを切り換えることができる。
図5に示されるように、回転ツマミ141は、ベース112に設けられたツマミ取り付け穴112eに差し込まれる円筒部を備えたツマミ本体141aと、Oリング141bと、アーム141cとを有している。アーム141cは、ツマミ本体141aの半径方向に延びるように、ビス141dによって一端がツマミ本体141aの先端に固定される。この構成により、アーム141cは、ケース110の内部に配置される。また、Oリング141bは、ツマミ本体141aの円筒部に取り付けられて、ツマミ取り付け穴112eとの隙間を密封する。
次に、回転ツマミ141とスイッチ133との係合について説明する。図9は、ケース本体111内に配置されたスイッチ133と、ベース112に取り付けられた回転ツマミ141を示した、ケース本体111の正面図である。スイッチ133は、ヒンジ−レバー型のスイッチであり、レバー133aが押し込まれていない自然状態ではコイル132と制御回路を接続し(オン状態)、レバー133aがスイッチ133の本体に向かって押し込まれた状態では制御回路はコイル132から切り離される(オフ状態)ようになっている。
図9に示されるように、アーム141cは、回転ツマミ141がONの位置にある時はスイッチ133に接触せず、そのため、スイッチ133はオン状態である(図9中実線部分)。この状態から回転ツマミ141を図9中反時計回りに回転してOFFの位置に移動させると、アーム141cがスイッチ133のレバー133aを押し込み、その結果スイッチ133はオフ状態に切り換わる。
本実施形態の洗浄剤用ポンプユニット100は、ケーブルを介してハンディターミナルを接続して、洗浄剤用ポンプユニット100の各種設定や、洗浄剤用ポンプユニット100が記録している各種データ(累計動作時間等)の取得を行うことができるようになっている。このため、制御基板131の手前側端部には、ケーブルを差し込むためのコネクタ134が実装されている(図6)。
また、ベース112には、ケース110の外からコネクタ134にアクセスするための開口112fが設けられている(図5)。開口112fは、ベース112に形成された凹部112gの底に形成されており、ハンディターミナルを使用しないときは、この凹部112gにカバー142を嵌め込むことによって、開口112fはケース外部から密閉される。具体的には、カバー142のカバー本体142aにはOリング142bが取り付けられており、カバー本体142aと凹部112gとの隙間をOリング142bが埋めることによって、開口112fはケース外部から密閉される。
また、カバー142には係止アーム142cが設けられており、この係止アーム142cがベース112に設けられているフックと係合することによって、カバー142がケース110から容易には脱落しないようになっている。以下に、カバー142の脱落防止機構について説明する。
図10は、ベース112の凹部112gの拡大正面図である。また、図11は図10のII−II断面図である。図10に示されるように、ベース112の凹部112dの底には、係止アーム142cが挿入される係止口112iが形成されており、この係止口112iの奥にフック112hが設けられている。
図11に示されるように、フック112hは、係止口112iの奥に行くに従って洗浄剤用ポンプユニット100の幅方向右側(図11中右側)に向かって突出するよう形成されている。すなわち、フック112hと係止口112iの間隔は、係止口112iの奥に行くに従って狭くなる。
また、図5に示されるように、カバー142の係止アーム142cには、アームの長手方向に延びるスリット142dが形成されている。図12はカバー142の上面図である。図12に示されるように、係止アーム142cは、その中途から先端側は、基端部に対して幅方向左側(図12中左側)に向かって屈曲している。
図13は、係止アーム142cが係止口112iに差し込まれた状態を示したものである。図13に示されるように、この状態ではスリット142dの中にフック112hが収容された状態となっており、カバー142を凹部112gから引き出そうとすると、スリット142dの先端部がフック112hに引っ掛かり、それ以上カバー142を引き出せなくなる。また、係止アーム142cを係止口112iに差し込む時は、係止アーム142の先端はフック112hの稜に沿ってガイドされるため、スリット142dをフック112hに容易に係合させることができる。しかしながら、一旦フック112hがスリット142dの中に入り込んでしまうと、係止アーム142cの屈曲により、その先端部はフック112hよりも十分に幅方向左側に移動してしまうため、スリット142dからフック112hが外れることはない。
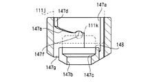
本実施形態の洗浄液用ポンプ100は、コントローラ電源32(図1)から供給される交流電流をケース110の内部に送る必要がある。電源ケーブルをケース内部に引き込んでロックし、且つ電源ケーブルの引き込み口から水などが浸入しないように引き込み口とケーブルの隙間を密封する必要がある。本実施形態においては、ケーブルクランプ機構によってケーブルのロックと隙間の密閉を行っている。以下、このケーブルクランプ機構について説明する。
図7及び8に示されるように、ケース本体111の下面からは、電源ケーブルをケース内に引き込むためのケーブル引込管111jが突出している。図6に示されるように、電源ケーブル135は、まず樹脂製のケーブルロック147に、次いでケーブルパッキン148に通されて、さらにケーブル引込管111jに差し込まれる。次いで、ケーブルロック147をケーブル引込管111jに固定する。この結果、ケーブルパッキン148がケーブル引込管111jの端面とケーブルロック147の底面との間で圧縮され、ケーブル135のシースとケーブル引込管111jとの間の隙間を密閉する。
以下に、ケーブルロック147の構造について説明する。図14、15、16は、夫々本実施形態のケーブルロック147の斜視図、上面図及び下面図である。また、図17は図15のIII−III断面図である。
図14、15及び17に示されるように、ケーブルロック147の上面には、上部開口147aが形成されている。上部開口147aは、ケーブル引込管111j(図8)の外径よりもわずかに大きい程度の円筒穴である。また、図16及び17に示されるように、ケーブルロック147の下面には、下部開口147bが形成されている。下部開口147bは、ケーブル135(図6)の外径よりもやや大きい程度の円筒穴である。図17に示されるように、上部開口147aと下部開口147bは、ケーブルロック147の内部で繋がっており、ケーブル135を下部開口147bから上部開口147aに貫通できるようになっている。また、下部開口147bの上部は下部よりも径が大きくなっており、両者の間には座面147cが形成されている。
次に、ケーブルロック147をケーブル引込管111jに固定するための構造について説明する。図7及び8に示されるように、ケーブル引込管111jの外周には一対の円筒状の突起111kが形成されている。また、ケーブルロック147の上部開口にはこの突起111kに対応した突起収容部147dが形成されている(図14、17)。突起収容部147dは、ケーブルロック147の下部では、上(上部開口側)からみて時計回り方向に広がっており、上部開口147と突起収容部147dの間には、上からみて右ねじに延びるらせん状の段差部147eが形成される。段差部147eの末端(ケーブルロック147の上面にある突起収容部147dの入口から最も遠位となる部分)には、上に向かって凹んでいる突起保持凹面147fが形成されている。
また、ケーブルロック147の下面の、突起収容部147dに対応した位置には、スリット147gが形成されている(図14、16及び17)。このようなスリット147gを設けているので、ケーブルロック147を射出成形等によって製造する際、スライド金型を使用することなく下部側の型によって段差部147を形成することができるため、製造が容易である。
次に、ケーブルパッキン148の構造について説明する。図18は、ケーブルパッキン148の縦断面図である。図18に示されるように、ケーブルパッキン148は略中空円筒形状のゴム製の弾性部材であり、その内周148aの径はケーブル135(図6)のシースの外径よりもやや小さい。このため、ケーブル135にケーブルパッキン148を装着すると、ケーブルパッキン148の内周148aは、ケーブル135のシースに漏れなく密着する。
また、ケーブルパッキン148の外周には2つの円環溝148bが形成されている。ケーブルパッキン148の肉厚はこの円環溝148bの位置で薄くなっているため、この位置でケーブルパッキン148は軸方向(図18中上下方向)に収縮する一方、座屈によりくの字に屈曲し、その部分でのシール性が悪化する可能性がある。一方、円環溝148bの無い部分では、ケーブルパッキン148は容易には収縮せず、座屈により屈曲することもない。このため、ケーブルパッキン148に軸方向の圧縮荷重を加えた場合、円環溝148bのある部分が優先的に収縮又は屈曲してケーブルパッキン148が全体として軸方向に収縮する。一方、円環溝148bが無い部分ではケーブルパッキン148はほとんど収縮せず、その部分の内周148aの径はほとんど広がらない。そのため、ケーブルパッキン148に軸方向の圧縮荷重が加わった状態であっても、円環溝148bが無い部分では、ケーブルパッキン148の内周と電源ケーブル135との密着状態は維持され、高いシール性が保たれる。
以上説明した構成のケーブルロック147をケーブル引込管111jに固定するための手順について、以下に説明する。まず突起収容部147dにケーブル引込管111jの突起が入るように、ケーブル引込管111jを上部開口147aに差し込む。次いで、されている状態では、突起111kが突起保持凹面147fに収容される。この時、図17に示されるように、ケーブルパッキン148がケーブルロック147の座面147cとケーブル引込管111jとの間に挟まれてその軸方向に圧縮され、ケーブルパッキン148と引込管111jは漏れなく密着する。前述のように、ケーブルパッキン148の内周148b(図18)はケーブル135(図6)のシースに密着しているので、ケーブルパッキン148が引込管111jに密着している状態では、ケーブル引込管111jの内側は外部から密閉された状態となる。また、この状態では、ケーブルパッキン148の反発力によって、突起保持凹面147fが突起111kに押し込まれるような荷重がケーブルロック147に加わるため、突起111kが突起保持凹面147fからは容易に外れないようにな理、この結果ケーブルロック147はケーブル引込管111jに固定される。
本実施形態の洗浄液用ポンプユニット100は、吸引側もしくは吐出側のホース146(図2)に取り付けられる液面センサ150と接続可能となっている。液面センサ150は、ホース146内に洗浄液が入っているかどうかを検出するためのセンサである。洗浄液用ポンプの制御基板131(図6)上の制御回路は、ポンプ120が動作しているにも関わらずホース146内に洗浄液が入っていない状態が続いた場合は、洗浄液ボトル14(図1)に洗浄液が入っていないものと判断し、警報(ブザー発声やLEDランプの点灯等)を行う。液面センサ150の構成について以下に説明する。
図19及び20は、夫々本実施形態の液面センサの斜視図及び断面図である。図20に示されるように、本実施形態の液面センサ150は、ケース151と、ケース151内に収容されている基板152及び透光部154と、ケース151の前面151aを覆うようにケース151に取り付けられるカバー153と、ケース151の後方の開口部151cを塞ぐようにケース151に固定される背面板156とを有する。
ケース151の前面151aには、ホース収容凹部151bが形成されている。図20に示されるように、ホース146をこのホース収容凹部151bに配置した状態で、カバー153をケース151に取り付けると、ホース収容凹部151bに設けられた突出部151dと、カバー153の背面に固定されているゴム製の弾性体153aとの間にホース146が挟み込まれ、弾性体153aが圧縮される。そして、弾性体153aの反発力によってホースが突出部151dに向かって押し込まれ、ホース146が突出部151dに当接してホース146が位置決めされる。さらに、弾性体153aとホース146の外周面との間に働く摩擦力によって、液面センサ150に対してホース146がその軸方向にずれないようになっている。
また、図20に示されるように、ケース151の側面には上下方向(ホース146の軸に略平行な方向)に延びる爪151eが形成されている。また、カバー153の内側側面には、この爪151eに係合可能な溝153bが複数段に亙って形成されている。爪151eに係合させる溝153bを適宜選択することにより、様々な径のバイプを弾性体153aと突出部151dの間で保持することが可能である。例えば、図20に示されるホース146よりも小径のホース146’を液面センサ150に取り付ける場合は、図21に示されるように、図20の状態よりも一段手前側の溝153bに爪151eを係合させる。
なお、本実施形態においては、上記のようにケース151に爪が、カバー153に溝が形成されているが、ケース151に複数段の溝が、カバー153に爪が形成される構成としてもよい。
図20に示されるように、ケース151の内部には制御基板152が設けられている。制御基板152には、発光素子152aと受光素子152bが実装されている。発光素子152aは、ホース146の内壁に向けて光線を放射するよう配置されている。ホース146の内部に洗浄液が無い(すなわち、ホース146の内部に空気がある)時は、ホース146に入射した発光素子152aからの光線の大部分は、ホース146の内周と空気との界面で反射して受光素子152bに入射するようになっている(図20中実線部)。一方、洗浄液の屈折率はホース146の屈折率に近いため、ホース146の内部に洗浄液がある場合は、ホース146に入射した発光素子152aからの光線の大部分は、ホース146の内周と洗浄液との界面で反射せずに洗浄液内を透過するため、受光素子152bに入射しない(図20中破線部)。
したがって受光素子152bが光をほとんど受光していないときはホース146内に洗浄液がある、すなわち洗浄液ボトル14(図1)に洗浄液が入っていることを意味する。一方、受光素子152bが所定量以上の光を受光しているのであれば、ホース146内に洗浄液が無い、すなわち洗浄液切れが発生していることを意味する。従って、受光素子152bの出力を検出することにより、洗浄液用ポンプユニット100は、洗浄液切れが発生しているかどうかを検出することができる。なお、ケース151、カバー153及び背面板156は光をほとんど透過させない材料から形成されており、ケース151の外部からの光はほとんど受光素子152bに入射しないようになっている。また、発光素子152aが発する光線の光量は、発光素子152aの周囲の温度によって変化する。このため、本実施形態においては、基板152に実装されている温度センサ(不図示)によって発光素子152aの周囲の温度を計測し、計測した温度に基づいて発光素子152aに与える電圧の大きさを調整することにより、周囲温度が変化しても発光素子152aからの光線の光量が略一定に保たれるようにしている。なお、本実施形態においては発光素子152aに供給する電圧の大きさを制御することによって光線の光量を調整しているが、発光素子152aに供給する電流、或いは電圧と電流の双方を調整することによって光線の光量を調整する構成としてもよい。
図20に示されるように、発光素子152a及び受光素子152bと、ホース146の間には透光窓154の透光部154a及び154bが配置されている。透光窓154は、透明な樹脂製から形成される部材であり、発光素子152aからの光が透光部154a及び154bを透過して受光素子152bに入射できるようになっている。
また、ケース151の前面151aには、前側(図20中下側)に向かって突出する突出管151fが形成されている。この突出管15fの中には、透光窓154の透光部154cが挿入されている。この透光部154cの奥側(図20中上側)には、LEDランプ152cが配置されている。また、カバー153において突出管151fに対応する位置には、開口153cが形成されている。LEDランプ152からの光は透光部154cに導かれるため、開口153cを介してこの光を見ることができる。すなわち、LEDランプ152cが点灯しているかどうかをケース151の外から確認することができる。LEDランプ152cは、洗浄液用ポンプユニット100が洗浄液切れを検出した時に点灯するようになっているため、LEDランプ152cが点灯しているかどうかをケース151の外から確認することにより、洗浄液切れが起きているかどうかを確認することができる。
洗浄液用ポンプユニット100と液面センサ150とはケーブル155を介して接続されている。液面センサ150の発光素子153及び受光素子154の駆動電力はケーブル155を介して洗浄液用ポンプユニット100から供給され、受光素子154の出力はケーブル155を介して洗浄液用ポンプユニット100に接続されている。
ケーブル155は、ケーブルロック157とケーブルパッキン158、及び背面板156のケーブル引込管156jから構成されるケーブルクランプ機構によって背面板156に固定されるようになっている。このケーブルロック機構は、洗浄液用ポンプユニット100のケーブルクランプ機構と同一のものであり、ケーブル引込管156jを介して水分等がケース151の内部に侵入を防止している。また、図20に示されるように、ケース151の開口151cと背面板156との間にはパッキン159が設けられており、背面板156とケース151との間の隙間からの水分の侵入が防止される。
次に、図1を参照して、本実施形態の洗浄液用ポンプユニット100及びリンス用ポンプユニット200の動作について説明する。
本実施形態の食器洗浄機においては、前述のように、すすぎ水ポンプ26(図1)の駆動時にのみ洗浄液用ポンプユニット100及びリンス用ポンプユニット200に駆動電力が供給されるようになっている。また、すすぎ水ポンプ26は、洗浄室40(図1)にすすぎ水を送る機能と、洗浄水タンク12(図1)に直接温水を供給する機能とを備えている。
すすぎ水を洗浄室40に送る場合、使用後のすすぎ水は洗浄水タンク12に送られるようになっているが、全てのすすぎ水が洗浄水タンク12に送られるわけではなく、洗浄水タンク12に入りきらない量のすすぎ水については、廃棄される。一方、洗浄水タンク12に直接温水を送る場合は、送られる温水の全てが洗浄水タンク12に貯められる。
本実施形態の食器洗浄機1においては、すすぎ水ポンプ26及び洗浄水ポンプ16は、空の洗浄水タンク12に洗浄水を溜める場合(I)と、食器の洗浄を行う場合(II)とでは異なる動作を行う。場合(I)、(II)におけるすすぎ水ポンプ26の動作について以下説明する。図22は、本実施形態における、(a)すすぎ水ポンプ26及び(b)洗浄液ポンプユニット100のポンプの動作を示すタイミングチャートである。
空の洗浄水タンク12に洗浄水を溜める場合(I)についてのすすぎ水ポンプ26の動作について説明する。洗浄水タンク12が空の状態では、食器洗浄機1のコントローラ電源32は、貯湯タンク22の温水が直接洗浄水タンク12に送られるよう三方切換弁34を制御する。次いで、すすぎ水ポンプ26を駆動して、洗浄水タンク12に温水を供給する。この時、コントローラ電源32は、浄水タンク12が満水となるまで、すすぎ水用ポンプ26を連続駆動する(P)。この時のすすぎ水ポンプ26の駆動時間を第1のすすぎ水ポンプ駆動時間tとする。
次に、食器の洗浄を行う場合(II)におけるすすぎ水ポンプ26の動作について説明する。場合(I)での処理により洗浄水タンク12が満水となった後、食器洗浄機1のコントローラ電源32は、貯湯タンク22からの温水が洗浄室40に送られるよう三方切換弁34を制御する。次いで、洗浄される食器が食器室40に収容された後、食器洗浄機1の使用者の操作によって食器の洗浄が指示されると、コントローラ電源32は洗浄水ポンプ16を駆動して洗浄水を食器に噴射し、次いで、洗浄水ポンプ16が停止した後に、すすぎ水ポンプ26を第2のすすぎ水ポンプ駆動時間tだけ駆動してすすぎ水で食器を洗い流す(P)。すすぎ時に使用する温水の量は、洗浄水タンク12の容量よりも十分に小さいため、第2のすすぎ水ポンプ駆動時間tは第1のすすぎ水ポンプ駆動時間tよりも短い。
本実施形態においては、洗浄液用ポンプユニット100は、電力が供給される(すなわち、すすぎ水ポンプ26が始動する)と、第1の洗浄液用ポンプ駆動時間tだけポンプ120を駆動して洗浄液を供給する(P)と共に、タイマのカウントをスタートする。そして、タイマが第1のタイマカウント時間tをカウントした後、洗浄液用ポンプユニット100のポンプ120は、第2の洗浄液用ポンプ駆動時間tだけ駆動される(P)。なお、第1及び第2の洗浄液ポンプ駆動時間t、tの長さは共にハンディターミナルによって設定変更可能である。
本実施形態においては、第1のタイマカウント時間tは第1のすすぎ水ポンプ駆動時間tよりも短い時間に設定されている。このため、すすぎ水ポンプ26が洗浄水タンク12への温水の供給を行っている場合(I)においては、タイマが第1のタイマカウント時間tをカウントし終わった時点でもすすぎ水ポンプ26は依然駆動しているので、洗浄液用ポンプユニット100は処理Pを実行する。なお、ハンディターミナルによって、第1のタイマカウント時間tの長さを、第1のすすぎ水ポンプ駆動時間t以上とならない範囲内で設定変更可能である。
また、第1の洗浄液用ポンプ駆動時間tは、第2のすすぎ水ポンプ駆動時間t以下に設定されている。このため、すすぎ水ポンプ26が洗浄室40にすすぎ水を供給している場合(II)においても、Pの処理は最後まで実行される。しかしながら、第1のタイマカウント時間tは第2のすすぎ水ポンプ駆動時間tよりも長く設定されているので、タイマが第1のタイマカウント時間tをカウントする前に洗浄液ポンプユニット100への電力供給が断たれ、Pの処理は行われない。従って、場合(II)においてすすぎ水ポンプ26が駆動している間に洗浄液ポンプユニット100が洗浄液を供給する時間は第1の洗浄液用ポンプ駆動時間tのみである。
このように、本実施形態においては、すすぎ水ポンプ26が連続駆動している間の洗浄液ポンプユニット100の駆動時間は、洗浄水タンク12への温水の供給を行っている場合(I)の時の方が、洗浄室40にすすぎ水を供給している場合(II)の時の方よりも長くなる。一方、Pの処理を行わないような従来構成では、洗浄水タンク12への温水の供給を行っているか洗浄室40にすすぎ水を供給しているかに関わらず、第1の洗浄液用ポンプ駆動時間tだけ洗浄液ポンプユニット100が駆動される。従って本実施形態の構成では、上記従来構成と比べ、洗浄水タンク12への温水の供給を行っている際に多めに洗浄液を供給することができる。
なお、ハンディターミナルによって、Pの処理を行わない、従来構成と同等の設定とすることも可能である。
以上説明した構成においては、すすぎ水ポンプ26が洗浄水タンク12への温水の供給を行っている場合(I)に、洗浄水タンク12が満水となるまですすぎ水ポンプ26が連続駆動するようになっている。本実施形態の洗浄液用ポンプユニット100及びリンス用ポンプユニット200は、この構成とは異なる構成の食器洗浄機にも適用可能である。以下、他の構成の食器洗浄機における洗浄液用ポンプユニット100及びリンス用ポンプユニット200の動作について説明する。
図23は、上記他の構成における、(c)すすぎ水ポンプ26、(d)洗浄水ポンプ16、(e)洗浄液ポンプユニット100のポンプ及び(f)リンス用ポンプユニット200のポンプの動作を示すタイミングチャートである。
本構成の食器洗浄機1においても、すすぎ水ポンプ26及び洗浄水ポンプ16は、空の洗浄水タンク12に洗浄水を溜める場合(I)と、食器の洗浄を行う場合(II)とでは異なる動作を行う。場合(I)、(II)におけるすすぎ水ポンプ26及び洗浄水ポンプ16の動作について以下説明する。
空の洗浄水タンク12に洗浄水を溜める場合(I)についてのすすぎ水ポンプ26の動作について説明する。なお、場合(I)においては、洗浄水ポンプ16は駆動されない。洗浄水タンク12が空の状態では、食器洗浄機1のコントローラ電源32は、貯湯タンク22の温水が直接洗浄水タンク12に送られるよう三方切換弁34を制御する。次いで、すすぎ水ポンプ26を駆動して、洗浄水タンク12に温水を供給する。この時、コントローラ電源32は、第3のすすぎ水ポンプ駆動時間tだけすすぎ水用ポンプ26を駆動した後、すすぎ水ポンプ待機時間t経過後に再び第3のすすぎ水ポンプ駆動時間tだけすすぎ水用ポンプ26を駆動する。そして、洗浄水タンク12が満水となるまで上記の処理を繰り返す(P)。
次に、食器の洗浄を行う場合(II)におけるすすぎ水ポンプ26及び洗浄水ポンプ16の動作について説明する。場合(I)での処理により洗浄水タンク12が満水となった後、食器洗浄機1のコントローラ電源32は、すすぎ水タンク26からの温水が洗浄水タンク12に送られるよう三方切換弁34を制御する。次いで、洗浄される食器が食器室40に収容された後、食器洗浄機1の使用者の操作によって食器の洗浄が指示されると、コントローラ電源32は洗浄水ポンプ16を駆動して洗浄水を食器に噴射し(P)、次いで、洗浄水ポンプ16が停止した後に、すすぎ水ポンプ26を第3のすすぎ水ポンプ駆動時間tだけ駆動してすすぎ水で食器を洗い流す(P)。また、処理Pが開始してから処理Pが開始するまでの時間は、時間tに設定されている。洗浄水タンク12が満水となった後は、洗浄処理Pとすすぎ処理Pが交互に行われるため、洗浄水タンク12が満水となった時点からすすぎ水ポンプ26がすすぎ処理のために再度駆動するまでの時間t、或いはすすぎ処理が終了した時点から次のすすぎ処理の為にすすぎ水ポンプ26が駆動するまでの時間t10は、前述の時間t以上となる。一方、前述の場合(I)においては、すすぎ水ポンプ26が停止してから再度駆動するまでの期間は、食器洗浄機1は他の処理を行っているわけではないため、すすぎ水ポンプ待機時間tは比較的短く設定されている。本実施形態においては、すすぎ水ポンプ待機時間tは、時間tよりも短くなるように設定されている。
本構成においては、ハンディターミナルににより、洗浄液用ポンプユニット100の処理P(図22)は行われないよう設定されている。すなわち、洗浄液用ポンプユニット100は、電力が供給される(すなわち、すすぎ水ポンプ26が始動する)と、第1の洗浄液用ポンプ駆動時間tだけポンプ120を駆動して洗浄液を供給する(P)。本構成においては、場合(I)にて、複数回すすぎ水ポンプ26が駆動されるので、処理Pもまた複数回行われる。また、本構成においては、(I)、(II)のいずれの場合であっても、すすぎ水ポンプ26の連続駆動時間はtである。このため、本構成においては、場合(I)における洗浄水の洗浄液濃度と、場合(II)の処理Pで洗浄水タンク12に追加される洗浄水の洗浄液濃度は略等しくなる。
また、本構成においては、リンス用ポンプユニット200は電力が供給される(すなわち、すすぎ水ポンプ26が始動する)と、電力の供給が停止するまでポンプを駆動してリンスを供給する(P)。また、リンス用ポンプユニット200への電力供給が終わったと同時に、タイマのカウントをスタートする(P)。そして、タイマが第2のタイマカウント時間t11をカウントする前にリンス用ポンプユニット200への電力の供給が再開したときは、リンス用ポンプユニット200に電力が供給されていても、ポンプを駆動しない(P10)。その後、タイマを一旦リセットし、リンス用ポンプユニット200への電力供給が終わったと同時に、タイマのカウントを再度スタートする(P11)。
このように、リンス用ポンプユニット200は、コントローラ電源32から電力が供給されていない時間をタイマで計測する必要があるため、タイマを駆動するために最低限必要な電力をタイマに供給するための二次電池又はコンデンサを有している。二次電池又はコンデンサは、リンス用ポンプユニット200に電力が供給される間に充電される。
前述のように、処理Pが開始してから処理Pが開始するまでの時間tよりもすすぎ水ポンプ待機時間tは短く設定されている。このため、すすぎ水ポンプ26が洗浄水タンク12への温水の供給を行っている場合(I)においては、最初のすすぎ水ポンプ26の駆動時には第3のすすぎ水ポンプ駆動時間tだけ時間リンスを供給するが、その後はリンスの供給を行わない。一方、洗浄及びすすぎが行われている場合(II)においては、リンス用ポンプユニット200への電力供給が停止してから再開するまでの時間(t又はt10)は時間t以上となるので、P10の処理は行われない。すなわち、場合(II)においては、すすぎ水ポンプ26が動作している間ずっとリンスの供給が行われる。
このように、本構成においては、洗浄水タンクへの給湯を行う場合(I)においては、リンスは第3のすすぎ水ポンプ駆動時間tのみのみ供給される。一方、場合(II)においては食器のすすぎ中は常にリンスの供給が行われるようになる。これに対し、一方、P〜P11の処理を行わないような従来構成では、場合(I)であるか(II)であるかを問わず、すすぎ水ポンプ26が駆動している間は常にリンスの供給が行われる。従って、本実施形態の構成では、上記従来構成と比べ、すすぎ水ポンプ26が洗浄水タンク12への温水の供給を行う際に吐出される、無駄なリンスの量を最低限に抑えることができる。
なお、ハンディターミナルによって、P〜P11の処理を行わない、従来構成と同等の設定とすることも可能である。
以上説明した本発明の実施の形態においては、すすぎ水ポンプ26が駆動している間のみ、洗浄液用ポンプユニット100及びリンス用ポンプユニット200へ電源供給が行われるようになっている。しかしながら、本発明は上記の構成に限定されるものではない。例えば、洗浄液用ポンプユニット100及びリンス用ポンプユニット200には常に電源供給が行われており、すすぎ水ポンプ26が駆動しているかどうかを検知するための信号をコントローラ電源32等から信号ケーブルを介して取得する構成としてもよい。このような構成においては、洗浄液用ポンプユニット100及びリンス用ポンプユニット200は、すすぎ水ポンプ26が駆動しているかどうかを、電源供給があるかどうかではなく信号ケーブルから取得した信号によって検知し、この検知結果に基づいてポンプの動作を制御する。
本発明の実施の形態の食器洗浄機のブロック図である。 本発明の実施の形態の洗浄液用ポンプユニットの正面図である。 本発明の実施の形態の洗浄液用ポンプユニットの右側面図である。 本発明の実施の形態の洗浄液用ポンプユニットの上面図である。 本発明の実施の形態の洗浄液用ポンプユニットにおいて、ベースにポンプ及び他の部品を取り付ける際の組図である。 本発明の実施の形態の洗浄液用ポンプユニットにおいて、ケース本体に制御基板及び他の部品を取り付ける際の組図である。 本発明の実施の形態のケース本体の正面図である。 図7のI−I断面図である。 本発明の実施の形態の洗浄液用ポンプユニットにおいて、ケース本体内に配置されたスイッチと、ベースに取り付けられた回転ツマミを示した、ケース本体の正面図である。 本発明の実施の形態のベースの凹部の拡大正面図である。 図10のII−II断面図である。 本発明の実施の形態のカバーの上面図である。 本発明の実施の形態の係止アームが係止口に差し込まれた状態を示したものである。 本発明の実施の形態のケーブルロックの斜視図である。 本発明の実施の形態のケーブルロックの上面図である。 本発明の実施の形態のケーブルロックの下面図である。 図15のIII−III断面図である。 本発明の実施の形態のケーブルパッキンの断面図である。 本発明の実施の形態の液面センサの斜視図である。 本発明の実施の形態の液面センサの断面図である。 本発明の実施の形態の液面センサの断面図である。 本発明の実施の形態の、すすぎ水ポンプ及び洗浄液ポンプユニットのポンプの動作を示すタイミングチャートである。 本発明の実施の形態の、すすぎ水ポンプ、洗浄水ポンプ、洗浄液ポンプユニットのポンプ、及びリンス用ポンプユニットのポンプの動作を示すタイミングチャートである。
符号の説明
1 食器洗浄機
12 洗浄水タンク
14 洗浄水ボトル
16 洗浄水ポンプ
24 リンスボトル
26 すすぎ水ポンプ
32 コントローラ用電源
40 洗浄室
100 洗浄液用ポンプユニット
110 ケース
111 ケース本体
111j ケーブル引込管
111k 突起
112 ベース
112d 凹部
112h フック
112i 係止口
120 ポンプ
121 モータ
122 ギアボックス
123 チューブ
124 ローラ
125 ロータ
126 軸受スリーブ
127 キャップ
127a 保持穴
131 制御基板
132 コイル
133 スイッチ
141 回転ツマミ
141a ツマミ本体
141b Oリング
141c アーム
142 カバー
142c 係止アーム
142d スリット
146 ホース
147 ケーブルロック
148 ケーブルパッキン
148b 円環溝
150 液面センサ
200 リンス用ポンプユニット

Claims (21)

  1. ベースと、前記ベースに回転可能に支持されるロータと、前記ベースに収容されるチューブと、前記ロータに支持されており前記チューブを前記ベースとの間で押圧すると共に該ロータの回転に伴って該チューブに沿って移動するローラと、前記ロータを前記ベースに対して回転駆動するモータと、を備えたチューブポンプと、
    前記モータを駆動するための電力を制御して前記チューブポンプに供給する制御部と、
    前記チューブポンプのモータ及び前記制御部が収容される枡形状のケース本体と、
    を有し、
    前記ベースが、前記ケース本体の開口を塞ぐように該ケース本体に固定されていることを特徴とする輸液ユニット。
  2. 前記チューブポンプが、前記ロータを覆うように前記ベースに取り付けられるキャップを備え、
    前記キャップが、前記ロータの回転軸を回転可能に支持する軸受を備えることを特徴とする請求項1に記載の輸液ユニット。
  3. 前記チューブポンプが、
    前記ロータの回転軸を回転可能に支持する軸受と、
    前記ロータを覆うように前記ベースに取り付けられるキャップと、を有し、
    前記キャップには、前記軸受を収容する収容部が形成されている
    ことを特徴とする請求項1に記載の輸液ユニット。
  4. 前記軸受は、潤滑剤が配合された樹脂から形成される滑り軸受であることを特徴とする請求項3に記載の輸液ユニット。
  5. 前記ケース本体と前記ベースの一方には爪が設けられ、他方には該爪と係合する受部が形成されていることを特徴とする請求項1から4のいずれかに記載の輸液ユニット。
  6. 前記制御部がコイルを実装した基板を備え、
    前記制御部が前記ケース本体内に収容されたときに、前記コイルが実装されていない前記基板上の領域に前記モータが近接するように、該コイル、該基板及び該モータの各要素が該ケース本体内に配置される
    ことを特徴とする請求項1から5のいずれかに記載の輸液ユニット。
  7. モータの駆動力によって液体を輸送するポンプ機構部と、
    前記モータを制御する制御部と、
    前記ポンプ機構部のモータ及び前記制御部が収容されるケースと、
    を有し、
    前記制御部には、外部から該制御部と通信するための端末を接続するためのコネクタが設けられており、
    前記ケースには、外部から前記コネクタにアクセスするための開口が形成されていることを特徴とする輸液ユニット。
  8. チューブポンプと、該チューブポンプを制御するための制御部と、タイマと、を有し、
    前記制御部が、
    前記制御部に外部から電力が供給された後、第1のポンプ駆動時間だけ前記チューブポンプを駆動すると共に前記タイマによるカウントを開始し、
    前記制御部への電力供給が停止する前に、前記タイマが前記第1のポンプ駆動時間より長い第1のタイマ時間をカウントした時に、第2のポンプ駆動時間だけ前記チューブポンプを駆動する
    ことを特徴とする輸液ユニット。
  9. チューブポンプと、該チューブポンプを制御するための制御部と、蓄電手段と、該蓄電手段からの電力によって動作するタイマと、を有し、
    前記制御部が、
    前記制御部への電力が停止した時に前記タイマによるカウントを開始し、
    前記制御部への電力供給が再開した時の前記タイマによるカウント値が第2のタイマ時間以上である時に前記チューブポンプの駆動を開始すると共に前記タイマのカウント値をリセットし、
    前記制御部への電力供給が再開した時の前記タイマによるカウント値が第2のタイマ時間未満である時には前記チューブポンプの駆動を開始せずに前記タイマのカウント値をリセットする
    ことを特徴とする輸液ユニット。
  10. 電気機器のケース内に収容された電気回路上に設けられた電気スイッチを、ケース外部から操作するための回転スイッチであって、
    一端にツマミが形成され、他端が前記ケースに設けられた開口に差し込まれるようになっているシリンダと、
    前記シリンダの他端に固定され、前記シリンダの回転に伴って揺動して前記電気スイッチに対して接触/離間可能であり、該接触/離間により該電気スイッチを切り換えるアームと、
    を有する回転スイッチ。
  11. 前記シリンダには、前記開口との隙間を密閉するOリングが取り付けられていることを特徴とする請求項10に記載の回転スイッチ。
  12. 電気機器のケース内に収容された電気回路に外部からアクセスするために該ケースに設けられたアクセス用開口を塞ぐための開閉可能な電気機器用カバーであって、
    前記カバーが、前記ケースに設けられている係止口を介して該ケースの内部に差し込まれる係止用アームを有し、
    前記係止用アームには、前記ケースの内部に形成されているフックが差し込まれるスリットが長手方向に沿って形成されており、
    前記係止用アームを前記係止口から引き出したときに、前記スリットの先端部が前記フックに係合して、前記電気機器用カバーが前記ケースから離脱しないようになっていることを特徴とする電気機器用カバー。
  13. 電気機器のケース内に収容された電気回路に外部から電力を供給するためのケーブルを前記ケースに固定するためのケーブルクランプ構造であって、
    内周面が前記ケーブルのシースに密着するように該ケーブルに装着される円筒形状のパッキンと、
    前記ケースの外面から突出して形成され、その内径が前記パッキンの外径よりも小さく構成されているケーブル引込管と、
    前記パッキンを前記ケーブル引込管の端面に向けて付勢すると共に前記ケーブル引込管に固定されるケーブルロックとを有し、
    前記ケーブル引込管の外周には突起が設けられており、
    前記ケーブルロックが、前記ケーブル引込管が差し込まれる円筒部を有し、
    前記円筒部の内周には、前記突起を収容するための凹部である突起収容部が形成されており、
    前記突起収容部の側壁の少なくとも一部は、該内周に沿ったらせん状に延びる段差部であり、
    前記段差部には、前記突起と係合する突起係合凹面が形成されており、
    前記突起収容部に前記突起が入るように前記ケーブル引込管を前記円筒部に差し込み、次いで該突起が前記段差部に沿って移動するように前記ケーブルロックを回転させて、該突起を前記突起係合凹面に係合させることによって、該ケーブルロックが該ケーブル引込管に固定される
    ことを特徴とするケーブルクランプ構造。
  14. 前記パッキンの外周には、少なくとも一本の円環溝が形成されていることを特徴とする請求項13に記載のケーブルクランプ構造。
  15. 前記円筒部において、前記ケーブル引込管が差し込まれない側の端部には、前記ケーブルが差し込まれる開口が形成された底面が形成されており、
    前記底面には、前記段差部に沿って形成された円弧状のスリットが形成されている
    ことを特徴とする請求項13又は14に記載のケーブルクランプ構造。
  16. 透明なホース内の所定の箇所に充填された液体を検出する液面センサであって、
    検査用光線を放射する光源と、
    前記ホースの内周面で反射した前記検査用光線を受光する受光部と、
    を有し、
    前記検査用光線は、前記ホースの側方から該ホースの内周面に向かって入射され、該ホース内に液体が無い時は該ホースの内周で反射して前記受光部に入射し、該ホース内に液体がある時には該ホースの内周でほとんど反射しないことを特徴とする液面センサ。
  17. 光源及び受光部が収容されるケースと、該ケースの前面を覆うカバーとをさらに有し、
    前記ケースの前面には前記ホースが収容されるホース収容凹部が形成され、
    前記カバーにおいて前記ケースの前面と対向する背面には、弾性体が設けられており、
    前記ホースを前記ホース収容凹部に配置し、次いで前記カバーを前記ケースに取り付けると、前記弾性体と該収容凹部との間で該ホースが該弾性体に圧迫されて該ケースに該ホースが固定される
    ことを特徴とする請求項16に記載の液面センサ。
  18. 前記カバーと前記ケースの一方には爪が形成されると共に他方には該爪と係合可能な溝が複数段に亙って形成されており、
    前記爪と前記溝の係合によって前記カバーが前記ケースに固定されるようになっており、
    前記爪と係合する溝に応じて、前記ケースに対する前記カバーの位置を調整可能である
    ことを特徴とする請求項17に記載の液面センサ。
  19. 前記ケース及び前記カバーは、光を実質通さない材料にて形成されていることを特徴とする請求項17又は18に記載の液面センサ。
  20. 前記ケースにおいて、前記光源及び受光部と前記ホースとの間に形成された開口には、透明な材料から形成された窓部材が取り付けられることを特徴とする請求項19に記載の液面センサ。
  21. 前記ケース内の温度を計測する温度センサと、
    前記ケース内の温度が変化しても前記光源からの光の光量が略一定に保たれるように、前記温度センサの計測結果に基づいて前記光源に供給する電力を調整する光源調整手段と、
    をさらに有することを特徴とする請求項17から20のいずれかに記載の液面センサ。
JP2008169337A 2008-06-27 2008-06-27 輸液ユニット Active JP5283991B2 (ja)

Priority Applications (1)

Application Number Priority Date Filing Date Title
JP2008169337A JP5283991B2 (ja) 2008-06-27 2008-06-27 輸液ユニット

Applications Claiming Priority (1)

Application Number Priority Date Filing Date Title
JP2008169337A JP5283991B2 (ja) 2008-06-27 2008-06-27 輸液ユニット

Related Child Applications (1)

Application Number Title Priority Date Filing Date
JP2011140694A Division JP5384565B2 (ja) 2011-06-24 2011-06-24 ポンプユニット及びポンプシステム

Publications (3)

Publication Number Publication Date
JP2010007604A true JP2010007604A (ja) 2010-01-14
JP2010007604A5 JP2010007604A5 (ja) 2011-08-11
JP5283991B2 JP5283991B2 (ja) 2013-09-04

Family

ID=41588375

Family Applications (1)

Application Number Title Priority Date Filing Date
JP2008169337A Active JP5283991B2 (ja) 2008-06-27 2008-06-27 輸液ユニット

Country Status (1)

Country Link
JP (1) JP5283991B2 (ja)

Cited By (4)

* Cited by examiner, † Cited by third party
Publication number Priority date Publication date Assignee Title
CN105534460A (zh) * 2016-01-22 2016-05-04 宁波欧琳实业有限公司 水槽式清洗机
CN112975388A (zh) * 2021-03-16 2021-06-18 烟台凯博机械自动化设备有限公司 输液器短管与三通管的组装生产线
WO2025110637A1 (ko) * 2023-11-20 2025-05-30 엘지전자 주식회사 식기세척기
WO2025110639A1 (ko) * 2023-11-20 2025-05-30 엘지전자 주식회사 식기세척기와 이의 제어방법

Citations (6)

* Cited by examiner, † Cited by third party
Publication number Priority date Publication date Assignee Title
JPH05159666A (ja) * 1991-12-03 1993-06-25 Canon Inc スイッチ装置
JP3027738U (ja) * 1996-02-07 1996-08-13 長雄 玉川 チユーブポンプ
JP2004089843A (ja) * 2002-08-30 2004-03-25 Teepol Diversey Kk 自動洗浄方法およびそれに用いる洗浄剤自動供給装置
JP2005253999A (ja) * 2005-05-20 2005-09-22 Terumo Corp 輸液ポンプ
JP2005351131A (ja) * 2004-06-09 2005-12-22 Seiko Epson Corp 流体輸送装置
JP2006304920A (ja) * 2005-04-27 2006-11-09 Seiko Epson Corp 流体輸送システム

Patent Citations (6)

* Cited by examiner, † Cited by third party
Publication number Priority date Publication date Assignee Title
JPH05159666A (ja) * 1991-12-03 1993-06-25 Canon Inc スイッチ装置
JP3027738U (ja) * 1996-02-07 1996-08-13 長雄 玉川 チユーブポンプ
JP2004089843A (ja) * 2002-08-30 2004-03-25 Teepol Diversey Kk 自動洗浄方法およびそれに用いる洗浄剤自動供給装置
JP2005351131A (ja) * 2004-06-09 2005-12-22 Seiko Epson Corp 流体輸送装置
JP2006304920A (ja) * 2005-04-27 2006-11-09 Seiko Epson Corp 流体輸送システム
JP2005253999A (ja) * 2005-05-20 2005-09-22 Terumo Corp 輸液ポンプ

Cited By (5)

* Cited by examiner, † Cited by third party
Publication number Priority date Publication date Assignee Title
CN105534460A (zh) * 2016-01-22 2016-05-04 宁波欧琳实业有限公司 水槽式清洗机
CN112975388A (zh) * 2021-03-16 2021-06-18 烟台凯博机械自动化设备有限公司 输液器短管与三通管的组装生产线
CN112975388B (zh) * 2021-03-16 2024-06-07 烟台凯博机械自动化设备有限公司 输液器短管与三通管的组装生产线
WO2025110637A1 (ko) * 2023-11-20 2025-05-30 엘지전자 주식회사 식기세척기
WO2025110639A1 (ko) * 2023-11-20 2025-05-30 엘지전자 주식회사 식기세척기와 이의 제어방법

Also Published As

Publication number Publication date
JP5283991B2 (ja) 2013-09-04

Similar Documents

Publication Publication Date Title
JP5283991B2 (ja) 輸液ユニット
US8393817B2 (en) Small electrical appliance
EP2868988B1 (en) Humidifier
US8528782B2 (en) Grease gun
JP2010007604A5 (ja)
CN104582546B (zh) 用于在饮料配料机中自动检测的系统
US8366834B2 (en) Endoscope cleaning/disinfecting apparatus
CN116056618A (zh) 用于洗碗机的清洗剂分配器
US20180010950A1 (en) Liquid out-of-product alarm system and method
US20140013839A1 (en) Water softener system and method
JP5384565B2 (ja) ポンプユニット及びポンプシステム
EP4155632A1 (en) Ice making machine
CN116033859A (zh) 用于洗碗机的清洗剂分配器
KR970047503A (ko) 자동제빙장치
JP3633922B2 (ja) 製氷機
KR100245431B1 (ko) 세탁기의 세탁조 오염표시 제어 시스템
CN114206190B (zh) 家用洗碗机
CN219089728U (zh) 具有负载保护的冲牙器
KR20160111396A (ko) 음료 배출 기기 내 교환 가능한 공급 팩을 사용하기 위한 방법 및 교환 가능한 공급 팩을 포함하는 시스템 및 컴퓨터 프로그램 제품
CN106182099B (zh) 电动剃须刀
CN219629566U (zh) 一种洗碗机
JP2002018183A (ja) 洗濯機
CN116056617A (zh) 用于洗碗机的清洗剂分配器
CN115007543A (zh) 清洗装置及其清洗方法
CN101044969A (zh) 餐具清洗机

Legal Events

Date Code Title Description
A521 Request for written amendment filed

Free format text: JAPANESE INTERMEDIATE CODE: A523

Effective date: 20110624

A621 Written request for application examination

Free format text: JAPANESE INTERMEDIATE CODE: A621

Effective date: 20110624

A977 Report on retrieval

Free format text: JAPANESE INTERMEDIATE CODE: A971007

Effective date: 20120815

A131 Notification of reasons for refusal

Free format text: JAPANESE INTERMEDIATE CODE: A131

Effective date: 20121002

A521 Request for written amendment filed

Free format text: JAPANESE INTERMEDIATE CODE: A523

Effective date: 20121130

TRDD Decision of grant or rejection written
A01 Written decision to grant a patent or to grant a registration (utility model)

Free format text: JAPANESE INTERMEDIATE CODE: A01

Effective date: 20130502

A61 First payment of annual fees (during grant procedure)

Free format text: JAPANESE INTERMEDIATE CODE: A61

Effective date: 20130529

R150 Certificate of patent or registration of utility model

Ref document number: 5283991

Country of ref document: JP

Free format text: JAPANESE INTERMEDIATE CODE: R150

R250 Receipt of annual fees

Free format text: JAPANESE INTERMEDIATE CODE: R250

R250 Receipt of annual fees

Free format text: JAPANESE INTERMEDIATE CODE: R250

R250 Receipt of annual fees

Free format text: JAPANESE INTERMEDIATE CODE: R250

R250 Receipt of annual fees

Free format text: JAPANESE INTERMEDIATE CODE: R250