JP2010006151A - 電波送受信装置の冷却方式 - Google Patents

電波送受信装置の冷却方式 Download PDF

Info

Publication number
JP2010006151A
JP2010006151A JP2008165585A JP2008165585A JP2010006151A JP 2010006151 A JP2010006151 A JP 2010006151A JP 2008165585 A JP2008165585 A JP 2008165585A JP 2008165585 A JP2008165585 A JP 2008165585A JP 2010006151 A JP2010006151 A JP 2010006151A
Authority
JP
Japan
Prior art keywords
cooling
radio wave
medium
heat exchanger
pod
Prior art date
Legal status (The legal status is an assumption and is not a legal conclusion. Google has not performed a legal analysis and makes no representation as to the accuracy of the status listed.)
Granted
Application number
JP2008165585A
Other languages
English (en)
Other versions
JP4912359B2 (ja
Inventor
Mitsuji Iwamoto
充司 岩本
Yoshihiko Inoue
良彦 井上
Current Assignee (The listed assignees may be inaccurate. Google has not performed a legal analysis and makes no representation or warranty as to the accuracy of the list.)
Mitsubishi Electric Corp
Original Assignee
Mitsubishi Electric Corp
Priority date (The priority date is an assumption and is not a legal conclusion. Google has not performed a legal analysis and makes no representation as to the accuracy of the date listed.)
Filing date
Publication date
Application filed by Mitsubishi Electric Corp filed Critical Mitsubishi Electric Corp
Priority to JP2008165585A priority Critical patent/JP4912359B2/ja
Publication of JP2010006151A publication Critical patent/JP2010006151A/ja
Application granted granted Critical
Publication of JP4912359B2 publication Critical patent/JP4912359B2/ja
Active legal-status Critical Current
Anticipated expiration legal-status Critical

Links

Images

Landscapes

  • Cooling Or The Like Of Electrical Apparatus (AREA)

Abstract

【課題】空力加熱により冷却冷媒より外気温が高くなるような条件下、あるいは外気温が低い状態で過度に装置が冷却される条件下でも、その機能を十分に発揮できる電波送受信装置の冷却方式を得る。
【解決手段】高速移動体の外壁面に装備したポッド内に実装された電波送受信装置の冷却方式において、ポッド外壁面の一部に形成され外気と接触する熱交換部を有する熱交換器、この熱交換器で冷却された媒体を循環させ電波送受信装置を冷却する循環ポンプ、及び少なくともこの循環ポンプと熱交換器とにより構成された閉媒体循環路を備え、閉媒体循環路に加温部and/or冷却部を設け、媒体を適宜加温又は冷却するものである。
【選択図】図2

Description

この発明は、高速移動体例えば航空機等の外装品(ポッド)に実装される電波送受信装置を、外装品の壁面を使用して冷却する冷却方式に関するものである。
従来の航空機に搭載される電装品の冷却方式(装置)については、例えば特許文献1〜3に示された技術がある。
特許文献1は、気化したフロンを液化するVCS(Vapor Cycle System)冷却方式を採用し、代替フロンを冷媒としており、熱交換器入り口では高温高圧のガス(気体)でヒートシンク12を持っている。又、電子機器を通過(冷却)する際も高圧ガスである。
特許文献2は、航行体に取り付ける冷却機能を持ったポッドで、独特の筒状形状のものの中に、冷却、整流を兼ねたフィンが構成されている。又、主として「ちくわ状の肉の部分」に電装品を搭載するようになされている。
特許文献3は、航空機に搭載される(又は搭載可能な)燃料用ポッドを冷却に必要な冷媒(冷却ガス)の供給源とするものである。
この他、一般的な冷却手法としては、外気を取り込み、内装した冷却器で冷却する方式及び搭載母体(航空機)等から冷却空気を送り込む方式などがある。
特開2001−97285号公報 特開2008−7009号公報 特開平10−109695号公報
特許文献1は、上記のごとくコンプレッサを有するVCS方式であり、コンプレッサを動作させるために複雑な制御システムが必要となり、装置規模及び所要電源容量が増大する。又、冷却系の発熱も大きくなりその分の冷却能力(容量)も必要となる。
特許文献2は、独特の筒状形状(既存ポッドなどの形状を生かしたものでない)のポッドの中に、冷却・整流を兼ねたフィンが構成され、主として「ちくわ状の肉の部分」に電装品を搭載するようになされているので、搭載品の空間的制約が大きく電装品の搭載空間が非効率的である。
又、低温の外気を使って冷却するものではあるが、外気温度が極低温の場合でも装置を過冷却しないような仕組みがなく、その逆に空力過熱で高温の外気に曝された場合の対応がなされていないなどの課題がある。
特許文献3は、燃料用ポッドを冷却に必要な冷媒(冷却ガス)の供給源とするものであるが、所望の機能・性能を発揮する装備品の他に冷媒用に外装品が必要となり、特に十分な搭載場所を持たない航空機等に適用する場合、運用に制限をきたす等の課題が生じる。
又、一般的な冷却手法として、外気を取り込み内装した冷却器で冷却する方式及び搭載母体(航空機)等から冷却空気を送り込む方式などがあるが、外装品の形状が航空機等の飛行運動性能に影響を与えるため、外装品の外形状に制約が生じる。又、外気を取り込む際に異物が混入し、所望の冷却性能を得ることができなくなる等の課題がある。
この発明は、上記のような問題点を解消するためになされたものである。
この発明に係わる電波送受信装置の冷却方式は、高速移動体の外壁面に装備したポッド内に実装された電波送受信装置の冷却方式において、上記ポッド外壁面の一部に形成され外気と接触する熱交換部を有する熱交換器、この熱交換器で冷却された媒体を循環させ上記電波送受信装置を冷却する循環ポンプ、及び少なくともこの循環ポンプと上記熱交換器とにより構成された閉媒体循環路を備え、上記閉媒体循環路に加温部を設け、上記媒体が過冷却され上記電波送受信装置の正常動作許容温度以下に低下した時、この過冷媒体を上記加温部によって温めるものである。
この発明によれば、循環ポンプで媒体を循環させるだけの単純な構成であり、循環ポンプの発熱のみに対応すればよいので構成が簡素となり、VCS等の複雑な機能、構成を有する冷却方式に比較して小型かつ低消費電力で効果を発揮することが期待でき、冷却効率のよい装置を提供できるものである。
又、電波送受信装置などの電装品以外の外装品を設けず、外装品(ポッド)は他の搭載実績品(例えば燃料増槽用のタンク)と同一形状のものを採用しているので、装置の運用に際し新たに航空機等の運動性能の検証を必要とせず、空力加熱により冷却冷媒より外気温が高くなるような条件下でも、あるいは外気温が低い状態で過度に装置が冷却される条件下でも、その機能を十分に発揮できるものである。
以下、図面に基づいて、この発明の各実施の形態を説明する。
なお、各図間において、同一符号は同一あるいは相当部分を示す。
第1図(a)(b)(c)は、この発明にかかる電波送受信装置の冷却方式を採用した冷却装置の基本構成を示す構成図である。
すなわち、この冷却装置は、第1図に示すように高速移動体、例えば航空機(図示せず)の胴体外壁面に装備され内部に電波送受信装置2を実装したポッド1、このポッド1の外壁面の一部1aに形成され外気Aと接触(電波送受信装置2から冷媒が奪った熱を外部に排熱)する熱交換部4を有する熱交換器40、この熱交換器40で冷却された媒体Bを圧力で循環させ電波送受信装置2を冷却する循環ポンプ3、及び少なくともこの循環ポンプ3と熱交換器40とにより構成された閉媒体循環路100を基本構成としている。なお、閉媒体循環路100を循環する媒体Bとしては、エチレングリコール水溶液又はオイル類を使用するものである。
以下、各実施の形態に基づき、この発明にかかる冷却方式を採用した冷却装置を説明する。
実施の形態1.
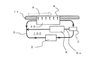
図2は、実施の形態1である冷却装置の要部を示す説明図である。
この実施の形態1では、電波送受信装置2が、その装置に要求される性能によっては過度に冷却することが許容されない場合に対応して、図2に示すように、第1図(a)の基本構成の閉媒体循環路100に、媒体Bの温度を制御する機能、すなわち過冷媒体を温める加温部を付加したものである。
この加温部は、バイパスバルブ機能(図示せず)を持った温度制御部5と温度検出部6とで構成され、温度制御部5は、媒体Bの温度を制御して過剰に電波送受信装置2を冷却しないようにする。又,温度検出部6は、電波送受信装置2へ流入する媒体Bの温度を検出し、温度制御部5にその情報を伝える。温度制御部5は、媒体Bが電波送受信装置2にとって適切な温度となるようバイパスバルブ(図示せず)を制御し電波送受信装置2で温められた媒体の一部Baを熱交換器40の流出側循環路へ分流する。なお、図2中の矢印56は、温度検出部6から温度制御部5への温度情報の伝達を示し、その他の構成間の矢印は、媒体Bの流れを図示している。
このようにして、媒体Bが電波送受信装置2の正常動作許容温度以下に低下した時,この低下温度を検知し電波送受信装置2で温められた媒体Bによって電波送受信装置2が過冷却されるのを防止する。
実施の形態2.
図3は、実施の形態2である冷却装置を示す説明図で、実施の形態1(図2)に沸騰冷却型冷却部7(以下「沸騰冷却部」という)を付加したものである。
第3図(a)は、冷却装置の構成図、(b)は、沸騰冷却部の説明図である。
航空機等は、高速で飛行するため、空力加熱により外気温が媒体B(冷媒)より高温になる条件で飛行する可能性がある。このような環境下で、図1に示した基本構成のみの方式で冷却を実施すると、外気温が媒体Bより高温となるため媒体が温められ、所望の冷却性能を得られなくなる。
このような状態を回避するため、循環ポンプ3の部分に沸騰冷却部7を付加し、外気からの熱を電波送受信装置2に伝えないようにする。
沸騰冷却部7は、第3図(b)のような構成とし、沸騰冷却冷媒71の中に分流路101を貫通させ、この分流路を流れる媒体Baを沸騰冷却冷媒71で冷却する。
このように、ポッド1の外周面1aが空力加熱によって温められ、媒体Bの温度が上昇した時、沸騰冷却部7によって、温められた媒体Bの冷却が行われる。
第4図は、実施の形態2の変形例を示し、上記沸騰冷却部7の代わりに蓄熱冷却型冷却部8(以下「蓄熱冷却部」という)を採用した場合である。
図3の説明と同様に、航空機等は高速で飛行するため、空力過熱により外気温が冷媒Bより高温になる条件で飛行する可能性がある。このような環境下で、図1に示した基本構成のみの方式で冷却を実施すると、外気温が媒体Bより高温となり媒体が温められ、所望の冷却性能を得られなくなる。
このような状態を回避するため、蓄熱冷却部8を付加し、外気からの熱を電波送受信装置2に伝えないようにする。
蓄熱冷却部8は、保温機能を持つ冷却部で、冷媒を注入しておき、図3の(b)で示したのと同様に蓄熱冷媒の中に分流路(101に相当、図示せず)を貫通させ、この分流路を流れる媒体Baを熱蓄熱冷却冷媒で冷却する。
実施の形態3.
実施の形態3にかかる冷却装置は、実施の形態1(図2)と実施の形態2(図3又は図4)を同時に採用した場合である。
実施の形態2の方式で冷却する電波送受信装置2が、実施の形態1で説明した場合と同様に、過度に冷却することが許容されない場合があるが、実施の形態3は、このような場合に対処するため実施の形態2と実施の形態1とを同時に採用したものである。
すなわち、実施の形態2に、実施の形態1の加温部(温度制御部5、温度検出部6)を付加し、媒体B(冷媒)の温度を制御して過剰に電波送受信装置2を冷却しないようにする。
図5は、沸騰冷却部7を備えた実施の形態2(図3)に、実施の形態1(図2)を同時に採用した場合である。
第6図は、実施の形態3の変形例を示し、沸騰冷却部7の代わりに、図4の蓄熱冷却部8を採用した場合である。その他の構成は、図5と同じのため、説明を省略する。
実施の形態4.
実施の形態4にかかる冷却装置は、実施の形態1〜3の何れかに、新たにヒータ9を付加した場合である。
第7図は、実施の形態3(図5)にヒータ9を付加した場合である。
第8図は、実施の形態3の変形例(図6)にヒータ9を付加した場合である。
この実施の形態4にかかる冷却装置は、外気温が低い状態で装置を立ち上げる場合、電波送受信装置2を過度に冷却した状態で立ち上げることを防ぐため、ヒータ9を追加して媒体B(冷媒)を適当な温度に制御するものである。その他の構成は、実施の形態3と同じのため、説明を省略する。
なお、実施の形態1又は実施の形態2に、ヒータを付加した場合の説明は、省略する。
この発明にかかる電波送受信装置の冷却方式を採用した冷却装置の基本構成を示す説明図で、(a)は基本構成図、(b)はポッドの内部を示す斜視図、(c)は、熱交換器部分の分解斜視図である。 実施の形態1である冷却装置の構成図である。 実施の形態2である冷却装置の説明図で、(a)は冷却装置の構成図、(b)は、沸騰冷却部の説明図である。 実施の形態2の変形例を示す冷却装置の構成図である。 実施の形態3である冷却装置の構成図である。 実施の形態3の変形例を示す冷却装置の構成図である。 実施の形態4である冷却装置の構成図である。 実施の形態4の変形例を示す冷却装置の構成図である。
符号の説明
1 ポッド 1a ポッド1の外壁面の一部
2 電波送受信装置 3 循環ポンプ
4 熱交換部 40 熱交換器
5 温度制御部 6 温度検出部
7 沸騰冷却型冷却部(沸騰冷却部) 71 沸騰冷却冷媒
8 蓄熱冷却型冷却部(蓄熱冷却部) 9 ヒータ
100 閉媒体循環路 101 分流路
A 外気
B 媒体(冷媒) Ba 媒体の一部。

Claims (4)

  1. 高速移動体の外壁面に装備したポッド内に実装された電波送受信装置の冷却方式において、上記ポッド外壁面の一部に形成され外気と接触する熱交換部を有する熱交換器、この熱交換器で冷却された媒体を循環させ上記電波送受信装置を冷却する循環ポンプ、及び少なくともこの循環ポンプと上記熱交換器とにより構成された閉媒体循環路を備え、
    上記閉媒体循環路に加温部を設け、上記媒体が過冷却され上記電波送受信装置の正常動作許容温度以下に低下した時、この過冷媒体を上記加温部によって温めることを特徴とする電波送受信装置の冷却方式。
  2. 高速移動体の外壁面に装備したポッド内に実装された電波送受信装置の冷却方式において、上記ポッド外壁面の一部に形成され外気と接触する熱交換部を有する熱交換器、この熱交換器で冷却された媒体を循環させ上記電波送受信装置を冷却する循環ポンプ、及び少なくともこの循環ポンプと上記熱交換器とにより構成された閉媒体循環路を備え、
    上記閉媒体循環路に沸騰冷却型又は蓄熱冷却型の冷却部を設け、上記ポッドの外壁面が空力加熱されることにより上記媒体の温度が上昇した時、この温度上昇した媒体を上記冷却部によって冷却することを特徴とする電波送受信装置の冷却方式。
  3. 高速移動体の外壁面に装備したポッド内に実装された電波送受信装置の冷却方式において、上記ポッド外壁面の一部に形成され外気と接触する熱交換部を有する熱交換器、この熱交換器で冷却された媒体を循環させ上記電波送受信装置を冷却する循環ポンプ、少なくともこの循環ポンプと上記熱交換器とにより構成された閉媒体循環路を備え、
    上記閉媒体循環路に加温部、及び沸騰冷却型又は蓄熱冷却型の冷却部を設け、上記媒体が過冷却され上記電波送受信装置の正常動作許容温度以下に低下した時、この過冷媒体を上記加温部によって温めると共に、上記ポッドの外壁面が空力加熱されることにより上記媒体の温度が上昇した時、この温度上昇した媒体を上記冷却部によって冷却することを特徴とする電波送受信装置の冷却方式。
  4. 上記閉媒体循環路にヒーターを設け、上記高速移動体の運行開始時に上記電波送受信装置の周囲温度が電波送受信装置の正常動作許容温度以下である場合、上記媒体を上記ヒーターによって加温することを特徴とする請求項1〜請求項3のいずれか1項に記載の電波送受信装置の冷却方式。
JP2008165585A 2008-06-25 2008-06-25 電波送受信装置の冷却方式 Active JP4912359B2 (ja)

Priority Applications (1)

Application Number Priority Date Filing Date Title
JP2008165585A JP4912359B2 (ja) 2008-06-25 2008-06-25 電波送受信装置の冷却方式

Applications Claiming Priority (1)

Application Number Priority Date Filing Date Title
JP2008165585A JP4912359B2 (ja) 2008-06-25 2008-06-25 電波送受信装置の冷却方式

Publications (2)

Publication Number Publication Date
JP2010006151A true JP2010006151A (ja) 2010-01-14
JP4912359B2 JP4912359B2 (ja) 2012-04-11

Family

ID=41587140

Family Applications (1)

Application Number Title Priority Date Filing Date
JP2008165585A Active JP4912359B2 (ja) 2008-06-25 2008-06-25 電波送受信装置の冷却方式

Country Status (1)

Country Link
JP (1) JP4912359B2 (ja)

Citations (10)

* Cited by examiner, † Cited by third party
Publication number Priority date Publication date Assignee Title
JPS5824685A (ja) * 1981-07-29 1983-02-14 ユナイテツド・テクノロジ−ズ・コ−ポレイシヨン カツプリング
JPH01256775A (ja) * 1988-04-04 1989-10-13 Mitsubishi Electric Corp ポツド冷却装置
JPH10109695A (ja) * 1996-10-08 1998-04-28 Mitsubishi Heavy Ind Ltd 冷却ガス供給用ポッド及びこれを具えた航空機
JP2000346518A (ja) * 1999-06-04 2000-12-15 Shimadzu Corp 冷却装置
US6205803B1 (en) * 1996-04-26 2001-03-27 Mainstream Engineering Corporation Compact avionics-pod-cooling unit thermal control method and apparatus
JP2001097285A (ja) * 1999-07-23 2001-04-10 Shimadzu Corp 高速走行体の熱交換器
JP2003314936A (ja) * 2002-04-18 2003-11-06 Matsushita Refrig Co Ltd 冷却装置
WO2006042945A1 (fr) * 2004-10-15 2006-04-27 J.C.C. Chereau Aeronautique Dispositif a fluide de refroidissement pour ordinateur
JP2007003152A (ja) * 2005-06-27 2007-01-11 Seiko Epson Corp 冷却装置及びそれを備えた電子部品ハンドラ
JP2008007009A (ja) * 2006-06-30 2008-01-17 Toshiba Corp 航行体用ポッド

Patent Citations (10)

* Cited by examiner, † Cited by third party
Publication number Priority date Publication date Assignee Title
JPS5824685A (ja) * 1981-07-29 1983-02-14 ユナイテツド・テクノロジ−ズ・コ−ポレイシヨン カツプリング
JPH01256775A (ja) * 1988-04-04 1989-10-13 Mitsubishi Electric Corp ポツド冷却装置
US6205803B1 (en) * 1996-04-26 2001-03-27 Mainstream Engineering Corporation Compact avionics-pod-cooling unit thermal control method and apparatus
JPH10109695A (ja) * 1996-10-08 1998-04-28 Mitsubishi Heavy Ind Ltd 冷却ガス供給用ポッド及びこれを具えた航空機
JP2000346518A (ja) * 1999-06-04 2000-12-15 Shimadzu Corp 冷却装置
JP2001097285A (ja) * 1999-07-23 2001-04-10 Shimadzu Corp 高速走行体の熱交換器
JP2003314936A (ja) * 2002-04-18 2003-11-06 Matsushita Refrig Co Ltd 冷却装置
WO2006042945A1 (fr) * 2004-10-15 2006-04-27 J.C.C. Chereau Aeronautique Dispositif a fluide de refroidissement pour ordinateur
JP2007003152A (ja) * 2005-06-27 2007-01-11 Seiko Epson Corp 冷却装置及びそれを備えた電子部品ハンドラ
JP2008007009A (ja) * 2006-06-30 2008-01-17 Toshiba Corp 航行体用ポッド

Also Published As

Publication number Publication date
JP4912359B2 (ja) 2012-04-11

Similar Documents

Publication Publication Date Title
US7789176B2 (en) Electric vehicle thermal management system
KR102626014B1 (ko) 차량용 열관리 시스템
KR102579716B1 (ko) 차량용 열관리 시스템
US8915091B2 (en) Thermoelectric-based thermal management system
JP6879122B2 (ja) 電池温調装置
CN112889173B (zh) 废热回收电力电子器件冷却
CN104842752A (zh) 车辆冷却回路
US10655504B2 (en) Heat pump for warming engine coolant
CN106314070A (zh) 车辆空调设备和对车辆电池控温的方法
CN111788082B (zh) 用于电驱动车辆的热调节系统和包括这种系统的车辆
US9097446B2 (en) Air-conditioning apparatus for vehicle
CN102340044A (zh) 电池热管理系统和方法
CN111129663A (zh) 车载热管理系统和车辆
CN108473040A (zh) 用于电驱动系统的热管理
JPWO2016031089A1 (ja) 駆動システム
CN113490821A (zh) 热传输介质及热传输系统
JP4029745B2 (ja) 熱管理システム
JP4912359B2 (ja) 電波送受信装置の冷却方式
CN110774858A (zh) 一种车辆辅助制冷制热系统及车辆
US20130276849A1 (en) Teg-powered cooling circuit for thermoelectric generator
JP2013169955A (ja) 自動車用の熱回収装置、自動車用の暖房システムおよびこれを用いた自動車
CN113733895A (zh) 混合动力车及其热管理系统
CN119159957B (zh) 基于十二通阀的热管理系统
JP7683570B2 (ja) 車両用冷却システム
US20150303536A1 (en) Battery thermal management system

Legal Events

Date Code Title Description
A621 Written request for application examination

Free format text: JAPANESE INTERMEDIATE CODE: A621

Effective date: 20091222

A131 Notification of reasons for refusal

Free format text: JAPANESE INTERMEDIATE CODE: A131

Effective date: 20110726

A977 Report on retrieval

Free format text: JAPANESE INTERMEDIATE CODE: A971007

Effective date: 20110728

A521 Request for written amendment filed

Free format text: JAPANESE INTERMEDIATE CODE: A523

Effective date: 20110921

TRDD Decision of grant or rejection written
A01 Written decision to grant a patent or to grant a registration (utility model)

Free format text: JAPANESE INTERMEDIATE CODE: A01

Effective date: 20111227

A01 Written decision to grant a patent or to grant a registration (utility model)

Free format text: JAPANESE INTERMEDIATE CODE: A01

A61 First payment of annual fees (during grant procedure)

Free format text: JAPANESE INTERMEDIATE CODE: A61

Effective date: 20120117

R151 Written notification of patent or utility model registration

Ref document number: 4912359

Country of ref document: JP

Free format text: JAPANESE INTERMEDIATE CODE: R151

FPAY Renewal fee payment (event date is renewal date of database)

Free format text: PAYMENT UNTIL: 20150127

Year of fee payment: 3

R250 Receipt of annual fees

Free format text: JAPANESE INTERMEDIATE CODE: R250

R250 Receipt of annual fees

Free format text: JAPANESE INTERMEDIATE CODE: R250

R250 Receipt of annual fees

Free format text: JAPANESE INTERMEDIATE CODE: R250

R250 Receipt of annual fees

Free format text: JAPANESE INTERMEDIATE CODE: R250

R250 Receipt of annual fees

Free format text: JAPANESE INTERMEDIATE CODE: R250

R250 Receipt of annual fees

Free format text: JAPANESE INTERMEDIATE CODE: R250

R250 Receipt of annual fees

Free format text: JAPANESE INTERMEDIATE CODE: R250

R250 Receipt of annual fees

Free format text: JAPANESE INTERMEDIATE CODE: R250

R250 Receipt of annual fees

Free format text: JAPANESE INTERMEDIATE CODE: R250

R250 Receipt of annual fees

Free format text: JAPANESE INTERMEDIATE CODE: R250

R250 Receipt of annual fees

Free format text: JAPANESE INTERMEDIATE CODE: R250