JP2010005465A - 気体供給マスク - Google Patents

気体供給マスク Download PDF

Info

Publication number
JP2010005465A
JP2010005465A JP2009237807A JP2009237807A JP2010005465A JP 2010005465 A JP2010005465 A JP 2010005465A JP 2009237807 A JP2009237807 A JP 2009237807A JP 2009237807 A JP2009237807 A JP 2009237807A JP 2010005465 A JP2010005465 A JP 2010005465A
Authority
JP
Japan
Prior art keywords
mask
forehead support
forehead
patient
bracket
Prior art date
Legal status (The legal status is an assumption and is not a legal conclusion. Google has not performed a legal analysis and makes no representation as to the accuracy of the status listed.)
Granted
Application number
JP2009237807A
Other languages
English (en)
Other versions
JP4870805B2 (ja
Inventor
Jason P Eaton
イートン・ジェイソン・ピー
Richard J Lordo
ロード・リチャード・ジェイ
Lance Busch
ブッシュ・ランス
Peter Ho
ホ・ピーター
Current Assignee (The listed assignees may be inaccurate. Google has not performed a legal analysis and makes no representation or warranty as to the accuracy of the list.)
Respironics Inc
Original Assignee
RIC Investments LLC
Priority date (The priority date is an assumption and is not a legal conclusion. Google has not performed a legal analysis and makes no representation as to the accuracy of the date listed.)
Filing date
Publication date
Family has litigation
First worldwide family litigation filed litigation Critical https://patents.darts-ip.com/?family=43063762&utm_source=google_patent&utm_medium=platform_link&utm_campaign=public_patent_search&patent=JP2010005465(A) "Global patent litigation dataset” by Darts-ip is licensed under a Creative Commons Attribution 4.0 International License.
Application filed by RIC Investments LLC filed Critical RIC Investments LLC
Publication of JP2010005465A publication Critical patent/JP2010005465A/ja
Application granted granted Critical
Publication of JP4870805B2 publication Critical patent/JP4870805B2/ja
Anticipated expiration legal-status Critical
Expired - Fee Related legal-status Critical Current

Links

Images

Classifications

    • AHUMAN NECESSITIES
    • A61MEDICAL OR VETERINARY SCIENCE; HYGIENE
    • A61MDEVICES FOR INTRODUCING MEDIA INTO, OR ONTO, THE BODY; DEVICES FOR TRANSDUCING BODY MEDIA OR FOR TAKING MEDIA FROM THE BODY; DEVICES FOR PRODUCING OR ENDING SLEEP OR STUPOR
    • A61M16/00Devices for influencing the respiratory system of patients by gas treatment, e.g. ventilators; Tracheal tubes
    • A61M16/06Respiratory or anaesthetic masks
    • A61M16/0683Holding devices therefor
    • AHUMAN NECESSITIES
    • A61MEDICAL OR VETERINARY SCIENCE; HYGIENE
    • A61MDEVICES FOR INTRODUCING MEDIA INTO, OR ONTO, THE BODY; DEVICES FOR TRANSDUCING BODY MEDIA OR FOR TAKING MEDIA FROM THE BODY; DEVICES FOR PRODUCING OR ENDING SLEEP OR STUPOR
    • A61M16/00Devices for influencing the respiratory system of patients by gas treatment, e.g. ventilators; Tracheal tubes
    • A61M16/06Respiratory or anaesthetic masks
    • AHUMAN NECESSITIES
    • A61MEDICAL OR VETERINARY SCIENCE; HYGIENE
    • A61MDEVICES FOR INTRODUCING MEDIA INTO, OR ONTO, THE BODY; DEVICES FOR TRANSDUCING BODY MEDIA OR FOR TAKING MEDIA FROM THE BODY; DEVICES FOR PRODUCING OR ENDING SLEEP OR STUPOR
    • A61M16/00Devices for influencing the respiratory system of patients by gas treatment, e.g. ventilators; Tracheal tubes
    • A61M16/06Respiratory or anaesthetic masks
    • A61M16/0605Means for improving the adaptation of the mask to the patient
    • A61M16/0633Means for improving the adaptation of the mask to the patient with forehead support
    • AHUMAN NECESSITIES
    • A61MEDICAL OR VETERINARY SCIENCE; HYGIENE
    • A61MDEVICES FOR INTRODUCING MEDIA INTO, OR ONTO, THE BODY; DEVICES FOR TRANSDUCING BODY MEDIA OR FOR TAKING MEDIA FROM THE BODY; DEVICES FOR PRODUCING OR ENDING SLEEP OR STUPOR
    • A61M16/00Devices for influencing the respiratory system of patients by gas treatment, e.g. ventilators; Tracheal tubes
    • A61M16/06Respiratory or anaesthetic masks
    • A61M16/0605Means for improving the adaptation of the mask to the patient
    • A61M16/0633Means for improving the adaptation of the mask to the patient with forehead support
    • A61M16/0638Means for improving the adaptation of the mask to the patient with forehead support in the form of a pivot
    • AHUMAN NECESSITIES
    • A61MEDICAL OR VETERINARY SCIENCE; HYGIENE
    • A61MDEVICES FOR INTRODUCING MEDIA INTO, OR ONTO, THE BODY; DEVICES FOR TRANSDUCING BODY MEDIA OR FOR TAKING MEDIA FROM THE BODY; DEVICES FOR PRODUCING OR ENDING SLEEP OR STUPOR
    • A61M16/00Devices for influencing the respiratory system of patients by gas treatment, e.g. ventilators; Tracheal tubes
    • A61M16/06Respiratory or anaesthetic masks
    • A61M16/0605Means for improving the adaptation of the mask to the patient
    • A61M16/0633Means for improving the adaptation of the mask to the patient with forehead support
    • A61M16/0644Means for improving the adaptation of the mask to the patient with forehead support having the means for adjusting its position
    • A61M16/0655Means for improving the adaptation of the mask to the patient with forehead support having the means for adjusting its position in the form of a linear or curvilinear slide

Landscapes

  • Health & Medical Sciences (AREA)
  • Emergency Medicine (AREA)
  • Pulmonology (AREA)
  • Engineering & Computer Science (AREA)
  • Anesthesiology (AREA)
  • Biomedical Technology (AREA)
  • Heart & Thoracic Surgery (AREA)
  • Hematology (AREA)
  • Life Sciences & Earth Sciences (AREA)
  • Animal Behavior & Ethology (AREA)
  • General Health & Medical Sciences (AREA)
  • Public Health (AREA)
  • Veterinary Medicine (AREA)
  • Respiratory Apparatuses And Protective Means (AREA)
  • Accommodation For Nursing Or Treatment Tables (AREA)
  • Eye Examination Apparatus (AREA)
  • Magnetic Resonance Imaging Apparatus (AREA)
  • Apparatus For Radiation Diagnosis (AREA)

Abstract

【課題】 ヘッドギア及び額支持ブラケットを患者に装着した状態を保持しつつ実現できるマスク殻及び気体誘導管の分離機能を有する気体供給マスクの提供。
【解決手段】本発明による気体供給マスクは、マスク殻と、額支持体と、額支持体ではなくマスク殻に連結される気体誘導管と、額支持ブラケットに連結されるヘッドギアとを備え、額支持体は、マスク殻に取り付けられる支持アームと、額支持ブラケットと、患者がマスクを装着しながら、額支持ブラケットを支持アームから取り外し可能に、支持アームを額支持ブラケットに取り付ける連結装置とを備え、ヘッドギア及び額支持ブラケットを患者に装着した状態を保持しながら、額支持ブラケットを支持アームから取り外すことにより、マスク殻及び気体誘導管を単一の組立体として患者から分離できる。
【選択図】 図1

Description

米国特許法第119条(e)の規定により、本願は、2002年9月6日に出願された米国特許仮出願第60/408,836号の利益を主張する。
本発明は、気体供給マスク用支持装置、特に、気体供給マスクの額支持装置及び額支持装置を備えた患者に気体流を供給する装置に関する。
患者に挿管せず又は患者の食道内に外科的に気管チューブを挿入せずに、患者の気道に呼吸用気体を非侵襲的に供給することが必要かつ望ましい状況は多く存在する。例えば、非侵襲式換気法として知られた技術を使用して患者に気体を供給することは公知である。また、持続気道陽圧(CPAP)又は患者の呼吸周期と共に変化する可変気道圧力を患者に付与して、睡眠無呼吸症候群、特に閉塞性睡眠時無呼吸症(OSA)又は鬱血性心不全等の医療疾患を治療することは公知である。非侵襲的換気法及び圧力支援治療法では、典型的には鼻又は鼻/口マスクである患者界面材装置を患者の顔面上に配置し、人工呼吸器又は圧力支援装置を患者の気道に接続して、圧力/流れ発生装置から患者の気道に呼吸気体流を供給できる。上部ストラップ及び下部ストラップを有するヘッドギアにより、患者の顔面にマスクを保持し、マスクの両側及び頂部に設けられる連結要素に上部ストラップ及び下部ストラップの各両端を挿通する構造は公知である。
典型的には、患者の顔面に対して十分に気密の密封構造を形成して不快感なくヘッドギアによりマスクを維持してマスクを長時間着用できることが重要である。マスクの縁の周囲から過度に気体が漏洩しない密封構造を維持するため、マスクを患者の顔面に押圧しなければならない問題が生ずる。
気体供給マスクに額支持体を接続して、マスクと患者の額との間に額支持構造を形成することは公知である。額当クッション、スペーサ又は支持体を有する気体供給マスクは、特許文献1、特許文献2、特許文献3、特許文献4、特許文献5及び特許文献6に開示される。額支持体は、マスクの押圧力をより広範囲に分散させて、マスクの過剰な押圧力が患者の顔面のほぼ一点に集中することを防止すると共に、鼻橋等の特定の圧点での患者への押圧力を十分に抑制して、マスクに安定性を付与するものである。
特許文献7は、額支持体を有する他のマスクを開示する。この装置では、額支持体は、呼吸マスクに固定されるように取り付けられる。額支持体は、マスクに固定される接続部材と、接続部材に回転可能に取り付けられる緩衝枠部とを備える。接続部材に対して緩衝枠部が単一直線上で一次元回転を行って、額当緩衝枠部の位置を調節できるが、着用者の頭部額に対する配置範囲を最適化できない。
米国特許第4,907,584号明細書 米国特許第5,243,971号明細書 米国特許第5,517,986号明細書 米国特許第5,570,689号明細書 米国特許第6,119,693号明細書 米国特許第6,357,441号明細書 国際公開第WO/78384A1号
前記従来のマスクでは、気体供給マスク支持体の安定性を向上する必要があることは明らかである。また、ヘッドギアの締付力を均一に分散する額支持体を提供する必要も存在する。更に、広範な額の形状及び大きさに適用できる調節可能な額支持体を有するマスクを提供する必要が存在する。また更に、ヘッドギアとマスクとを個別に装着できる額支持ブラケットを提供する必要が存在する。
本発明の例示的な実施の形態は、
(a)マスク殻と、
(b)額支持体と、
(c)額支持体ではなくマスク殻に連結される気体誘導管と、
(d)額支持ブラケットに連結されるヘッドギアとを備え、
額支持体は、
(1)マスク殻に取り付けられる支持アームと、
(2)額支持ブラケットと、
(3)患者がマスクを装着しながら、額支持ブラケットを支持アームから取り外し可能に、支持アームを額支持ブラケットに取り付ける連結装置とを備え、
ヘッドギア及び額支持ブラケットを患者に装着した状態を保持しながら、額支持ブラケットを支持アームから取り外すことにより、マスク殻及び気体誘導管を単一の組立体として患者から分離できることを特徴とする気体供給マスクを提供する。
本発明の例示的な実施の形態は、更に、額支持体とマスク殻との相対的な位置を調整して、マスク殻に対してが少なくとも2次元で額支持体を移動できる調節組立体を備えてもよい。調節組立体は、マスク殻に取り付けられる円弧状の取付部材を含み、支持アームの第1の部分は、円弧状の取付部材に移動可能に装着されてもよい。調節組立体は、円弧状の取付部材上に配置された複数の歯部を含み、支持アームの第1の部分は、複数の歯部の少なくとも1つに係合する可撓部を含んでよい。
連結装置は、支持アームの一部に形成されるスロットと、支持アームの一部に形成されかつ予め決められた角度でスロットから延伸し、スロットに連絡する切欠部と、額支持ブラケットに取り付けられる連結ブラケットとを備え、連結ブラケットは、予め決められた角度で切欠部内を通過することにより、スロット内に着脱可能に連結ブラケットを嵌合できる形状を有し、スロット内に配置された連結ブラケットをスロット内で回転できる。
本発明の特徴及び特性、構造を構成する関連要素の操作法及び機能並びに製造の経済性は、全て本明細書の一部となり、種々の図面で対応する部品を同一の符号で示す添付図面に関する下記の記載及び特許請求の範囲の記載から明らかとなろう。しかしながら、図面は、図示及び説明の目的に過ぎず、本発明の限界を決定する定義を意味しないことは明白に理解できよう。
気体流発生装置に接続される本発明の例示的な実施の形態の原理によるマスク及び額支持装置を(概略的に)示す斜視図 図1に示すマスク及び額支持装置の部分側面図 図1に示すマスク及び額支持装置の分解図 本発明によるマスク及び額支持装置の第2の実施の形態を示す部分斜視図 本発明によるマスク及び額支持装置の第3の実施の態様を示す部分斜視図 本発明によるマスク及び額支持装置の第4の実施の態様を示す部分斜視図 本発明によるマスク及び額支持装置の第5の実施の形態を示す部分斜視図 図7に示すマスク及び額支持装置の部分側面図 図7に示す支持アームの斜視図 図7に示すスライドピンの底面斜視図 ヘッドギアストラップを付加した図7に示す額支持ブラケットの平面図 ヘッドギアストラップを有する図7に示す額支持ブラケットの背面図
本発明の現在好適な実施の形態の説明では、用語「水平」及び「垂直」は、添付図面に示すマスクの方向を指称する。
図1〜図3は、本発明の原理による気体供給マスク10の例示的な実施の形態を示す。気体供給マスク10は、患者の気道と圧力発生装置12との間で呼吸用気体流を連絡する患者界面材装置として機能し、気体供給マスク10は、例えば人工呼吸器、持続気道陽圧(CPAP)装置、オートタイトレーティング持続気道陽圧装置、按分比例気道陽圧(PPAP)、按分比例支援換気装置(PAV[登録商標])又は可変圧力装置、即ち患者に供給する圧力が患者の呼吸周期と共に変化し、呼気中よりも吸気中に高圧力を供給するアメリカ合衆国ペンシルベニア州ピッツバーグに所在のレスピロニクス社が製造及び販売するBiPAP(登録商標)装置等の可変圧力装置である。
図1〜図3は、必ずしも要求されないが、ほぼ剛性構造の殻部であることが好ましいマスク殻14又はマスク本体を含む気体供給マスク10を示し、マスク殻14は、弾力性を有しかつ比較的柔らかいクッション又は密封材18を開口側に取り付けた環状部16を形成する。図示の例示的な実施の形態では、マスク殻14は、1つの丸い上端角部20と2つの丸い下端角部22とを有するほぼ三角形状である。マスク殻14は、気体供給導管26を収容する入口開口24を含む。ポリカーボネート等の剛性プラスチックによりマスク殻14を形成することが好ましい。密封材18は、患者の鼻等の一部を収容する形状を有する。別法として、マスク10は、患者の鼻及び口を包囲する鼻/口マスク又は患者の口のみを包囲する口マスクでもよい。
図示の例示的な実施の形態では、下部ヘッドギア連結組立体28は、マスク殻14の下端角部22に取り付けられる。第2の連結装置32により、ヘッドギア組立体の下部ヘッドギアストラップは、着脱自在に選択的にマスク10に連結される。図示の実施の形態では、ヘッドギアストラップ(図示せず)の端部に一対の第2の連結装置32を着脱可能に接続でき、また、マスク殻14の各面上の第1の連結装置30に第2の連結装置32を着脱可能に接続できる。別法として、下部ヘッドギア連結組立体28は、如何なる適当なヘッドギア連結組立体でもよい。
同様に、本発明では、患者界面材分野に使用される従来のヘッドギア等あらゆる適切なヘッドギアでもよいことも企図する。例えば、典型的なヘッドギア組立体は、患者の頭蓋の一部を覆う頭部装着体(図示せず)と、頭部装着体から延伸して、ヘッドギアをマスクに調節可能に接続する一対の上部ヘッドギアストラップ及び一対の下部ヘッドギアストラップとを備える。
図示の例示的な実施の形態では、上端角部20に額支持体34が設けられる。本実施の形態では、ほぼT字形状の額支持体34は、水平な額支持ブラケット40に上端38で接続される支持アーム36を含む。額支持ブラケット40は、患者に当接する側に額パッド42を備える。
額パッド42は、患者の額に対する額支持ブラケット40の実際の接触点を形成し、シリコーン等の弾性緩衝材料により形成される。図示の実施の形態では、額パッド42は、患者に接触する第1の壁43と、額支持ブラケット40上の各開口部(図示せず)に接続可能な突起46を有する第2の壁44とにより矩形状に形成される。使用者がマスクを装着するとき及び額パッド42上への押圧力が増大するとき、第1の壁が第2の壁に向けて移動するように、第1の壁43と第2の壁44との間に隙間が設けられる。例えば、額パッド42に対する押圧力が増加するとき、第1の壁43が第2の壁44上に簡単に潰れないように、第1の壁(43)と第2の壁(44)との間に延伸する一対の擁壁48によって、安定性が確保される。本発明では、額パッド42は、1つ以上のパッド及び/又は異なる大きさ又はゲル状、発泡若しくはシリコーン樹脂等の代替材料から形成される変更例を含む如何なる適切な緩衝部材でもよい。
更に、本発明は、マスク殻14の面にほぼ直角な軸又は曲線に沿って額支持体34の位置を調整する調節組立体50を含む。調節組立体50によって、使用者が額支持体の位置を制御できるため、顔の大きさ及び形状の異なる患者に対し、共通のマスクを装着できる。更に、患者は、調節組立体50によりマスクの額支持体34の位置を調整して、顔面の鼻梁等の特定領域での呼吸用気体の漏洩及び圧力を最小化できる。
マスク殻14上と支持アーム36の下端52とに設けた複数の構成要素により調節組立体50を構成して、支持アーム36をマスク殻14に調節可能に接続できる。更に詳細には、調節組立体50は、マスク殻14上に配置される弧状の取付部材54を備え、取付部材54は、入口開口24の上方のマスク殻14の中心部からマスク殻14の上端角部20の上方に離間する位置まで延伸する。取付部材54を軌道状に形成し、水平方向に延伸する複数対の各歯部56(図3)を対向して取付部材54に設けることが好ましい。また、調節組立体50は、支持アーム36の下端に離間して形成される2つの可撓性部材58を備え、各可撓性部材58は、末端にフック部60を有する。しかしながら、本発明では、単一列の歯部及びこれに対応する単一の可撓性部材を有する調節組立体も企図する。
支持アーム36をマスク殻14に接続するとき、支持アーム36内に取付部材54を収容して、可撓性部材58のフック部60に一対の対向する歯部56を係合することにより、マスク殻14に対して適切な位置に支持アーム36を固定できる。図1の矢印Aに示すように、可撓性部材58を内側に押圧して、フック部60を歯部56から解放することにより、対向する他の歯部56との係合位置に変更し又は支持アーム36、即ち額支持体34をマスク殻14から完全に解放できる。洗浄又は交換のためにマスク殻14から額支持体34を取り外すことができる。本発明では、対向する任意数の歯部を使用できることを企図する。また、歯部を支持アームに設け、取付部材にフック部を設けることもできる。
本発明では、支持アーム36、額支持ブラケット40及び額パッド42を含む額支持体34を調節組立体50によって、マスク殻14に対してほぼ2方向同時に移動できることを前記説明及び添付図面から理解できよう。図2の矢印Bに示す第1の方向では、ほぼ垂直方向、即ちマスク殻14の面に並行方向に額支持体34全体を移動して、マスク殻に接近又は離間して額パッド42を移動できる。図2の矢印Cに示す第2の方向では、ほぼ水平方向、即ちマスク殻14の面にほぼ直角方向に額支持体34全体を移動して、額支持体34と患者との距離を調整できる。
調節組立体50の曲線形状、特に取付部材54の曲線形状により、図2の矢印Dに示す2次元同時動作が可能となる。本発明の前記特徴によって、額支持体34の取付位置を調整し、最適に、即ち最も快適に患者に額支持体34を装着できる。また、従来の額支持体は、一定の回転中心周りでの揺動運動又は図2の矢印Cに相当する軸等の単一軸に沿う直線運動のみを行うので、額支持体34の曲線的な移動によって、従来の額支持体よりも装着者の額の形状に近付けて額支持体34を配置できる。
図3に明示するように、支持アーム36の上端38は、ほぼ二分され、2つの並行垂直壁62を形成する。舌片64は、各並行垂直壁62の内端に対し直角にかつ強固に接続される。額支持ブラケット40は、円弧状に延伸しかつ対応する舌片64を摺動自在に嵌合する一対の溝65又は通路(図3に一方を示す)を含む。溝65に沿って舌片64を移動させることにより、図2の矢印Eに示すように曲線又はアーク状の経路に沿って額支持ブラケット40を支持アーム36に対して移動できる。図1〜図3に示す実施の形態では、円弧状溝65を形成する同心円の中心点に配置される回転軸は、額支持ブラケット40から離間して配置される仮想軸である。このように、額支持ブラケット40に対して支持アーム36を移動可能に取り付けることにより、患者の頭部に額支持体34を自動的に位置決めする作用を増強する連結組立体が得られる。
この仮想中心点は、実際には支持アーム36及び額支持ブラケット40から離間し、特に、マスクの着用時に患者の皮膚の表面下に位置するので、高安定状態を形成しつつ自己位置調整作用を生ずる。この仮想回転軸の着想は、マスクの着用時に、患者の皮膚に対して額支持ブラケット40が不快な角度に傾く可能性を低減することを意図する。従って、自己位置調整作用により、額支持ブラケット40を患者頭部の形状に適合させることができる。
また、額支持ブラケット40上の中央タブ66を押圧して、支持アーム36の上端に設けられた2つの並行な各垂直壁62を内側に押し込むことにより、支持アーム36から額支持ブラケット40を取り外すことができる。これにより、洗浄目的でヘッドギアを分離でき又は患者がヘッドギアを装着した後(額支持ブラケット40を取り付けた状態で)、支持アーム36を額支持ブラケット40に取り付けることができる。また、これにより、患者がマスクを取り外し及び装着するとき、所望長さでヘッドギアストラップ68を額支持ブラケット40に取り付けたままでもよく、毎回最適長さにヘッドギアストラップ68を調整する必要がない。
上部ヘッドギアストラップ68を固定する連結部材72を額支持ブラケット40の各端部70に設けることが好ましい。好適な本実施の形態では、連結部材72は、上部ヘッドギアストラップ68に取り付ける雄型速離部材74を収容する雌型受口である。しかしながら、他の連結装置も使用できることは明らかである。
他の例示的な実施の形態を図4〜図10に示す。図4〜図10に示す実施の形態の多くの特徴は、図1〜図3に示す特徴に類似する。一実施の形態を説明する際に使用する符号と同様の符号を使用して、他の実施の形態での同様の特徴を示す。図1及び図3の符号から関連する特徴が得られるので、マスク殻14の下部及び下部ヘッドギア連結部材を図4〜図10に図示を省略する点に留意すべきである。
図4〜図6は、額支持体の支持アーム用調節組立体の他の実施の形態を示す。図4に示す第2の実施の形態では、本発明の調節組立体50'は、マスク殻14'に接続される殻部76と、額支持ブラケット40'に接続されるブラケット部78との2部分で構成される支持アーム36'を含む。ラチェット式連結構造を使用して2部分は互いに接続される。殻部76は、対向するラチェット状歯部82が形成された外部案内口80を設けたほぼ管状断面を備える。ブラケット部78も殻部76内で摺動しかつ案内口80に嵌合する中心突起84を備えるほぼ管状断面を有する。しかしながら、本発明では、管状殻部及びブラケット部の構成を逆にして、管状案内口を有する殻部を額支持体に設け、管状案内口内に摺動するブラケット部をマスク殻に設けることもできると解すべである。
図4に示す第2の実施の形態と同様に、図5に示す第3の実施の態様では、調節組立体50"は、マスク殻14"に接続される殻部76'と、額支持ブラケット40"に接続されるブラケット部78'との2部分に形成される支持アーム36"を含む。本実施の形態では、殻部76'及びブラケット部78'は、ほぼU字状断面を有する。ラチェット式連結構造を使用して2部分は、互いに接続される。殻部76'は、U字状断面の各側に形成された複数の案内口80'を有する。中央案内口80'は、対向するラチェット状歯部82'を有する。また、ブラケット部78'は、殻部76内を摺動し、中央案内口80'に嵌合される中央突起84'と共に、他の2つの案内口80'(一方のみ図示)に嵌合される案内突起84'を有する。図4及び図5の実施の形態では、中央突起84,84'は、可撓性部材(図5に示す86)上に設けられ、中央突起84,84'の両側にラチェット歯(図示せず)が設けられる。中央突起84'を内側に押圧すると、ラチェット歯が互いに離間して可撓性部材86は内側に撓み、殻部76'とブラケット部78'とを互いに相対的に移動できる。第2の実施の形態と同様に、ブラケット部と殻部との相対的な雄−雌関係を逆にすることもできる。
図5の第3の実施の形態と同様に、図6に示す第4の実施の形態では、調節組立体50"は、マスク殻14に接続されるU字状断面を有する殻部76"と、額支持ブラケット40'''に接続されるU字状断面を有するブラケット部78"との2部分より形成される支持アーム36'''を備える。また、殻部76"は、3つの案内口80"(2つのみ図示)を備え、架橋部78"は、対応する突起84"を含む。しかしながら、調整用のラチェット歯装置ではなく、殻部76"は、下端の周りで揺動可能な揺動部材(揺動レバー)88を含み、図示の位置に固定するとき、揺動部材88を回転することにより、マスク殻14'''と額支持ブラケット40'''との相対位置を有効に固定する摩擦力を付加してカムロック動作を生ずる。予め決められた数及び位置で固定される他の実施の形態とは対照的に、揺動部材88は、動作範囲内では無制限の数及び位置で固定できる。
図7〜図12に示す第5の実施の形態では、額支持体は、91により全体を示す連結装置により、水平な額支持ブラケット40""に回転可能に取り付けられる支持アーム36""を備える。また、マスク殻14""は、マスク殻14""に対し支持アーム36""を調節可能に接続する調節組立体50を含む。マスク殻14""は、マスク殻14'に強固に取り付けられかつ入口開口24'上のマスク殻14'の中心部から頂部20'に延伸する円弧の取付部材54'を含む。取付部材54'は、2つの同心円弧状のリブ90を含み、同心円弧状のリブ90間に空洞92が形成される。複数の水平歯と溝94とが外側湾曲部に交互に形成される。
支持アーム36""は、取付部材54'の空洞92内を摺動する一対の円弧状の係合部材96(図9)を含む。支持アーム36""を取付部材54'にラッチ係合する固定部材98が設けられる。図示の実施の形態では、固定組立体98は、支持アーム36""に保持されるラッチスライドピン100を備え、ラッチスライドピン100は、支持アーム36""に直角方向に摺動する。スライドピン100上の1又は2以上の歯及び溝102(図10参照)は、取付部材54'上の歯及び溝94に係合可能である。図示の実施の形態のスライドピン100は、取付部材54'に手動で係合するが、スライドピン100にばね負荷を与えて係合させてもよい。
前記の通り、額支持ブラケット40""は、接続装置91を介して支持アーム36""の上端に揺動可能に接続される。図示の実施の形態では、支持アーム36""は、支持アーム36""の上端を貫通して形成されるほぼ円形の孔104と、支持アーム36""の側部を貫通して予め決められた角度で切除されたスロット106を有し、額支持ブラケット40""は、水平に配置されて接続装置を構成する接続ブラケット108を有する。接続ブラケット108は、長方形又は楕円形の断面を有する。長断面の寸法は、孔104の直径とほぼ同一であり、短断面の寸法は、スロット106の幅とほぼ同一である。支持アーム36""のスロット106と接続ブラケット108との2部分が互いに対して特定の角度位置にあるとき、スロット106内に接続ブラケット108を嵌入できる。この位置は、通常の使用範囲外にある。額支持ブラケット40""が通常の使用範囲内で回転するとき、額支持ブラケット40""は、円形孔104内に嵌合拘束されるが、回転軸110(図9)の周りに孔104内で自由に回転できる。
図7〜図12に示す実施の形態では、回転軸110は、接続ブラケット108の長円形又は楕円形の断面の中心に一致する。支持アーム36""と額支持ブラケット40""とを取り付けるとき、接続ブラケット108は、支持アーム36""上端の円形孔104の中心に一致する。これにより、患者の頭部からヘッドギアストラップを除去する必要がなく、患者は、支持アーム36""、即ちマスクから額支持ブラケット40""を除去できる。また、額の傾斜角度、マスク位置又は支持アーム36""の位置に拘らず、額支持ブラケット40""は、自己位置調整作用により、患者の額に並行な状態を維持できる。
図7〜図12の実施の形態の着脱可能な額支持ブラケット40""により、図1〜図3の実施の形態と同様に、患者は、額支持ブラケットを取り付けた状態のヘッドギアをマスクとは別に装着できる。取り付け/取り外しに適する角度にマスクを回転して、額支持ブラケット40""にマスクが取り付けられる。設けられた分離装置を使用して、その後、下部ヘッドギアストラップが接続される。マスクを除去するには、患者は、下部ヘッドギアストラップを分離し、図7の矢印Fに示すように、取り付け/取り外しに適する角度にマスクを回転させて、額支持ブラケット40""から離間する方向にマスク及び支持アーム36""を引っ張ればよい。これにより、ヘッドギアに取り付けられた額支持ブラケット40""がヘッドギアと共に患者の頭部に残される。これは、完全なマスク組立体を装着するほど邪魔ではないので、マスクを迅速に交換するときに、患者は、ヘッドギア及び額支持ブラケット40""を所定の位置に残すことを選択できよう。これにより、患者は、マスクを枕元に置いて、飲物を摂取し又はヘッドギアを再調整せずに他の通常行為を実行でき、必要に応じてマスクを迅速かつ容易に交換できよう。
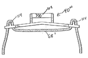
図11及び図12に明示するように、本発明は、ヘッドギア68'それ自体で額パッドを形成できることを企図する。ヘッドギア68'は、額支持ブラケット40""の各端部に設けられた保持ロッド114を有する開口部112を通過する。本実施の形態では、額に配置したヘッドギア68'により当接材を形成し、額に締付力を均一に分散させることができる。
全ての実施の形態による気体供給マスクは、患者の気道と圧力発生装置との間で呼吸用気体流を連絡する患者界面材装置として機能し、気体供給マスクは、人工呼吸器、持続気道陽圧装置(図1)又は可変圧力装置、即ち患者に供給する圧力が患者の呼吸周期と共に変化し呼気中よりも吸気中に高圧力を供給するアメリカ合衆国ペンシルベニア州ピッツバーグ所在のレスピロニクス社が製造及び販売するBiPAP(登録商標)装置、又は患者による鼾の発生状態又は無呼吸若しくは呼吸低下の経験状態等の患者の生理状態によって、圧力が変化するオートタイトレーション圧力支援装置等の可変圧力装置である。
患者の気道と圧力発生装置との間の呼吸用気体流を連絡するには、圧力発生装置から患者に呼吸用気体流を供給する過程と、患者から周辺大気に気体流を排出する過程とを含む。患者に対し呼吸用気体を供給する本発明による装置は、気体流を発生する圧力発生装置又は気体流発生装置12と、気体流発生装置12に作動接続される第1の端部と第2の端部とを有し、本発明による装置の動作間に気体流発生装置12から気体流を搬送する導管26と、導管の第2の端部に連結する気体供給マスク組立体10と、ヘッドギアとを備える。
図示の実施の形態では、調節組立体は、マスク殻に対して額支持体を曲線的に移動できるように構成される(例えば図2の矢印D参照)。しかしながら、本発明は、マスク殻に対して額支持体が並行移動する調節組立体の他のパターンも企図すると解すべきである。例えば、取付部材54は、「S」字パターン又は「J」字パターンを有し、額支持体は、マスク殻に対して「S」又は「J」パターンにより移動可能である。
現在最も実用的かつ好適と思われる実施の形態を図示して詳述したが、前記記載は単に説明の便宜に過ぎず、本発明を開示した実施の形態に限定されず、本発明は、特許請求の範囲内に該当すると共に特許請求の範囲と同趣旨の変更態様及び同等の装置を包含することを意図する。
(10)・・気体供給マスク、 (14)・・マスク殻、 (34)・・額支持体、 (36)・・支持アーム、 (40)・・額支持ブラケット、 (50)・・調節組立体、 (54)・・円弧状の取付部材、 (56)・・複数の歯部、 (58)・・可撓部、 (91)・・連結装置、 (104)・・スロット、 (106)・・切欠部、 (108)・・連結ブラケット、 (114)・・連結装置、 (68)・・ヘッドギアストラップ

Claims (5)

  1. (a)マスク殻と、
    (b)額支持体と、
    (c)額支持体ではなくマスク殻に連結される気体誘導管と、
    (d)額支持ブラケットに連結されるヘッドギアとを備え、
    額支持体は、
    (1)マスク殻に取り付けられる支持アームと、
    (2)額支持ブラケットと、
    (3)患者がマスクを装着しながら、額支持ブラケットを支持アームから取り外し可能に、支持アームを額支持ブラケットに取り付ける連結装置とを備え、
    ヘッドギア及び額支持ブラケットを患者に装着した状態を保持しながら、額支持ブラケットを支持アームから取り外すことにより、マスク殻及び気体誘導管を単一の組立体として患者から分離できることを特徴とする気体供給マスク。
  2. 更に、額支持体とマスク殻との相対的な位置を調整して、マスク殻に対してが少なくとも2次元で額支持体を移動できる調節組立体を備える請求項1に記載の気体供給マスク。
  3. 調節組立体は、マスク殻に取り付けられる円弧状の取付部材を含み、支持アームの第1の部分は、円弧状の取付部材に移動可能に装着される請求項2に記載の気体供給マスク。
  4. 調節組立体は、円弧状の取付部材上に配置された複数の歯部を含み、
    支持アームの第1の部分は、複数の歯部の少なくとも1つに係合する可撓部を含む請求項3に記載の気体供給マスク。
  5. 連結装置は、
    支持アームの一部に形成されるスロットと、
    支持アームの一部に形成されかつ予め決められた角度でスロットから延伸し、スロットに連絡する切欠部と、
    額支持ブラケットに取り付けられる連結ブラケットとを備え、
    連結ブラケットは、予め決められた角度で切欠部内を通過することにより、スロット内に着脱可能に連結ブラケットを嵌合できる形状を有し、
    スロット内に配置された連結ブラケットをスロット内で回転できる請求項1に記載の気体供給マスク。
JP2009237807A 2002-09-06 2009-10-15 気体供給マスク Expired - Fee Related JP4870805B2 (ja)

Applications Claiming Priority (4)

Application Number Priority Date Filing Date Title
US40883602P 2002-09-06 2002-09-06
US60/408,836 2002-09-06
US10/654,379 2003-09-03
US10/654,379 US7069932B2 (en) 2002-09-06 2003-09-03 Patient interface with forehead support system

Related Parent Applications (1)

Application Number Title Priority Date Filing Date
JP2004534674A Division JP4527533B2 (ja) 2002-09-06 2003-09-08 額支持装置を有する患者界面材

Publications (2)

Publication Number Publication Date
JP2010005465A true JP2010005465A (ja) 2010-01-14
JP4870805B2 JP4870805B2 (ja) 2012-02-08

Family

ID=43063762

Family Applications (2)

Application Number Title Priority Date Filing Date
JP2004534674A Expired - Fee Related JP4527533B2 (ja) 2002-09-06 2003-09-08 額支持装置を有する患者界面材
JP2009237807A Expired - Fee Related JP4870805B2 (ja) 2002-09-06 2009-10-15 気体供給マスク

Family Applications Before (1)

Application Number Title Priority Date Filing Date
JP2004534674A Expired - Fee Related JP4527533B2 (ja) 2002-09-06 2003-09-08 額支持装置を有する患者界面材

Country Status (9)

Country Link
US (4) US7069932B2 (ja)
EP (2) EP2258448B1 (ja)
JP (2) JP4527533B2 (ja)
AT (2) ATE542572T1 (ja)
AU (2) AU2003270360C1 (ja)
BR (1) BR0314014A (ja)
CA (1) CA2497915C (ja)
DE (1) DE60336156D1 (ja)
WO (1) WO2004021960A2 (ja)

Families Citing this family (157)

* Cited by examiner, † Cited by third party
Publication number Priority date Publication date Assignee Title
AUPQ104099A0 (en) 1999-06-18 1999-07-08 Resmed Limited Forehead support for facial mask
US6374826B1 (en) 1999-03-18 2002-04-23 Resmed Limited Mask and headgear connector
DE10035946C2 (de) * 2000-07-21 2002-06-27 Map Gmbh Halterung für eine Atemmaske
US6679261B2 (en) * 2000-08-24 2004-01-20 Resmed Limited Forehead support for facial mask
DE20017940U1 (de) 2000-10-19 2000-12-28 MAP Medizintechnik für Arzt und Patient GmbH & Co KG, 82152 Planegg Atemmaske zur Zufuhr eines Atemgases zu einem Maskenanwender sowie Ableitungseinrichtung zur Ableitung von Atemgas
US7841345B2 (en) 2004-01-16 2010-11-30 Resmed Limited Headgear connection assembly for a respiratory mask assembly
US7753050B2 (en) 2001-09-07 2010-07-13 Resmed Limited Headgear connection assembly for a respiratory mask assembly
DE10151984C5 (de) 2001-10-22 2008-07-17 Map Medizin-Technologie Gmbh Applikationsvorrichtung für eine Atemmaskenanordnung
ATE473774T1 (de) 2001-10-22 2010-07-15 Map Medizin Technologie Gmbh Medizinische maske
DE10201682A1 (de) 2002-01-17 2003-07-31 Map Medizin Technologie Gmbh Atemmaskenanordnung
US8042542B2 (en) 2002-04-23 2011-10-25 Resmed Limited Respiratory mask assembly with magnetic coupling to headgear assembly
US7743767B2 (en) * 2002-04-23 2010-06-29 Resmed Limited Ergonomic and adjustable respiratory mask assembly with frame
US8997742B2 (en) 2002-04-23 2015-04-07 Resmed Limited Ergonomic and adjustable respiratory mask assembly with cushion
AUPS192602A0 (en) 2002-04-23 2002-05-30 Resmed Limited Nasal mask
US7066179B2 (en) * 2002-08-09 2006-06-27 Ric Investments, Llc. Patient interface and headgear connector
US7069932B2 (en) * 2002-09-06 2006-07-04 Ric Investments, Llc. Patient interface with forehead support system
JP4570966B2 (ja) * 2002-09-06 2010-10-27 レスメド・リミテッド 呼吸用マスクアセンブリのためのクッション
CN105536116A (zh) 2002-09-06 2016-05-04 瑞思迈有限公司 呼吸面罩的前额衬垫
NZ553302A (en) * 2002-11-06 2008-10-31 Resmed Ltd Mask assembly with frame that can be flexed about longitudinal axis
EP3108919B1 (en) 2002-12-06 2020-09-09 Fisher & Paykel Healthcare Limited System for delivery of pressurized gases
DE202004021759U1 (de) 2003-02-21 2010-10-07 ResMed Ltd., Bella Vista Nasale Anordnung
US7044130B2 (en) * 2003-02-28 2006-05-16 Sunrise Medical Hhg Inc. Adjustable nasal mask
US7219670B2 (en) * 2003-02-28 2007-05-22 Sunrise Medical Hhg Inc. Method for securing a nasal mask
US7503327B2 (en) * 2003-04-10 2009-03-17 Resmed Limited Mask with integral cushion and forehead piece
NZ588137A (en) 2003-05-02 2012-02-24 Resmed Ltd A mask system with interconnected flexible shell/cushion, rigid frame, ring member and rotatable elbow
AU2004201915B2 (en) * 2003-05-05 2011-06-02 Resmed Limited Forehead Support for Facial Mask
US7047977B2 (en) * 2003-06-30 2006-05-23 Simon Frank Medical device for overcoming airway obstruction
AU2004258790B2 (en) 2003-07-30 2010-08-19 Fisher & Paykel Healthcare Limited Forehead rest for respiratory masks
NZ546389A (en) 2003-09-25 2009-09-25 Resmed Ltd Ventilator mask and system
US7047971B2 (en) * 2003-10-03 2006-05-23 Ric Investments, Llc. Patient interface with forehead and chin support
CN101214402B (zh) 2003-12-31 2013-08-21 雷斯梅德有限公司 一种呼吸装置
WO2005063326A1 (en) 2003-12-31 2005-07-14 Resmed Limited Mask system
DE102004002870B4 (de) * 2004-01-19 2017-01-19 Löwenstein Medical Technology S.A. Atemmaske mit Stirnstütze
US7640933B1 (en) * 2004-02-13 2010-01-05 RIC Investment, Inc. Hybrid textured/polished respiratory mask seal and respiratory mask using same
US7575005B2 (en) * 2004-05-18 2009-08-18 Excel-Tech Ltd. Mask assembly with integrated sensors
EP1755719B1 (en) * 2004-06-03 2016-07-27 ResMed Limited Cushion for a patient interface
NZ587820A (en) 2004-06-16 2012-03-30 Resmed Ltd Cushion with a gusset for a respiratory mask assembly
EP2388037B8 (de) * 2004-09-03 2016-09-21 Löwenstein Medical Technology GmbH + Co. KG Atemmaske
US7624735B2 (en) * 2004-09-21 2009-12-01 Respironics Respiratory Drug Delivery (Uk) Ltd Cheek-mounted patient interface
US7819119B2 (en) * 2004-10-08 2010-10-26 Ric Investments, Llc User interface having a pivotable coupling
US7237551B2 (en) * 2004-12-22 2007-07-03 Ric Investments, Llc. Cushion for a patient interface
DE202006021276U1 (de) * 2005-01-12 2014-07-09 Resmed Limited Gesichtsmaskenanordnung
CN106955408B (zh) 2005-01-12 2020-06-05 瑞思迈私人有限公司 用于患者界面的衬垫
US7546837B2 (en) * 2005-03-16 2009-06-16 Ric Investments, Llc Interface with rolling diaphragm
US7665465B2 (en) * 2005-03-25 2010-02-23 Ric Investments, Llc Headgear assembly for a respiratory support system
US7287528B2 (en) * 2005-04-13 2007-10-30 Ric Investments, Llc Cushion inside a cushion patient interface
US8662079B2 (en) 2005-04-13 2014-03-04 Koninklijke Philips N.V. Cushion inside a cushion patient interface
US7513255B2 (en) * 2005-06-03 2009-04-07 Ric Investments, Llc Patient interface device with universal headgear mounting member
US7849855B2 (en) 2005-06-17 2010-12-14 Nellcor Puritan Bennett Llc Gas exhaust system for a gas delivery mask
US7490608B2 (en) 2005-06-17 2009-02-17 Nellcorr Puritan Bennett Llc System and method for adjusting a gas delivery mask
US7827987B2 (en) 2005-06-17 2010-11-09 Nellcor Puritan Bennett Llc Ball joint for providing flexibility to a gas delivery pathway
US7900630B2 (en) 2005-06-17 2011-03-08 Nellcor Puritan Bennett Llc Gas delivery mask with flexible bellows
US8171934B1 (en) * 2005-07-15 2012-05-08 Ric Investments, Llc Forehead pad and forehead support assembly
US7877817B1 (en) * 2005-07-15 2011-02-01 Ric Investments, Llc Mask attachment assembly
US7762254B2 (en) * 2005-08-02 2010-07-27 Ric Investments, Llc Mask mounting mechanism
US7762260B2 (en) * 2005-08-15 2010-07-27 Ric Investments, Llc Mask mounting mechanism
US8245711B2 (en) * 2005-08-15 2012-08-21 Ric Investments, Llc Patient interface with adjustable cushion
WO2007041751A1 (en) 2005-10-14 2007-04-19 Resmed Limited Cushion to frame assembly mechanism
NZ701505A (en) 2005-10-25 2016-06-24 Resmed Ltd Interchangeable mask assembly
US7448386B2 (en) * 2005-12-07 2008-11-11 Ric Investments, Llc Full face respiratory mask with integrated nasal interface
US7743768B2 (en) * 2005-12-20 2010-06-29 Ric Investments, Llc Patient interface device with dampening cushion
USD558332S1 (en) 2006-01-12 2007-12-25 Resmed Limited Forehead support for a respiratory mask
US9320865B2 (en) * 2006-03-09 2016-04-26 Ric Investments, Llc Super-soft gel seal and mask using same
US8789532B2 (en) * 2006-03-10 2014-07-29 Respcare, Inc. Ventilation mask
US20080053446A1 (en) * 2006-03-31 2008-03-06 Tiara Medical Systems, Inc. Adjustable cpap mask assembly
WO2007117716A2 (en) 2006-04-10 2007-10-18 Aeiomed, Inc. Apparatus and methods for administration of positive airway pressure therapies
US8701667B1 (en) 2006-05-05 2014-04-22 Ric Investments, Llc Patient interface device with limited support area on the face
USD587801S1 (en) 2006-06-16 2009-03-03 Resmed Limited Forehead support frame component for a patient interface
US7500480B2 (en) 2006-06-16 2009-03-10 Koninklijke Philips Electronics N.V. Chin pivot patient interface device
NZ578010A (en) 2006-06-16 2011-05-27 Resmed Ltd Forehead support for facial masks extendable and contratable with the use of an adjustment knob
NZ720629A (en) * 2006-07-28 2017-12-22 Resmed Ltd Delivery of respiratory therapy
EP2046430B1 (en) 2006-07-28 2016-04-20 ResMed Ltd. Delivery of respiratory therapy
US8028698B2 (en) * 2006-09-18 2011-10-04 Invacare Corporation Breathing mask
US8490624B2 (en) * 2006-11-13 2013-07-23 Ric Investments, Llc Patient interface with variable footprint
EP2481434B1 (en) 2006-12-15 2016-04-13 ResMed Ltd. Delivery of respiratory therapy
US9387301B2 (en) 2006-12-19 2016-07-12 Koninklijke Philips N.V. Pad assembly having outer casing and support element
US8517023B2 (en) 2007-01-30 2013-08-27 Resmed Limited Mask system with interchangeable headgear connectors
NZ567460A (en) 2007-04-19 2010-02-26 Resmed Ltd Cushion and cushion to frame assembly mechanism for patient interface
NZ569226A (en) 2007-06-22 2010-02-26 Resmed Ltd Flexible forehead support
NZ582624A (en) * 2007-06-22 2011-08-26 Resmed Ltd Forehead support for a facial mask
NZ599563A (en) 2007-07-30 2015-01-30 Resmed Ltd Patient interface
US20090107506A1 (en) * 2007-10-24 2009-04-30 Louis Javier Collazo Mask assembly
US20110000492A1 (en) 2008-03-04 2011-01-06 Resmed Ltd Foam respiratory mask
CN109999291A (zh) 2008-03-04 2019-07-12 瑞思迈有限公司 面罩系统
US11331447B2 (en) 2008-03-04 2022-05-17 ResMed Pty Ltd Mask system with snap-fit shroud
AU2009221639B2 (en) 2008-03-04 2014-11-20 ResMed Pty Ltd An interface including a foam cushioning element
AU2009235106B2 (en) * 2008-04-11 2014-09-04 Koninklijke Philips Electronics N.V. Patient interface system
US10792451B2 (en) * 2008-05-12 2020-10-06 Fisher & Paykel Healthcare Limited Patient interface and aspects thereof
CN106039505A (zh) 2008-06-04 2016-10-26 瑞思迈有限公司 患者接口系统
US8905031B2 (en) 2008-06-04 2014-12-09 Resmed Limited Patient interface systems
DE102008030789A1 (de) * 2008-06-28 2009-12-31 Dräger Medical AG & Co. KG Beatmungssystem
TWM346425U (en) * 2008-08-05 2008-12-11 Galemed Corp Breathing mask
CN102149422B (zh) 2008-09-12 2015-04-29 瑞思迈有限公司 泡沫基的接口结构用方法和装置
USD626215S1 (en) * 2008-10-22 2010-10-26 Mergenet Solutions, Inc. Mask assembly
US9265909B2 (en) 2008-12-23 2016-02-23 Koninklijke Philips N.V. Adjustable headgear
WO2010080709A1 (en) * 2009-01-08 2010-07-15 Hancock Medical Self-contained, intermittent positive airway pressure systems and methods for treating sleep apnea, snoring, and other respiratory disorders
EP2213324B1 (en) 2009-01-30 2016-07-27 ResMed R&D Germany GmbH Patient interface structure and method/tool for manufacturing same
WO2010133218A2 (de) 2009-05-18 2010-11-25 Weinmann Geräte für Medizin GmbH + Co. KG Vorrichtung zur beatmung mit einer befestigungseinrichtung
CN105944209B (zh) 2009-05-29 2019-04-19 瑞思迈有限公司 鼻面罩系统
JP4976478B2 (ja) * 2009-11-17 2012-07-18 新廣業股▲フン▼有限公司 呼吸補助マスク
AU2011225761B2 (en) * 2010-03-12 2014-09-25 Koninklijke Philips Electronics N.V. Patient interface device with dynamic mask adjustment
TWI396566B (zh) * 2010-07-16 2013-05-21 Apex Medical Corp 陽壓呼吸面罩的可置換額墊
WO2012028994A1 (en) * 2010-09-02 2012-03-08 Koninklijke Philips Electronics N.V. Patient interface with floating forehead pad
US8336546B2 (en) 2011-02-08 2012-12-25 Hancock Medical, Inc. Positive airway pressure system with head control
EP2510823B1 (en) * 2011-04-11 2014-10-01 Air Liquide Medical Systems Assembly for connecting a headgear to a respiratory mask
US10603456B2 (en) 2011-04-15 2020-03-31 Fisher & Paykel Healthcare Limited Interface comprising a nasal sealing portion
JP6170036B2 (ja) 2011-04-15 2017-07-26 フィッシャー アンド ペイケル ヘルスケア リミテッド ロールする鼻梁部を有するインタフェース
CN103533980A (zh) * 2011-05-17 2014-01-22 皇家飞利浦有限公司 挠性构件可调节前额支撑件
US20140069434A1 (en) * 2011-05-17 2014-03-13 Koninklijke Philips N.V. Lever arm cushion attachment mechanism
CN102847215B (zh) * 2011-06-30 2015-11-18 北京怡和嘉业医疗科技有限公司 用于呼吸面罩的调节组件和呼吸面罩
CN103635219B (zh) 2011-06-30 2017-04-26 皇家飞利浦有限公司 具有湿气控制和微气候控制的皮肤‑接触产品
EP3473288B1 (en) 2011-07-01 2024-07-24 Fisher & Paykel Healthcare Limited Nasal mask interface assembly
USD693459S1 (en) 2011-09-16 2013-11-12 Fisher & Paykel Healthcare Limited Patient interface assembly
US20140305438A1 (en) * 2011-11-09 2014-10-16 Koninklijke Philips N.V. Patient interface device with cushion sealing arrangement
US9999739B2 (en) 2012-01-16 2018-06-19 Koninklijke Philips N.V. Patient interface device having an engineered surface for providing low friction and improved comfort to the user
US9943659B2 (en) * 2012-03-01 2018-04-17 Koninklijke Philips N.V. Lever adjustment assembly for mask
TWM441485U (en) * 2012-05-31 2012-11-21 Galemed Corp Adjustable breathing facial mask
US9775961B2 (en) 2012-07-11 2017-10-03 Koninklijke Philips N.V. Patient interface
EP2872206A1 (en) * 2012-07-11 2015-05-20 Koninklijke Philips N.V. Patient interface
US10016572B2 (en) 2012-08-01 2018-07-10 Koninklijke Philips N.V. Pivoting quick release for a patient interface device
US9950130B2 (en) 2012-09-04 2018-04-24 Fisher & Paykel Healthcare Limited Valsalva mask
WO2014117179A1 (en) 2013-01-28 2014-07-31 Hancock Medical, Inc. Position control devices and methods for use with positive airway pressure systems
EP3082924B1 (en) * 2013-12-20 2019-11-13 Koninklijke Philips N.V. Patient interface
KR101838349B1 (ko) * 2014-04-17 2018-03-13 쎄플라 쏘씨에타 쿠퍼라티바 구강외 치과 방사선영상을 획득하기 위한 두개 고정기
US10232137B2 (en) * 2014-05-22 2019-03-19 Resmed Limited Patient interface
EP3689183A1 (en) 2014-06-04 2020-08-05 Revolutionary Medical Devices, Inc. Combined nasal and mouth ventilation mask
WO2016009393A1 (en) 2014-07-18 2016-01-21 Fisher & Paykel Healthcare Limited Headgear clip arrangement
US10881829B2 (en) 2014-08-18 2021-01-05 Resmed Inc. Portable pap device with humidification
CA2958557C (en) 2014-08-20 2023-10-10 Revolutionary Medical Devices, Inc. Ventilation mask
CN112121269B (zh) 2014-08-25 2024-08-06 费雪派克医疗保健有限公司 呼吸面罩及其相关部分、部件或子组件
WO2016083919A1 (en) 2014-11-25 2016-06-02 Koninklijke Philips N.V. Keratinocyte stimulation for wound prevention
USD825740S1 (en) 2014-12-12 2018-08-14 Revolutionary Medical Devices Surgical mask
USD761416S1 (en) 2015-02-16 2016-07-12 Hans Rudolph, Inc. Respiratory mask
CN111773509B (zh) 2015-03-04 2023-06-09 费雪派克医疗保健有限公司 面罩系统头戴具
USD776802S1 (en) 2015-03-06 2017-01-17 Hancock Medical, Inc. Positive airway pressure system console
CA3198582A1 (en) 2015-06-11 2016-12-15 Revolutionary Medical Devices, Inc. Ventilation mask
AU2016275565B2 (en) * 2015-06-11 2021-04-01 Ventific Holdings Pty Ltd Respiratory mask
US10874815B2 (en) 2015-06-18 2020-12-29 Koninklijke Philips N.V. Patient interface device and retention assembly therefor
CN104906676B (zh) * 2015-06-23 2017-11-14 北京怡和嘉业医疗科技股份有限公司 一种面罩组件
USD882066S1 (en) 2016-05-13 2020-04-21 Fisher & Paykel Healthcare Limited Frame for a breathing mask
WO2017201419A1 (en) 2016-05-19 2017-11-23 Hancock Medical, Inc. Positional obstructive sleep apnea detection system
US9629975B1 (en) 2016-09-14 2017-04-25 Revolutionary Medical Devices, Inc. Ventilation mask
CN114569858A (zh) 2016-09-14 2022-06-03 革新医疗器械有限公司 通气面罩
WO2018064712A2 (en) * 2016-10-04 2018-04-12 Resmed Asia Operations Pty Ltd Patient interface with movable frame
USD895105S1 (en) * 2016-10-24 2020-09-01 ResMed Pty Ltd Combined cushion and frame module for patient interface
USD848606S1 (en) 2016-11-07 2019-05-14 Revolutionary Medical Devices, Inc. Surgical mask
EP3791912B1 (de) 2017-06-19 2023-09-06 Löwenstein Medical Technology S.A. Atemmaske mit koppelelement für eine bänderung
US12005191B2 (en) * 2017-06-19 2024-06-11 Loewenstein Medical Technology S.A. Breathing mask interface with small required operating force
CN109125873B (zh) * 2017-06-19 2023-05-26 律维施泰因医学技术股份有限公司 具有用于带的耦接的器件的呼吸面罩
EP3417900B1 (de) * 2017-06-19 2020-08-19 Löwenstein Medical Technology S.A. Atemmaske mit mitteln zur ankopplung der bänderung
USD898188S1 (en) 2017-11-17 2020-10-06 Revolutionary Medical Devices, Inc. Surgical mask
US11122912B2 (en) * 2018-10-04 2021-09-21 Hills Point Industries, LLC Slipcover strap hook
US11819612B2 (en) 2019-10-10 2023-11-21 Fisher & Paykel Healthcare Limited Respiratory mask system
WO2024105625A1 (en) * 2022-11-18 2024-05-23 Fisher & Paykel Healthcare Limited Mask assemblies for respiratory therapy
WO2025133927A1 (en) * 2023-12-18 2025-06-26 Fisher & Paykel Healthcare Limited Mask assemblies and headgear for respiratory therapy
CN117582593A (zh) * 2023-12-28 2024-02-23 江苏鱼跃医疗设备股份有限公司 患者呼吸接口
USD1085551S1 (en) * 2024-11-11 2025-07-22 Yonggen WANG Visor

Citations (3)

* Cited by examiner, † Cited by third party
Publication number Priority date Publication date Assignee Title
WO2000078384A1 (en) * 1999-06-18 2000-12-28 Resmed Limited Forehead support for facial mask
WO2001032250A1 (en) * 1999-11-03 2001-05-10 Australian Centre For Advanced Medicine Technology Ltd Mask
JP2003175106A (ja) * 2001-09-07 2003-06-24 Resmed Ltd マスクアセンブリ

Family Cites Families (25)

* Cited by examiner, † Cited by third party
Publication number Priority date Publication date Assignee Title
US4907584A (en) 1988-03-03 1990-03-13 Mcginnis Gerald E Respiratory mask
US5042478A (en) * 1988-08-26 1991-08-27 University Technologies International, Inc. Method of ventilation using nares seal
US5243971A (en) 1990-05-21 1993-09-14 The University Of Sydney Nasal mask for CPAP having ballooning/moulding seal with wearer's nose and facial contours
US5517986A (en) 1993-09-28 1996-05-21 Respironics, Inc. Two-point/four-point adjustable headgear for gas delivery mask
US5570689A (en) 1993-09-30 1996-11-05 Respironics, Inc. Respiratory mask having a vertically adjustable spacer element that limits seal deformation on a wearer's face
AUPO126596A0 (en) 1996-07-26 1996-08-22 Resmed Limited A nasal mask and mask cushion therefor
JPH11202796A (ja) * 1998-01-09 1999-07-30 Canon Inc 頭部装着型表示装置
US6119693A (en) * 1998-01-16 2000-09-19 Resmed Limited Forehead support for facial mask
DE19822308B4 (de) * 1998-05-18 2015-02-12 Resmed R&D Germany Gmbh Beatmungsmaske
US6796308B2 (en) * 1998-12-09 2004-09-28 Resmed Limited Mask cushion and frame assembly
US6374826B1 (en) * 1999-03-18 2002-04-23 Resmed Limited Mask and headgear connector
US6347631B1 (en) * 1999-11-09 2002-02-19 Mallinckrodt, Inc. Cantilever device and method for breathing devices and the like
AUPP949999A0 (en) * 1999-03-29 1999-04-22 Resmed Limited Forehead support for facial mask II
USD439326S1 (en) * 1999-05-31 2001-03-20 Mpv-Truma Gesellschaft Fuer Medizintechnische Produkte Mbh Nasal respiration mask
US6439230B1 (en) * 1999-06-18 2002-08-27 Resmed Limited Mask with recess including at least one mask port
ES2250263T3 (es) * 2000-06-14 2006-04-16 FISHER & PAYKEL HEALTHCARE LIMITED Mascara nasal.
US6769308B1 (en) * 2000-09-22 2004-08-03 Delphi Technologies, Inc. Low-cost stainless steel pressure sensor assembly for a pneumatic valve
DE10201682A1 (de) * 2002-01-17 2003-07-31 Map Medizin Technologie Gmbh Atemmaskenanordnung
EP2345447A1 (en) * 2002-03-22 2011-07-20 Invacare Corporation Nasal mask and cushion
US7066179B2 (en) * 2002-08-09 2006-06-27 Ric Investments, Llc. Patient interface and headgear connector
US7069932B2 (en) * 2002-09-06 2006-07-04 Ric Investments, Llc. Patient interface with forehead support system
US20040216747A1 (en) * 2003-02-28 2004-11-04 Sunrise Medical Hhg Inc. Nasal mask with lockable air inlet
US7621274B2 (en) * 2003-03-22 2009-11-24 Invacare Corporation Nasal mask
DE10338169A1 (de) * 2003-08-20 2005-03-10 Weinmann G Geraete Med Beatmungsmaske mit Kopfhaube
US7727919B2 (en) 2007-10-29 2010-06-01 Saint-Gobain Ceramics & Plastics, Inc. High resistivity silicon carbide

Patent Citations (3)

* Cited by examiner, † Cited by third party
Publication number Priority date Publication date Assignee Title
WO2000078384A1 (en) * 1999-06-18 2000-12-28 Resmed Limited Forehead support for facial mask
WO2001032250A1 (en) * 1999-11-03 2001-05-10 Australian Centre For Advanced Medicine Technology Ltd Mask
JP2003175106A (ja) * 2001-09-07 2003-06-24 Resmed Ltd マスクアセンブリ

Also Published As

Publication number Publication date
JP4527533B2 (ja) 2010-08-18
US8210179B2 (en) 2012-07-03
AU2008202640B2 (en) 2011-02-03
EP1551512A2 (en) 2005-07-13
AU2003270360C1 (en) 2008-11-06
JP4870805B2 (ja) 2012-02-08
AU2008202640A1 (en) 2008-07-10
BR0314014A (pt) 2005-07-19
JP2006506109A (ja) 2006-02-23
WO2004021960A3 (en) 2005-05-12
EP1551512B1 (en) 2011-02-23
ATE542572T1 (de) 2012-02-15
EP1551512A4 (en) 2009-04-01
EP2258448B1 (en) 2012-01-25
US20120279502A1 (en) 2012-11-08
US7069932B2 (en) 2006-07-04
ATE499148T1 (de) 2011-03-15
AU2003270360B2 (en) 2008-04-03
US20040045551A1 (en) 2004-03-11
AU2003270360B8 (en) 2008-07-17
US20130284178A1 (en) 2013-10-31
CA2497915A1 (en) 2004-03-18
DE60336156D1 (de) 2011-04-07
AU2003270360A1 (en) 2004-03-29
US20060249157A1 (en) 2006-11-09
EP2258448A1 (en) 2010-12-08
US8485191B2 (en) 2013-07-16
CA2497915C (en) 2009-11-24
WO2004021960A2 (en) 2004-03-18

Similar Documents

Publication Publication Date Title
JP4870805B2 (ja) 気体供給マスク
US7748384B2 (en) Patient interface with forehead and chin support
CN100389838C (zh) 面具的前额支撑物
CA2555268C (en) Patient interface assembly supported under the mandible
AU2003225926A1 (en) Nasal mask
HK1070847B (en) Forehead support for facial mask

Legal Events

Date Code Title Description
A621 Written request for application examination

Free format text: JAPANESE INTERMEDIATE CODE: A621

Effective date: 20091015

TRDD Decision of grant or rejection written
A01 Written decision to grant a patent or to grant a registration (utility model)

Free format text: JAPANESE INTERMEDIATE CODE: A01

Effective date: 20111025

A01 Written decision to grant a patent or to grant a registration (utility model)

Free format text: JAPANESE INTERMEDIATE CODE: A01

A61 First payment of annual fees (during grant procedure)

Free format text: JAPANESE INTERMEDIATE CODE: A61

Effective date: 20111117

R150 Certificate of patent or registration of utility model

Free format text: JAPANESE INTERMEDIATE CODE: R150

Ref document number: 4870805

Country of ref document: JP

Free format text: JAPANESE INTERMEDIATE CODE: R150

FPAY Renewal fee payment (event date is renewal date of database)

Free format text: PAYMENT UNTIL: 20141125

Year of fee payment: 3

R250 Receipt of annual fees

Free format text: JAPANESE INTERMEDIATE CODE: R250

R250 Receipt of annual fees

Free format text: JAPANESE INTERMEDIATE CODE: R250

R250 Receipt of annual fees

Free format text: JAPANESE INTERMEDIATE CODE: R250

R250 Receipt of annual fees

Free format text: JAPANESE INTERMEDIATE CODE: R250

R250 Receipt of annual fees

Free format text: JAPANESE INTERMEDIATE CODE: R250

R250 Receipt of annual fees

Free format text: JAPANESE INTERMEDIATE CODE: R250

R250 Receipt of annual fees

Free format text: JAPANESE INTERMEDIATE CODE: R250

R250 Receipt of annual fees

Free format text: JAPANESE INTERMEDIATE CODE: R250

LAPS Cancellation because of no payment of annual fees