JP2010005066A - 住宅におけるタオル掛け構造 - Google Patents

住宅におけるタオル掛け構造 Download PDF

Info

Publication number
JP2010005066A
JP2010005066A JP2008166880A JP2008166880A JP2010005066A JP 2010005066 A JP2010005066 A JP 2010005066A JP 2008166880 A JP2008166880 A JP 2008166880A JP 2008166880 A JP2008166880 A JP 2008166880A JP 2010005066 A JP2010005066 A JP 2010005066A
Authority
JP
Japan
Prior art keywords
towel
towel bar
bar
base
free end
Prior art date
Legal status (The legal status is an assumption and is not a legal conclusion. Google has not performed a legal analysis and makes no representation as to the accuracy of the status listed.)
Granted
Application number
JP2008166880A
Other languages
English (en)
Other versions
JP5330744B2 (ja
Inventor
Toshiya Iemura
敏也 家村
Current Assignee (The listed assignees may be inaccurate. Google has not performed a legal analysis and makes no representation or warranty as to the accuracy of the list.)
Sumitomo Forestry Co Ltd
Original Assignee
Sumitomo Forestry Co Ltd
Priority date (The priority date is an assumption and is not a legal conclusion. Google has not performed a legal analysis and makes no representation as to the accuracy of the date listed.)
Filing date
Publication date
Application filed by Sumitomo Forestry Co Ltd filed Critical Sumitomo Forestry Co Ltd
Priority to JP2008166880A priority Critical patent/JP5330744B2/ja
Publication of JP2010005066A publication Critical patent/JP2010005066A/ja
Application granted granted Critical
Publication of JP5330744B2 publication Critical patent/JP5330744B2/ja
Expired - Fee Related legal-status Critical Current
Anticipated expiration legal-status Critical

Links

Images

Landscapes

  • Supports Or Holders For Household Use (AREA)

Abstract

【課題】住宅のサニタリーなどにおいて利用されるタオルさらにはバスタオルをそこにおいてより掛けやすくするタオル掛け構造の提供。
【解決手段】壁Wへの取付部1aを備えたベース1と、このベース1によって略水平に支持されるタオルバー2とを備えてなる左右一対のタオルバーユニットU、Uを備えている。一対のタオルバーユニットU、Uの少なくとも一方は、タオルバー2の基端20側を軸部1bをもって前記略水平の基準位置からの上方に向けた回動操作可能にベース1に組み合わせてなると共に、前記基準位置において、右側のタオルバーユニットUのタオルバー2の自由端21と、左側のタオルバーユニットUのタオルバー2の自由端21とが、接し又は近接されるように、両タオルバーユニットU、Uを壁Wに取り付けさせてなる。
【選択図】図1

Description

この発明は、典型的には、住宅のサニタリーとなるスペースに備えられて、このスペースでのタオルやバスタオルの利用のために供されるタオル掛け構造に関する。
キッチン、トイレ、風呂、洗面所などの住宅のサニタリーとなるスペースにおいては、そこで利用されるタオルやバスタオルを掛けておくために、タオル掛けがあらかじめ設置されて住宅備品として住宅の一部をなすものとなっている。かかるタオル掛けは、一般に、壁面に固定される一対のブラケット間にタオルバーを架設して構成される。かかるタオル掛けにタオルを掛けるためには、壁とタオルバーとの間の隙間にタオルをその一端側から通した後、この一端側を下方に引き下ろすことを要する。通常のタオルの場合、かかるタオル掛けの設置位置は、大人を基準に決められるため、背の低い子供はかかるタオル掛けにタオルを掛け難いところであった。また、こうしたサニタリーにおいてバスタオルを掛けることも求められる場合があるところ、バスタオルは重さと厚さがあり前記引き下ろしが容易ではなく、また、バスタオルは丈が長いためタオル掛けの設置位置は高くせざるを得ない場合があり、在来のタオル掛けでは設置位置によっては大人であってもバスタオルは掛け難くなる。
なお、比較的広い面を有するシーツなどを掛けやすくした物干し用ハンガーとして、特許文献1に示されるものがある。
特開平9−182898号公報
この発明が解決しようとする主たる問題点は、住宅のサニタリーなどにおいて利用されるタオルさらにはバスタオルをそこにおいてより掛けやすくするタオル掛け構造を提供する点にある。
前記課題を達成するために、この発明にあっては、第一の観点から、住宅におけるタオル掛け構造を、壁への取付部を備えたベースによって略水平に支持されると共に、このベースを介して壁に取り付けられる左右一対のタオルバーを備えており、
この一対のタオルバーの少なくとも一方は、タオルバーの基端側を軸部をもって前記略水平の基準位置からの上方に向けた回動操作可能にベースに組み合わされていると共に、
前記基準位置において、右側のタオルバーの自由端と、左側のタオルバーの自由端とが、接し又は近接されるようになっているものとした。
左右のタオルバーは基準位置においてその自由端を接しさせ、あるいは近接させることから、左右のタオルバーには両タオルバーの長さの和以内の幅のタオルやバスタオルであればそれを広げた状態で掛けることできる。タオルを掛ける作業は、少なくとも一方のタオルバーを上方に回動操作して左右のタオルバーの自由端間に間隔を形成させた後、二つ折りにしたタオルの内側にこの間隔を利用して左右のタオルバーのいずれか一方をその自由端から差し入れ、次いで前記回動のされたタオルバーが基準位置に戻るようにこのタオルバーの一方側にかかるタオルを一旦寄せ、左右のタオルバーが共に基準位置に戻ったところでタオルを広げて左右のタオルバーに共にタオルが掛けられるようにしてなすことができる。これにより、タオルバーを高いレベルに位置させるように前記壁に備えさせた場合でも、容易にかかるタオルバーにタオルを掛けることができる。
また、前記課題を達成するために、この発明にあっては、第二の観点から、住宅におけるタオル掛け構造を、壁への取付部を備えたベースと、このベースによって略水平に支持されるタオルバーとを備えてなる左右一対のタオルバーユニットを備えており、
この一対のタオルバーユニットの少なくとも一方は、タオルバーの基端側を軸部をもって前記略水平の基準位置からの上方に向けた回動操作可能にベースに組み合わせてなると共に、
前記基準位置において、右側のタオルバーユニットのタオルバーの自由端と、左側のタオルバーユニットのタオルバーの自由端とが、接し又は近接されるように、両タオルバーユニットを壁に取り付けさせてなるものとした。
左右のタオルバーユニットのタオルバーは基準位置においてその自由端を接しさせ、あるいは近接させることから、左右のタオルバーユニットのタオルバーには両タオルバーの長さの和以内の幅のタオルやバスタオルであればそれを広げた状態で掛けることできる。タオルを掛ける作業は、少なくとも一方のタオルバーを上方に回動操作して左右のタオルバーの自由端間に間隔を形成させた後、二つ折りにしたタオルの内側にこの間隔を利用して左右のタオルバーのいずれか一方をその自由端から差し入れ、次いで前記回動のされたタオルバーが基準位置に戻るようにこのタオルバーの一方側にかかるタオルを一旦寄せ、左右のタオルバーが共に基準位置に戻ったところでタオルを広げて左右のタオルバーに共にタオルが掛けられるようにしてなすことができる。これにより、タオルバーを高いレベルに位置させるように前記壁に備えさせた場合でも、容易にかかるタオルバーにタオルを掛けることができる。
前記右側のタオルバーユニットのタオルバーの自由端側に、タオルバーの水平支持状態において、左側のタオルバーユニットのタオルバーの自由端側に形成させた被受容部を上方から受け入れてこれを支持する受容部を形成させておくと共に、
左側のタオルバーユニットのタオルバーの自由端側に、タオルバーの水平支持状態において、右側のタオルバーユニットのタオルバーの自由端側に形成させた被受容部を上方から受け入れてこれを支持する受容部を形成させておくこともある。
このようにした場合、左右のタオルバーユニットのタオルバーが基準位置にある状態において、左右のタオルバーをその自由端において互いに支え合わせることができ、掛けられたタオルを安定的に支持することができる。
前記左右一対のタオルバーユニットがそれぞれ、二以上のタオルバーを、これらのタオルバーのベースによる支持高さと壁からの距離とが相互に一致しないように備えるようにさせると共に、
各支持高さにおいてそれぞれ、右側のタオルバーユニットのタオルバーと左側のタオルバーユニットのタオルバーとが水平支持状態において協働して一枚のタオルを掛け得る対となるように、両タオルバーユニットを壁に取り付けさせておくこともある。
このようにした場合、二枚以上のタオルをそれを掛ける作業を容易に行えるようにした態様で、合理的に掛けておくことができる。
この発明にかかる住宅におけるタオル掛け構造によれば、タオルバーを一般的なレベルに位置させるように備えさせている場合においては、背の低い子供でも容易にかかるタオルバーにタオルを掛けることができる。また、特に、比較的重くまた大きいためタオルバーの設置レベルを上方に配さざるを得ないバスタオルの場合でもそれを掛ける作業を容易ならしめる特長を有する。
以下、図1〜図7に基づいて、この発明を実施するための最良の形態について説明する。
なお、ここで図1〜図3はこの発明を適用して構成されたタオル掛け構造Hの基本的構成例を、図4および図5はかかる基本的構成例の構成の一部を変更して構成されたタオル掛け構造Hの第二例の要部を、図6および図7はかかる基本的構成例の構成の一部を変更して構成されたタオル掛け構造Hの第三例を、それぞれ示している。
この実施の形態にかかる住宅におけるタオル掛け構造Hは、典型的には、住宅のサニタリーとなるスペースに備えられて、このスペースでのタオルTやバスタオルT’の利用のために供されるものである。
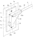
かかるタオル掛け構造Hは、壁Wへの取付部1aを備えたベース1によって略水平に支持されると共に、このベース1を介して壁Wに取り付けられる左右一対のタオルバー2、2を備えてなる。かかるタオル掛け構造Hは、一つのかかるベース1に左右一対のタオルバー2、2を備えさせ、これを前記取付部1aをもって壁Wに取り付けさせることで構成させることができる。しかるに、図1〜図3に示される基本的構成例では、左右一対のタオルバーユニットU、Uを、前記スペースを構成する壁Wに取り付けさせてなる。より具体的には、かかる左右一対のタオルバーユニットU、Uを、キッチン、トイレ、風呂、洗面所などの壁Wに取り付けさせることで、かかるタオル掛け構造Hが構成される。
かかる一対のタオルバーユニットU、Uはそれぞれ、壁Wへの取付部1aを備えたベース1と、このベース1によって略水平に支持されるタオルバー2とを備えてなる。それと共に、かかる一対のタオルバーユニットU、Uの少なくとも一方は、タオルバー2の基端20側を軸部1bをもって前記略水平の基準位置からの上方に向けた回動操作可能にベース1に組み合わせてなる。そして、前記基準位置において、右側のタオルバーユニットUのタオルバー2の自由端21と、左側のタオルバーユニットUのタオルバー2の自由端21とが、接し又は近接されるように、両タオルバーユニットU、Uを前記取付部1aをもって前記壁Wに取り付けさせている。
図示の例では、一対のタオルバーユニットU、Uの双方共に、タオルバー2を前記回動操作可能にベース1に組み合わせている。各図における右側のタオルバーユニットUはそのタオルバー2の自由端21を前記基準位置においてそのベース1の左側に位置させ、各図における左側のタオルバーユニットUはそのタオルバー2の自由端21を前記基準位置においてそのベース1の右側に位置させている。また、図1〜図3に示される例では、右側のタオルバーユニットUのタオルバー2の自由端21と左側のタオルバーユニットUのタオルバー2の自由端21とは前記基準位置で接するようになっているが、両者の間には若干の隙間が開けられるようにしておいても良い。
図1〜図3に示される例では、ベース1は裏面1cを前記壁Wへの取付部1aとしてこの壁Wにネジ1dにより止め付けられる盤状をなすように構成されている。
一方、タオルバー2は、棒状主体22と、この棒状主体22の一端部22aの支持パーツ23とから構成されている。棒状主体22は、金属やプラスチックや木質材、あるいはこれらの一種あるいは二種以上を組み合わせることにより構成することができる。支持パーツ23は、棒状主体22の一端部22aに接続される第一腕部23aと、この第一腕部23aの基部から下方に突き出す第二腕部23bとを備えている。そして、かかる支持パーツ23は、かかる第一腕部23aの基部側において、前後方向に軸線を沿わせた軸部1bをもってベース1に回動可能に組み付けられている。具体的には、支持パーツ23に形成された軸穴23cにベース1の表面1eから前方に突き出すようにこのベース1に備えられた軸部1bを入れ込ませることで、ベース1にタオルバー2が回動可能に組み合わされている。すなわち、図示の例では、かかる棒状主体22における支持パーツ23に支持される一端部22a側がタオルバー2の基端20側となり、かかる棒状主体22の他端部22bがタオルバー2の自由端21として機能するようになっている。
また、図1〜図3に示される例では、ベース1の表面1eに、前記軸部1bの下方において、タオルバー2が基準位置にあるときに前記支持パーツ23の第二腕部23bにおける第一腕部23aとの連接側と反対の側部に突き当たってこの基準位置から下方への前記軸部1bを中心としたタオルバー2の回動を阻止する規制突部1fが形成されている。この例では、かかる規制突部1fによってベース1によってタオルバー2を基準位置において略水平に支持するようになっている。
図1〜図3に示される例では、右側のタオルバーユニットUのタオルバー2と左側のタオルバーユニットUのタオルバー2は略同じ長さを持つように構成される。また、両タオルバーユニットU、Uの軸部1bが同じレベルに位置されるように両タオルバーユニットU、Uは前記壁Wに取り付けられる。
左右のタオルバーユニットU、Uのタオルバー2は基準位置においてその自由端21を接しさせ、あるいは近接させることから、左右のタオルバーユニットUのタオルバー2には両タオルバー2、2の長さの和以内の幅のタオルTやバスタオルT’であればそれを広げた状態で掛けることできる。(図1)タオルTを掛ける作業は、少なくとも一方のタオルバー2を上方に回動操作して左右のタオルバー2、2の自由端21間に間隔を形成させた後、典型的には長さ方向略中程の位置で二つ折りにしたタオルTの内側にこの間隔を利用して左右のタオルバー2、2のいずれか一方をその自由端21から差し入れ、(図2)次いで前記回動のされたタオルバー2が基準位置に戻るようにこのタオルバー2の一方側にかかるタオルTを一旦寄せ、左右のタオルバー2、2が共に基準位置に戻ったところでタオルTを広げて左右のタオルバー2、2に共にタオルTが掛けられるようにしてなすことができる。(図1)これにより、タオルバー2を高いレベルに位置させるように前記壁Wに備えさせた場合でも、容易にかかるタオルバー2にタオルTを掛けることができる。また、タオルバー2を一般的なレベルに位置させるように備えさせている場合においては、背の低い子供でも容易にかかるタオルバー2にタオルTを掛けることができる。特に、この実施の形態にかかるタオル掛け構造Hは、比較的重くまた大きいためタオルバー2の設置レベルを上方に配さざるを得ないバスタオルT’を掛ける作業を容易ならしめる特長を有する。
(図4および図5に示される第二例)
図4および図5は、図1〜図3に示されるタオルバーユニットUと同様の構造を備えた左右一対のタオルバーユニットU、Uのタオルバー2が前記基準位置においてその自由端21を互いに接し合わせる例を示している。
また、この図4および図5に示される例では、右側のタオルバーユニットUのタオルバー2の自由端21側に、タオルバー2の水平支持状態において、左側のタオルバーユニットUのタオルバー2の自由端21側に形成させた被受容部25を上方から受け入れてこれを支持する受容部24が形成されていると共に、
左側のタオルバーユニットUのタオルバー2の自由端21側に、タオルバー2の水平支持状態において、右側のタオルバーユニットUのタオルバー2の自由端21側に形成させた被受容部25を上方から受け入れてこれを支持する受容部24が形成されている。
具体的には、この図4および図5に示される例では、左右のタオルバー2の棒状主体22の他端部22bにそれぞれ、下方に向けて凹み且つ棒状主体22の側部22cにおいて開放された凹状をなす受容部24と、この受容部24と他端部の末端となる自由端21との間において棒状主体22の側部22cから突き出す被受容部25とが備えられている。図示の例では、受容部24は棒状主体22の厚さの略半分の深さを持ちその上方に向けられた底面を被受容部25の支持面24aとしており、一方、被受容部25はこの受容部24の深さと略等しい厚さを有するように構成されている。また、左右のタオルバー2の一方においては受容部24は棒状体の後方に向けられた側部22cにおいて開放されると共に被受容部25は後方に向けて突き出され、左右のタオルバー2の他方においては受容部24は棒状体の前方に向けられた側部22cにおいて開放されると共に被受容部25は前方に向けて突き出されるようになっている。また、棒状主体22の長さ方向での受容部24の幅は被受容部25の幅よりも大きく、左右のタオルバー2、2が共に基準位置にある状態においては受容部24のタオルバー2の基端20側に位置される端部に被受容部25は位置づけられるようになっている。(図4)
これにより、この図4および図5に示される例にあっては、左右のタオルバーユニットUのタオルバー2が基準位置にある状態において、左右のタオルバー2をその自由端21において互いに支え合わせることができ、掛けられたタオルTを安定的に支持することができる。
図示の例では、左右のタオルバー2の一方又は双方を上方に回動操作させた状態から、この操作を止めると基準位置に回動復帰する過程で被受容部25が対の相手となるタオルバー2の棒状主体22の側部22cに接して両タオルバー2、2の棒状主体22の向き合った側部22c間をやや押し広げることで、基準位置において前記のように対の相手となるタオルバー2の受容部24に自らの被受容部25を入れ込ませ、かつ、自らの受容部24に対の相手となるタオルバー2の被受容部25を入れ込ませるようになっている。かかる押し広げは、棒状主体22に弾性を持たせたり、軸部1bの軸線方向へのタオルバー2の若干の移動を許容させるようにベース1とタオルバー2とを組み付け合わせておくことで実現させることができる。
(図6および図7に示される第三例)
図6および図7は、図1〜図3に示されるタオルバーユニットUを構成するベース1と同様に機能されるベース1に、二以上のタオルバー2を上方に向けた回動操作可能に基準位置に支持させるようにした例を示している。
この例にあっては、左右一対のタオルバーユニットU、Uがそれぞれ、二つのタオルバー2を、これらのタオルバー2のベース1による支持高さと壁Wからの距離とが相互に一致しないように備えていると共に、
各支持高さにおいてそれぞれ、右側のタオルバーユニットUのタオルバー2と左側のタオルバーユニットUのタオルバー2とが水平支持状態において協働して一枚のタオルTを掛け得る対となるように、両タオルバーユニットU、Uを壁Wに取り付けさせている。
図示の例では、両タオルバーユニットU、Uのベース1において、上方に支持されるタオルバー2は下方に支持されるタオルバー2よりも壁W側に位置されるようになっている。また、タオルバー2を構成する棒状主体22はその一端部22aを軸部1bによって直接ベース1の表面1eに回動可能に組み付けられている。ベース1の表面1e側は図7に示されるように階段状に構成されており、上段面1gで上方に位置されるタオルバー2を支持して基準位置に位置づけ、下段面1hで下方に位置されるタオルバー2を支持して基準位置に位置づけるようにしている。
この図6および図7に示される例にあっては、二枚のタオルT、Tをそれを掛ける作業を容易に行えるようにした態様で、合理的に掛けることができるようになっている。具体的には、壁Wに近い側のタオルバー2にタオルTを掛けるときは、壁Wから遠い側のタオルバー2にタオルTが掛けられているときはこのタオルTを右側又は左側によせることにより、壁Wに近い側に位置される対をなすタオルバー2、2の自由端21間に形成させた間隔を利用してこの対をなすタオルバー2、2に前記のようにタオルTを掛けることができる。
タオル掛け構造Hの正面構成図 タオル掛け構造Hの正面構成図(タオルTを掛ける過程を示した図) 同要部斜視構成図 第二例の要部平面構成図 同要部分離斜視構成図 第三例の正面構成図 図6におけるA−A線断面図
符号の説明
W 壁
U タオルバーユニット
1 ベース
1a 取付部
1b 軸部
2 タオルバー
20 基端
21 自由端

Claims (4)

  1. 壁への取付部を備えたベースによって略水平に支持されると共に、このベースを介して壁に取り付けられる左右一対のタオルバーを備えており、
    この一対のタオルバーの少なくとも一方は、タオルバーの基端側を軸部をもって前記略水平の基準位置からの上方に向けた回動操作可能にベースに組み合わされていると共に、
    前記基準位置において、右側のタオルバーの自由端と、左側のタオルバーの自由端とが、接し又は近接されるようになっていることを特徴とする住宅におけるタオル掛け構造。
  2. 壁への取付部を備えたベースと、このベースによって略水平に支持されるタオルバーとを備えてなる左右一対のタオルバーユニットを備えており、
    この一対のタオルバーユニットの少なくとも一方は、タオルバーの基端側を軸部をもって前記略水平の基準位置からの上方に向けた回動操作可能にベースに組み合わせてなると共に、
    前記基準位置において、右側のタオルバーユニットのタオルバーの自由端と、左側のタオルバーユニットのタオルバーの自由端とが、接し又は近接されるように、両タオルバーユニットを壁に取り付けさせてなることを特徴とする住宅におけるタオル掛け構造。
  3. 右側のタオルバーユニットのタオルバーの自由端側に、タオルバーの水平支持状態において、左側のタオルバーユニットのタオルバーの自由端側に形成させた被受容部を上方から受け入れてこれを支持する受容部が形成されていると共に、
    左側のタオルバーユニットのタオルバーの自由端側に、タオルバーの水平支持状態において、右側のタオルバーユニットのタオルバーの自由端側に形成させた被受容部を上方から受け入れてこれを支持する受容部が形成されていることを特徴とする請求項2に記載の住宅におけるタオル掛け構造。
  4. 左右一対のタオルバーユニットがそれぞれ、二以上のタオルバーを、これらのタオルバーのベースによる支持高さと壁からの距離とが相互に一致しないように備えていると共に、
    各支持高さにおいてそれぞれ、右側のタオルバーユニットのタオルバーと左側のタオルバーユニットのタオルバーとが水平支持状態において協働して一枚のタオルを掛け得る対となるように、両タオルバーユニットを壁に取り付けさせてなることを特徴とする請求項2又は請求項3に記載の住宅におけるタオル掛け構造。
JP2008166880A 2008-06-26 2008-06-26 住宅におけるタオル掛け構造 Expired - Fee Related JP5330744B2 (ja)

Priority Applications (1)

Application Number Priority Date Filing Date Title
JP2008166880A JP5330744B2 (ja) 2008-06-26 2008-06-26 住宅におけるタオル掛け構造

Applications Claiming Priority (1)

Application Number Priority Date Filing Date Title
JP2008166880A JP5330744B2 (ja) 2008-06-26 2008-06-26 住宅におけるタオル掛け構造

Publications (2)

Publication Number Publication Date
JP2010005066A true JP2010005066A (ja) 2010-01-14
JP5330744B2 JP5330744B2 (ja) 2013-10-30

Family

ID=41586238

Family Applications (1)

Application Number Title Priority Date Filing Date
JP2008166880A Expired - Fee Related JP5330744B2 (ja) 2008-06-26 2008-06-26 住宅におけるタオル掛け構造

Country Status (1)

Country Link
JP (1) JP5330744B2 (ja)

Citations (2)

* Cited by examiner, † Cited by third party
Publication number Priority date Publication date Assignee Title
JP2001113097A (ja) * 1999-10-15 2001-04-24 Nagasawa Seisakusho:Kk 掛止装置
KR200382782Y1 (ko) * 2005-02-04 2005-04-22 브리앙산업주식회사 이중 수건걸이

Patent Citations (2)

* Cited by examiner, † Cited by third party
Publication number Priority date Publication date Assignee Title
JP2001113097A (ja) * 1999-10-15 2001-04-24 Nagasawa Seisakusho:Kk 掛止装置
KR200382782Y1 (ko) * 2005-02-04 2005-04-22 브리앙산업주식회사 이중 수건걸이

Also Published As

Publication number Publication date
JP5330744B2 (ja) 2013-10-30

Similar Documents

Publication Publication Date Title
USD532638S1 (en) Wall mountable accessory
US20140131506A1 (en) Concealable Toilet Paper Spindle and Method of Use
KR200490031Y1 (ko) 욕실용 다용도 거치대
USD550009S1 (en) Wall mountable support
RU2449090C2 (ru) Защитно-маскировочный кожух для унитаза и унитаз с таким кожухом
JP5330744B2 (ja) 住宅におけるタオル掛け構造
USD530556S1 (en) Wall mountable support
USD551886S1 (en) Wall mountable support
USD498377S1 (en) Wall mount bracket for bathrooms
JP2008237602A (ja) 洗面化粧台
USD536203S1 (en) Wall mountable support
JPH11113778A (ja) 洗面器置台の取付構造
JP2016034355A (ja) ミラーキャビネットおよび洗面台
JP6883752B2 (ja) トイレルーム用の収納構造
KR101248782B1 (ko) 매립형 의자시스템
US1067850A (en) Shelf and bar bracket.
KR200476758Y1 (ko) 욕실용 선반 조립체
USD555959S1 (en) Wall mountable support
KR200436687Y1 (ko) 이중 수건걸이
JP2009148381A (ja) コーナー棚
JP6293607B2 (ja) ミラーキャビネットおよび洗面台
JP4581874B2 (ja) チャイルドステップ付き洗面化粧台
CN215016615U (zh) 一种便于拆装的浴巾架
KR200146977Y1 (ko) 욕실 벽걸이용 선반
JP2010110457A (ja) 浴室

Legal Events

Date Code Title Description
A621 Written request for application examination

Free format text: JAPANESE INTERMEDIATE CODE: A621

Effective date: 20110428

A977 Report on retrieval

Free format text: JAPANESE INTERMEDIATE CODE: A971007

Effective date: 20120723

A131 Notification of reasons for refusal

Free format text: JAPANESE INTERMEDIATE CODE: A131

Effective date: 20120807

A521 Written amendment

Free format text: JAPANESE INTERMEDIATE CODE: A523

Effective date: 20121009

TRDD Decision of grant or rejection written
A01 Written decision to grant a patent or to grant a registration (utility model)

Free format text: JAPANESE INTERMEDIATE CODE: A01

Effective date: 20130716

A61 First payment of annual fees (during grant procedure)

Free format text: JAPANESE INTERMEDIATE CODE: A61

Effective date: 20130726

R150 Certificate of patent or registration of utility model

Free format text: JAPANESE INTERMEDIATE CODE: R150

LAPS Cancellation because of no payment of annual fees