JP2010004858A - 釣り用仕掛け投入器 - Google Patents

釣り用仕掛け投入器 Download PDF

Info

Publication number
JP2010004858A
JP2010004858A JP2008171690A JP2008171690A JP2010004858A JP 2010004858 A JP2010004858 A JP 2010004858A JP 2008171690 A JP2008171690 A JP 2008171690A JP 2008171690 A JP2008171690 A JP 2008171690A JP 2010004858 A JP2010004858 A JP 2010004858A
Authority
JP
Japan
Prior art keywords
pipes
frame body
fishing
thrower
state
Prior art date
Legal status (The legal status is an assumption and is not a legal conclusion. Google has not performed a legal analysis and makes no representation as to the accuracy of the status listed.)
Granted
Application number
JP2008171690A
Other languages
English (en)
Other versions
JP4944067B2 (ja
Inventor
Nagahiro Cho
永裕 張
Current Assignee (The listed assignees may be inaccurate. Google has not performed a legal analysis and makes no representation or warranty as to the accuracy of the list.)
Globeride Inc
Original Assignee
Globeride Inc
Priority date (The priority date is an assumption and is not a legal conclusion. Google has not performed a legal analysis and makes no representation as to the accuracy of the date listed.)
Filing date
Publication date
Application filed by Globeride Inc filed Critical Globeride Inc
Priority to JP2008171690A priority Critical patent/JP4944067B2/ja
Publication of JP2010004858A publication Critical patent/JP2010004858A/ja
Application granted granted Critical
Publication of JP4944067B2 publication Critical patent/JP4944067B2/ja
Active legal-status Critical Current
Anticipated expiration legal-status Critical

Links

Images

Abstract

【課題】パイプの配列を(たとえ釣り場で仕掛けを投入状態にセットした後であっても)容易に変更できる組立性および携帯性に優れた釣り用仕掛け投入器の提供を目的としている。
【解決手段】本発明の一実施形態に係る釣り用仕掛け投入器1は、釣り用仕掛けを収容するための複数のパイプ4が配列を成して互いに接続されることにより構成される。複数のパイプ4は、互いに回動可能に係脱してそれらの配列状態を変更できるように接続されて成る。そのため、釣り用仕掛け投入器1は、パイプ4同士を回動させるための回動部50と、パイプ4同士を係合させてパイプ4の互いに対する回動を規制する回動規制係合部60とを有している。
【選択図】 図9

Description

本発明は、釣り用仕掛けを収容するための複数のパイプが配列を成して互いに接続される釣り用仕掛け投入器に関する。
従来から、イカ釣り用の仕掛けなど、複数の釣り針(イカツノ)が結合された釣り用仕掛けが用いられており、また、そのような仕掛けが絡まないようにイカツノ投入器などの釣り用仕掛け投入器が使用されている。
このイカツノ投入器は、イカツノを収容するための複数のパイプが並列に連結されて成り、船縁に立て掛けて使用される。具体的には、仕掛けに結合された複数のイカツノを各パイプ内に順次に収納した状態で仕掛けを水中に投入したときに、釣糸が絡まないようにイカツノが順番にパイプ内から飛び出すようになっている。
このようなイカツノ投入器においては様々な形態のものがあり、例えば特許文献1には、パイプの数を変更できる多点針仕掛投入器(イカツノ投入器)が開示されている。具体的には、この多点針仕掛投入器は、複数のパイプを着脱自在に係合し得る接続部材を有しており、この接続部材を介してパイプを着脱することにより、漁場の状況に応じてパイプの数を増減し、あるいは、複数のパイプを分離して接続し直すことができ、それにより、複数のパイプの配列を変えることができるようになっている。
特開2005−237216号公報
しかしながら、前記特許文献1の構造では、パイプを一度取り外さなければ、パイプの位置の移動が出来ないため、パイプがばらけてしまい、配列を変更する作業が煩わしいという問題がある。また、パイプを上下に大きく動かして凹凸の係合を外さなければ取り外しができないため、複数のパイプ内にイカツノを収納して仕掛けを投入状態にセットしてから配列を変更しようとすると、パイプの取り外しによるパイプの上下動で仕掛け糸が引張られてしまい、仕掛けが絡み易くなる。つまり、釣り場で複数のパイプの配列を変更することが困難である。
本発明は、前記事情に着目してなされたものであり、その目的とするところは、パイプの配列を(たとえ釣り場で仕掛けを投入状態にセットした後であっても)容易に変更できる組立性および携帯性に優れた釣り用仕掛け投入器を提供することにある。
前記課題を解決するために、本発明は、釣り用仕掛けを収容するための複数のパイプが配列を成して互いに接続される釣り用仕掛け投入器であって、前記複数のパイプは、互いに回動可能に係脱してそれらの配列状態を変更できるように接続されて成ることを特徴とする。
上記構成において、釣り用仕掛け投入器は、パイプ同士を係合させてパイプの互いに対する回動を規制する回動規制係合部を有していても良い。また、複数のパイプが着脱可能な軸を介して互いに回動可能に係合されていても良い。更に、複数のパイプが外側に取り付けられたフレーム体を有し、フレーム体が互いに回動可能に係合されても良い。
本発明によれば、パイプを互いに回動可能に係脱することでパイプの配列状態を変更できるため、すなわち、パイプを取り外すことなく、また、パイプがばらけることなく、パイプの配列状態を変更できるため、たとえ釣り場で仕掛けを投入状態にセットした後であっても、仕掛けを絡ませることなくパイプの配列を容易に変更できる(仕掛けの投入状態を容易に変更できる)。また、状況に応じて簡単に配列を変更できることから、折り畳んで携帯することも可能となり、携帯性にも優れる。また、パイプ同士を係合させてパイプの互いに対する回動を規制する回動規制係合部を有することにより、所定の配列状態を安定的に保持することができ、操作性にも優れる。更に、複数のパイプを着脱可能な軸を介して互いに回動可能に係合することにより、組立性を向上させることができる。また、複数のパイプが外側に取り付けられたフレーム体を有し、フレーム体が互いに回動可能に係合されることにより、組み付け性(作業性)および操作性(取り扱い性)を向上させることができる。
以下、図面を参照しながら本発明に係る釣り用仕掛け投入器の一実施形態について説明する。
図1〜図3に示されるように、本実施形態に係る釣り用仕掛投入器1は、例えばイカ釣り用仕掛け30の幹糸32に枝糸(ハリス)34を介して結合された各イカツノ36を個別に収容するための複数のパイプ4を有しており、これらのパイプ4は配列を成して互いに接続されている。具体的には、複数のパイプ4がその外周に沿って(外側に)取り付けられた合成樹脂製のフレーム体10,12,14を有し、各フレーム体10,12,14が互いに回動可能に係合することで複数のパイプ4が並列に配列される。特に、本実施形態では、左フレーム体10と、右フレーム体14と、これらの左右のフレーム体10,14の間に位置される中央フレーム体12とが互いに回動可能に接続されるとともに、各フレーム体10,12,14が一対のパイプ4,4を一組にしてこれらを一体に結合・支持しており、フレーム体10,12,14(したがって、パイプ)を互いに回動可能に係脱することでパイプ(本実施形態では、6本のパイプ)の配列状態を変更できるようになっている(図9参照)。
ここで、図1および図2から分かるように、左フレーム体10、右フレーム体14、中央フレーム体12はそれぞれパイプ4の上側部分と下側部分とに配設されており、パイプ4の上側部分同士および下側部分同士をそれぞれ回動可能に結合している。特に、本実施形態では、フレーム体10,12,14のパイプ差し込み孔10c,12c,14cにパイプ4が差し込まれて挟持または接着等により支持固定されることにより、パイプ4の上下が支持される。また、パイプ4は、イカツノ36を収容するための中空の円筒状空間Sを有しており、イカツノ投入用の開口9が上端に形成されるとともに、水抜き孔6aを有するキャップ6が底部に取り付けられている。
また、本実施形態において、パイプ4は、軽量化を図るためにABS樹脂等の合成樹脂によって形成されており、可撓性を有している。また、各パイプ4は透光性も有しており、したがって、パイプ4の内部に収納したイカツノ36の収納状態を外側から視認することができる。そのため、仕掛け30の投入時にパイプ4内でイカツノ36が引っ掛かることを未然に防止することができる。
なお、本実施形態では、パイプ4とフレーム体10,12,14とが別体で設けられているが、パイプ4とフレーム体10,12,14とが一体に形成されていても良い。
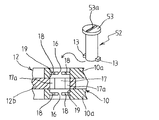
図3に示されるように、各フレーム体10,12,14同士(したがって、複数のパイプ4同士)は、着脱可能な軸52,62を介して互いに回動可能に係合されるようになっている。具体的に、釣り用仕掛投入器1は、各フレーム体10,12,14を軸としての軸部材52により互いに回動可能に係合接続する回動部50と、軸としてのキャップ部材62を介して各フレーム体10,12,14同士を係脱可能に係合させるための係合部60とを各フレーム体10,12,14間にそれぞれ有している。
なお、各回動部50および各係合部60の構造は、各フレーム体10,12,14間で同一であるため、以下では、左フレーム体10と中央フレーム体12との間に設けられる回動部50および係合部60を例にとってその構造を説明する。
図3〜図5に示されるように、回動部50は、軸部材52を介して中央フレーム体12と左フレーム体10とを回動可能に連結しており、複数のパイプ4を互いに水平方向に回動させてそれぞれのパイプ4の開口9は互いに高さが変わらないようにして互いの位置を変更させることができるようになっている。具体的に、回動部50は、図4および図5に明確に示されるように、左フレーム体10の長手方向一端部の一方側の角部に一対の支持片10a,10aを突設し、これらの一対の支持片10a,10a間に中央フレーム体12の対応する角部に突設した1つの支持片12bを差し込むとともに、各支持片10a,12bにそれぞれ設けた挿通孔19,17を上下方向に合わせて挿通孔19,17に軸部材52を差し込むことにより形成されている。
軸部材52は、コイン溝53aを有するキャップ部53を上端に有するとともに、互いに周方向に180度離間した対向状態で一対の係合凸部13,13を下端外周面に有している。そして、軸部材52が挿通孔19,17に差し込まれると、キャップ部53が挿通孔19の開口を閉塞するとともに、支持片10aの挿通孔19内に突設された一対の抜け止め凸部18,18に軸部材52の係合凸部13,13が係合することで、軸部材52が抜け止めされる。具体的には、軸部材52は、周方向に回されることにより、その係合凸部13,13が各支持片10a,10aの挿通孔19内の一対の抜け止め凸部18,18間に設けられた差し込み溝16,16に合わされて差し込まれる。このとき、軸部材52の係合凸部13,13は、中央フレーム体12の支持片12bの挿通孔17の両側に対向して設けられる一対の差し込み溝17a,17aにも挿通される。そして、このようにして軸部材52を差し込んだ後、軸部材52のキャップ部53のコイン溝53aにコインの周端を係合させて軸部材52を回動させることにより図4に示されるように係合凸部13,13を抜け止め凸部18,18に位置合わせ係合させれば、挿通孔17,19からの軸部材52の抜けが防止され(不用意な外れを防止でき)、フレーム体10,12同士を回動可能に連結する回動部50が形成される。一方、軸部材52を回動させて係合凸部13,13と抜け止め凸部18,18との係合を解除し、軸部材52を挿通孔19,17から引き抜けば、回動部50でフレーム体10,12同士を分離できる。また、パイプ4を並列させた状態で左フレーム体10と中央フレーム体12と右フレーム体14の互いに隣接する側面10s,12s,14sが互いに度当てとなって当接し回動が規制される。
なお、右フレーム体14と中央フレーム体12との間の回動部50の構造および作用も、左フレーム体10と中央フレーム体12との間の回動部50の前述した構造および作用と同様であり、したがって、同一の構成要素について同一の符号を付す(図8等参照)ことでその説明を省略する。
一方、係合部60は、図6および図7に示されるように、回動部50とパイプ4を挟んだ反対側にて各フレーム体10,12同士(したがって、パイプ4同士)を凹凸係合させて各フレーム体10,12(したがって、パイプ4)の互いに対する回動を規制する(パイプ4の並列状態にてその回動を規制する)回動規制係合部として構成されている。具体的に、係合部60は、中央フレーム体12の長手方向一端部の一方側の角部に一対の支持片12a,12aを突設し、各支持片12a,12aにそれぞれ設けた挿通孔23に上下から対応するキャップ部材62を差し込むことにより形成される。
キャップ部材62は、軸部63を備えており、コイン溝69aを有するキャップ部69を軸部63の上端に有するとともに、互いに周方向に180度離間した対向状態で一対の係合凸部61,61を軸部63の下端外周面に有している。また、軸部63の下端面には、左フレーム体10と中央フレーム体12との係合時に後述する左フレーム体10の支持片10bの挿通孔11内に僅かに突出し得る斜面状の膨出係合部65が形成されている。そして、キャップ部材62が支持片12aの対応する挿通孔23に差し込まれると、キャップ部69が挿通孔23の開口を閉塞するとともに、挿通孔23内に突設された一対の抜け止め凸部21,21にキャップ部材62の係合凸部61,61が係合することで、キャップ部材62が抜け止めされる。具体的には、キャップ部材62は、周方向に回されることにより、その係合凸部61,61が支持片12a,12aの挿通孔23内の一対の抜け止め凸部21,21間に設けられた差し込み溝22に合わされて差し込まれる。そして、このようにしてキャップ部材62を差し込んだ後、キャップ部材62のキャップ部69のコイン溝69aにコインの周端を係合させてキャップ部材62を回動させることにより図6に示されるように係合凸部61,61を抜け止め凸部21,21に位置合わせ係合させれば、挿通孔23からのキャップ部材62の抜けが防止され(不用意な外れを防止でき)、フレーム体10,12同士を凹凸係合可能にする係合部60が形成される。
このような係合部60を用いてフレーム体10,12同士を係合させる場合には、係合部60を構成する一対の支持片12a,12a間に、左フレーム体10の対応する角部(左フレーム体10の前記長手方向一端部の他方側の角部)に突設した1つの支持片10bを差し込むだけで良い。支持片12a,12a間に支持片10bを差し込むと、支持片10bによってキャップ部材62の膨出係合部65がその傾斜面にしたがって挿通孔21内へと押し込まれ(押し上げられ)、挿通孔21,11同士の位置が上下で合った時点で、左フレーム体10の挿通孔11内にキャップ部材62の膨出係合部65が僅かに落とし込まれて軽く係合する。この状態では、並列されたパイプ4を回動させようとしても、膨出係合部65が挿通孔11に軽く引掛かっているため、容易に回動しない。一方、左フレーム体10の支持片10bを中央フレーム体12の一対の支持片12a,12a間から所定の力で引き抜くと、先と同様にキャップ部材62の膨出係合部65がその傾斜面形状にしたがって挿通孔21内へと押し込まれ(押し上げられ)、フレーム体10,12同士の係合が解除される。
なお、右フレーム体14と中央フレーム体12との間の係合部60の構造および作用も、左フレーム体10と中央フレーム体12との間の係合部60の前述した構造および作用と同様であり、したがって、同一の構成要素について同一の符号を付す(図8等参照)ことでその説明を省略する。
次に上記構成の釣り用仕掛投入器1の作用について簡単に説明する。
通常、釣り用仕掛投入器1は、図1〜図3に示されるようにパイプ4を並列させた状態で船縁に立て掛け、図2のようにイカツノ36を各パイプ4に収納してセットする。この状態から重り35の投入により釣糸32,34が引き出されて、イカツノ36がパイプ4から飛び出し水中に投入される。ここで、投入するイカツノ36の数を少なくしたとき、隣の釣人との間隔が近いとき、あるいは、風や潮の影響で並列状態で広がってしまう仕掛けをまとまった状態で投入したいときなど、状況に応じてパイプ4の配列を図1〜図3の1列の状態から2列または3列の配列状態へと変更することができる。
図8および図9はパイプ4を3列の配列にした状態(横1列から縦3列へと変更した状態)を示している(図8は配列変更後の状態、図9は配列変更の途中の状態をそれぞれ示している)。このような配列形態は、各係合部60でフレーム体10,12,14同士の係合を解除し、各回動部50を中心にフレーム体10,12,14を互いに回動させて左右のフレーム体10,14を折り畳むことにより実現される。このような折り畳み配列形態は、風の状態や釣り座の状態などに応じて自在に設定することができ、持ち運ぶ際にも有利である。
以上説明したように、本実施形態によれば、パイプ4を互いに回動可能に係脱することでパイプ4の配列状態を変更できるため、すなわち、パイプ4を取り外すことなく、また、パイプ4がばらけることなく、パイプ4の配列状態を変更できるため、たとえ釣り場で仕掛け30を投入状態にセットした後であっても、仕掛け30を絡ませることなくパイプ4の配列を容易に変更できる(仕掛け30の投入状態を容易に変更できる)。また、状況に応じて簡単に配列を変更できることから、図8および図9に示されるように折り畳んで携帯することも可能となり、携帯性にも優れる。また、パイプ4同士を係合させてパイプ4の互いに対する回動を規制する回動規制係合部60を有することにより、所定の配列状態を安定的に保持することができ、操作性にも優れる。更に、複数のパイプ4を着脱可能な軸52,62を介して互いに回動可能に係合することにより、組立性を向上させることができる。また、複数のパイプ4が外側に取り付けられたフレーム体10,12,14を有し、フレーム体10,12,14が互いに回動可能に係合されることにより、組み付け性(作業性)および操作性(取り扱い性)を向上させることができる。
なお、本発明は、前述した実施形態に限定されず、その要旨を逸脱しない範囲で種々変形して実施することができる。例えば、前述した実施形態では、図8および図9の折り畳み状態でフレーム体10,14を係合部60に係合させることができないが、例えば図10に示されるように、左右フレーム体10,14の両側(外端部)に支持片10b,14bを更に設け、図11に示されるように折り畳んだときに両側の支持片10b,14bを中央フレーム12の支持片12a,12a(係合部60)間に差し込んで係合させるようにすれば、3列の配列にしたとき或いは折り畳んで持ち運ぶときにパイプ4が不用意に広がらないようにすることができる。また、図10に示されるように左右フレーム体10,14の両側(より正確には、支持片10b,14bの反対側部位)に回動部50を構成し得る一対の支持片10a,14aを更に設けても良い。これらの支持片10a,14aは、フレーム体10,12,14を3つ連結した図10および図11の状態では遊んだ状態となるが、更にフレーム体を連結してパイプ4の数を増やす際に利用できる。
本発明の一実施形態に係る釣り用仕掛投入器の概略的な側面図である。 図1の釣り用仕掛投入器の側断面図である。 釣り用仕掛投入器の平面図である。 図3のA−A線に沿う断面図である。 フレーム体の支持片の挿通孔から軸部材を取り外した状態の図4に対応する断面図である。 図3のB−B線に沿う断面図である。 フレーム体の支持片の挿通孔からキャップ部材を取り外した状態の図6に対応する断面図である。 図1〜図3のパイプ1列並列状態から3列折り畳み状態へと変更した形態を示す平面図である。 3列折り畳み状態へと変更する過程を示す部分斜視図である。 変形例に係るパイプ1列並列状態の釣り用仕掛投入器の平面図である。 変形例に係るパイプ3列折り畳み状態の釣り用仕掛投入器の平面図である。
符号の説明
1 釣り用仕掛け投入器
4 パイプ
10,12,14 フレーム体
30 釣り用仕掛け
50 回動部
52 軸部材(軸)
60 回動規制係合部
62 キャップ部材(軸)

Claims (4)

  1. 釣り用仕掛けを収容するための複数のパイプが配列を成して互いに接続される釣り用仕掛け投入器であって、前記複数のパイプは、互いに回動可能に係脱してそれらの配列状態を変更できるように接続されて成ることを特徴とする釣り用仕掛け投入器。
  2. パイプ同士を係合させてパイプの互いに対する回動を規制する回動規制係合部を有していることを特徴とする請求項1に記載の釣り用仕掛け投入器。
  3. 前記複数のパイプは、着脱可能な軸を介して互いに回動可能に係合されることを特徴とする請求項1または請求項2に記載の釣り用仕掛け投入器。
  4. 前記複数のパイプが外側に取り付けられたフレーム体を有し、前記フレーム体が互いに回動可能に係合されることを特徴とする請求項1ないし請求項3のいずれか1項に記載の釣り用仕掛け投入器。
JP2008171690A 2008-06-30 2008-06-30 釣り用仕掛け投入器 Active JP4944067B2 (ja)

Priority Applications (1)

Application Number Priority Date Filing Date Title
JP2008171690A JP4944067B2 (ja) 2008-06-30 2008-06-30 釣り用仕掛け投入器

Applications Claiming Priority (1)

Application Number Priority Date Filing Date Title
JP2008171690A JP4944067B2 (ja) 2008-06-30 2008-06-30 釣り用仕掛け投入器

Publications (2)

Publication Number Publication Date
JP2010004858A true JP2010004858A (ja) 2010-01-14
JP4944067B2 JP4944067B2 (ja) 2012-05-30

Family

ID=41586055

Family Applications (1)

Application Number Title Priority Date Filing Date
JP2008171690A Active JP4944067B2 (ja) 2008-06-30 2008-06-30 釣り用仕掛け投入器

Country Status (1)

Country Link
JP (1) JP4944067B2 (ja)

Citations (3)

* Cited by examiner, † Cited by third party
Publication number Priority date Publication date Assignee Title
JPS6280574A (ja) * 1985-10-03 1987-04-14 Akuto Denshi Kk レ−ザドツプラ方式による速度むら回転むらなどの測定装置
JPH10174542A (ja) * 1996-12-18 1998-06-30 Ieharu Kondo 仕掛け投入装置
JP2005237216A (ja) * 2004-02-24 2005-09-08 Yamashita:Kk 多点針仕掛投入器

Patent Citations (3)

* Cited by examiner, † Cited by third party
Publication number Priority date Publication date Assignee Title
JPS6280574A (ja) * 1985-10-03 1987-04-14 Akuto Denshi Kk レ−ザドツプラ方式による速度むら回転むらなどの測定装置
JPH10174542A (ja) * 1996-12-18 1998-06-30 Ieharu Kondo 仕掛け投入装置
JP2005237216A (ja) * 2004-02-24 2005-09-08 Yamashita:Kk 多点針仕掛投入器

Also Published As

Publication number Publication date
JP4944067B2 (ja) 2012-05-30

Similar Documents

Publication Publication Date Title
US20170265448A1 (en) Fishing Lure Container
JP4944067B2 (ja) 釣り用仕掛け投入器
KR102608059B1 (ko) 낚시 채비용 보관함
JP3138102U (ja) 剣玉玩具
JPWO2016114365A1 (ja) 収納具
JP3129561U (ja) 角型ハンガー収納ケース
JP4374453B2 (ja) 擬似餌ケース
USD681140S1 (en) Sporting device
JP3689576B2 (ja) 釣具収納ケース
KR200469212Y1 (ko) 인조속눈썹의 수납구조
JP7067953B2 (ja) リールシート及び釣竿
JP2004147514A (ja) 胴づき仕掛け用ハリ置き、およびそれを付属したロッドホルダー
JP2001204337A (ja) 釣針の保護装置
JP2006180858A (ja) 釣針付き釣糸収納用具
JP3840488B2 (ja) 船釣り用釣具
KR102548575B1 (ko) 낚시 용품 수납 박스
JP3520218B2 (ja) 帆立貝育成用吊下げ係止ピン
JP2006141386A (ja) 釣り用ルアーケース
JP2014128303A (ja) 洗濯ネット
KR200485123Y1 (ko) 낚시채비 휴대용 케이스
KR200417583Y1 (ko) 낚시바늘
KR101991743B1 (ko) 낚시바늘 보관 케이스
JP3184255U (ja) 釣針カバー
KR200273670Y1 (ko) 낚싯바늘보관케이스
JP3114616U (ja) 帆立貝の係止ピン

Legal Events

Date Code Title Description
A621 Written request for application examination

Free format text: JAPANESE INTERMEDIATE CODE: A621

Effective date: 20100924

A977 Report on retrieval

Free format text: JAPANESE INTERMEDIATE CODE: A971007

Effective date: 20110818

A131 Notification of reasons for refusal

Free format text: JAPANESE INTERMEDIATE CODE: A131

Effective date: 20110825

A521 Request for written amendment filed

Free format text: JAPANESE INTERMEDIATE CODE: A523

Effective date: 20111012

TRDD Decision of grant or rejection written
A01 Written decision to grant a patent or to grant a registration (utility model)

Free format text: JAPANESE INTERMEDIATE CODE: A01

Effective date: 20120209

A01 Written decision to grant a patent or to grant a registration (utility model)

Free format text: JAPANESE INTERMEDIATE CODE: A01

A61 First payment of annual fees (during grant procedure)

Free format text: JAPANESE INTERMEDIATE CODE: A61

Effective date: 20120301

R150 Certificate of patent or registration of utility model

Ref document number: 4944067

Country of ref document: JP

Free format text: JAPANESE INTERMEDIATE CODE: R150

Free format text: JAPANESE INTERMEDIATE CODE: R150

FPAY Renewal fee payment (event date is renewal date of database)

Free format text: PAYMENT UNTIL: 20150309

Year of fee payment: 3

R250 Receipt of annual fees

Free format text: JAPANESE INTERMEDIATE CODE: R250

R250 Receipt of annual fees

Free format text: JAPANESE INTERMEDIATE CODE: R250

R250 Receipt of annual fees

Free format text: JAPANESE INTERMEDIATE CODE: R250

R250 Receipt of annual fees

Free format text: JAPANESE INTERMEDIATE CODE: R250

R250 Receipt of annual fees

Free format text: JAPANESE INTERMEDIATE CODE: R250

R250 Receipt of annual fees

Free format text: JAPANESE INTERMEDIATE CODE: R250

R250 Receipt of annual fees

Free format text: JAPANESE INTERMEDIATE CODE: R250

R250 Receipt of annual fees

Free format text: JAPANESE INTERMEDIATE CODE: R250

R250 Receipt of annual fees

Free format text: JAPANESE INTERMEDIATE CODE: R250

R250 Receipt of annual fees

Free format text: JAPANESE INTERMEDIATE CODE: R250

R250 Receipt of annual fees

Free format text: JAPANESE INTERMEDIATE CODE: R250

R250 Receipt of annual fees

Free format text: JAPANESE INTERMEDIATE CODE: R250