JP2010003413A - スイッチ付き同軸コネクタ - Google Patents

スイッチ付き同軸コネクタ Download PDF

Info

Publication number
JP2010003413A
JP2010003413A JP2008158602A JP2008158602A JP2010003413A JP 2010003413 A JP2010003413 A JP 2010003413A JP 2008158602 A JP2008158602 A JP 2008158602A JP 2008158602 A JP2008158602 A JP 2008158602A JP 2010003413 A JP2010003413 A JP 2010003413A
Authority
JP
Japan
Prior art keywords
terminal
press
contact piece
shape
fitting
Prior art date
Legal status (The legal status is an assumption and is not a legal conclusion. Google has not performed a legal analysis and makes no representation as to the accuracy of the status listed.)
Granted
Application number
JP2008158602A
Other languages
English (en)
Other versions
JP4541431B2 (ja
Inventor
Tomoyasu Yanase
智康 梁瀬
Koji Togashi
晃司 冨樫
Current Assignee (The listed assignees may be inaccurate. Google has not performed a legal analysis and makes no representation or warranty as to the accuracy of the list.)
SMK Corp
Original Assignee
SMK Corp
Priority date (The priority date is an assumption and is not a legal conclusion. Google has not performed a legal analysis and makes no representation as to the accuracy of the date listed.)
Filing date
Publication date
Application filed by SMK Corp filed Critical SMK Corp
Priority to JP2008158602A priority Critical patent/JP4541431B2/ja
Priority to CN 200810161960 priority patent/CN101609944A/zh
Publication of JP2010003413A publication Critical patent/JP2010003413A/ja
Application granted granted Critical
Publication of JP4541431B2 publication Critical patent/JP4541431B2/ja
Expired - Fee Related legal-status Critical Current
Anticipated expiration legal-status Critical

Links

Images

Landscapes

  • Coupling Device And Connection With Printed Circuit (AREA)
  • Details Of Connecting Devices For Male And Female Coupling (AREA)

Abstract

【課題】ハウジング内部で端子を無駄なく配置し、低背化、小型化を図ること、端子間の高い絶縁性を得ること、ごみの侵入防止機構が採りやすい機構とすることにある。
【解決手段】ハウジングの内部に少なくとも2個の端子を取り付け、外部にシェルを被せ、接触ピンの挿抜により端子間を開閉するスイッチ付き同軸コネクタにおいて、一方の端子は、ハウジングに一側方から圧入され、この圧入部分から伸びた垂直部と上端の水平な接触片とで逆L字形に構成し、他方の端子は、ハウジングに他側方から圧入され、この圧入部分から伸びた下向きU字形のばね部の端部の水平な押圧部と、この押圧部の側辺の一部を直角に折曲した接触片とでL字形に構成し、一方の端子の接触片と他方の端子の接触片が逆L字形とL字形とで略4角形状態で接離するように配置する。
【選択図】図1

Description

本発明は、携帯電話機などの小型の電子機器に内蔵されるコネクタであって、より小型・低背化を図りつつスイッチオン時のアイソレーション性能を向上せしめたスイッチ付き同軸コネクタに関するものである。
従来のスイッチ付き同軸コネクタ10は、図7及び図8に示されるものが知られている(特許文献1、2)。
これらの図において、スイッチ付き同軸コネクタ10は、直径が2mm程度と極めて小さなもので、絶縁材からなるハウジング13と、導電性金属からなるシェル14とノーマルクローズ端子15とコモン端子16とで構成されている。
前記ハウジング13は、上半分が円筒部17で、中央にピン差し込み孔17aが穿設されている。また、ハウジング13の下半分に、一方の端子支持突部18と他方の端子支持突部20を180度間隔で外方に突出させるとともに、これらに直交した2箇所に回り止め突部22が突出させて一体に形成されている。
前記シェル14は、上半分が前記円筒部17に嵌合する円筒部23で、下半分に前記端子支持突部18と端子支持突部20にまたがってグランド端子部25が一体に形成され、これらグランド端子部25の間の回り止め係止部26が前記回り止め突部22に係止される。
前記ノーマルクローズ端子15は、ピン逃げ孔30を穿設した接触部27の一端をクランク形に折曲し、両側部が圧入支持突片29となり、中央部が横向きU字形の接続端子部28となっている。また、垂直部分には、コモン端子16のばね部32の先端が接触しないように逃げ孔38が形成されている。
前記コモン端子16は、接触片31からばね部32にかけて横向きU字形に折曲し、このばね部32の先端部が前記コモン端子16の逃げ孔38に遊嵌するように突出し、このばね部32の上端部の先端が前記コモン端子16の接触部27の下面に接離する接触片31を構成し、この接触片31のやや内側が接触ピン35の押圧部39となる。また、前記ばね部32に連続する両側部分が圧入支持突片33となり、中央部が横向きU字形の接続端子部34となっている。
以上の構成において、前記ノーマルクローズ端子15の圧入支持突片29を、一方の端子支持突部18における端子圧入部19に圧入し、また、コモン端子16の圧入支持突片33を、他方の端子支持突部20の端子圧入部21に圧入する。すると、コモン端子16のばね部32の先端がノーマルクローズ端子15の逃げ孔38に遊嵌しつつ折り返して組み込まれる。前記シェル14は、ハウジング13の円筒部17に被せると、回り止め係止部26が回り止め突部22の両側部に係合固着される。
このようにして組み立てられたスイッチ付き同軸コネクタ10は、プリント基板12の上の配線パターンに、グランド端子部25、接続端子部28、接続端子部34が電気的に接続されると共に機械的に固定される。
スイッチ付き同軸コネクタ10に、プローブ11を差し込むと、プローブ11の接触ピン35がピン差し込み孔17aに差し込まれてコモン端子16の押圧部39を鎖線のように押し下げ、コモン端子16の接触部31がノーマルクローズ端子15の接触部27から離れて接続が解除される。プローブ11の膨出部37がシェル14の係止溝24に係止された状態でプローブ11は接続状態が保持される。
特開平11−307188号公報 意匠登録第1234214号公報
従来のスイッチ付き同軸コネクタ10は、次のような問題があった。
(1)コモン端子16のばね部32が横向きのU字形をなしているため、押圧部39からばね部32の底部までの距離が長くなり、スイッチ付きコネクタ10としての背がそれだけ高くなり小型化に支障をきたしている。
(2)コモン端子16のばね部32と接触部30の距離が近いので、接触ピン35のストロークを大きくとる必要があり、(1)と同様、小型化に支障をきたしている。
(3)コモン端子16のばね部32の先端がノーマルクローズ端子15の逃げ孔38に遊嵌しつつ折り返して組み込まれるので、コモン端子16のばね部32の先端とノーマルクローズ端子15の逃げ孔38とが接近しており、高い絶縁性が得られない。
(4)プローブ11の接触ピン35を挿入するピン差し込み孔17aの位置と、接触部27と接触片31の接離する位置が近いためピン差し込み孔17aからのごみの侵入を防止する機構が採りにくい。
(5)ノーマルクローズ端子15の接触部27、コモン端子16の接触部31、押圧部39、ばね部32がプローブ11の接触ピン35の挿入方向に直線的に配置されているため、円筒部17の内部における端子の配置に偏りがあり、小型化に支障をきたしている。
本発明の目的は、円筒部17の内部における端子を無駄なく配置し、低背化、小型化を図ること、ノーマルクローズ端子とコモン端子が互いに接近する箇所をなくし、高い絶縁性を得ること、ごみの侵入を防止する機構が採りやすい機構とすることにある。
本発明による請求項1記載のスイッチ付き同軸コネクタは、絶縁材からなるハウジングの内部に導電材からなり互いに接離する少なくとも2個の端子を取り付け、外部にシェルを被せ、接触ピンの挿抜により前記端子間を開閉するスイッチ付き同軸コネクタにおいて、前記一方の端子は、前記ハウジングに一側方から圧入され、この圧入部分から伸びた垂直部と上端の水平な接触片とで逆L字形に構成し、前記他方の端子は、前記ハウジングに他側方から圧入され、この圧入部分から伸びた下向きU字形のばね部の端部の水平な押圧部と、この押圧部の側辺の一部を直角に折曲した接触片とでL字形に構成し、前記一方の端子の接触片と他方の端子の接触片が前記逆L字形とL字形とで略4角形状態で接離するように配置したことを特徴とする。
本発明による請求項2記載のスイッチ付き同軸コネクタは、ハウジングは、上半分が背の低い円筒部をなし、下半分が左右にやや突出した端子支持突部と前後にやや突出した回り止め突部とにより背の低い4角形をなし、前記円筒部の中央の上端から貫通してピン差し込み孔を穿設し、このピン差し込み孔の下部に連通して可動空隙部と接触片移動溝を形成し、前記左右の端子支持突部に、一方のノーマルクローズ端子を圧入する端子圧入溝を前記可動空隙部に連通して水平方向に穿設し、他方のコモン端子を圧入する端子圧入溝を前記接触片移動溝に連通して水平方向に穿設したことを特徴とする。
本発明による請求項3記載のスイッチ付き同軸コネクタは、他方のコモン端子が可動するための可動空隙部と一方のノーマルクローズ端子の端子圧入溝との間を遮蔽壁部で遮蔽し、この遮蔽壁部の側方部分に、ノーマルクローズ端子の接触片とコモン端子の接触片が接離するための前記接触片移動溝を形成したことを特徴とする。
本発明による請求項4記載のスイッチ付き同軸コネクタは、一方のノーマルクローズ端子は、端子圧入溝に圧入される水平な圧入部を有し、この圧入部から垂直部を経た上端の水平な側辺部が接触片を構成し、前記圧入部の中央部分が横向きU字形に折曲されて接続端子部を構成し、他方のコモン端子は、端子圧入溝に圧入される水平な圧入部を有し、この圧入部から立ち上げて下向きU字形に湾曲してばね部を構成し、このばね部の端部の水平部分を押圧部とし、この押圧部の側辺の一部を直角に折曲して接触片とし、前記圧入部の中央部分が横向きU字形に折曲されて接続端子部を構成していることを特徴とする。
請求項1記載の発明によれば、絶縁材からなるハウジングの内部に導電材からなり互いに接離する少なくとも2個の端子を取り付け、外部にシェルを被せ、接触ピンの挿抜により前記端子間を開閉するスイッチ付き同軸コネクタにおいて、前記一方の端子は、前記ハウジングに一側方から圧入され、この圧入部分から伸びた垂直部と上端の水平な接触片とで逆L字形に構成し、前記他方の端子は、前記ハウジングに他側方から圧入され、この圧入部分から伸びた下向きU字形のばね部の端部の水平な押圧部と、この押圧部の側辺の一部を直角に折曲した接触片とでL字形に構成し、前記一方の端子の接触片と他方の端子の接触片が前記逆L字形とL字形とで略4角形状態で接離するように配置したので、接触ピンのストロークを従来に比較して大幅に短くでき、スイッチ付きコネクタとしての背を低くでき、また、コモン端子のばね部に連続する押圧部と接触片の距離を長くでき、接触ピンのストロークを小さくでき、さらに、円筒部の内部における端子の配置に無駄がなく、スイッチ付き同軸コネクタの大幅な小型化が可能である。
請求項2記載の発明によれば、ハウジングは、上半分が背の低い円筒部をなし、下半分が左右にやや突出した端子支持突部と前後にやや突出した回り止め突部とにより背の低い4角形をなし、前記円筒部の中央の上端から貫通してピン差し込み孔を穿設し、このピン差し込み孔の下部に連通して可動空隙部と接触片移動溝を形成し、前記左右の端子支持突部に、一方のノーマルクローズ端子を圧入する端子圧入溝を前記可動空隙部に連通して水平方向に穿設し、他方のコモン端子を圧入する端子圧入溝を前記接触片移動溝に連通して水平方向に穿設したので、他方のコモン端子と一方のノーマルクローズ端子との接触片以外の部分が確実に分離され、高い絶縁性が得られる。
請求項3記載の発明によれば、他方のコモン端子が可動するための可動空隙部と一方のノーマルクローズ端子の端子圧入溝との間を遮蔽壁部で遮蔽し、この遮蔽壁部の側方部分に、ノーマルクローズ端子の接触片とコモン端子の接触片が接離するための前記接触片移動溝を形成したので、遮蔽壁部でピン差し込み孔からのごみの侵入を防止することができる。
請求項4記載の発明によれば、一方のノーマルクローズ端子は、端子圧入溝に圧入される水平な圧入部を有し、この圧入部から垂直部を経た上端の水平な側辺部が接触片を構成し、前記圧入部の中央部分が横向きU字形に折曲されて接続端子部を構成し、他方のコモン端子は、端子圧入溝に圧入される水平な圧入部を有し、この圧入部から立ち上げて下向きU字形に湾曲してばね部を構成し、このばね部の端部の水平部分を押圧部とし、この押圧部の側辺の一部を直角に折曲して接触片とし、前記圧入部の中央部分が横向きU字形に折曲されて接続端子部を構成したので、各端子の組み込み作業性に優れている。
本発明のスイッチ付き同軸コネクタは、絶縁材からなるハウジングの内部に導電材からなり互いに接離する少なくとも2個の端子、具体的には、ノーマルクローズ端子とコモン端子を取り付け、外部にシェルを被せ、プローブなどの接触ピンの挿抜により前記端子間を開閉するスイッチ付き同軸コネクタにおいて、前記一方のノーマルクローズ端子は、前記ハウジングに一側方から圧入され、この圧入部分から伸びた垂直部と上端の水平な接触片とで逆L字形に構成し、前記他方のコモン端子は、前記ハウジングに他側方から圧入され、この圧入部分から伸びた下向きU字形のばね部の端部の水平な押圧部と、この押圧部の側辺の一部を直角に折曲した接触片とでL字形に構成し、前記一方のノーマルクローズ端子の接触片と他方のコモン端子の接触片が前記逆L字形とL字形とで略4角形状態で接離するように配置する。
前記ハウジングは、上半分が背の低い円筒部をなし、下半分が左右にやや突出した端子支持突部と前後にやや突出した回り止め突部とにより背の低い4角形をなし、前記円筒部の中央の上端から貫通してピン差し込み孔を穿設し、このピン差し込み孔の下部に連通して可動空隙部と接触片移動溝を形成し、前記左右の端子支持突部に、一方のノーマルクローズ端子を圧入する端子圧入溝を前記可動空隙部に連通して水平方向に穿設し、他方のコモン端子を圧入する端子圧入溝を前記接触片移動溝に連通して水平方向に穿設する。
他方のコモン端子が可動するための可動空隙部と一方のノーマルクローズ端子の端子圧入溝との間を遮蔽壁部で遮蔽し、この遮蔽壁部の側方部分に、ノーマルクローズ端子の接触片とコモン端子の接触片が接離するための前記接触片移動溝を形成する。
一方のノーマルクローズ端子は、端子圧入溝に圧入される水平な圧入部を有し、この圧入部から垂直部を経た上端の水平な側辺部が接触片を構成し、前記圧入部の中央部分が横向きU字形に折曲されて接続端子部を構成し、他方のコモン端子は、端子圧入溝に圧入される水平な圧入部を有し、この圧入部から立ち上げて下向きU字形に湾曲してばね部を構成し、このばね部の端部の水平部分を押圧部とし、この押圧部の側辺の一部を直角に折曲して接触片とし、前記圧入部の中央部分が横向きU字形に折曲されて接続端子部を構成する。
本発明の実施例1を図1ないし図6に基づき説明する。
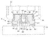
本発明によるスイッチ付き同軸コネクタ9は、上半分が円筒形をなし、下半分が4角形をなシ、全体で可能な限り背が低くなるように構成したもので、プラスチック材料などの絶縁材料からなるハウジング40と、導電性金属板の絞り加工等によるシェル41と、さらに、導電性金属板のプレス加工等による少なくとも2個の端子、具体的には、ノーマルクローズ端子15とコモン端子16とから構成されている。
前記ハウジング40は、上半分が背の低い円筒部44をなし、下半分が左右にやや突出した端子支持突部46と前後にやや突出した回り止め突部47とにより背の低い4角形をなしている。前記円筒部44の中央の上端から貫通してピン差し込み孔45が穿設され、このピン差し込み孔45の下部に連通して可動空隙部67と接触片移動溝50が形成されている。
前記左右の端子支持突部46には、それぞれノーマルクローズ端子42を圧入する端子圧入溝48が接触片移動溝50に連通して水平方向に穿設され、また、コモン端子43を圧入する端子圧入溝49が前記可動空隙部67に連通して水平方向に穿設されている。
前記可動空隙部67と端子圧入溝48の間の中央部分が遮蔽壁部65で遮蔽されている。そして、この遮蔽壁部65の側方部分に前記接触片移動溝50が形成され、ノーマルクローズ端子42の接触片57とコモン端子43の接触片62が接離するために必要な空間となっている。
前記シェル41は、上半分が前記ハウジング40に上から被さるような円筒形をなし、この円筒部の内側にハウジング嵌合孔51が穿設され、外側全周囲に係止溝55が形成されている。このシェル41の下半部には、180度間隔で外向きにハ字形に折曲したグランド端子部56が形成され、これらグランド端子部56の間は回り止め溝53と係止部52が形成されている。このグランド端子部56と係止部52は、前記ハウジング40と組み立てられた後は、図1及び図2に示すように垂直に折曲される。
前記ノーマルクローズ端子42は、図4、図5に示すように、前記端子圧入溝48に圧入される水平な圧入部59を有し、この圧入部59から垂直部54を経た上端の水平な側辺部が接触片57を構成し、また、圧入部59の中央部分が横向きU字形に折曲されて接続端子部58を構成している。59aは、圧入突部である。
前記コモン端子43は、図4、図5に示すように、前記端子圧入溝49に圧入される水平な圧入部60を有し、この圧入部60から立ち上げて下向きU字形に湾曲してばね部61を構成し、このばね部61の先端部の水平部分を押圧部68とし、この押圧部68の側辺の一部を直角に立ち上げて接触片62とし、また、圧入部60の中央部分が横向きU字形に折曲されて接続端子部63を構成している。60aは、圧入突部である。
以上のように構成された各部品の組み立てを説明する。
図3に示すように、ハウジング40の端子圧入溝48に一方のノーマルクローズ端子42の圧入部59を圧入すると、ノーマルクローズ端子42の接触片57が接触片移動溝50に臨ませられ、かつ、接続端子部58がハウジング40の下面に臨ませられて圧入突部59aにて固定的に取り付けられる。
ハウジング40の端子圧入溝49に他方のコモン端子43の圧入部60を圧入すると、コモン端子43のばね部61が可動空隙部67に遊嵌し、かつ、押圧部68が遮蔽壁部65の側面にやや隙間を以て臨ませられるとともに、接触片62が接触片移動溝50に遊嵌してノーマルクローズ端子42の接触片57に下面から接触し、かつ、接続端子部63がハウジング40の下面に臨ませられて圧入突部60aにて固定的に取り付けられる。
このようにコモン端子43の接触片62とノーマルクローズ端子42の接触片57が接触片移動溝50の位置で相対するだけで、ノーマルクローズ端子42とコモン端子43の他の部分は遮蔽壁部65で遮断される。
ついでシェル41のハウジング嵌合孔51にハウジング40の円筒部44を嵌合し、シェル41の回り止め溝53にハウジング40の回り止め突部47を嵌合する(図2の鎖線状態)。嵌合後、係止部52とグランド端子部56を内側に折り込むと、係止部52が回り止め突部47の下面に、また、グランド端子部56が端子支持突部46の下面にそれぞれ折込み係止して固着される。
以上のように組み立てられたスイッチ付き同軸コネクタ9は、接続端子部58、接続端子部63、グランド端子部56をプリント基板12のプリント配線パターン部分に載せて半田等で電気的に接続すると共に、機械的に固着する。
スイッチ付き同軸コネクタ9のピン差し込み孔45にプローブ11の接触ピン35を差し込むと、接触ピン35は、ピン差し込み孔45から遮蔽壁部65の壁面に案内されてコモン端子43の押圧部68を可動空隙部67内で垂直方向に押し下げ、これに伴い、接触片移動溝50内のコモン端子43の接触片62がノーマルクローズ端子42の接触片57から離れる。そのため、ノーマルクローズ端子42は電気的に開放し、コモン端子43が接触ピン35と接続する。また、プローブ11のシェル36がシェル41に接触してグランド端子部56へ接続される。プローブ11の差し込みにより、シェル36の膨出部37がスイッチ付き同軸コネクタ9の係止溝55に係止する。
プローブ11をスイッチ付き同軸コネクタ9から引き抜くと、プローブ11の膨出部37がスイッチ付き同軸コネクタ9の係止溝55から外れ、接触ピン35がピン差し込み孔45から抜き去られてコモン端子43の押圧部68がばね部61の作用により弾性復帰し、コモン端子43の接触片62がノーマルクローズ端子42の接触片57に接触して元に戻る。
前記実施例では、ハウジング40内の端子として、ノーマルクローズ端子42とコモン端子43の2個が内蔵されている場合について説明したが、少なくとも2個であればよく、端子の数に限定されない。
また、2個の端子は、ノーマルクローズ端子42とコモン端子43に限定される必要はない。
本発明によるスイッチ付き同軸コネクタ9に、測定用プローブ11を挿抜する場合について説明したが、これに限られるものではなく、2個の端子が接触ピンの挿抜で開閉するものであればよい。
本発明によるスイッチ付き同軸コネクタ9の一実施例を示すもので、プローブ11を挿入した状態の図6のA−A線縦断面図である。 図1における右側面図である。 本発明によるスイッチ付き同軸コネクタ9の一実施例を示す図6のB−B線縦断面図である。 本発明によるスイッチ付き同軸コネクタ9の一実施例を示す分解斜視図である。 本発明によるスイッチ付き同軸コネクタ9におけるノーマルクローズ端子42とコモン端子43の組み立て後の斜視図である。 (a)は、図3のC−C線縦断面図、(b)は、図3のD−D線縦断面図である。 従来のスイッチ付き同軸コネクタ10の各部品の分解斜視図である。 従来のスイッチ付き同軸コネクタ10にプローブ11を挿入した状態の縦断面図である。
符号の説明
9…本発明によるスイッチ付き同軸コネクタ、10…従来のスイッチ付き同軸コネクタ、11…プローブ、12…プリント基板、13…ハウジング、14…シェル、15…ノーマルクローズ端子、16…コモン端子、17…円筒部、18…端子支持突部、19…端子圧入部、20…端子支持突部、21…端子圧入部、22…回り止め突部、23…円筒部、24…係止溝、25…グランド端子部、26…回り止め係止部、27…接触部、28…接続端子部、29…圧入支持突片、30…ピン逃げ孔、31…接触片、32…ばね部、33…圧入支持突片、34…接続端子部、35…接触ピン、36…シェル、37…膨出部、40…ハウジング、41…シェル、42…ノーマルクローズ端子、43…コモン端子、44…円筒部、45…ピン差し込み孔、46…端子支持突部、47…回り止め突部、48…端子圧入溝、49…端子圧入溝、50…接触片移動溝、51…ハウジング嵌合孔、52…係止部、53…回り止め溝、54…垂直部、55…係止溝、56…グランド端子部、57…接触片、58…接続端子部、59…圧入部、59a…圧入突部、60…圧入部、60a…圧入突部、61…ばね部、62…接触片、63…接続端子部、65…遮蔽壁部、67…可動空隙部、68…押圧部。

Claims (4)

  1. 絶縁材からなるハウジングの内部に導電材からなり互いに接離する少なくとも2個の端子を取り付け、外部にシェルを被せ、接触ピンの挿抜により前記端子間を開閉するスイッチ付き同軸コネクタにおいて、前記一方の端子は、前記ハウジングに一側方から圧入され、この圧入部分から伸びた垂直部と上端の水平な接触片とで逆L字形に構成し、前記他方の端子は、前記ハウジングに他側方から圧入され、この圧入部分から伸びた下向きU字形のばね部の端部の水平な押圧部と、この押圧部の側辺の一部を直角に折曲した接触片とでL字形に構成し、前記一方の端子の接触片と他方の端子の接触片が前記逆L字形とL字形とで略4角形状態で接離するように配置したことを特徴とするスイッチ付き同軸コネクタ。
  2. ハウジングは、上半分が背の低い円筒部をなし、下半分が左右にやや突出した端子支持突部と前後にやや突出した回り止め突部とにより背の低い4角形をなし、前記円筒部の中央の上端から貫通してピン差し込み孔を穿設し、このピン差し込み孔の下部に連通して可動空隙部と接触片移動溝を形成し、前記左右の端子支持突部に、一方のノーマルクローズ端子を圧入する端子圧入溝を前記可動空隙部に連通して水平方向に穿設し、他方のコモン端子を圧入する端子圧入溝を前記接触片移動溝に連通して水平方向に穿設したことを特徴とする請求項1記載のスイッチ付き同軸コネクタ。
  3. 他方のコモン端子が可動するための可動空隙部と一方のノーマルクローズ端子の端子圧入溝との間を遮蔽壁部で遮蔽し、この遮蔽壁部の側方部分に、ノーマルクローズ端子の接触片とコモン端子の接触片が接離するための前記接触片移動溝を形成したことを特徴とする請求項2記載のスイッチ付き同軸コネクタ。
  4. 一方のノーマルクローズ端子は、端子圧入溝に圧入される水平な圧入部を有し、この圧入部から垂直部を経た上端の水平な側辺部が接触片を構成し、前記圧入部の中央部分が横向きU字形に折曲されて接続端子部を構成し、他方のコモン端子は、端子圧入溝に圧入される水平な圧入部を有し、この圧入部から立ち上げて下向きU字形に湾曲してばね部を構成し、このばね部の端部の水平部分を押圧部とし、この押圧部の側辺の一部を直角に折曲して接触片とし、前記圧入部の中央部分が横向きU字形に折曲されて接続端子部を構成していることを特徴とする請求項1、2又は3記載のスイッチ付き同軸コネクタ。
JP2008158602A 2008-06-18 2008-06-18 スイッチ付き同軸コネクタ Expired - Fee Related JP4541431B2 (ja)

Priority Applications (2)

Application Number Priority Date Filing Date Title
JP2008158602A JP4541431B2 (ja) 2008-06-18 2008-06-18 スイッチ付き同軸コネクタ
CN 200810161960 CN101609944A (zh) 2008-06-18 2008-10-06 带开关同轴连接器

Applications Claiming Priority (1)

Application Number Priority Date Filing Date Title
JP2008158602A JP4541431B2 (ja) 2008-06-18 2008-06-18 スイッチ付き同軸コネクタ

Publications (2)

Publication Number Publication Date
JP2010003413A true JP2010003413A (ja) 2010-01-07
JP4541431B2 JP4541431B2 (ja) 2010-09-08

Family

ID=41483585

Family Applications (1)

Application Number Title Priority Date Filing Date
JP2008158602A Expired - Fee Related JP4541431B2 (ja) 2008-06-18 2008-06-18 スイッチ付き同軸コネクタ

Country Status (2)

Country Link
JP (1) JP4541431B2 (ja)
CN (1) CN101609944A (ja)

Cited By (4)

* Cited by examiner, † Cited by third party
Publication number Priority date Publication date Assignee Title
CN102810785A (zh) * 2011-06-01 2012-12-05 深圳市电连精密技术有限公司 同轴连接器及其制造方法
EP2584658A1 (en) * 2011-10-21 2013-04-24 Dai-Ichi Seiko Co., Ltd. Switch-equipped coaxial connector
JP2013118121A (ja) * 2011-12-05 2013-06-13 Murata Mfg Co Ltd 同軸コネクタプラグ及びその製造方法
US9236695B2 (en) 2013-02-08 2016-01-12 Murata Manufacturing Co., Ltd. Coaxial connector

Families Citing this family (4)

* Cited by examiner, † Cited by third party
Publication number Priority date Publication date Assignee Title
JP5858024B2 (ja) * 2013-10-29 2016-02-10 株式会社村田製作所 同軸コネクタプラグ
CN104362477B (zh) * 2014-11-21 2016-09-14 桂林航天电子有限公司 触点自适应组合式滑动分离开关
CN110247267B (zh) * 2018-03-09 2021-07-16 泰科电子(上海)有限公司 连接器
CN114447651B (zh) * 2020-11-02 2023-07-18 富誉电子科技(淮安)有限公司 射频开关连接器

Citations (2)

* Cited by examiner, † Cited by third party
Publication number Priority date Publication date Assignee Title
JPH09147996A (ja) * 1995-11-28 1997-06-06 Smk Corp 切換スイッチ付コネクター
JP2003123915A (ja) * 2001-10-18 2003-04-25 Hirose Electric Co Ltd スイッチ付き同軸コネクタ

Patent Citations (2)

* Cited by examiner, † Cited by third party
Publication number Priority date Publication date Assignee Title
JPH09147996A (ja) * 1995-11-28 1997-06-06 Smk Corp 切換スイッチ付コネクター
JP2003123915A (ja) * 2001-10-18 2003-04-25 Hirose Electric Co Ltd スイッチ付き同軸コネクタ

Cited By (4)

* Cited by examiner, † Cited by third party
Publication number Priority date Publication date Assignee Title
CN102810785A (zh) * 2011-06-01 2012-12-05 深圳市电连精密技术有限公司 同轴连接器及其制造方法
EP2584658A1 (en) * 2011-10-21 2013-04-24 Dai-Ichi Seiko Co., Ltd. Switch-equipped coaxial connector
JP2013118121A (ja) * 2011-12-05 2013-06-13 Murata Mfg Co Ltd 同軸コネクタプラグ及びその製造方法
US9236695B2 (en) 2013-02-08 2016-01-12 Murata Manufacturing Co., Ltd. Coaxial connector

Also Published As

Publication number Publication date
CN101609944A (zh) 2009-12-23
JP4541431B2 (ja) 2010-09-08

Similar Documents

Publication Publication Date Title
JP4541431B2 (ja) スイッチ付き同軸コネクタ
KR100885826B1 (ko) 스위치가 부착된 동축 커넥터
JP4522144B2 (ja) 電気コネクタ
JP6446109B1 (ja) コネクタ
US6520785B2 (en) Switch-equipped coaxial connector
US7563116B2 (en) Electrical connector with switching terminals
US7794253B2 (en) Coaxial connector with a new type of contact
EP3086417B1 (en) Shield case, and connector having the same
US20050227524A1 (en) Modular jack with a detective switch
US11165204B2 (en) Plug and socket having a shield plate to ground plate connection
JP5002507B2 (ja) プリント基板用シールドコネクタ
JP2013058357A (ja) シールドコネクタ
JP2002134239A (ja) ジャック
JP2007184231A (ja) コネクタプラグ
KR20100123594A (ko) 커넥터
JP2007180008A (ja) コネクタプラグ
JP4851355B2 (ja) 外導体端子及びシールドコネクタ
JP5187650B2 (ja) スイッチ付き同軸コネクタ
JP5008716B2 (ja) スイッチ付き同軸コネクタ
JP2009295432A (ja) スイッチ付き同軸コネクタ
US7604504B2 (en) Electrical card connector having grounding plate
JP2005071769A (ja) コネクタ
JP4527150B2 (ja) 電気的接触のための切替え機構を有する同軸コネクタ
US20050208826A1 (en) Multi-pole jack
CN223245457U (zh) 一种接线端子开关

Legal Events

Date Code Title Description
A131 Notification of reasons for refusal

Free format text: JAPANESE INTERMEDIATE CODE: A131

Effective date: 20100309

A521 Written amendment

Free format text: JAPANESE INTERMEDIATE CODE: A523

Effective date: 20100430

TRDD Decision of grant or rejection written
A01 Written decision to grant a patent or to grant a registration (utility model)

Free format text: JAPANESE INTERMEDIATE CODE: A01

Effective date: 20100615

A01 Written decision to grant a patent or to grant a registration (utility model)

Free format text: JAPANESE INTERMEDIATE CODE: A01

A61 First payment of annual fees (during grant procedure)

Free format text: JAPANESE INTERMEDIATE CODE: A61

Effective date: 20100623

R150 Certificate of patent or registration of utility model

Free format text: JAPANESE INTERMEDIATE CODE: R150

FPAY Renewal fee payment (event date is renewal date of database)

Free format text: PAYMENT UNTIL: 20130702

Year of fee payment: 3

LAPS Cancellation because of no payment of annual fees