JP2010000945A - クローラ走行装置 - Google Patents

クローラ走行装置 Download PDF

Info

Publication number
JP2010000945A
JP2010000945A JP2008162172A JP2008162172A JP2010000945A JP 2010000945 A JP2010000945 A JP 2010000945A JP 2008162172 A JP2008162172 A JP 2008162172A JP 2008162172 A JP2008162172 A JP 2008162172A JP 2010000945 A JP2010000945 A JP 2010000945A
Authority
JP
Japan
Prior art keywords
sprocket
crawler
traveling device
auxiliary
arm
Prior art date
Legal status (The legal status is an assumption and is not a legal conclusion. Google has not performed a legal analysis and makes no representation as to the accuracy of the status listed.)
Granted
Application number
JP2008162172A
Other languages
English (en)
Other versions
JP5121594B2 (ja
Inventor
Ryutaro Morizono
竜太郎 森園
Takuji Minagawa
卓二 皆川
Yoshizo Iwamoto
佳三 岩本
Current Assignee (The listed assignees may be inaccurate. Google has not performed a legal analysis and makes no representation or warranty as to the accuracy of the list.)
Mitsubishi Electric Tokki Systems Corp
Original Assignee
Mitsubishi Electric Tokki Systems Corp
Priority date (The priority date is an assumption and is not a legal conclusion. Google has not performed a legal analysis and makes no representation as to the accuracy of the date listed.)
Filing date
Publication date
Application filed by Mitsubishi Electric Tokki Systems Corp filed Critical Mitsubishi Electric Tokki Systems Corp
Priority to JP2008162172A priority Critical patent/JP5121594B2/ja
Publication of JP2010000945A publication Critical patent/JP2010000945A/ja
Application granted granted Critical
Publication of JP5121594B2 publication Critical patent/JP5121594B2/ja
Expired - Fee Related legal-status Critical Current
Anticipated expiration legal-status Critical

Links

Images

Landscapes

  • Handcart (AREA)
  • Manipulator (AREA)

Abstract

【課題】転倒時においても容易に復帰することができるクローラ走行装置を得る。
【解決手段】基体1の左側部および右側部のそれぞれの前後方向に複数個のスプロケット2a,2b及び2c,2dが設けられ、スプロケット2a,2dを駆動するモータ3a,3bを備え、前後方向の各スプロケットにクローラベルト4a,4bが掛け渡され、基体1の前後方向の端部にアーム5の一端側が回動自在に取り付けられ、アーム5の他端側に回転および固定の制御が可能な補助スプロケット6a,6bが軸着され、アーム5側に位置するスプロケット2b,2dと補助スプロケット6a,6bとの間に補助クローラベルト7a,7bが掛け渡され、モータ3a,3bの駆動力により、アーム部が上下方向に回動可能に構成した。
【選択図】図1

Description

この発明は、クローラの回転による移動手段を備えた走行装置に係り、特に転倒時に容易に復帰することができるクローラ走行装置に関するものである。
震災や火災などの被災地において、救済活動を行なうためにクローラ(無限軌道)を移動手段とした走行装置が使用されている。このような走行装置は、人間が立ち入ることができない有毒ガスや爆発物や放射性物質などによる被害が想定される場所においても、主に探索活動のためカメラ等の撮像機器や、簡単な作業が行なえるマニュピレータ等を搭載して使用される。
従来のクローラ走行装置として、例えば、本体の前後左右の四隅に独立したクローラを備え、前後のクローラの旋回軸間距離を、最大旋回円軌跡が干渉しない距離に設定し、中間位置に重心を設定することで、走行性に優れ、段差地形でも転倒しにくい災害救援ロボットが提案されている(例えば、特許文献1参照)。
また、アームを搭載したベースの左右両側にクローラを設け、クローラは中央部に設けた中央ホイールによりベースに対して独立して正逆方向に回転可能に構成されたクローラ走行ロボットが提案されている。独立したクローラの動きとアームにより重心のバランスを最適に維持して走行でき、転倒時にはアーム等により復帰可能に構成されている(例えば、特許文献2参照)。
特開平4−92784号公報(第3頁、第2図) 特開2005−111595号公報(第6頁、図8)
しかしながら、特許文献1に示すロボットの走行装置は、段差地形等での走行は優れているが、外部からの操縦で瓦礫の上や階段等の走行を行なった場合に当然想定される転倒に対しては、自力による復帰機能は十分ではなかった。
また、特許文献2に示す技術では、走行用のモータとは別に、アーム等を駆動させるモータやアーム制御機器が別途必要となり、重量的にもまた体積的にも過大なものとなってしまい、本来の目的である、わずかなスキマや狭い空間での作業のために必要な、小形化、軽量化が難しかった。
この発明は上記のような問題点を解消するためになされたもので、小形かつ軽量構造で、転倒時においても容易に復帰することができるクローラ走行装置を得ることを目的とする。
この発明に係わるクローラ走行装置は、基体と、基体の左側部および右側部の各側部の前後方向に配設された複数個のスプロケットと、基体に設置されてスプロケットを駆動するモータと、前後方向のスプロケットに掛け渡された左右2個のクローラベルトと、基体の前後方向の端部に一端側が回動自在に取付けられたアームと、アームの他端側に軸着されて回転および固定の制御が可能な補助スプロケットと、基体のアーム側に位置するスプロケットと補助スプロケットとの間に掛け渡された補助クローラベルトとを備え、モータの駆動力が補助クローラベルトを介して補助スプロケットに伝達され、補助スプロケットの回転および固定の制御により、アームが上下方向に回動するように構成されたものである。
この発明のクローラ走行装置によれば、基体の左右の前後方向のスプロケットに掛け渡されたクローラベルトと、基体の前後方向の端部に、一端側が回動自在に取付けられ他端側に補助スプロケットが軸着されたアームと、基体のアーム側のスプロケットと補助スプロケットとの間に掛け渡された補助クローラベルトとを備え、モータの駆動力を補助クローラベルトを介して補助スプロケットに伝達し、補助スプロケットの回転と固定の制御により、アームを上下方向に回動可能に構成したので、アームの回動を利用して階段や段差部での走行を容易に行えるとともに、転倒時でも容易に復帰可能なクローラ走行装置を簡単な構成で得ることができる。
また別途、アームを上下させるモータを設けることなく、右側部または左側部のスプロケットを回転させるモータを利用してアームを回動できるため、軽量化と小形化を図ることができる。
実施の形態1.
図1は実施の形態1によるクローラ走行装置の平面図であり、図2は図1の右側面図である。
クローラ走行装置は、直進の場合は図1の矢印で示す方向に走行するので、以下の説明において、矢印の走行方向を前後方向、走行方向から見て左右を左側部、右側部と呼ぶことにする。
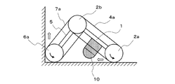
図1、図2において、基体1は、本装置の基本骨格を成す部分である。基体1の左側部および右側部の各側面の前後方向には、複数個(図では2個)のスプロケット(主スプロケット)2a,2bおよび2c,2dが回転可能に取り付けられている。また、基体1には、スプロケットを駆動するためのモータ3a,3bが設置されており、モータ3aはスプロケット2aに、モータ3bはスプロケット2dに回転動力を供給している。モータ3a,3bは独立しているので、右側部のスプロケット2a,2bと左側部のスプロケット2c,2dとが逆方向に回転可能となっている。また、回転速度も個別に制御できるようになっている。
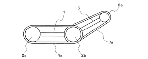
右側部の前後方向のスプロケット2a,2bには、クローラベルト4aが掛け渡されており、同様に、左側部の前後方向のスプロケット2c,2dには、クローラベルト4bが掛け渡されている。
ここで、スプロケットとは、周囲に歯車形状部が設けられた車輪で、その歯車形状部を介してクローラベルトに回転を伝えることによりクローラ(無限軌道とも言う)走行を可能とするものである。図では、モータ3aの動力によりスプロケット2aが回転駆動され、それによりクローラベルト4aが回転し、スプロケット2bも同時に回転する。同様にモータ3bの動力によりスプロケット2dが回転駆動され、それによりクローラベルト4bが回転し、スプロケット2cも同時に回転するようになっている。
基体1の前後方向の一方の端部(図では後端部)に、アーム5の一端側が回動自在に取付けられている。基体1との結合部は、例えば、アーム5の一端部をリング状に形成しておき、基体1に設けられた円筒状シャフト(図示せず)に嵌め合う構造とする等により実現することができ、所定の位置または角度にて固定することができる構造とするのがよい。さらに、通常はバネ等で基体1と同様に水平になる状態に押し付けておき、回動時にはモータの動力で回転するように構成してもよい。その場合アーム5は固定していない状態でかつモータの動力から開放されれば、バネの力により水平の位置に戻ることになる。
アーム5の他端部には、補助スプロケット6a、6bが軸着されている。そして、基体1のアーム5側の側面に配置されたスプロケット2bと補助スプロケット6aとの間には補助クローラベルト7aが掛け渡され、同様に、プロケット2dと補助スプロケット6bとの間には補助クローラベルト7bが掛け渡されている。
モータ3aがスプロケット2aを駆動すると、クローラベルト4aを介してスプロケット2bが駆動され、さらに補助クローラベルト7aを介して補助スプロケット6aが駆動される。同様に、モータ3bの駆動力がスプロケット2dから補助クローラベルト7bを介して補助スプロケット6bに伝達されて補助スプロケット6bが駆動される。
ここで、アーム5は、通常の平地での走行のような場合には、補助クローラベルト7aおよび補助クローラベルト7bが接地する状態で基体1に固定され使用される。それにより安定した走行および駆動力を得ることができる。
さらに、凹凸の激しい悪路や瓦礫の上や階段等での走行の場合には、図2に示すように、アーム5の補助スプロケット6a,6bを固定状態にし、かつ基体1への固定を開放することで、基体1を軸にして回動させて持ち上げて使用する。
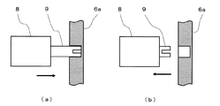
補助スプロケット6a,6bを回転を止めて固定する方法の一例を図3に示す。アーム5側に設けたソレノイド装置8を操作して、ピン9を補助スプロケット6aに設けられた穴に差し込むことにより、補助スプロケット6aの回転を止めて固定させることができる(図3(a)参照)。ピン9を抜けば固定が解除される(図3(b)参照)。
図3(a)の状態で、図1において下方向へ走行するように、モータ3aを駆動し、クローラ4aを介してスプロケット2bを回転させると、補助クローラベルト7aはスプロケット2b側のみが回転するので、補助スプロケット6a,6bを含むアーム5全体(以下アーム部と称する)が上方に回動する。
この場合、左右の補助スプロケット6a、6bを同時に固定しても良く、どちらか一方の補助スプロケットのみを固定してもよい。また、モータ3bの駆動によっても同様の動作を行わせることが可能である。
モータ3aを上記説明とは逆に、図1において上方向へ走行するように回転させれば、アーム部先端を下げる方向に回動させることができる。
また、上記の固定または回転のモードを外部から無線または有線で制御する場合は、基体1に信号を受信する受信機を備えておけばよい。
なお、上記においては、アーム部に2個の補助スプロケット6a,6bを有する構造について説明したが、補助スプロケットを一つだけ有する構造としても良く、さらには、3個以上の補助スプロケットを有する構造としても良い。
このように本実施の形態によるクローラ走行装置は、別途、アーム駆動のためにモータ等の駆動装置を設けることなしに、アーム部を簡単な制御で上下方向に回動させることができるため、クローラ走行装置を軽量かつコンパクトに構成することができる。
次に走行の操作について説明する。
本発明のクローラ走行装置は、左側部および右側部にそれぞれクローラ4a,4bを備えているため悪路においても問題なく走行可能である。操作性についても、例えば急回転したい場合は、右側部のクローラ4aと左側部のクローラ4bをそれぞれ逆回転することによりその場で回転動作を行なうことができる。また、右側部のクローラ4aと左側部のクローラ4bの回転速度を変えることにより、所望の回転半径で右左折させることもできる。これらのモータの操作は、無線または有線で送信されてきた信号を受信する受信機(図示せず)を備えることにより、遠隔操縦で行うことができる。
また、図1、2では図示を省略しているが、基体1には撮像装置が備えられており、無線または有線で送信されてきた信号を受信する受信機を備えることにより、撮像装置の位置や角度を遠隔制御することができる。操縦者は遠隔地から画像を見ながら操縦し、例えば、本来人間が入ることのできない危険な場所や狭い場所においても、種々の探索作業を行なうことができる。
この撮像装置としては、例えばパンチルトカメラを用いればよい。パンチルトカメラは、上下左右に首を振って撮影方向を変更できるもので、走行装置の転倒によってカメラの位置が変化しても、撮像画像を見ながら遠隔操作によってカメラの位置を正規の姿勢に戻すことができる。このとき、重力センサーを備えておけば、転倒時においてもカメラの姿勢をただちに把握することができ、すばやい転倒復帰動作を行なうことができる。
次にアーム部を上下に回動させることの効果について説明する。
図4〜図6は、アーム部を回動させて、スプロケット2a,2c側を先頭にして階段を上昇する様子を示したものである。図1、図2においては、補助スプロケット6a,6bの直径がスプロケット2a〜2dの直径より小さい例を示しているが、ここでは補助スプロケットの直径とスプロケットの直径が同じである例について示している。なお、スプロケットの大きさやアームの長さは、仕様に応じ適宜決定すればよい。
まず、先の図2に示したように、アーム部を持ち上げて所定の角度に固定し、スプロケット2a,2cの方から階段に突き当たるまで前進する。(以後、図示に合わせて、見えている側のスプロケットとクローラベルトの符号を用いて、「スプロケット2a」にように簡易表記することにする。)
階段の最初の垂直面に接したクローラベルト4aは、クローラベルト4aの摩擦力により垂直面を昇り、やがて図4に示すように補助クローラベルト7aが地面に接する状態となる。
さらに階段を上昇すると、今度はスプロケット2bが地面と接触しなくなるが、補助スプロケット6aの駆動力でさらに装置を押し上げる。この動作に連動して、アーム部は図5に示すように基体1との角度を180度、すなわち一直線となるように制御する。これは、さらに階段を上昇するための駆動力を補助クローラベルト7aから得るとともに、走行装置全体が後ろに反り返って転倒するのを防ぐためである。
さらに上昇すると、階段上部で、スプロケット2aが接触しなくなるが、今度は図6に示すように、最初の状態とは逆の方向にアーム部を回動させ、クローラベルト4aを地面に接触させるように制御することによって、安定的に階段を上りきることができる。階段を上りきってスプロケット2b、2dが地面と接触しなくなるのを見計らって、アーム部は基体1と水平状態または最初のように少しアーム部を持ち上げた状態に戻す。
このように本発明のクローラ走行装置は、基体1とアーム部の角度を適宜制御することにより、段差の大きな階段においても容易に登って行くことができる。
次に、クローラ走行装置が前転した状態から復帰する方法について説明する。ここで言う前転とは、図7〜図9のように、進行方向に回転した状態を指すものとする。
図7は、図2に比べてさらにアーム部を上方に回動させて、基体1との角度を鋭角にして固定した状態で、かつアーム部を下にして前転した状態を示している。
また、図8は、さらに前転し、補助スプロケット6aとスプロケット2aで接地している状態を示している。
なお、図7〜図9では、基体1に搭載装置10を搭載している場合を図示している。搭載装置10は、先に説明した撮像装置やその制御装置、受信機、さらにモータ制御装置等である。
ここで、このようにアーム部を基体1に対して鋭角になるように上方に回動させているのは、基体1に搭載装置10があるとき、例えば、図8のように前転しても、搭載装置10の損傷を防ぐことができるためである。またこのような状態は、後述する正規の位置への復帰が容易な状態であり、本発明のクローラ走行装置を使用するにあたり、装置の前転が避けられないような凹凸の激しい路面等での走行に適している。
図7の状態から正規の位置、すなわち、クローラ4aが接地している状態に復帰するには、単に、アーム部を図2に示す位置になるように基体1に対して開く方向に回動させるだけで良く、容易に復帰させることが可能である。
次に、図7の状態からさらに前転し図8の状態になった場合について説明する。この場合は、図8の状態のままでも走行可能であるので、例えば、壁面等に当たるまではこの状態で走行し、壁面等に当たったところで、壁面等との摩擦力を利用して、太矢印にように移動させて正規の状態に復帰させることができる。
さらには、図9では、スプロケット2bの中心軸と補助スプロケット6aの中心軸の軸間距離(アーム部の長さと称する)を、スプロケット2aの中心軸とスプロケット2bの中心軸間の距離(本体クローラ部の長さと称する)よりも長くした場合を示している。アーム部の長さと本体クローラ部の長さをこのような関係にしておけば、図のように前転しても、アーム部と基体1との距離を狭めてその角度をさらに小さくなるように回動させると、重心がスプロケット2aの接地点を超えた(図で右側となった)時点で正規の位置に戻ることができる。
以上説明してきたクローラ装置は、左側部および右側部のスプロケットは、各2個のものについて説明してきたが、2個に限定するものではなく、必要に応じて3個以上のスプロケットを設けても良い。その場合は、多少の小形化機能は失われるが、駆動時の接地面積の増大を要求されるような場合に有効である。
またモータについても3個以上のモータを設置しても良い。例えば一つのスプロケットに対し一つのモータで駆動させる、いわゆる4輪駆動タイプにすれば、重量や容積は大きくなるが、悪路におけるさらなる走行性が必要な場合には有効である。
以上のように、実施の形態1によれば、基体と、基体の左側部および右側部の各側面の前後方向に配設された複数個のスプロケットと、基体に設置されてスプロケットを駆動するモータと、前後方向のスプロケットに掛け渡された左右2個のクローラベルトと、基体の前後方向の端部に一端側が回動自在に取付けられたアームと、アームの他端側に軸着されて回転および固定の制御が可能な補助スプロケットと、基体のアーム側に位置するスプロケットと補助スプロケットとの間に掛け渡された補助クローラベルトとを備え、モータの駆動力が補助クローラベルトを介して補助スプロケットに伝達され、補助スプロケットの回転および固定の制御により、アームが上下方向に回動するように構成したので、アームの回動を利用して階段や段差部での走行を容易に行え、転倒時でも容易に復帰可能なクローラ走行装置を、簡単な構成で得ることができる。
また別途、アームを上下させるモータを設けることなく、右側部または左側部のスプロケットを回転させるモータを利用してアームを回動できるため、軽量化と小形化を図ることができる。
また、モータは、左側部のスプロケットに動力を供給するモータと、右側部のスプロケットに動力を供給するモータとを個別に設けたので、右側部と左側部のスプロケットの回転方向や速度を個別に任意に制御できる。
また、左側部のスプロケットと右側部のスプロケットとが逆方向に回転可能なように構成したので、装置全体をその場で任意の方向に回転動作させることができる。
また、左側部のスプロケットと右側部のスプロケットの回転速度を、個別に制御可能に構成したので、容易に所望の回転半径で右左折させることができる。
また、モータの制御を、外部から無線または有線で行うための信号を受信する受信機を備えたので、遠隔操縦できるため、震災や火災などの被災地において救済活動を行なうためのクローラ走行装置として効果的に利用できる。
また、外部から無線または有線で制御可能なカメラを備えた撮像装置を基体に設置したので、撮像画像を見ながら遠隔操作によって姿勢や走行を制御できる。このため、転倒時でもすばやい復帰動作を行なうことができる。
また、補助スプロケットの固定および回転の制御を外部から無線または有線で行うための信号を受信する受信機を備えたので、アームの回動動作を遠隔操作できるため、階段の昇降動作や、前後方向に転倒時の復帰を遠方から容易に制御できる。
更にまた、クローラベルトを掛け渡した前後方向のスプロケットの軸間距離より、補助クローラベルトを掛け渡したスプロケットと補助スプロケットとの軸間距離の方を長くしたので、前後方向に転倒時の復帰が容易となる。
実施の形態2.
図10は、実施の形態2によるクローラ走行装置を示す図であり、(a)は平面図、(b)は走行方向側から見た正面図である。実施の形態1の図1と同等部分は同一符号を付し、説明は省略する。
図1と異なる部分は、クローラベルトの幅であり、他は同じ構成である。本実施の形態のクローラベルト14aおよびクローラベルト14bは、スプロケット2a、2bまたは2c、2dと係合する一定の幅を有する部分と、それよりも幅の広い部分とで構成されている。一定の幅を有する部分を狭幅部11と称し、幅の広い部分を広幅部12と称することにする。図10では、狭幅部11が地面と接しており広幅部12が上部にあるが、もちろん、回転することにより位置関係は変動する。
狭幅部11と広幅部12とを有するクローラベルト14a,14bの形状を決定する一方法として、右側のクローラベルト14aで説明すれば、等幅のクローラベルトをスプロケット2a,2bに巻き掛けた状態で、幅方向の外側の面を、ベルトの長手方向に並行で地面とは傾斜を有する面でカットした形状とすればよい(図10(b)参照)。これを展開すれば図11のようになっている。外側となる長辺が、一定長さの狭幅部11と、一定長さの広幅部12とで成っている。
また、別の実施例として、図12に示すように、大部分が狭幅部11で,一部のみに突出部を設けて広幅部12としても良い。図12は展開図であり、これを環状に繋いでスプロケットに装着する。
次に、上記のように構成したクローラベルトの作用について説明する。
クローラベルトは、転倒時でも本体加重により大きな変形を生じない程度の剛性のある素材で形成しておく。このクローラベルトを装着したクローラ走行装置が横転した場合、図13または図14に示すように、地面に対する鉛直線とある傾斜角θを形成することになる。
なお、横転とは、一方のクローラ部を下に、他方のクローラ部を上にし、ほぼ90度横に回転した状態を言う。
図13は、図11の形状のクローラベルトを使用した場合であり、図14は、図12の形状のクローラベルトを使用した場合である。なお、両図とも、広幅部12が正常の状態で上面側の位置にある状態、すなわち傾斜が一番大きい場合を走行方向から見たところを示しているが、クローラベルトの回転によりこの角度は変化する。
上記傾斜角θは、装置の重心が支点より外側にあるときは、そのままで回転し復帰するが、そのような傾斜角θを採用しようとすれば、広幅部12が長くなりすぎて装置全体が大きくなり問題である。
発明者らの実験によれば、まったく傾斜角がゼロの場合(クローラベルトが等幅の場合)であっても、モータのパワーがある程度大きければ、クローラベルトが全面において接地している場合には、単に、勢い良くクローラベルトを回転させることにより、地面のちょっとした凹凸により装置が振れて正規の状態に復帰することもしばしば経験している。しかしながら、この場合は大きなパワーのモータを使用しなくてはならず、また、路面の状態によっては確実に復帰させられるとは限らない、等の問題がある。
以上の点を考慮して、発明者らは、図13または図14に示す横転時の傾斜角θの大きさは、平坦地に横転した場合に、6度から18度の範囲となるように、クローラベルトの形状を設計すれば、ほぼ確実に正規の状態に復帰させることができることを見出した。
すなわち、横転時に、6度未満の傾斜角を有するようにクローラベルトの形状を設計したものは、確実にどのような路面においても復帰させるためには相当にパワーのあるモータを使用する必要があり、そのときは本発明の目的である小形・軽量性が失われることになる。一方、18度以上の傾斜角については、多くの場合、装置全体の重心が横転時に支点から外れるか、またはそれに近い状態になるために、容易に復帰するので、それ以上の角度を持たせることはクローラベルトが大きくなるだけであまり意味がない。
また、図11および図12における狭幅部11と広幅部12は、図13または図14において、tanθ=(広幅部12−狭幅部11)/スプロケットの直径、の関係にあり、スプロケットの直径が決まれば、傾斜角θが6度から18度の間になるようにクローラベルトの形状を容易に定めることができる。
このように本発明のクローラ走行装置は、クローラベルトに狭幅部と広幅部を持たせて、クローラ走行装置が横転したときも一定の傾斜角を確保し、さらにクローラベルトを回転させることにより容易に正規の状態に復帰させることができるものである。これを、実施の形態1で説明した転倒からの復帰機能と併せて採用すれば、どのような路面に使用したとしてもほぼ確実に復帰し探索活動を続行させることが可能となる。
更に、別の実施例を図15に示す。実施の形態1の図1と同等部分は同一符号で示し、説明を省略する。相違点は、前後のスプロケット2a,2b(2c,2dも同様)のいずれか一方または両方に、突起部13を設けた点である。このような構成によって、横転したときに、前述の広幅部12を形成した場合と同様の傾斜角を確保するようにしたものである。
以上のように、実施の形態2によれば、左側部または右側部の少なくとも一方のクローラベルトのベルト幅は、狭幅部と広幅部とを有し、クローラ走行装置が平坦地で横転し、狭幅部と広幅部において接地したとき、走行方向から見て、スプロケット軸が鉛直線に対して傾斜角を有する状態が発生するように構成したので、横転時にスプロケットを回転させて振動させることで、容易に正常の状態に復帰することができる。
また、狭幅部と広幅部とを有するクローラベルトの形状は、クローラベルトをスプロケットに巻き掛けた状態において、幅方向の外側の面を、クローラベルトの長手方向に並行で、且つ、地面とは傾斜角を有する面でカットした形状に形成したので、横転時に一定の傾斜角を容易に確保できるため、復帰が容易となる。
また、広幅部は、狭幅部の外側の一部に突出部を設けて形成したので、簡単な構成で横転時に傾斜角を生じさせることができ、復帰が容易となる。
また、前後方向のスプロケットの少なくとも一つに突起部を設け、横転時に突起部が接地したときに、走行方向から見て、スプロケット軸が鉛直線に対して傾斜角を有する状態となるようにしたので、横転時にスプロケットを回転させて振動させることで、容易に正常の状態に復帰することができる。
更にまた、傾斜角は6度から18度の範囲としたので、横転時にスプロケットを回転させて、ほぼ確実に正規の状態に復帰させることができる。
実施の形態3.
図16は、実施の形態3によるクローラ走行装置の平面図である。実施の形態1の図1と同等部分は同一符号で示して説明は省略し、相違点のみを説明する。
相違点は、補助クローラベルト7a、7bがクローラベルト4a、4bの外側に設置されている点である。
このような構成によれば、先に図9において説明したように、アーム部の長さを、本体クローラ部の長さよりも長くした場合には、アーム部の回動可能な範囲を拡大することができる。
なお、図16の構成の場合は、横転防止のためにクローラベルトを狭幅部と広幅部とを設ける形状とするときは、補助クローラベルト7a、7bに設けることにより効果が発揮される。
以上のように、実施の形態3によれば、補助クローラベルトをクローラベルトの外側に設置したので、実施の形態1の図1と同様の効果を得ることができる。更に、図1と比較してアーム部の回動可能な範囲を拡大することができるので、走行の自由度が増す。
実施の形態4.
図17は実施の形態4によるクローラ走行装置の側面図であり、実施の形態1の図2と対応する図である。図2と同等部分は同一符号で示し、説明は省略する。
相違点は、アームが基体1の前後にそれじれ備えている点である。後方部のアーム5に対し、前方部にも同様にアーム5が回動自在に設けられ、アーム5の先端側には補助スプロケット6aを有し、補助クローラベルト7aを備えて構成されている。
以上のように、実施の形態4によれば、基体の前後にアーム部を設けたので、アーム部が1個のものに比べて全長は長く、重量も重くなるが、2つの回動部を調節してきめ細かく動作させることにより、階段上昇性能が向上し、また、アーム部において2等辺三角形を形成して完全に搭載装置を保護することができる。
さらに、前転時の復帰においても壁等の利用なしに復帰できる、転倒時の復帰性能の優れたクローラ装置を提供できる。
この発明の実施の形態1によるクローラ走行装置の平面図である。 図1の右側面図である。 この発明の実施の形態1によるクローラ走行装置のスプロケットの固定及び開放動作を説明する図である。 この発明の実施の形態1によるクローラ走行装置の階段上昇動作を説明する図である。 この発明の実施の形態1によるクローラ走行装置の階段上昇動作を説明する図である。 この発明の実施の形態1によるクローラ走行装置の階段上昇動作を説明する図である。 この発明の実施の形態1によるクローラ走行装置の前転時の側面図である。 この発明の実施の形態1によるクローラ走行装置の前転時の他の例を示す側面図である。 この発明の実施の形態1によるクローラ走行装置の前転時の別の例を示す側面図である。 この発明の実施の形態2によるクローラ走行装置を示す図である。 図10のクローラ走行装置のクローラベルトの展開図である。 図10のクローラ走行装置の他のクローラベルトの展開図である。 この発明の実施の形態2によるクローラ走行装置の横転時の正面図である。 この発明の実施の形態2によるクローラ走行装置の横転時の他の例を示す正面図である。 この発明の実施の形態2によるクローラ走行装置の他の例を示すである。 この発明の実施の形態3によるクローラ走行装置の平面図である。 この発明の実施の形態4によるクローラ走行装置の側面図である。
符号の説明
1 基体 2a,2b,2c,2d スプロケット
3a,3b モータ 4a,4b クローラベルト
5 アーム 6a,6b 補助スプロケット
7a,7b 補助クローラベルト 8 ソレノイド装置
9 ピン 10 搭載装置
11 狭幅部 12 広幅部
13 突起部 14a,14b クローラベルト。

Claims (13)

  1. 基体と、前記基体の左側部および右側部の各側部の前後方向に配設された複数個のスプロケットと、前記基体に設置されて前記スプロケットを駆動するモータと、前記前後方向の前記スプロケットに掛け渡された左右2個のクローラベルトと、前記基体の前後方向の端部に一端側が回動自在に取付けられたアームと、前記アームの他端側に軸着されて回転および固定の制御が可能な補助スプロケットと、前記基体の前記アーム側に位置する前記スプロケットと前記補助スプロケットとの間に掛け渡された補助クローラベルトとを備え、
    前記モータの駆動力が前記補助クローラベルトを介して前記補助スプロケットに伝達され、前記補助スプロケットの前記回転および固定の制御により、前記アームが上下方向に回動するように構成されたことを特徴とするクローラ走行装置。
  2. 請求項1に記載のクローラ走行装置において、前記モータは、前記左側部のスプロケットに動力を供給するモータと、前記右側部のスプロケットに動力を供給するモータとが個別に設けられていることを特徴とするクローラ走行装置。
  3. 請求項2に記載のクローラ走行装置において、前記左側部のスプロケットと前記右側部のスプロケットとが逆方向に回転可能なように構成されていることを特徴とするクローラ走行装置。
  4. 請求項2又は請求項3に記載のクローラ走行装置において、前記左側部のスプロケットと前記右側部のスプロケットの回転速度を、個別に制御可能に構成されていることを特徴とする請求項2に記載のクローラ走行装置。
  5. 請求項1〜請求項4のいずれか1項に記載のクローラ走行装置において、前記モータの制御を、外部から無線または有線で行うための信号を受信する受信機を備えたことを特徴とするクローラ走行装置。
  6. 請求項1〜請求項5のいずれか1項に記載のクローラ走行装置において、外部から無線または有線で制御可能なカメラを備えた撮像装置が基体に設置されていることを特徴とするクローラ走行装置。
  7. 請求項1〜請求項6のいずれか1項に記載のクローラ走行装置において、前記補助スプロケットの前記固定または回転の制御を外部から無線または有線で行うための信号を受信する受信機を備えたことを特徴とするクローラ走行装置。
  8. 請求項1〜請求項7のいずれか1項に記載のクローラ走行装置において、前記クローラベルトを掛け渡した前後方向の前記スプロケットの軸間距離より、前記補助クローラベルトを掛け渡した前記スプロケットと前記補助スプロケットとの軸間距離の方が長いことを特徴とするクローラ走行装置。
  9. 請求項1〜請求項8のいずれか1項に記載のクローラ走行装置において、前記左側部または前記右側部の少なくとも一方の前記クローラベルトのベルト幅は、狭幅部と広幅部とを有し、
    クローラ走行装置が平坦地で横転し、前記狭幅部と前記広幅部において接地したとき、走行方向から見て、スプロケット軸が鉛直線に対して傾斜角を有する状態が発生するように構成したことを特徴とするクローラ走行装置。
  10. 請求項9に記載のクローラ走行装置において、前記狭幅部と前記広幅部とを有する前記クローラベルトの形状は、前記クローラベルトを前記スプロケットに巻き掛けた状態において、幅方向の外側の面が、前記クローラベルトの長手方向に並行で、且つ、地面とは傾斜角を有する面でカットした形状に形成されていることを特徴とするクローラ走行装置。
  11. 請求項9に記載のクローラ走行装置において、前記広幅部は、前記狭幅部の外側の一部に突出部を設けて形成されていることを特徴とするクローラ走行装置。
  12. 請求項1〜請求項8のいずれか1項に記載のクローラ走行装置において、前後方向の前記スプロケットの少なくとも一つに突起部を設け、横転時に前記突起部が接地したときに、走行方向から見て、スプロケット軸が鉛直線に対して傾斜角を有する状態となることを特徴とするクローラ走行装置。
  13. 請求項9〜請求項12のいずれか1項に記載のクローラ走行装置において、前記傾斜角は6度から18度の範囲であることを特徴とするクローラ走行装置。
JP2008162172A 2008-06-20 2008-06-20 クローラ走行装置 Expired - Fee Related JP5121594B2 (ja)

Priority Applications (1)

Application Number Priority Date Filing Date Title
JP2008162172A JP5121594B2 (ja) 2008-06-20 2008-06-20 クローラ走行装置

Applications Claiming Priority (1)

Application Number Priority Date Filing Date Title
JP2008162172A JP5121594B2 (ja) 2008-06-20 2008-06-20 クローラ走行装置

Publications (2)

Publication Number Publication Date
JP2010000945A true JP2010000945A (ja) 2010-01-07
JP5121594B2 JP5121594B2 (ja) 2013-01-16

Family

ID=41583021

Family Applications (1)

Application Number Title Priority Date Filing Date
JP2008162172A Expired - Fee Related JP5121594B2 (ja) 2008-06-20 2008-06-20 クローラ走行装置

Country Status (1)

Country Link
JP (1) JP5121594B2 (ja)

Cited By (5)

* Cited by examiner, † Cited by third party
Publication number Priority date Publication date Assignee Title
JP2012236507A (ja) * 2011-05-12 2012-12-06 Chiba Inst Of Technology 無人走行用移動体
JP2018039074A (ja) * 2016-09-07 2018-03-15 学校法人千葉工業大学 建築物の天井裏点検方法
CN108163069A (zh) * 2017-12-29 2018-06-15 湖南三快而居住宅工业有限公司 机器人、工作设备及机器人的工作方法
CN110271617A (zh) * 2019-06-24 2019-09-24 广西科技大学 一种两节式履带爬壁机器人
CN113954980A (zh) * 2021-11-05 2022-01-21 中国科学技术大学 一种可变角度的多功能推板

Families Citing this family (1)

* Cited by examiner, † Cited by third party
Publication number Priority date Publication date Assignee Title
CN111055937A (zh) * 2019-12-30 2020-04-24 合肥工业大学 一种新型的履带机器人

Citations (8)

* Cited by examiner, † Cited by third party
Publication number Priority date Publication date Assignee Title
GB541253A (en) * 1940-06-10 1941-11-19 Alfred Edward Carr Improvements in tractor type vehicles especially applicable to military tanks
JPS5750014A (en) * 1980-09-10 1982-03-24 Toshiba Corp Mobile monitoring device
JPS61180885U (ja) * 1985-05-01 1986-11-11
JPS6236885U (ja) * 1985-08-20 1987-03-04
JPS6390484A (ja) * 1986-10-03 1988-04-21 Hitachi Ltd 壁面吸着走行機
JP2004188581A (ja) * 2002-11-26 2004-07-08 Yoshiaki Okamoto 救助ロボット
JP2005081447A (ja) * 2003-09-04 2005-03-31 Tech Res & Dev Inst Of Japan Def Agency 走行型ロボット
WO2008090946A1 (ja) * 2007-01-25 2008-07-31 Topy Kogyo Kabushiki Kaisha クローラ装置とその自動姿勢制御

Patent Citations (8)

* Cited by examiner, † Cited by third party
Publication number Priority date Publication date Assignee Title
GB541253A (en) * 1940-06-10 1941-11-19 Alfred Edward Carr Improvements in tractor type vehicles especially applicable to military tanks
JPS5750014A (en) * 1980-09-10 1982-03-24 Toshiba Corp Mobile monitoring device
JPS61180885U (ja) * 1985-05-01 1986-11-11
JPS6236885U (ja) * 1985-08-20 1987-03-04
JPS6390484A (ja) * 1986-10-03 1988-04-21 Hitachi Ltd 壁面吸着走行機
JP2004188581A (ja) * 2002-11-26 2004-07-08 Yoshiaki Okamoto 救助ロボット
JP2005081447A (ja) * 2003-09-04 2005-03-31 Tech Res & Dev Inst Of Japan Def Agency 走行型ロボット
WO2008090946A1 (ja) * 2007-01-25 2008-07-31 Topy Kogyo Kabushiki Kaisha クローラ装置とその自動姿勢制御

Cited By (5)

* Cited by examiner, † Cited by third party
Publication number Priority date Publication date Assignee Title
JP2012236507A (ja) * 2011-05-12 2012-12-06 Chiba Inst Of Technology 無人走行用移動体
JP2018039074A (ja) * 2016-09-07 2018-03-15 学校法人千葉工業大学 建築物の天井裏点検方法
CN108163069A (zh) * 2017-12-29 2018-06-15 湖南三快而居住宅工业有限公司 机器人、工作设备及机器人的工作方法
CN110271617A (zh) * 2019-06-24 2019-09-24 广西科技大学 一种两节式履带爬壁机器人
CN113954980A (zh) * 2021-11-05 2022-01-21 中国科学技术大学 一种可变角度的多功能推板

Also Published As

Publication number Publication date
JP5121594B2 (ja) 2013-01-16

Similar Documents

Publication Publication Date Title
JP5121594B2 (ja) クローラ走行装置
JP4607442B2 (ja) クローラ型走行ロボット
CN211073605U (zh) 将传感器模块安装到无人地面车辆
US9216781B2 (en) Maneuvering robotic vehicles
US8333256B2 (en) Polymorphic tracked vehicle
US8365848B2 (en) Robotic platform
US8122982B2 (en) Mobile robot systems and methods
US7493976B2 (en) Variable configuration articulated tracked vehicle
KR101109545B1 (ko) 가변트랙형 이동시스템
JPH09142347A (ja) 不整地移動装置
KR101094740B1 (ko) 이동로봇
JP7115404B2 (ja) 無人探査車
JP2017218105A (ja) 履帯式走行体
US20230047500A1 (en) Inclination control system for tracked vehicle
JP2008126936A (ja) 移動装置
JP6239981B2 (ja) 走行車両および作業車両
CN118770415A (zh) 一种能跨越障碍物的电力巡检机器人
JP2005334355A (ja) 小型走行台車及び小型走行ロボット
KR20250059698A (ko) 플리퍼를 구비한 트랙형 로봇 및 이의 제어방법
JP2017065565A (ja) 走行装置
KR101887283B1 (ko) 플랫폼 진동 저감을 위한 무인 로봇
KR20200072032A (ko) 지상 이동체 및 그의 제어 방법

Legal Events

Date Code Title Description
A621 Written request for application examination

Free format text: JAPANESE INTERMEDIATE CODE: A621

Effective date: 20110304

A977 Report on retrieval

Free format text: JAPANESE INTERMEDIATE CODE: A971007

Effective date: 20120726

A131 Notification of reasons for refusal

Free format text: JAPANESE INTERMEDIATE CODE: A131

Effective date: 20120801

A521 Request for written amendment filed

Free format text: JAPANESE INTERMEDIATE CODE: A523

Effective date: 20120831

TRDD Decision of grant or rejection written
A01 Written decision to grant a patent or to grant a registration (utility model)

Free format text: JAPANESE INTERMEDIATE CODE: A01

Effective date: 20121002

A01 Written decision to grant a patent or to grant a registration (utility model)

Free format text: JAPANESE INTERMEDIATE CODE: A01

A61 First payment of annual fees (during grant procedure)

Free format text: JAPANESE INTERMEDIATE CODE: A61

Effective date: 20121023

FPAY Renewal fee payment (event date is renewal date of database)

Free format text: PAYMENT UNTIL: 20151102

Year of fee payment: 3

R150 Certificate of patent or registration of utility model

Free format text: JAPANESE INTERMEDIATE CODE: R150

Ref document number: 5121594

Country of ref document: JP

Free format text: JAPANESE INTERMEDIATE CODE: R150

R250 Receipt of annual fees

Free format text: JAPANESE INTERMEDIATE CODE: R250

R250 Receipt of annual fees

Free format text: JAPANESE INTERMEDIATE CODE: R250

R250 Receipt of annual fees

Free format text: JAPANESE INTERMEDIATE CODE: R250

R250 Receipt of annual fees

Free format text: JAPANESE INTERMEDIATE CODE: R250

R250 Receipt of annual fees

Free format text: JAPANESE INTERMEDIATE CODE: R250

R250 Receipt of annual fees

Free format text: JAPANESE INTERMEDIATE CODE: R250

R250 Receipt of annual fees

Free format text: JAPANESE INTERMEDIATE CODE: R250

R250 Receipt of annual fees

Free format text: JAPANESE INTERMEDIATE CODE: R250

S533 Written request for registration of change of name

Free format text: JAPANESE INTERMEDIATE CODE: R313533

R350 Written notification of registration of transfer

Free format text: JAPANESE INTERMEDIATE CODE: R350

LAPS Cancellation because of no payment of annual fees