JP2010000344A - デスクトップ型書物消毒器 - Google Patents

デスクトップ型書物消毒器 Download PDF

Info

Publication number
JP2010000344A
JP2010000344A JP2009123923A JP2009123923A JP2010000344A JP 2010000344 A JP2010000344 A JP 2010000344A JP 2009123923 A JP2009123923 A JP 2009123923A JP 2009123923 A JP2009123923 A JP 2009123923A JP 2010000344 A JP2010000344 A JP 2010000344A
Authority
JP
Japan
Prior art keywords
book
air
main body
static electricity
aroma
Prior art date
Legal status (The legal status is an assumption and is not a legal conclusion. Google has not performed a legal analysis and makes no representation as to the accuracy of the status listed.)
Granted
Application number
JP2009123923A
Other languages
English (en)
Other versions
JP4669554B2 (ja
Inventor
Jong Min Lee
イ,ジョンミン
Sang Ok Woo
ウ,サンオク
Geon Hee Han
ハン,ゴンヒ
Current Assignee (The listed assignees may be inaccurate. Google has not performed a legal analysis and makes no representation or warranty as to the accuracy of the list.)
IVS Inc
Original Assignee
IVS Inc
Priority date (The priority date is an assumption and is not a legal conclusion. Google has not performed a legal analysis and makes no representation as to the accuracy of the date listed.)
Filing date
Publication date
Application filed by IVS Inc filed Critical IVS Inc
Publication of JP2010000344A publication Critical patent/JP2010000344A/ja
Application granted granted Critical
Publication of JP4669554B2 publication Critical patent/JP4669554B2/ja
Expired - Fee Related legal-status Critical Current
Anticipated expiration legal-status Critical

Links

Images

Classifications

    • AHUMAN NECESSITIES
    • A61MEDICAL OR VETERINARY SCIENCE; HYGIENE
    • A61LMETHODS OR APPARATUS FOR STERILISING MATERIALS OR OBJECTS IN GENERAL; DISINFECTION, STERILISATION OR DEODORISATION OF AIR; CHEMICAL ASPECTS OF BANDAGES, DRESSINGS, ABSORBENT PADS OR SURGICAL ARTICLES; MATERIALS FOR BANDAGES, DRESSINGS, ABSORBENT PADS OR SURGICAL ARTICLES
    • A61L2/00Methods or apparatus for disinfecting or sterilising materials or objects other than foodstuffs or contact lenses; Accessories therefor
    • A61L2/02Methods or apparatus for disinfecting or sterilising materials or objects other than foodstuffs or contact lenses; Accessories therefor using physical phenomena
    • A61L2/08Radiation
    • A61L2/10Ultraviolet radiation
    • AHUMAN NECESSITIES
    • A61MEDICAL OR VETERINARY SCIENCE; HYGIENE
    • A61LMETHODS OR APPARATUS FOR STERILISING MATERIALS OR OBJECTS IN GENERAL; DISINFECTION, STERILISATION OR DEODORISATION OF AIR; CHEMICAL ASPECTS OF BANDAGES, DRESSINGS, ABSORBENT PADS OR SURGICAL ARTICLES; MATERIALS FOR BANDAGES, DRESSINGS, ABSORBENT PADS OR SURGICAL ARTICLES
    • A61L2/00Methods or apparatus for disinfecting or sterilising materials or objects other than foodstuffs or contact lenses; Accessories therefor
    • A61L2/02Methods or apparatus for disinfecting or sterilising materials or objects other than foodstuffs or contact lenses; Accessories therefor using physical phenomena
    • A61L2/08Radiation
    • AHUMAN NECESSITIES
    • A61MEDICAL OR VETERINARY SCIENCE; HYGIENE
    • A61LMETHODS OR APPARATUS FOR STERILISING MATERIALS OR OBJECTS IN GENERAL; DISINFECTION, STERILISATION OR DEODORISATION OF AIR; CHEMICAL ASPECTS OF BANDAGES, DRESSINGS, ABSORBENT PADS OR SURGICAL ARTICLES; MATERIALS FOR BANDAGES, DRESSINGS, ABSORBENT PADS OR SURGICAL ARTICLES
    • A61L2/00Methods or apparatus for disinfecting or sterilising materials or objects other than foodstuffs or contact lenses; Accessories therefor
    • A61L2/02Methods or apparatus for disinfecting or sterilising materials or objects other than foodstuffs or contact lenses; Accessories therefor using physical phenomena
    • A61L2/14Plasma, i.e. ionised gases
    • AHUMAN NECESSITIES
    • A61MEDICAL OR VETERINARY SCIENCE; HYGIENE
    • A61LMETHODS OR APPARATUS FOR STERILISING MATERIALS OR OBJECTS IN GENERAL; DISINFECTION, STERILISATION OR DEODORISATION OF AIR; CHEMICAL ASPECTS OF BANDAGES, DRESSINGS, ABSORBENT PADS OR SURGICAL ARTICLES; MATERIALS FOR BANDAGES, DRESSINGS, ABSORBENT PADS OR SURGICAL ARTICLES
    • A61L9/00Disinfection, sterilisation or deodorisation of air
    • A61L9/015Disinfection, sterilisation or deodorisation of air using gaseous or vaporous substances, e.g. ozone
    • A61L9/04Disinfection, sterilisation or deodorisation of air using gaseous or vaporous substances, e.g. ozone using substances evaporated in the air without heating
    • A61L9/12Apparatus, e.g. holders, therefor
    • A61L9/122Apparatus, e.g. holders, therefor comprising a fan
    • AHUMAN NECESSITIES
    • A61MEDICAL OR VETERINARY SCIENCE; HYGIENE
    • A61LMETHODS OR APPARATUS FOR STERILISING MATERIALS OR OBJECTS IN GENERAL; DISINFECTION, STERILISATION OR DEODORISATION OF AIR; CHEMICAL ASPECTS OF BANDAGES, DRESSINGS, ABSORBENT PADS OR SURGICAL ARTICLES; MATERIALS FOR BANDAGES, DRESSINGS, ABSORBENT PADS OR SURGICAL ARTICLES
    • A61L9/00Disinfection, sterilisation or deodorisation of air
    • A61L9/015Disinfection, sterilisation or deodorisation of air using gaseous or vaporous substances, e.g. ozone
    • A61L9/04Disinfection, sterilisation or deodorisation of air using gaseous or vaporous substances, e.g. ozone using substances evaporated in the air without heating
    • A61L9/12Apparatus, e.g. holders, therefor
    • A61L9/127Apparatus, e.g. holders, therefor comprising a wick

Landscapes

  • Health & Medical Sciences (AREA)
  • Animal Behavior & Ethology (AREA)
  • Epidemiology (AREA)
  • Life Sciences & Earth Sciences (AREA)
  • General Health & Medical Sciences (AREA)
  • Public Health (AREA)
  • Veterinary Medicine (AREA)
  • Plasma & Fusion (AREA)
  • Engineering & Computer Science (AREA)
  • Physics & Mathematics (AREA)
  • Apparatus For Disinfection Or Sterilisation (AREA)
  • Disinfection, Sterilisation Or Deodorisation Of Air (AREA)
  • Agricultural Chemicals And Associated Chemicals (AREA)

Abstract

【課題】図書館や図書レンタル店、幼稚園などで不特定多数の人々が利用する書物をより便利かつ効果的に消毒処理することが可能なデスクトップ型書物消毒器を提供する。
【解決手段】消毒チャンバ24を備える開閉型本体26、前記開閉型本体にある書物支持台42と、一対の書物固定具44からなり、書物が垂直に立てられ表紙を開かれた状態で固定する書物固定手段28、送風器45に空気供給ライン46によって連結され、書物の背表紙に綴られた本紙の根部側に向かって空気を噴射する空気噴射機31、書物の本紙に同一極性の静電気を帯電させる静電気帯電板を含む静電気発生装置32、アロマ香りを燻蒸させて前記空気噴射機を介して前記消毒チャンバの内部に流入させるアロマ発生装置33、送風器、静電気発生装置およびアロマ発生装置の作動を制御し、本体の操作パネル52に連結された制御コンピュータ34とを含んでなる、デスクトップ型書物消毒器。
【選択図】図1

Description

本発明は、デスクトップ型書物消毒器に係り、さらに詳しくは、図書館や図書レンタル店、幼稚園などで不特定多数の人々が利用する書物を管理者またはユーザーがより便利かつ効果的に消毒処理することが可能なデスクトップ型書物消毒器に関する。
一般に、図書館や図書レンタル店、幼稚園などで不特定多数の人々が利用(貸付/閲覧)する各種書物は、ユーザーの唾または飲食物などによって汚染し、各種細菌とカビが繁殖し易いため、書物との接触を媒介とする各種疾病の伝染に脆弱であるという問題点があった。
特に、書物は、汚染し易い本紙が重なり合っており、本紙が表紙で包まれたものであって、通常の紫外線殺菌消毒器を用いて殺菌消毒処理しても紫外線が書物の内部には照射されないようになっているから、十分な殺菌効果を得ることができないという問題点があった。
従来の消毒器としては、特許文献1、特許文献2などの消毒器が知られている。
特許文献1に開示されている「履物用殺菌消毒器」は、補助紫外線ランプを履物の内部に挿入して消毒するものであって、多量の本紙を持つ書物を殺菌消毒するには適用することができない。
特許文献2に開示されている「書物の乾燥装置」は、送風装置を用いて書物の本紙を乾燥させると同時に、殺菌灯で殺菌効果を提供するものであるが、背表紙(book-spine)に平行な方向に温風を通過させるようになっているものであって、温風が書物の本紙の間を通過して本紙間の空気圧が外部の空気圧より低くなるベルヌーイの法則によって、むしろ書物の本紙を互いに付着させるので、書物の本紙に紫外線が照射できないという欠点があった。
また、単に背表紙の部分で書物を直方体の内部空間に立て掛けるだけでは、書物の本紙が開かない場合が頻繁に発生して、例えば詩集のように薄くて小さい書物や、ソフトカバー付き小説本(図書館に所蔵されている大部分の書物の形態)、本紙のページ数が少なくて厚い子供用絵本などには適用し難いという問題点などがあった。
本発明者らは、かかる従来の諸般問題点を解決するために鋭意検討した結果、書物の表紙と本紙を開いた状態で紫外線殺菌消毒を行うことさえできれば、汚染した書物との接触を媒介とする各種疾病の伝染を予防するのに十分な消毒効果を得ることができ、ひいては汚染した書物の殺菌消毒を書物の管理者だけでなくユーザーも容易に行うことさえできれば、ユーザーがより積極的かつ自発的に書物消毒器を使用するように誘導することができるので、汚染した書物との接触を媒介とする各種疾病の伝染からユーザーを安全に保護するとともに、書物を汚染物質で毀損されないように管理することができて書物の寿命周期を延長させることにより、利用頻度数が高い書物の再購入費用も節減させることができることを見出し、本発明を完成するに至った。
韓国特許第0416317号明細書 特開2001−336877号公報
そこで、本発明の目的は、書物を部分的に消毒してきた従来の技術の問題点を解決するために、空気噴射機と静電気発生装置を用いて、数十〜数百枚の本紙からなる書物の表紙と本紙が均一に開かれるようにして、紫外線による殺菌消毒だけでなく、アロマによる化学的殺菌消毒を効果的に行うことができるようにすることにより、汚染した書物との接触を媒介とする各種疾病の伝染を予防するのに十分な消毒効果を得ることが可能なデスクトップ型書物消毒器を提供することにある。
本発明の他の目的は、書物を紫外線で殺菌消毒する際に、温風を同時に噴射することにより、紫外線殺菌効果を極大化させることが可能なデスクトップ型書物消毒器を提供することにある。
本発明の別の目的は、書物を紫外線で殺菌消毒する際に、書物の表紙と本紙を開かれた状態で保持する手段を、消毒チャンバに対して引き込みまたは引き出しされるテーブルに備えることにより、体積が大きいあるいは重さが重い書物も容易に使用することが可能なデスクトップ型書物消毒器を提供することにある。
上記目的を達成するために、本発明は、ドアで開閉される開口部以外の残りが上下壁、後壁および両側壁で塞がれた消毒チャンバを備える開閉型本体と、前記消毒チャンバの内部で消毒すべき書物の表紙を開かれた状態で保持する書物固定手段と、前記消毒チャンバの内部に少なくとも1つが備えられ、前記書物固定手段によって表紙が固定される書物に対して消毒を行う紫外線殺菌ランプと、前記消毒チャンバの内部で前記書物固定手段に対向する位置に少なくとも一つが備えられ、前記書物固定手段によって表紙が固定される書物の背表紙に綴られる本紙の根部側に向かって空気を吹き込んでベルヌーイの法則に影響されずに本紙を開くことができるように送風器に連結された空気噴射機と、書物に静電気を帯電させて書物の本紙が静電気的斥力によって開かれるようにする静電気発生装置と、アロマを燻蒸させて前記空気噴射機を介して前記消毒チャンバの内部に流入させることにより、抗ウイルス効果および抗バクテリア効果によって書物を殺菌消毒するためのアロマ発生装置と、前記赤外線殺菌ランプと前記送風器を制御し、前記本体の操作パネルに連結された制御コンピュータとを含んでなる、デスクトップ型書物消毒器を提供する。
また、本発明に係る前記書物固定手段と前記空気噴射機は、前記消毒チャンバ内の下壁に備えられていることを特徴とする。
また、本発明に係る前記書物固定手段と前記空気噴射機は、前記本体の開口部を介して前記消毒チャンバの内部に収納されるか或いは前記本体の外部に引き出される移動テーブルに備えられていることを特徴とする。
また、本発明に係る前記書物固定手段は、消毒すべき書物の開かれた表紙を立て掛け保持する書物支持台と書物固定具からなっていることを特徴とする。
また、本発明に係る前記送風器に電熱器がさらに備えられ、前記空気噴射機を介して、消毒すべき書物に向かって温風を噴射するようになっていることを特徴とする。
また、本発明に係る前記本体のドアには透視窓が備えられていることを特徴とする。
また、本発明に係る前記本体の前面には、前記制御コンピュータに連結された作動状態ディスプレイがさらに備えられていることを特徴とする。
また、本発明に係る前記書物支持台には、消毒すべき書物の本紙を開かれた状態で保持することができるように、複数の突起が下方から一定の間隔で突出している少なくとも1つの半円形押さえリブと、前記書物支持台に上下移動可能に挿入される端部とを含む書物上部固定台がさらに備えられていることを特徴とする。
本発明は、不特定多数の人々が利用(貸付/閲覧)する書物を消毒する際に、書物にアロマ空気を噴射すると同時に、書物の本紙を静電気的斥力によって開かれるようにしながら、紫外線および抗菌アロマ香りが書物の表紙だけでなく書物の綴られた本紙の根部側にも直接噴射されるようにすることにより、書物の表紙だけでなく、書物の内部までも完璧に満遍なく消毒処理することができるものであって、ユーザーの利用する書物に存在する各種細菌とカビからユーザー本人および家族の健康を保護するために、ユーザーが積極的かつ自発的に書物消毒器を使用するように誘導することができるので、汚染した書物との接触を媒介とする各種疾病の伝染からユーザーを安全に保護することができるという利点がある。
また、本発明は、書物を汚染物質で毀損されないように管理することができるため、書物の寿命周期を延長させることにより、利用頻度数が高い書物の再購入費用も節減させることができるという利点がある。
本発明に係るデスクトップ型書物消毒器の一実施例を示す斜視図である。 本発明に係るデスクトップ型書物消毒器の構成を例示する系統図である。 図1に示した書物消毒器の使用状態を例示する斜視図である。 図1に示した書物消毒器の使用状態を例示する平面図である。 本発明に係るデスクトップ型書物消毒器の他の実施例を示す斜視図である。 図5に示した書物消毒器の使用状態を例示する斜視図である。 本発明に係るデスクトップ型書物消毒器の別の実施例を示す斜視図である。 図1に示したアロマ発生装置の例示図である。 本発明の使用状態を示す写真である。
以下に添付図面を参照しながら、本発明について詳細に説明する。
図1は本発明に係るデスクトップ型書物消毒器の一実施例を示す斜視図、図2は本発明に係るデスクトップ型書物消毒器の構成を例示する系統図、図3は図1に示した書物消毒器の使用状態を例示する斜視図、図4は図1に示した書物消毒器の使用状態を例示する平面図、図5は本発明に係るデスクトップ型書物消毒器の他の実施例を示す斜視図、図6は図5に示した書物消毒器の使用状態を例示する斜視図、図7は本発明に係るデスクトップ型書物消毒器の別の実施例を示す斜視図、図8は図1に示したアロマ発生装置の例示図、図9は本発明の使用状態を示す写真である。
本発明は、図1および図3に示すように、ドア10で開閉される開口部12以外の残りが上下壁14、16、後壁18および両側壁20、22で塞がれた消毒チャンバ24を備える開閉型本体26と、前記消毒チャンバ24の内部で消毒すべき書物Aの表紙aを開かれた状態で保持する書物固定手段28と、前記消毒チャンバ24の内部に少なくとも1つが備えられ、前記書物固定手段28によって表紙aが固定される書物Aに対して消毒を行う紫外線殺菌ランプ30と、前記消毒チャンバ24の内部に少なくとも1つが備えられており、前記書物固定手段28に対向する位置に備えられて前記書物固定手段28によって表紙aが固定される書物Aの背表紙cに綴られた本紙bの根部側に向かって空気を吹き込むことにより、書物Aの本紙bを開いて前記紫外線殺菌ランプ30からの紫外線が書物Aに全体的に直接照射されるようにする空気噴射機31と、前記書物固定手段28に備えられ、前記書物固定手段28に固定される書物Aに静電気を帯電させて書物Aが極性を帯びて静電気的斥力によって書物Aの本紙bを開かれるようにする静電気発生装置32と、前記空気噴射機31に空気を供給する空気供給ラインに少なくとも1つが備えられており、アロマ香りを燻蒸させて空気噴射機31を介してアロマ香りを消毒チャンバ24の内部に流入させることにより、抗ウイルス効果および抗バクテリア効果による化学的殺菌を行うアロマ発生装置33と、前記紫外線殺菌ランプ30、空気噴射機31、静電気発生装置32およびアロマ発生装置33の作動を制御する制御コンピュータ34とを含んでなる。
前記ドア10は、図1に示すように、縁部36以外の残りが透明ガラス板またはアクリル板からなる透視窓38で出来ているものであって、ユーザーが前記ドア10を開かなくても、消毒チャンバ24の内部に収納された書物Aの消毒状態を容易に確認しながら便利に利用することができるようになっている。
前記紫外線殺菌ランプ30は、図1に示すように、例えば消毒チャンバ24を構成する上壁14、後壁18および両側壁20、22側に配置され、前記書物固定手段28によって表紙aが開かれた状態で固定され、前記空気噴射機31によって本紙bの開かれる書物Aを全体的に消毒処理するものであって、紫外線の直接照射範囲をよりさらに広めるために、図1に二点鎖線で表示したように、前記消毒チャンバ24の下壁16、または前記ドア10の透視窓38側に紫外線遮断板40と共に配置することもできる。
前記書物固定手段28は、図1および図3に示すように、前記開閉型本体26にある下壁16の後方側に垂直方向に立てられた書物支持台42と、前記下壁16に下部側がピボットされていて上部側が前記書物支持台42側に立てられるか、或いは前記下壁16側に横になるようになっている一対の書物固定具44からなっているため、消毒すべき書物Aを垂直に立てられた状態で前記書物Aの表紙aを180°の角度で開かれた状態で固定することができるようになっている。
前記書物支持台42は、図1に示すように、消毒チャンバ24の後壁18に配置された紫外線殺菌ランプ30から放射される紫外線が前記書物支持台42によって遮断されないように、例えば空間を有する格子状にすることが好ましい。
前記空気噴射機31は、空気を電動式で吸入して供給する送風器45に空気供給ライン46によって連結されている。前記空気噴射機31を介して、図3、図4および図9に示されているように、書物Aの背表紙cに綴られた本紙bの根部方向に空気を噴射して従来の技術におけるベルヌーイの効果を遮断させながら、均一に本紙bを開放させる。
前記送風器45には電熱器48が備えられ、前記空気噴射機31を介して前記紫外線殺菌ランプ30の紫外線殺菌効果を増進させると同時に、カビまたは細菌が繁殖し易い環境を提供する湿気を書物Aから効果的に除去することが可能な温風を噴射させることができるようにすることが好ましい。
前記紫外線殺菌ランプ30および送風器45は、前記制御コンピュータ34に連結されており、前記ドア10を開閉することにより作動するように、前記ドア10に対応する前記本体26の開口部12の周囲に配置されているドア開閉感知スイッチ50とも連結されているため、前記ドア10が閉じられている状態では紫外線殺菌ランプ30と送風器45を作動させ、前記消毒チャンバ24に収納された書物Aを消毒および乾燥させ、ユーザーが消毒チャンバ24に対して書物Aの引き込みまたは引き出しを行うために前記ドア10を開くと、紫外線殺菌ランプ30および送風器45の作動が中止されてユーザーの安全を図るとともに、前記紫外線殺菌ランプ30と送風器45を効率よく稼動させることができるようになっている。
また、前記本体26の前面には、前記制御コンピュータ34に連結される操作パネル52と作動状態ディスプレイ54が備えられており、ユーザーが本発明に係る書物消毒器の作動状態を制御するとともに、その作動状態を容易に確認し得るようになっている。
前記静電気発生装置32に連結された静電気帯電板55は、図1および図2〜図4に示すように、前記書物支持台42の中央に垂直方向に備えられ、前記書物支持台42と前記書物固定具44によって表紙aが立てられた状態で固定される書物Aの背表紙cを介して本紙bが同一の極性(−)を呈するようにして、静電気的斥力によって前記空気噴射機31から噴射される空気とともに、図4および図9に示されているように書物Aの本紙bをより円滑に開かれるようにする。
したがって、前記紫外線殺菌ランプ30から照射される紫外線と、前記アロマ発生装置33から前記空気噴射機31を介して前記消毒チャンバ24内に流入する燻蒸アロマを、書物Aの本紙bが綴られた根部dにまで深く浸透するようにして、書物の殺菌効果を極大化させる。
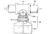
前記アロマ発生装置33は、図1に示すように、前記送風器45と空気噴射機31とを連結する前記空気供給ライン46上に備えられている。
前記アロマ発生装置33は、例えば図8に示すように、前記空気供給ライン46上にあるT字ジョイント47に結合する電気加熱式燻蒸器33aと、前記電気加熱式燻蒸器33aに結合する芯33b付きリフィル容器33cとから構成されている。
図5および図6には本発明に係る書物消毒器の他の実施例が示されている。
図5および図6に示した書物消毒器は、前記書物固定手段28と前記空気噴射機31が、本体26の開口部12を介して消毒チャンバ24の内部に収納されるかあるいは本体26の外部に引き出される移動テーブル56に備えられているため、体積が大きい或いは重さが重い書物も容易に使用し得るようになっており、空気噴射機31が送風器45に空気供給ホース58によって連結されている以外は、図1〜図3に示した実施例と同一の構造で出来ている。
図7には本発明に係る書物消毒器の別の実施例が示されている。図7に示した書物消毒器は、前記書物固定手段28の書物支持台42に、消毒すべき書物Aの本紙bを開かれた状態でセットさせる書物上部固定台60をさらに備えてなる。
前記書物上部固定台60は、複数の突起62が下方から一定の間隔で突出している少なくとも一つの半円形押さえリブ64と、この半円形押さえリブ64の両側から延長された端部66、68とから構成されている。前記端部66、68は、前記書物支持台42の両側にあるスロット70、72に挿入されており、高さの異なる書物に対して互換性を発揮し得るようになっている。
前記半円形押さえリブ64は、横サイズの異なる書物に対して互換性を発揮し得るように、図7に実線と二点鎖線で表示したように、大きいまたは小さい半円形押さえリブ64、64’にしてもよい。
また、本発明において、空気噴射機31は、例示図面に表現が省略された通常の駆動手段によって回転するようにあるいは左右に往復運動するようにしてもよく、図7に示すように複数にしてもよい。
このように構成された本発明は、図書館や図書レンタル店、幼稚園などで管理者およびユーザーの両者ともが使用し易いように書物の貸付/閲覧がなされるテーブル上に備えられるもので、ユーザーが自分の利用すべき書物の利用前後にも書物を開いて書物を全体的に殺菌消毒することに適用される。
10 ドア
12 開口部
26 本体
28 書物固定手段
30 紫外線殺菌ランプ
31 空気噴射機
32 静電気発生装置
33 アロマ発生装置
34 制御コンピュータ
42 書物支持台
45 送風器
58 空気供給ホース
60 書物上部固定台

Claims (5)

  1. 書物に空気を噴射して書物の本紙を開きながら殺菌ランプによって消毒処理する書物消毒器において、
    ドアで開閉される開口部以外の残りが上下壁、後壁および両側壁で塞がれた消毒チャンバを備える開閉型本体と、
    前記開閉型本体にある下壁の後方側に垂直方向に立てられた書物支持台、前記下壁に一方側がピボットされて前記書物支持台側に立てられるか、或いは前記下壁側に横になるようになっている一対の書物固定具からなり、消毒すべき書物が垂直に立てられた状態で書物の表紙を開かれた状態で固定する書物固定手段と、
    送風器に空気供給ラインによって連結されており、前記消毒チャンバの内部で前記書物固定手段の書物支持台に対向する位置に備えられ、前記書物支持台の前方に固定される書物の背表紙に綴られた本紙の根部側に向かって空気を噴射する空気噴射機と、
    前記書物支持台の中央に垂直方向に備えられ、前記書物固定手段によって固定される消毒すべき書物の本紙に同一極性の静電気を帯電させる静電気帯電板を含む静電気発生装置と、
    前記供給ラインに備えられており、アロマ香りを燻蒸させて前記空気噴射機を介して前記消毒チャンバの内部に流入させるアロマ発生装置と、
    前記送風器、前記静電気発生装置および前記アロマ発生装置の作動を制御し、前記本体の操作パネルに連結された制御コンピュータとを含んでなることを特徴とする、デスクトップ型書物消毒器。
  2. 前記書物固定手段と前記空気噴射機が、前記本体の開口部を介して前記消毒チャンバの内部に収納されるか或いは前記本体の外部に引き出される移動テーブルに備えられていることを特徴とする、請求項1に記載のデスクトップ型書物消毒器。
  3. 前記本体のドアには透視窓が備えられていることを特徴とする、請求項1に記載のデスクトップ型書物消毒器。
  4. 前記本体の前面には、前記制御コンピュータに連結された作動状態ディスプレイがさらに備えられていることを特徴とする、請求項1に記載のデスクトップ型書物消毒器。
  5. 前記書物支持台には、消毒すべき書物の本紙を開かれた状態で保持することができるように、複数の突起が下方から一定の間隔で突出している少なくとも1つの半円形押さえリブと、前記書物支持台に上下移動可能に挿入される端部とを含む書物上部固定台がさらに備えられていることを特徴とする、請求項1に記載のデスクトップ型書物消毒器。
JP2009123923A 2008-06-20 2009-05-22 デスクトップ型書物消毒器 Expired - Fee Related JP4669554B2 (ja)

Applications Claiming Priority (1)

Application Number Priority Date Filing Date Title
KR20080058097 2008-06-20

Publications (2)

Publication Number Publication Date
JP2010000344A true JP2010000344A (ja) 2010-01-07
JP4669554B2 JP4669554B2 (ja) 2011-04-13

Family

ID=40680844

Family Applications (1)

Application Number Title Priority Date Filing Date
JP2009123923A Expired - Fee Related JP4669554B2 (ja) 2008-06-20 2009-05-22 デスクトップ型書物消毒器

Country Status (10)

Country Link
US (1) US8101135B2 (ja)
JP (1) JP4669554B2 (ja)
KR (1) KR100880583B1 (ja)
CN (1) CN101607094B (ja)
AU (1) AU2009202337A1 (ja)
BR (1) BRPI0901920A2 (ja)
DE (1) DE102009025088A1 (ja)
FR (1) FR2932683A1 (ja)
GB (1) GB2460957B (ja)
SG (1) SG158020A1 (ja)

Cited By (6)

* Cited by examiner, † Cited by third party
Publication number Priority date Publication date Assignee Title
CN105378895A (zh) * 2013-07-04 2016-03-02 东丽株式会社 杂质扩散组合物及半导体元件的制造方法
JP2017077255A (ja) * 2015-10-19 2017-04-27 株式会社デンネツ 書物殺菌装置
CN107067590A (zh) * 2017-05-18 2017-08-18 福州外语外贸学院 图书馆自助借还书装置
CN107087906A (zh) * 2017-04-20 2017-08-25 浙江工贸职业技术学院 一种带图书防尘杀菌功能的书架
CN108096598A (zh) * 2018-01-24 2018-06-01 王海燕 一种医用可循环熏蒸消毒装置
KR20220166588A (ko) * 2021-06-10 2022-12-19 김점성 자외선 살균 유닛이 설치된 책상

Families Citing this family (32)

* Cited by examiner, † Cited by third party
Publication number Priority date Publication date Assignee Title
KR100880583B1 (ko) * 2008-06-20 2009-02-02 주식회사 이씨오 데스크탑형 도서소독기
US20100266445A1 (en) * 2009-04-21 2010-10-21 Kenneth L. Campagna Portable antimicrobial ultra violet sterilizer
KR101083658B1 (ko) * 2009-09-17 2011-11-16 주식회사 아이브이에스 알에프아이디 태그가 부착된 자료를 위한 소독기능을 가진 자가대출 시스템
KR100963175B1 (ko) * 2009-09-25 2010-06-15 주식회사 아이브이에스 걸이 형 도서소독기
KR100945407B1 (ko) 2009-10-27 2010-03-04 주식회사 아이브이에스 도서 소독기
KR101159066B1 (ko) * 2009-11-06 2012-06-25 주식회사 아이브이에스 자료 특성정보를 이용한 도서소독 방법 및 시스템
KR101008513B1 (ko) 2009-11-12 2011-01-14 주식회사 아이브이에스 공기 흡인식 도서 고정장치를 구비한 도서 소독기
KR100946764B1 (ko) 2009-12-11 2010-03-11 이종윤 도서 소독기
KR101006356B1 (ko) * 2009-12-15 2011-01-06 (주)북짱 책 살균 포장 시스템 및 책 살균 포장 방법
KR101119077B1 (ko) * 2010-03-24 2012-03-16 에코미스트 주식회사 책 소독장치
KR100984021B1 (ko) * 2010-04-29 2010-09-28 (주)에코미스트 책 소독장치
KR101021558B1 (ko) * 2010-05-28 2011-03-16 주식회사 아름다운학교엔 서적 소독장치
KR100998278B1 (ko) * 2010-05-31 2010-12-06 이종윤 도서 소독기
KR101211029B1 (ko) 2010-07-08 2012-12-11 에코미스트 주식회사 책 소독장치
KR101235178B1 (ko) * 2010-09-16 2013-02-20 에코미스트 주식회사 책 소독 방법 및 장치
KR101184073B1 (ko) 2010-11-17 2012-09-18 (주)쉬운기술 책 소독장치
KR101023247B1 (ko) * 2010-12-03 2011-03-21 문주아 도서 소독장치
CN102068709B (zh) * 2010-12-30 2012-12-26 徐祖娟 一种书籍消毒器
KR101275536B1 (ko) * 2011-05-31 2013-06-20 김종석 책 소독장치
KR101086832B1 (ko) * 2011-09-15 2011-11-24 김민 지폐 전용 소독기
DE102011114189B3 (de) * 2011-09-22 2013-02-21 Elena Kohlsche Buchreinigungs-Gerät
KR101244848B1 (ko) * 2012-05-18 2013-03-19 주식회사 북프렌드 도서 소독기
US9511159B2 (en) * 2014-07-02 2016-12-06 At&T Intellectual Property I, L.P. Method and apparatus for sterilizing a surface
CN106113978A (zh) * 2016-08-23 2016-11-16 江西伊贝基科技有限公司 一种书籍档案的养护方法及其装置
CN107185002A (zh) * 2017-07-25 2017-09-22 湖州市吴兴实验中学 一种书籍消毒装置
CN110179259B (zh) * 2019-05-09 2021-05-28 胡艳 一种档案管理存放装置
US11007292B1 (en) 2020-05-01 2021-05-18 Uv Innovators, Llc Automatic power compensation in ultraviolet (UV) light emission device, and related methods of use, particularly suited for decontamination
KR102342545B1 (ko) * 2020-10-28 2021-12-23 주식회사 에버트리 책 소독장치
GB202018488D0 (en) * 2020-11-24 2021-01-06 Chamberlains Aqua Systems Ltd A liquid dispenser
BR102021001860A2 (pt) * 2021-02-01 2022-08-16 Powerpic Representações Ltda Disposição construtiva de conservadeira para conservação e desinfecção de alimentos, objetos e seu uso
RU207926U1 (ru) * 2021-07-28 2021-11-24 Общество с ограниченной ответственностью "Ваш Архив" (ООО "Ваш Архив") Устройство для обеззараживания
CN114344507B (zh) * 2021-12-31 2023-04-07 重庆电子工程职业学院 一种便于固定图书的图书杀菌装置

Citations (3)

* Cited by examiner, † Cited by third party
Publication number Priority date Publication date Assignee Title
JP2001187121A (ja) * 1999-12-28 2001-07-10 Nonaka Ikkyu Hanbaishi Jimusho:Kk 書籍殺菌方法及び殺菌装置
JP2001336877A (ja) * 2000-05-26 2001-12-07 Fujiken:Kk 書物の乾燥装置
JP2005185302A (ja) * 2003-12-24 2005-07-14 House Tec:Kk 殺菌装置

Family Cites Families (11)

* Cited by examiner, † Cited by third party
Publication number Priority date Publication date Assignee Title
FR2666355A1 (fr) * 1990-09-05 1992-03-06 Arnoult Alain Procede de desinfection de documents graphiques et dispositif pour sa mise en óoeuvre.
KR100416317B1 (ko) 2000-12-14 2004-02-05 박갑열 신발용 자외선 소독기
JP4476514B2 (ja) * 2001-04-25 2010-06-09 東芝キヤリア株式会社 空気調和機
CN2528444Y (zh) * 2002-02-09 2003-01-01 邓鸿模 静电复合式钞票灭菌机
CN200951203Y (zh) * 2006-08-18 2007-09-26 沈阳市档案局 档案图书消毒装置
CN101209633A (zh) * 2006-12-31 2008-07-02 天津轻工职业技术学院 紫外杀菌书
CN201052280Y (zh) * 2007-04-06 2008-04-30 王永灵 多功能消毒机
CN101036798A (zh) * 2007-04-26 2007-09-19 王永灵 消毒系统
KR20090039568A (ko) * 2007-10-18 2009-04-22 강성건 책 먼지 제거 및 살균 장치
CN201076619Y (zh) * 2007-10-19 2008-06-25 彭艳 病历本消毒柜
KR100880583B1 (ko) * 2008-06-20 2009-02-02 주식회사 이씨오 데스크탑형 도서소독기

Patent Citations (3)

* Cited by examiner, † Cited by third party
Publication number Priority date Publication date Assignee Title
JP2001187121A (ja) * 1999-12-28 2001-07-10 Nonaka Ikkyu Hanbaishi Jimusho:Kk 書籍殺菌方法及び殺菌装置
JP2001336877A (ja) * 2000-05-26 2001-12-07 Fujiken:Kk 書物の乾燥装置
JP2005185302A (ja) * 2003-12-24 2005-07-14 House Tec:Kk 殺菌装置

Cited By (9)

* Cited by examiner, † Cited by third party
Publication number Priority date Publication date Assignee Title
CN105378895A (zh) * 2013-07-04 2016-03-02 东丽株式会社 杂质扩散组合物及半导体元件的制造方法
JP2017077255A (ja) * 2015-10-19 2017-04-27 株式会社デンネツ 書物殺菌装置
CN107087906A (zh) * 2017-04-20 2017-08-25 浙江工贸职业技术学院 一种带图书防尘杀菌功能的书架
CN107087906B (zh) * 2017-04-20 2019-02-12 浙江工贸职业技术学院 一种带图书防尘杀菌功能的书架
CN107067590A (zh) * 2017-05-18 2017-08-18 福州外语外贸学院 图书馆自助借还书装置
CN107067590B (zh) * 2017-05-18 2019-03-15 福州外语外贸学院 图书馆自助借还书装置
CN108096598A (zh) * 2018-01-24 2018-06-01 王海燕 一种医用可循环熏蒸消毒装置
KR20220166588A (ko) * 2021-06-10 2022-12-19 김점성 자외선 살균 유닛이 설치된 책상
KR102579438B1 (ko) * 2021-06-10 2023-09-14 김점성 자외선 살균 유닛이 설치된 책상

Also Published As

Publication number Publication date
FR2932683A1 (fr) 2009-12-25
GB2460957B (en) 2010-07-21
GB2460957A (en) 2009-12-23
DE102009025088A1 (de) 2010-02-25
KR100880583B1 (ko) 2009-02-02
US20090317309A1 (en) 2009-12-24
BRPI0901920A2 (pt) 2010-04-13
SG158020A1 (en) 2010-01-29
JP4669554B2 (ja) 2011-04-13
AU2009202337A1 (en) 2010-01-14
CN101607094A (zh) 2009-12-23
GB0910562D0 (en) 2009-07-29
CN101607094B (zh) 2012-12-12
US8101135B2 (en) 2012-01-24

Similar Documents

Publication Publication Date Title
JP4669554B2 (ja) デスクトップ型書物消毒器
KR100963175B1 (ko) 걸이 형 도서소독기
JP4870828B2 (ja) 図書消毒器
KR101160247B1 (ko) 살균소독고
CN204563022U (zh) 容纳计数器型纸币消毒机
KR101853624B1 (ko) 침대 살균 시스템
KR20200079358A (ko) 쇼핑카트 uvc 살균 소독장치
KR101023247B1 (ko) 도서 소독장치
JP6074487B1 (ja) 陰イオン発散部を用いた計数器収納型紙幣消毒機
US9744254B2 (en) Case for sanitizing and transporting tattoo machines
KR100970468B1 (ko) 도서 소독기
KR100984021B1 (ko) 책 소독장치
KR101390705B1 (ko) 다기능 책 소독기
KR20180067100A (ko) 휴대 이동식 살균 및 탈취장치
KR200436595Y1 (ko) 나이프 살균기
US6972416B2 (en) Disinfecting and desiccating container for personal sanitary articles
KR101211029B1 (ko) 책 소독장치
KR101021558B1 (ko) 서적 소독장치
KR101358297B1 (ko) 다기능 기록물 살균 수납기
JP3693526B2 (ja) 歯ブラシの殺菌装置
KR20150101545A (ko) 수납식 도서 소독기
KR101332790B1 (ko) 도서 소독기
KR20160062606A (ko) 학습교구 및 완구류 제품의 살균 건조 장치
CN218685347U (zh) 一种书籍消毒柜
CN210384471U (zh) 一种灭菌机

Legal Events

Date Code Title Description
A977 Report on retrieval

Free format text: JAPANESE INTERMEDIATE CODE: A971007

Effective date: 20101209

TRDD Decision of grant or rejection written
A01 Written decision to grant a patent or to grant a registration (utility model)

Free format text: JAPANESE INTERMEDIATE CODE: A01

Effective date: 20101216

A01 Written decision to grant a patent or to grant a registration (utility model)

Free format text: JAPANESE INTERMEDIATE CODE: A01

A61 First payment of annual fees (during grant procedure)

Free format text: JAPANESE INTERMEDIATE CODE: A61

Effective date: 20110114

FPAY Renewal fee payment (event date is renewal date of database)

Free format text: PAYMENT UNTIL: 20140121

Year of fee payment: 3

R150 Certificate of patent or registration of utility model

Free format text: JAPANESE INTERMEDIATE CODE: R150

R250 Receipt of annual fees

Free format text: JAPANESE INTERMEDIATE CODE: R250

R250 Receipt of annual fees

Free format text: JAPANESE INTERMEDIATE CODE: R250

R250 Receipt of annual fees

Free format text: JAPANESE INTERMEDIATE CODE: R250

R250 Receipt of annual fees

Free format text: JAPANESE INTERMEDIATE CODE: R250

LAPS Cancellation because of no payment of annual fees