JP2009190071A - 溶湯面の不純物除去具 - Google Patents

溶湯面の不純物除去具 Download PDF

Info

Publication number
JP2009190071A
JP2009190071A JP2008034711A JP2008034711A JP2009190071A JP 2009190071 A JP2009190071 A JP 2009190071A JP 2008034711 A JP2008034711 A JP 2008034711A JP 2008034711 A JP2008034711 A JP 2008034711A JP 2009190071 A JP2009190071 A JP 2009190071A
Authority
JP
Japan
Prior art keywords
gas
molten metal
handle
impurity
scooping
Prior art date
Legal status (The legal status is an assumption and is not a legal conclusion. Google has not performed a legal analysis and makes no representation as to the accuracy of the status listed.)
Pending
Application number
JP2008034711A
Other languages
English (en)
Inventor
Ikuo Kamihira
郁雄 上平
Norihiro Koda
紀泰 甲田
Taku Kono
卓 河野
Mamoru Miyagawa
守 宮川
Current Assignee (The listed assignees may be inaccurate. Google has not performed a legal analysis and makes no representation or warranty as to the accuracy of the list.)
Nissei Plastic Industrial Co Ltd
Original Assignee
Nissei Plastic Industrial Co Ltd
Priority date (The priority date is an assumption and is not a legal conclusion. Google has not performed a legal analysis and makes no representation as to the accuracy of the date listed.)
Filing date
Publication date
Application filed by Nissei Plastic Industrial Co Ltd filed Critical Nissei Plastic Industrial Co Ltd
Priority to JP2008034711A priority Critical patent/JP2009190071A/ja
Publication of JP2009190071A publication Critical patent/JP2009190071A/ja
Pending legal-status Critical Current

Links

Images

Landscapes

  • Casting Support Devices, Ladles, And Melt Control Thereby (AREA)

Abstract

【課題】除去具の柄部から掬い部に酸化防止ガス又は防燃ガスを噴出できるようにして、溶湯面から掬い取った不純物をガス雰囲気で保護し、除去作業中での不純物の酸化燃焼を防止する。
【解決手段】不純物の掬い部と、掬い部に取付けた柄部とからなる。柄部を開閉バルブを設けた管体により中空に形成する。柄部後端にガスホースの接続具を設ける。柄部内をガス通路として先端開口から掬い部に酸化防止ガス又は防燃ガスを噴出できるようにする。
【選択図】図1

Description

この発明は、溶解炉や加熱保持容器の溶湯面に生じている酸化物や窒化物等の不純物を掬い取って除去する道具に関するものである。
金属材料を溶解炉で溶湯に溶解してそのまま保持する場合と、溶湯を溶解炉から加熱保持容器に移して保持する場合とがある。その何れにおいても一般にドロスと称されている酸化物や窒化物等による不純物が溶湯面に浮遊し、それが時間の経過にともない量を増して一部が溶湯に沈降し、溶湯に取り込まれて不純物となり、製品に影響を与えることから、不純物を成形稼働中に周知の形態の柄杓や杓子などにより掬い出している。
金属材料がマグネシウム基合金の場合、溶湯が空気に触れると空気中の酸素と反応し易いので、溶解や加熱保持は施蓋した炉内や容器内に酸化防止ガスや防燃ガスを供給してガス雰囲気中で行っている。除去作業のために蓋を開けると炉内や容器内のガスが流出し、外から空気が流入してガスの供給を続けていてもガス雰囲気が希薄となって溶湯が酸化し易くなり、また除去作業が長引くと生産効率の低下ともなるので、除去作業は短時間で済ませるようにしている。
しかし、柄杓や杓子などで不純物だけを溶湯面上から掬い出すことは極めて難しく、少量ではあるが溶湯も不純物と一緒に掬い取られており、この溶湯が掬い出し後に空気と接触して酸化し、時には不純物と共に燃焼することがある。また除去作業中に炉外などで燃焼が起きると危険であり、作業を安全に行えないので除去作業は中断し、消火により安全性が確認されてから再開することになるので、燃焼が起こると作業時間が予定より長引いて生産効率が低下することがある。
この発明は、成形稼働中に不純物を掬い取って除去する際の酸化燃焼を防止するために考えられたものであって、その目的は、簡単な構造で掬い取った不純物をガス雰囲気で保護して空気との接触による酸化燃焼を防止でき、溶湯面からの不純物の除去を安全に行い得る新たな溶湯面の不純物除去具を提供することにある。
上記目的によるこの発明は、不純物の掬い部と、その掬い部に取付けた柄部とからなり、その柄部内をガス通路として先端開口から掬い部に酸化防止ガス又は防燃ガスを噴出できるように、該柄部を開閉バルブを設けた管体により中空に形成し、柄部後端にホース継ぎ口を設けてなる、というものである。
また上記掬い部は浅底でスプーンのボールと同様な形態からなり、その後端縁に上向き斜めに突設した柄受けに上記管体の先端部を挿通止着し、柄部の先端開口を掬い部の底面に向けて位置させてなる、というものである。
上記構成では、掬い部の上に噴出した酸化防止ガスや防燃ガスが、掬い取った不純物を空気から遮断して保護するガス雰囲気を形成するので、不純物が炉外や容器外で燃焼することがなく、溶湯面の不純物の除去作業が安全に短時間で行えるようになる。また除去作業時の開扉により溶湯面上のガス雰囲気が希薄になり易くなることがあっても、不純物の除去中に柄部から噴出するガスが溶湯面上を拡散して保護するので溶湯の酸化も防止でき、消化器としても使用できるので、掬い部から零れて燃焼した不純物や溶湯を鎮火して安全に除去することもできる、という効果を奏する。
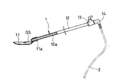
図中1は不純物の除去具で、不純物の掬い部11と、掬い部11の後端部に取付けた管体12aによる中空の柄部12とからなる。掬い部11は浅底で底面が弯曲したスプーンのボールと同様な形態からなり、その後端縁から上方に向けて緩傾斜に突設した柄受け11aに管体12aの先端部を挿通止着して、先端開口を掬い部11の底面に向けて位置させてある。
上記管体12aの後端には開閉バルブ13がバルブ本体13aをねじ着して気密に取付けてあり、そのバルブ本体13aにホース継ぎ口14が気密にねじ着して連結してある。
このような除去具1では、柄部12が管体12aにより中空に形成されていることから、アルゴンなどの不活性ガスによる酸化防止ガスやSF6などの防燃ガスのボンベ(図は省略)に取付けたガスホース2をホース継ぎ口14に嵌着し、ボンベのコックを開いて後端の開閉バルブ13を開弁すると、柄部内をガス通路として上記ガスGSが、柄部12の先端開口から掬い部11の上に噴出して拡散する。これにより掬い部11はガス雰囲気に包まれた状態となって空気と遮断されるようになる。
この除去具1は、ダイキャストの溶解炉や射出装置に設置された材料溶解保持装置内の溶湯面の不純物(以下ドロスという)の除去に使用することができる。図3に例示する材料溶解保持装置3は、射出装置4のシリンダ41の上に設置して下端の流出口を射出プランジャ42の前面の供給口43に接続した溶湯Mの保持容器31(外径320mm程度)と、前後両側が開閉扉32aの蓋部材32と、その蓋部材32に並行に立設した2本(図では1本を示す)の溶解筒33と、酸化防止ガス又は防燃ガスのガス注入管34とからなり、その溶解筒33によりマグネシウム基合金などの棒状材料を溶解し、下端開口から流下した溶湯Mを保持容器31に貯留して、外周囲のヒータ35により溶湯温度を維持する構成からなる。
上記材料溶解保持装置3では、開閉扉32aを上方に開いて除去具1を保持容器31内に挿入することができるので、掬い部11を保持容器内に入れる前にボンベのコックを開き、開閉バルブ13を開弁してボンベ2の上記ガスを柄部12の先端開口から掬い部11に、掬い取ったドロスが吹き飛ばない程度の強さで噴出させてから除去具1の挿入を行う。
溶湯面上のドロスMsの掬い取りは、上記ガスを噴出したまま除去具1を保持容器内に挿入したのち、柄部12を握っている手の手首の回動操作により掬い部11を横向きに傾斜したり、また前に進めたりなどしてドロスMsを掬い上げることにより行え、掬い部11の大きさに見合った分量のドロスMsを掬い取ったのち、除去具1を引き戻して掬い部11を容器外に引き出し、予め準備した容器(図は省略)にドロスMsを落とし入れて収容する。このような除去作業を繰返すことにより溶湯面上のドロスMsの殆どを除去することができる。
上記ガスの掬い部11への噴出は、除去作業の開始時から終了時まで継続して行い、これにより掬い部11の上に噴出して拡散したガスGSの雰囲気が生じて、掬い取ったドロスMsやそこに付着した溶湯がガス雰囲気に保護されて空気と遮断され、空気中の酸素による酸化燃焼が防止される。このため溶湯Mが酸化燃焼し易いマグネシウム基合金であっても、ドロスの除去作業中に酸化して自然発火することはないので、ドロスの除去を安全かつ短時間で済ませることができるようになる。
また注入管34から保持容器31内に供給された上記ガスによる容器上部のガス雰囲気が、開扉により希薄になるようなことがあっても、ドロスの除去中に柄部12から噴出するガスが溶湯面上を拡散して保護するようになるので、開扉によるガス雰囲気の希薄化も防止することができる。さらに掬い部11からドロスと一緒に掬い取られた溶湯が保持容器外で零れて燃焼しても、ドロスを容器に入れた後に燃焼している溶湯に除去具1から上記ガスを吹き付けて鎮火することもできる。
この発明に係わる溶湯面の不純物除去具の平面図である。 同じく一部縦断側面図である。 使用状態説明図である。
符号の説明
1 不純物の除去具
11 掬い部
12 柄部
12a 管体
13 開閉バルブ
14 ホース継ぎ口

Claims (2)

  1. 不純物の掬い部と、その掬い部に取付けた柄部とからなり、その柄部内をガス通路として先端開口から掬い部に酸化防止ガス又は防燃ガスを噴出できるように、該柄部を開閉バルブを設けた管体により中空に形成し、柄部後端にホース継ぎ口を設けてなることを特徴とする溶湯面の不純物除去具。
  2. 上記掬い部は浅底でスプーンのボールと同様な形態からなり、その後端縁に上向き斜めに突設した柄受けに上記管体の先端部を挿通止着し、柄部の先端開口を掬い部の底面に向けて位置させてなることを特徴とする請求項1記載の溶湯面の不純物除去具。
JP2008034711A 2008-02-15 2008-02-15 溶湯面の不純物除去具 Pending JP2009190071A (ja)

Priority Applications (1)

Application Number Priority Date Filing Date Title
JP2008034711A JP2009190071A (ja) 2008-02-15 2008-02-15 溶湯面の不純物除去具

Applications Claiming Priority (1)

Application Number Priority Date Filing Date Title
JP2008034711A JP2009190071A (ja) 2008-02-15 2008-02-15 溶湯面の不純物除去具

Publications (1)

Publication Number Publication Date
JP2009190071A true JP2009190071A (ja) 2009-08-27

Family

ID=41072571

Family Applications (1)

Application Number Title Priority Date Filing Date
JP2008034711A Pending JP2009190071A (ja) 2008-02-15 2008-02-15 溶湯面の不純物除去具

Country Status (1)

Country Link
JP (1) JP2009190071A (ja)

Cited By (2)

* Cited by examiner, † Cited by third party
Publication number Priority date Publication date Assignee Title
KR101541715B1 (ko) 2013-12-23 2015-08-04 주식회사 포스코 슬래그 제거 장치
CN110487085A (zh) * 2019-08-07 2019-11-22 安徽信息工程学院 一种坩埚熔炉捞渣勺

Citations (2)

* Cited by examiner, † Cited by third party
Publication number Priority date Publication date Assignee Title
JPS53127328A (en) * 1977-04-14 1978-11-07 Kawasaki Steel Co Dip up and splash out apparatus for ingot making scum
JPS54142333A (en) * 1978-04-27 1979-11-06 Toyo Boseki Supporting element for suspension collector

Patent Citations (2)

* Cited by examiner, † Cited by third party
Publication number Priority date Publication date Assignee Title
JPS53127328A (en) * 1977-04-14 1978-11-07 Kawasaki Steel Co Dip up and splash out apparatus for ingot making scum
JPS54142333A (en) * 1978-04-27 1979-11-06 Toyo Boseki Supporting element for suspension collector

Cited By (2)

* Cited by examiner, † Cited by third party
Publication number Priority date Publication date Assignee Title
KR101541715B1 (ko) 2013-12-23 2015-08-04 주식회사 포스코 슬래그 제거 장치
CN110487085A (zh) * 2019-08-07 2019-11-22 安徽信息工程学院 一种坩埚熔炉捞渣勺

Similar Documents

Publication Publication Date Title
ES2216760T3 (es) Lanza de varios usos para una camara bajo vacio para desgasificado y procedimiento de utilizacion.
KR20130002325A (ko) 구리 애노드 정련 시스템 및 방법
JP2009190071A (ja) 溶湯面の不純物除去具
US7563407B2 (en) Thermal lance assembly
JP2008272815A (ja) 金属溶湯保持炉の構造
TWI584889B (zh) 燃燒裝置及熔融金屬容器之澆道清洗方法
JP4355581B2 (ja) 溶融金属用カバーガスの供給方法
JP6182373B2 (ja) 消火体験装置
KR101186577B1 (ko) 젯트 랜스 점화 및 용융 장치
JP2005089792A (ja) スクラップまたは溶銑の転炉あるいは予備処理炉への装入方法、装入装置および装入制御方法
CN201680713U (zh) 废杂铜倾动式熔炼炉
NO158607B (no) Verktoeyholder, fortrinnsvis for termiske lanser.
JP6358440B2 (ja) 酸素ガス吹き込み用ランスパイプ
JPH06328232A (ja) 溶融金属注湯構造
KR101804670B1 (ko) 일렉트로 슬래그 재용해로
KR100768301B1 (ko) 레들용 필러 투입장치
KR20190044238A (ko) 산소랜스의 점화장치
JP3160108U (ja) パイプ状消火用具
KR200346394Y1 (ko) 원터치 절단기
FR2467651A1 (fr) Dispositif pour deboucher l'orifice de coulee d'un recipient metallurgique
KR101907318B1 (ko) 고로 출선구 굴착용 산소 파이프 착화 장치
JP4880826B2 (ja) 酸素吹き込みノズル
JP4214084B2 (ja) ポーラスプラグの洗浄方法及び装置
JPH031574B2 (ja)
JPH07276039A (ja) 溶融金属注入ノズルの洗浄ノズル

Legal Events

Date Code Title Description
A621 Written request for application examination

Effective date: 20090727

Free format text: JAPANESE INTERMEDIATE CODE: A621

RD04 Notification of resignation of power of attorney

Effective date: 20100131

Free format text: JAPANESE INTERMEDIATE CODE: A7424

A977 Report on retrieval

Free format text: JAPANESE INTERMEDIATE CODE: A971007

Effective date: 20110418

A131 Notification of reasons for refusal

Effective date: 20110426

Free format text: JAPANESE INTERMEDIATE CODE: A131

A02 Decision of refusal

Effective date: 20111018

Free format text: JAPANESE INTERMEDIATE CODE: A02