JP2007282989A - 物干し具 - Google Patents

物干し具 Download PDF

Info

Publication number
JP2007282989A
JP2007282989A JP2006115737A JP2006115737A JP2007282989A JP 2007282989 A JP2007282989 A JP 2007282989A JP 2006115737 A JP2006115737 A JP 2006115737A JP 2006115737 A JP2006115737 A JP 2006115737A JP 2007282989 A JP2007282989 A JP 2007282989A
Authority
JP
Japan
Prior art keywords
frame
clotheshorse
connecting rods
pair
connecting rod
Prior art date
Legal status (The legal status is an assumption and is not a legal conclusion. Google has not performed a legal analysis and makes no representation as to the accuracy of the status listed.)
Granted
Application number
JP2006115737A
Other languages
English (en)
Other versions
JP4668115B2 (ja
Inventor
Kyohei Kida
恭平 来田
Takanari Ueda
高功 上田
Hideki Asada
秀樹 浅田
Current Assignee (The listed assignees may be inaccurate. Google has not performed a legal analysis and makes no representation or warranty as to the accuracy of the list.)
Sekisui Jushi Corp
Original Assignee
Sekisui Jushi Corp
Priority date (The priority date is an assumption and is not a legal conclusion. Google has not performed a legal analysis and makes no representation as to the accuracy of the date listed.)
Filing date
Publication date
Application filed by Sekisui Jushi Corp filed Critical Sekisui Jushi Corp
Priority to JP2006115737A priority Critical patent/JP4668115B2/ja
Publication of JP2007282989A publication Critical patent/JP2007282989A/ja
Application granted granted Critical
Publication of JP4668115B2 publication Critical patent/JP4668115B2/ja
Expired - Fee Related legal-status Critical Current
Anticipated expiration legal-status Critical

Links

Images

Landscapes

  • Holders For Apparel And Elements Relating To Apparel (AREA)

Abstract

【課題】収納時に折り畳みが容易で、使用時に上部の竿受けに掛けられた竿以外に中段の物干し枠が使いやすい物干し具を提供するものである。
【解決手段】一対の脚枠を互いに接近、離間自在に設け、この脚枠の中央部と下部が連結杆で連結され、各連結杆が物干し具の中央で、リンクバーの上下端の枢着部に回動可能に枢着され、中央部に設けられた一方の連結杆に一対の連結杆に亘る大きさの物干し枠が摺動可能に設けられ、この物干し枠に設けられた係止具が他方の連結杆の上面に当接されることにより連結杆が水平状体を保持することができるようになされているので、物干し具が収納状態と展開状態をとることが容易にできる。又、物干し枠が一対の連結杆に亘って設けられるので、バスタオルなどの大形の洗濯物も干すことができる。
【選択図】 図1

Description

本発明は、主として屋内で洗濯物を干すために用いられる物干し具に関し、特に不使用時の収納性に優れる物干し具に関する。
従来、折り畳み式物干し具として、例えば特開2000−245997号公報には、一対の側脚枠を相互に接近離間移動自在に対向配置すると共に各側脚枠の上下位置にそれぞれ上連結枠及び下連結枠を水平状態に枢着突設し、該各上連結枠の対向端部及び各下連結枠の対向端部間にそれぞれ上リンク及び下リンクを枢着架設し、該上リンクと下リンクとの間に垂直杆を固定架設し、かつ、一方の上連結枠と他方の下連結枠との間及び一方の下連結枠と他方の下連結枠との間にそれぞれ接続リンクをX状に枢着架設し、該一対の接続リンクの中程部に該一対の接続リンクを開閉動作自在に枢着連結する枢軸を配設し、該上連結枠及び下連結枠を水平状態に保持可能な保持機構を配設して構成した折り畳み式物干し具が提案されている。
特開2000−245997号
しかしながら上記の如き特開2000−245997号に提案されている物干し具においては、使用時において、一対の対向配置された側脚枠を相互に離間移動させると、各側脚枠の上下位置にそれぞれ枢着突設された上連結枠及び下連結枠はX状の接続リンクにより下向き回動し、更なる回動により上連結枠及び下連結枠が水平状態となり、保持機構により上連結枠及び下連結枠の水平状態が保持されて展開状態となり、側脚枠により洗濯物や布団を掛けて干すことになり、又、不使用時において、一対の対向配置された側脚枠を相互に接近移動させると、各側脚枠の上下位置にそれぞれ枢着突設された上連結枠及び下連結枠はX状の接続リンクにより上向き回動し、更なる上向き回動により、上連結枠及び下連結枠は略垂直状に並列した折り畳み状態となり、この際、各上連結枠の対向端部及び各下連結枠の対向端部間にそれぞれ上リンク及び下リンクを枢着架設し、該上リンクと下リンクとの間に垂直杆を固定架設し、X状の一対の接続リンクの中程部に一対の接続リンクを開閉動作自在に枢着連結する枢軸を配設しているから、一対の接続リンクは枢軸により連結され、枢軸を中心として開閉動作し、よって、対向一対の上連結枠及び下連結枠の上向き及び下向き回動が同期され、それだけ折り畳み及び展開動作を円滑に行うことができるという効果を奏するものの、上連結枠と下連結枠の間に垂直杆とX状の接続リンクが設けられているので、上連結枠や上連結枠近傍の物干し杆に洗濯物を干したときに洗濯物がX状の接続リンクの上部に接触しやすく、上連結枠に洗濯物を干しにくいという問題があった。又、上連結枠が左右に分割されているので、バスタオルなどの大形の洗濯物をこの部分に干しにくいという問題があった。
そこで本発明者は従来の欠点に鑑み鋭意研究の結果、収納時に折り畳みが容易で、使用時に上部の竿受けに掛けられた竿以外に中段の物干し枠が使いやすい物干し具を提供するものである。
本発明請求項1記載の物干し具は、一対の脚枠を互いに接近、離間自在に設け、この脚枠の中央部と下部が連結杆で連結され、各連結杆が物干し具の中央で、リンクバーの上下端の枢着部に回動可能に枢着され、中央部に設けられた一方の連結杆に一対の連結杆に亘る大きさの物干し枠が摺動可能に設けられ、この物干し枠に設けられた係止具が他方の連結杆の上面に当接されることにより連結杆が水平状体を保持することができるようになされたことを特徴とするもので、物干し具が収納状態と展開状態をとることが容易にできる。
本発明請求項2記載の物干し具は、リンクバーに補強杆の一端が回動可能に設けられ、この補強杆の他端が下部の連結杆に摺動自在に取り付けられたもので、物干し具を展開して使用するときに補強杆が捻れ難く、しっかりする。
本発明物干し具は、一対の脚枠を互いに接近、離間自在に設け、この脚枠の中央部と下部が連結杆で連結され、各連結杆が物干し具の中央で、リンクバーの上下端の枢着部に回動可能に枢着され、中央部に設けられた一方の連結杆に一対の連結杆に亘る大きさの物干し枠が摺動可能に設けられ、この物干し枠に設けられた係止具が他方の連結杆の上面に当接されることにより連結杆が水平状体を保持することができるようになされているので、物干し具が収納状態と展開状態をとることが容易にできる。又、物干し枠が一対の連結杆に亘って設けられるので、バスタオルなどの大形の洗濯物も干すことができる。
本発明請求項2記載の物干し具は、リンクバーに補強杆の一端が回動可能に設けられ、この補強杆の他端が下部の連結杆に摺動自在に取り付けられたもので、物干し具を展開して使用するときに補強杆が捻れ難く、しっかりする。又、リンクバーの上部に補強杆を設ける必要がないので、物干し枠に干した洗濯物と補強杆が干渉することがなく洗濯物が干しやすい。
図1は本発明物干し具の実施形態の一例を示す斜視図である。
図に於いて、支柱11の上端は上横桟12で連結され、支柱11の下端は下横桟13で連結されて脚枠1となされている。一対の脚枠1の下部と中央部が中央が回動自在に枢着された連結杆により連結されている。中央部の連結杆21、22と下部の連結杆23,24の連結部はリンクバー3で連結され、各連結杆の連結部は何れも回動可能となされている。支柱11上端の上横桟12には竿受け部6が設けられ、物干し竿7を支持するようになされている。左右の脚枠1間に亘って、物干し竿7が掛け渡され、洗濯物が干せるようになされている。
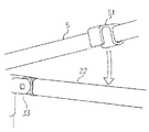
リンクバー3の中央部には補強杆4の端部が回動可能に取り付けられて回動取付部31となされ、この補強杆4の他方の端部は下部の連結杆23、24に摺動自在に取り付けられて摺動係合部32となされている。図に於いて左側の中央部の連結杆21には物干し枠5が左右に摺動自在に物干し枠固定具52を介して取り付けられている。この物干し枠5の右側縁部には、係止具51が設けられ、中央部右側の連結杆22の上面にこの係止具51が当接されて物干し枠5が係止され、連結杆21、22、23、24及び物干し枠5が水平状態を保持されるようになされている。係止具の詳細な一実施形態と連結杆22への当接する様子を図6に示す。
脚枠1は下端にキャスターが設けられ、左右の脚枠1が互いに接近、離間できるようになされている。脚枠1の上端には竿受け部6が設けられ、物干し竿7を支持するようになされている。脚枠1を構成する夫々の支柱11は中央部が中横桟14で連結されている。支柱11は上部支柱111と下部支柱112からなり、上部支柱111は下部支柱112内に伸縮自在に挿入されている。下部支柱112の上端には上部支柱係止具15が設けられ、上部支柱111の伸縮長さを適宜設定できるようになされている。図5のイは上部支柱の固定状態をロは伸縮可能状態を示す斜視図である。上部支柱係止具15は、図5に示すように基部151が中横桟14の端部に設けられ、この基部151に開閉自在に係止部152が設けられている。この係止部152には円柱状の突起が設けられ、上部支柱111の側壁に設けられた透孔に嵌合し、上部支柱111を係止するようになされている。右側の脚枠1の側壁には物干し竿収納部8が設けられ、物干し具の不使用時に物干し竿7が収納できるようになされている。
次ぎに図2〜4を基にこの物干し具の収納(折り畳み)方法について説明する。図2に示すように、物干し枠5を左方向にスライドさせ、図3に示すように、左右の連結杆の枢着部33を上方に持ち上げると、左右の連結杆が枢着部33を軸に山形に屈曲され、左右の脚枠1が互いに接近して図4に示すように折り畳まれるようになされている。左右の連結杆が山形に屈曲されるとリンクバー3に設けられた左右の補強杆4の下端が下部の連結杆23、24の中央に寄り左右の連結杆が折り畳まれる。物干し枠5が左方向にスライド移動されているので折り畳んだ状態で、物干し枠5が上方に突出することがなくコンパクトになる。
物干し具を使用するときには、前記収納時の動作とは逆に、図4の収納状態から左右連結杆21、22の枢着部33をしたに押し下げると左右の連結杆21、22が水平状態になると共に左右の脚枠1が離間する方向に移動する。左右の連結杆が水平状態になると物干し枠5の側縁に設けられた係止具51が右側の連結杆22の上面に当接され、連結杆21、22が水平状態より下方に移動しないように規制する。
本発明物干し具の実施形態の一例を示す斜視図である。 図1の状態から支柱を縮め、物干し枠をスライドした状態を示す斜視図である。 図2の状態から連結杆を山形に屈曲させ、収納状態へ移行する過程を示す斜視図である。 本発明物干し具の収納状態を示す斜視図である。 本発明物干し具における支柱の伸縮、固定状態を説明する中横桟端部の斜視図である。 本発明物干し具ににおいて物干し枠の縁部に設けられた係止具が連結杆に当接されるのを説明する要部の拡大斜視図である。
符号の説明
1 脚枠
11 支柱
111 上部支柱
112 下部支柱
12 上横桟
13 下横桟
14 中横桟
21 連結杆
22 連結杆
23 連結杆
24 連結杆
3 リンクバー
31 回動取付部
32 摺動係合部
33 枢着部
4 補強杆
5 物干し枠
51 係止具
52 物干し枠固定具
6 竿受け部
7 物干し竿
8 物干し竿収納部

Claims (2)

  1. 一対の脚枠を互いに接近、離間自在に設け、この脚枠の中央部と下部が連結杆で連結され、各連結杆が物干し具の中央で、リンクバーの上下端の枢着部に回動可能に枢着され、中央部に設けられた一方の連結杆に一対の連結杆に亘る大きさの物干し枠が摺動可能に設けられ、この物干し枠に設けられた係止具が他方の連結杆の上面に当接されることにより連結杆が水平状体を保持することができるようになされたことを特徴とする物干し具。
  2. リンクバーに補強杆の一端が回動可能に設けられ、この補強杆の他端が下部の連結杆に摺動自在に取り付けられたことを特徴とする請求項1記載の物干し具。
JP2006115737A 2006-04-19 2006-04-19 物干し具 Expired - Fee Related JP4668115B2 (ja)

Priority Applications (1)

Application Number Priority Date Filing Date Title
JP2006115737A JP4668115B2 (ja) 2006-04-19 2006-04-19 物干し具

Applications Claiming Priority (1)

Application Number Priority Date Filing Date Title
JP2006115737A JP4668115B2 (ja) 2006-04-19 2006-04-19 物干し具

Publications (2)

Publication Number Publication Date
JP2007282989A true JP2007282989A (ja) 2007-11-01
JP4668115B2 JP4668115B2 (ja) 2011-04-13

Family

ID=38755285

Family Applications (1)

Application Number Title Priority Date Filing Date
JP2006115737A Expired - Fee Related JP4668115B2 (ja) 2006-04-19 2006-04-19 物干し具

Country Status (1)

Country Link
JP (1) JP4668115B2 (ja)

Cited By (3)

* Cited by examiner, † Cited by third party
Publication number Priority date Publication date Assignee Title
US8672147B2 (en) 2011-03-25 2014-03-18 Sincere International Trading Co. Ltd. Expandable clothes frame
CN108755033A (zh) * 2018-08-21 2018-11-06 安庆市天润纸塑包装有限责任公司 一种用于医用灭菌袋晾晒时废水收集的晾晒架
CN116752332A (zh) * 2023-06-13 2023-09-15 苏州百宜特智家科技有限公司 一种折叠晾晒架

Citations (3)

* Cited by examiner, † Cited by third party
Publication number Priority date Publication date Assignee Title
JPS4944534U (ja) * 1972-07-22 1974-04-19
JPH024432U (ja) * 1988-06-24 1990-01-11
JPH03102692U (ja) * 1990-02-06 1991-10-25

Patent Citations (3)

* Cited by examiner, † Cited by third party
Publication number Priority date Publication date Assignee Title
JPS4944534U (ja) * 1972-07-22 1974-04-19
JPH024432U (ja) * 1988-06-24 1990-01-11
JPH03102692U (ja) * 1990-02-06 1991-10-25

Cited By (3)

* Cited by examiner, † Cited by third party
Publication number Priority date Publication date Assignee Title
US8672147B2 (en) 2011-03-25 2014-03-18 Sincere International Trading Co. Ltd. Expandable clothes frame
CN108755033A (zh) * 2018-08-21 2018-11-06 安庆市天润纸塑包装有限责任公司 一种用于医用灭菌袋晾晒时废水收集的晾晒架
CN116752332A (zh) * 2023-06-13 2023-09-15 苏州百宜特智家科技有限公司 一种折叠晾晒架

Also Published As

Publication number Publication date
JP4668115B2 (ja) 2011-04-13

Similar Documents

Publication Publication Date Title
KR20140069957A (ko) 접이식 빨래건조대
KR100732607B1 (ko) 절첩식 빨래 건조대
JP4668115B2 (ja) 物干し具
CN210506880U (zh) 可折叠晾衣架及烘衣机
KR200469090Y1 (ko) 접이식 빨래건조대
KR100988711B1 (ko) 빨래 건조대
KR100795671B1 (ko) 걸이틀의 높낮이가 가변되는 빨래건조대
KR200381878Y1 (ko) 절첩식 빨래건조대
JP5663208B2 (ja) 折畳式ハンガーホルダー及びハンガーセット
KR100799173B1 (ko) 절첩식 빨래 건조대
KR20200129774A (ko) 절첩식 건조대
KR200466358Y1 (ko) 접이식 옷걸이
JP3133481U (ja) 折り畳み式ハンガー
JP4596393B2 (ja) 物干し具
KR20160003775U (ko) 빨래 건조대
JP2009095363A (ja) 折り畳み式ハンガー
JP4465229B2 (ja) 物干し具
JP2007117640A (ja) 物干器
KR102753473B1 (ko) 세탁물 건조대용 걸이장치
JP2001129299A (ja) 携帯用物干し具
CN110468561B (zh) 可折叠晾衣架及烘衣机
JP3120808U (ja) 多連式物干し器
JP3118507U (ja) ハンガー
JPH1057692A (ja) 物干し具
JP3355359B2 (ja) 折り畳み式物干し具

Legal Events

Date Code Title Description
A621 Written request for application examination

Effective date: 20090327

Free format text: JAPANESE INTERMEDIATE CODE: A621

A977 Report on retrieval

Free format text: JAPANESE INTERMEDIATE CODE: A971007

Effective date: 20101209

TRDD Decision of grant or rejection written
A01 Written decision to grant a patent or to grant a registration (utility model)

Effective date: 20101221

Free format text: JAPANESE INTERMEDIATE CODE: A01

A01 Written decision to grant a patent or to grant a registration (utility model)

Free format text: JAPANESE INTERMEDIATE CODE: A01

A61 First payment of annual fees (during grant procedure)

Free format text: JAPANESE INTERMEDIATE CODE: A61

Effective date: 20110112

FPAY Renewal fee payment (prs date is renewal date of database)

Free format text: PAYMENT UNTIL: 20140121

Year of fee payment: 3

R150 Certificate of patent (=grant) or registration of utility model

Free format text: JAPANESE INTERMEDIATE CODE: R150

LAPS Cancellation because of no payment of annual fees