JP2007166323A - 画像復号装置、および画像復号方法 - Google Patents

画像復号装置、および画像復号方法 Download PDF

Info

Publication number
JP2007166323A
JP2007166323A JP2005360914A JP2005360914A JP2007166323A JP 2007166323 A JP2007166323 A JP 2007166323A JP 2005360914 A JP2005360914 A JP 2005360914A JP 2005360914 A JP2005360914 A JP 2005360914A JP 2007166323 A JP2007166323 A JP 2007166323A
Authority
JP
Japan
Prior art keywords
compression rate
compression
image data
decoded image
data
Prior art date
Legal status (The legal status is an assumption and is not a legal conclusion. Google has not performed a legal analysis and makes no representation as to the accuracy of the status listed.)
Withdrawn
Application number
JP2005360914A
Other languages
English (en)
Inventor
Takeshi Tanido
丈志 谷戸
Current Assignee (The listed assignees may be inaccurate. Google has not performed a legal analysis and makes no representation or warranty as to the accuracy of the list.)
Panasonic Holdings Corp
Original Assignee
Matsushita Electric Industrial Co Ltd
Priority date (The priority date is an assumption and is not a legal conclusion. Google has not performed a legal analysis and makes no representation as to the accuracy of the date listed.)
Filing date
Publication date
Application filed by Matsushita Electric Industrial Co Ltd filed Critical Matsushita Electric Industrial Co Ltd
Priority to JP2005360914A priority Critical patent/JP2007166323A/ja
Publication of JP2007166323A publication Critical patent/JP2007166323A/ja
Withdrawn legal-status Critical Current

Links

Images

Landscapes

  • Compression Or Coding Systems Of Tv Signals (AREA)

Abstract

【課題】 動き補償を用いて復号される画像の画質劣化を最小限に抑えると共に、動き補償において参照される復号画像データを記憶する記憶部の容量を低減する画像復号装置、および画像復号方法を提供する。
【解決手段】 符号化された画像情報を復号して復号画像データを出力する復号部2と、復号画像データを圧縮する際の圧縮率を決定する圧縮率決定部3と、圧縮率決定部3で決定された圧縮率に従い、復号画像データを圧縮して圧縮データを出力する圧縮部4と、圧縮データを記憶する記憶部5と、記憶部5から読み出された圧縮データを伸長する伸長部6を備える画像復号装置1である。この構成により、記憶部の容量削減と、復号される画像の画質劣化抑止が両立される。
【選択図】 図1

Description

本発明は、符号化された画像情報を復号する画像復号装置、および画像復号方法に関する。
近年、種々の画像情報の符号化方式、復号方式が提案されている。例えば、MPEG2やMPEG4と呼ばれる規格が幅広く用いられている。MPEG2やMPEG4などの画像符号化装置においては、符号量を削減するために、前後のフレームの画像情報を参照した動き予測を用いる。動き予測を用いる画像情報として、前のフレームの画像情報を参照するPピクチャ、前後のフレームの画像情報を用いるBピクチャなどがある。
これらMPEG2やMPEG4などで符号化された画像情報を復号する画像復号装置においては、動き予測で符号化されたフレームの復号を行う必要がある。すなわち、動き補償が必要となる。
動き補償においては、前後のフレームの復号結果を必要とするため、復号された復号画像データを記憶する記憶部が必要となる。このとき、参照する画像情報を多く必要とすることもあり、高容量の記憶部が必要とされ、画像復号装置の製造コストが増加する問題があった。
特許文献1は、この記憶部の増大を抑止する技術を開示する。
図16は、従来の画像復号装置のブロック図であり、特許文献1に開示されている。復号部100は、可変長復号器101、逆量子化器102、逆DCT変換器103、加算器104、動き補償部105を備え、符号化された画像情報を復号する。フレームメモリ106は、動き補償の際に参照される復号画像データを一時的に記憶する。
圧縮器107は、復号画像データを任意の圧縮率で圧縮して、フレームメモリ106に圧縮された圧縮データを出力する。すなわち、フレームメモリ106においては、データ量が圧縮された圧縮データが記憶される。このため、フレームメモリに要求される容量が削減される。
伸長器108は、圧縮データを伸長して、動き補償部105に出力する。動き補償部105は、伸長された画像データを用いて、動き補償を行い、符号化された画像情報の復号を実行する。
しかしながら、特許文献1に開示される技術では、復号画像データがIピクチャであっても、Pピクチャであっても、Bピクチャであっても、同じ圧縮率で復号画像データが圧縮される。この場合には、Pピクチャの復号においては、圧縮されたIピクチャが参照される。同様に、Bピクチャの復号においては、圧縮されたIピクチャと圧縮されたPピクチャが参照される。更に、圧縮されたIピクチャが参照されて復号されたPピクチャが、再び圧縮されて、別のPピクチャやBピクチャの復号時の参照されることになる。このため、動き補償を用いて復号される画像再現性の不完全なPピクチャとBピクチャが圧縮されることで、更に不十分な情報を有する復号画像データとなる。この不十分な情報を有している復号画像データを参照して動き補償されて復号される、次のPピクチャやBピクチャは、復号における精度が非常に低下してしまう。
このため、フレームメモリに記憶する前に圧縮がされない場合に比べて、復号される画像の画質が劣化する問題があった。
特開平9−247673号公報
そこで本発明は、動き補償を用いて復号される画像の画質劣化を最小限に抑えると共に、動き補償において参照される復号画像データを記憶する記憶部の容量を低減する画像復号装置、および画像復号方法を提供することを目的とする。
第1の発明に関わる画像復号装置は、符号化された画像情報を復号して復号画像データを出力する復号部と、復号画像データを圧縮する際の圧縮率を決定する圧縮率決定部と、圧縮率決定部で決定された圧縮率に従い、復号画像データを圧縮して圧縮データを出力する圧縮部と、圧縮データを記憶する記憶部と、記憶部から読み出された圧縮データを伸長する伸長部を備える。
この構成により、復号画像データの態様により異なる圧縮率で圧縮を行うことができる。このため、復号画像データを記憶する記憶部の容量削減と、動き補償に用いられる復号画像データの画質劣化抑止が両立できる。
第2の発明に関わる画像復号装置では、記憶部における、圧縮データの記憶位置を制御する制御部を更に備える。
この構成により、圧縮率の違いによる、圧縮データの容量に差が生じても、記憶部へのデータ割付が効率的に行われる。
第3の発明に関わる画像復号装置では、制御部は、圧縮率によって記憶位置を変更する。
この構成により、圧縮率の違いによる、圧縮データの容量に差が生じても、記憶部へのデータ割付が効率的に行われる。
第4の発明に関わる画像復号装置では、記憶部においては、圧縮率の違いにより圧縮データを記憶する領域が異なり、制御部は、圧縮データの圧縮率に対応する領域を記憶位置として決定する。
この構成により、圧縮率の違いによる、圧縮データの容量に差が生じても、記憶部へのデータ割付が効率的に行われる。
第5の発明に関わる画像復号装置では、復号画像データの符号化方式を判定して判定結果を出力する判定部を備え、圧縮率決定部は、判定結果に従って圧縮率を決定する。
この構成により、符号化方式の違いに応じた圧縮率の決定がなされる。
第6の発明に関わる画像復号装置では、判定部は、復号画像データにおける動き予測の有無を判定し、判定結果に従って圧縮率を決定する。
この構成により、動き予測により符号化された復号画像データに対する圧縮率を、動き予測を含まずに符号化された復号画像データに対する圧縮率と異ならせることができる。
第7の発明に関わる画像復号装置では、判定部は、復号画像データが、Iピクチャ及びPピクチャ及びBピクチャのいずれであるかを判定し、圧縮率決定部は、判定結果に従って圧縮率を決定する。
この構成により、復号時の動き補償に用いられるピクチャタイプにより、圧縮率を異ならせることができる。
第8の発明に関わる画像復号装置では、圧縮率決定部は、動き予測を有する復号画像データの圧縮率を、動き予測を有さない復号画像データの圧縮率よりも高い値に決定する。
この構成により、動き補償に用いられる復号画像データの圧縮率が低くなり、情報欠落が減少する。結果として、動き補償により復号される画像の画質劣化が抑止される。
第9の発明に関わる画像復号装置では、圧縮率決定部は、Bピクチャである復号画像データに対する第1圧縮率と、Pピクチャである復号画像データに対する第2圧縮率と、Iピクチャである復号画像データに対する第3圧縮率が、好ましくは第1圧縮率≧第2圧縮率≧第3圧縮率、更に好ましくは第1圧縮率>第2圧縮率>第3圧縮率となるように、圧縮率を決定する。
この構成により、動き補償において多く用いられるIピクチャの圧縮率が低くなり、情報欠落が減少する。結果として、動き補償でIピクチャが用いられて復号された画像の画質劣化が抑止される。
第10の発明に係る画像復号装置では、圧縮率決定部は、前記復号画像データに含まれる輝度データと前記復号画像データに含まれる色差データに対して、個別の前記圧縮率を決定する。 第11の発明に関わる画像復号装置では、圧縮率決定部は、復号画像データに含まれる輝度データに対する圧縮率を、復号画像データに含まれる色差データに対する圧縮率よりも低い値に決定する。
これらの構成により、視認者への影響を少なくした上で、復号画像データの圧縮後の容量を少なくできる。
第12の発明に関わる画像復号装置では、復号画像データの中心周波数を計測する計測部を更に備え、圧縮率決定部は、中心周波数により圧縮率を決定する。
この構成により、高周波成分を多く含む中心周波数が高い復号画像データの圧縮率を低く設定でき、情報欠落を低減できる。
第13の発明に関わる画像復号装置では、圧縮率決定部は、中心周波数が所定の閾値以上である場合の圧縮率を、中心周波数が閾値未満である場合の圧縮率よりも低い値に決定する。
この構成により、高周波成分を多く含む中心周波数が高い復号画像データの圧縮率を低く設定でき、情報欠落を低減できる。
本発明によれば、記憶部に記憶される復号画像データが圧縮された圧縮データに変換されるので、記憶部の容量が削減され、コストが削減される。
また、復号画像データの態様によって圧縮率が異なるので、復号部で復号される際に参照画像情報として用いられる復号画像データの情報欠落を、最小に抑えることができる。結果として、復号される画像の画質劣化を抑止できる。
また、異なる圧縮率で圧縮される圧縮データの記憶位置が、圧縮率や画像種類により制御されることで、記憶部が効率的に使用される。
以下、図面を参照しながら、本発明の実施の形態を説明する。
(実施の形態1)
図1は、本発明の実施の形態1における画像復号装置のブロック図である。
まず、画像復号装置1の全体構成と動作の概略を説明する。
画像復号装置1は、復号部2、圧縮率決定部3、圧縮部4、記憶部5、伸長部6を備える。好ましくは、制御部7を備える。
符号化された画像情報は、復号部2で復号され、復号画像データが出力される。圧縮率決定部3は、復号画像データを圧縮する際の圧縮率を、復号画像データの態様に基づいて決定し、決定した圧縮率を圧縮部4に出力する。このとき、圧縮された圧縮データを用いる復号において、画質劣化を抑止するために、圧縮率決定部3は、復号画像データの態様に基づいて、後述するように異なる圧縮率を決定する。
圧縮部4は、決定された圧縮率により、復号画像データを圧縮して、圧縮データを記憶部5に出力する。記憶部5は、圧縮された圧縮データを記憶するので、圧縮部4の無い従来技術に比較して、記憶部5の容量が低減される。
記憶部5に記憶された圧縮データは、伸長部6で伸長されて、復号部2における復号時の参照画像情報として用いられる。
なお、このとき復号画像データの態様により圧縮率が異なるため、動き補償を伴う復号時に参照される参照画像情報の劣化が少なく、復号される画像情報の劣化も少なくなる。
復号された復号画像データは、再生されて画像表示される。
ここで、MPEG2に規定されているデータ構造について説明する。
図2は、MPEG2に規定されているデータ構造を示す。図3は、MPEG2に規定されているビットストリームと画面との対応関係図である。
MPEG2に規定されているビットストリームは、復号装置側で正しく受け取ることができるように、データ構造が細かく決められている。具体的には、図2に示されるように、シーケンス、GOP(Group of Picture)、ピクチャ、スライス、マクロブロック、ブロックの順による階層構造を有する。
シーケンスは、1つ以上のGOPから構成され、一般に1つのビデオプログラム全体の符号化信号に相当する。このシーケンスは、シーケンスヘッダで始まり、シーケンスエンドで終了する。
なお、シーケンスヘッダは、画像の大きさを表す情報、1秒間に符号化するフレームの数、通信速度など、シーケンス全体に関連する情報を含む。また、シーケンスヘッダに続いて、MPEG2の符号化信号であることを表す機能拡張情報が挿入され、入力画像信号形式などが指定される。
GOPは、フレーム内符号化が可能なIピクチャ、過去のフレームのみを用いて前方向の動き補償をおこなうPピクチャ、および過去と未来の両方のフレームを用いて双方向の動き補償をおこなうBピクチャのうち、1つ以上のピクチャから構成される。なお、各GOPの最初のピクチャとして、必ずIピクチャが挿入され、GOPヘッダには、画像復元時に音声などとの時間合わせを可能とするためのタイムスタンプ情報などが含まれる。
ピクチャは、1つ以上のスライスから構成される。図3に示されるように、ピクチャは、動画像信号を構成する1枚の画面(m画素×nライン)に相当する。このピクチャのピクチャヘッダは、I、P、Bピクチャを識別するための情報や、各ピクチャの表示順序を指定する情報などを含む。また、ピクチャヘッダに続く機能拡張情報は、フレーム構造/フィールド構造の設定など、MPEG2で導入されている機能を指定する情報を含む。
スライスは、画面上における左から右への1つ以上のマクロブロックから構成される。スライス情報は、量子化特性を表す情報など、スライス内で使用される符号化情報を含む。なお、スライス内でのマクロブロックの配置は、通信回線でのエラーの影響が画面上で縦方向に及ばないように、左右に延伸されるだけで、上下に延伸されることはない。
マクロブロックは、図3に示されるように、4:2:0のフォーマット時には、8×8のY信号ブロック4個と、8×8のCr信号ブロック1個と、8×8のCb信号ブロック1個とから構成される。なお、マクロブロック情報は、マクロブロック単位で符号化制御をおこなうための情報などを含む。
ブロックは、図3に示されるように、4:2:0のフォーマット時には、8×8のY信号、Cr信号、Cb信号いずれかのDCT係数データから構成される。なお、このDCT係数データは、連続する可変長の符号化データとして構成される。
各ブロックは、EOB(End of Block)コードで終了する。
以上のように、MPEG2ビットストリームは、6層からなる階層構造を有する。なお、図3には、4:2:0のフォーマット時のデータ構成を示したが、本発明はこれに限定されるものではなく、4:2:2のフォーマット時においても同様に適用される。
次に、各部の詳細について説明する。
まず、復号部2について説明する。
復号部2は、MPEG2やMPEG4などの規格により符号化された画像情報を復号する。図1には示されていないが、可変長符号を復号する可変長復号器、逆量子化器、逆DCT変換器、動き補償部などを含む。
Iピクチャに代表されるイントラ画像は、動き補償は用いられず、逆量子化と逆IDCTにより復号される。PピクチャやBピクチャは、動き補償が用いられて復号される。この動き補償において、復号対象の前後の復号画像データが用いられる。
復号部2で復号された復号画像データは、動き補償で用いられる参照画像情報として使われると共に、再生されて表示される画像として用いられる。
次に圧縮率決定部3について説明する。
圧縮率決定部3は、復号画像データを圧縮する際の圧縮率を決定する。復号画像データは、記憶部5に記憶されて、動き補償における参照画像情報として用いられる。このとき、復号画像データは、一定のビット量を有しているため、そのまま記憶部5に記憶されると、高容量の記憶部5が必要となる。このため、圧縮率決定部3で決定された圧縮率に従って、復号画像データが圧縮されて、記憶部5に記憶される。
圧縮率決定部3は、復号画像データの態様によって異なる圧縮率を決定する。
なお、圧縮率決定部3は、種々の方式に従って、圧縮対象の復号画像データの圧縮率を決定する。
ここで、圧縮率決定部3が決定する圧縮率は、例えばパーセンテージで表される。例えば、圧縮率「50%」などの値が決定される。圧縮率「50%」とは、圧縮後の情報量が、圧縮前の情報量の0.5倍になることを意味する。圧縮率「100%」とは、圧縮後の情報量が、圧縮前の情報量と同じであることを意味する。
次に圧縮部4について説明する。
圧縮部4は、圧縮率決定部3で決定された圧縮率に従い、復号画像データを圧縮して圧縮データを記憶部5に出力する。ここで、復号画像データの態様により圧縮率が異なるので、復号画像データの態様によって、異なる容量の圧縮データが生成される。
圧縮部4は、種々の構成を有するが、図4に圧縮部4の一例を示す。図4は、本発明の実施の形態1における圧縮部の説明図である。
圧縮部4は、決定された圧縮率に従い、復号画像データを非可逆的に圧縮する。
圧縮部4は、DCTにより画素情報から周波数成分へ変換する周波数変換部10と、周波数変換部10で生成された周波数成分を、逆DCTにより圧縮する周波数成分圧縮部11を備える。周波数成分圧縮部11は、決定された圧縮率に従い周波数成分を圧縮する。
図4には、圧縮率「50%」の場合の圧縮処理が示されている。まず、8画素の復号画像データが、周波数変換されて生成される。周波数変換で生成された8個の周波数係数は、高周波側の成分が削除されて、50%の容量に圧縮される。高周波成分の係数が削減された後、低次数IDCTが行われて、8画素が4画素に圧縮される。
8画素の復号画像データが圧縮率「75%」で圧縮される場合には、8画素が6画素に圧縮される。
圧縮部4での圧縮動作を説明する。図5は、本発明の実施の形態1における圧縮処理を示すフローチャートである。
まずステップS1にて、圧縮率決定部3の圧縮率に基づいて、圧縮処理の実施の有無を決定する。ステップS1にて、圧縮処理の実施が決定された場合には、ステップS2にて復号画像データは、周波数変換される。
次いで、ステップS3にて、周波数成分が、決定された圧縮率により圧縮される。最後にステップS4にて、圧縮データが記憶部5に記憶される。
なお、圧縮率「100%」である場合、すなわち圧縮されない場合には、圧縮処理がスキップされてもよく、圧縮部4をバイパスして記憶部5へ、復号画像データが直接記憶されても良い。
次に、記憶部5について説明する。
記憶部5は、フレームメモリなどが用いられる。復号画像データの態様によって圧縮率が異なるため、圧縮データの容量が異なる結果になる。このため、記憶部5は、圧縮率によってバンク分けされていることも好適である。
次に伸長部6について説明する。
伸長部6は、記憶部5に記憶されている圧縮データを伸長し、圧縮データを復号部2における参照画像情報として使用可能な状態にする。伸長部6は、圧縮部4と逆の処理を行う。
図6は、本発明の実施の形態1における伸長部のブロック図である。
伸長部6は、DCT処理により伸長処理を行う周波数成分伸長部21と、周波数成分伸長部21で生成された周波数係数を逆DCT処理にて画素情報に変換する逆周波数変換部20を備える。
伸長部6は、圧縮率に応じた伸長率で伸長する。例えば、伸長部6は、圧縮率「75%」の場合には、「75%」の逆数の値で伸長する。圧縮率が「50%」の場合には、伸長部6は、「50%」の逆数の値で伸長する。
図7により、伸長処理の流れについて説明する。
図7は、本発明の実施の形態1における伸長処理を示すフローチャートである。
まず、ステップS10にて、記憶部5から読み出された圧縮データを伸長するかを決定する。このとき、圧縮率決定部3から得た圧縮率に関する情報を基に、伸長率を計算する。
次に、伸長処理を行う場合には、ステップS11にて、周波数成分が低次数DCTにより伸長される。このとき、計算された伸長率が用いられる。次いで、ステップS12にて、逆周波数変換されて、ステップS13にて、復号部2へ出力される。
なお、図6に示されるように、圧縮率「50%」で圧縮された圧縮データは、高周波側成分を値「0」で補完して、8画素に伸長される。
次に、制御部7について説明する。
圧縮部4で圧縮された圧縮データは、記憶部5に記憶される。このとき、圧縮前のデータは、復号画像データの態様に関わらず、その容量は一定である。すなわちIピクチャ、Pピクチャ、Bピクチャのいずれであっても、その容量は一定である。しかし、圧縮された圧縮データの容量が変化する。このとき、復号画像データの態様により圧縮率が異なるので、復号画像データの態様により記憶部5に記憶される容量が相違する。このため、記憶部5に不作為に圧縮データが記憶されると、記憶部5内部に使用できない空き領域が生じる。例えば、図8に示されるように空き領域が生じる。図8は、本発明の実施の形態1における記憶部のデータ割付図である。
制御部7は、圧縮率の相違に対応して、記憶部5への圧縮データの書き込み時の記憶位置を制御する。すなわち、制御部7は、圧縮データ毎の圧縮率の違いに応じて、記憶部5の記憶位置を変更して、圧縮データを記憶部5に書き込む。このとき、記憶部5は、圧縮率の違いに応じて、圧縮データを記憶する記憶領域が予め異なっており、制御部7は、この異なる記憶領域に合わせて圧縮データの記憶位置を制御する。
図9は、本発明の実施の形態1における記憶部のデータ割付図である。
図9に示されるとおり、記憶部5は、予め3つの領域である、第1領域、第2領域、第3領域に分割されている。第1領域は、第1圧縮率で圧縮された圧縮データを記憶する領域である。第2領域は、第2圧縮率で圧縮された圧縮データを記憶する領域である。第3領域は、第3圧縮率で圧縮された圧縮データを記憶する領域である。
なお、第1圧縮率と第2圧縮率と第3圧縮率は、第1圧縮率、第2圧縮率、第3圧縮率の順に、圧縮率が低くなる。例えば、第1圧縮率は、圧縮率「50%」であり、第2圧縮率は、圧縮率「75%」であり、第3圧縮率は、圧縮率「100%」である。
このため、第3領域がもっとも大きな記憶領域を持ち、第1領域が、最も小さな記憶領域をもっている。
なお、図8、図9の記憶部5は、縦方向はアドレス方向であり、図中に示されているアドレス値は、例示である。
制御部7は、第1圧縮率で圧縮された圧縮データについては第1領域を記憶位置として、記憶部5に指示を出力する。第1圧縮率で圧縮された圧縮データは、制御部7の指示に従い、第1領域に記憶される。
同様に、制御部7は、第2圧縮率で圧縮された圧縮データについては、第2領域を記憶位置として、第3圧縮率で圧縮された圧縮データについては、第3領域を記憶位置として、記憶部5に指示を出力する。制御部7の指示に従い、圧縮データは、それぞれ第2領域、第3領域に記憶される。
図9から明らかな通り、制御部7による記憶位置制御により、図8のような空き領域が生じず、記憶部5の効率的な活用が図られる。
また、圧縮されない場合に比べて、圧縮データは容量が小さくなっているので、記憶部5に要求される容量は小さくなり、コストが低減される。
制御部7は、圧縮率の違いにより、記憶部5への記憶位置を制御しても良いが、復号画像データの態様に応じて記憶位置を制御してもよい。
例えば、Bピクチャについては最も圧縮率の高い圧縮率「50%」が適用されて圧縮される。Pピクチャについては、中間の圧縮率「75%」が適用されて圧縮される。Iピクチャについては、最小の圧縮率「100%」が適用されて圧縮される。
このとき、制御部7は、復号画像データが、Iピクチャであるか、Pピクチャであるか、Bピクチャであるかを判断する。次いで、制御部7は、Iピクチャである場合には、第1領域を記憶位置として指定し、Pピクチャである場合には、第2領域を記憶位置として指定し、Bピクチャである場合には、第3領域を記憶位置として指定する。
このように、制御部7は、復号画像データの態様に合わせて、記憶位置を制御してもよい。この場合であっても、記憶部5が、効率的に利用される。
なお、記憶部5への圧縮データの記憶は、ピクチャ単位であっても、スライス単位であっても、マクロブロック単位であってもよい。
以上の構成により、本発明の画像復号装置1は、復号画像データを圧縮した上で、記憶部5に記憶するので、復号画像データを圧縮しない場合に比べて、記憶部5の容量が削減できる。また、圧縮率の違いに応じて、記憶部5への圧縮データの記憶位置が制御されるので、記憶部5は効率的に使用され、更に容量が削減できる。
また、復号画像データの画像態様に応じて、圧縮率が切り替えられることで(参照画像情報の画像種類毎に異なる圧縮率が用いられることにより)、動き補償において用いられる参照画像情報の情報欠落を最小限にでき、最終的に復号される復号画像データの画質劣化が抑止される。
なお、Bピクチャに対する第1圧縮率、Pピクチャに対する第2圧縮率、Iピクチャに対する第3圧縮率は、第1圧縮率>第2圧縮率>第3圧縮率となるように決定されることが好ましいが、第1圧縮率と第2圧縮率と第3圧縮率の内の、いずれか2以上の圧縮率が同じ値で決定されても良い。すなわち、画像復号装置の設計容易性に応じて、第1圧縮率≧第2圧縮率≧第3圧縮率として決定されても良い。例えば、Bピクチャに対する第1圧縮率とPピクチャに対する第2圧縮率は、同じ圧縮率とされることもありうる。
(実施の形態2)
次に、実施の形態2について説明する。
なお、実施の形態2においては、圧縮率決定のバリエーションについて説明する。
図10は、本発明の実施の形態2における画像復号装置のブロック図である。判定部30は、復号画像データの態様を様々な基準で判定し、判定結果を圧縮率決定部3に出力する。圧縮率決定部3は、判定結果に従い、復号画像データ毎の圧縮率を決定する。
判定部30は、復号画像データの符号化方式を判定する。例えば、復号画像データが、動き予測を含んだ画像データであるか否かを判定する。すなわち、判定部30は、復号画像データが動き補償を伴って復号される画像データであるかを判定する。
動き予測を含まない復号画像データが、高い圧縮率で圧縮されると、情報の欠落が大きくなるので、この復号画像データを参照画像情報として動き補償により復号される復号画像データの画質劣化が生じる。
このため、判定部30の結果を受けた圧縮率決定部3は、動き予測を含む復号画像データの圧縮率を、動き予測を含まない復号画像データの圧縮率よりも高い値に決定する。
また、判定部30は、復号画像データが、Iピクチャであるか、Pピクチャであるか、Bピクチャであるかを判定し、判定結果を圧縮率決定部3に出力する。例えば、復号画像データに含まれるピクチャヘッダの解析により、判定される。
圧縮率決定部3は、Iピクチャであるか、Pピクチャであるか、Bピクチャであるかによって異なる圧縮率を決定する。
圧縮率決定部3は、Bピクチャである復号画像データに対する第1圧縮率と、Pピクチャである復号画像データに対する第2圧縮率と、Iピクチャである復号画像データに対する第3圧縮率を決定する。このとき、第1圧縮率>第2圧縮率>第3圧縮率の順に、圧縮度合いが異なるように、圧縮率が決定される。
例えば、Bピクチャに対する第1圧縮率は、圧縮率「50%」として決定される。Pピクチャに対する第2圧縮率は、圧縮率「75%」として決定される。Iピクチャに対する第3圧縮率は、圧縮率「100%」として決定される。
Iピクチャは、PピクチャとBピクチャの動き補償時に、参照画像情報として用いられるので、低い圧縮率で圧縮されるのが好ましい(もしくは、圧縮されないことが好ましい)。Pピクチャは、Bピクチャの動き補償時に参照画像情報として用いられるので、中間程度の圧縮率で圧縮されるのが好ましい。Bピクチャは、動き補償時に参照画像情報として用いられることが無いので、高い圧縮率で圧縮されることが、記憶部5の容量削減の観点から好ましい。
このように、復号画像データの態様(Iピクチャであるか、Pピクチャであるか、Bピクチャであるか)に応じて、異なる圧縮率が決定されることで、復号画像データの画質劣化が抑止される。
すなわち、Iピクチャを参照画像情報として動き補償により復号されるPピクチャは、圧縮率が「100%」である(すなわち、圧縮されない)ことにより情報欠落の無いIピクチャを参照画像情報として用いることができる。同様に、IピクチャとPピクチャを参照画像情報として動き補償により復号されるBピクチャは、圧縮率「100%」のIピクチャと、圧縮率「75%」のPピクチャを参照画像情報として用いることができる。
すなわち、動き補償における参照画像情報の圧縮による情報の欠落が最小限に抑えられる。結果として、動き補償により復号される復号画像データの画質劣化が抑止される。
一方、参照画像情報として用いられないBピクチャは、高い圧縮率で圧縮されるので、記憶部5の容量が効率的に削減される。また、画質劣化が抑止されながらも、PピクチャとBピクチャについては、圧縮されているので、記憶部5の容量は、削減されている。
上記の圧縮率の場合には、全ての復号画像データが、圧縮率「75%」で圧縮された場合と同様の圧縮データサイズとなり、記憶部5の容量は、圧縮されない場合に比べて、25%も削減される。
図11に、復号画像データのピクチャの種類に応じた圧縮率の決定の流れを示す。
図11は、本発明の実施の形態2における圧縮率決定を示すフローチャートである。
まず、判定部30は、復号中の符号化データのピクチャヘッダを解析する。
ステップS30にて、復号画像データがIピクチャであると判定された場合には、ステップS31にて、圧縮率決定部3は、圧縮率「100%」を決定する。ステップS32にて、復号画像データがPピクチャであると判定された場合には、ステップS33にて、圧縮率決定部3は、圧縮率「75%」を決定する。いずれでも無い場合には、Bピクチャであるので、ステップS34にて、圧縮率決定部3は、圧縮率「50%」を決定する。
最後にステップS35にて、決定された圧縮率に従い、圧縮部4は、復号画像データを圧縮する。
なお、実施の形態2で記載された圧縮率の値は例示であり、この値に限定されるものではない。
次に、判定部30は、復号している画像情報が、輝度であるか色差であるかを判定する。判定部30は、判定結果を圧縮率決定部3に出力し、圧縮率決定部3は、輝度と色差で異なる圧縮率を決定する。具体的には、圧縮率決定部3は、輝度情報に対する圧縮率を、色差情報に対する圧縮率よりも低い値に決定する。
輝度に対しては、視認者が敏感に反応するのに対して、色差に対しては、視認者の反応が低いことから、色差に対しては情報欠落が伴っても、高い圧縮率で圧縮することが、記憶部5の容量削減の点からも好ましいからである。
図12を用いて、輝度と色差を基準とする圧縮率決定の処理を説明する。
図12は、本発明の実施の形態2における圧縮率決定を示すフローチャートである。
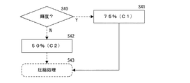
まず、ステップS40にて、復号されている画像情報が輝度であると判断された場合には、圧縮率決定部3は、ステップS41にて、圧縮率「75%」を決定する。輝度で無い場合には、色差であるので、圧縮率決定部3は、ステップS42にて、圧縮率「50%」を決定する。
なお、輝度と色差の違いにより、圧縮率が異なる場合には、制御部7は、圧縮率の違いに対応して、記憶位置を制御する。
以上のように、復号画像データのピクチャ種類や情報種別などの種々の基準に基づいて、圧縮率が決定されることで、画質劣化の抑止と、記憶部の容量削減に伴うコスト削減が両立される。
なお、図13に示される構成も、本発明の画像復号装置として好適である。図13は、本発明の実施の形態2における画像復号装置のブロック図である。
(実施の形態3)
次に、実施の形態3について説明する。
実施の形態3における画像復号装置は、復号画像データの中心周波数を算出して、算出された中心周波数の値に応じて、圧縮率を決定する。
図14は、本発明の実施の形態3における画像復号装置の部分ブロック図である。図14には、復号画像データの中心周波数を計測する計測部40が表されている。
計測部40は、復号画像データの中心周波数を計測する。具体的には、復号部2に含まれる可変長復号と逆量子化の後のデータから周波数成分を検出する。このとき、周波数成分の係数が任意の閾値と比較されて、中心周波数が決定される。例えば、係数が0となる周波数が、どの周波数であるかを計測して、中心周波数を計測する。
中心周波数が計測されることで、復号画像データの画像状態が判別される。すなわち、中心周波数が高ければ、複雑な画像であり、圧縮率を高くすると、情報欠落が生じやすい。一方、中心周波数が低ければ、圧縮率を高くしても情報欠落が生じにくい。
このため、計測部40の結果を受けた圧縮率決定部3は、中心周波数の値に応じた圧縮率を決定する。例えば、中心周波数を決定する閾値が、周波数の低い方から第1閾値と第2閾値である場合には、中心周波数が第1閾値未満の場合には、第1圧縮率が決定される。同様に、中心周波数が第1閾値以上第2閾値未満の場合には、第2圧縮率が決定され、中心周波数が第2閾値以上の場合には、第3圧縮率が決定される。
ここで、第1圧縮率>第2圧縮率>第3圧縮率の順に圧縮率が高くなるように定められることで、情報欠落を抑えたい復号画像データの圧縮率を低くすることができる。
次に、図15を用いて、圧縮率決定処理の流れを説明する。
図15は、本発明の実施の形態3における圧縮率決定を示すフローチャートである。
Th1、Th2(Th1<Th2)は入力された係数が高周波成分か否かを判定する閾値であり、外部のホストやCPUから与えられる。
計測部40は、処理ステップS102−50にて、カウンタCo1,2,3,4にに0を与え、復号中の画像情報の1フレームあたりのNxNのブロック数をTnumにセットする。
処理ステップS102−51は、Th1番目以降のDCT係数に非0であるか否かを判定し、上記処理結果が真(Th1番目以降に非0の係数がある)場合は、処理ステップS102−52にて、Th2番目以降ののDCT係数に非0であるか否かを判定する。上記処理結果が真(Th2番目以降に非0の係数がある)場合は、カウンタCo1に値「1」を加える(処理ステップS102−53)。上記処理結果が偽(Th2番目以降に非0の係数がない)場合は、カウンタ2に1を加える(処理ステップS102−54)。
また、Th1番目以降のDCT係数に非0であるか否かを判定し、上記処理結果が真(Th1番目以降に非0の係数がない)場合は、処理カウンタCo3に値「1」を加える(処理ステップS102−54) 。結果が偽の場合には、Co3に値「1」を加える。
カウンタCo4は入力されたNxNのブロック数をカウントする(処理ステップS102−55) 。処理ステップS102−56はカウンタ4の値とTnumの値と等しいか否かを判定する。判定結果が真の場合(カウンタ4=Tnum)となるまで、処理ステップS102−51〜56を繰り返す。判定結果が真の場合(カウンタ4=Tnum)は、処理ステップS102−57にて、カウンタ1、2,3の大小関係を判定する(Co1>Co2>Co3の順で高周波成分が多いといえる。)。処理ステップS102−6では、圧縮率決定部3は、判定結果に基づいて圧縮率を決定し、初期状態に戻る。
本発明は、例えば、MPEG2やMPEG4などの符号化された画像情報の復号等の技術分野において好適に利用できる。
本発明の実施の形態1における画像復号装置のブロック図 MPEG2に規定されているデータ構造図 MPEG2に規定されているビットストリームと画面との対応関係図 本発明の実施の形態1における圧縮部の説明図 本発明の実施の形態1における圧縮処理を示すフローチャート 本発明の実施の形態1における伸長部のブロック図 本発明の実施の形態1における伸長処理を示すフローチャート 本発明の実施の形態1における記憶部のデータ割付図 本発明の実施の形態1における記憶部のデータ割付図 本発明の実施の形態2における画像復号装置のブロック図 本発明の実施の形態2における圧縮率決定を示すフローチャート 本発明の実施の形態2における圧縮率決定を示すフローチャート 本発明の実施の形態2における画像復号装置のブロック図 本発明の実施の形態3における画像復号装置の部分ブロック図 本発明の実施の形態3における圧縮率決定を示すフローチャート 従来の画像復号装置のブロック図
符号の説明
1 画像復号装置
2 復号部
3 圧縮率決定部
4 圧縮部
5 記憶部
6 伸長部
7 制御部

Claims (16)

  1. 符号化された画像情報を復号して復号画像データを出力する復号部と、
    前記復号画像データを圧縮する際の圧縮率を決定する圧縮率決定部と、
    前記圧縮率決定部で決定された圧縮率に従い、前記復号画像データを圧縮して圧縮データを出力する圧縮部と、
    前記圧縮データを記憶する記憶部と、
    前記記憶部から読み出された前記圧縮データを伸長する伸長部を備える画像復号装置。
  2. 前記記憶部における、前記圧縮データの記憶位置を制御する制御部を更に備える請求項1記載の画像復号装置。
  3. 前記制御部は、前記圧縮率によって前記記憶位置を変更する請求項2記載の画像復号装置。
  4. 前記記憶部においては、前記圧縮率の違いにより前記圧縮データを記憶する領域が異なり、前記制御部は、前記圧縮データの圧縮率に対応する前記領域を前記記憶位置として決定する請求項2記載の画像復号装置。
  5. 前記復号画像データの符号化方式を判定して判定結果を出力する判定部を備え、前記圧縮率決定部は、前記判定結果に従って前記圧縮率を決定する請求項1から4のいずれか記載の画像復号装置。
  6. 前記判定部は、前記復号画像データにおける動き予測の有無を判定し、前記判定結果に従って前記圧縮率を決定する請求項5記載の画像復号装置。
  7. 前記判定部は、前記復号画像データが、Iピクチャ及びPピクチャ及びBピクチャのいずれであるかを判定し、前記圧縮率決定部は、前記判定結果に従って前記圧縮率を決定する請求項5記載の画像復号装置。
  8. 前記圧縮率決定部は、動き予測を有する前記復号画像データの圧縮率を、動き予測を有さない前記復号画像データの圧縮率よりも高い値に決定する請求項6記載の画像復号装置。
  9. 前記圧縮率決定部は、Bピクチャである前記復号画像データに対する第1圧縮率と、Pピクチャである前記復号画像データに対する第2圧縮率と、Iピクチャである前記復号画像データに対する第3圧縮率が、好ましくは第1圧縮率≧第2圧縮率≧第3圧縮率、更に好ましくは第1圧縮率>第2圧縮率>第3圧縮率となるように、前記圧縮率を決定する請求項7記載の画像復号装置。
  10. 前記圧縮率決定部は、前記復号画像データに含まれる輝度データと前記復号画像データに含まれる色差データに対して、個別の前記圧縮率を決定する請求項1から9のいずれか記載の画像復号装置。
  11. 前記圧縮率決定部は、前記復号画像データに含まれる輝度データに対する前記圧縮率を、前記復号画像データに含まれる色差データに対する前記圧縮率よりも低い値に決定する請求項10記載の画像復号装置。
  12. 前記復号画像データの中心周波数を計測する計測部を更に備え、前記圧縮率決定部は、前記中心周波数により前記圧縮率を決定する請求項1から11のいずれか記載の画像復号装置。
  13. 前記圧縮率決定部は、前記中心周波数が所定の閾値以上である場合の圧縮率を、前記中心周波数が前記閾値未満である場合の圧縮率よりも低い値に決定する請求項12記載の画像復号装置。
  14. 符号化された画像情報を復号して復号画像データを出力する復号ステップと、
    前記復号画像データを圧縮する際の圧縮率を決定する圧縮率決定ステップと、
    前記圧縮率決定ステップで決定された圧縮率に従い、前記復号画像データを圧縮して圧縮データを出力する圧縮ステップと、
    前記圧縮データを記憶する記憶ステップと、
    前記記憶部された前記圧縮データを伸長する伸長ステップを備える画像復号方法。
  15. 前記記憶ステップにおいては、前記圧縮率の違いにより前記圧縮データを記憶する領域が異なり、前記圧縮データの圧縮率に対応する前記領域を前記記憶位置として決定する制御ステップを備える請求項14記載の画像復号方法。
  16. 前記画像情報の符号化方式を判定して判定結果を出力する判定ステップを更に備え、前記圧縮率決定ステップは、前記判定結果に従って前記圧縮率を決定する請求項14から15のいずれか記載の画像復号方法。
JP2005360914A 2005-12-14 2005-12-14 画像復号装置、および画像復号方法 Withdrawn JP2007166323A (ja)

Priority Applications (1)

Application Number Priority Date Filing Date Title
JP2005360914A JP2007166323A (ja) 2005-12-14 2005-12-14 画像復号装置、および画像復号方法

Applications Claiming Priority (1)

Application Number Priority Date Filing Date Title
JP2005360914A JP2007166323A (ja) 2005-12-14 2005-12-14 画像復号装置、および画像復号方法

Publications (1)

Publication Number Publication Date
JP2007166323A true JP2007166323A (ja) 2007-06-28

Family

ID=38248696

Family Applications (1)

Application Number Title Priority Date Filing Date
JP2005360914A Withdrawn JP2007166323A (ja) 2005-12-14 2005-12-14 画像復号装置、および画像復号方法

Country Status (1)

Country Link
JP (1) JP2007166323A (ja)

Cited By (4)

* Cited by examiner, † Cited by third party
Publication number Priority date Publication date Assignee Title
WO2012005106A1 (ja) * 2010-07-08 2012-01-12 日本電気株式会社 映像復号装置、映像符号化装置、映像復号方法、映像符号化方法及びプログラム
WO2012046366A1 (ja) * 2010-10-07 2012-04-12 パナソニック株式会社 画像再生方法、画像再生装置、画像再生プログラム、撮像システム、および再生システム
JP2012195703A (ja) * 2011-03-15 2012-10-11 Fujitsu Ltd トランスコード装置及びトランスコード方法
JP2014506441A (ja) * 2011-01-12 2014-03-13 シーメンス アクチエンゲゼルシヤフト ビデオデコーダにおける参照画像の圧縮方法及び伸長方法

Citations (3)

* Cited by examiner, † Cited by third party
Publication number Priority date Publication date Assignee Title
EP0817498A1 (en) * 1996-06-28 1998-01-07 STMicroelectronics S.r.l. MPEG-2 decoding with a reduced RAM requisite by ADPCM recompression before storing MPEG-2 decompressed data optionally after a subsampling algorithm
JP2001359096A (ja) * 1999-06-08 2001-12-26 Matsushita Electric Ind Co Ltd 画像符号化装置
US20030123554A1 (en) * 2001-12-29 2003-07-03 Kim Eung Tae Video decoding system

Patent Citations (3)

* Cited by examiner, † Cited by third party
Publication number Priority date Publication date Assignee Title
EP0817498A1 (en) * 1996-06-28 1998-01-07 STMicroelectronics S.r.l. MPEG-2 decoding with a reduced RAM requisite by ADPCM recompression before storing MPEG-2 decompressed data optionally after a subsampling algorithm
JP2001359096A (ja) * 1999-06-08 2001-12-26 Matsushita Electric Ind Co Ltd 画像符号化装置
US20030123554A1 (en) * 2001-12-29 2003-07-03 Kim Eung Tae Video decoding system

Cited By (11)

* Cited by examiner, † Cited by third party
Publication number Priority date Publication date Assignee Title
WO2012005106A1 (ja) * 2010-07-08 2012-01-12 日本電気株式会社 映像復号装置、映像符号化装置、映像復号方法、映像符号化方法及びプログラム
JPWO2012005106A1 (ja) * 2010-07-08 2013-09-02 日本電気株式会社 映像復号装置、映像符号化装置、映像復号方法、映像符号化方法及びプログラム
US9258560B2 (en) 2010-07-08 2016-02-09 Nec Corporation Video decoding apparatus, video coding apparatus, video decoding method, video coding method, and program
WO2012046366A1 (ja) * 2010-10-07 2012-04-12 パナソニック株式会社 画像再生方法、画像再生装置、画像再生プログラム、撮像システム、および再生システム
JP2012085001A (ja) * 2010-10-07 2012-04-26 Panasonic Corp 画像再生方法、画像再生装置、画像再生プログラム、撮像システム、および再生システム
CN103109535A (zh) * 2010-10-07 2013-05-15 松下电器产业株式会社 图像再生方法、图像再生装置、图像再生程序、摄像系统及再生系统
US9386310B2 (en) 2010-10-07 2016-07-05 Panasonic Intellectual Property Management Co., Ltd. Image reproducing method, image reproducing device, image reproducing program, imaging system, and reproducing system
CN103109535B (zh) * 2010-10-07 2016-08-17 松下知识产权经营株式会社 图像再生方法、图像再生装置、摄像系统及再生系统
JP2014506441A (ja) * 2011-01-12 2014-03-13 シーメンス アクチエンゲゼルシヤフト ビデオデコーダにおける参照画像の圧縮方法及び伸長方法
US9398292B2 (en) 2011-01-12 2016-07-19 Siemens Aktiengesellschaft Compression and decompression of reference images in video coding device
JP2012195703A (ja) * 2011-03-15 2012-10-11 Fujitsu Ltd トランスコード装置及びトランスコード方法

Similar Documents

Publication Publication Date Title
US20070030911A1 (en) Method and apparatus for skipping pictures
US20090141808A1 (en) System and methods for improved video decoding
EP2757793A1 (en) Video processor with frame buffer compression and methods for use therewith
US20230308663A1 (en) Device and method of video decoding with first and second decoding code
US8204106B2 (en) Adaptive compression of video reference frames
JP2011175085A (ja) 表示駆動回路
US20120087414A1 (en) Apparatus and method for processing video data
US9277218B2 (en) Video processor with lossy and lossless frame buffer compression and methods for use therewith
US20100153687A1 (en) Streaming processor, operation method of streaming processor and processor system
JP2003517796A (ja) 「ムラのあるピクチャ」効果を減らす方法
US20130114684A1 (en) Electronic devices for selective run-level coding and decoding
JP2007097145A (ja) 画像符号化装置及び画像符号化方法
CN114095775A (zh) 帧缓冲压缩电路和图像处理设备
CN100446572C (zh) 译码数字影像位流所含画面的方法及其数字影像译码系统
CN1825976B (zh) 译码数字影像序列的方法及装置
JP6453652B2 (ja) 映像伝送システム
JP2007166323A (ja) 画像復号装置、および画像復号方法
US9407920B2 (en) Video processor with reduced memory bandwidth and methods for use therewith
US20110051815A1 (en) Method and apparatus for encoding data and method and apparatus for decoding data
US20150078433A1 (en) Reducing bandwidth and/or storage of video bitstreams
JP3822821B2 (ja) 画像再生表示装置
JPH0795536A (ja) 動画像逆再生装置及び方法
US20090046783A1 (en) Method and Related Device for Decoding Video Streams
KR101979634B1 (ko) 화질 개선을 위한 영상 처리 장치 및 그 방법
US12513309B2 (en) Device and method of video encoding with first and second encoding code

Legal Events

Date Code Title Description
A621 Written request for application examination

Free format text: JAPANESE INTERMEDIATE CODE: A621

Effective date: 20081126

A977 Report on retrieval

Free format text: JAPANESE INTERMEDIATE CODE: A971007

Effective date: 20100727

A131 Notification of reasons for refusal

Free format text: JAPANESE INTERMEDIATE CODE: A131

Effective date: 20100729

A521 Request for written amendment filed

Free format text: JAPANESE INTERMEDIATE CODE: A523

Effective date: 20100924

A02 Decision of refusal

Free format text: JAPANESE INTERMEDIATE CODE: A02

Effective date: 20110331

A521 Request for written amendment filed

Free format text: JAPANESE INTERMEDIATE CODE: A523

Effective date: 20110630

A911 Transfer to examiner for re-examination before appeal (zenchi)

Free format text: JAPANESE INTERMEDIATE CODE: A911

Effective date: 20110708

A912 Re-examination (zenchi) completed and case transferred to appeal board

Free format text: JAPANESE INTERMEDIATE CODE: A912

Effective date: 20110930

A761 Written withdrawal of application

Free format text: JAPANESE INTERMEDIATE CODE: A761

Effective date: 20111221