JP2005299799A - Outside joint member of uniform velocity universal joint - Google Patents

Outside joint member of uniform velocity universal joint Download PDF

Info

Publication number
JP2005299799A
JP2005299799A JP2004117084A JP2004117084A JP2005299799A JP 2005299799 A JP2005299799 A JP 2005299799A JP 2004117084 A JP2004117084 A JP 2004117084A JP 2004117084 A JP2004117084 A JP 2004117084A JP 2005299799 A JP2005299799 A JP 2005299799A
Authority
JP
Japan
Prior art keywords
mouse
velocity universal
joint
mouse member
universal joint
Prior art date
Legal status (The legal status is an assumption and is not a legal conclusion. Google has not performed a legal analysis and makes no representation as to the accuracy of the status listed.)
Withdrawn
Application number
JP2004117084A
Other languages
Japanese (ja)
Inventor
Motohiko Okada
元彦 岡田
Minoru Ishijima
実 石島
Current Assignee (The listed assignees may be inaccurate. Google has not performed a legal analysis and makes no representation or warranty as to the accuracy of the list.)
NTN Corp
Original Assignee
NTN Corp
NTN Toyo Bearing Co Ltd
Priority date (The priority date is an assumption and is not a legal conclusion. Google has not performed a legal analysis and makes no representation as to the accuracy of the date listed.)
Filing date
Publication date
Application filed by NTN Corp, NTN Toyo Bearing Co Ltd filed Critical NTN Corp
Priority to JP2004117084A priority Critical patent/JP2005299799A/en
Publication of JP2005299799A publication Critical patent/JP2005299799A/en
Withdrawn legal-status Critical Current

Links

Images

Landscapes

  • Diaphragms And Bellows (AREA)

Abstract

<P>PROBLEM TO BE SOLVED: To provide an edge shape of the opening of a mouth member which is advantageous in a functional aspect without diminishing a moldability in a cold working such as pressing. <P>SOLUTION: In the outside joint member 1 constructed by coupling the thin-walled mouth member 1a molded by a cold working and a stem 1b, the mouth member 1a is open at the edge and has a plurality of track grooves 6 which are circumferentially arranged and axially extend. Taper portions 8 having a diameter expanded in the direction of the open edge side are arranged between track grooves 6 adjacent to each other. <P>COPYRIGHT: (C)2006,JPO&NCIPI

Description

この発明は等速自在継手の外側継手部材に関する。より詳しくは、内径部とトルク伝達要素と係合するトラック溝部とを円周方向に交互に配置したカップ状または筒状のマウス部分を板材または管材からプレスなどの冷間加工により成形した薄肉の外側継手部材に関する。   The present invention relates to an outer joint member of a constant velocity universal joint. More specifically, a cup-shaped or cylindrical mouse portion in which inner diameter portions and track groove portions that engage with torque transmitting elements are alternately arranged in the circumferential direction is formed by cold working such as pressing from a plate material or a tube material. The present invention relates to an outer joint member.

内径部とトルク伝達要素と係合するトラック溝部とを円周方向に交互に配置したカップ状または筒状のマウス部分を有する外側継手部材を製造するための従来の技術としては、一体素材として温間鍛造または熱間鍛造により成形を行う方法や、カップ状または筒状のマウス部材を板材または管材からプレスなどの冷間加工により成形し、別体として製作したステム部材と接合して外側継手部材を得る方法などがある。   As a conventional technique for manufacturing an outer joint member having a cup-shaped or cylindrical mouse portion in which an inner diameter portion and a track groove portion that engages with a torque transmission element are alternately arranged in the circumferential direction, as an integrated material, The outer joint member is formed by cold forging such as a method of forming by hot forging or hot forging, or a cup-shaped or cylindrical mouse member by cold working such as pressing from a plate material or tube material, and joining with a stem member manufactured separately. There are ways to get it.

近年、自動車業界においては、等速自在継手の小型・軽量化が要求されるようになってきている。後者の冷間加工により得られる外側継手部材はこのようなニーズに応えるものである。また、冷間加工では、工程削減、工具の長寿命化および合理化の点から全体としてコストダウンを図ることができる。これに対して前者の温間または熱間鍛造による成形方法では、鍛造型が熱により劣化することや、多品種にわたる製品形状に対して一品一様で鍛造型が必要になること、鍛造工程および前処理などが煩雑な多工程となること、などの理由から製造コストを低減できないという問題点がある。   In recent years, the automobile industry has been required to reduce the size and weight of constant velocity universal joints. The outer joint member obtained by the latter cold working meets such needs. In cold working, the cost can be reduced as a whole from the viewpoint of process reduction, tool life extension and rationalization. On the other hand, in the former forming method by warm or hot forging, the forging die is deteriorated by heat, a uniform forging die is required for various product shapes, the forging process and There is a problem in that the manufacturing cost cannot be reduced because the pretreatment and the like are complicated multi-steps.

従来の技術として、特開平9−76026号公報の図4には、マウス開口端部に外周側に湾曲する鍔状部分を有する形状が開示されている。特開2000−329152号公報には、マウス部材の開口端部に断面略円形状のフランジ部を形成することが開示されている。特開2000−24736号公報には、鍔状部分やフランジ部を設けず、開口端部に向かって同一断面形状に成形されたマウス部材が開示されている。
特開平9−76026号公報(図4) 特開2000−329152号公報(図1) 特開2000−24736号公報(図4)
As a conventional technique, FIG. 4 of Japanese Patent Laid-Open No. 9-76026 discloses a shape having a hook-like portion that curves to the outer peripheral side at the end of the mouse opening. Japanese Patent Application Laid-Open No. 2000-329152 discloses that a flange portion having a substantially circular cross section is formed at an opening end portion of a mouse member. Japanese Patent Application Laid-Open No. 2000-24736 discloses a mouse member that is formed in the same cross-sectional shape toward the opening end without providing a hook-shaped portion or a flange portion.
JP-A-9-76026 (FIG. 4) JP 2000-329152 A (FIG. 1) JP 2000-24736 A (FIG. 4)

プレスなどの冷間加工においては、材料に大きな変形を与える部分において割れが生じやすいため、温間または熱間鍛造に比べて材料に加えることのできる変形量が小さい。結果として、プレスなどの冷間加工により得られるカップ状または筒状のマウス部材は、温間または熱間鍛造により得られる外側継手部材のカップ状マウス部分に比べ、その横断面において、薄肉であり、かつ、円周方向における肉厚の差が小さい略均一な肉厚の断面形状となる。   In cold working such as pressing, cracks are likely to occur in parts that give large deformations to the material, so the amount of deformation that can be applied to the material is small compared to warm or hot forging. As a result, the cup-shaped or cylindrical mouse member obtained by cold working such as pressing is thinner in cross section than the cup-shaped mouse part of the outer joint member obtained by warm or hot forging. In addition, the cross-sectional shape has a substantially uniform thickness with a small difference in thickness in the circumferential direction.

深絞りやしごきなどの加工方法により冷間加工されたマウス部材においては、特にその開口端部において、成形による歪が集中して、加工硬化による割れが発生しやすい。そのため、マウス部材の開口端部の形状によって、成形のしやすさは大きく左右される。   In a mouse member that has been cold worked by a working method such as deep drawing or ironing, distortion due to molding is concentrated particularly at the opening end portion, and cracks due to work hardening are likely to occur. Therefore, the ease of molding is greatly affected by the shape of the open end of the mouse member.

また、等速自在継手としてより大きなトルクを伝達するためには、内側継手部材からマウス部材に加わる荷重に対する破壊強度を高める必要がある。マウス部材を厚肉にすることで強度は高められるが、冷間加工における成形のしやすさは大きく低下する。   In order to transmit a larger torque as a constant velocity universal joint, it is necessary to increase the breaking strength against a load applied from the inner joint member to the mouse member. Although the strength can be increased by making the mouse member thick, the ease of forming in cold working is greatly reduced.

特開平9−76026号公報における鍔状部分または特開2000−329152号公報におけるフランジ部は、マウス内部の密閉を目的としたブーツを固定するために、ブーツの一端との係合形状として機能するが、継手としてのトルク伝達機能に直接関与する部分ではない。また、前者の鍔状部分は、マウス部材が厚肉になるほど湾曲部の曲率半径を小さく成形することが難しいことから、プレス工程で成形した大きな鍔部をその後の旋削工程で成形するなど、材料の歩留まりを低下させる原因となる。また、後者のフランジ部は、マウス開口端部に連接されているため、外側継手部材が軸方向に長くなり、コンパクトさが失われる。そのため、継手構造としてのコンパクト化、軽量化、材料削減の点から、より有利な形状が必要であった。   The flange portion in Japanese Patent Laid-Open No. 9-76026 or the flange portion in Japanese Patent Laid-Open No. 2000-329152 functions as an engagement shape with one end of the boot in order to fix the boot for the purpose of sealing the inside of the mouse. However, it is not a part directly related to the torque transmission function as a joint. In addition, since it is difficult to mold the curvature radius of the curved portion as the thickness of the mouse member becomes thicker, the former collar-shaped portion is made of a material such as molding a large collar formed in the pressing process in the subsequent turning process. Cause a decrease in yield. Moreover, since the latter flange part is connected with the mouse | mouth opening edge part, an outer joint member becomes long in an axial direction, and compactness is lost. Therefore, a more advantageous shape is required from the viewpoint of compactness, weight reduction, and material reduction as a joint structure.

また、特開2000−24736号公報に記載された従来の技術の場合、トラック溝部の開口端部外周面に設けた係合溝によりブーツの一端を固定する。また、隣接するトラック溝部の間に位置する小内径部分の開口端部内周部には、シャフトとの干渉を抑制するためのチャンファ部が設けてあるが、冷間加工により成形されるマウス部材は薄肉であるため、大きなチャンファ部を形成してシャフトとの干渉を十分に防ぐことができず、継手の可動範囲が制約される。また、チャンファ部が部分的に薄肉となるため、マウス部材の強度が低下するなどの問題があった。   In the case of the conventional technique described in Japanese Patent Laid-Open No. 2000-24736, one end of the boot is fixed by an engagement groove provided on the outer peripheral surface of the opening end of the track groove. In addition, a chamfer part for suppressing interference with the shaft is provided on the inner peripheral part of the opening end part of the small inner diameter part located between the adjacent track groove parts, but the mouse member formed by cold working is Since it is thin, a large chamfer portion cannot be formed to sufficiently prevent interference with the shaft, and the movable range of the joint is restricted. Further, since the chamfer part is partially thin, there is a problem that the strength of the mouse member is lowered.

本発明の目的は、プレスなどの冷間加工における成形性を低下させることなく、機能面において有利なマウス部材の開口端部形状を提供することにある。   An object of the present invention is to provide an opening end shape of a mouse member that is advantageous in terms of function without degrading formability in cold working such as pressing.

この発明の等速自在継手の外側継手部材は、冷間加工により成形した薄肉のマウス部材とステム部材とを接合してなる外側継手部材であって、前記マウス部材が、一端にて開口し、円周方向に複数配置された軸方向に延びるトラック溝部を有し、隣接するトラック溝部間に、開口端側に向かって拡径したテーパ部を設けたことを特徴とするものである。   The outer joint member of the constant velocity universal joint of the present invention is an outer joint member formed by joining a thin mouse member formed by cold working and a stem member, and the mouse member opens at one end, A plurality of circumferentially extending track groove portions extending in the axial direction are provided, and a taper portion whose diameter is increased toward the opening end side is provided between adjacent track groove portions.

前記テーパ部は、マウス部材の一部として冷間加工により一体成形することにより(請求項2)、除去加工などによりチャンファ部を設ける場合のように肉厚が減少することがないため、強度低下を防ぐことができる。また、テーパ部の大きさはマウス部材の肉厚に制約されず、シャフトとの干渉を十分に抑えることができる。   The tapered portion is integrally formed by cold working as a part of the mouse member (Claim 2), and the thickness does not decrease as in the case where the chamfer portion is provided by removal processing or the like. Can be prevented. Further, the size of the tapered portion is not limited by the thickness of the mouse member, and interference with the shaft can be sufficiently suppressed.

また、前記トラック溝部の外周面に、ブーツを固定するための円周方向に走る溝を形成することにより(請求項3)、この溝とテーパ部により、ブーツの一端をマウス部材に確実に固定することができ、高いシール性を得ることができる。トラック溝部の外周面の溝は、マウス部材を冷間加工により成形した後旋削などの除去加工により形成することができる。   Further, by forming a groove running in the circumferential direction for fixing the boot on the outer peripheral surface of the track groove portion (Claim 3), one end of the boot is securely fixed to the mouse member by the groove and the tapered portion. And high sealing performance can be obtained. The groove on the outer peripheral surface of the track groove portion can be formed by removal processing such as post-turning in which the mouse member is formed by cold working.

本発明によれば、冷間加工における成形性と、製造コスト削減、機能改善を図ることができ、軽量、コンパクト、低コストで優れた性能をもつ等速自在継手を提供することができる。   ADVANTAGE OF THE INVENTION According to this invention, the formability in cold work, manufacturing cost reduction, and functional improvement can be aimed at, and the constant velocity universal joint with the outstanding performance can be provided in light weight, a compact, low cost.

まず、図1に示すトリポード型等速自在継手に適用した場合を例にとって本発明の実施の形態を説明する。   First, the embodiment of the present invention will be described by taking as an example the case where it is applied to the tripod type constant velocity universal joint shown in FIG.

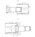
トリポード型等速自在継手は、駆動軸または従動軸と接続される外側継手部材1と、従動軸または駆動軸となるシャフト2と接続されるトリポード部材3とで構成される。外側継手部材1はここでは有底筒状またはカップ状で、内周の円周方向三等分位置に軸方向に延びるトラック溝部6を有する(図2、図3参照)。トリポード部材3は円周方向の三等分位置から半径方向に突出した三本の脚部を有する。各脚部にはニードルローラ4を介して回転自在にリング5が取り付けてある。外側継手部材1の内部にトリポード部材3を挿入し、リング5を外側継手部材1のトラック溝部6に転動自在に係合させることにより、外側継手部材1とトリポード部材3との間で回転トルクの伝達が可能となる。   The tripod type constant velocity universal joint includes an outer joint member 1 connected to a drive shaft or a driven shaft, and a tripod member 3 connected to a shaft 2 serving as a driven shaft or a drive shaft. Here, the outer joint member 1 has a bottomed cylindrical shape or a cup shape, and has a track groove portion 6 that extends in the axial direction at a position of the inner circumference in the three-divided position (see FIGS. 2 and 3). The tripod member 3 has three legs protruding in the radial direction from the circumferentially divided position. A ring 5 is rotatably attached to each leg via a needle roller 4. The tripod member 3 is inserted into the outer joint member 1, and the ring 5 is engaged with the track groove portion 6 of the outer joint member 1 so as to be able to roll freely, thereby rotating torque between the outer joint member 1 and the tripod member 3. Can be transmitted.

外側継手部材1はマウス部材1aとステム部材1bとで構成される。マウス部材1aは板材より連続プレス加工によりカップ状に成形され、それとは別体として製作されたステム部材1bと一体的に接合されている。マウス部材1aの開口端部側で、トラック溝部6の外周面に、円周方向に走る溝7が形成してある。そして、隣接するトラック溝部6間にはテーパ部8が形成してある。   The outer joint member 1 includes a mouse member 1a and a stem member 1b. The mouse member 1a is formed into a cup shape by continuous press processing from a plate material, and is integrally joined to a stem member 1b manufactured as a separate body. Grooves 7 running in the circumferential direction are formed on the outer peripheral surface of the track groove 6 on the opening end side of the mouse member 1a. A tapered portion 8 is formed between adjacent track groove portions 6.

プレス加工により成形されるマウス部材1aは、前述した加工上の制約により、図2および図3に示すように、略均一な肉厚の横断面形状を有している。また、プレス加工においては炭素含有量の低い材料の方がより加工が容易であるため、浸炭焼入れ処理用の低炭素鋼が用いられることが多いが、高周波焼入れ処理用の高炭素鋼を用いてもよい。マウス部材1aは、プレス加工において、円盤状の素材から数工程の深絞り加工、しごき加工、打ち抜き加工などを経て、所要のカップ形状に成形される。さらに旋削などの成形加工の後に、浸炭焼入れにより全表面に硬化層を設けた後、ステム部材1bと接合される。   As shown in FIGS. 2 and 3, the mouse member 1a formed by press working has a substantially uniform cross-sectional shape as shown in FIGS. In press working, materials with lower carbon content are easier to process, so low carbon steel for carburizing and quenching is often used, but high carbon steel for induction hardening is used. Also good. The mouse member 1a is formed into a required cup shape through several steps of deep drawing, ironing, punching, and the like from a disk-shaped material in press working. Further, after a forming process such as turning, a hardened layer is provided on the entire surface by carburizing and quenching, and then joined to the stem member 1b.

マウス部材1aとステム部材1bとの接合方法を例示するならば次のとおりである。図10に示すように、マウス部材1aは、薄肉の鋼板からなるパイプ素材または有底の円筒状素材をプレス加工して全体がカップ状に成形されている。マウス部材1aは、内周面に複数のトラック溝6が形成され、その結果、横断面は花冠状を呈している(図11参照)。マウス部材1aの底の中央には、プレスの打抜き加工によって孔40が設けてある。孔40の内周面には、図11(A)に示すような多角形面または図11(B)に示すようなセレーション溝が形成され、いずれの場合も浸炭焼入れや高周波焼入れ等の表面硬化処理が施してある。   An example of a method for joining the mouse member 1a and the stem member 1b is as follows. As shown in FIG. 10, the mouse member 1a is formed into a cup shape by pressing a pipe material or a bottomed cylindrical material made of a thin steel plate. In the mouse member 1a, a plurality of track grooves 6 are formed on the inner peripheral surface, and as a result, the cross section has a flower crown shape (see FIG. 11). In the center of the bottom of the mouse member 1a, a hole 40 is provided by stamping. A polygonal surface as shown in FIG. 11 (A) or a serration groove as shown in FIG. 11 (B) is formed on the inner peripheral surface of the hole 40. In either case, surface hardening such as carburizing and induction hardening is performed. Processing has been applied.

マウス部材1aと接合されるステム部材1bは、一方の端部の外周面にセレーション部が形成され、他方の端部に大径部1cが形成され、その大径部1cの先端にマウス部材1aの孔40に嵌合する突出部1dが形成されている。この突出部1dは生材のままであり、表面の硬化処理はされていない。また、その外径寸法は、孔40の内接円径よりも若干大きく設定してある。大径部1cと突出部1dとの間の段部に周溝1eが形成され、その周溝1eにOリングその他のシール部材42が装着される。   The stem member 1b to be joined to the mouse member 1a has a serration portion formed on the outer peripheral surface of one end portion, a large diameter portion 1c formed on the other end portion, and a mouse member 1a at the tip of the large diameter portion 1c. A protrusion 1d that fits into the hole 40 is formed. This protrusion 1d is a raw material, and the surface is not cured. The outer diameter is set slightly larger than the inscribed circle diameter of the hole 40. A circumferential groove 1e is formed in a step portion between the large diameter portion 1c and the protruding portion 1d, and an O-ring or other sealing member 42 is attached to the circumferential groove 1e.

そして、図10(A)に示すように、マウス部材1aの孔40にステム部材1bの突出部1dを圧入した後、マウス部材1aの内側に突出した突出部1dの先端をかしめ工具46により軸方向に打撃する。そうすることにより、図10(B)に符号44で示すように突出部1dの端部をかしめてマウス部材1aとステム部材1bとを接合する。このようにして接合した状態では、孔40の内周面に設けた多角形面やセレーション溝が突出部1dに転写されてマウス部材1aとステム部材1bとの回り止めがなされ、また、軸方向にはカシメ部44によって嵌合部のガタが殺され、マウス部材1aとステム部材1bとは一体で回転する。ステム部材1bの突出部1dのかしめは、圧入によって生じるマウス部材1aの底の変形を矯正する効果もある。   Then, as shown in FIG. 10A, after the protruding portion 1d of the stem member 1b is press-fitted into the hole 40 of the mouse member 1a, the tip of the protruding portion 1d protruding inside the mouse member 1a is caulked by the caulking tool 46. Strike in the direction. By doing so, the end portion of the projecting portion 1d is caulked as shown by reference numeral 44 in FIG. 10B to join the mouse member 1a and the stem member 1b. In such a joined state, the polygonal surface or serration groove provided on the inner peripheral surface of the hole 40 is transferred to the projecting portion 1d to prevent the mouse member 1a and the stem member 1b from rotating, and the axial direction In this case, the backlash of the fitting portion is killed by the crimping portion 44, and the mouse member 1a and the stem member 1b rotate together. The caulking of the protruding portion 1d of the stem member 1b also has an effect of correcting the deformation of the bottom of the mouse member 1a caused by press fitting.

図12(A)(B)は、マウス部材1aとステム部材1bとの別の接合構造を示すものである。この場合のステム部材1bは、先端部のセレーション部も含め、マウス部材1aの孔40より若干小径に形成され、また、ステム部材1bの他端部には孔40の内径より若干大径の嵌合部1cが形成され、さらに、その先端に抜止め用のつば1fが形成してある。また、マウス部材1aの孔40には、前述の図11と同様の多角形面またはセレーション溝が形成され、かつ、表面硬化処理が施してある。このステム部材1bを図12(A)に矢印で示すようにマウス部材1aの内側から孔40に挿入し、嵌合部1cの部分では、図12(B)に示すように、ダイス50に嵌めるとともにかしめ工具46によりステム部材1bを打撃して符号48で示すようにかしめる。嵌合部1cには孔40の多角形面またはセレーション溝が転写される。   12A and 12B show another joint structure between the mouse member 1a and the stem member 1b. In this case, the stem member 1b is formed to have a slightly smaller diameter than the hole 40 of the mouse member 1a, including the serration portion at the tip, and the other end of the stem member 1b has a slightly larger diameter than the inner diameter of the hole 40. A joining portion 1c is formed, and a retaining collar 1f is formed at the tip thereof. The hole 40 of the mouse member 1a has a polygonal surface or serration groove similar to that shown in FIG. 11 described above, and is subjected to a surface hardening treatment. The stem member 1b is inserted into the hole 40 from the inside of the mouse member 1a as indicated by an arrow in FIG. 12A, and the fitting portion 1c is fitted into the die 50 as shown in FIG. 12B. Together with the caulking tool 46, the stem member 1b is hit and caulked as indicated by reference numeral 48. The polygonal surface or serration groove of the hole 40 is transferred to the fitting portion 1c.

次に、図4に示すように、図1に示したトリポード型等速自在継手は継手内部の密閉を目的としたブーツ9を装着して使用する。ブーツ9は一方の開口端部をマウス部材1aの開口端部に装着し、他方の開口端部をシャフト2の外径部に装着し、それぞれ固定バンド13,14で締結する。ブーツ9は、外側継手部材1に対するシャフト2の角度変位θ、軸方向変位Xの変動を許容するため、大端側取付け部10,11と小端側取付け部12の間に蛇腹状の構造を有しており、屈曲耐久性に優れたゴム材料を用いて射出成形などにより製造される。マウス部材1aの開口端部外周面に係合する大端側取付け部10,11は、それぞれ円周方向溝7とテーパ部8の周囲に密着する内周形状に成形されている。   Next, as shown in FIG. 4, the tripod constant velocity universal joint shown in FIG. 1 is used with a boot 9 for sealing the inside of the joint. The boot 9 has one open end attached to the open end of the mouse member 1 a and the other open end attached to the outer diameter portion of the shaft 2, and fastened by the fixing bands 13 and 14, respectively. The boot 9 has a bellows-like structure between the large end side mounting portions 10 and 11 and the small end side mounting portion 12 in order to allow variation in the angular displacement θ and the axial displacement X of the shaft 2 with respect to the outer joint member 1. It is manufactured by injection molding or the like using a rubber material having excellent bending durability. The large-end-side mounting portions 10 and 11 that engage with the outer peripheral surface of the opening end portion of the mouse member 1a are formed in an inner peripheral shape that is in close contact with the circumference of the circumferential groove 7 and the taper portion 8, respectively.

マウス部材1aの開口端部に形成されたテーパ部8は、図4に示すように、外側継手部材1に対するシャフト2の角度変位θが大きい場合に、シャフト2の外径とマウス部材1の開口端部との干渉を防ぐ機能を果たす。これにより、より大きな可動範囲が得られ、幅広い用途に適用できる等速自在継手とすることができる。   As shown in FIG. 4, when the angular displacement θ of the shaft 2 with respect to the outer joint member 1 is large, the tapered portion 8 formed at the opening end of the mouse member 1 a and the opening of the mouse member 1 It serves to prevent interference with the edge. Thereby, a larger movable range is obtained and it can be set as the constant velocity universal joint applicable to a wide use.

図5に比較例としてのマウス部材15aを備えたトリポード型等速自在継手を示す。このマウス部材15aは、開口端部にテーパ部を有さず、隣接するトラック溝部間の小内径部18の内周面に、プレス加工の後の旋削などの除去加工によりチャンファ16を設けてある。図示のとおり、チャンファ16の開口端側は薄肉となるため、マウス部材15aの強度低下の問題から、チャンファ16を大きくすることは難しい。その結果、テーパ部8を有するマウス部材1aに比べてシャフト2との干渉を十分に抑えることができない。   FIG. 5 shows a tripod constant velocity universal joint provided with a mouse member 15a as a comparative example. The mouth member 15a does not have a tapered portion at the opening end, and the chamfer 16 is provided on the inner peripheral surface of the small inner diameter portion 18 between adjacent track groove portions by removal processing such as turning after press processing. . As shown in the drawing, the opening end side of the chamfer 16 is thin, so that it is difficult to enlarge the chamfer 16 due to the problem of the strength reduction of the mouse member 15a. As a result, interference with the shaft 2 cannot be sufficiently suppressed as compared with the mouse member 1a having the tapered portion 8.

また、マウス部材1aのテーパ部8はプレス加工工程において一体に成形されるが、テーパ部8を有しないマウス部材15aの開口端部形状に比べて、深絞り加工やしごき加工における開口端部のひずみ量を抑えることができ、その結果、割れが発生しにくく成形が容易となる。   Further, the taper portion 8 of the mouse member 1a is integrally formed in the pressing process, but the opening end portion in the deep drawing process and the ironing process is compared with the opening end shape of the mouse member 15a that does not have the taper part 8. The amount of strain can be suppressed, and as a result, cracking hardly occurs and molding becomes easy.

一方、マウス部材1a,15aの開口端部に対するブーツ9,19の係合に関して、円周方向溝7,17に対するブーツ大端側取付け部10,20の係合状態は同一であるが、マウス部材1aのテーパ部8に対するブーツ大端側取付け部11の係合状態は、マウス部材15aのストレート部18に対するブーツ大端側取付け部21の係合状態に比べて軸方向の固定保持力が強く、継手の使用状況において、マウス部材1aに対してブーツ大端側取付け部11が軸方向にずれにくい。そのため、テーパ部8を有するマウス部材1aとブーツ9の方が、より高いシール性を得ることができる。   On the other hand, regarding the engagement of the boots 9 and 19 with the open ends of the mouse members 1a and 15a, the engagement state of the boot large end side mounting portions 10 and 20 with respect to the circumferential grooves 7 and 17 is the same. The engagement state of the boot large end side attachment portion 11 with respect to the tapered portion 8 of 1a has a stronger axial holding force than the engagement state of the boot large end side attachment portion 21 with respect to the straight portion 18 of the mouse member 15a. In the usage state of the joint, the boot large end side attachment portion 11 is not easily displaced in the axial direction with respect to the mouse member 1a. Therefore, the mouth member 1a having the tapered portion 8 and the boot 9 can obtain higher sealing performance.

図6に、トラック溝23部の外周面に円周方向溝(7:図1参照)を設けない構造のマウス部材22aを示す。前述のとおり、図1の実施の形態では、継手の使用状況においてブーツ9の大端側取付け部10がマウス部材1aに対して軸方向にずれにくい。これに対して図6のマウス部材22aは、円周方向溝が設けられていないためブーツ25の大端側取付け部26がマウス部材22aに対してずれやすく、シール性が劣る。とはいえ、開口端部に向かって大きく拡大するテーパ部24とブーツ大端側取付け部27とが係合しているため、これによりブーツ大端側取付け部26のずれが防止されるという効果が期待できる。一方、図6の実施の形態におけるマウス部材22aは、トラック溝23部の外周面に円周方向溝がないのでマウス部材の開口端部付近に薄肉の部分がなく、図1の実施の形態におけるマウス部材1aよりも高い強度が得られる。したがって、継手の使用条件に応じて、円周方向溝を有しないマウス部材22aの構造を採用することも可能である。   FIG. 6 shows a mouse member 22a having a structure in which no circumferential groove (7: see FIG. 1) is provided on the outer peripheral surface of the track groove 23 portion. As described above, in the embodiment of FIG. 1, the large-end-side mounting portion 10 of the boot 9 is not easily displaced in the axial direction with respect to the mouse member 1 a in the usage state of the joint. On the other hand, the mouse member 22a of FIG. 6 is not provided with a circumferential groove, so that the large-end-side mounting portion 26 of the boot 25 is easily displaced with respect to the mouse member 22a, and the sealing performance is poor. Nevertheless, since the taper portion 24 that greatly expands toward the opening end and the boot large end side mounting portion 27 are engaged, this prevents the boot large end side mounting portion 26 from being displaced. Can be expected. On the other hand, the mouse member 22a in the embodiment of FIG. 6 does not have a circumferential groove on the outer peripheral surface of the track groove 23 portion, so there is no thin portion near the opening end of the mouse member, and in the embodiment of FIG. A strength higher than that of the mouse member 1a is obtained. Therefore, it is possible to adopt the structure of the mouse member 22a that does not have the circumferential groove according to the use condition of the joint.

図7ないし図9に、バーフィールド型等速自在継手に適用した実施の形態を示す。図示するように、マウス部材28aの開口端部は、トラック溝部29とテーパ部31が円周方向で交互に現れる。ここでもテーパ部31は隣接するトラック溝部29間に位置し、マウス部材28aの開口端側に向かって拡径している。トラック溝部29の外周面には円周方向溝30が設けてある。この実施の形態は、前述のトリポード型等速自在継手の実施の形態と同様に、冷間加工により成形しやすく、マウス部材28aの強度低下を抑えて継手の可動範囲を確保し、ブーツ(図示省略)のシール性を良好に保つことができる。図8および図9は、マウス部材28aに6本のトラック溝部29を設けた場合を例示しているが、トラック溝部29の数は6本に限らず5本あるいは8本など任意でよい。また、継手の使用条件に応じて、図6の実施の形態と同様、トラック溝部29の外周面に円周方向溝30を設けない構造を採用することも可能である。   7 to 9 show an embodiment applied to a Barfield type constant velocity universal joint. As shown in the drawing, the track groove portions 29 and the taper portions 31 appear alternately in the circumferential direction at the opening end portion of the mouse member 28a. Here too, the tapered portion 31 is located between the adjacent track groove portions 29 and has a diameter increasing toward the opening end side of the mouse member 28a. A circumferential groove 30 is provided on the outer peripheral surface of the track groove portion 29. This embodiment, like the above-described tripod type constant velocity universal joint, is easy to be formed by cold working, suppresses a decrease in strength of the mouse member 28a, secures a movable range of the joint, and boots (illustrated). (Omitted) sealability can be kept good. 8 and 9 illustrate the case where the six track groove portions 29 are provided in the mouse member 28a, but the number of the track groove portions 29 is not limited to six and may be five or eight. Further, a structure in which the circumferential groove 30 is not provided on the outer peripheral surface of the track groove portion 29 can be employed in accordance with the use condition of the joint, as in the embodiment of FIG.

以上に本発明の実施例を解説したが、本発明の等速自在継手は上記した実施の形態に限定されるものではなく、本発明の主旨を逸脱しない範囲内において種々変更を加え得ることは勿論である。   Although the embodiments of the present invention have been described above, the constant velocity universal joint of the present invention is not limited to the above-described embodiments, and various modifications can be made without departing from the scope of the present invention. Of course.

発明の実施の形態を示すトリポード型等速自在継手の縦断面図である。It is a longitudinal cross-sectional view of the tripod type constant velocity universal joint which shows embodiment of invention. 図1の継手の側面図である。It is a side view of the coupling of FIG. 図1のIII−III断面図である。FIG. 3 is a sectional view taken along line III-III in FIG. 1. 作動角をとった状態の図1の継手の縦断面図である。It is a longitudinal cross-sectional view of the joint of FIG. 1 in a state where the operating angle is taken. 比較例を示す図4と類似の継手の縦断面図である。It is a longitudinal cross-sectional view of the joint similar to FIG. 4 which shows a comparative example. 別の実施の形態を示す図4と類似の継手の縦断面図である。It is a longitudinal cross-sectional view of the coupling similar to FIG. 4 which shows another embodiment. 別の実施の形態を示すバーフィールド型等速自在継手の縦断面図であって図8のVII−VII断面にあたる。It is a longitudinal cross-sectional view of the Barfield type constant velocity universal joint which shows another embodiment, Comprising: It corresponds to the VII-VII cross section of FIG. 図7の継手の側面図である。It is a side view of the coupling of FIG. 図7のIX−IX断面図である。It is IX-IX sectional drawing of FIG. マウス部材とステム部材を接合する方法を説明するための縦断面図であって、Aはかしめ前、Bはかしめ後を示す。It is a longitudinal cross-sectional view for demonstrating the method to join a mouse member and a stem member, Comprising: A shows before caulking and B shows after caulking. A、Bはマウス部材の側面図である。A and B are side views of the mouse member. マウス部材とステム部材を接合する別の方法を説明するための縦断面図であって、Aはかしめ前、Bはかしめ後を示す。It is a longitudinal cross-sectional view for demonstrating another method of joining a mouse member and a stem member, Comprising: A shows before caulking and B shows after caulking.

符号の説明Explanation of symbols

1 外側継手部材
1a,15a,22a,28a マウス部材
1b ステム部材
2 シャフト
3 トリポード部材
4 ニードルローラ
5 リング
6,23,29 トラック溝部
7,17,30 円周方向溝
8,24,31 テーパ部
9,19,25 ブーツ
DESCRIPTION OF SYMBOLS 1 Outer joint member 1a, 15a, 22a, 28a Mouse member 1b Stem member 2 Shaft 3 Tripod member 4 Needle roller 5 Ring 6, 23, 29 Track groove part 7, 17, 30 Circumferential groove 8, 24, 31 Tapered part 9 , 19, 25 Boots

Claims (3)

冷間加工により成形した薄肉のマウス部材とステム部材とを接合してなる外側継手部材であって、前記マウス部材が、一端にて開口し、円周方向に複数配置された軸方向に延びるトラック溝部を有し、隣接するトラック溝部間に、開口端側に向かって拡径したテーパ部を設けたことを特徴とする等速自在継手の外側継手部材。   An outer joint member formed by joining a thin mouse member formed by cold working and a stem member, wherein the mouse member opens at one end, and a plurality of tracks extending in the axial direction are arranged in the circumferential direction. An outer joint member of a constant velocity universal joint, characterized in that it has a groove portion, and a tapered portion whose diameter is enlarged toward the opening end side is provided between adjacent track groove portions. 前記テーパ部は、前記マウス部材の一部として冷間加工により一体に成形されることを特徴とする請求項1の等速自在継手の外側継手部材。   The outer joint member of a constant velocity universal joint according to claim 1, wherein the tapered portion is integrally formed by cold working as a part of the mouse member. 前記トラック溝部の外周面に、ブーツを固定するための円周方向に走る溝を形成したことを特徴とする請求項2の等速自在継手の外側継手部材。   The outer joint member of the constant velocity universal joint according to claim 2, wherein a groove running in a circumferential direction for fixing a boot is formed on an outer peripheral surface of the track groove portion.
JP2004117084A 2004-04-12 2004-04-12 Outside joint member of uniform velocity universal joint Withdrawn JP2005299799A (en)

Priority Applications (1)

Application Number Priority Date Filing Date Title
JP2004117084A JP2005299799A (en) 2004-04-12 2004-04-12 Outside joint member of uniform velocity universal joint

Applications Claiming Priority (1)

Application Number Priority Date Filing Date Title
JP2004117084A JP2005299799A (en) 2004-04-12 2004-04-12 Outside joint member of uniform velocity universal joint

Publications (1)

Publication Number Publication Date
JP2005299799A true JP2005299799A (en) 2005-10-27

Family

ID=35331573

Family Applications (1)

Application Number Title Priority Date Filing Date
JP2004117084A Withdrawn JP2005299799A (en) 2004-04-12 2004-04-12 Outside joint member of uniform velocity universal joint

Country Status (1)

Country Link
JP (1) JP2005299799A (en)

Cited By (2)

* Cited by examiner, † Cited by third party
Publication number Priority date Publication date Assignee Title
JP2010017729A (en) * 2008-07-08 2010-01-28 Ntn Corp Die device for forging outside joint member and method of manufacturing outside joint member
JP2013046934A (en) * 2012-12-03 2013-03-07 Ntn Corp Die apparatus for forging outside joint member, and method for manufacturing outside joint member

Cited By (2)

* Cited by examiner, † Cited by third party
Publication number Priority date Publication date Assignee Title
JP2010017729A (en) * 2008-07-08 2010-01-28 Ntn Corp Die device for forging outside joint member and method of manufacturing outside joint member
JP2013046934A (en) * 2012-12-03 2013-03-07 Ntn Corp Die apparatus for forging outside joint member, and method for manufacturing outside joint member

Similar Documents

Publication Publication Date Title
JP5394078B2 (en) Outer joint member of fixed type constant velocity universal joint
EP1975423B1 (en) Hollow power transmission shaft
JP3670714B2 (en) Joint structure of constant velocity joint outer ring and shaft
JP2005299799A (en) Outside joint member of uniform velocity universal joint
JP2011231792A (en) Sliding constant velocity universal joint, and ironing process method of outer joint member thereof
JP2009180315A (en) Power transmitting shaft and shaft assembly
US7056218B2 (en) Elastic shaft coupling and method of manufacturing coupling element
JP2007032760A (en) Constant velocity universal joint and its inside member
KR20140024080A (en) Universal joint for vehicle and manufacturing method thereof
JP2007075824A (en) Hollow shaft
JP5283832B2 (en) Constant velocity universal joint
JP6026096B2 (en) Manufacturing method of outer joint member
JP2012077857A (en) Double offset type constant velocity joint
JP2005098450A (en) Outside joint member of constant velocity universal joint and manufacturing method thereof
EP1850024B1 (en) Constant velocity universal joint and boot for the same
JP2008286308A (en) Constant velocity universal joint
JP2009264535A (en) Fixed type constant velocity universal joint
JP4554299B2 (en) Method for manufacturing hollow power transmission shaft
JP4896662B2 (en) Fixed constant velocity universal joint
JP2008051190A (en) Fixed type constant velocity universal joint
KR200426930Y1 (en) Ring gear body for automatic transmission
JP2008051189A (en) Fixed-type constant-speed universal joint
JP2008101656A (en) Fixed type constant velocity universal joint
JP4574164B2 (en) Gear and gear manufacturing method
JP4896673B2 (en) Fixed constant velocity universal joint and manufacturing method thereof

Legal Events

Date Code Title Description
A300 Withdrawal of application because of no request for examination

Free format text: JAPANESE INTERMEDIATE CODE: A300

Effective date: 20070703