JP2005299636A - カスケードインピンジメント冷却式翼形部 - Google Patents

カスケードインピンジメント冷却式翼形部 Download PDF

Info

Publication number
JP2005299636A
JP2005299636A JP2005030720A JP2005030720A JP2005299636A JP 2005299636 A JP2005299636 A JP 2005299636A JP 2005030720 A JP2005030720 A JP 2005030720A JP 2005030720 A JP2005030720 A JP 2005030720A JP 2005299636 A JP2005299636 A JP 2005299636A
Authority
JP
Japan
Prior art keywords
cooling
cascade
airfoil
cooling circuit
impingement
Prior art date
Legal status (The legal status is an assumption and is not a legal conclusion. Google has not performed a legal analysis and makes no representation as to the accuracy of the status listed.)
Pending
Application number
JP2005030720A
Other languages
English (en)
Inventor
Ching-Pang Lee
チン−パン・リー
Aspi Rustom Wadia
アスピ・ラストン・ワディア
David Glenn Cherry
デビット・グレン・チェリー
Current Assignee (The listed assignees may be inaccurate. Google has not performed a legal analysis and makes no representation or warranty as to the accuracy of the list.)
General Electric Co
Original Assignee
General Electric Co
Priority date (The priority date is an assumption and is not a legal conclusion. Google has not performed a legal analysis and makes no representation as to the accuracy of the date listed.)
Filing date
Publication date
Application filed by General Electric Co filed Critical General Electric Co
Publication of JP2005299636A publication Critical patent/JP2005299636A/ja
Pending legal-status Critical Current

Links

Images

Classifications

    • FMECHANICAL ENGINEERING; LIGHTING; HEATING; WEAPONS; BLASTING
    • F01MACHINES OR ENGINES IN GENERAL; ENGINE PLANTS IN GENERAL; STEAM ENGINES
    • F01DNON-POSITIVE DISPLACEMENT MACHINES OR ENGINES, e.g. STEAM TURBINES
    • F01D5/00Blades; Blade-carrying members; Heating, heat-insulating, cooling or antivibration means on the blades or the members
    • F01D5/12Blades
    • F01D5/14Form or construction
    • F01D5/18Hollow blades, i.e. blades with cooling or heating channels or cavities; Heating, heat-insulating or cooling means on blades
    • F01D5/187Convection cooling
    • YGENERAL TAGGING OF NEW TECHNOLOGICAL DEVELOPMENTS; GENERAL TAGGING OF CROSS-SECTIONAL TECHNOLOGIES SPANNING OVER SEVERAL SECTIONS OF THE IPC; TECHNICAL SUBJECTS COVERED BY FORMER USPC CROSS-REFERENCE ART COLLECTIONS [XRACs] AND DIGESTS
    • Y02TECHNOLOGIES OR APPLICATIONS FOR MITIGATION OR ADAPTATION AGAINST CLIMATE CHANGE
    • Y02TCLIMATE CHANGE MITIGATION TECHNOLOGIES RELATED TO TRANSPORTATION
    • Y02T50/00Aeronautics or air transport
    • Y02T50/60Efficient propulsion technologies, e.g. for aircraft

Landscapes

  • Engineering & Computer Science (AREA)
  • Mechanical Engineering (AREA)
  • General Engineering & Computer Science (AREA)
  • Turbine Rotor Nozzle Sealing (AREA)

Abstract

【課題】 本発明は、カスケードインピンジメント冷却式翼形部を提供する。
【解決手段】 タービンブレード(10)は、対向する前縁及び後縁(22、24)において互いに接合されかつ根元(26)から先端(28)まで長手方向に延びる対向する正圧及び負圧側壁(18、20)を有する翼形部(12)を含む。複数の独立した冷却回路(34〜38)が、翼形部の正圧及び負圧側壁(18、20)に沿って対応して該翼形部内部に配置される。各冷却回路(34〜38)は、ダブテール(14)を貫通した入口チャネル(40〜44)を含む。冷却回路の1つ(34)は、翼形部の内面をカスケードインピンジメント冷却するためのインピンジメント孔(50)の列を各々が含む対応する有孔隔壁(48)によって分離された複数の長手方向のカスケードチャネル(46)を含む。
【選択図】 図2

Description

本発明は、総括的にはガスタービンエンジンに関し、より具体的には、タービン翼形部の冷却に関する。
ガスタービンエンジンでは、空気が、圧縮機内で加圧され、燃焼器内で燃料と混合されて高温燃焼ガスを発生する。エネルギーが、高圧タービンで燃焼ガスから取り出され、高圧タービンは圧縮機に動力を供給し、さらに低圧タービンで取り出され、低圧タービンは典型的なターボファン式航空機エンジン用途でのファンを駆動するような出力を生成する。
高圧タービンは、最初に最も高温の燃焼ガスを受けるので、一般的にその耐久性及び寿命を高めるために冷却される。高圧タービンノズルは、最初に、支持ロータディスクから半径方向外向きに延びる第1の高圧タービンロータブレードの列内に高温燃焼ガスを向ける。
ベーン及びブレードは、燃焼ガスからエネルギーを効率的に取り出すために適当な翼形部構成を有する。ベーン翼形部は、中空であり、その半径方向外端部及び内端部において対応する固定ステータバンドに適当に支持される。
各タービンブレードは、中空の翼形部と一体形支持ダブテールとを含み、ダブテールは、タービンブレードを保持するためにロータディスクの周囲の対応するダブテールスロット内に取付けられる。ロータブレードの列は、運転時に支持ディスク上で回転し、燃焼ガスからエネルギーを取り出してエンジン圧縮機を駆動する。
タービンノズルベーン及びタービンロータブレードの両方は、運転時に圧縮機から抽気した冷却空気をそれらベーン及びロータに供給することによって適当に冷却される必要がある。エンジンの効率及び性能を最大にするために、圧縮機から抽気される冷却空気の量を最小限にすることが望ましい。
従って、ステータベーン及びロータブレードの冷却構成は、それらの過去何十年にもわたる継続的な開発により極めて精巧かつ難解なものになっている。これらの構成部品の冷却構成における軽微な変更が、それらの冷却性能に大きな影響を及ぼし、またそのことが次にエンジン全体の効率及び性能に大きな影響を及ぼすことになる。
ベーン及びブレードの翼形部は、類似の冷却特徴形状を使用することができるが、ベーンは静止しているのに対してブレードは運転時に回転して大きな遠心力を受けるので、ベーン及びブレードの異なる構成及びそれらの異なる作動に合わせて適当に修正した状態で使用することになる。
ベーン及びブレードの中空の翼形部は、一般的にその中に1つ又はそれ以上の独立した冷却回路の形態で多数の半径方向又は長手方向に延びる冷却チャネルを有する。チャネルは、一般的に冷却プロセスの間に熱伝達を高めるために冷却空気をトリップさせる、翼形部の内面に沿った小さなリブ又はタービュレータを含む。
典型的な冷却回路は、冷却空気が冷却回路から吐出される前に蛇行脚部を通って連続して流れて翼形部の異なる部分を冷却するようになった蛇行回路を含む。
ベーン及びブレードは、一般的にそれらの正圧及び負圧側壁を貫通する様々なフィルム冷却孔の列を含み、これらのフィルム冷却孔の列は、運転時にベーン及びブレード上を流れる高温燃焼ガスからの付加的な断熱又は保護を与える対応するフィルムの形態で使用済み冷却空気を吐出する。
さらに別の従来の冷却構成は、ノズルベーンの内面をインピンジメント冷却するための、該ノズルベーン内部に配置された別体のインピンジメントバッフル又はインサートを含む。バッフルは、一般的にベーンの内面をインピンジメント冷却するために該ベーンの内面に垂直に冷却空気を向ける多数の小さなインピンジメント孔を含む。使用済みインピンジメント冷却空気は、その後、様々なフィルム冷却孔を通してベーンから吐出される。
タービンロータブレードのインピンジメント冷却は、運転時にブレードが回転するので遠心力の付加的な問題を提起する。従って、タービンロータブレードは、一般的に、別体のインピンジメントバッフルは実用的でなくかつ現在では最新のガスタービンエンジンの著しく長い寿命要件を満たすことができないので、その中で別体のインピンジメントバッフルを使用しない。
その代わりに、タービンロータブレードをインピンジメント冷却することは、一般的にブレードの前縁或いは正圧又は負圧側壁のようなブレードの狭い領域に限定される。インピンジメント冷却は、1つ又はそれ以上のインピンジメント孔の列を有する専用の一体形ブリッジ又は隔壁を翼形部内に組み入れることによって導入される。タービンロータブレードは、一般的に、同時に内部冷却回路及び局所的インピンジメント冷却チャネルを形成する鋳造によって製造される。
タービンロータブレード内に有意なインピンジメント冷却を導入することができることは、ノズルステータベーンにはない基本的な問題である。また、インピンジメント冷却は、結果として冷却空気の大きな圧力降下を生じ、従って、運転時に翼形部の内側及び外側間に対応する駆動圧力を必要とする。
燃焼ガスが翼形部の正圧及び負圧側面上を流れるときに燃焼ガスの圧力分布はそれら側面に沿って変化するので、タービンロータブレード内へのインピンジメント冷却の導入は、一般的な方法でブレードダブテールを通して最初に受けた冷却空気の共通入口圧力に対してブレード外側の吐出圧力が異なることに対処しなければならない。
特開2000−161003号公報
従って、改良したインピンジメント冷却をその中に有するタービンロータブレードを提供することが望ましい。
タービンブレードは、対向する前縁及び後縁において互いに接合されかつ根元から先端まで長手方向に延びる対向する正圧及び負圧側壁を有する翼形部を含む。複数の独立した冷却回路が、翼形部の正圧及び負圧側壁に沿って対応して該翼形部内部に配置される。各冷却回路は、ダブテールを貫通した入口チャネルを含む。冷却回路の1つは、翼形部の内面をカスケードインピンジメント冷却するためのインピンジメント孔の列を各々が含む対応する有孔隔壁によって分離された複数の長手方向のカスケードチャネルを含む。
本発明を、好ましくかつ例示的な実施形態によって、更なる目的及び利点と共に、添付の図面と関連させた以下の詳細な説明においてより具体的に説明する。
図1に示すのは、ターボファン式航空機エンジン(図示せず)のような従来のガスタービンエンジン内で用いるガスタービンロータブレード10である。ブレード自体は、一般的に従来の鋳造法を用いて製造され、プラットホーム16において支持ダブテール14に一体形に結合された翼形部12を含む。
翼形部は、翼弦方向に対向する前縁及び後縁22、24において互いに一体形に接合されたほぼ凹面形の正圧側壁18と円周方向に対向するほぼ凸面形の負圧側壁20とを含む。翼形部はまた、プラットホーム16における半径方向内側根元26から半径方向に対向する先端28まで長手方向又は半径方向に延びる。
運転時、ブレードは、ダブテール14を相補形のダブテールスロットに捕捉することによって支持ロータディスク(図示せず)内に取付けられる。このようにして、回転作動中にブレードに発生する遠心力は、ダブテールのローブ又はタングを通して支持ロータディスクで支持される。
高温燃焼ガス30は、燃焼器(図示せず)内で生成されて翼形部の外面上を流れ、翼形部が、ロータディスクを回転させるためのエネルギーを燃焼ガスから取り出す。上で指摘したように、タービンロータブレードは、その耐久性及び長い有効寿命を確保するために冷却を必要とし、冷却空気32が運転時にエンジンの高圧圧縮機(図示せず)から適当に抽気される。
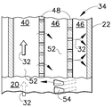
翼形部12は、図2により詳細に示しており、翼形部の内部に配置されて該翼形部の根元から先端まで長手方向に延びる複数の独立した冷却回路34、36、38を含む。例示的な3つの冷却回路は、正圧及び負圧側壁18、20に沿って対応して延び、各回路はそれ独自の独立した入口チャネル40、42、44を含む。3つの入口チャネルは、図1に示すように、翼形部内で根元から先端の直ぐ下方まで長手方向外向きに延び、かつプラットホーム及びダブテールを貫通して内向きにダブテールの底面まで延びて、エンジン圧縮機からダブテール底面に適当に導かれた加圧冷却空気32を受けるようになっている。
冷却回路34の第1の回路は、図2及び図3に示しており、翼形部の根元から先端まで長手方向に延びかつブリッジ48の対応する有孔隔壁によって軸方向又は翼弦方向に分離された複数のカスケード流れチャネル46を含む。各ブリッジは、それを貫通して斜めに延びる長手方向のインピンジメント孔50の列を含み、インピンジメント孔50の列は、第1の入口チャネル40を通して受けた同じ空気32を用いて翼形部の内面を順次にカスケードインピンジメント冷却する。
従って、第1のカスケード冷却回路34は、前縁の後方で翼形部の翼弦中央付近で始まり、負圧側壁20に沿って前方に延びて、前縁22の直ぐ後方又は前縁22で終わるのが好ましい。第1の回路34は、第1の入口チャネル40と好ましくは2つのカスケードチャネル46を含み、2つの対応する有孔隔壁48を有する。従って、冷却空気32は、3つのチャネルを通って順次に流れ、翼形部の半径方向スパンにわたって延びる対応するカスケード内に2つの逐次的段階のインピンジメント冷却を行い、最後に翼形部前縁22の背後を直接インピンジメント冷却する。
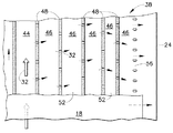
図2及び図4に示すように、第2の冷却回路36もまた、翼形部の根元から先端まで長手方向に延びかつ対応する有孔隔壁48によって翼弦方向に分離された複数のカスケードチャネル46を含むカスケード冷却回路であるのが好ましい。それらの隔壁の各々も、同様に、翼弦方向に翼形部内面に沿って該翼形部内面をカスケードインピンジメント冷却する長手方向のインピンジメント孔50の列を含む。
図2に最も良く示すように、第1のカスケード回路34は、負圧側壁20に沿って配置されて前縁22で終わる。第2のカスケード回路36は、第1の回路の後方で正圧側壁18に沿って延びて適当に後縁24の前方で終わる。
図2及び図5に示す例示的な実施形態では、第3の冷却回路38もまた、同様に構成されたカスケード冷却回路であり、翼形部の根元と先端との間で長手方向に延びかつ対応する有孔隔壁48によって翼弦方向に分離された複数のカスケード流れチャネル46を含む。それらの隔壁の各々は、翼弦方向に翼形部内面に沿って該翼形部内面をカスケードインピンジメント冷却するための長手方向のインピンジメント孔50の列を含む。
図2に示す第3のカスケード回路38は、第1の回路34の後方で翼形部の翼弦中央付近で始まり、負圧側壁20に沿って延びて後縁24で終わる。従って、第2及び第3のカスケード回路36及び38は、第1のカスケード回路34の後方に配置され、翼形部の2つの対向する側面18、20に沿って並行して延びて両方とも後縁24で又は後縁24付近で終わる。
図2に示す第2のカスケード回路36は、3つの有孔隔壁48の対応するインピンジメント孔50を通してカスケードチャネル46の3つに順次に冷却空気32を供給するそれ自体の第2の入口チャネル42を含む。
これに対して、第3のカスケード回路38は、該回路の5つの有孔隔壁48の対応するインピンジメント孔50の列を通して5つのカスケードチャネル46に順次に冷却空気32を供給するそれ自体の第3の入口チャネル44を含む。
従って、図2に示す単一の翼形部は、3つの独立した別個の冷却回路34、36、38を含み、それら回路の3つは全て、正圧及び負圧側壁のそれらのそれぞれの部分をカスケードインピンジメント冷却するよう構成されることが好ましい。
従って、3つの冷却回路34〜38は、対応する側壁18、20に沿って対応する無孔のブリッジ又は隔壁52によって互いに分離される。無孔隔壁52は、翼形部のスパンに沿って該翼形部の根元と先端との間で延びて、3つの冷却回路を分離した状態に維持する。図2に示す第1の回路34は、前縁22の直ぐ後方の正圧側壁18から負圧側壁のハンプにおける翼形部の最大幅付近の負圧側壁20まで延びた整列しかつ同一平面にある隔壁52によって第2及び第3の回路36、38から分離される。
これに対して、第2及び第3の冷却回路36、38は、翼形部の対向する正圧及び負圧側壁に沿って第1の回路から軸方向又は翼弦方向後方に後縁まで並行して延びて、それら回路の多数のカスケードチャネルは、翼形部がその比較的薄い後縁に向かって収束するすなわち次第に薄くなるにつれて、横幅が収束する。4つの無孔隔壁52は、翼形部の反り又は翼形中心線に沿って延びて、第2及び第3の回路を互いに対称に分離する。
図2に示す3つの入口チャネル40〜44は、該入口チャネルと流れ連通状態で配置された対応するカスケードチャネル46に冷却空気を分配し、それらの3つの入口チャネル自体は、その領域の翼形部をインピンジメント冷却しない。
しかしながら、3つの入口チャネルは、翼形部の最大幅領域内で互いにグループ分けされかつ互いに隣接して、全てがダブテールの底面の入口開口部から冷却空気32を並行して受けるのが好ましい。従って、3つの入口チャネル自体は、3つのカスケード冷却回路内に分配する前の最初に受けた冷却空気によって適切に冷却されることができる。
3つの入口チャネル40〜44は、前縁22との間に配置されたカスケードチャネル46の1つによって該前縁22から分離されるのが好ましい。例えば、第1の入口チャネル40は、第1の回路の2つのカスケードチャネル46によって前縁から分離される。第2の入口チャネル42は、第1の回路の最後のカスケードチャネル及び隣接する無孔隔壁52によって前縁22から分離される。また、第3の入口チャネル44は、第1の回路の2つのカスケードチャネル及び第2の入口チャネル42とさらに介在無孔隔壁52とによって前縁から分離される。
3つの入口チャネル40〜44は、別個のカスケード回路がそれら入口チャネルから外向きに分散配置された状態で、翼形部内部で互いにグループ分けされているので、様々なインピンジメント孔50は、それぞれの有孔隔壁48を適当に傾斜して貫通して、翼形部内面の対応する部分に対して冷却空気32を斜めに衝突(インピンジメント)させる。インピンジメント孔の傾斜角度は、翼形部外面の対応する凹面形及び凸面形部分に対するそれぞれの冷却回路内の有孔隔壁の角度配向の関数として変化する。
第1のインピンジメント孔50の列は、翼形部の内面に対して流入冷却空気を最初に衝突させてインピンジメント冷却効力を最大にするように、そのそれぞれの隔壁を傾斜して貫通するのが好ましい。
3つの回路の各々の第1のカスケードチャネル内の使用済みインピンジメント空気は、その後、次のインピンジメント孔の列を通して第2のすなわち次に続くカスケードチャネル内に吐出される。第2のチャネルのためのインピンジメント孔は、翼形部内面の次の部分に対する空気のインピンジメント冷却を最大にするように隔壁内で適当に傾斜している。その結果、カスケード方式では、インピンジメント孔は、冷却空気をチャネルからチャネルへと移送し、翼形部の内面の次に続く部分を繰り返しインピンジメント冷却するように隔壁内で適当に傾斜される。
このようにして、同じ冷却空気を順次にすなわち逐次的に使用して、3つの冷却回路の範囲に沿って翼形部の内面の対応する部分をカスケードインピンジメント冷却する。有孔及び無孔の隔壁48、52の両方は、共通に鋳造した翼形部の一体形部分であり、運転時に発生する大きな遠心荷重に耐えるような大きな強度に恵まれる。また、カスケードインピンジメント冷却は、固定タービンノズルベーンに一般的に見られるような独立したインピンジメントバッフルの必要なしに、インピンジメント冷却を普通の翼形部に導入することができる適用表面積範囲を増大するように多数の隔壁から行われる。
従って、カスケードチャネル46は、正圧側壁18又は負圧側壁20のいずれかに沿って或いは好ましい実施形態では両方に沿って前縁及び後縁22、24間で翼形部の根元から先端まで翼形部をカスケードインピンジメント冷却するように、対応する入口チャネル40〜44から順次に配置される。カスケードインピンジメント冷却は、翼形部に行うあらゆる外部冷却とは独立して、翼形部の内面の冷却を高める。
例えば、図2及び図3に示す負圧側壁20は、第1の回路34の最後のチャネルと流れ連通した状態で配置された1つのフィルム冷却孔54の列を含むことができる。別のフィルム冷却孔54の列もまた、正圧側壁18を貫通して第1の回路34の最後のチャネルと流れ連通した状態で配列することができる。このように、2つのフィルム冷却孔54の列は、第1の冷却回路に対して翼形部の正圧及び負圧側面に沿ってフィルムの形態で使用済みインピンジメント空気を吐出するための出口を構成して、翼形部を従来と同様にフィルム冷却する。
同様に、図2に示す正圧側壁18は、第2の冷却回路36の最後のチャネルと流れ連通した状態で配置された別のフィルム冷却孔54の列を含むことができ、この別のフィルム冷却孔54の列は、第2の冷却回路36に対する出口を構成して該出口から下流の正圧側壁上に追加の冷却空気フィルムを形成するようにする。
図2に示す第3の回路38は、後縁24に沿って任意の従来の構成で配置された、第3の回路から使用済みインピンジメント空気を吐出するための後縁出口孔56の列で終わることができる。
図2に示す正圧及び負圧側壁18、20は、3つの入口チャネル40〜44に沿って無孔であり、流入冷却空気の全てが3つの回路自体のカスケードチャネルを通って別々に吐出されることができるようになるのが好ましい。
図2に示す好ましい実施形態では、正圧及び負圧側壁18、20は、上に開示した対応する出口孔54、56の列を有する対応する最後のチャネルを除いて3つのカスケード冷却回路34〜38に沿って無孔である。別の実施形態では、正圧又は負圧側壁内に或いは両方にカスケードチャネルの様々なチャネルと流れ連通した状態で追加のフィルム冷却孔の列を設けて、翼形部への熱負荷の局所的変化に適合させることができる。様々な冷却回路はまた、側壁の内面に沿って、可能な部位の熱伝達を高めるための従来型の短形リブ又はタービュレータを含むことができる。
図1〜図5に示す好ましい実施形態では、3つの冷却回路34、36、38全ては、複数のカスケードチャネル46、それらの有孔隔壁48及び対応するインピンジメント孔50の列を有するカスケードインピンジメント冷却回路の形態である。このように、インピンジメント冷却を受ける翼形部壁の内面積は、その中の隔壁及び対応する流れチャネルの数を必要以上に多くせずに最大にすることができる。
図6及び図7は、図1〜図5に示す翼形部12の変更形態を概略的に示す。図6及び図7に示す両方の実施形態では、概略的に示す第1、第2及び第3のカスケード冷却回路34、36、38は、図1〜図5におけるそれらの対応部分と同一である。しかしながら、上述のように3つの冷却回路全てがカスケード冷却回路の形態であるのではなくて、それらのカスケード回路のいずれか1つを代わりに、端部と端部とを接して配列して従来の形態の連続した蛇行チャネルを形成した冷却回路の複数の長手方向チャネルを有するように変更することができる。
より具体的には、図6に示す別の実施形態では、上述のような第1及び第3のカスケード冷却回路34、38を含み、第2のカスケード回路は、長手方向チャネルが典型的な連続した蛇行チャネルの方式で第2の入口チャネル42から端部と端部とを接して配置された蛇行冷却回路58によって置き換えられる。この構成では、2番目のカスケード回路38は、翼形部負圧側壁20に沿って配置され、また蛇行回路58は、カスケード回路38と並行して翼形部正圧側壁18に沿って配置される。
同様に、図7は、第1のカスケード回路34及び第2のカスケード回路36が、図1〜図5に関して上に開示したものと同一である別の実施形態を示す。第3のカスケード回路は、その長手方向チャネルが第3の入口チャネル44から端部と端部とを接して配列されて連続した蛇行チャネルを形成した別の蛇行冷却回路60によって置き換えられる。この実施形態では、第2のカスケード回路36は、翼形部正圧側壁18に沿って配置され、また蛇行チャネル60は、翼形部負圧側壁20に沿って第2のカスケード回路36と並行して配置される。
図6の実施形態では、正圧側の蛇行チャネル58は、最後の流れチャネル内にインピンジメントの形態で冷却空気を吐出する任意の従来型構成の3経路蛇行チャネルである。図7の実施形態では、負圧側の蛇行チャネル60は、同様に最後の流れチャネル内にインピンジメントの形態で冷却空気を吐出する任意の従来型構成の5経路蛇行チャネルである。
上で指摘したように、タービンロータブレード、特に第1段高圧タービンロータブレードは、燃焼器から吐出される最も高温の燃焼ガスに曝される。ロータブレードの異なった構成の正圧及び負圧側面は、運転時にその上を流れる燃焼ガスから異なった熱負荷を受ける。翼形部を上述の複数の冷却回路に分割することができることにより、翼形部の異なる部分の対応する熱負荷に対する要求に応じて翼形部の冷却効力を調整することが可能になる。
カスケードインピンジメント冷却回路34〜38は、翼形部の異なる部分において、逐次的なすなわちカスケード式のインピンジメント冷却のための表面積を局所的に最大にするのが望ましい場所に用いることができる。カスケード回路は、翼形部への外部的熱負荷に適合させるのが望ましい場所で上述のような独立した蛇行冷却回路と組み合わせることができる。また、その他のタイプの従来の冷却回路を同様に上述のカスケード冷却回路の1つ又はそれ以上と共に使用して、利点を得ることができる。
上で指摘したように、インピンジメント冷却は、インピンジメント空気がインピンジメントの各段階において対応するインピンジメント孔の列を通して吐出された時に大きな圧力降下を生じる。インピンジメントの次に続く段階は、冷却空気の付加的な圧力降下を生じる。また、逐次的なすなわちカスケード式のインピンジメント段階の数は、翼形部外部の燃焼ガスの局所的圧力に対する入口冷却空気の利用可能な圧力によって制限される。
図2に示す例示的な実施形態では、3つのカスケード回路は、前縁の後方で翼形部の最大幅付近で始まり、第1の回路34が前縁付近で終わり、また第2及び第3の回路36、38は後縁24付近又は後縁24で終わる。
2段階の第1の回路34は、フィルム冷却孔54から正圧及び負圧側壁に沿って吐出される前に2回のインピンジメント空気圧力降下を受ける。
第2のカスケード回路36は、出口孔54から吐出される前に3つのインピンジメント冷却の段階において3回の圧力降下を受ける。また、第3のカスケード回路38は、出口孔56から吐出される前に逐次的インピンジメント冷却の段階において5回の圧力降下を受ける。
第2及び第3のカスケード回路36、38は、普通、翼形部後縁24付近で使用済みインピンジメント空気を吐出するので、第2及び第3のカスケード回路36、38は、この領域での燃焼ガスの外部圧力の低下の利点に恵まれて、第1の入口空気と出口空気との間の圧力降下を最大にする。
上述の様々なカスケードインピンジメント冷却回路は、その圧縮機がタービンロータブレードを通してのカスケードインピンジメント冷却における複数回の圧力降下に適応するのに十分な高圧冷却空気を発生する高性能ガスタービンエンジンにおいて特に有利に用いることができる。カスケードインピンジメント冷却段階の数は、設計毎で変化させて他のタイプのガスタービンエンジンにおける利用可能な圧力降下に適応させることができる。
上述の様々なカスケード冷却回路は、そのカスケード冷却回路のために特別に構成されかつ鋳造プロセスのために互いに結合された3つのセラミックコアを用いてタービンブレードの形態で従来通りの方法で鋳造することができる。翼形部内の様々な出口孔は、ブレード自体の鋳造の後に任意の従来の穿孔法によって形成することができる。
本明細書では本発明の好ましくかつ例示的な実施形態であると考えられるものを説明してきたが、本明細書の教示から本発明の他の変更形態が当業者には明らかになるはずであり、従って、全てのそのような変更形態は本発明の技術思想及び技術的範囲内に属するものとして特許請求の範囲で保護されることが望まれる。
従って、本特許で保護されることを望むものは、特許請求の範囲に記載しかつ特定した発明である。
その中にカスケードインピンジメント冷却回路を有する例示的なガスタービンエンジンのタービンロータブレードの部分断面斜視図。 線2−2に沿って取った、図1に示す翼形部の一部の部分断面斜視図。 線3−3に沿って取った、図2に示す翼形部の前縁領域の側面断面図。 線4−4に沿って取った、図2に示す翼形部の正圧側面の一部の側面断面図。 線5−5に沿って取った、図2に示す翼形部の負圧側面の一部の側面断面図。 本発明の変更形態による、図2に示す翼形部の3つの冷却回路の概略図。 本発明の別の変更形態による、図2に示す翼形部の概略図。
符号の説明
10 ガスタービンロータブレード
12 翼形部
14 支持ダブテール
16 プラットホーム
18 正圧側壁
20 負圧側壁
22 前縁
24 後縁
26 根元
28 先端
30 高温燃焼ガス
32 冷却空気
34、36、38 冷却回路
40、42、44 入口チャネル
46 カスケードチャネル
48 有孔隔壁
50 インピンジメント孔
52 無孔隔壁
54 フィルム冷却孔
56 出口孔

Claims (10)

  1. 支持ダブテール(14)に一体形に結合され、翼弦方向に対向する前縁及び後縁(22、24)において互いに接合されかつ根元(26)から先端(28)まで長手方向に延びる対向する正圧及び負圧側壁(18、20)を含む翼形部(12)と、
    前記正圧及び負圧側壁(18、20)に沿って対応して前記翼形部内部に配置され、かつ前記ダブテール(14)を貫通した入口チャネル(40〜44)と前記側壁(18、20)を貫通して対応する出口チャネルと流れ連通した出口孔(54、56)の列とを各々が含む複数の独立した冷却回路(34〜38)と、
    を含み、
    前記冷却回路の1つ(34)が、前記翼形部(12)の内面をカスケードインピンジメント冷却するためのインピンジメント孔(50)の列を各々が含む対応する有孔隔壁(48)によって分離された複数のカスケードチャネル(46)を含む、
    タービンブレード(10)。
  2. 前記冷却回路(34〜38)が、無孔隔壁(52)によって前記側壁(18、20)に沿って互いに分離され、
    前記入口チャネル(40〜44)が、前記前縁(22)との間に配置された前記カスケードチャネル(46)の1つによって前縁から分離されている、請求項1記載のブレード。
  3. 前記入口チャネル(40〜44)の各々が、その有孔隔壁(48)を傾斜して貫通して冷却空気を前記翼形部内面に対して斜めに衝突させる対応するインピンジメント孔(50)の列を含み、
    前記カスケードチャネル(46)が、前記対応する入口チャネル(40〜44)から前記正圧側壁(18)又は負圧側壁(20)のいずれか1つに沿って順次に配列されて、前記前縁及び後縁(22、24)間で前記側壁のいずれか1つをカスケードインピンジメント冷却するようになっている、
    請求項2記載のブレード。
  4. 前記冷却回路(34)の第1の回路が、前記負圧側壁(20)に沿って延びて前記前縁(22)で終わり、
    前記冷却回路(36)の第2の回路が、前記正圧側壁(18)に沿って延びて前記後縁(24)の前方で終わり、
    前記冷却回路(38)の第3の回路が、前記第1の冷却回路の後方でかつ前記第2の冷却回路(36)と並行して前記負圧側壁(20)に沿って延びて前記後縁(24)で終わっている、
    請求項3記載のブレード。
  5. 前記第1の冷却回路(34)がカスケードインピンジメント冷却回路を含む、請求項4記載のブレード。
  6. 前記第2の冷却回路(36)がカスケードインピンジメント冷却回路を含む、請求項4記載のブレード。
  7. 前記第3の冷却回路(60)が蛇行冷却回路を含む、請求項6記載のブレード。
  8. 前記第3の冷却回路(38)がカスケードインピンジメント冷却回路を含む、請求項4記載のブレード。
  9. 前記第2の冷却回路(58)が蛇行冷却回路を含む、請求項8記載のブレード。
  10. 前記第1、第2及び第3の冷却回路(34〜38)が各々、カスケード冷却回路を含み、また前記カスケード冷却回路の3つの入口チャネル(40〜44)が互いに隣接している、請求項4記載のブレード。
JP2005030720A 2004-04-08 2005-02-07 カスケードインピンジメント冷却式翼形部 Pending JP2005299636A (ja)

Applications Claiming Priority (1)

Application Number Priority Date Filing Date Title
US10/820,325 US7097426B2 (en) 2004-04-08 2004-04-08 Cascade impingement cooled airfoil

Publications (1)

Publication Number Publication Date
JP2005299636A true JP2005299636A (ja) 2005-10-27

Family

ID=34912716

Family Applications (1)

Application Number Title Priority Date Filing Date
JP2005030720A Pending JP2005299636A (ja) 2004-04-08 2005-02-07 カスケードインピンジメント冷却式翼形部

Country Status (3)

Country Link
US (1) US7097426B2 (ja)
EP (1) EP1584790A2 (ja)
JP (1) JP2005299636A (ja)

Cited By (5)

* Cited by examiner, † Cited by third party
Publication number Priority date Publication date Assignee Title
JP2007146842A (ja) * 2005-11-28 2007-06-14 Snecma ターボ機械の移動ブレードのための中央冷却回路
JP2007154892A (ja) * 2005-12-05 2007-06-21 General Electric Co <Ge> 平行蛇行冷却式ブレード
WO2007094212A1 (ja) * 2006-02-14 2007-08-23 Ihi Corporation 冷却構造
US8079815B2 (en) 2007-07-31 2011-12-20 Mitsubishi Heavy Industries, Ltd. Turbine blade
WO2012124578A1 (ja) * 2011-03-11 2012-09-20 株式会社Ihi タービン翼

Families Citing this family (59)

* Cited by examiner, † Cited by third party
Publication number Priority date Publication date Assignee Title
FR2887287B1 (fr) * 2005-06-21 2007-09-21 Snecma Moteurs Sa Circuits de refroidissement pour aube mobile de turbomachine
US7293961B2 (en) * 2005-12-05 2007-11-13 General Electric Company Zigzag cooled turbine airfoil
EP1881157B1 (en) 2006-07-18 2014-02-12 United Technologies Corporation Serpentine microcircuits for local heat removal
US7780413B2 (en) * 2006-08-01 2010-08-24 Siemens Energy, Inc. Turbine airfoil with near wall inflow chambers
US7549843B2 (en) * 2006-08-24 2009-06-23 Siemens Energy, Inc. Turbine airfoil cooling system with axial flowing serpentine cooling chambers
US7625178B2 (en) * 2006-08-30 2009-12-01 Honeywell International Inc. High effectiveness cooled turbine blade
GB2443638B (en) 2006-11-09 2008-11-26 Rolls Royce Plc An air-cooled aerofoil
US7690892B1 (en) * 2006-11-16 2010-04-06 Florida Turbine Technologies, Inc. Turbine airfoil with multiple impingement cooling circuit
US7674093B2 (en) * 2006-12-19 2010-03-09 General Electric Company Cluster bridged casting core
US7914257B1 (en) 2007-01-17 2011-03-29 Florida Turbine Technologies, Inc. Turbine rotor blade with spiral and serpentine flow cooling circuit
US7780415B2 (en) * 2007-02-15 2010-08-24 Siemens Energy, Inc. Turbine blade having a convergent cavity cooling system for a trailing edge
US7862299B1 (en) * 2007-03-21 2011-01-04 Florida Turbine Technologies, Inc. Two piece hollow turbine blade with serpentine cooling circuits
US7901181B1 (en) * 2007-05-02 2011-03-08 Florida Turbine Technologies, Inc. Turbine blade with triple spiral serpentine flow cooling circuits
US7854591B2 (en) * 2007-05-07 2010-12-21 Siemens Energy, Inc. Airfoil for a turbine of a gas turbine engine
US8210814B2 (en) * 2008-06-18 2012-07-03 General Electric Company Crossflow turbine airfoil
US8070442B1 (en) * 2008-10-01 2011-12-06 Florida Turbine Technologies, Inc. Turbine airfoil with near wall cooling
US8167558B2 (en) * 2009-01-19 2012-05-01 Siemens Energy, Inc. Modular serpentine cooling systems for turbine engine components
US8061990B1 (en) * 2009-03-13 2011-11-22 Florida Turbine Technologies, Inc. Turbine rotor blade with low cooling flow
GB0905736D0 (en) 2009-04-03 2009-05-20 Rolls Royce Plc Cooled aerofoil for a gas turbine engine
EP2256297B8 (en) * 2009-05-19 2012-10-03 Alstom Technology Ltd Gas turbine vane with improved cooling
US8398370B1 (en) * 2009-09-18 2013-03-19 Florida Turbine Technologies, Inc. Turbine blade with multi-impingement cooling
US8585365B1 (en) * 2010-04-13 2013-11-19 Florida Turbine Technologies, Inc. Turbine blade with triple pass serpentine cooling
US9022736B2 (en) 2011-02-15 2015-05-05 Siemens Energy, Inc. Integrated axial and tangential serpentine cooling circuit in a turbine airfoil
US9017025B2 (en) 2011-04-22 2015-04-28 Siemens Energy, Inc. Serpentine cooling circuit with T-shaped partitions in a turbine airfoil
US8882448B2 (en) 2011-09-09 2014-11-11 Siemens Aktiengesellshaft Cooling system in a turbine airfoil assembly including zigzag cooling passages interconnected with radial passageways
US8840363B2 (en) 2011-09-09 2014-09-23 Siemens Energy, Inc. Trailing edge cooling system in a turbine airfoil assembly
US9033652B2 (en) 2011-09-30 2015-05-19 General Electric Company Method and apparatus for cooling gas turbine rotor blades
US8840370B2 (en) 2011-11-04 2014-09-23 General Electric Company Bucket assembly for turbine system
US9314838B2 (en) * 2012-09-28 2016-04-19 Solar Turbines Incorporated Method of manufacturing a cooled turbine blade with dense cooling fin array
US9995148B2 (en) 2012-10-04 2018-06-12 General Electric Company Method and apparatus for cooling gas turbine and rotor blades
US8985949B2 (en) 2013-04-29 2015-03-24 Siemens Aktiengesellschaft Cooling system including wavy cooling chamber in a trailing edge portion of an airfoil assembly
GB201314222D0 (en) 2013-08-08 2013-09-25 Rolls Royce Plc Aerofoil
US9528381B2 (en) * 2013-12-30 2016-12-27 General Electric Company Structural configurations and cooling circuits in turbine blades
US10494929B2 (en) * 2014-07-24 2019-12-03 United Technologies Corporation Cooled airfoil structure
US10605094B2 (en) * 2015-01-21 2020-03-31 United Technologies Corporation Internal cooling cavity with trip strips
WO2016122483A1 (en) * 2015-01-28 2016-08-04 Siemens Aktiengesellschaft Turbine airfoil with trailing edge impingement cooling system
US10024171B2 (en) * 2015-12-09 2018-07-17 General Electric Company Article and method of cooling an article
US10119405B2 (en) 2015-12-21 2018-11-06 General Electric Company Cooling circuit for a multi-wall blade
US10060269B2 (en) 2015-12-21 2018-08-28 General Electric Company Cooling circuits for a multi-wall blade
US10053989B2 (en) 2015-12-21 2018-08-21 General Electric Company Cooling circuit for a multi-wall blade
US10196905B2 (en) * 2016-02-18 2019-02-05 Solar Turbines Incorporated Airfoil for turbomachine and method of cooling same
US10208606B2 (en) * 2016-02-29 2019-02-19 Solar Turbine Incorporated Airfoil for turbomachine and airfoil cooling method
US10731472B2 (en) 2016-05-10 2020-08-04 General Electric Company Airfoil with cooling circuit
US10415396B2 (en) 2016-05-10 2019-09-17 General Electric Company Airfoil having cooling circuit
US10358928B2 (en) 2016-05-10 2019-07-23 General Electric Company Airfoil with cooling circuit
US10221696B2 (en) 2016-08-18 2019-03-05 General Electric Company Cooling circuit for a multi-wall blade
US10208608B2 (en) 2016-08-18 2019-02-19 General Electric Company Cooling circuit for a multi-wall blade
US10267162B2 (en) 2016-08-18 2019-04-23 General Electric Company Platform core feed for a multi-wall blade
US10208607B2 (en) 2016-08-18 2019-02-19 General Electric Company Cooling circuit for a multi-wall blade
US10227877B2 (en) 2016-08-18 2019-03-12 General Electric Company Cooling circuit for a multi-wall blade
FR3067388B1 (fr) 2017-04-10 2020-01-17 Safran Aube a circuit de refroidissement perfectionne
EP3658751B1 (de) 2017-09-25 2021-07-07 Siemens Energy Global GmbH & Co. KG Schaufelblatt für eine turbinenschaufel
US11002138B2 (en) 2017-12-13 2021-05-11 Solar Turbines Incorporated Turbine blade cooling system with lower turning vane bank
US11149550B2 (en) 2019-02-07 2021-10-19 Raytheon Technologies Corporation Blade neck transition
US11459897B2 (en) * 2019-05-03 2022-10-04 Raytheon Technologies Corporation Cooling schemes for airfoils for gas turbine engines
US11220912B2 (en) * 2020-04-16 2022-01-11 Raytheon Technologies Corporation Airfoil with y-shaped rib
EP3954863A1 (en) * 2020-08-10 2022-02-16 Raytheon Technologies Corporation Blade neck transition
KR102356488B1 (ko) 2020-08-21 2022-02-07 두산중공업 주식회사 터빈 베인 및 이를 포함하는 가스 터빈
US12196095B2 (en) * 2022-11-29 2025-01-14 Rtx Corporation Gas turbine engine component having an airfoil with internal cross-ribs

Citations (6)

* Cited by examiner, † Cited by third party
Publication number Priority date Publication date Assignee Title
JPS60192804A (ja) * 1984-03-13 1985-10-01 Toshiba Corp ガスタ−ビン翼
JPS60198305A (ja) * 1984-03-23 1985-10-07 Agency Of Ind Science & Technol ガスタ−ビン動翼の冷却構造
JPH04123301U (ja) * 1991-04-23 1992-11-09 石川島播磨重工業株式会社 空冷タービン翼の構造
JPH0742504A (ja) * 1991-09-02 1995-02-10 General Electric Co <Ge> 内腔形成リブを通して直列衝突冷却するタービンブレード・エアーホイル
JP2000161003A (ja) * 1998-11-16 2000-06-13 General Electric Co <Ge> 直列インピンジメント冷却エ―ロフォイル
JP2002242607A (ja) * 2001-02-20 2002-08-28 Mitsubishi Heavy Ind Ltd ガスタービン冷却翼

Family Cites Families (16)

* Cited by examiner, † Cited by third party
Publication number Priority date Publication date Assignee Title
GB1605194A (en) * 1974-10-17 1983-04-07 Rolls Royce Rotor blade for gas turbine engines
US4770608A (en) * 1985-12-23 1988-09-13 United Technologies Corporation Film cooled vanes and turbines
US5720431A (en) * 1988-08-24 1998-02-24 United Technologies Corporation Cooled blades for a gas turbine engine
US5165852A (en) * 1990-12-18 1992-11-24 General Electric Company Rotation enhanced rotor blade cooling using a double row of coolant passageways
US5813835A (en) * 1991-08-19 1998-09-29 The United States Of America As Represented By The Secretary Of The Air Force Air-cooled turbine blade
US5246340A (en) * 1991-11-19 1993-09-21 Allied-Signal Inc. Internally cooled airfoil
US5690472A (en) * 1992-02-03 1997-11-25 General Electric Company Internal cooling of turbine airfoil wall using mesh cooling hole arrangement
US5660524A (en) * 1992-07-13 1997-08-26 General Electric Company Airfoil blade having a serpentine cooling circuit and impingement cooling
US5690473A (en) * 1992-08-25 1997-11-25 General Electric Company Turbine blade having transpiration strip cooling and method of manufacture
US5356265A (en) * 1992-08-25 1994-10-18 General Electric Company Chordally bifurcated turbine blade
US5387085A (en) * 1994-01-07 1995-02-07 General Electric Company Turbine blade composite cooling circuit
US5626462A (en) * 1995-01-03 1997-05-06 General Electric Company Double-wall airfoil
US5498133A (en) * 1995-06-06 1996-03-12 General Electric Company Pressure regulated film cooling
US6126396A (en) * 1998-12-09 2000-10-03 General Electric Company AFT flowing serpentine airfoil cooling circuit with side wall impingement cooling chambers
US6402471B1 (en) * 2000-11-03 2002-06-11 General Electric Company Turbine blade for gas turbine engine and method of cooling same
US6554563B2 (en) * 2001-08-13 2003-04-29 General Electric Company Tangential flow baffle

Patent Citations (6)

* Cited by examiner, † Cited by third party
Publication number Priority date Publication date Assignee Title
JPS60192804A (ja) * 1984-03-13 1985-10-01 Toshiba Corp ガスタ−ビン翼
JPS60198305A (ja) * 1984-03-23 1985-10-07 Agency Of Ind Science & Technol ガスタ−ビン動翼の冷却構造
JPH04123301U (ja) * 1991-04-23 1992-11-09 石川島播磨重工業株式会社 空冷タービン翼の構造
JPH0742504A (ja) * 1991-09-02 1995-02-10 General Electric Co <Ge> 内腔形成リブを通して直列衝突冷却するタービンブレード・エアーホイル
JP2000161003A (ja) * 1998-11-16 2000-06-13 General Electric Co <Ge> 直列インピンジメント冷却エ―ロフォイル
JP2002242607A (ja) * 2001-02-20 2002-08-28 Mitsubishi Heavy Ind Ltd ガスタービン冷却翼

Cited By (7)

* Cited by examiner, † Cited by third party
Publication number Priority date Publication date Assignee Title
JP2007146842A (ja) * 2005-11-28 2007-06-14 Snecma ターボ機械の移動ブレードのための中央冷却回路
JP2007154892A (ja) * 2005-12-05 2007-06-21 General Electric Co <Ge> 平行蛇行冷却式ブレード
WO2007094212A1 (ja) * 2006-02-14 2007-08-23 Ihi Corporation 冷却構造
US8172505B2 (en) 2006-02-14 2012-05-08 Ihi Corporation Cooling structure
US8079815B2 (en) 2007-07-31 2011-12-20 Mitsubishi Heavy Industries, Ltd. Turbine blade
WO2012124578A1 (ja) * 2011-03-11 2012-09-20 株式会社Ihi タービン翼
JP2012189026A (ja) * 2011-03-11 2012-10-04 Ihi Corp タービン翼

Also Published As

Publication number Publication date
US7097426B2 (en) 2006-08-29
EP1584790A2 (en) 2005-10-12
US20050226726A1 (en) 2005-10-13

Similar Documents

Publication Publication Date Title
JP2005299636A (ja) カスケードインピンジメント冷却式翼形部
US7296973B2 (en) Parallel serpentine cooled blade
CA2477402C (en) Converging pin cooled airfoil
US6099252A (en) Axial serpentine cooled airfoil
US6832889B1 (en) Integrated bridge turbine blade
CA2668605C (en) Crossflow turbine airfoil
US7011502B2 (en) Thermal shield turbine airfoil
US6554563B2 (en) Tangential flow baffle
JP4453826B2 (ja) 3回路タービンブレード
US7293961B2 (en) Zigzag cooled turbine airfoil
US6036441A (en) Series impingement cooled airfoil
JP2005180422A (ja) 二種冷却媒体式タービンブレード
US6382908B1 (en) Nozzle fillet backside cooling
US6183198B1 (en) Airfoil isolated leading edge cooling
JP2006037957A (ja) 共通先端チャンバブレード

Legal Events

Date Code Title Description
A621 Written request for application examination

Free format text: JAPANESE INTERMEDIATE CODE: A621

Effective date: 20080131

A977 Report on retrieval

Free format text: JAPANESE INTERMEDIATE CODE: A971007

Effective date: 20100421

A131 Notification of reasons for refusal

Free format text: JAPANESE INTERMEDIATE CODE: A131

Effective date: 20100427

A601 Written request for extension of time

Free format text: JAPANESE INTERMEDIATE CODE: A601

Effective date: 20100723

RD02 Notification of acceptance of power of attorney

Free format text: JAPANESE INTERMEDIATE CODE: A7422

Effective date: 20100723

RD04 Notification of resignation of power of attorney

Free format text: JAPANESE INTERMEDIATE CODE: A7424

Effective date: 20100723

A602 Written permission of extension of time

Free format text: JAPANESE INTERMEDIATE CODE: A602

Effective date: 20100728

A521 Written amendment

Free format text: JAPANESE INTERMEDIATE CODE: A523

Effective date: 20101026

A02 Decision of refusal

Free format text: JAPANESE INTERMEDIATE CODE: A02

Effective date: 20110208