JP2005298031A - Packing material for eaves - Google Patents

Packing material for eaves Download PDF

Info

Publication number
JP2005298031A
JP2005298031A JP2004119394A JP2004119394A JP2005298031A JP 2005298031 A JP2005298031 A JP 2005298031A JP 2004119394 A JP2004119394 A JP 2004119394A JP 2004119394 A JP2004119394 A JP 2004119394A JP 2005298031 A JP2005298031 A JP 2005298031A
Authority
JP
Japan
Prior art keywords
eaves
box
packing material
main body
packing
Prior art date
Legal status (The legal status is an assumption and is not a legal conclusion. Google has not performed a legal analysis and makes no representation as to the accuracy of the status listed.)
Pending
Application number
JP2004119394A
Other languages
Japanese (ja)
Inventor
Isao Ogawa
功 小川
Current Assignee (The listed assignees may be inaccurate. Google has not performed a legal analysis and makes no representation or warranty as to the accuracy of the list.)
Sekisui Chemical Co Ltd
Original Assignee
Sekisui Chemical Co Ltd
Priority date (The priority date is an assumption and is not a legal conclusion. Google has not performed a legal analysis and makes no representation as to the accuracy of the date listed.)
Filing date
Publication date
Application filed by Sekisui Chemical Co Ltd filed Critical Sekisui Chemical Co Ltd
Priority to JP2004119394A priority Critical patent/JP2005298031A/en
Publication of JP2005298031A publication Critical patent/JP2005298031A/en
Pending legal-status Critical Current

Links

Images

Landscapes

  • Stackable Containers (AREA)
  • Buffer Packaging (AREA)
  • Packaging Of Annular Or Rod-Shaped Articles, Wearing Apparel, Cassettes, Or The Like (AREA)

Abstract

【課題】 梱包費の増加および梱包の手間の増大を抑制し、軒樋に損傷を与えることなく
運搬し得る軒樋用梱包材を提供する。
【解決手段】 軒樋17を収容する長尺状の箱体(10)を形成するための梱包材10。
梱包材10は、両端開放の筒体を構成する本体11および該本体の両側に形成され、両端
を閉鎖するための端壁を構成する一対のサイドフラップ12を備える。サイドフラップ1
2の少なくとも一方は、筒体から該筒体の長手方向と直角に外方へ突出可能な張出部15
を有する。張出部15は、衝撃を受けたとき、その変形によって衝撃を緩和することによ
り、箱体(10)の内部の軒樋17を衝撃から保護する。
【選択図】 図1
PROBLEM TO BE SOLVED: To provide an eaves packaging material that can be transported without damaging the eaves while suppressing an increase in packing cost and packing labor.
SOLUTION: A packing material 10 for forming a long box (10) for accommodating eaves troughs (17).
The packing material 10 includes a main body 11 constituting a cylindrical body having both ends open, and a pair of side flaps 12 formed on both sides of the main body and constituting end walls for closing both ends. Side flap 1
At least one of the two projecting portions 15 that can project outward from the cylinder at right angles to the longitudinal direction of the cylinder.
Have When the overhanging portion 15 receives an impact, the overhanging portion 17 protects the eaves 17 inside the box (10) from the impact by relaxing the impact by deformation.
[Selection] Figure 1

Description

本発明は、複数の軒樋を保管、運搬するのに適した箱体を形成するための軒樋用梱包材
に関する。
The present invention relates to a packing material for eaves for forming a box suitable for storing and transporting a plurality of eaves.

軒樋の運搬あるいはその保管には、一般的に、例えば段ボール紙のようなシート状材料
からなる梱包材を組み立てて形成された長尺状の箱体が用いられており、この箱体内に複
数の軒樋が相互に嵌合された積層状態で収容される。
In order to transport or store the eaves, generally, a long box formed by assembling a packing material made of a sheet-like material such as corrugated paper is used. Are housed in a stacked state in which the eaves are fitted together.

運搬中の箱体内での軒樋の遊びによる踊りを防止するために、スペーサを配置すること
が提案されている(例えば、特許文献1および2参照。)。
In order to prevent dancing due to play of eaves in the box during transportation, it has been proposed to arrange spacers (see, for example, Patent Documents 1 and 2).

このスペーサによって、運搬中に箱体内で軒樋が踊りを生じることを防止することがで
き、この踊りによって生じる軒樋の変形や軒樋同士の当接による損傷を防止することがで
きる。
By this spacer, it is possible to prevent the eaves from dancing in the box during transportation, and it is possible to prevent the eaves from being deformed by the dance and from being damaged due to contact between the eaves.

しかしながら、運搬中に、例えば箱体をその端部から地面に落下させるような事故が生
じ、そのため、箱体内の軒樋の重量が地面に当接する箱体の端部の角に作用すると、箱の
角が大きく変形し、内部に収容された軒樋の端部にひびや割れを生じることがある。
However, during transportation, for example, an accident that drops the box from the end to the ground occurs, so if the weight of the eaves in the box acts on the corner of the end of the box that contacts the ground, the box The corners of the plate may be greatly deformed, and cracks and cracks may occur at the ends of the eaves housed inside.

このような事故から箱体内の軒樋を保護するために、箱体の両端に補強のための保護部
材を装着することが提案されている(例えば、特許文献3参照。)。
In order to protect the eaves inside the box from such an accident, it has been proposed to attach protective members for reinforcement to both ends of the box (for example, see Patent Document 3).

この保護部材の装着によって、箱体の端部が補強されることから、箱体の角の潰れが防
止され、これにより、箱体の角の潰れによる軒樋の損傷を防止することができる。
特開平5−85582号公報 特開平6−35192号公報 特開平8−113263号公報
Since the end of the box is reinforced by the attachment of the protective member, the corners of the box are prevented from being crushed, thereby preventing the eaves from being damaged due to the crushed corners of the box.
JP-A-5-85582 JP-A-6-35192 JP-A-8-113263

しかしながら、箱体の端部に装着される保護部材は、箱体を構成する梱包材とは別体の
材料で予め形成しておく必要があり、また梱包材の組み立て工程とは別に、保護部材を組
み立てる必要がある。そのため、軒樋の梱包のための材料費の増加および梱包の手間が増
大するという問題があった。
However, the protective member attached to the end of the box needs to be formed in advance from a separate material from the packing material constituting the box, and the protective member is separate from the packaging material assembly process. Need to assemble. Therefore, there has been a problem that the material cost for packing the eaves is increased and the labor for packing is increased.

そこで、本発明の目的は、梱包費の増加および梱包の手間の増大を抑制し、軒樋をこれ
に損傷を与えることなく運搬し得る軒樋用梱包材を提供することにある。
SUMMARY OF THE INVENTION An object of the present invention is to provide an eaves packaging material that can suppress an increase in packing cost and packing labor and can transport eaves without damaging them.

本発明は、軒樋を収容する長尺状の箱体を形成するための軒樋用梱包材であって両端開
放の筒体を構成すべく両側が相互に繋ぎ合わされる本体と、該本体に連続して該本体の両
端縁に形成され前記筒体の端壁を構成する一対のサイドフラップとを備え、該サイドフラ
ップの少なくとも一方は前記筒体から該筒体の長手方向と直角に外方へ突出可能な張出部
を有することを特徴とする。
The present invention is a packing material for eaves for forming an elongate box that accommodates eaves, and a main body in which both sides are connected to each other to form a cylindrical body open at both ends, and the main body A pair of side flaps continuously formed at both end edges of the main body and constituting an end wall of the cylindrical body, and at least one of the side flaps is outward from the cylindrical body at right angles to the longitudinal direction of the cylindrical body It has the overhang | projection part which can project to the side.

本発明に係る前記梱包材として、例えば、段ボール紙あるいはその他の折り曲げ可能の
シート状材料を用いることができる。前記筒体の端壁を構成する前記サイドフラップに形
成され前記筒体からその外方へ突出する前記張出部は、衝撃を受けると、その変形によっ
て衝撃を緩和する作用をなす。従って、前記箱体の内部に収容された軒樋が衝撃から保護
されることから、内部に収容された軒樋に衝撃でひびや損傷が生じることを防止すること
ができる。
As the packing material according to the present invention, for example, corrugated paper or other foldable sheet-like material can be used. When the overhanging portion formed on the side flap constituting the end wall of the cylindrical body and projecting outward from the cylindrical body is subjected to an impact, it acts to alleviate the impact by its deformation. Therefore, since the eaves housed inside the box is protected from the impact, it is possible to prevent the eaves housed inside from being cracked or damaged by the impact.

前記筒体の外方に突出する前記張出部は、前記箱体の端部を補強すべく前記筒体に沿っ
て折り返すことができる。この張出部の折り返しにより、従来のような別体の保護部材を
用いることなく、箱体の端部の角をより効果的に補強することができ、箱体の落下による
角の潰れをより確実に防止することができる。
The projecting portion protruding outward from the cylindrical body can be folded back along the cylindrical body to reinforce the end of the box. By folding the overhanging portion, the corners of the end of the box can be more effectively reinforced without using a separate protective member as in the past, and the corners can be more easily crushed by dropping the box. It can be surely prevented.

前記本体の前記端縁または該端縁に連続する前記サイドフラップの基部に、前記張出部
に対応して該張出部を受け入れ可能な形状の凹所を形成することができる。
A recess having a shape capable of receiving the overhanging portion corresponding to the overhanging portion can be formed in the end edge of the main body or the base portion of the side flap continuous to the end edge.

梱包材からなる一つの箱体の前記凹所と、他の梱包材からなる他の箱体の前記サイドフ
ラップの張出部とが向き合うように、複数の箱体を例えば上下方向へ整列して積み重ねる
場合、上下方向に相互に対応する前記凹所および前記張出部を相互に嵌合させることがで
きる。したがって、この場合、複数の箱体間に隙間が生じること無く、両箱体を相互に密
着させて配置させることができる。しかも、前記凹所および前記張出部は、これらを相互
に嵌合させることにより、箱体間の位置決め作用をなすことから、箱体間にずれを生じる
ことなく、この箱体を整列して積み重ねることが可能となる。
A plurality of boxes are aligned vertically, for example, so that the recess of one box made of a packing material faces the protruding portion of the side flap of another box made of another packing material. In the case of stacking, the recess and the overhang corresponding to each other in the vertical direction can be fitted to each other. Therefore, in this case, the two boxes can be placed in close contact with each other without causing a gap between the plurality of boxes. In addition, since the recess and the overhanging portion are engaged with each other to form a positioning action between the boxes, the boxes are aligned without causing any deviation between the boxes. It becomes possible to stack.

本発明によれば、前記梱包材によって形成される箱体の端部に該箱体と別部材の保護部
材を装着することなく、前記箱体端部に作用する衝撃を緩和しあるいは端部を補強するこ
とができるので、梱包費用あるいは組み立て手間の従来のような増大を招くことなく確実
に軒樋を保護することができる。
According to the present invention, the shock acting on the end of the box is reduced or the end is not attached to the end of the box formed by the packing material, without attaching a protective member which is a separate member from the box. Since it can reinforce, the eaves can be reliably protected without incurring a conventional increase in packing cost or assembly time.

本発明の特徴を図示の実施例に沿って説明する。   The features of the present invention will be described along the illustrated embodiments.

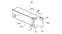
本発明に係る梱包材10は、図1に示すように、例えばダンボール紙のような折り曲げ
可能なシート状部材からなる。梱包材10は、全体に矩形の本体11と、該本体に連続し
て形成された複数のサイドフラップ12(12a、12b〜12e)とを有する。
As shown in FIG. 1, the packaging material 10 according to the present invention is made of a foldable sheet-like member such as cardboard. The packing material 10 has a rectangular main body 11 and a plurality of side flaps 12 (12a, 12b to 12e) formed continuously on the main body.

本体11の長手方向には、互いに平行な折り目線13が形成されている。これら折り目
線13によって、本体11には、頂壁部11a、側壁部11b、底壁部11c、側壁部1
1dおよび重複部11eが順次区画されている。図示の例では、頂壁部11a、底壁部1
1cおよび重複部11eは、本体11の長手方向と直角な横方向へ寸法L1が与えられ、
側壁部11bおよび11dは、同様に寸法L2が与えられている。
In the longitudinal direction of the main body 11, crease lines 13 parallel to each other are formed. By these crease lines 13, the main body 11 has a top wall portion 11 a, a side wall portion 11 b, a bottom wall portion 11 c, and a side wall portion 1.
1d and the overlapping part 11e are sequentially partitioned. In the illustrated example, the top wall 11a and the bottom wall 1
1c and the overlapping portion 11e are given a dimension L1 in the lateral direction perpendicular to the longitudinal direction of the main body 11,
The side wall portions 11b and 11d are similarly given the dimension L2.

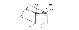
これら各壁部11a〜11eは、折り目線13に沿った山折りあるいは谷折りによって
、頂壁部11aが重複部11eよりも外側に位置するように互いに重ね会わせることがで
きる。この頂壁部11aと重複部11eとの重ね合わせによる本体11の両側での繋ぎ合
わせにより、図2および図3に示すように、幅寸法L1および高さ寸法L2を有する矩形
断面形状を有する筒体が、各壁部11a〜11eで構成される。
These wall portions 11a to 11e can be overlapped with each other such that the top wall portion 11a is positioned outside the overlapping portion 11e by mountain folds or valley folds along the crease line 13. By joining the top wall portion 11a and the overlapping portion 11e on both sides of the main body 11, as shown in FIGS. 2 and 3, a cylinder having a rectangular cross-sectional shape having a width dimension L1 and a height dimension L2 A body is comprised by each wall part 11a-11e.

再び図1を参照するに、各サイドフラップ12(12a、12b〜12e)は、本体1
1の両端縁に連続的に形成されている。頂壁部11aを除く両側壁部11b、11d、底
壁部11cおよび重複部11eの各両端縁に形成された各一対のサイドフラップ12b〜
12eは、本体11の両端縁に形成された折り目線14、14により、本体11から区画
されている。
Referring again to FIG. 1, each side flap 12 (12 a, 12 b to 12 e)
1 is formed continuously at both end edges. A pair of side flaps 12b to 12b formed on both side edges of the side wall portions 11b and 11d, the bottom wall portion 11c and the overlapping portion 11e excluding the top wall portion 11a
12 e is partitioned from the main body 11 by crease lines 14 and 14 formed at both ends of the main body 11.

両側壁部11b、11dに形成されたサイドフラップ12bおよび12dには、高さ寸
法L2の方向に沿ってこの高さ寸法L2よりも小さな寸法L3が与えられ、また底壁部1
1cおよび重複部11eに形成されたサイドフラップ12cおよび12eには、幅方向寸
法L1の方向に沿ってこの幅方向寸法L1よりも小さな寸法L4が与えられている。また
、これらサイドフラップ12b〜12eには、幅寸法L1および高さ寸法L2よりも小さ
な互いに等寸の張出寸法L5が与えられている。
The side flaps 12b and 12d formed on the side wall portions 11b and 11d are given a dimension L3 smaller than the height dimension L2 along the direction of the height dimension L2, and the bottom wall part 1
The side flaps 12c and 12e formed in 1c and the overlapping part 11e are given a dimension L4 smaller than the width direction dimension L1 along the direction of the width direction dimension L1. Further, these side flaps 12b to 12e are provided with an overhanging dimension L5 that is smaller than the width dimension L1 and the height dimension L2.

従って、各壁部11a〜11eで筒体を構成し、その後、これらのサイドフラップ12
b〜12eを折り目線14で折り曲げたとき、各壁部11a〜11eにより構成される前
記筒体から各サイドフラップ12b〜12eが外方に張り出すことはなく、前記筒体の横
断面形状内で相互に重なり合う。
Therefore, each wall part 11a-11e comprises a cylinder, and these side flaps 12 are then used.
When b-12e is bent along the crease line 14, the side flaps 12b-12e do not protrude outward from the cylinder constituted by the walls 11a-11e, and the lateral cross-sectional shape of the cylinder Overlap each other.

他方、頂壁部11aの両端縁には、先に折り曲げられた各サイドフラップ12b〜12
eの最も外側に位置するように折り曲げられる一対のサイドフラップ12aおよび12a
が形成されている。
On the other hand, the side flaps 12b to 12 which are bent first are formed at both end edges of the top wall portion 11a.
a pair of side flaps 12a and 12a which are bent so as to be located on the outermost side of e.
Is formed.

各サイドフラップ12aは、頂壁部11aの幅寸法L1にほぼ等しい幅寸法を有し、頂
壁部11aの各端縁から遠ざかる方向へ伸長する。各サイドフラップ12aの伸長端には
、側壁部11b、11dの高さ寸法L2に等しい長さを越えて伸長する張出部15が形成
されている。図示の例では、一対の張出部15が、サイドフラップ12aの幅方向へ互い
に間隔をおいて各サイドフラップ12aの両側に形成されている。
Each side flap 12a has a width dimension substantially equal to the width dimension L1 of the top wall part 11a, and extends in a direction away from each edge of the top wall part 11a. At the extending end of each side flap 12a, an overhanging portion 15 extending beyond a length equal to the height dimension L2 of the side wall portions 11b and 11d is formed. In the example shown in the drawing, a pair of overhang portions 15 are formed on both sides of each side flap 12a at intervals in the width direction of the side flap 12a.

また、各サイドフラップ12aの基部には、張出部15の形状に対応した一対の凹所1
6が形成されている。各凹所16は、各サイドフラップ12aの両側に形成された各張出
部15を受け入れるに充分な大きさおよび形状を有し、図1に示す例では、切欠き部によ
り形成されている。
Further, a pair of recesses 1 corresponding to the shape of the overhanging portion 15 is formed at the base portion of each side flap 12a.
6 is formed. Each recess 16 has a size and a shape sufficient to receive each overhang 15 formed on both sides of each side flap 12a, and is formed by a notch in the example shown in FIG.

前記したように、各壁部11a〜11eにより幅寸法L1および高さ寸法L2を有する
矩形断面形状を有する筒体が構成された状態で、該筒体内に図3に示すように例えば3.
6mの長さを有する複数の軒樋17が互いに嵌合された状態で収容される。収容される全
軒樋17の重量は例えば20Kg程度である。
As described above, in the state where the cylindrical body having the rectangular cross section having the width dimension L1 and the height dimension L2 is constituted by the wall portions 11a to 11e, as shown in FIG.
A plurality of eaves rods 17 having a length of 6 m are accommodated in a state of being fitted to each other. The weight of the entire eaves 17 accommodated is, for example, about 20 kg.

軒樋17を収容した状態で、前記したように、頂壁部11aを除く両側壁部11b、1
1d、底壁部11cおよび重複部11eの各両端縁に形成された各一対のサイドフラップ
12b、12c、12d、12eが折り曲げられ、その後、これらのサイドフラップ12
b〜12eを覆うように、頂壁部11aに形成された各サイドフラップ12aが折り曲げ
られる。このサイドフラップ12aは、例えば接着テープを用いて前記筒体に固着され、
これらのサイドフラップ12a〜12eの重なりにより、前記各壁部11a〜11eで構
成された筒体の端壁が構成され、これにより内部に軒樋17を収容した箱体が構成される
。サイドフラップ12aは、必要に応じて、その直下のサイドフラップ12b、12c、
12dまたは12eに適宜、接着テープあるいは接着剤を用いて固着することができる。
In the state where the eaves bowl 17 is accommodated, as described above, the both side wall portions 11b except the top wall portion 11a,
1d, the pair of side flaps 12b, 12c, 12d, and 12e formed at the both end edges of the bottom wall portion 11c and the overlapping portion 11e are bent, and then the side flaps 12
Each side flap 12a formed in the top wall part 11a is bend | folded so that b-12e may be covered. This side flap 12a is fixed to the cylinder using, for example, an adhesive tape,
By overlapping these side flaps 12a to 12e, an end wall of the cylindrical body constituted by the respective wall portions 11a to 11e is constituted, and thereby a box body in which the eaves 17 is accommodated is constituted. The side flaps 12a are, as necessary, the side flaps 12b, 12c directly below the side flaps 12a.
It can be fixed to 12d or 12e as appropriate using an adhesive tape or an adhesive.

頂壁部11aに形成された各サイドフラップ12aには、側壁部11b、11dの高さ
寸法L2に等しい長さを越えて伸長する張出部15が形成されていることから、サイドフ
ラップ12aを折り曲げた状態では、図2に示すように、その張出部15が底壁部11c
から下方に向けて突出する。この突出寸法hは、前記したように、梱包重量が約20Kg
であるとき、例えば5mm以上となるように形成される。
Since each side flap 12a formed on the top wall portion 11a is formed with an overhanging portion 15 extending beyond a length equal to the height dimension L2 of the side wall portions 11b and 11d, the side flap 12a is attached to the side flap 12a. In the bent state, as shown in FIG.
Projects downward from As described above, the projecting dimension h has a packing weight of about 20 kg.
For example, it is formed to be 5 mm or more.

本発明に係る梱包材10は、軒樋17の運搬に用いられる。この運搬のために、図3に
示したように、梱包材10によって構成された箱体の内部に軒樋17が収納されて運搬さ
れるが、運搬途中、例えば図4に示すように、前記箱体の一端が地面18に落下する事故
が生じ、この落下によって箱体の底壁部11cから突出して形成された張出部15が地面
18に強く当たると、この張出部15が変形し、潰れる。
The packaging material 10 according to the present invention is used to transport the eaves 17. For this transportation, as shown in FIG. 3, the eaves 17 is housed and transported inside the box constituted by the packing material 10, but during transportation, for example, as shown in FIG. When an accident occurs in which one end of the box body falls on the ground 18, and the overhanging portion 15 that protrudes from the bottom wall portion 11 c of the box body strongly hits the ground 18 due to the fall, the overhanging portion 15 is deformed. Crush.

張出部15は、その変形によって衝撃のエネルギーを緩和する。この張出部15の衝撃
緩和作用によって、前記箱の角の潰れが防止され、また、前記箱体の内部に収容された軒
樋17が衝撃から保護される。
The overhanging portion 15 relaxes the energy of impact by the deformation. Due to the impact mitigating action of the overhanging portion 15, the corners of the box are prevented from being crushed and the eaves 17 housed inside the box body is protected from the impact.

その結果、梱包材10によって構成される箱体に従来のような端部保護部材を装着する
ことなく、梱包材10の落下時の衝撃から、この梱包材10で構成された箱体内に収容さ
れた軒樋17にひびや損傷が生じることを防止することができる。
As a result, it is accommodated in the box comprised by this packing material 10 from the impact at the time of dropping of the packing material 10, without attaching the edge protection member like the conventional to the box comprised by the packing material 10. It is possible to prevent the eaves bowl 17 from being cracked or damaged.

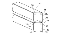
また、図5に示すように、梱包材10で構成された各箱体(10、10)に軒樋17を
収容した状態で、それぞれを相互に積み重ねて保管することができる。この保管では、下
方の箱体(10)の凹所16と、上方の箱体(10)のサイドフラップ12aの張出部1
5とが向き合うように、複数の箱体(10、10)が上下方向へ整列して積み重ねられる
。この積み重ねにより、上下方向に相互に対応する凹所16および張出部15を相互に嵌
合させることができる。
Moreover, as shown in FIG. 5, in the state which accommodated the eaves basket 17 in each box (10,10) comprised with the packing material 10, each can be accumulated and stored mutually. In this storage, the recess 16 of the lower box (10) and the overhanging portion 1 of the side flap 12a of the upper box (10).
A plurality of boxes (10, 10) are stacked in the vertical direction so that 5 faces each other. By this stacking, the recess 16 and the overhanging portion 15 corresponding to each other in the vertical direction can be fitted to each other.

従って、この積み重ねで、複数の箱体(10、10)間に隙間が生じること無く、上方
の箱体(10)の底部と下方の箱体(10)の頂部とを相互に密着させて配置させること
ができる。さらに、凹所16および張出部15は、相互に嵌合することにより、両箱体(
10、10)間の位置決め作用をなすことから、該箱体間にずれを生じることなくこの箱
体(10、10)を上下方向に整列して積み重ねることが容易となる。
Therefore, in this stacking, the bottom of the upper box (10) and the top of the lower box (10) are arranged in close contact with each other without any gaps between the plurality of boxes (10, 10). Can be made. Furthermore, the recess 16 and the overhanging portion 15 are fitted to each other, so that both box bodies (
10 and 10), the box bodies (10, 10) can be easily aligned and stacked in the vertical direction without causing a shift between the box bodies.

各サイドフラップ12aの両側に一対の張出部15を形成することに代えて、各サイド
フラップ12aの中央部に単一の張出部15を形成することができる。しかしながら、箱
体の落下時に損傷を受け易い角を効果的に保護する上で、前記したように、サイドフラッ
プ12aの両側に一対の張出部15を形成することが望ましい。
Instead of forming a pair of overhang portions 15 on both sides of each side flap 12a, a single overhang portion 15 can be formed at the center of each side flap 12a. However, in order to effectively protect the corners that are easily damaged when the box is dropped, it is desirable to form the pair of overhang portions 15 on both sides of the side flap 12a as described above.

また、張出部15は、各サイドフラップ12aの先端に形成することに代えて、あるい
は先端に形成することに加えて、該サイドフラップの両側に形成することができる。また
、各サイドフラップ12aに代えて、サイドフラップ12(12a〜12e)の折り曲げ
が妨げられない限り、適宜、他のサイドフラップ12b〜12eに形成することができる
Further, the overhanging portion 15 can be formed on both sides of the side flap instead of or at the tip of each side flap 12a. Moreover, it can replace with each side flap 12a, and can be suitably formed in the other side flaps 12b-12e, unless the bending of the side flap 12 (12a-12e) is prevented.

また、図6に示されているように、サイドフラップ12aに形成された張出部15の先
端を前記筒体を構成する底壁部11cに向けて折り返すことができ、この折返し部を底壁
部11cに接着剤等を用いて固着することができる。
Further, as shown in FIG. 6, the tip of the overhanging portion 15 formed on the side flap 12a can be folded back toward the bottom wall portion 11c that constitutes the cylindrical body, and the folded portion can be turned into the bottom wall. The part 11c can be fixed using an adhesive or the like.

先端が折り返されて底壁部11cに固着された張出部15は、箱体(10)の端部を補
強する作用をなす。従って、図5に示した使用態様におけると同様に、箱体(10)の端
部の角を補強することができ、箱体(10)の落下による角の潰れを防止し、これにより
内部に収容された軒樋17への損傷を防止する。
The overhanging portion 15 whose tip is folded back and fixed to the bottom wall portion 11c serves to reinforce the end of the box (10). Accordingly, as in the usage mode shown in FIG. 5, the corners of the end of the box (10) can be reinforced, preventing the corners from being crushed due to the fall of the box (10). Prevents damage to the housed eaves 17.

図5に示した例では、張出部15の折返し部を受け入れるために、凹所16は重複部1
1eの端縁を部分的に露出させるように、箱体(10)の頂部に伸びる。従って、図4に
示した例におけると同様に、上下方向に密着させて複数の箱体(10)を積み重ねること
ができ、また、そのときの位置決めに、凹所16および張出部15を利用することができ
る。
In the example shown in FIG. 5, the recess 16 has the overlapping portion 1 in order to receive the folded portion of the overhang portion 15.
It extends to the top of the box (10) so that the edge of 1e is partially exposed. Accordingly, as in the example shown in FIG. 4, a plurality of boxes (10) can be stacked in close contact with each other in the vertical direction, and the recess 16 and the overhanging portion 15 are used for positioning at that time. can do.

本発明によれば、前記したように、梱包材10とは別に端部を保護する保護部材を用い
ることなく、従って、保護部材に要する材料費の増大や梱包の手間の増大を招くことなく
、確実に軒樋17を落下時等の衝撃から保護することができ、複数の軒樋17を安全かつ
効率的に運搬することができる。
According to the present invention, as described above, without using a protective member that protects the end portion separately from the packaging material 10, therefore, without increasing the material cost required for the protective member and increasing the labor of packaging, The eaves rod 17 can be reliably protected from impacts such as when dropped, and a plurality of eaves rods 17 can be transported safely and efficiently.

また、上下方向に間隔をおくことなく複数の箱体(10)を容易に整列させて積み重ね
上げることができるので、保管作業の迅速化を図ることができ、また荷崩れの防止および
保管スペースの削減に有効である。
Moreover, since a plurality of boxes (10) can be easily aligned and stacked without any vertical spacing, the storage operation can be speeded up, and the collapse of the cargo can be prevented and the storage space can be reduced. Effective for reduction.

本発明に係る梱包材を展開して示す平面図である。It is a top view which expands and shows the packing material concerning the present invention. 本発明に係る梱包材の組立によって形成される箱体の一部を示す斜視図である。It is a perspective view which shows a part of box body formed by the assembly of the packing material which concerns on this invention. 図2に示す線III - IIIに沿って得られた断面図である。FIG. 3 is a cross-sectional view taken along line III-III shown in FIG. 本発明に係る梱包材によって形成された箱体の落下状況を概略的に示す説明図である。It is explanatory drawing which shows roughly the fall condition of the box formed with the packing material which concerns on this invention. 本発明に係る梱包材によって形成された箱体の積重ね状態を説明する斜視図である。It is a perspective view explaining the lamination | stacking state of the box formed of the packing material which concerns on this invention. 本発明に係る梱包材によって形成された箱体の他の使用状況を示す図2と同様な図面である。It is drawing similar to FIG. 2 which shows the other use condition of the box formed with the packing material which concerns on this invention.

符号の説明Explanation of symbols

10 (箱体)梱包材
11a〜11e (筒体)壁部
12 サイドフラップ
15 張出部
16 凹所
17 軒樋
10 (Box) Packing material 11a to 11e (Cylinder) Wall portion 12 Side flap 15 Overhang portion 16 Recess portion 17 Eaves

Claims (1)

軒樋を収容する長尺状の箱体を形成するための軒樋用梱包材であって、両端開放の筒体
を構成すべく両側が相互に繋ぎ合わされる本体と、該本体に連続して該本体の両端縁に形
成され前記筒体の端壁を構成する一対のサイドフラップとを備え、該サイドフラップの少
なくとも一方は前記筒体から該筒体の長手方向と直角に外方へ突出可能な張出部を有する
軒樋用梱包材。
A packing material for eaves eaves for forming an elongate box for accommodating eaves eaves, and a main body in which both sides are connected to each other to form a cylindrical body open at both ends, and continuously to the main body A pair of side flaps formed at both ends of the main body and constituting the end wall of the cylindrical body, and at least one of the side flaps can protrude outward from the cylindrical body at right angles to the longitudinal direction of the cylindrical body A packing material for eaves with an overhang.
JP2004119394A 2004-04-14 2004-04-14 Packing material for eaves Pending JP2005298031A (en)

Priority Applications (1)

Application Number Priority Date Filing Date Title
JP2004119394A JP2005298031A (en) 2004-04-14 2004-04-14 Packing material for eaves

Applications Claiming Priority (1)

Application Number Priority Date Filing Date Title
JP2004119394A JP2005298031A (en) 2004-04-14 2004-04-14 Packing material for eaves

Publications (1)

Publication Number Publication Date
JP2005298031A true JP2005298031A (en) 2005-10-27

Family

ID=35330055

Family Applications (1)

Application Number Title Priority Date Filing Date
JP2004119394A Pending JP2005298031A (en) 2004-04-14 2004-04-14 Packing material for eaves

Country Status (1)

Country Link
JP (1) JP2005298031A (en)

Cited By (13)

* Cited by examiner, † Cited by third party
Publication number Priority date Publication date Assignee Title
JP2011206914A (en) * 2010-03-26 2011-10-20 Brother Industries Ltd Tape cassette
US8651756B2 (en) 2008-12-25 2014-02-18 Brother Kogyo Kabushiki Kaisha Tape cassette
US8740482B2 (en) 2009-03-31 2014-06-03 Brother Kogyo Kabushiki Kaisha Tape printer
US8757907B2 (en) 2009-03-31 2014-06-24 Brother Kogyo Kabushiki Kaisha Tape cassette
US8764326B2 (en) 2009-03-31 2014-07-01 Brother Kogyo Kabushiki Kaisha Tape cassette
US8770877B2 (en) 2008-12-25 2014-07-08 Brother Kogyo Kabushiki Kaisha Tape printer
US9132682B2 (en) 2009-03-31 2015-09-15 Brother Kogyo Kabushiki Kaisha Tape unit and tape cassette
US9539837B2 (en) 2009-12-16 2017-01-10 Brother Kogyo Kabushiki Kaisha Tape cassette
US9566808B2 (en) 2009-03-31 2017-02-14 Brother Kogyo Kabushiki Kaisha Tape cassette
US9573401B2 (en) 2009-06-30 2017-02-21 Brother Kogyo Kabushiki Kaisha Tape cassette
US9656495B2 (en) 2009-12-28 2017-05-23 Brother Kogyo Kabushiki Kaisha Tape cassette
JP2021161862A (en) * 2020-03-31 2021-10-11 積水化学工業株式会社 Eaves gutter, eaves gutter system, and eaves gutter packaging body
US12296580B2 (en) 2009-03-31 2025-05-13 Brother Kogyo Kabushiki Kaisha Tape cassette

Cited By (70)

* Cited by examiner, † Cited by third party
Publication number Priority date Publication date Assignee Title
US9539838B2 (en) 2008-12-25 2017-01-10 Brother Kogyo Kabushiki Kaisha Tape Cassette
US8651756B2 (en) 2008-12-25 2014-02-18 Brother Kogyo Kabushiki Kaisha Tape cassette
US12304229B2 (en) 2008-12-25 2025-05-20 Brother Kogyo Kabushiki Kaisha Tape cassette
US12233641B2 (en) 2008-12-25 2025-02-25 Brother Kogyo Kabushiki Kaisha Tape cassette
US11479053B2 (en) 2008-12-25 2022-10-25 Brother Kogyo Kabushiki Kaisha Tape cassette
US11285749B2 (en) 2008-12-25 2022-03-29 Brother Kogyo Kabushiki Kaisha Tape cassette
US8770877B2 (en) 2008-12-25 2014-07-08 Brother Kogyo Kabushiki Kaisha Tape printer
US10744798B2 (en) 2008-12-25 2020-08-18 Brother Kogyo Kabushiki Kaisha Tape cassette
US10661589B2 (en) 2008-12-25 2020-05-26 Brother Kogyo Kabushiki Kaisha Tape cassette
US10189284B2 (en) 2008-12-25 2019-01-29 Brother Kogyo Kabushiki Kaisha Tape cassette
US9855779B2 (en) 2008-12-25 2018-01-02 Brother Kogyo Kabushiki Kaisha Tape cassette
US9751349B2 (en) 2008-12-25 2017-09-05 Brother Kogyo Kabushiki Kaisha Tape cassette
US9682584B2 (en) 2008-12-25 2017-06-20 Brother Kogyo Kabushiki Kaisha Tape cassette
US9656497B2 (en) 2008-12-25 2017-05-23 Brother Kogyo Kabushiki Kaisha Tape cassette
US9656496B2 (en) 2008-12-25 2017-05-23 Brother Kogyo Kabushiki Kaisha Tape cassette
US9493016B2 (en) 2008-12-25 2016-11-15 Brother Kogyo Kabushiki Kaisha Tape cassette
US9649861B2 (en) 2008-12-25 2017-05-16 Brother Kogyo Kabushiki Kaisha Tape cassette
US9498998B2 (en) 2008-12-25 2016-11-22 Brother Kogyo Kabushiki Kaisha Tape cassette
US9566812B2 (en) 2008-12-25 2017-02-14 Brother Kogyo Kabushiki Kaisha Tape cassette
US9498997B2 (en) 2008-12-25 2016-11-22 Brother Kogyo Kabushiki Kaisha Tape cassette
US9511609B2 (en) 2008-12-25 2016-12-06 Brother Kogyo Kabushiki Kaisha Tape cassette
US9511610B2 (en) 2008-12-25 2016-12-06 Brother Kogyo Kabushiki Kaisha Tape cassette
US9511611B2 (en) 2008-12-25 2016-12-06 Brother Kogyo Kabushiki Kaisha Tape cassette
US9522556B2 (en) 2008-12-25 2016-12-20 Brother Kogyo Kabushiki Kaisha Tape cassette
US9533522B2 (en) 2008-12-25 2017-01-03 Brother Kogyo Kabushiki Kaisha Tape cassette
US9656488B2 (en) 2009-03-31 2017-05-23 Brother Kogyo Kabushiki Kaisha Tape cassette
US8764326B2 (en) 2009-03-31 2014-07-01 Brother Kogyo Kabushiki Kaisha Tape cassette
US9498988B2 (en) 2009-03-31 2016-11-22 Brother Kogyo Kabushiki Kaisha Tape cassette
US9566808B2 (en) 2009-03-31 2017-02-14 Brother Kogyo Kabushiki Kaisha Tape cassette
US8740482B2 (en) 2009-03-31 2014-06-03 Brother Kogyo Kabushiki Kaisha Tape printer
US9592692B2 (en) 2009-03-31 2017-03-14 Brother Kogyo Kabushiki Kaisha Tape cassette
US9616690B2 (en) 2009-03-31 2017-04-11 Brother Kogyo Kabushiki Kaisha Tape cassette
US9498987B2 (en) 2009-03-31 2016-11-22 Brother Kogyo Kabushiki Kaisha Tape cassette
US12296580B2 (en) 2009-03-31 2025-05-13 Brother Kogyo Kabushiki Kaisha Tape cassette
US12257827B2 (en) 2009-03-31 2025-03-25 Brother Kogyo Kabushiki Kaisha Tape cassette
US9427988B2 (en) 2009-03-31 2016-08-30 Brother Kogyo Kabushiki Kaisha Tape cassette
US9409425B2 (en) 2009-03-31 2016-08-09 Brother Kogyo Kabushiki Kaisha Tape cassette
US8757907B2 (en) 2009-03-31 2014-06-24 Brother Kogyo Kabushiki Kaisha Tape cassette
US9403389B2 (en) 2009-03-31 2016-08-02 Brother Kogyo Kabushiki Kaisha Tape cassette
US9381756B2 (en) 2009-03-31 2016-07-05 Brother Kogyo Kabushiki Kaisha Tape cassette
US11945217B2 (en) 2009-03-31 2024-04-02 Brother Kogyo Kabushiki Kaisha Tape cassette
US9370949B2 (en) 2009-03-31 2016-06-21 Brother Kogyo Kabushiki Kaisha Tape cassette
US9346296B2 (en) 2009-03-31 2016-05-24 Brother Kogyo Kabushiki Kaisha Tape cassette
US10201993B2 (en) 2009-03-31 2019-02-12 Brother Kogyo Kabushiki Kaisha Tape cassette
US10201988B2 (en) 2009-03-31 2019-02-12 Brother Kogyo Kabushiki Kaisha Tape cassette
US10226949B2 (en) 2009-03-31 2019-03-12 Brother Kogyo Kabushiki Kaisha Tape cassette
US11707938B2 (en) 2009-03-31 2023-07-25 Brother Kogyo Kabushiki Kaisha Tape cassette
US8764325B2 (en) 2009-03-31 2014-07-01 Brother Kogyo Kabushiki Kaisha Tape cassette
US10618325B2 (en) 2009-03-31 2020-04-14 Brother Kogyo Kabushiki Kaisha Tape cassette
US9132682B2 (en) 2009-03-31 2015-09-15 Brother Kogyo Kabushiki Kaisha Tape unit and tape cassette
US10675894B2 (en) 2009-03-31 2020-06-09 Brother Kogyo Kabushiki Kaisha Tape cassette
US10744802B2 (en) 2009-03-31 2020-08-18 Brother Kogyo Kabushiki Kaisha Tape cassette
US9011028B2 (en) 2009-03-31 2015-04-21 Brother Kogyo Kabushiki Kaisha Tape cassette
US11052685B2 (en) 2009-03-31 2021-07-06 Brother Kogyo Kabushiki Kaisha Tape cassette
US11254149B2 (en) 2009-03-31 2022-02-22 Brother Kogyo Kabushiki Kaisha Tape cassette
US12194765B2 (en) 2009-06-30 2025-01-14 Brother Kogyo Kabushiki Kaisha Tape cassette
US11225099B2 (en) 2009-06-30 2022-01-18 Brother Kogyo Kabushiki Kaisha Tape cassette
US9573401B2 (en) 2009-06-30 2017-02-21 Brother Kogyo Kabushiki Kaisha Tape cassette
US9676217B2 (en) 2009-06-30 2017-06-13 Brother Kogyo Kabushiki Kaisha Tape cassette
US9802432B2 (en) 2009-06-30 2017-10-31 Brother Kogyo Kabushiki Kaisha Tape cassette
US11235600B2 (en) 2009-12-16 2022-02-01 Brother Kogyo Kabushiki Kaisha Tape cassette
US9539837B2 (en) 2009-12-16 2017-01-10 Brother Kogyo Kabushiki Kaisha Tape cassette
US10265976B2 (en) 2009-12-16 2019-04-23 Brother Kogyo Kabushiki Kaisha Tape cassette
US11135862B2 (en) 2009-12-28 2021-10-05 Brother Kogyo Kabushiki Kaisha Tape cassette with indicator portion having pressing and non-pressing portion for indentifying tape type
US12128697B2 (en) 2009-12-28 2024-10-29 Brother Kogyo Kabushiki Kaisha Tape cassette
US10265982B2 (en) 2009-12-28 2019-04-23 Brother Kogyo Kabushiki Kaisha Tape cassette
US9656495B2 (en) 2009-12-28 2017-05-23 Brother Kogyo Kabushiki Kaisha Tape cassette
JP2011206914A (en) * 2010-03-26 2011-10-20 Brother Industries Ltd Tape cassette
JP2021161862A (en) * 2020-03-31 2021-10-11 積水化学工業株式会社 Eaves gutter, eaves gutter system, and eaves gutter packaging body
JP7750666B2 (en) 2020-03-31 2025-10-07 積水化学工業株式会社 Gutters, gutter systems, and gutter packaging

Similar Documents

Publication Publication Date Title
JP2005298031A (en) Packing material for eaves
WO1999003741A1 (en) Double panel boxes
US11319134B2 (en) Product packaging system
KR101211934B1 (en) Packing box having buffering case
KR102248198B1 (en) Prefabricated paper box for loading
KR100976392B1 (en) Packing box for carriage and manufacturing method of it
JP4969497B2 (en) Packaging equipment
JP5200280B2 (en) Flat rectangular battery packaging container and packaging method
JP6048197B2 (en) Packing material for hot water storage water heater
JP7230496B2 (en) Packing material
KR200431740Y1 (en) Packing box with internal packing material for product protection
JP5077387B2 (en) Packing equipment
JP3142797U (en) Shock relief transport container
JP4636065B2 (en) Packing box
JP2010260555A (en) Exhaust fan packaging equipment
JP2016210437A (en) Partition body and box using the same
JP5641428B2 (en) Packaging box
KR101802702B1 (en) Laminating pack board for fixing a goods
JP2008127050A (en) Packing box
JP2010100301A (en) Polygon package container
JP5016386B2 (en) Packaging material for rectangular frame and related parts
JP5147507B2 (en) Automotive bonnet packaging protection material
JP2007055629A (en) Packaging box
JP4456373B2 (en) Packaging box with product partition having uneven thickness part and product packaging method using this packaging box
JP3116606U (en) Food tray pack storage packaging box