JP2005296916A - ガス処理装置 - Google Patents

ガス処理装置 Download PDF

Info

Publication number
JP2005296916A
JP2005296916A JP2004179421A JP2004179421A JP2005296916A JP 2005296916 A JP2005296916 A JP 2005296916A JP 2004179421 A JP2004179421 A JP 2004179421A JP 2004179421 A JP2004179421 A JP 2004179421A JP 2005296916 A JP2005296916 A JP 2005296916A
Authority
JP
Japan
Prior art keywords
electrode
discharge
discharge electrode
counter electrode
plasma
Prior art date
Legal status (The legal status is an assumption and is not a legal conclusion. Google has not performed a legal analysis and makes no representation as to the accuracy of the status listed.)
Granted
Application number
JP2004179421A
Other languages
English (en)
Other versions
JP3709449B1 (ja
Inventor
Toshio Tanaka
利夫 田中
Kanji Mogi
完治 茂木
Kenkichi Kagawa
謙吉 香川
Current Assignee (The listed assignees may be inaccurate. Google has not performed a legal analysis and makes no representation or warranty as to the accuracy of the list.)
Daikin Industries Ltd
Original Assignee
Daikin Industries Ltd
Priority date (The priority date is an assumption and is not a legal conclusion. Google has not performed a legal analysis and makes no representation as to the accuracy of the date listed.)
Filing date
Publication date
Application filed by Daikin Industries Ltd filed Critical Daikin Industries Ltd
Priority to JP2004179421A priority Critical patent/JP3709449B1/ja
Application granted granted Critical
Publication of JP3709449B1 publication Critical patent/JP3709449B1/ja
Publication of JP2005296916A publication Critical patent/JP2005296916A/ja
Anticipated expiration legal-status Critical
Expired - Fee Related legal-status Critical Current

Links

Images

Landscapes

  • Physical Or Chemical Processes And Apparatus (AREA)
  • Disinfection, Sterilisation Or Deodorisation Of Air (AREA)
  • Electrostatic Separation (AREA)

Abstract

【課題】 電気集塵とプラズマによる臭気等の分解とを行うガス処理装置に関し、そのコンパクト化を図る。
【解決手段】 空気浄化装置(10)のケーシング(20)において、イオン化部(32)にはプラズマ発生装置(40)が一体的に組み込まれる。イオン化部(32)はイオン化線(35)を備え、負極部材(37)における断面が「コ」の字型の柱状部分が対向電極(36)を構成する。プラズマ発生装置(40)は、放電電極(41)を備えると共に、対向電極(36)をイオン化線(35)と共有する。空気浄化装置(10)の運転中、室内空気中の比較的小さな塵埃は、イオン化線(35)と対向電極(36)の間の放電により帯電し、静電フィルタ(33)に捕集される。放電電極(41)と対向電極(36)の間のストリーマ放電により低温プラズマが生じ、これに含まれる活性種によって、室内空気中の有害物質や臭気物質が分解される。
【選択図】 図1

Description

本発明は、放電を行って空気中の塵埃や臭気等を除去するガス処理装置に関する。
従来より、ガス処理装置の一種としては、特許文献1に開示されているように、放電を行って空気中の塵埃や臭気等を除去する空気清浄機が知られている。この空気清浄機には、集塵フィルタとプラズマ発生装置とが設けられている。プラズマ発生装置には、プラズマ発生電極板と対向電極板とが設けられおり、両電極板へ放電電圧を印加することにより、ストリーマ放電を起こしてプラズマを発生させるようにしている。
上記空気清浄機では、空気中の塵埃が集塵フィルタに捕集される。また、プラズマ発生装置では、ストリーマ放電によって発生したプラズマに含まれる反応性の高い物質(活性種)により空気中の悪臭成分が分解除去される。そして、塵埃及び悪臭成分が除去された清浄な空気は、供給空気として空気清浄機の外部へ放出される。
特開2001−218828号公報
上述のように、上記特許文献1に開示された空気清浄機では、集塵フィルタを用いたろ過によって塵埃の除去を行っている。一方、空気中の塵埃を除去する手段としては、いわゆる電気集塵も知られている。つまり、コロナ放電によって空気中の塵埃を帯電させ、帯電した塵埃を静電フィルタ(電気的集塵部材)により集塵する集塵方法も一般的に知られている。この電気集塵を採用すれば、集塵フィルタで単に空気をろ過する場合に比べ、より微小な塵埃をも除去することが可能である。そして、上記特許文献1の空気清浄機に電気集塵を適用し、その集塵能力を向上させることも考えられる。
ところが、上記のようなプラズマを脱臭等に利用するガス処理装置で電気集塵を採用すると、装置の大型化を招いてしまう。この点について説明する。電気集塵を採用する場合には、プラズマを発生させるストリーマ放電用の放電電極及び対向電極に加え、塵埃を帯電させるコロナ放電用の放電電極及び対向電極を空気通路に設置しなければならない。つまり、放電電極及び対向電極を二組設ける必要が生じる。このため、塵埃を帯電させるための放電電極及び対向電極を設置するスペースが必要となり、その分だけガス処理装置が大型化してしまう。
本発明は、かかる点に鑑みてなされたものであり、その目的とするところは、いわゆる電気集塵とプラズマによる臭気等の分解とを行うガス処理装置に関し、そのコンパクト化を図ることにある。
第1の発明は、被処理ガス中の塵埃を捕集すると共に、被処理ガス中の被処理成分を分解するガス処理装置を対象としている。そして、対向電極(36)と、上記被処理ガス中の塵埃が帯電するように上記対向電極(36)との間で放電を起こさせる第1放電極(35)と、帯電した上記被処理ガス中の塵埃を捕集する電気的集塵部材(33)と、上記被処理成分を分解するためのプラズマが発生するように上記対向電極(36)との間で放電を起こさせる第2放電極(41)とを備えるものである。
第2の発明は、第1の発明において、電気的集塵部材(33)が静電フィルタにより構成されているものである。
第3の発明は、第1の発明において、第2放電極(41)と対向電極(36)の間での放電により発生したプラズマで活性化されて被処理成分の分解を促進するプラズマ触媒を備えるものである。ここで、上記プラズマ触媒は、被処理ガス中の被処理成分に対して吸着性能を有するものが好ましく、更にプラズマの発生に伴い生じるオゾンなどの活性種を吸着分解できるものがより好ましい。
第4の発明は、第1の発明において、第1放電極(35)は、上記対向電極(36)に沿って延びる線状に形成され、第2放電極(41)は、上記第1放電極(35)の途中に電気的に接続されると共に上記対向電極(36)との距離が該対向電極(36)と第1放電極(35)の距離よりも短くなるように配置されるものである。
第5の発明は、第1の発明において、対向電極(36)は断面がコの字型の柱状に形成されており、該対向電極(36)の内側に少なくとも第2放電極(41)が配置されるものである。
第6の発明は、第1の発明において、波板状に形成されて対向電極(36)を構成する電極部材(37)を備える一方、上記電極部材(37)における一方の面側に第1放電極(35)が、他方の面側に第2放電極(41)がそれぞれ設けられ、第1放電極(35)及び第2放電極(41)は、それぞれ波板状の上記電極部材(37)における凹部の内側に配置されるものである。
第7の発明は、第1の発明において、第2放電極(41)と対向電極(36)の間での放電により発生したプラズマで活性化されて被処理成分の分解を促進する光半導体触媒を備えているものである。
第8の発明は、第7の発明のガス処理装置において、光半導体触媒が、電気的集塵部材(33)に担持されているものである。
第9の発明は、第3の発明のガス処理装置において、プラズマ触媒が、第2放電極(41)及び対向電極(36)の下流側に配置され、電気的集塵部材(33)には、第2放電極(41)と対向電極(36)の間での放電により発生したプラズマで活性化されて被処理成分の分解を促進する光半導体触媒が担持され、上記電気的集塵部材(33)は、上記第2放電極(41)及び対向電極(36)と上記プラズマ触媒との間に配置されているものである。
−作用−
上記第1及び第2の発明では、第1放電極(35)及び第2放電極(41)に対して対向電極(36)が併用される。第1放電極(35)と対向電極(36)の間に電圧を印加すると、両者の間で放電が行われる。この放電により、被処理ガス中の塵埃が帯電する。帯電した塵埃は、電気的集塵部材(静電フィルタ)(33)に捕集される。
一方、第2放電極(41)と対向電極(36)の間に電圧を印加すると、両者の間で放電が行われ、この放電によってプラズマが発生する。そして、ガス処理装置では、発生したプラズマを利用して被処理ガス中の被処理成分である有害物質や臭気物質などが分解される。
このように、第1放電極(35)と対向電極(36)の間と、第2放電極(41)と対向電極(36)の間とで異なる種類の放電が生じ、被処理ガス中の塵埃と被処理成分とがそれぞれ除去される。
上記第3の発明では、ガス処理装置にプラズマ触媒が設けられる。このプラズマ触媒は、第2放電極(41)と対向電極(36)の間で行われる放電により発生するプラズマによって活性化される。この活性化されたプラズマ触媒により、被処理ガス中の被処理成分の分解が促進される。
上記第4の発明では、線状に形成された第1放電極(35)の途中に、第2放電極(41)が電気的に接続される。つまり、第1放電極(35)と第2放電極(41)とは導通しており、電圧の印加時における両者の電位は等しい。
この発明では、第2放電極(41)と対向電極(36)の距離が、第1放電極(35)と対向電極(36)の距離よりも短い。このため、第1放電極(35)と第2放電極(41)の電位は等しいものの、第1放電極(35)と対向電極(36)の間の電界強度よりも第2放電極(41)と対向電極(36)の間の電界強度の方が大きくなる。よって、第2放電極(41)と対向電極(36)の間では、第1放電極(35)と対向電極(36)の間よりも強い放電が行われる。
上記第5の発明では、断面がコの字型の柱状に形成された対向電極(36)の内側に、少なくとも第2放電極(41)が配置される。この第2放電極(41)と対向電極(36)の内側面との間で放電が行われる。尚、対向電極(36)の内側に、第2放電極(41)に加えて第1放電極(35)を配置してもよい。
上記第6の発明では、ガス処理装置に電極部材(37)が設けられる。電極部材(37)は、「山」と「谷」が交互に繰り返す波板状に形成される。尚、電極部材(37)における波形の形状は、例えば正弦波状、矩形波状、三角波状など、どのような波形状であってもよい。
電極部材(37)では、その一方の面側に第1放電極(35)が設けられ、一方の面と向かい合う他方の面側に第2放電極(41)が設けられる。第1放電極(35)は、電極部材(37)の一方の面側から見た「谷」の部分、即ち凹部の内側に配置される。一方、第2放電極(41)は、電極部材(37)の他方の面側から見た「谷」の部分、即ち凹部の内側に配置される。そして、第1放電極(35)と電極部材(37)の間と、第2放電極(41)と電極部材(37)の間とのそれぞれにおいて放電が行われる。
上記第7の発明では、ガス処理装置に光半導体触媒が設けられる。この光半導体触媒は、一般には、光を照射することで活性化する「光触媒」として用いられるが、本発明では、光源が照射されていない状態においても、第2放電極(41)と対向電極(36)の間で行われる放電により発生するプラズマによって活性化される。この活性化された光半導体触媒により、被処理ガス中の被処理成分の分解が促進される。
ここで、光半導体触媒は、汚れが付着しにくい特性を有するため、光半導体触媒の表面に被処理ガス中の塵埃などが付着し、光半導体触媒の活性作用が低減してしまうことを抑制できる。
上記第8の発明では、光半導体触媒が電気的集塵部材(33)に担持される。そして、この光半導体触媒が、第2放電極(41)と対向電極(36)の間で行われる放電により発生するプラズマによって活性化される。この活性化された光半導体触媒により、被処理ガス中の被処理成分の分解が促進される。
また、光半導体触媒によって、電気的集塵部材(33)に付着した被処理成分(例えばタバコのヤニやアレルゲン)を分解することができる。更に、光半導体触媒によって、電気的集塵部材(33)における菌類の増殖を抑制することができる。
上記第9の発明では、第2放電極(41)と対向電極(36)との下流側に光半導体触媒が担持された電気的集塵部材(33)が配置される。更に、電気的集塵部材(33)の下流側にプラズマ触媒が配置される。このため、第2放電極(41)と対向電極(36)との間で行われる放電により発生するプラズマによって、電気的集塵部材(33)の光半導体触媒と、プラズマ触媒との双方が活性化される。そして、活性化された光半導体触媒及びプラズマ触媒によって、被処理ガス中の被処理成分の分解が効果的に促進される。
ここで、上記光半導体触媒とプラズマ触媒とが異なる活性特性を有する場合、複合した臭気成分が含まれた被処理成分を効果的に分解することができる。
また、プラズマ触媒が被処理ガス中の被処理成分に対して吸着性能を有する場合、光半導体触媒及びプラズマ触媒の活性化によって分解されなかった被処理成分をプラズマ触媒によって吸着除去できる。
更に、プラズマ放電時に生成するオゾンなどの活性種に対してプラズマ触媒が吸着分解性能を有する場合、プラズマ触媒によってオゾンなどの活性種を吸着分解除去できる。
本発明では、第1放電極(35)及び第2放電極(41)に対して対向電極(36)を併用して被処理ガス中の塵埃及び被処理成分の除去を行っている。つまり、第1放電極(35)と第2放電極(41)とは、それぞれ個別の対向電極との間で放電するのではなく、共通の対向電極(36)との間で放電している。従って、本発明によれば、第1放電極(35)と第2放電極(41)の対向電極(36)を共通化することで、それらの設置スペースを削減でき、ガス処理装置のコンパクト化を図ることができる。
上記第3の発明によれば、第2放電極(41)と対向電極(36)の間で行われる放電により生じるプラズマによって被処理ガス中の被処理成分が分解される一方、プラズマ触媒によって被処理ガス中の被処理成分の分解を促進することができる。従って、本発明によれば、ガス処理装置の処理性能を向上させることができる。
上記第4の発明では、第1放電極(35)の途中に第2放電極(41)が電気的に接続されており、第1放電極(35)と第2放電極(41)の両方に個別に電圧を印加する必要がなくなる。このため、例えば第1放電極(35)を電源に接続するだけで、第1放電極(35)と第2放電極(41)の両方に電圧を印加できる。従って、本発明によれば、電圧を印加するための構成を簡素化できる。
上記第6の発明では、波板状の電極部材(37)における一方の面側の凹部の内側に第1放電極(35)、他方の面側の凹部の内側に第2放電極(41)を設けている。このため、波板状の電極部材(37)の厚みの範囲内に、第1放電極(35)と第2放電極(41)の両方を配置することができる。従って、本発明によれば、第1放電極(35)及び第2放電極(41)の設置スペースを一層削減でき、ガス処理装置の更なるコンパクト化を図ることができる。
上記第7の発明によれば、光半導体触媒の活性化によってプラズマ放電による被処理成分の分解が促進され、ガス処理装置の処理性能を向上させることができる。
また、光半導体触媒は、汚れが付着しにくい特性を有するため、光半導体触媒の表面に被処理ガス中の汚れが付着し、この光半導体触媒の活性作用が低減してしまうことを抑制できる。従って、ガス処理装置の処理性能の安定化を図ることができる。
上記第8の発明によれば、光半導体触媒を電気的集塵部材(33)に担持することで、上述した光半導体触媒の活性作用を電気的集塵部材(33)に付与させることができる。従って、コンパクトな構成において、電気的集塵部材(33)による塵埃の捕集効果と光半導体触媒による分解促進効果とを得ることができる。
また、電気的集塵部材(33)に光半導体触媒を担持させることで、電気的集塵部材(33)に吸着された臭気成分の分解効果、あるいは電気的集塵部材(33)における除菌効果を得ることができる。従って、電気的集塵部材(33)の長寿命化を図ることができる。
上記第9の発明によれば、第2放電極(41)と対向電極(36)の下流側に、光半導体触媒が担持された電気的集塵部材(33)及びプラズマ触媒を配置し、光半導体触媒とプラズマ触媒との双方を活性化させることで、被処理成分の分解作用を促進できるようにしている。従って、ガス処理装置の処理性能を効果的に向上させることができる。
ここで、上記光半導体触媒とプラズマ触媒とが異なる活性特性を有する場合には、複合した臭気成分が含まれた被処理成分を効果的に分解することができる。従って、複合臭気を含む被処理ガスに対するガス処理装置の処理性能を向上させることができる。
また、プラズマ触媒が被処理成分に対して吸着性能を有する場合、プラズマ放電によって分解除去しきれなかった被処理成分をプラズマ触媒によって吸着除去できる。従って、臭気成分の濃度負荷の変動に追随した処理性能を得ることができ、このガス処理装置の信頼性の向上を図ることができる。
更に、プラズマ触媒がプラズマ放電によって生じたオゾンなどの活性種に対して吸着分解性能を有する場合、上記オゾンなどの活性種をプラズマ触媒によって分解除去することができる。従って、プラズマ放電によって装置内で生じた活性種(副生成物)が機外へ放出されてしまうことを抑止でき、このガス処理装置の信頼性の向上を一層図ることができる。
以下、本発明の実施形態を図面に基づいて詳細に説明する。本実施形態に係るガス処理装置は、一般家庭や小規模店舗などで用いられる空気浄化装置(10)である。
《発明の実施形態1》
図1に示すように、本実施形態の空気浄化装置(10)は、一端が開放された箱形のケーシング本体(21)と、その開放端面に装着される前面プレート(22)とからなるケーシング(20)とを備えている。ケーシング(20)の前面プレート(22)側の両側面には空気吸込口(23)が形成されている。また、ケーシング本体(21)には、天板の背板寄りに空気吹出口(24)が形成されている。
ケーシング(20)内には、空気吸込口(23)から空気吹出口(24)まで被処理ガスである室内空気が流れる空気通路(25)が形成されている。この空気通路(25)には、空気流れの上流側から順に、空気浄化を行う各種の機能部品(30)と、該空気通路(25)に室内空気を流通させるための遠心送風機(26)とが配置されている。
上記機能部品(30)には、前面プレート(22)側から順に、プレフィルタ(31)、イオン化部(32)、静電フィルタ(電気的集塵部材)(33)、そして触媒フィルタ(34)が設けられている。イオン化部(32)には、低温プラズマを発生させるためのプラズマ発生装置(40)が一体的に組み込まれている。
上記プレフィルタ(31)は、室内空気中に含まれる比較的大きな塵埃を捕集するフィルタである。
上記イオン化部(32)は、プレフィルタ(31)を通過した室内空気中に含まれる比較的小さな塵埃を帯電させ、この塵埃を、イオン化部(32)の下流側に配置されている静電フィルタ(33)により捕集するためのものである。
上記イオン化部(32)には、電極部材としての負極部材(37)が設けられている。この負極部材(37)は、金属板を波板状にプレス成形したものであって、ケーシング(20)内に立設されている。具体的に、この負極部材(37)は、その波形が矩形波状の波板状に形成されている。言い換えると、負極部材(37)では、断面が「コ」の字型で上下に延びる柱状の部分と、上下に細長い長方形板状の部分とが水平方向に交互に複数ずつ形成されている。そして、負極部材(37)は、断面が「コ」の字型の柱状部分における開口側が静電フィルタ(33)側へ向く姿勢、つまりその開口側が空気流れの下流側へ向く姿勢で設置されている。
上記負極部材(37)において、断面が「コ」の字型の柱状部分は、対向電極(36)を構成している。この柱状部分では、その開口側に直交する部分が一対の側面部分(37b)を構成し、側面部分(37b)に直交してプレフィルタ(31)側に位置する部分が前面部分(37a)を構成している。一方、この柱状部分に挟まれた長方形状の部分は、背面部分(37c)を構成している。図2に示すように、この背面部分(37c)には、多数の空気孔(50)が開口している。また、側面部分(37b)における背面部分(37c)寄りの箇所にも、多数の空気孔(50)が開口している。
上記イオン化部(32)には、第1放電極であるイオン化線(35)が複数設けられている。このイオン化線(35)は、負極部材(37)をプレフィルタ(31)側から見たときの凹部の内側、即ち一対の側面部分(37b)と背面部分(37c)とによって三方を囲まれた部分の内側に設けられている。また、イオン化線は、イオン化部(32)の上端から下端まで張架されており、下端において対向電極(36)を跨ぐように設けられている。各イオン化線(35)は、それぞれが静電フィルタ(33)に平行な一枚の仮想面上に等間隔に位置している。
上記プラズマ発生装置(40)は、第2放電極である放電電極(41)を備えると共に、上記対向電極(36)をイオン化線(35)と共有している。
図2に示すように、放電電極(41)は、負極部材(37)を静電フィルタ(33)側から見たときの凹部の内側、即ち前面部分(37a)と一対の側面部分(37b)とによって三方を囲まれた部分の内側に設けられている。つまり、放電電極(41)は、「コ」の字型の対向電極(36)の内側に配置されている。具体的に、対向電極(36)の内側には、断面が正方形で上下に延びる柱状の電極保持部材(43)が設けられている。電極保持部材(43)の側面のうち前面部分(37a)側の面には、複数の固定部材(44)が上下方向に等間隔に取り付けられている。各固定部材(44)には、放電電極(41)が設けられている。つまり、この放電電極(41)は、固定部材(44)を介して電極保持部材(43)に保持されている。放電電極(41)は線状ないし棒状の電極であり、固定部材(44)から突出した部分が前面部分(37a) と実質的に平行になるように配置されている。
また、電極保持部材(43)及び固定部材(44)は、放電電極(41)と同種の金属により形成されている。放電電極(41)及び電極保持部材(43)は、固定部材(44)を通じて導通している。
上記イオン化部(32)には、イオン化線(35)と対向電極(36)の間に電圧を印加する高圧の直流電源(45)が設けられている。この直流電源(45)は、プラズマ発生装置(40)の電源も兼ねている。直流電源(45)によってイオン化線(35)と放電電極(41)に電圧を印加すると、イオン化線(35)の周囲でイオンが発生するとともに、放電電極(41)の先端から対向電極(36)に向かってストリーマ放電が発生する。イオン化線(35)と放電電極(41)には同電位の高電圧(例えば5kV)が印加されるが、イオン化線(35)と対向電極(36)の距離を例えば10mmとし、放電電極(41)と対向電極(36)の距離を例えば5mmとすることで電界強度に差を付けて、イオン化部(32)におけるイオン発生作用とプラズマ発生装置(40)におけるストリーマ放電作用とを同時に起こすようにしている。
上記静電フィルタ(33)は、上記放電電極(41)と対向電極(36)とで構成されたプラズマ発生装置(40)の下流側に配置されている。静電フィルタ(33)は、上流側の面において、上述したイオン化部(32)によって帯電された比較的小さな塵埃を捕集する一方、下流側の面には光半導体触媒が担持されて光半導体触媒層(38)が形成されている。光半導体触媒層(38)の光半導体触媒は、放電電極(41)と対向電極(36)での放電によって生成される低温プラズマ中の反応性の高い物質(電子、イオン、オゾン、ラジカルなどの活性種)によって更に活性化され、室内空気中の被処理成分である有害物質や臭気物質の分解を促進する。なお、光半導体触媒は、例えば二酸化チタンや酸化亜鉛、あるいはタングステン酸化物や硫化カドミウムなどが用いられる。
上記触媒フィルタ(34)は、静電フィルタ(33)の下流側に配置されている。この触媒フィルタ(34)は、例えばハニカム構造の基材の表面にプラズマ触媒を担持したものである。このプラズマ触媒は、上記光半導体触媒と同様に、放電電極(41)と対向電極(36)での放電によって生成される低温プラズマ中の反応性の高い物質(電子、イオン、オゾン、ラジカルなどの活性種)を更に活性化し、室内空気中の被処理成分である有害物質や臭気物質の分解を促進する。このプラズマ触媒には、マンガン系触媒や貴金属系触媒、更にこれらの触媒に活性炭などの吸着剤を添加したものが用いられる。
−運転動作−
次に、空気浄化装置(10)の運転動作について説明する。
空気浄化装置(10)の運転中は、遠心送風機(26)が起動し、被処理ガスである室内空気がケーシング(20)内の空気通路(25)を流通する。また、この状態において、イオン化部(32)及びプラズマ発生装置(40)に、直流電源(45)から高電圧が印加される。
室内空気がケーシング(20)内に導入されると、まずプレフィルタ(31)において比較的大きな塵埃が除去される。プレフィルタ(31)を通過した室内空気は、イオン化部(32)へと流れる。イオン化部(32)では、イオン化線(35)と対向電極(36)の間での放電により室内空気中の比較的小さな塵埃が帯電する。この帯電した塵埃を含む室内空気は、側面部分(37b)や背面部分(37c)に設けられた空気孔(50)を通り抜けて、静電フィルタ(33)へ流入する。静電フィルタ(33)では、帯電した塵埃が捕集される。
イオン化部(32)に一体的に組み込まれたプラズマ発生装置(40)では、放電電極(41)と対向電極(36)の間でのストリーマ放電により低温プラズマが発生している。一方、放電中には、図2に破線で示すように、前面部分(37a)に反射して空気流れの下流側に向かうイオン風が発生する。そして、発生した低温プラズマは、このイオン風に乗ってイオン化部(32)を通過し、室内空気とともに下流側へ流れてゆく。
低温プラズマには、反応性の高い物質(活性種)が含まれている。そして、この反応性の高い物質は、空気通路(25)を流通する室内空気と接触して室内空気中の有害物質や臭気物質を分解する。また、上記活性種が、静電フィルタ(33)に達すると、静電フィルタ(33)の光半導体触媒層(38)に担持された光半導体触媒によって更に活性化し、室内空気中の有害物質や臭気成分が更に分解される。そして、この活性種が、触媒フィルタ(34)に達すると、これらの物質は更に活性化し、室内空気中の有害物質や臭気物質が更に分解される。
以上のようにして塵埃が除去されるとともに有害物質や臭気物質も除去された清浄な室内空気は、遠心送風機(26)へと取り込まれ、空気吹出口(24)から室内へ吹き出される。
−実施形態1の効果−
本実施形態では、イオン化部(32)とプラズマ発生装置(40)とが対向電極(36)を共用している。つまり、イオン化線(35)と放電電極(41)とは、それぞれ個別の対向電極との間で放電するのではなく、共通の対向電極(36)との間で放電している。従って、本実施形態によれば、イオン化線(35)と放電電極(41)の対向電極(36)を共通化することで、それらの設置スペースを削減でき、空気浄化装置(10)のコンパクト化を図ることができる。
本実施形態によれば、放電電極(41)と対向電極(36)の間で行われる放電により生じるプラズマによって室内空気中の有害物質及び臭気物質が分解される一方、プラズマ触媒によって室内空気中の有害物質及び臭気物質の分解を促進することができる。従って、本実施形態によれば、空気浄化装置(10)の処理性能を向上させることができる。
また、本実施形態では、断面が「コ」の字型の対向電極(36)の内側に放電電極(41)を設けており、放電により生じたイオン風が対向電極(36)の外へは拡散せずに空気流れの下流側へ向かって流れる。このため、放電電極(41)と対向電極(36)の間で行われる放電により生じるプラズマは、このイオン風と共に確実に触媒フィルタ(34)へ供給される。従って、本実施形態によれば、室内空気中の有害物質及び臭気物質の分解を一層促進することができ、空気浄化装置(10)の処理性能を一層向上させることができる。
また、本実施形態によれば、対向電極(36)の下流側に放電電極(41)を配置しているため、放電電極(41)に付着する室内空気中の塵埃などの量を大幅に削減できる。従って、放電電極(41)と対向電極(36)の間で安定したストリーマ放電を続けることが可能となり、空気浄化装置(10)の処理性能を保持し続けることができる。
更に、本実施形態では、波板状の負極部材(37)における一方の面側の凹部の内側にイオン化線(35)、他方の面側の凹部の内側に放電電極(41)を設けている。このため、波板状の負極部材(37)の厚みの範囲内に、イオン化線(35)と放電電極(41)の両方を配置することができる。従って、本実施形態によれば、イオン化線(35)及び放電電極(41)の設置スペースを一層削減でき、空気浄化装置(10)の更なるコンパクト化を図ることができる。
更に、本実施形態によれば、静電フィルタ(33)に光半導体触媒を担持させているため、プラズマによる室内空気中の有害物質及び臭気物質の分解を促進させることができる。従って、空気浄化装置(10)の処理性能を向上させることができる。また、静電フィルタ(33)に光半導体触媒を一体的に組み込むことによって、空気浄化装置(10)の薄型化、コンパクト化を図ることができる。
更に、静電フィルタ(33)に光半導体触媒を担持させることで、静電フィルタ(33)に吸着された臭気成分の分解効果、あるいは静電フィルタ(33)における除菌効果を得ることができる。従って、静電フィルタ(33)の長寿命化を図ることができる。
−実施形態1の変形例−
上記実施形態1の空気浄化装置(10)について、イオン化部(32)におけるプラズマ発生装置(40)の構成を変更してもよい。
まず、図3に示すように、第1の変形例では、プラズマ発生装置(40)の電極保持部材(43)に、放電電極(41)が取り付けられる。放電電極(41)は、三角形板状の小片であって、電極保持部材(43)における前面部分(37a)側の側面に立設されている。そして、電圧の印加時には、放電電極(41)の先端から対向電極(36)へ向かってストリーマ放電が発生する。
次に、図4に示すように、第2の変形例において、プラズマ発生装置(40)の電極保持部材(43)は、その一部に放電電極(41)となる部分を有している。つまり、放電電極(41)が電極保持部材(43)に保持されるのではなく、電極保持部材(43)の複数箇所が、等間隔に突起した放電電極(41)となっている。
具体的に、電極保持部材(43)は、縦長の細長い平板状に形成され、側面部分(37b)と平行に設けられている。電極保持部材(43)における前面部分(37a)側の側面には、三角形状の突起が一定間隔で複数設けられている。この突起した部分が放電電極(41)となっている。そして、電圧の印加時には、放電電極(41)の先端から対向電極(36)へ向かってストリーマ放電が発生する。
《発明の実施形態2》
本発明の実施形態2は、上記実施形態1において、イオン化部(32)の構成を変更したものである。ここでは、本実施形態について、上記実施形態1と異なる点を説明する。
図5に示すように、本実施形態の空気浄化装置(10)では、イオン化部(32)の前面部分(37a)に、円形の通風孔(51)が複数設けられている。この通風孔(51)は、電極保持部材(43)に設けられる各固定部材(44)の概ね中間に位置している。プレフィルタ(31)を通過後の室内空気の一部は、図5に実線で示すように、この通風孔(51)を通ってイオン化部(32)へ流入する。
一方、プラズマ発生装置(40)では、放電電極(41)と対向電極(36)の間でのストリーマ放電により低温プラズマが発生している。低温プラズマに含まれる活性種は、この通風孔(51)を通過した室内空気に乗って、空気通路(25)の全体に拡散しながら触媒フィルタ(34)へ流れてゆく。触媒フィルタ(34)において、プラズマ触媒が一層活性化され、室内空気中の有害物質や臭気物質の分解が一層促進される。従って、本実施形態によれば、空気通路(25)を流れる室内空気中の有害物質や臭気物質を確実に分解することができ、空気浄化装置(10)の処理性能を向上させることができる。
《発明の実施形態3》
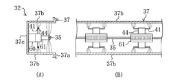
本発明の実施形態3は、上記実施形態1において、イオン化部(32)の構成を変更したものである。ここでは、本実施形態について、図6を用いて上記実施形態1と異なる点を説明する。尚、図6において、(A)は平面図、(B)は空気流れの上流側から見た図を示す。また、この点は、図7においても同様である。
本実施形態の空気浄化装置(10)では、イオン化部(32)の背面部分(37c)に、複数の絶縁碍子(60)が取り付られている。この絶縁碍子(60)は、電気の導通を絶縁するためのものであって、負極部材(37)の上下方向に等間隔に設けられている。各絶縁碍子(60)のプレフィルタ(31)側には、通電部材(61)が取り付けられている。この通電部材(61)は、電気を導通させるためのものである。
通電部材(61)の側面のうち側面部分(37b)側の面には、固定部材(44)を介して放電電極(41)が取り付けられている。また、通電部材(61)のプレフィルタ(31)側には、イオン化線(35)が設けられており、このイオン化線(35)は、通電部材(61)に支持されている。つまり、上記イオン化線(35)と放電電極(41)とは、通電部材(61)を介して導通している。
イオン化線(35)と放電電極(41)の何れか一方に放電電圧を印加すると、イオン化線(35)と放電電極(41)とが同電位となる。そして、イオン化線(35)と側面部分(37b)の対向電極(36)との間で、また、放電電極(41)と側面部分(37b)の対向電極(36)との間で放電が行われる。
ここで、放電電極(41)と対向電極(36)の距離は、イオン化線(35)と対向電極(36)の距離よりも十分に短くなっており、両者の電界強度には差が生じる。このため、放電電極(41)と対向電極(36)の間ではストリーマ放電が行われ、これによりプラズマが発生して室内空気中の有害物質や臭気物質が分解除去される。また、イオン化線(35)と対向電極(36)の間での放電により、室内空気中の塵埃が帯電する。
−実施形態3の変形例−
上記実施形態3の空気浄化装置(10)において、イオン化部(32)の構成を変更してもよい。ここでは、本変形例について、上記実施形態3と異なる点を説明する。
図7に示すように、本変形例の空気浄化装置(10)では、イオン化線(35)の途中に、複数の放電電極(41)が等間隔に設けられている。つまり、上記イオン化線(35)と放電電極(41)とは、導通している。放電電極(41)は、空気流れの上流側から見た断面がひし形であって、イオン化線(35)を中心として対称となるように設けられている。そして、イオン化線(35)と側面部分(37b)の対向電極(36)との間で、また、放電電極(41)と側面部分(37b)の対向電極(36)との間で放電が行われる。
本変形例では、イオン化線(35)の途中に放電電極(41)が電気的に接続されており、イオン化線(35)と放電電極(41)の両方に個別に電圧を印加する必要がなくなる。このため、例えばイオン化線(35)を電源に接続するだけで、イオン化線(35)と放電電極(41)の両方に電圧を印加できる。従って、本変形例によれば、電圧を印加するための構成を簡素化できる。
《その他の実施形態》
−第1変形例−
上記実施形態1及び2の空気浄化装置(10)において、イオン化部(32)の構成を変更してもよい。
図8に示すように、本変形例の空気浄化装置(10)では、イオン化部(32)の負極部材(37)に設けられる空気孔(50)が、側面部分(37b)のみに存在している。つまり、空気孔(50)は、背面部分(37c)には存在していない。イオン化部(32)へ流入した室内空気は、その全てが側面部分(37b)の空気孔(50)を通り抜け、「コ」の字型に設けられた対向電極(36)の開口側から下流側へと流れる。
一方、プラズマ発生装置(40)では、放電電極(41)と対向電極(36)の間でのストリーマ放電により低温プラズマが発生している。低温プラズマに含まれる活性種は、この空気孔(50)を通過した室内空気に乗って、空気通路(25)の全体に拡散しながら触媒フィルタ(34)へ流れてゆく。触媒フィルタ(34)において、プラズマ触媒が一層活性化され、室内空気中の有害物質や臭気物質の分解が一層促進される。従って、本変形例によれば、空気通路(25)を流れる室内空気中の有害物質や臭気物質を確実に分解することができ、空気浄化装置(10)の処理性能を向上させることができる。
尚、本変形例では、背面部分(37c)を構成する部分と前面部分(37a)及び側面部分(37b)を構成する部分とを別個の部材で形成し、各部材を互いに隙間ができるように配置してもよい。この場合、背面部分(37c)を構成する部材が邪魔板として作用するため、イオン化部(32)へ流入した室内空気は、前面部分(37a)及び側面部分(37b)を構成する部材と背面部分(37c)を構成する部材の間に設けられる隙間を通って下流側へと流れる。
−第2変形例−
上記実施形態1〜3の空気浄化装置(10)において、イオン化部(32)の構成を変更してもよい。本変形例のイオン化部(32)において、負極部材(37)における波形の形状は、矩形波状に限らず、正弦波状や三角波状など、どのような波形状であってもよい。上記負極部材(37)では、そのプレフィルタ(31)側の面にイオン化線(35)が設けられ、この面と向かい合う触媒フィルタ(34)側の面に放電電極(41)が設けられる。イオン化線(35)は、負極部材(37)をプレフィルタ(31)側から見た「谷」の部分、即ち凹部の内側に配置される。一方、放電電極(41)は、負極部材(37)を静電フィルタ(33)側から見た「谷」の部分、即ち凹部の内側に配置される。
−第3変形例−
上記実施形態では、電気的集塵部材として静電フィルタ(33)を用いているが、静電フィルタの代わりに、集塵板(電極板)を電気的集塵部材として用いてもよい。
−第4変形例−
また、上記実施形態では、プラズマ発生装置(40)の下流側に、例えばマンガン系触媒や貴金属系触媒などのプラズマ触媒が基材に担持された触媒フィルタ(34)を設けている。しかしながら、プラズマ発生装置(40)の下流側には、この触媒フィルタ(34)の代わりに、例えば活性炭やゼオライトなどの吸着剤が基材に担持された吸着処理部材を設けるようにしてもよい。
以上説明したように、本発明は、放電を行って空気中の塵埃や臭気等を除去するガス処理装置について有用である。
実施形態1に係る空気浄化装置の分解斜視図である。 実施形態1に係る空気浄化装置におけるイオン化部の要部拡大斜視図である。 実施形態1に係る空気浄化装置におけるイオン化部の要部拡大斜視図である。 実施形態1に係る空気浄化装置におけるイオン化部の要部拡大斜視図である。 実施形態2に係る空気浄化装置におけるイオン化部の要部拡大斜視図である。 実施形態3に係る空気浄化装置におけるイオン化部の構成を示す概略図である。 実施形態3に係る空気浄化装置におけるイオン化部の構成を示す概略図である。 その他の実施形態に係る空気浄化装置におけるイオン化部の要部拡大斜視図である。
符号の説明
(33) 電気的集塵部材(静電フィルタ)
(35) 第1放電極(イオン化線)
(36) 対向電極
(37) 電極部材(負極部材)
(41) 第2放電極(放電電極)
本発明は、放電を行って空気中の塵埃や臭気等を除去するガス処理装置に関する。
従来より、ガス処理装置の一種としては、特許文献1に開示されているように、放電を行って空気中の塵埃や臭気等を除去する空気清浄機が知られている。この空気清浄機には、集塵フィルタとプラズマ発生装置とが設けられている。プラズマ発生装置には、プラズマ発生電極板と対向電極板とが設けられおり、両電極板へ放電電圧を印加することにより、ストリーマ放電を起こしてプラズマを発生させるようにしている。
上記空気清浄機では、空気中の塵埃が集塵フィルタに捕集される。また、プラズマ発生装置では、ストリーマ放電によって発生したプラズマに含まれる反応性の高い物質(活性種)により空気中の悪臭成分が分解除去される。そして、塵埃及び悪臭成分が除去された清浄な空気は、供給空気として空気清浄機の外部へ放出される。
特開2001−218828号公報
上述のように、上記特許文献1に開示された空気清浄機では、集塵フィルタを用いたろ過によって塵埃の除去を行っている。一方、空気中の塵埃を除去する手段としては、いわゆる電気集塵も知られている。つまり、コロナ放電によって空気中の塵埃を帯電させ、帯電した塵埃を静電フィルタ(電気的集塵部材)により集塵する集塵方法も一般的に知られている。この電気集塵を採用すれば、集塵フィルタで単に空気をろ過する場合に比べ、より微小な塵埃をも除去することが可能である。そして、上記特許文献1の空気清浄機に電気集塵を適用し、その集塵能力を向上させることも考えられる。
ところが、上記のようなプラズマを脱臭等に利用するガス処理装置で電気集塵を採用すると、装置の大型化を招いてしまう。この点について説明する。電気集塵を採用する場合には、プラズマを発生させるストリーマ放電用の放電電極及び対向電極に加え、塵埃を帯電させるコロナ放電用の放電電極及び対向電極を空気通路に設置しなければならない。つまり、放電電極及び対向電極を二組設ける必要が生じる。このため、塵埃を帯電させるための放電電極及び対向電極を設置するスペースが必要となり、その分だけガス処理装置が大型化してしまう。
本発明は、かかる点に鑑みてなされたものであり、その目的とするところは、いわゆる電気集塵とプラズマによる臭気等の分解とを行うガス処理装置に関し、そのコンパクト化を図ることにある。
第1の発明は、被処理ガス中の塵埃を捕集すると共に、被処理ガス中の被処理成分を分解するガス処理装置を対象としている。そして、対向電極(36)と、上記被処理ガス中の塵埃が帯電するように上記対向電極(36)との間で放電を起こさせる複数の第1放電極(35)と、帯電した上記被処理ガス中の塵埃を捕集する電気的集塵部材(33)と、上記被処理成分を分解するためのプラズマが発生するように上記対向電極(36)との間で放電を起こさせる複数の第2放電極(41)とを備え、上記第1放電極(35)と第2放電極(41)とは、被処理ガスの流れと直交する面上であって実質的に同一面上に配置されているものである。
第2の発明は、被処理ガス中の塵埃を捕集すると共に、被処理ガス中の被処理成分を分解するガス処理装置を対象としている。そして、対向電極(36)と、上記被処理ガス中の塵埃が帯電するように上記対向電極(36)との間で放電を起こさせる第1放電極(35)と、帯電した上記被処理ガス中の塵埃を捕集する電気的集塵部材(33)と、上記被処理成分を分解するためのプラズマが発生するように上記対向電極(36)との間で放電を起こさせる第2放電極(41)とを備え、上記第2放電極(41)と対向電極(36)との間の放電が被処理ガスの流れの下流側から上流側に向かって行われるように、上記対向電極(36)が被処理ガスの流れの上流側に位置し、上記第2放電極(41)が被処理ガスの流れの下流側に位置しているものである。
第3の発明は、被処理ガス中の塵埃を捕集すると共に、被処理ガス中の被処理成分を分解するガス処理装置を対象としている。そして、対向電極(36)と、上記被処理ガス中の塵埃が帯電するように上記対向電極(36)との間で放電を起こさせる第1放電極(35)と、帯電した上記被処理ガス中の塵埃を捕集する電気的集塵部材(33)と、上記被処理成分を分解するためのプラズマが発生するように上記対向電極(36)との間で放電を起こさせる第2放電極(41)とを備え、上記対向電極(36)は、第2放電極(41)の周囲を覆う柱状に形成されており、該対向電極(36)の内側に少なくとも第2放電極(41)が配置されているものである。
第4の発明は、被処理ガス中の塵埃を捕集すると共に、被処理ガス中の被処理成分を分解するガス処理装置を対象としている。そして、対向電極(36)と、上記被処理ガス中の塵埃が帯電するように上記対向電極(36)との間で放電を起こさせる第1放電極(35)と、帯電した上記被処理ガス中の塵埃を捕集する電気的集塵部材(33)と、上記被処理成分を分解するためのプラズマが発生するように上記対向電極(36)との間で放電を起こさせる第2放電極(41)とを備え、上記対向電極(36)は断面がコの字型の柱状に形成されており、該対向電極(36)の内側に少なくとも第2放電極(41)が配置されているものである。
第5の発明は、被処理ガス中の塵埃を捕集すると共に、被処理ガス中の被処理成分を分解するガス処理装置を対象としている。そして、波板状に形成されて対向電極(36)を構成する電極部材(37)と、上記被処理ガス中の塵埃が帯電するように上記電極部材(37)との間で放電を起こさせる第1放電極(35)と、帯電した上記被処理ガス中の塵埃を捕集する電気的集塵部材(33)と、上記被処理成分を分解するためのプラズマが発生するように上記電極部材(37)との間で放電を起こさせる第2放電極(41)とを備え、上記電極部材(37)における一方の面側に第1放電極(35)が、他方の面側に第2放電極(41)がそれぞれ設けられ、上記第1放電極(35)及び第2放電極(41)は、それぞれ波板状の上記電極部材(37)における凹部の内側に配置されているものである。
第6の発明は、第1ないし第5の発明の何れか1の発明において、電気的集塵部材(33)が静電フィルタにより構成されているものである。
第7の発明は、第1ないし第5の発明の何れか1の発明において、第2放電極(41)と対向電極(36)の間での放電により発生したプラズマで活性化されて被処理成分の分解を促進するプラズマ触媒を備えるものである。ここで、上記プラズマ触媒は、被処理ガス中の被処理成分に対して吸着性能を有するものが好ましく、更にプラズマの発生に伴い生じるオゾンなどの活性種を吸着分解できるものがより好ましい。
第8の発明は、第1ないし第5の発明の何れか1の発明において、第1放電極(35)は、上記対向電極(36)に沿って延びる線状に形成され、第2放電極(41)は、上記第1放電極(35)の途中に電気的に接続されると共に上記対向電極(36)との距離が該対向電極(36)と第1放電極(35)の距離よりも短くなるように配置されるものである。
第9の発明は、第1ないし第5の発明の何れか1の発明において、第2放電極(41)と対向電極(36)の間での放電により発生したプラズマで活性化されて被処理成分の分解を促進する光半導体触媒を備えているものである。
第10の発明は、第9の発明において、光半導体触媒が、電気的集塵部材(33)に担持されているものである。
第11の発明は、第7の発明において、プラズマ触媒が、第2放電極(41)及び対向電極(36)の下流側に配置され、電気的集塵部材(33)には、第2放電極(41)と対向電極(36)の間での放電により発生したプラズマで活性化されて被処理成分の分解を促進する光半導体触媒が担持され、上記電気的集塵部材(33)は、上記第2放電極(41)及び対向電極(36)と上記プラズマ触媒との間に配置されているものである。
−作用−
上記第1ないし第6の発明では、第1放電極(35)及び第2放電極(41)に対して対向電極(36)が併用される。第1放電極(35)と対向電極(36)の間に電圧を印加すると、両者の間で放電が行われる。この放電により、被処理ガス中の塵埃が帯電する。帯電した塵埃は、電気的集塵部材(静電フィルタ)(33)に捕集される。
一方、第2放電極(41)と対向電極(36)の間に電圧を印加すると、両者の間で放電が行われ、この放電によってプラズマが発生する。そして、ガス処理装置では、発生したプラズマを利用して被処理ガス中の被処理成分である有害物質や臭気物質などが分解される。
このように、第1放電極(35)と対向電極(36)の間と、第2放電極(41)と対向電極(36)の間とで異なる種類の放電が生じ、被処理ガス中の塵埃と被処理成分とがそれぞれ除去される。
特に、上記第4の発明では、断面がコの字型の柱状に形成された対向電極(36)の内側に、少なくとも第2放電極(41)が配置される。この第2放電極(41)と対向電極(36)の内側面との間で放電が行われる。尚、対向電極(36)の内側に、第2放電極(41)に加えて第1放電極(35)を配置してもよい。
上記第5の発明では、ガス処理装置に電極部材(37)が設けられる。電極部材(37)は、「山」と「谷」が交互に繰り返す波板状に形成される。尚、電極部材(37)における波形の形状は、例えば正弦波状、矩形波状、三角波状など、どのような波形状であってもよい。
電極部材(37)では、その一方の面側に第1放電極(35)が設けられ、一方の面と向かい合う他方の面側に第2放電極(41)が設けられる。第1放電極(35)は、電極部材(37)の一方の面側から見た「谷」の部分、即ち凹部の内側に配置される。一方、第2放電極(41)は、電極部材(37)の他方の面側から見た「谷」の部分、即ち凹部の内側に配置される。そして、第1放電極(35)と電極部材(37)の間と、第2放電極(41)と電極部材(37)の間とのそれぞれにおいて放電が行われる。
上記第7の発明では、ガス処理装置にプラズマ触媒が設けられる。このプラズマ触媒は、第2放電極(41)と対向電極(36)の間で行われる放電により発生するプラズマによって活性化される。この活性化されたプラズマ触媒により、被処理ガス中の被処理成分の分解が促進される。
上記第8の発明では、線状に形成された第1放電極(35)の途中に、第2放電極(41)が電気的に接続される。つまり、第1放電極(35)と第2放電極(41)とは導通しており、電圧の印加時における両者の電位は等しい。
この発明では、第2放電極(41)と対向電極(36)の距離が、第1放電極(35)と対向電極(36)の距離よりも短い。このため、第1放電極(35)と第2放電極(41)の電位は等しいものの、第1放電極(35)と対向電極(36)の間の電界強度よりも第2放電極(41)と対向電極(36)の間の電界強度の方が大きくなる。よって、第2放電極(41)と対向電極(36)の間では、第1放電極(35)と対向電極(36)の間よりも強い放電が行われる。
上記第9の発明では、ガス処理装置に光半導体触媒が設けられる。この光半導体触媒は、一般には、光を照射することで活性化する「光触媒」として用いられるが、本発明では、光源が照射されていない状態においても、第2放電極(41)と対向電極(36)の間で行われる放電により発生するプラズマによって活性化される。この活性化された光半導体触媒により、被処理ガス中の被処理成分の分解が促進される。
ここで、光半導体触媒は、汚れが付着しにくい特性を有するため、光半導体触媒の表面に被処理ガス中の塵埃などが付着し、光半導体触媒の活性作用が低減してしまうことを抑制できる。
上記第10の発明では、光半導体触媒が電気的集塵部材(33)に担持される。そして、この光半導体触媒が、第2放電極(41)と対向電極(36)の間で行われる放電により発生するプラズマによって活性化される。この活性化された光半導体触媒により、被処理ガス中の被処理成分の分解が促進される。
また、光半導体触媒によって、電気的集塵部材(33)に付着した被処理成分(例えばタバコのヤニやアレルゲン)を分解することができる。更に、光半導体触媒によって、電気的集塵部材(33)における菌類の増殖を抑制することができる。
上記第11の発明では、第2放電極(41)と対向電極(36)との下流側に光半導体触媒が担持された電気的集塵部材(33)が配置される。更に、電気的集塵部材(33)の下流側にプラズマ触媒が配置される。このため、第2放電極(41)と対向電極(36)との間で行われる放電により発生するプラズマによって、電気的集塵部材(33)の光半導体触媒と、プラズマ触媒との双方が活性化される。そして、活性化された光半導体触媒及びプラズマ触媒によって、被処理ガス中の被処理成分の分解が効果的に促進される。
ここで、上記光半導体触媒とプラズマ触媒とが異なる活性特性を有する場合、複合した臭気成分が含まれた被処理成分を効果的に分解することができる。
また、プラズマ触媒が被処理ガス中の被処理成分に対して吸着性能を有する場合、光半導体触媒及びプラズマ触媒の活性化によって分解されなかった被処理成分をプラズマ触媒によって吸着除去できる。
更に、プラズマ放電時に生成するオゾンなどの活性種に対してプラズマ触媒が吸着分解性能を有する場合、プラズマ触媒によってオゾンなどの活性種を吸着分解除去できる。
本発明では、第1放電極(35)及び第2放電極(41)に対して対向電極(36)を併用して被処理ガス中の塵埃及び被処理成分の除去を行っている。つまり、第1放電極(35)と第2放電極(41)とは、それぞれ個別の対向電極との間で放電するのではなく、共通の対向電極(36)との間で放電している。従って、本発明によれば、第1放電極(35)と第2放電極(41)の対向電極(36)を共通化することで、それらの設置スペースを削減でき、ガス処理装置のコンパクト化を図ることができる。
上記第5の発明では、波板状の電極部材(37)における一方の面側の凹部の内側に第1放電極(35)、他方の面側の凹部の内側に第2放電極(41)を設けている。このため、波板状の電極部材(37)の厚みの範囲内に、第1放電極(35)と第2放電極(41)の両方を配置することができる。従って、本発明によれば、第1放電極(35)及び第2放電極(41)の設置スペースを一層削減でき、ガス処理装置の更なるコンパクト化を図ることができる。
上記第7の発明によれば、第2放電極(41)と対向電極(36)の間で行われる放電により生じるプラズマによって被処理ガス中の被処理成分が分解される一方、プラズマ触媒によって被処理ガス中の被処理成分の分解を促進することができる。従って、本発明によれば、ガス処理装置の処理性能を向上させることができる。
上記第8の発明では、第1放電極(35)の途中に第2放電極(41)が電気的に接続されており、第1放電極(35)と第2放電極(41)の両方に個別に電圧を印加する必要がなくなる。このため、例えば第1放電極(35)を電源に接続するだけで、第1放電極(35)と第2放電極(41)の両方に電圧を印加できる。従って、本発明によれば、電圧を印加するための構成を簡素化できる。
上記第9の発明によれば、光半導体触媒の活性化によってプラズマ放電による被処理成分の分解が促進され、ガス処理装置の処理性能を向上させることができる。
また、光半導体触媒は、汚れが付着しにくい特性を有するため、光半導体触媒の表面に被処理ガス中の汚れが付着し、この光半導体触媒の活性作用が低減してしまうことを抑制できる。従って、ガス処理装置の処理性能の安定化を図ることができる。
上記第10の発明によれば、光半導体触媒を電気的集塵部材(33)に担持することで、上述した光半導体触媒の活性作用を電気的集塵部材(33)に付与させることができる。従って、コンパクトな構成において、電気的集塵部材(33)による塵埃の捕集効果と光半導体触媒による分解促進効果とを得ることができる。
また、電気的集塵部材(33)に光半導体触媒を担持させることで、電気的集塵部材(33)に吸着された臭気成分の分解効果、あるいは電気的集塵部材(33)における除菌効果を得ることができる。従って、電気的集塵部材(33)の長寿命化を図ることができる。
上記第11の発明によれば、第2放電極(41)と対向電極(36)の下流側に、光半導体触媒が担持された電気的集塵部材(33)及びプラズマ触媒を配置し、光半導体触媒とプラズマ触媒との双方を活性化させることで、被処理成分の分解作用を促進できるようにしている。従って、ガス処理装置の処理性能を効果的に向上させることができる。
ここで、上記光半導体触媒とプラズマ触媒とが異なる活性特性を有する場合には、複合した臭気成分が含まれた被処理成分を効果的に分解することができる。従って、複合臭気を含む被処理ガスに対するガス処理装置の処理性能を向上させることができる。
また、プラズマ触媒が被処理成分に対して吸着性能を有する場合、プラズマ放電によって分解除去しきれなかった被処理成分をプラズマ触媒によって吸着除去できる。従って、臭気成分の濃度負荷の変動に追随した処理性能を得ることができ、このガス処理装置の信頼性の向上を図ることができる。
更に、プラズマ触媒がプラズマ放電によって生じたオゾンなどの活性種に対して吸着分解性能を有する場合、上記オゾンなどの活性種をプラズマ触媒によって分解除去することができる。従って、プラズマ放電によって装置内で生じた活性種(副生成物)が機外へ放出されてしまうことを抑止でき、このガス処理装置の信頼性の向上を一層図ることができる。
以下、本発明の実施形態を図面に基づいて詳細に説明する。本実施形態に係るガス処理装置は、一般家庭や小規模店舗などで用いられる空気浄化装置(10)である。
《発明の実施形態1》
図1に示すように、本実施形態の空気浄化装置(10)は、一端が開放された箱形のケーシング本体(21)と、その開放端面に装着される前面プレート(22)とからなるケーシング(20)とを備えている。ケーシング(20)の前面プレート(22)側の両側面には空気吸込口(23)が形成されている。また、ケーシング本体(21)には、天板の背板寄りに空気吹出口(24)が形成されている。
ケーシング(20)内には、空気吸込口(23)から空気吹出口(24)まで被処理ガスである室内空気が流れる空気通路(25)が形成されている。この空気通路(25)には、空気流れの上流側から順に、空気浄化を行う各種の機能部品(30)と、該空気通路(25)に室内空気を流通させるための遠心送風機(26)とが配置されている。
上記機能部品(30)には、前面プレート(22)側から順に、プレフィルタ(31)、イオン化部(32)、静電フィルタ(電気的集塵部材)(33)、そして触媒フィルタ(34)が設けられている。イオン化部(32)には、低温プラズマを発生させるためのプラズマ発生装置(40)が一体的に組み込まれている。
上記プレフィルタ(31)は、室内空気中に含まれる比較的大きな塵埃を捕集するフィルタである。
上記イオン化部(32)は、プレフィルタ(31)を通過した室内空気中に含まれる比較的小さな塵埃を帯電させ、この塵埃を、イオン化部(32)の下流側に配置されている静電フィルタ(33)により捕集するためのものである。
上記イオン化部(32)には、電極部材としての負極部材(37)が設けられている。この負極部材(37)は、金属板を波板状にプレス成形したものであって、ケーシング(20)内に立設されている。具体的に、この負極部材(37)は、その波形が矩形波状の波板状に形成されている。言い換えると、負極部材(37)では、断面が「コ」の字型で上下に延びる柱状の部分と、上下に細長い長方形板状の部分とが水平方向に交互に複数ずつ形成されている。そして、負極部材(37)は、断面が「コ」の字型の柱状部分における開口側が静電フィルタ(33)側へ向く姿勢、つまりその開口側が空気流れの下流側へ向く姿勢で設置されている。
上記負極部材(37)において、断面が「コ」の字型の柱状部分は、対向電極(36)を構成している。この柱状部分では、その開口側に直交する部分が一対の側面部分(37b)を構成し、側面部分(37b)に直交してプレフィルタ(31)側に位置する部分が前面部分(37a)を構成している。一方、この柱状部分に挟まれた長方形状の部分は、背面部分(37c)を構成している。図2に示すように、この背面部分(37c)には、多数の空気孔(50)が開口している。また、側面部分(37b)における背面部分(37c)寄りの箇所にも、多数の空気孔(50)が開口している。
上記イオン化部(32)には、第1放電極であるイオン化線(35)が複数設けられている。このイオン化線(35)は、負極部材(37)をプレフィルタ(31)側から見たときの凹部の内側、即ち一対の側面部分(37b)と背面部分(37c)とによって三方を囲まれた部分の内側に設けられている。また、イオン化線は、イオン化部(32)の上端から下端まで張架されており、下端において対向電極(36)を跨ぐように設けられている。各イオン化線(35)は、それぞれが静電フィルタ(33)に平行な一枚の仮想面上に等間隔に位置している。
上記プラズマ発生装置(40)は、第2放電極である放電電極(41)を備えると共に、上記対向電極(36)をイオン化線(35)と共有している。
図2に示すように、放電電極(41)は、負極部材(37)を静電フィルタ(33)側から見たときの凹部の内側、即ち前面部分(37a)と一対の側面部分(37b)とによって三方を囲まれた部分の内側に設けられている。つまり、放電電極(41)は、「コ」の字型の対向電極(36)の内側に配置されている。具体的に、対向電極(36)の内側には、断面が正方形で上下に延びる柱状の電極保持部材(43)が設けられている。電極保持部材(43)の側面のうち前面部分(37a)側の面には、複数の固定部材(44)が上下方向に等間隔に取り付けられている。各固定部材(44)には、放電電極(41)が設けられている。つまり、この放電電極(41)は、固定部材(44)を介して電極保持部材(43)に保持されている。放電電極(41)は線状ないし棒状の電極であり、固定部材(44)から突出した部分が前面部分(37a)と実質的に平行になるように配置されている。
また、電極保持部材(43)及び固定部材(44)は、放電電極(41)と同種の金属により形成されている。放電電極(41)及び電極保持部材(43)は、固定部材(44)を通じて導通している。
上記イオン化部(32)には、イオン化線(35)と対向電極(36)の間に電圧を印加する高圧の直流電源(45)が設けられている。この直流電源(45)は、プラズマ発生装置(40)の電源も兼ねている。直流電源(45)によってイオン化線(35)と放電電極(41)に電圧を印加すると、イオン化線(35)の周囲でイオンが発生するとともに、放電電極(41)の先端から対向電極(36)に向かってストリーマ放電が発生する。イオン化線(35)と放電電極(41)には同電位の高電圧(例えば5kV)が印加されるが、イオン化線(35)と対向電極(36)の距離を例えば10mmとし、放電電極(41)と対向電極(36)の距離を例えば5mmとすることで電界強度に差を付けて、イオン化部(32)におけるイオン発生作用とプラズマ発生装置(40)におけるストリーマ放電作用とを同時に起こすようにしている。
上記静電フィルタ(33)は、上記放電電極(41)と対向電極(36)とで構成されたプラズマ発生装置(40)の下流側に配置されている。静電フィルタ(33)は、上流側の面において、上述したイオン化部(32)によって帯電された比較的小さな塵埃を捕集する一方、下流側の面には光半導体触媒が担持されて光半導体触媒層(38)が形成されている。光半導体触媒層(38)の光半導体触媒は、放電電極(41)と対向電極(36)での放電によって生成される低温プラズマ中の反応性の高い物質(電子、イオン、オゾン、ラジカルなどの活性種)によって更に活性化され、室内空気中の被処理成分である有害物質や臭気物質の分解を促進する。なお、光半導体触媒は、例えば二酸化チタンや酸化亜鉛、あるいはタングステン酸化物や硫化カドミウムなどが用いられる。
上記触媒フィルタ(34)は、静電フィルタ(33)の下流側に配置されている。この触媒フィルタ(34)は、例えばハニカム構造の基材の表面にプラズマ触媒を担持したものである。このプラズマ触媒は、上記光半導体触媒と同様に、放電電極(41)と対向電極(36)での放電によって生成される低温プラズマ中の反応性の高い物質(電子、イオン、オゾン、ラジカルなどの活性種)を更に活性化し、室内空気中の被処理成分である有害物質や臭気物質の分解を促進する。このプラズマ触媒には、マンガン系触媒や貴金属系触媒、更にこれらの触媒に活性炭などの吸着剤を添加したものが用いられる。
−運転動作−
次に、空気浄化装置(10)の運転動作について説明する。
空気浄化装置(10)の運転中は、遠心送風機(26)が起動し、被処理ガスである室内空気がケーシング(20)内の空気通路(25)を流通する。また、この状態において、イオン化部(32)及びプラズマ発生装置(40)に、直流電源(45)から高電圧が印加される。
室内空気がケーシング(20)内に導入されると、まずプレフィルタ(31)において比較的大きな塵埃が除去される。プレフィルタ(31)を通過した室内空気は、イオン化部(32)へと流れる。イオン化部(32)では、イオン化線(35)と対向電極(36)の間での放電により室内空気中の比較的小さな塵埃が帯電する。この帯電した塵埃を含む室内空気は、側面部分(37b)や背面部分(37c)に設けられた空気孔(50)を通り抜けて、静電フィルタ(33)へ流入する。静電フィルタ(33)では、帯電した塵埃が捕集される。
イオン化部(32)に一体的に組み込まれたプラズマ発生装置(40)では、放電電極(41)と対向電極(36)の間でのストリーマ放電により低温プラズマが発生している。一方、放電中には、図2に破線で示すように、前面部分(37a)に反射して空気流れの下流側に向かうイオン風が発生する。そして、発生した低温プラズマは、このイオン風に乗ってイオン化部(32)を通過し、室内空気とともに下流側へ流れてゆく。
低温プラズマには、反応性の高い物質(活性種)が含まれている。そして、この反応性の高い物質は、空気通路(25)を流通する室内空気と接触して室内空気中の有害物質や臭気物質を分解する。また、上記活性種が、静電フィルタ(33)に達すると、静電フィルタ(33)の光半導体触媒層(38)に担持された光半導体触媒によって更に活性化し、室内空気中の有害物質や臭気成分が更に分解される。そして、この活性種が、触媒フィルタ(34)に達すると、これらの物質は更に活性化し、室内空気中の有害物質や臭気物質が更に分解される。
以上のようにして塵埃が除去されるとともに有害物質や臭気物質も除去された清浄な室内空気は、遠心送風機(26)へと取り込まれ、空気吹出口(24)から室内へ吹き出される。
−実施形態1の効果−
本実施形態では、イオン化部(32)とプラズマ発生装置(40)とが対向電極(36)を共用している。つまり、イオン化線(35)と放電電極(41)とは、それぞれ個別の対向電極との間で放電するのではなく、共通の対向電極(36)との間で放電している。従って、本実施形態によれば、イオン化線(35)と放電電極(41)の対向電極(36)を共通化することで、それらの設置スペースを削減でき、空気浄化装置(10)のコンパクト化を図ることができる。
本実施形態によれば、放電電極(41)と対向電極(36)の間で行われる放電により生じるプラズマによって室内空気中の有害物質及び臭気物質が分解される一方、プラズマ触媒によって室内空気中の有害物質及び臭気物質の分解を促進することができる。従って、本実施形態によれば、空気浄化装置(10)の処理性能を向上させることができる。
また、本実施形態では、断面が「コ」の字型の対向電極(36)の内側に放電電極(41)を設けており、放電により生じたイオン風が対向電極(36)の外へは拡散せずに空気流れの下流側へ向かって流れる。このため、放電電極(41)と対向電極(36)の間で行われる放電により生じるプラズマは、このイオン風と共に確実に触媒フィルタ(34)へ供給される。従って、本実施形態によれば、室内空気中の有害物質及び臭気物質の分解を一層促進することができ、空気浄化装置(10)の処理性能を一層向上させることができる。
また、本実施形態によれば、対向電極(36)の下流側に放電電極(41)を配置しているため、放電電極(41)に付着する室内空気中の塵埃などの量を大幅に削減できる。従って、放電電極(41)と対向電極(36)の間で安定したストリーマ放電を続けることが可能となり、空気浄化装置(10)の処理性能を保持し続けることができる。
更に、本実施形態では、波板状の負極部材(37)における一方の面側の凹部の内側にイオン化線(35)、他方の面側の凹部の内側に放電電極(41)を設けている。このため、波板状の負極部材(37)の厚みの範囲内に、イオン化線(35)と放電電極(41)の両方を配置することができる。従って、本実施形態によれば、イオン化線(35)及び放電電極(41)の設置スペースを一層削減でき、空気浄化装置(10)の更なるコンパクト化を図ることができる。
更に、本実施形態によれば、静電フィルタ(33)に光半導体触媒を担持させているため、プラズマによる室内空気中の有害物質及び臭気物質の分解を促進させることができる。従って、空気浄化装置(10)の処理性能を向上させることができる。また、静電フィルタ(33)に光半導体触媒を一体的に組み込むことによって、空気浄化装置(10)の薄型化、コンパクト化を図ることができる。
更に、静電フィルタ(33)に光半導体触媒を担持させることで、静電フィルタ(33)に吸着された臭気成分の分解効果、あるいは静電フィルタ(33)における除菌効果を得ることができる。従って、静電フィルタ(33)の長寿命化を図ることができる。
−実施形態1の変形例−
上記実施形態1の空気浄化装置(10)について、イオン化部(32)におけるプラズマ発生装置(40)の構成を変更してもよい。
まず、図3に示すように、第1の変形例では、プラズマ発生装置(40)の電極保持部材(43)に、放電電極(41)が取り付けられる。放電電極(41)は、三角形板状の小片であって、電極保持部材(43)における前面部分(37a)側の側面に立設されている。そして、電圧の印加時には、放電電極(41)の先端から対向電極(36)へ向かってストリーマ放電が発生する。
次に、図4に示すように、第2の変形例において、プラズマ発生装置(40)の電極保持部材(43)は、その一部に放電電極(41)となる部分を有している。つまり、放電電極(41)が電極保持部材(43)に保持されるのではなく、電極保持部材(43)の複数箇所が、等間隔に突起した放電電極(41)となっている。
具体的に、電極保持部材(43)は、縦長の細長い平板状に形成され、側面部分(37b)と平行に設けられている。電極保持部材(43)における前面部分(37a)側の側面には、三角形状の突起が一定間隔で複数設けられている。この突起した部分が放電電極(41)となっている。そして、電圧の印加時には、放電電極(41)の先端から対向電極(36)へ向かってストリーマ放電が発生する。
《発明の実施形態2》
本発明の実施形態2は、上記実施形態1において、イオン化部(32)の構成を変更したものである。ここでは、本実施形態について、上記実施形態1と異なる点を説明する。
図5に示すように、本実施形態の空気浄化装置(10)では、イオン化部(32)の前面部分(37a)に、円形の通風孔(51)が複数設けられている。この通風孔(51)は、電極保持部材(43)に設けられる各固定部材(44)の概ね中間に位置している。プレフィルタ(31)を通過後の室内空気の一部は、図5に実線で示すように、この通風孔(51)を通ってイオン化部(32)へ流入する。
一方、プラズマ発生装置(40)では、放電電極(41)と対向電極(36)の間でのストリーマ放電により低温プラズマが発生している。低温プラズマに含まれる活性種は、この通風孔(51)を通過した室内空気に乗って、空気通路(25)の全体に拡散しながら触媒フィルタ(34)へ流れてゆく。触媒フィルタ(34)において、プラズマ触媒が一層活性化され、室内空気中の有害物質や臭気物質の分解が一層促進される。従って、本実施形態によれば、空気通路(25)を流れる室内空気中の有害物質や臭気物質を確実に分解することができ、空気浄化装置(10)の処理性能を向上させることができる。
《発明の実施形態3》
本発明の実施形態3は、上記実施形態1において、イオン化部(32)の構成を変更したものである。ここでは、本実施形態について、図6を用いて上記実施形態1と異なる点を説明する。尚、図6において、(A)は平面図、(B)は空気流れの上流側から見た図を示す。また、この点は、図7においても同様である。
本実施形態の空気浄化装置(10)では、イオン化部(32)の背面部分(37c)に、複数の絶縁碍子(60)が取り付られている。この絶縁碍子(60)は、電気の導通を絶縁するためのものであって、負極部材(37)の上下方向に等間隔に設けられている。各絶縁碍子(60)のプレフィルタ(31)側には、通電部材(61)が取り付けられている。この通電部材(61)は、電気を導通させるためのものである。
通電部材(61)の側面のうち側面部分(37b)側の面には、固定部材(44)を介して放電電極(41)が取り付けられている。また、通電部材(61)のプレフィルタ(31)側には、イオン化線(35)が設けられており、このイオン化線(35)は、通電部材(61)に支持されている。つまり、上記イオン化線(35)と放電電極(41)とは、通電部材(61)を介して導通している。
イオン化線(35)と放電電極(41)の何れか一方に放電電圧を印加すると、イオン化線(35)と放電電極(41)とが同電位となる。そして、イオン化線(35)と側面部分(37b)の対向電極(36)との間で、また、放電電極(41)と側面部分(37b)の対向電極(36)との間で放電が行われる。
ここで、放電電極(41)と対向電極(36)の距離は、イオン化線(35)と対向電極(36)の距離よりも十分に短くなっており、両者の電界強度には差が生じる。このため、放電電極(41)と対向電極(36)の間ではストリーマ放電が行われ、これによりプラズマが発生して室内空気中の有害物質や臭気物質が分解除去される。また、イオン化線(35)と対向電極(36)の間での放電により、室内空気中の塵埃が帯電する。
−実施形態3の変形例−
上記実施形態3の空気浄化装置(10)において、イオン化部(32)の構成を変更してもよい。ここでは、本変形例について、上記実施形態3と異なる点を説明する。
図7に示すように、本変形例の空気浄化装置(10)では、イオン化線(35)の途中に、複数の放電電極(41)が等間隔に設けられている。つまり、上記イオン化線(35)と放電電極(41)とは、導通している。放電電極(41)は、空気流れの上流側から見た断面がひし形であって、イオン化線(35)を中心として対称となるように設けられている。そして、イオン化線(35)と側面部分(37b)の対向電極(36)との間で、また、放電電極(41)と側面部分(37b)の対向電極(36)との間で放電が行われる。
本変形例では、イオン化線(35)の途中に放電電極(41)が電気的に接続されており、イオン化線(35)と放電電極(41)の両方に個別に電圧を印加する必要がなくなる。このため、例えばイオン化線(35)を電源に接続するだけで、イオン化線(35)と放電電極(41)の両方に電圧を印加できる。従って、本変形例によれば、電圧を印加するための構成を簡素化できる。
《その他の実施形態》
−第1変形例−
上記実施形態1及び2の空気浄化装置(10)において、イオン化部(32)の構成を変更してもよい。
図8に示すように、本変形例の空気浄化装置(10)では、イオン化部(32)の負極部材(37)に設けられる空気孔(50)が、側面部分(37b)のみに存在している。つまり、空気孔(50)は、背面部分(37c)には存在していない。イオン化部(32)へ流入した室内空気は、その全てが側面部分(37b)の空気孔(50)を通り抜け、「コ」の字型に設けられた対向電極(36)の開口側から下流側へと流れる。
一方、プラズマ発生装置(40)では、放電電極(41)と対向電極(36)の間でのストリーマ放電により低温プラズマが発生している。低温プラズマに含まれる活性種は、この空気孔(50)を通過した室内空気に乗って、空気通路(25)の全体に拡散しながら触媒フィルタ(34)へ流れてゆく。触媒フィルタ(34)において、プラズマ触媒が一層活性化され、室内空気中の有害物質や臭気物質の分解が一層促進される。従って、本変形例によれば、空気通路(25)を流れる室内空気中の有害物質や臭気物質を確実に分解することができ、空気浄化装置(10)の処理性能を向上させることができる。
尚、本変形例では、背面部分(37c)を構成する部分と前面部分(37a)及び側面部分(37b)を構成する部分とを別個の部材で形成し、各部材を互いに隙間ができるように配置してもよい。この場合、背面部分(37c)を構成する部材が邪魔板として作用するため、イオン化部(32)へ流入した室内空気は、前面部分(37a)及び側面部分(37b)を構成する部材と背面部分(37c)を構成する部材の間に設けられる隙間を通って下流側へと流れる。
−第2変形例−
上記実施形態1〜3の空気浄化装置(10)において、イオン化部(32)の構成を変更してもよい。本変形例のイオン化部(32)において、負極部材(37)における波形の形状は、矩形波状に限らず、正弦波状や三角波状など、どのような波形状であってもよい。上記負極部材(37)では、そのプレフィルタ(31)側の面にイオン化線(35)が設けられ、この面と向かい合う触媒フィルタ(34)側の面に放電電極(41)が設けられる。イオン化線(35)は、負極部材(37)をプレフィルタ(31)側から見た「谷」の部分、即ち凹部の内側に配置される。一方、放電電極(41)は、負極部材(37)を静電フィルタ(33)側から見た「谷」の部分、即ち凹部の内側に配置される。
−第3変形例−
上記実施形態では、電気的集塵部材として静電フィルタ(33)を用いているが、静電フィルタの代わりに、集塵板(電極板)を電気的集塵部材として用いてもよい。
−第4変形例−
また、上記実施形態では、プラズマ発生装置(40)の下流側に、例えばマンガン系触媒や貴金属系触媒などのプラズマ触媒が基材に担持された触媒フィルタ(34)を設けている。しかしながら、プラズマ発生装置(40)の下流側には、この触媒フィルタ(34)の代わりに、例えば活性炭やゼオライトなどの吸着剤が基材に担持された吸着処理部材を設けるようにしてもよい。
以上説明したように、本発明は、放電を行って空気中の塵埃や臭気等を除去するガス処理装置について有用である。
実施形態1に係る空気浄化装置の分解斜視図である。 実施形態1に係る空気浄化装置におけるイオン化部の要部拡大斜視図である。 実施形態1に係る空気浄化装置におけるイオン化部の要部拡大斜視図である。 実施形態1に係る空気浄化装置におけるイオン化部の要部拡大斜視図である。 実施形態2に係る空気浄化装置におけるイオン化部の要部拡大斜視図である。 実施形態3に係る空気浄化装置におけるイオン化部の構成を示す概略図である。 実施形態3に係る空気浄化装置におけるイオン化部の構成を示す概略図である。 その他の実施形態に係る空気浄化装置におけるイオン化部の要部拡大斜視図である。
符号の説明
(33) 電気的集塵部材(静電フィルタ)
(35) 第1放電極(イオン化線)
(36) 対向電極
(37) 電極部材(負極部材)
(41) 第2放電極(放電電極)
本発明は、放電を行って空気中の塵埃や臭気等を除去するガス処理装置に関する。
従来より、ガス処理装置の一種としては、特許文献1に開示されているように、放電を行って空気中の塵埃や臭気等を除去する空気清浄機が知られている。この空気清浄機には、集塵フィルタとプラズマ発生装置とが設けられている。プラズマ発生装置には、プラズマ発生電極板と対向電極板とが設けられおり、両電極板へ放電電圧を印加することにより、ストリーマ放電を起こしてプラズマを発生させるようにしている。
上記空気清浄機では、空気中の塵埃が集塵フィルタに捕集される。また、プラズマ発生装置では、ストリーマ放電によって発生したプラズマに含まれる反応性の高い物質(活性種)により空気中の悪臭成分が分解除去される。そして、塵埃及び悪臭成分が除去された清浄な空気は、供給空気として空気清浄機の外部へ放出される。
特開2001−218828号公報
上述のように、上記特許文献1に開示された空気清浄機では、集塵フィルタを用いたろ過によって塵埃の除去を行っている。一方、空気中の塵埃を除去する手段としては、いわゆる電気集塵も知られている。つまり、コロナ放電によって空気中の塵埃を帯電させ、帯電した塵埃を静電フィルタ(電気的集塵部材)により集塵する集塵方法も一般的に知られている。この電気集塵を採用すれば、集塵フィルタで単に空気をろ過する場合に比べ、より微小な塵埃をも除去することが可能である。そして、上記特許文献1の空気清浄機に電気集塵を適用し、その集塵能力を向上させることも考えられる。
ところが、上記のようなプラズマを脱臭等に利用するガス処理装置で電気集塵を採用すると、装置の大型化を招いてしまう。この点について説明する。電気集塵を採用する場合には、プラズマを発生させるストリーマ放電用の放電電極及び対向電極に加え、塵埃を帯電させるコロナ放電用の放電電極及び対向電極を空気通路に設置しなければならない。つまり、放電電極及び対向電極を二組設ける必要が生じる。このため、塵埃を帯電させるための放電電極及び対向電極を設置するスペースが必要となり、その分だけガス処理装置が大型化してしまう。
本発明は、かかる点に鑑みてなされたものであり、その目的とするところは、いわゆる電気集塵とプラズマによる臭気等の分解とを行うガス処理装置に関し、そのコンパクト化を図ることにある。
第1の発明は、被処理ガス中の塵埃を捕集すると共に、被処理ガス中の被処理成分を分解するガス処理装置を対象としている。そして、対向電極(36)と、上記被処理ガス中の塵埃が帯電するように上記対向電極(36)との間で放電を起こさせる複数の第1放電極(35)と、帯電した上記被処理ガス中の塵埃を捕集する電気的集塵部材(33)と、上記被処理成分を分解するためのプラズマが発生するように上記対向電極(36)との間で放電を起こさせる複数の第2放電極(41)とを備え、上記第1放電極(35)と第2放電極(41)とは、被処理ガスの流れと直交する面上であって同一面上に配置されているものである。
第2の発明は、被処理ガス中の塵埃を捕集すると共に、被処理ガス中の被処理成分を分解するガス処理装置を対象としている。そして、対向電極(36)と、上記被処理ガス中の塵埃が帯電するように上記対向電極(36)との間で放電を起こさせる第1放電極(35)と、帯電した上記被処理ガス中の塵埃を捕集する電気的集塵部材(33)と、上記被処理成分を分解するためのプラズマが発生するように上記対向電極(36)との間で放電を起こさせる第2放電極(41)とを備え、上記第2放電極(41)と対向電極(36)との間の放電が被処理ガスの流れの下流側から上流側に向かって行われるように、上記対向電極(36)が被処理ガスの流れの上流側に位置し、上記第2放電極(41)が被処理ガスの流れの下流側に位置しているものである。
第3の発明は、被処理ガス中の塵埃を捕集すると共に、被処理ガス中の被処理成分を分解するガス処理装置を対象としている。そして、対向電極(36)と、上記被処理ガス中の塵埃が帯電するように上記対向電極(36)との間で放電を起こさせる第1放電極(35)と、帯電した上記被処理ガス中の塵埃を捕集する電気的集塵部材(33)と、上記被処理成分を分解するためのプラズマが発生するように上記対向電極(36)との間で放電を起こさせる第2放電極(41)とを備え、上記対向電極(36)は断面がコの字型の柱状に形成されており、該対向電極(36)の内側に少なくとも第2放電極(41)が配置されているものである。
第4の発明は、被処理ガス中の塵埃を捕集すると共に、被処理ガス中の被処理成分を分解するガス処理装置を対象としている。そして、波板状に形成されて対向電極(36)を構成する電極部材(37)と、上記被処理ガス中の塵埃が帯電するように上記電極部材(37)との間で放電を起こさせる第1放電極(35)と、帯電した上記被処理ガス中の塵埃を捕集する電気的集塵部材(33)と、上記被処理成分を分解するためのプラズマが発生するように上記電極部材(37)との間で放電を起こさせる第2放電極(41)とを備え、上記電極部材(37)における一方の面側に第1放電極(35)が、他方の面側に第2放電極(41)がそれぞれ設けられ、上記第1放電極(35)及び第2放電極(41)は、それぞれ波板状の上記電極部材(37)における凹部の内側に配置されているものである。
第5の発明は、第1ないし第4の発明の何れか1の発明において、電気的集塵部材(33)が静電フィルタにより構成されているものである。
第6の発明は、第1ないし第4の発明の何れか1の発明において、第2放電極(41)と対向電極(36)の間での放電により発生したプラズマで活性化されて被処理成分の分解を促進するプラズマ触媒を備えるものである。ここで、上記プラズマ触媒は、被処理ガス中の被処理成分に対して吸着性能を有するものが好ましく、更にプラズマの発生に伴い生じるオゾンなどの活性種を吸着分解できるものがより好ましい。
第7の発明は、第1ないし第4の発明の何れか1の発明において、第1放電極(35)は、上記対向電極(36)に沿って延びる線状に形成され、第2放電極(41)は、上記第1放電極(35)の途中に電気的に接続されると共に上記対向電極(36)との距離が該対向電極(36)と第1放電極(35)の距離よりも短くなるように配置されるものである。
第8の発明は、第1ないし第4の発明の何れか1の発明において、第2放電極(41)と対向電極(36)の間での放電により発生したプラズマで活性化されて被処理成分の分解を促進する光半導体触媒を備えているものである。
第9の発明は、第8の発明において、光半導体触媒が、電気的集塵部材(33)に担持されているものである。
第10の発明は、第6の発明において、プラズマ触媒が、第2放電極(41)及び対向電極(36)の下流側に配置され、電気的集塵部材(33)には、第2放電極(41)と対向電極(36)の間での放電により発生したプラズマで活性化されて被処理成分の分解を促進する光半導体触媒が担持され、上記電気的集塵部材(33)は、上記第2放電極(41)及び対向電極(36)と上記プラズマ触媒との間に配置されているものである。
−作用−
上記第1ないし第5の発明では、第1放電極(35)及び第2放電極(41)に対して対向電極(36)が併用される。第1放電極(35)と対向電極(36)の間に電圧を印加すると、両者の間で放電が行われる。この放電により、被処理ガス中の塵埃が帯電する。帯電した塵埃は、電気的集塵部材(静電フィルタ)(33)に捕集される。
一方、第2放電極(41)と対向電極(36)の間に電圧を印加すると、両者の間で放電が行われ、この放電によってプラズマが発生する。そして、ガス処理装置では、発生したプラズマを利用して被処理ガス中の被処理成分である有害物質や臭気物質などが分解される。
このように、第1放電極(35)と対向電極(36)の間と、第2放電極(41)と対向電極(36)の間とで異なる種類の放電が生じ、被処理ガス中の塵埃と被処理成分とがそれぞれ除去される。
特に、上記第3の発明では、断面がコの字型の柱状に形成された対向電極(36)の内側に、少なくとも第2放電極(41)が配置される。この第2放電極(41)と対向電極(36)の内側面との間で放電が行われる。尚、対向電極(36)の内側に、第2放電極(41)に加えて第1放電極(35)を配置してもよい。
上記第4の発明では、ガス処理装置に電極部材(37)が設けられる。電極部材(37)は、「山」と「谷」が交互に繰り返す波板状に形成される。尚、電極部材(37)における波形の形状は、例えば正弦波状、矩形波状、三角波状など、どのような波形状であってもよい。
電極部材(37)では、その一方の面側に第1放電極(35)が設けられ、一方の面と向かい合う他方の面側に第2放電極(41)が設けられる。第1放電極(35)は、電極部材(37)の一方の面側から見た「谷」の部分、即ち凹部の内側に配置される。一方、第2放電極(41)は、電極部材(37)の他方の面側から見た「谷」の部分、即ち凹部の内側に配置される。そして、第1放電極(35)と電極部材(37)の間と、第2放電極(41)と電極部材(37)の間とのそれぞれにおいて放電が行われる。
上記第6の発明では、ガス処理装置にプラズマ触媒が設けられる。このプラズマ触媒は、第2放電極(41)と対向電極(36)の間で行われる放電により発生するプラズマによって活性化される。この活性化されたプラズマ触媒により、被処理ガス中の被処理成分の分解が促進される。
上記第7の発明では、線状に形成された第1放電極(35)の途中に、第2放電極(41)が電気的に接続される。つまり、第1放電極(35)と第2放電極(41)とは導通しており、電圧の印加時における両者の電位は等しい。
この発明では、第2放電極(41)と対向電極(36)の距離が、第1放電極(35)と対向電極(36)の距離よりも短い。このため、第1放電極(35)と第2放電極(41)の電位は等しいものの、第1放電極(35)と対向電極(36)の間の電界強度よりも第2放電極(41)と対向電極(36)の間の電界強度の方が大きくなる。よって、第2放電極(41)と対向電極(36)の間では、第1放電極(35)と対向電極(36)の間よりも強い放電が行われる。
上記第8の発明では、ガス処理装置に光半導体触媒が設けられる。この光半導体触媒は、一般には、光を照射することで活性化する「光触媒」として用いられるが、本発明では、光源が照射されていない状態においても、第2放電極(41)と対向電極(36)の間で行われる放電により発生するプラズマによって活性化される。この活性化された光半導体触媒により、被処理ガス中の被処理成分の分解が促進される。
ここで、光半導体触媒は、汚れが付着しにくい特性を有するため、光半導体触媒の表面に被処理ガス中の塵埃などが付着し、光半導体触媒の活性作用が低減してしまうことを抑制できる。
上記第9の発明では、光半導体触媒が電気的集塵部材(33)に担持される。そして、この光半導体触媒が、第2放電極(41)と対向電極(36)の間で行われる放電により発生するプラズマによって活性化される。この活性化された光半導体触媒により、被処理ガス中の被処理成分の分解が促進される。
また、光半導体触媒によって、電気的集塵部材(33)に付着した被処理成分(例えばタバコのヤニやアレルゲン)を分解することができる。更に、光半導体触媒によって、電気的集塵部材(33)における菌類の増殖を抑制することができる。
上記第10の発明では、第2放電極(41)と対向電極(36)との下流側に光半導体触媒が担持された電気的集塵部材(33)が配置される。更に、電気的集塵部材(33)の下流側にプラズマ触媒が配置される。このため、第2放電極(41)と対向電極(36)との間で行われる放電により発生するプラズマによって、電気的集塵部材(33)の光半導体触媒と、プラズマ触媒との双方が活性化される。そして、活性化された光半導体触媒及びプラズマ触媒によって、被処理ガス中の被処理成分の分解が効果的に促進される。
ここで、上記光半導体触媒とプラズマ触媒とが異なる活性特性を有する場合、複合した臭気成分が含まれた被処理成分を効果的に分解することができる。
また、プラズマ触媒が被処理ガス中の被処理成分に対して吸着性能を有する場合、光半導体触媒及びプラズマ触媒の活性化によって分解されなかった被処理成分をプラズマ触媒によって吸着除去できる。
更に、プラズマ放電時に生成するオゾンなどの活性種に対してプラズマ触媒が吸着分解性能を有する場合、プラズマ触媒によってオゾンなどの活性種を吸着分解除去できる。
本発明では、第1放電極(35)及び第2放電極(41)に対して対向電極(36)を併用して被処理ガス中の塵埃及び被処理成分の除去を行っている。つまり、第1放電極(35)と第2放電極(41)とは、それぞれ個別の対向電極との間で放電するのではなく、共通の対向電極(36)との間で放電している。従って、本発明によれば、第1放電極(35)と第2放電極(41)の対向電極(36)を共通化することで、それらの設置スペースを削減でき、ガス処理装置のコンパクト化を図ることができる。
上記第4の発明では、波板状の電極部材(37)における一方の面側の凹部の内側に第1放電極(35)、他方の面側の凹部の内側に第2放電極(41)を設けている。このため、波板状の電極部材(37)の厚みの範囲内に、第1放電極(35)と第2放電極(41)の両方を配置することができる。従って、本発明によれば、第1放電極(35)及び第2放電極(41)の設置スペースを一層削減でき、ガス処理装置の更なるコンパクト化を図ることができる。
上記第6の発明によれば、第2放電極(41)と対向電極(36)の間で行われる放電により生じるプラズマによって被処理ガス中の被処理成分が分解される一方、プラズマ触媒によって被処理ガス中の被処理成分の分解を促進することができる。従って、本発明によれば、ガス処理装置の処理性能を向上させることができる。
上記第7の発明では、第1放電極(35)の途中に第2放電極(41)が電気的に接続されており、第1放電極(35)と第2放電極(41)の両方に個別に電圧を印加する必要がなくなる。このため、例えば第1放電極(35)を電源に接続するだけで、第1放電極(35)と第2放電極(41)の両方に電圧を印加できる。従って、本発明によれば、電圧を印加するための構成を簡素化できる。
上記第8の発明によれば、光半導体触媒の活性化によってプラズマ放電による被処理成分の分解が促進され、ガス処理装置の処理性能を向上させることができる。
また、光半導体触媒は、汚れが付着しにくい特性を有するため、光半導体触媒の表面に被処理ガス中の汚れが付着し、この光半導体触媒の活性作用が低減してしまうことを抑制できる。従って、ガス処理装置の処理性能の安定化を図ることができる。
上記第9の発明によれば、光半導体触媒を電気的集塵部材(33)に担持することで、上述した光半導体触媒の活性作用を電気的集塵部材(33)に付与させることができる。従って、コンパクトな構成において、電気的集塵部材(33)による塵埃の捕集効果と光半導体触媒による分解促進効果とを得ることができる。
また、電気的集塵部材(33)に光半導体触媒を担持させることで、電気的集塵部材(33)に吸着された臭気成分の分解効果、あるいは電気的集塵部材(33)における除菌効果を得ることができる。従って、電気的集塵部材(33)の長寿命化を図ることができる。
上記第10の発明によれば、第2放電極(41)と対向電極(36)の下流側に、光半導体触媒が担持された電気的集塵部材(33)及びプラズマ触媒を配置し、光半導体触媒とプラズマ触媒との双方を活性化させることで、被処理成分の分解作用を促進できるようにしている。従って、ガス処理装置の処理性能を効果的に向上させることができる。
ここで、上記光半導体触媒とプラズマ触媒とが異なる活性特性を有する場合には、複合した臭気成分が含まれた被処理成分を効果的に分解することができる。従って、複合臭気を含む被処理ガスに対するガス処理装置の処理性能を向上させることができる。
また、プラズマ触媒が被処理成分に対して吸着性能を有する場合、プラズマ放電によって分解除去しきれなかった被処理成分をプラズマ触媒によって吸着除去できる。従って、臭気成分の濃度負荷の変動に追随した処理性能を得ることができ、このガス処理装置の信頼性の向上を図ることができる。
更に、プラズマ触媒がプラズマ放電によって生じたオゾンなどの活性種に対して吸着分解性能を有する場合、上記オゾンなどの活性種をプラズマ触媒によって分解除去することができる。従って、プラズマ放電によって装置内で生じた活性種(副生成物)が機外へ放出されてしまうことを抑止でき、このガス処理装置の信頼性の向上を一層図ることができる。
以下、本発明の実施形態を図面に基づいて詳細に説明する。本実施形態に係るガス処理装置は、一般家庭や小規模店舗などで用いられる空気浄化装置(10)である。
《発明の実施形態1》
図1に示すように、本実施形態の空気浄化装置(10)は、一端が開放された箱形のケーシング本体(21)と、その開放端面に装着される前面プレート(22)とからなるケーシング(20)とを備えている。ケーシング(20)の前面プレート(22)側の両側面には空気吸込口(23)が形成されている。また、ケーシング本体(21)には、天板の背板寄りに空気吹出口(24)が形成されている。
ケーシング(20)内には、空気吸込口(23)から空気吹出口(24)まで被処理ガスである室内空気が流れる空気通路(25)が形成されている。この空気通路(25)には、空気流れの上流側から順に、空気浄化を行う各種の機能部品(30)と、該空気通路(25)に室内空気を流通させるための遠心送風機(26)とが配置されている。
上記機能部品(30)には、前面プレート(22)側から順に、プレフィルタ(31)、イオン化部(32)、静電フィルタ(電気的集塵部材)(33)、そして触媒フィルタ(34)が設けられている。イオン化部(32)には、低温プラズマを発生させるためのプラズマ発生装置(40)が一体的に組み込まれている。
上記プレフィルタ(31)は、室内空気中に含まれる比較的大きな塵埃を捕集するフィルタである。
上記イオン化部(32)は、プレフィルタ(31)を通過した室内空気中に含まれる比較的小さな塵埃を帯電させ、この塵埃を、イオン化部(32)の下流側に配置されている静電フィルタ(33)により捕集するためのものである。
上記イオン化部(32)には、電極部材としての負極部材(37)が設けられている。この負極部材(37)は、金属板を波板状にプレス成形したものであって、ケーシング(20)内に立設されている。具体的に、この負極部材(37)は、その波形が矩形波状の波板状に形成されている。言い換えると、負極部材(37)では、断面が「コ」の字型で上下に延びる柱状の部分と、上下に細長い長方形板状の部分とが水平方向に交互に複数ずつ形成されている。そして、負極部材(37)は、断面が「コ」の字型の柱状部分における開口側が静電フィルタ(33)側へ向く姿勢、つまりその開口側が空気流れの下流側へ向く姿勢で設置されている。
上記負極部材(37)において、断面が「コ」の字型の柱状部分は、対向電極(36)を構成している。この柱状部分では、その開口側に直交する部分が一対の側面部分(37b)を構成し、側面部分(37b)に直交してプレフィルタ(31)側に位置する部分が前面部分(37a)を構成している。一方、この柱状部分に挟まれた長方形状の部分は、背面部分(37c)を構成している。図2に示すように、この背面部分(37c)には、多数の空気孔(50)が開口している。また、側面部分(37b)における背面部分(37c)寄りの箇所にも、多数の空気孔(50)が開口している。
上記イオン化部(32)には、第1放電極であるイオン化線(35)が複数設けられている。このイオン化線(35)は、負極部材(37)をプレフィルタ(31)側から見たときの凹部の内側、即ち一対の側面部分(37b)と背面部分(37c)とによって三方を囲まれた部分の内側に設けられている。また、イオン化線は、イオン化部(32)の上端から下端まで張架されており、下端において対向電極(36)を跨ぐように設けられている。各イオン化線(35)は、それぞれが静電フィルタ(33)に平行な一枚の仮想面上に等間隔に位置している。
上記プラズマ発生装置(40)は、第2放電極である放電電極(41)を備えると共に、上記対向電極(36)をイオン化線(35)と共有している。
図2に示すように、放電電極(41)は、負極部材(37)を静電フィルタ(33)側から見たときの凹部の内側、即ち前面部分(37a)と一対の側面部分(37b)とによって三方を囲まれた部分の内側に設けられている。つまり、放電電極(41)は、「コ」の字型の対向電極(36)の内側に配置されている。具体的に、対向電極(36)の内側には、断面が正方形で上下に延びる柱状の電極保持部材(43)が設けられている。電極保持部材(43)の側面のうち前面部分(37a)側の面には、複数の固定部材(44)が上下方向に等間隔に取り付けられている。各固定部材(44)には、放電電極(41)が設けられている。つまり、この放電電極(41)は、固定部材(44)を介して電極保持部材(43)に保持されている。放電電極(41)は線状ないし棒状の電極であり、固定部材(44)から突出した部分が前面部分(37a)と実質的に平行になるように配置されている。
また、電極保持部材(43)及び固定部材(44)は、放電電極(41)と同種の金属により形成されている。放電電極(41)及び電極保持部材(43)は、固定部材(44)を通じて導通している。
上記イオン化部(32)には、イオン化線(35)と対向電極(36)の間に電圧を印加する高圧の直流電源(45)が設けられている。この直流電源(45)は、プラズマ発生装置(40)の電源も兼ねている。直流電源(45)によってイオン化線(35)と放電電極(41)に電圧を印加すると、イオン化線(35)の周囲でイオンが発生するとともに、放電電極(41)の先端から対向電極(36)に向かってストリーマ放電が発生する。イオン化線(35)と放電電極(41)には同電位の高電圧(例えば5kV)が印加されるが、イオン化線(35)と対向電極(36)の距離を例えば10mmとし、放電電極(41)と対向電極(36)の距離を例えば5mmとすることで電界強度に差を付けて、イオン化部(32)におけるイオン発生作用とプラズマ発生装置(40)におけるストリーマ放電作用とを同時に起こすようにしている。
上記静電フィルタ(33)は、上記放電電極(41)と対向電極(36)とで構成されたプラズマ発生装置(40)の下流側に配置されている。静電フィルタ(33)は、上流側の面において、上述したイオン化部(32)によって帯電された比較的小さな塵埃を捕集する一方、下流側の面には光半導体触媒が担持されて光半導体触媒層(38)が形成されている。光半導体触媒層(38)の光半導体触媒は、放電電極(41)と対向電極(36)での放電によって生成される低温プラズマ中の反応性の高い物質(電子、イオン、オゾン、ラジカルなどの活性種)によって更に活性化され、室内空気中の被処理成分である有害物質や臭気物質の分解を促進する。なお、光半導体触媒は、例えば二酸化チタンや酸化亜鉛、あるいはタングステン酸化物や硫化カドミウムなどが用いられる。
上記触媒フィルタ(34)は、静電フィルタ(33)の下流側に配置されている。この触媒フィルタ(34)は、例えばハニカム構造の基材の表面にプラズマ触媒を担持したものである。このプラズマ触媒は、上記光半導体触媒と同様に、放電電極(41)と対向電極(36)での放電によって生成される低温プラズマ中の反応性の高い物質(電子、イオン、オゾン、ラジカルなどの活性種)を更に活性化し、室内空気中の被処理成分である有害物質や臭気物質の分解を促進する。このプラズマ触媒には、マンガン系触媒や貴金属系触媒、更にこれらの触媒に活性炭などの吸着剤を添加したものが用いられる。
−運転動作−
次に、空気浄化装置(10)の運転動作について説明する。
空気浄化装置(10)の運転中は、遠心送風機(26)が起動し、被処理ガスである室内空気がケーシング(20)内の空気通路(25)を流通する。また、この状態において、イオン化部(32)及びプラズマ発生装置(40)に、直流電源(45)から高電圧が印加される。
室内空気がケーシング(20)内に導入されると、まずプレフィルタ(31)において比較的大きな塵埃が除去される。プレフィルタ(31)を通過した室内空気は、イオン化部(32)へと流れる。イオン化部(32)では、イオン化線(35)と対向電極(36)の間での放電により室内空気中の比較的小さな塵埃が帯電する。この帯電した塵埃を含む室内空気は、側面部分(37b)や背面部分(37c)に設けられた空気孔(50)を通り抜けて、静電フィルタ(33)へ流入する。静電フィルタ(33)では、帯電した塵埃が捕集される。
イオン化部(32)に一体的に組み込まれたプラズマ発生装置(40)では、放電電極(41)と対向電極(36)の間でのストリーマ放電により低温プラズマが発生している。一方、放電中には、図2に破線で示すように、前面部分(37a)に反射して空気流れの下流側に向かうイオン風が発生する。そして、発生した低温プラズマは、このイオン風に乗ってイオン化部(32)を通過し、室内空気とともに下流側へ流れてゆく。
低温プラズマには、反応性の高い物質(活性種)が含まれている。そして、この反応性の高い物質は、空気通路(25)を流通する室内空気と接触して室内空気中の有害物質や臭気物質を分解する。また、上記活性種が、静電フィルタ(33)に達すると、静電フィルタ(33)の光半導体触媒層(38)に担持された光半導体触媒によって更に活性化し、室内空気中の有害物質や臭気成分が更に分解される。そして、この活性種が、触媒フィルタ(34)に達すると、これらの物質は更に活性化し、室内空気中の有害物質や臭気物質が更に分解される。
以上のようにして塵埃が除去されるとともに有害物質や臭気物質も除去された清浄な室内空気は、遠心送風機(26)へと取り込まれ、空気吹出口(24)から室内へ吹き出される。
−実施形態1の効果−
本実施形態では、イオン化部(32)とプラズマ発生装置(40)とが対向電極(36)を共用している。つまり、イオン化線(35)と放電電極(41)とは、それぞれ個別の対向電極との間で放電するのではなく、共通の対向電極(36)との間で放電している。従って、本実施形態によれば、イオン化線(35)と放電電極(41)の対向電極(36)を共通化することで、それらの設置スペースを削減でき、空気浄化装置(10)のコンパクト化を図ることができる。
本実施形態によれば、放電電極(41)と対向電極(36)の間で行われる放電により生じるプラズマによって室内空気中の有害物質及び臭気物質が分解される一方、プラズマ触媒によって室内空気中の有害物質及び臭気物質の分解を促進することができる。従って、本実施形態によれば、空気浄化装置(10)の処理性能を向上させることができる。
また、本実施形態では、断面が「コ」の字型の対向電極(36)の内側に放電電極(41)を設けており、放電により生じたイオン風が対向電極(36)の外へは拡散せずに空気流れの下流側へ向かって流れる。このため、放電電極(41)と対向電極(36)の間で行われる放電により生じるプラズマは、このイオン風と共に確実に触媒フィルタ(34)へ供給される。従って、本実施形態によれば、室内空気中の有害物質及び臭気物質の分解を一層促進することができ、空気浄化装置(10)の処理性能を一層向上させることができる。
また、本実施形態によれば、対向電極(36)の下流側に放電電極(41)を配置しているため、放電電極(41)に付着する室内空気中の塵埃などの量を大幅に削減できる。従って、放電電極(41)と対向電極(36)の間で安定したストリーマ放電を続けることが可能となり、空気浄化装置(10)の処理性能を保持し続けることができる。
更に、本実施形態では、波板状の負極部材(37)における一方の面側の凹部の内側にイオン化線(35)、他方の面側の凹部の内側に放電電極(41)を設けている。このため、波板状の負極部材(37)の厚みの範囲内に、イオン化線(35)と放電電極(41)の両方を配置することができる。従って、本実施形態によれば、イオン化線(35)及び放電電極(41)の設置スペースを一層削減でき、空気浄化装置(10)の更なるコンパクト化を図ることができる。
更に、本実施形態によれば、静電フィルタ(33)に光半導体触媒を担持させているため、プラズマによる室内空気中の有害物質及び臭気物質の分解を促進させることができる。従って、空気浄化装置(10)の処理性能を向上させることができる。また、静電フィルタ(33)に光半導体触媒を一体的に組み込むことによって、空気浄化装置(10)の薄型化、コンパクト化を図ることができる。
更に、静電フィルタ(33)に光半導体触媒を担持させることで、静電フィルタ(33)に吸着された臭気成分の分解効果、あるいは静電フィルタ(33)における除菌効果を得ることができる。従って、静電フィルタ(33)の長寿命化を図ることができる。
−実施形態1の変形例−
上記実施形態1の空気浄化装置(10)について、イオン化部(32)におけるプラズマ発生装置(40)の構成を変更してもよい。
まず、図3に示すように、第1の変形例では、プラズマ発生装置(40)の電極保持部材(43)に、放電電極(41)が取り付けられる。放電電極(41)は、三角形板状の小片であって、電極保持部材(43)における前面部分(37a)側の側面に立設されている。そして、電圧の印加時には、放電電極(41)の先端から対向電極(36)へ向かってストリーマ放電が発生する。
次に、図4に示すように、第2の変形例において、プラズマ発生装置(40)の電極保持部材(43)は、その一部に放電電極(41)となる部分を有している。つまり、放電電極(41)が電極保持部材(43)に保持されるのではなく、電極保持部材(43)の複数箇所が、等間隔に突起した放電電極(41)となっている。
具体的に、電極保持部材(43)は、縦長の細長い平板状に形成され、側面部分(37b)と平行に設けられている。電極保持部材(43)における前面部分(37a)側の側面には、三角形状の突起が一定間隔で複数設けられている。この突起した部分が放電電極(41)となっている。そして、電圧の印加時には、放電電極(41)の先端から対向電極(36)へ向かってストリーマ放電が発生する。
《発明の実施形態2》
本発明の実施形態2は、上記実施形態1において、イオン化部(32)の構成を変更したものである。ここでは、本実施形態について、上記実施形態1と異なる点を説明する。
図5に示すように、本実施形態の空気浄化装置(10)では、イオン化部(32)の前面部分(37a)に、円形の通風孔(51)が複数設けられている。この通風孔(51)は、電極保持部材(43)に設けられる各固定部材(44)の概ね中間に位置している。プレフィルタ(31)を通過後の室内空気の一部は、図5に実線で示すように、この通風孔(51)を通ってイオン化部(32)へ流入する。
一方、プラズマ発生装置(40)では、放電電極(41)と対向電極(36)の間でのストリーマ放電により低温プラズマが発生している。低温プラズマに含まれる活性種は、この通風孔(51)を通過した室内空気に乗って、空気通路(25)の全体に拡散しながら触媒フィルタ(34)へ流れてゆく。触媒フィルタ(34)において、プラズマ触媒が一層活性化され、室内空気中の有害物質や臭気物質の分解が一層促進される。従って、本実施形態によれば、空気通路(25)を流れる室内空気中の有害物質や臭気物質を確実に分解することができ、空気浄化装置(10)の処理性能を向上させることができる。
《発明の実施形態3》
本発明の実施形態3は、上記実施形態1において、イオン化部(32)の構成を変更したものである。ここでは、本実施形態について、図6を用いて上記実施形態1と異なる点を説明する。尚、図6において、(A)は平面図、(B)は空気流れの上流側から見た図を示す。また、この点は、図7においても同様である。
本実施形態の空気浄化装置(10)では、イオン化部(32)の背面部分(37c)に、複数の絶縁碍子(60)が取り付られている。この絶縁碍子(60)は、電気の導通を絶縁するためのものであって、負極部材(37)の上下方向に等間隔に設けられている。各絶縁碍子(60)のプレフィルタ(31)側には、通電部材(61)が取り付けられている。この通電部材(61)は、電気を導通させるためのものである。
通電部材(61)の側面のうち側面部分(37b)側の面には、固定部材(44)を介して放電電極(41)が取り付けられている。また、通電部材(61)のプレフィルタ(31)側には、イオン化線(35)が設けられており、このイオン化線(35)は、通電部材(61)に支持されている。つまり、上記イオン化線(35)と放電電極(41)とは、通電部材(61)を介して導通している。
イオン化線(35)と放電電極(41)の何れか一方に放電電圧を印加すると、イオン化線(35)と放電電極(41)とが同電位となる。そして、イオン化線(35)と側面部分(37b)の対向電極(36)との間で、また、放電電極(41)と側面部分(37b)の対向電極(36)との間で放電が行われる。
ここで、放電電極(41)と対向電極(36)の距離は、イオン化線(35)と対向電極(36)の距離よりも十分に短くなっており、両者の電界強度には差が生じる。このため、放電電極(41)と対向電極(36)の間ではストリーマ放電が行われ、これによりプラズマが発生して室内空気中の有害物質や臭気物質が分解除去される。また、イオン化線(35)と対向電極(36)の間での放電により、室内空気中の塵埃が帯電する。
−実施形態3の変形例−
上記実施形態3の空気浄化装置(10)において、イオン化部(32)の構成を変更してもよい。ここでは、本変形例について、上記実施形態3と異なる点を説明する。
図7に示すように、本変形例の空気浄化装置(10)では、イオン化線(35)の途中に、複数の放電電極(41)が等間隔に設けられている。つまり、上記イオン化線(35)と放電電極(41)とは、導通している。放電電極(41)は、空気流れの上流側から見た断面がひし形であって、イオン化線(35)を中心として対称となるように設けられている。そして、イオン化線(35)と側面部分(37b)の対向電極(36)との間で、また、放電電極(41)と側面部分(37b)の対向電極(36)との間で放電が行われる。
本変形例では、イオン化線(35)の途中に放電電極(41)が電気的に接続されており、イオン化線(35)と放電電極(41)の両方に個別に電圧を印加する必要がなくなる。このため、例えばイオン化線(35)を電源に接続するだけで、イオン化線(35)と放電電極(41)の両方に電圧を印加できる。従って、本変形例によれば、電圧を印加するための構成を簡素化できる。
《その他の実施形態》
−第1変形例−
上記実施形態1及び2の空気浄化装置(10)において、イオン化部(32)の構成を変更してもよい。
図8に示すように、本変形例の空気浄化装置(10)では、イオン化部(32)の負極部材(37)に設けられる空気孔(50)が、側面部分(37b)のみに存在している。つまり、空気孔(50)は、背面部分(37c)には存在していない。イオン化部(32)へ流入した室内空気は、その全てが側面部分(37b)の空気孔(50)を通り抜け、「コ」の字型に設けられた対向電極(36)の開口側から下流側へと流れる。
一方、プラズマ発生装置(40)では、放電電極(41)と対向電極(36)の間でのストリーマ放電により低温プラズマが発生している。低温プラズマに含まれる活性種は、この空気孔(50)を通過した室内空気に乗って、空気通路(25)の全体に拡散しながら触媒フィルタ(34)へ流れてゆく。触媒フィルタ(34)において、プラズマ触媒が一層活性化され、室内空気中の有害物質や臭気物質の分解が一層促進される。従って、本変形例によれば、空気通路(25)を流れる室内空気中の有害物質や臭気物質を確実に分解することができ、空気浄化装置(10)の処理性能を向上させることができる。
尚、本変形例では、背面部分(37c)を構成する部分と前面部分(37a)及び側面部分(37b)を構成する部分とを別個の部材で形成し、各部材を互いに隙間ができるように配置してもよい。この場合、背面部分(37c)を構成する部材が邪魔板として作用するため、イオン化部(32)へ流入した室内空気は、前面部分(37a)及び側面部分(37b)を構成する部材と背面部分(37c)を構成する部材の間に設けられる隙間を通って下流側へと流れる。
−第2変形例−
上記実施形態1〜3の空気浄化装置(10)において、イオン化部(32)の構成を変更してもよい。本変形例のイオン化部(32)において、負極部材(37)における波形の形状は、矩形波状に限らず、正弦波状や三角波状など、どのような波形状であってもよい。上記負極部材(37)では、そのプレフィルタ(31)側の面にイオン化線(35)が設けられ、この面と向かい合う触媒フィルタ(34)側の面に放電電極(41)が設けられる。イオン化線(35)は、負極部材(37)をプレフィルタ(31)側から見た「谷」の部分、即ち凹部の内側に配置される。一方、放電電極(41)は、負極部材(37)を静電フィルタ(33)側から見た「谷」の部分、即ち凹部の内側に配置される。
−第3変形例−
上記実施形態では、電気的集塵部材として静電フィルタ(33)を用いているが、静電フィルタの代わりに、集塵板(電極板)を電気的集塵部材として用いてもよい。
−第4変形例−
また、上記実施形態では、プラズマ発生装置(40)の下流側に、例えばマンガン系触媒や貴金属系触媒などのプラズマ触媒が基材に担持された触媒フィルタ(34)を設けている。しかしながら、プラズマ発生装置(40)の下流側には、この触媒フィルタ(34)の代わりに、例えば活性炭やゼオライトなどの吸着剤が基材に担持された吸着処理部材を設けるようにしてもよい。
以上説明したように、本発明は、放電を行って空気中の塵埃や臭気等を除去するガス処理装置について有用である。
実施形態1に係る空気浄化装置の分解斜視図である。 実施形態1に係る空気浄化装置におけるイオン化部の要部拡大斜視図である。 実施形態1に係る空気浄化装置におけるイオン化部の要部拡大斜視図である。 実施形態1に係る空気浄化装置におけるイオン化部の要部拡大斜視図である。 実施形態2に係る空気浄化装置におけるイオン化部の要部拡大斜視図である。 実施形態3に係る空気浄化装置におけるイオン化部の構成を示す概略図である。 実施形態3に係る空気浄化装置におけるイオン化部の構成を示す概略図である。 その他の実施形態に係る空気浄化装置におけるイオン化部の要部拡大斜視図である。
符号の説明
(33) 電気的集塵部材(静電フィルタ)
(35) 第1放電極(イオン化線)
(36) 対向電極
(37) 電極部材(負極部材)
(41) 第2放電極(放電電極)

Claims (9)

  1. 被処理ガス中の塵埃を捕集すると共に、被処理ガス中の被処理成分を分解するガス処理装置であって、
    対向電極(36)と、
    上記被処理ガス中の塵埃が帯電するように上記対向電極(36)との間で放電を起こさせる第1放電極(35)と、
    帯電した上記被処理ガス中の塵埃を捕集する電気的集塵部材(33)と、
    上記被処理成分を分解するためのプラズマが発生するように上記対向電極(36)との間で放電を起こさせる第2放電極(41)とを備えているガス処理装置。
  2. 請求項1に記載のガス処理装置において、
    電気的集塵部材(33)が静電フィルタにより構成されているガス処理装置。
  3. 請求項1に記載のガス処理装置において、
    第2放電極(41)と対向電極(36)の間での放電により発生したプラズマで活性化されて被処理成分の分解を促進するプラズマ触媒を備えているガス処理装置。
  4. 請求項1に記載のガス処理装置において、
    第1放電極(35)は、上記対向電極(36)に沿って延びる線状に形成され、
    第2放電極(41)は、上記第1放電極(35)の途中に電気的に接続されると共に上記対向電極(36)との距離が該対向電極(36)と第1放電極(35)の距離よりも短くなるように配置されているガス処理装置。
  5. 請求項1に記載のガス処理装置において、
    対向電極(36)は断面がコの字型の柱状に形成されており、該対向電極(36)の内側に少なくとも第2放電極(41)が配置されているガス処理装置。
  6. 請求項1に記載のガス処理装置において、
    波板状に形成されて対向電極(36)を構成する電極部材(37)を備える一方、
    上記電極部材(37)における一方の面側に第1放電極(35)が、他方の面側に第2放電極(41)がそれぞれ設けられ、
    第1放電極(35)及び第2放電極(41)は、それぞれ波板状の上記電極部材(37)における凹部の内側に配置されているガス処理装置。
  7. 請求項1に記載のガス処理装置において、
    第2放電極(41)と対向電極(36)の間での放電により発生したプラズマで活性化されて被処理成分の分解を促進する光半導体触媒を備えているガス処理装置。
  8. 請求項7に記載のガス処理装置において、
    光半導体触媒は、電気的集塵部材(33)に担持されているガス処理装置。
  9. 請求項3に記載のガス処理装置において、
    プラズマ触媒は、第2放電極(41)及び対向電極(36)の下流側に配置され、
    電気的集塵部材(33)には、第2放電極(41)と対向電極(36)の間での放電により発生したプラズマで活性化されて被処理成分の分解を促進する光半導体触媒が担持され、
    上記電気的集塵部材(33)は、上記第2放電極(41)及び対向電極(36)と上記プラズマ触媒との間に配置されているガス処理装置。
JP2004179421A 2003-08-29 2004-06-17 ガス処理装置 Expired - Fee Related JP3709449B1 (ja)

Priority Applications (1)

Application Number Priority Date Filing Date Title
JP2004179421A JP3709449B1 (ja) 2003-08-29 2004-06-17 ガス処理装置

Applications Claiming Priority (5)

Application Number Priority Date Filing Date Title
JP2003306775 2003-08-29
JP2003306775 2003-08-29
JP2004072193 2004-03-15
JP2004072193 2004-03-15
JP2004179421A JP3709449B1 (ja) 2003-08-29 2004-06-17 ガス処理装置

Publications (2)

Publication Number Publication Date
JP3709449B1 JP3709449B1 (ja) 2005-10-26
JP2005296916A true JP2005296916A (ja) 2005-10-27

Family

ID=35329106

Family Applications (1)

Application Number Title Priority Date Filing Date
JP2004179421A Expired - Fee Related JP3709449B1 (ja) 2003-08-29 2004-06-17 ガス処理装置

Country Status (1)

Country Link
JP (1) JP3709449B1 (ja)

Cited By (5)

* Cited by examiner, † Cited by third party
Publication number Priority date Publication date Assignee Title
WO2015097978A1 (ja) 2013-12-27 2015-07-02 ダイキン工業株式会社 放電装置及び空気処理装置
GB2524009A (en) * 2014-03-10 2015-09-16 Novaerus Patents Ltd Air treatment apparatus
KR20210044594A (ko) * 2019-10-15 2021-04-23 플람 주식회사 냄새 제거 및 신선도 유지 플라즈마 장치
JP2022146755A (ja) * 2021-03-22 2022-10-05 株式会社東芝 プラズマ除菌装置
JP2024519831A (ja) * 2021-05-19 2024-05-21 ヘルスウェイ ホーム プロダクツ カンパニー インコーポレイテッド ファン駆動空気濾過ユニット

Cited By (7)

* Cited by examiner, † Cited by third party
Publication number Priority date Publication date Assignee Title
WO2015097978A1 (ja) 2013-12-27 2015-07-02 ダイキン工業株式会社 放電装置及び空気処理装置
JP2015144109A (ja) * 2013-12-27 2015-08-06 ダイキン工業株式会社 放電装置及び空気処理装置
GB2524009A (en) * 2014-03-10 2015-09-16 Novaerus Patents Ltd Air treatment apparatus
KR20210044594A (ko) * 2019-10-15 2021-04-23 플람 주식회사 냄새 제거 및 신선도 유지 플라즈마 장치
KR102261413B1 (ko) * 2019-10-15 2021-06-07 플람 주식회사 냄새 제거 및 신선도 유지 플라즈마 장치
JP2022146755A (ja) * 2021-03-22 2022-10-05 株式会社東芝 プラズマ除菌装置
JP2024519831A (ja) * 2021-05-19 2024-05-21 ヘルスウェイ ホーム プロダクツ カンパニー インコーポレイテッド ファン駆動空気濾過ユニット

Also Published As

Publication number Publication date
JP3709449B1 (ja) 2005-10-26

Similar Documents

Publication Publication Date Title
KR100745952B1 (ko) 가스처리장치
JP3742863B2 (ja) 空気浄化装置
JP3852429B2 (ja) 空気清浄機
KR100625425B1 (ko) 방전장치 및 공기정화장치
KR100535123B1 (ko) 하이브리드형 차량용 공기 청정기
JP3709449B1 (ja) ガス処理装置
KR20130072098A (ko) 공기청정 기능이 강화된 에어필터
JP5696718B2 (ja) 放電ユニット及び空気清浄機
JP2002346334A (ja) プラズマ式ガス浄化装置
JP4706681B2 (ja) 放電装置及び空気浄化装置
TWI646289B (zh) 空氣淨化裝置與空氣淨化方法
JP2005125070A (ja) 空気浄化装置
JP2006015282A (ja) 空気浄化装置
JP2005032710A (ja) 放電装置及び空気浄化装置
JP7475115B2 (ja) 放電ユニット、及び空気清浄機
KR200273787Y1 (ko) 배리어 방전을 이용한 공기 청정기
KR200269010Y1 (ko) 배리어 방전을 이용한 공기 청정기
JP4591086B2 (ja) 放電装置及び空気浄化装置
KR20160099307A (ko) 전기집진장치
JPH0924296A (ja) 気体清浄装置

Legal Events

Date Code Title Description
TRDD Decision of grant or rejection written
A61 First payment of annual fees (during grant procedure)

Free format text: JAPANESE INTERMEDIATE CODE: A61

Effective date: 20050718

FPAY Renewal fee payment (event date is renewal date of database)

Free format text: PAYMENT UNTIL: 20080819

Year of fee payment: 3

FPAY Renewal fee payment (event date is renewal date of database)

Free format text: PAYMENT UNTIL: 20090819

Year of fee payment: 4

FPAY Renewal fee payment (event date is renewal date of database)

Free format text: PAYMENT UNTIL: 20100819

Year of fee payment: 5

FPAY Renewal fee payment (event date is renewal date of database)

Free format text: PAYMENT UNTIL: 20100819

Year of fee payment: 5

FPAY Renewal fee payment (event date is renewal date of database)

Free format text: PAYMENT UNTIL: 20110819

Year of fee payment: 6

FPAY Renewal fee payment (event date is renewal date of database)

Free format text: PAYMENT UNTIL: 20110819

Year of fee payment: 6

FPAY Renewal fee payment (event date is renewal date of database)

Free format text: PAYMENT UNTIL: 20120819

Year of fee payment: 7

FPAY Renewal fee payment (event date is renewal date of database)

Free format text: PAYMENT UNTIL: 20120819

Year of fee payment: 7

FPAY Renewal fee payment (event date is renewal date of database)

Free format text: PAYMENT UNTIL: 20130819

Year of fee payment: 8

LAPS Cancellation because of no payment of annual fees