JP2005295464A - 光伝送システム - Google Patents
光伝送システム Download PDFInfo
- Publication number
- JP2005295464A JP2005295464A JP2004111552A JP2004111552A JP2005295464A JP 2005295464 A JP2005295464 A JP 2005295464A JP 2004111552 A JP2004111552 A JP 2004111552A JP 2004111552 A JP2004111552 A JP 2004111552A JP 2005295464 A JP2005295464 A JP 2005295464A
- Authority
- JP
- Japan
- Prior art keywords
- optical
- optical transmission
- port
- transmission line
- standby
- Prior art date
- Legal status (The legal status is an assumption and is not a legal conclusion. Google has not performed a legal analysis and makes no representation as to the accuracy of the status listed.)
- Pending
Links
Images
Landscapes
- Time-Division Multiplex Systems (AREA)
- Optical Communication System (AREA)
Abstract
【課題】 プロテクション機能を提供するとともに、ノードの経済化を図り、ネットワーク構築上の柔軟性を向上させる。
【解決手段】 親ノードは、複数の波長の光送信信号を1つのポートに合波し、1つのポートに入力された受信光信号を複数の波長に分波する波長合分波素子213と、1つのポートを、現用系と前記予備系のポートとの間で接続切替を行う光スイッチ211とを備え、前記子ノードは、現用系と予備系の光伝送路のそれぞれに接続され、各々の子ノードに割り付けられた波長の光信号を合分波するWDMスプリッタ204と、現用系光と予備系の2つのポートを1つのポートに合波する光スプリッタ233と、1つのポートに入力された光送信信号と光受信信号とを2つのポートに合分波するWDMスプリッタ231とを備えた。
【選択図】 図2
【解決手段】 親ノードは、複数の波長の光送信信号を1つのポートに合波し、1つのポートに入力された受信光信号を複数の波長に分波する波長合分波素子213と、1つのポートを、現用系と前記予備系のポートとの間で接続切替を行う光スイッチ211とを備え、前記子ノードは、現用系と予備系の光伝送路のそれぞれに接続され、各々の子ノードに割り付けられた波長の光信号を合分波するWDMスプリッタ204と、現用系光と予備系の2つのポートを1つのポートに合波する光スプリッタ233と、1つのポートに入力された光送信信号と光受信信号とを2つのポートに合分波するWDMスプリッタ231とを備えた。
【選択図】 図2
Description
本発明は、光伝送システムに関し、より詳細には、波長分割多重方式を用いた公衆通信網または自営通信網(LAN)に適用され、光伝送路が2重化されたネットワークにおける光伝送システムに関する。
複数のノードが互いに接続された形態の光ネットワークにおいて、ノード間の光伝送路の障害、ノード自体の障害、新規ノードの追加、または既存ノードの挿抜を実施する場合、通信の途絶を防ぐ必要がある。従来、光伝送路または伝送装置を、現用系と予備系の2重化構成とし、または複数の現用系に対して1つの予備系を有するN+1構成として、現用系のシステムを予備系のシステムに一時的に切り替えること(以下、プロテクション機能という)が行われている。
ポイント−ポイントのネットワークにおいては、両端のノードの伝送装置において現用系と予備系とを切り替える。ポイント−マルチポイントのネットワークにおいては、プロテクション機能としてUPSR(Unidirectional Path Switched Ring)およびBLSR(Bidirectional Line Switched Ring)が知られている(例えば、非特許文献1参照)。UPSRおよびBLSRは、波長分割多重(WDM)伝送方式によるSDH/SONETのリングネットワークに備えられるプロテクション機能である。
図1に、従来のUPSR型光伝送システムにおけるノードの構成例を示す。UPSR型光伝送システムは、現用系光ファイバ102aと予備系光ファイバ102bからなるリング型光伝送路に、親ノード101と複数の子ノード103a〜103dとが接続されている。親ノード101は、現用系光ファイバ102aと予備系光ファイバ102bとの接続を切り替える1×2ポートの光SW111と、送信信号を現用系光ファイバ102aと予備系光ファイバ102bに分岐する1×2ポートの光スプリッタ112と、2×nポートの波長合分波素子113と、n通りの光波長(λ1,…,λn)の信号を送受信するためのn組の光送受信部114と、光信号の変復調、送受信部の駆動および光SW111の切替制御などを行う制御部115とを備えている。
波長合分波素子113は、入力ポートの信号をn本のポートに分波し、n本のポートの信号を出力ポートに合波する。合分波用の素子としては、AWG(Arrayed-Waveguide Grating)がよく知られている(例えば、非特許文献2参照)。光送受信部114のトランスミッタT1,…,Tnからの送信信号は、波長合分波素子113と光スプリッタ112とを介して現用系光ファイバ102aと予備系光ファイバ102bとに送出される。現用系光ファイバ102aからの受信信号は、光SW111と波長合分波素子113とを介して光送受信部114のレシーバR1,…,Rnに入力される。予備系光ファイバ102bからの受信は、制御部115の指示に基づく光SW111の接続切替により行われる。
子ノード103は、予め子ノードに割り付けられた波長(λkとする。kはn以下の自然数)だけを合分波する1×2ポートのWDMスプリッタ131a〜131dと、現用系光ファイバ102aと予備系光ファイバ102bとの接続を切り替える光SW132と、送信信号を現用系光ファイバ102aと予備系光ファイバ102bに分岐する光スプリッタ133と、1組の光送受信部134(Tk、Rk)と、制御部135とを備えている。親ノード101と子ノード103との間で、λkの信号成分だけを送受信し、制御部135からの指示に応じて、親ノード101と同期を取りながら光SW132で切り替えられる。子ノード103の各々は、互いに異なる波長で動作するWDMスプリッタ131を備えることにより、最大、波長数と等しいn台まで配置することができる。
図中に示したように、現用系光ファイバ102aにおいて障害が発生した場合、障害検出信号が各ノードで検出される。親ノード101と子ノード103のそれぞれは、光SW111および光SW132を切り替えて、現用系光ファイバ102aから予備系光ファイバ102bに切り替える。また、人為的に現用系光ファイバ102aから予備系光ファイバ102bに切り替えて、新規ノードの追加、既存のノードの挿抜を行うことにより、短時間の瞬断で追加、挿抜を行うことができる。
ITU-T, Recommendation G.841, Types and characteristics ofSDH network protection architecture
K.Okamoto et. al, "Fabrication of 64×64 arrayed-waveguide grating multiplexer on silicon", Electron. Lett. Vol.31, pp.184-185, 1995
しかしながら、従来のプロテクション機能では、リング型光伝送路の現用系/予備系光ファイバの双方に送信信号を伝搬するため、全ノードに現用系/予備系切替のための光SWと、切替の同期制御を行う制御部とを備える必要があり、伝送装置の経済性という面で問題があった。
また、アクセスネットワークのより一般的な形態であるスター型、バス型ネットワークに対しては、上述したように、予備心線を複数の子ノードで共用するプロテクション機能は実現されておらず、子ノードと同数の予備系光ファイバが必要になり、ネットワークの経済性という面で問題があった。
プロテクション機能が付与されないアクセスネットワークでは、サービス提供中に新規ノードの追加、既存のノードの挿抜を行う場合には、サービスの中断が生じる。また、新規ノードの追加が想定される部分には、現時点でのユーザ有の無に関わらず、予め分岐用のWDMスプリッタまたはノードを設けていた。従って、ネットワーク構築上の柔軟性に欠点があった。
本発明は、このような問題に鑑みてなされたもので、その目的とするところは、プロテクション機能を提供するとともに、ノードの経済化を図り、ネットワーク構築上の柔軟性を向上させる光伝送システムを提供することにある。
本発明は、このような目的を達成するために、請求項1に記載の発明は、現用系と予備系の光伝送路により、1台の親ノードに接続された複数の子ノードからなり、波長分割多重伝送方式を適用した光伝送システムであって、前記親ノードは、光送信部から入力された複数の波長の光送信信号を1つのポートに合波し、該1つのポートに入力された受信光信号を複数の波長に分波して光受信部に出力する波長合分波素子と、前記1つのポートを、前記現用系光伝送路のポートと前記予備系光伝送路のポートとの間で接続切替を行う光スイッチとを備え、前記子ノードは、前記現用系と予備系の光伝送路のそれぞれに接続され、各々の前記子ノードに割り付けられた波長の光送信信号および光受信信号を合分波する第1のWDMスプリッタと、該第1のWDMスプリッタの前記現用系光伝送路と前記予備系光伝送路の2つのポートを、1つのポートに合波する光スプリッタと、前記1つのポートに入力された光送信信号と光受信信号とを、光送受信部に接続された2つのポートに合分波する第2のWDMスプリッタとを備え、前記親ノードの前記光スイッチを切替えることにより、現用系と予備系とを切替えて通信を行うことを特徴とする。
請求項2に記載の発明は、現用系と予備系の光伝送路により、1台の親ノードに接続された複数の子ノードからなり、波長分割多重伝送方式を適用した光伝送システムであって、前記親ノードは、光送信部から入力された複数の波長の光送信信号を1つの送信ポートに合波し、1つの受信ポートに入力された光受信信号を複数の波長に分波して光受信部に出力する波長合分波素子と、前記送信ポートと、前記現用系光伝送路の下り信号ポートと前記予備系光伝送路の下り信号ポートとの間で接続切替を行い、前記受信ポートと、前記現用系光伝送路の上り信号ポートと前記予備系光伝送路の上り信号ポートとの間で接続切替を行う光スイッチとを備え、前記子ノードは、前記現用系と予備系の光伝送路のそれぞれに接続され、各々の前記子ノードに割り付けられた波長の光送信信号および光受信信号を合分波する第1のWDMスプリッタと、該第1のWDMスプリッタの前記現用系光伝送路の下り信号ポートと前記予備系光伝送路の下り信号ポートとを、光受信部に接続された1つのポートに合波し、光送信部に接続された1つのポートを、前記第1のWDMスプリッタの前記現用系光伝送路の上り信号ポートと前記予備系光伝送路の上り信号ポートとに分波する光スプリッタとを備え、前記親ノードの前記光スイッチを切替えることにより、現用系と予備系とを切替えて通信を行うことを特徴とする。
この構成によれば、親ノードの光スイッチを切替えることにより、現用系と予備系とを切替えて通信を行うことができるので、子ノードには光スイッチを備える必要がなく、親ノードと子ノードとの間で切替えのための同期制御を行う必要がない。また、バス型、ツリー型、スター型など様々なネットワークに対応することができ、予め分岐用のWDMスプリッタを設置するだけで、ネットワークの拡張性を確保することができる。
以上説明したように、本発明によれば、プロテクション機能を提供するとともに、ノードの経済化を図り、ネットワーク構築上の柔軟性を向上させることが可能となる。
以下、図面を参照しながら本発明の実施形態について詳細に説明する。
図2に、本発明の第1の実施形態にかかる光伝送システムにおけるノードの構成を示す。光伝送システムは、バス型ネットワークであり、現用系光ファイバ202aと予備系光ファイバ202bからなるバス型光伝送路に、親ノード201と複数の子ノード203とが接続されている。1台の親ノードに、n台(n:自然数)の子ノードを接続することができる。親ノード201は、現用系光ファイバ202aと予備系光ファイバ202bとの接続を切り替える1×2ポートの光SW211と、2n通りの波長の合分波を行う1×2nポートの波長合分波素子213と、2n通りの光波長の信号を送受信するためのn組の光送受信部214と、光信号の変復調、送受信部の駆動および光SW211の切替管理などを行う制御部215とを備えている。
図2に、本発明の第1の実施形態にかかる光伝送システムにおけるノードの構成を示す。光伝送システムは、バス型ネットワークであり、現用系光ファイバ202aと予備系光ファイバ202bからなるバス型光伝送路に、親ノード201と複数の子ノード203とが接続されている。1台の親ノードに、n台(n:自然数)の子ノードを接続することができる。親ノード201は、現用系光ファイバ202aと予備系光ファイバ202bとの接続を切り替える1×2ポートの光SW211と、2n通りの波長の合分波を行う1×2nポートの波長合分波素子213と、2n通りの光波長の信号を送受信するためのn組の光送受信部214と、光信号の変復調、送受信部の駆動および光SW211の切替管理などを行う制御部215とを備えている。
光送受信部214のトランスミッタT1,…,Tnからの光送信信号(波長λ1,…,λn、以下、下り信号ともいう)は、波長合分波素子213において1ポートに波長多重されて、光SW211に入射される。光送信信号は、光SW211において、通常時は現用系光ファイバ202aに、切替時は予備系光ファイバ202bに結合される。n台の子ノードからの光受信信号(波長λn+1,…,λ2n、以下、上り信号ともいう)は、通常時において、現用系光ファイバ202aを介して光SW211に入射する。光受信信号は、波長合分波素子213に入射され、波長成分毎に分波された後、光送受信部214のレシーバRn+1,…,R2nに結合する。
制御部215は、子ノードからの信号、外部からの指示により、現用系光ファイバ202aと予備系光ファイバ202bとの切替を行うためのタイミング抽出、切替制御を行う。切替制御について、瞬断の影響をなくすために、各ノード装置内にバッファメモリ、遅延回路等を搭載し、瞬断時間内のデータ保存と再送などの手段を設けることができる。
現用系光ファイバ202aと予備系光ファイバ202bの子ノードを接続する箇所には、WDMスプリッタ204a〜204cが接続されている。WDMスプリッタ204a〜204cは、予め子ノードに割り付けられた波長(下り用波長をλkとし、上り用波長をλ1n+kとする)だけを合分波し、残りの波長を下流側の他の子ノードへ伝搬する。
子ノード203は、現用系光ファイバ202aと予備系光ファイバ202bとの間で合分波機能を有する光スプリッタ233と、上り信号と下り信号を波長により分離するWDMスプリッタ231と、1組の光送受信部234(T1n+k、Rk)と、制御部235とを備えている。光送受信部234からの上り信号(波長λ1n+k)は、WDMスプリッタ231を経て光スプリッタ233でパワー分岐され、一部が現用系光ファイバ202aに、残りが予備系光ファイバ202bに結合される。下り信号(波長λk)は、光スプリッタ233で合波された後、WDMスプリッタ231で分離されて、光送受信部234のレシーバRkに結合する。
このような構成により、子ノードには、現用系/予備系切替のための光SWを備える必要がなく、制御部から切替の同期制御を行う必要もないので、ノードの経済化を図ることができる。
図3に、ツリー型ネットワークへの適用例を示す。現用系光ファイバ202aと予備系光ファイバ202bの子ノードを接続する箇所に設置されたWDMスプリッタ204a〜204cにおいて、予め複数の子ノードに割り付けられた波長を合分波し、残りの波長を下流側の他の子ノードへ伝搬する。例えば、波長数n=32とすると、順次、WDMスプリッタ204aにおいては16波ずつ合分波し、WDMスプリッタ204bにおいては8波ずつ合分波し、最後にWDMスプリッタ204eにおいては1波ずつ分岐する。このようにして、ツリー型またはスター型ネットワークに対応することができ、分岐する波長数を任意に選択することにより、様々な形態のネットワークとすることができる。
以上述べたように、本実施形態によれば、バス型、スター型いずれのネットワークにも対応することができ、予め分岐用のWDMスプリッタを設置するだけで、ネットワークの拡張性を確保することができる。
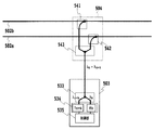
図4に、本発明の第2の実施形態にかかる光伝送システムにおけるノードの構成を示す。光伝送システムは、バス型ネットワークであり、現用系光ファイバ321a,321bと予備系光ファイバ322a,322bからなる4心のバス型光伝送路に、親ノード301と複数の子ノード303とが接続されている。1台の親ノードに、n台(n:自然数)の子ノードを接続することができる。上り信号用と下り信号用の各々に光ファイバを用意することで、上り信号と下利信号の波長を同一波長に設定できるため、全体として必要な波長数を半減することができる。
親ノード301は、現用系光ファイバ321と予備系光ファイバ322との接続を切り替える1×2ポートの光SW311と、n通りの波長の合分波を行う2組の1×nポートの波長合分波素子313と、n通りの光波長の信号を送受信するためのn組の光送受信部314と、光信号の変復調、送受信部の駆動および光SW311の切替管理などを行う制御部315とを備えている。
光送受信部314のトランスミッタT1,…,Tnからの下り信号(波長λ1,…,λn)は、波長合分波素子313において1ポートに波長多重されて、光SW311に入射される。送信信号は、光SW311において、通常時は現用系光ファイバ321aに、切替時は予備系光ファイバ322aに結合される。n台の子ノードからの受信信号(波長λ1,…,λn)は、通常時において、現用系光ファイバ321bを介して光SW311に入射する。受信信号は、波長合分波素子313に入射され、波長成分毎に分離された後、光送受信部314のレシーバR1,…,Rnに結合する。
現用系光ファイバ321と予備系光ファイバ322の子ノードを接続する箇所には、WDMスプリッタ304a〜304cが接続されている。WDMスプリッタ304a〜304cは、予め子ノードに割り付けられた波長(波長をλk)だけを合分波し、残りの波長を下流側の他の子ノードへ伝搬する。
子ノード303は、合分波機能を有する光スプリッタ333と、1組の光送受信部334(Tk、Rk)と、制御部335とを備えている。光送受信部334からの上り信号(波長λk)は、光スプリッタ333でパワー分岐され、一部が現用系光ファイバ321bに、残りが予備系光ファイバ322bに結合される。下り信号(波長λk)は、光スプリッタ333で合波された後、光送受信部334のレシーバRkに結合する。
このような構成により、全体として必要な波長数を半減することができるとともに、子ノードにWDMスプリッタを備える必要がなく、さらなる小型化を図ることができる。
図5に、本発明の一実施形態にかかる親ノードの構成を示す。図2に示した親ノード201における光SW211の代わりに、電気的な切替を行う電子SWを備えた。親ノード401は、2組の1×nポートの波長合分波素子413a,413bと、2組の光送受信部414と、2n×1ポートまたは2組の1×nポートからなる電子SW416と、送受信部の駆動および電子SW416を制御する制御部415とを備えている。
通常時は、現用系光ファイバ402aに接続される光送受信部414aのn本のポートと制御部のポートとが接続されており、切替時は、予備系光ファイバ402bに接続されている光送受信部414bのn本のポートと制御部のポートとが接続されている。光ファイバ心線の切替は、電子SW416によって行われる。
なお、図4に示した4心の光ファイバを使用するバス型光伝送路の場合には、2組の波長合分波素子413a,413bのそれぞれを、2組の1×nポートの波長合分波素子とすることで、現用系/予備系切替を実現することができる。
図6に、本発明の一実施形態にかかる子ノードと光伝送路との接続形態を示す。図2に示した接続形態において、子ノード203の光スプリッタ233を、バス型光伝送路の分岐部分にあたるWDMスプリッタ204に内蔵する。このような構成により、バス型光伝送路の分岐部分と子ノードとの間の光ファイバを1心で構成することができる。
なお、図4に示した4心の光ファイバを使用するバス型光伝送路の場合にも、光スプリッタ333を、バス型光伝送路の分岐部分にあたるWDMスプリッタ304に内蔵することにより、同様の効果を得ることができる。
図7〜9に、子ノードをネットワークに追加するシーケンスを示す。通常時においては、現用系光ファイバ202aがアクティブ状態、すなわち通信が行われている状態である(図7)。子ノードをするために切替の要求が発生した時点で、親ノード201は、切替要求信号を検出する。切替要求信号は、例えば、管理装置を通じたオペレータの指示を制御部215で受信する。制御部215は、光SW211の光ファイバ接続ポートを、予備系光ファイバ202bへ切り替える(図8)。切替により現用系光ファイバ202aは、全ての子ノードに対して遮断され、予備系光ファイバ202bがアクティブ状態となる。
次に、親ノード201に、追加する子ノード203cと通信を行うための波長を有する光送受信部214のトランスミッタTk+1と、レシーバRn+k+1とが、予め備わっていない場合には追加する。分岐のためのWDM光スプリッタ204cを、現用系光ファイバ202aに挿入して、子ノード203cを物理的に接続する(図8)。この状態で必要に応じて接続確認のために、後述する試験を行うことができる。
続いて、光SW211の切り戻しにより、現用系光ファイバ202aをアクティブ状態にする(図9)。WDM光スプリッタ204cを、予備系光ファイバ202bに挿入し、同様に接続確認の試験が行って、通常時に戻る。
図10〜12に、光伝送路の障害時における切替のシーケンスを示す。通常時においては、現用系光ファイバ202aがアクティブ状態、すなわち通信が行われている状態である。現用系光ファイバ202aに心線障害が起こると親ノード201で障害検出が行われる(図10)。障害検出は、光送受信部214において、子ノードからの受信信号の信号断または信号強度の低下を検出する。
障害を検出すると、制御部215は、光SW211の光ファイバ接続ポートを、予備系光ファイバ202bへ切り替える(図11)。切替により現用系光ファイバ202aは、全ての子ノードに対して遮断され、予備系光ファイバ202bがアクティブ状態となる。現用系光ファイバ202aの障害復旧工事が行われ、施工完了後、接続確認のために、後述する試験を行うことができる。続いて、光SW211の切り戻しにより、現用系光ファイバ202aをアクティブ状態にする(図12)。
なお、子ノード自体に障害が起きた場合は、挿抜と同様な手順で子ノードを切り離して修復し挿入することで対応が可能である。
図13に、光伝送路の試験機能を有する親ノードの構成を示す。親ノード601は、2×2ポートの光SW611と、試験部617とを備えている点で、親ノード201と異なる。試験部617は、特定の子ノードの上り送信波長成分だけを抽出する可変波長フィルタ621と、試験用の光受信部であるレシーバ622と、測定部623とを含む。
通常時の光SW611は、現用系光ファイバ202aと波長合分波素子613との接続、および予備系光ファイバ202bと試験部617との接続を行う。切替時には、逆に現用系光ファイバ202aと試験部617との接続、および予備系光ファイバ202bと波長合分波素子613との接続を行う。
例えば、図7〜9に示したように、現用系光ファイバ202aにWDM光スプリッタ204cと子ノード203cとを追加挿入する場合について説明する。光SW611で切替を実施後、現用系光ファイバ202aにWDM光スプリッタ204cを挿入し、子ノード203cより上り試験信号(波長λk)を送出する。現用系光ファイバ202a、光SW611を経て、可変波長フィルタ621により、全ての子ノードの上り信号の中からλk成分だけを抽出する。レシーバ622と測定部623とにより、上り試験信号の信号強度を測定するなどして接続確認を行う。
光SW611を切り戻し後は、予備系光ファイバ202bにWDM光スプリッタ204cを挿入し、同様に子ノード203cより上り試験信号(波長λk)を送出する。上述したように、試験部617にて接続確認を行うことができる。
101,201,301,401,601 親ノード
102a,202a,321,402a,502a 現用系光ファイバ
102b,202b,322,402b,502b 予備系光ファイバ
103,203,303,503 子ノード
111,132,211,311,611 光SW
112,133,233,333,543 光スプリッタ
113,213,313,413,613 波長合分波素子
114,134,214,234,314,334,414,534,614 光送受信部
115,135,215,235,315,335,415,535,615 制御部
131,135,204,231,304,504,533 WDMスプリッタ
416 電子SW
617 試験部
621 可変波長フィルタ
622 レシーバ
623 測定部
102a,202a,321,402a,502a 現用系光ファイバ
102b,202b,322,402b,502b 予備系光ファイバ
103,203,303,503 子ノード
111,132,211,311,611 光SW
112,133,233,333,543 光スプリッタ
113,213,313,413,613 波長合分波素子
114,134,214,234,314,334,414,534,614 光送受信部
115,135,215,235,315,335,415,535,615 制御部
131,135,204,231,304,504,533 WDMスプリッタ
416 電子SW
617 試験部
621 可変波長フィルタ
622 レシーバ
623 測定部
Claims (2)
- 現用系と予備系の光伝送路により、1台の親ノードに接続された複数の子ノードからなり、波長分割多重伝送方式を適用した光伝送システムであって、
前記親ノードは、
光送信部から入力された複数の波長の光送信信号を1つのポートに合波し、該1つのポートに入力された受信光信号を複数の波長に分波して光受信部に出力する波長合分波素子と、
前記1つのポートを、前記現用系光伝送路のポートと前記予備系光伝送路のポートとの間で接続切替を行う光スイッチとを備え、
前記子ノードは、
前記現用系と予備系の光伝送路のそれぞれに接続され、各々の前記子ノードに割り付けられた波長の光送信信号および光受信信号を合分波する第1のWDMスプリッタと、
該第1のWDMスプリッタの前記現用系光伝送路と前記予備系光伝送路の2つのポートを、1つのポートに合波する光スプリッタと、
前記1つのポートに入力された光送信信号と光受信信号とを、光送受信部に接続された2つのポートに合分波する第2のWDMスプリッタとを備え、
前記親ノードの前記光スイッチを切替えることにより、現用系と予備系とを切替えて通信を行うことを特徴とする光伝送システム。 - 現用系と予備系の光伝送路により、1台の親ノードに接続された複数の子ノードからなり、波長分割多重伝送方式を適用した光伝送システムであって、
前記親ノードは、
光送信部から入力された複数の波長の光送信信号を1つの送信ポートに合波し、1つの受信ポートに入力された光受信信号を複数の波長に分波して光受信部に出力する波長合分波素子と、
前記送信ポートと、前記現用系光伝送路の下り信号ポートと前記予備系光伝送路の下り信号ポートとの間で接続切替を行い、前記受信ポートと、前記現用系光伝送路の上り信号ポートと前記予備系光伝送路の上り信号ポートとの間で接続切替を行う光スイッチとを備え、
前記子ノードは、
前記現用系と予備系の光伝送路のそれぞれに接続され、各々の前記子ノードに割り付けられた波長の光送信信号および光受信信号を合分波する第1のWDMスプリッタと、
該第1のWDMスプリッタの前記現用系光伝送路の下り信号ポートと前記予備系光伝送路の下り信号ポートとを、光受信部に接続された1つのポートに合波し、光送信部に接続された1つのポートを、前記第1のWDMスプリッタの前記現用系光伝送路の上り信号ポートと前記予備系光伝送路の上り信号ポートとに分波する光スプリッタとを備え、
前記親ノードの前記光スイッチを切替えることにより、現用系と予備系とを切替えて通信を行うことを特徴とする光伝送システム。
Priority Applications (1)
| Application Number | Priority Date | Filing Date | Title |
|---|---|---|---|
| JP2004111552A JP2005295464A (ja) | 2004-04-05 | 2004-04-05 | 光伝送システム |
Applications Claiming Priority (1)
| Application Number | Priority Date | Filing Date | Title |
|---|---|---|---|
| JP2004111552A JP2005295464A (ja) | 2004-04-05 | 2004-04-05 | 光伝送システム |
Publications (1)
| Publication Number | Publication Date |
|---|---|
| JP2005295464A true JP2005295464A (ja) | 2005-10-20 |
Family
ID=35327862
Family Applications (1)
| Application Number | Title | Priority Date | Filing Date |
|---|---|---|---|
| JP2004111552A Pending JP2005295464A (ja) | 2004-04-05 | 2004-04-05 | 光伝送システム |
Country Status (1)
| Country | Link |
|---|---|
| JP (1) | JP2005295464A (ja) |
Cited By (6)
| Publication number | Priority date | Publication date | Assignee | Title |
|---|---|---|---|---|
| WO2015008512A1 (ja) * | 2013-07-16 | 2015-01-22 | 日本電気株式会社 | 伝送装置、伝送システムおよび経路切替方法 |
| JP2017076944A (ja) * | 2015-10-16 | 2017-04-20 | 日本電信電話株式会社 | 光伝送システム、光伝送方法、被制御ノード、および、光伝送プログラム |
| CN109245982A (zh) * | 2017-07-10 | 2019-01-18 | 重庆邮电大学 | 一种基于单向分光的无状态端到端连接的内外网数据实时交换系统 |
| CN110768725A (zh) * | 2018-07-27 | 2020-02-07 | 山东华云光电技术有限公司 | 用于单向传输数据的光模块和光通信系统 |
| CN113541850A (zh) * | 2021-07-20 | 2021-10-22 | 烽火通信科技股份有限公司 | 一种分光装置、分光装置制作方法及光接入系统 |
| CN118740250A (zh) * | 2024-07-23 | 2024-10-01 | 中国移动通信集团辽宁有限公司抚顺分公司 | 一种基于olp的三路由光线路保护方法 |
-
2004
- 2004-04-05 JP JP2004111552A patent/JP2005295464A/ja active Pending
Cited By (9)
| Publication number | Priority date | Publication date | Assignee | Title |
|---|---|---|---|---|
| WO2015008512A1 (ja) * | 2013-07-16 | 2015-01-22 | 日本電気株式会社 | 伝送装置、伝送システムおよび経路切替方法 |
| JPWO2015008512A1 (ja) * | 2013-07-16 | 2017-03-02 | 日本電気株式会社 | 伝送装置、伝送システムおよび経路切替方法 |
| JP2017076944A (ja) * | 2015-10-16 | 2017-04-20 | 日本電信電話株式会社 | 光伝送システム、光伝送方法、被制御ノード、および、光伝送プログラム |
| CN109245982A (zh) * | 2017-07-10 | 2019-01-18 | 重庆邮电大学 | 一种基于单向分光的无状态端到端连接的内外网数据实时交换系统 |
| CN109245982B (zh) * | 2017-07-10 | 2020-11-24 | 重庆邮电大学 | 一种基于单向分光的无状态端到端连接的内外网数据实时交换系统 |
| CN110768725A (zh) * | 2018-07-27 | 2020-02-07 | 山东华云光电技术有限公司 | 用于单向传输数据的光模块和光通信系统 |
| CN113541850A (zh) * | 2021-07-20 | 2021-10-22 | 烽火通信科技股份有限公司 | 一种分光装置、分光装置制作方法及光接入系统 |
| CN113541850B (zh) * | 2021-07-20 | 2022-04-26 | 烽火通信科技股份有限公司 | 一种分光装置、分光装置制作方法及光接入系统 |
| CN118740250A (zh) * | 2024-07-23 | 2024-10-01 | 中国移动通信集团辽宁有限公司抚顺分公司 | 一种基于olp的三路由光线路保护方法 |
Similar Documents
| Publication | Publication Date | Title |
|---|---|---|
| JP3008260B2 (ja) | 光伝送路のリングネットワーク通信構造とその構造用の再構成可能ノード | |
| US6532089B1 (en) | Optical cross-connect, method of switching over optical path, optical ADM, and optical cross-connect network system | |
| US6198721B1 (en) | Method and system for data transmission in a ring network | |
| JP3824539B2 (ja) | Wdmネットワークの光クロック信号分配システム | |
| JP4176061B2 (ja) | 光ネットワークシステム | |
| JP2001069087A (ja) | 追加/削除配置、追加/削除方法、及び通信システム | |
| KR101396954B1 (ko) | 광 전송 장치 및 광 전송 시스템 | |
| JP2002223197A (ja) | 品質管理機能を有する光ネットワークシステム | |
| JP2006191212A (ja) | 光ノードおよび光分岐挿入装置 | |
| US7447398B2 (en) | Optical crossconnect apparatus | |
| EP1137307A2 (en) | Optical node system and connection method | |
| US20080292310A1 (en) | Method, Apparatus And System For Optical Channel Group Shared Protection | |
| US7877011B2 (en) | Optical switch and optical crossconnect apparatus | |
| US6771907B1 (en) | Optical ring system | |
| US20060250681A1 (en) | Inter-network optical fiber sharing system | |
| EP1411666A2 (en) | Two-fiber optical ring network | |
| JP5681394B2 (ja) | 光電気ハイブリッドノード | |
| EP1715609A1 (en) | An apparauts for implementing optical channel shared protection in wdm system and the method thereof | |
| JP2005295464A (ja) | 光伝送システム | |
| JP3475756B2 (ja) | 通信ネットワーク、通信ネットワーク・ノード装置、及び、障害回復方式 | |
| JP4408542B2 (ja) | 光学システム | |
| KR100862358B1 (ko) | 재구성 가능한 광 결합 분기 장치 | |
| JP2007514380A (ja) | 光トラフィックを通信するための方法及びシステム | |
| JP3788263B2 (ja) | 通信ネットワーク、通信ネットワーク・ノード装置、及び、障害回復方式 | |
| JP2004513534A (ja) | 光分岐挿入装置における光チャネルスイッチングのための方法及び装置 |