JP2005294792A - Manufacturing method of semiconductor device - Google Patents

Manufacturing method of semiconductor device Download PDF

Info

Publication number
JP2005294792A
JP2005294792A JP2004212394A JP2004212394A JP2005294792A JP 2005294792 A JP2005294792 A JP 2005294792A JP 2004212394 A JP2004212394 A JP 2004212394A JP 2004212394 A JP2004212394 A JP 2004212394A JP 2005294792 A JP2005294792 A JP 2005294792A
Authority
JP
Japan
Prior art keywords
semiconductor device
manufacturing
sealed space
insulating substrate
assembly
Prior art date
Legal status (The legal status is an assumption and is not a legal conclusion. Google has not performed a legal analysis and makes no representation as to the accuracy of the status listed.)
Granted
Application number
JP2004212394A
Other languages
Japanese (ja)
Other versions
JP4380442B2 (en
Inventor
Fumitatsu Shinno
文達 新野
Koichi Okamoto
浩一 岡本
Current Assignee (The listed assignees may be inaccurate. Google has not performed a legal analysis and makes no representation or warranty as to the accuracy of the list.)
Fuji Electric Co Ltd
Original Assignee
Fuji Electric Holdings Ltd
Priority date (The priority date is an assumption and is not a legal conclusion. Google has not performed a legal analysis and makes no representation as to the accuracy of the date listed.)
Filing date
Publication date
Application filed by Fuji Electric Holdings Ltd filed Critical Fuji Electric Holdings Ltd
Priority to JP2004212394A priority Critical patent/JP4380442B2/en
Publication of JP2005294792A publication Critical patent/JP2005294792A/en
Application granted granted Critical
Publication of JP4380442B2 publication Critical patent/JP4380442B2/en
Anticipated expiration legal-status Critical
Expired - Fee Related legal-status Critical Current

Links

Images

Classifications

    • H10W90/734

Landscapes

  • Cooling Or The Like Of Semiconductors Or Solid State Devices (AREA)

Abstract

【課題】銅ベース1と絶縁基板3をはんだ接合した際、銅ベース1と絶縁基板3との線膨張率差に起因して発生する銅ベース3の反りを矯正する。
【解決手段】銅ベース1の裏面の外周辺を支持し、絶縁基板3の半導体チップ搭載面を気密に覆って密閉空間を形成し、銅ベース1と絶縁基板3を加熱してはんだをクリープ変形し易い温度まで昇温させ、密閉空間内の圧力を上昇させて銅ベース1と絶縁基板3に密閉空間内から密閉空間外へ向かう方向の押圧力を付勢し、この押圧力によって銅ベース1と絶縁基板3所望の形状に矯正する。
【選択図】図1
An object of the present invention is to correct warping of a copper base 3 caused by a difference in linear expansion coefficient between the copper base 1 and the insulating substrate 3 when the copper base 1 and the insulating substrate 3 are soldered together.
SOLUTION: The outer periphery of the back surface of the copper base 1 is supported, the semiconductor chip mounting surface of the insulating substrate 3 is hermetically covered to form a sealed space, and the copper base 1 and the insulating substrate 3 are heated to creep the solder. The temperature in the sealed space is increased to increase the pressure in the sealed space, and the copper base 1 and the insulating substrate 3 are urged by the pressing force in the direction from the sealed space to the outside of the sealed space. The insulating substrate 3 is corrected to a desired shape.
[Selection] Figure 1

Description

この発明は、パワー半導体モジュール等の半導体装置の製造方法に関し、線膨張率の異なる絶縁基板と放熱ベースとをはんだ接合した際に発生する反りの矯正方法に関する。   The present invention relates to a method for manufacturing a semiconductor device such as a power semiconductor module, and more particularly to a method for correcting warpage that occurs when an insulating substrate and a heat dissipation base having different linear expansion coefficients are joined by soldering.

図11は、パワー半導体モジュールの構成を示す断面図である。
図11において、1はパッケージの放熱ベースとしての銅ベース、2は樹脂成形品の外囲ケース、3はAl、AlNなどを材料とするセラミック板4の上下両面に銅パターン5,6を直接接合したDirect Bonding Copper基板(以下絶縁基板という)、7は絶縁基板3の銅パターン5にはんだマウント(搭載)した半導体チップ、8は銅パターン5にはんだ接合して外部に引き出した外部導出端子(リードフレーム)である。銅パターン5上には半導体チップ7の他に図示しない抵抗素子などの電子素子が搭載されることもある。半導体チップ7と銅パターン5との間を接続する導体の図示は省略する。
前記絶縁基板3は銅パターン6を銅ベース1の上面に重ね合わせてはんだ接合されている。なお、9,10,11はそれぞれ銅ベース/絶縁基板間、絶縁基板/半導体チップ間、絶縁基板/外部導出端子間の接合はんだ層を表している。
FIG. 11 is a cross-sectional view showing the configuration of the power semiconductor module.
In FIG. 11, 1 is a copper base as a heat dissipation base of a package, 2 is an enclosing case of a resin molded product, 3 is a copper pattern 5, 6 on both upper and lower surfaces of a ceramic plate 4 made of Al 2 O 3 , AlN or the like. A direct bonding copper substrate (hereinafter referred to as an insulating substrate), 7 is a semiconductor chip solder-mounted (mounted) on the copper pattern 5 of the insulating substrate 3, and 8 is an external lead that is soldered to the copper pattern 5 and drawn to the outside. Terminal (lead frame). In addition to the semiconductor chip 7, an electronic element such as a resistance element (not shown) may be mounted on the copper pattern 5. The illustration of the conductor connecting the semiconductor chip 7 and the copper pattern 5 is omitted.
The insulating substrate 3 is soldered with the copper pattern 6 superimposed on the upper surface of the copper base 1. Reference numerals 9, 10, and 11 represent bonding solder layers between the copper base / insulating substrate, between the insulating substrate / semiconductor chip, and between the insulating substrate / external lead terminals.

上記構成のパワー半導体モジュールを使用する際には、図示のように銅ベース1を放熱フィン(ヒートシンク)12の取付面に重ね合わせて銅ベース1の両端に穿孔した取付穴1a に通したボルト13で放熱フィンに締結固定し、半導体チップ7の発生熱を絶縁基板3、銅ベース1を伝熱して放熱フィン12より大気側に放熱するようにしている。
次に、前記半導体モジュールの組立工程について説明する。絶縁基板3の銅パターン5上にはんだ箔を介して(クリームはんだを塗布して)半導体チップ7を載置して加熱炉に搬入し、はんだの融点以上の温度に加熱してはんだを溶融させてはんだ接合を行う。
続いて、銅ベース1と絶縁基板3との間にはんだ箔を挟むか、クリームはんだを塗布しておき、仮組立状態で加熱炉に搬入し、はんだの融点以上の温度に加熱してはんだ付けを行う。この銅ベース1と絶縁基板3とのはんだ接合の際、先に半導体チップ7と銅パターン5との間のはんだ層10が溶融してしまわぬよう、銅ベース1と絶縁基板3との接合に用いるはんだは、半導体チップ7と銅パターン5との接合に用いるはんだ10より融点の低いものを用いる。
When using the power semiconductor module having the above-described configuration, the bolt 13 passed through the mounting holes 1a formed on the both ends of the copper base 1 with the copper base 1 superimposed on the mounting surface of the heat radiating fin (heat sink) 12 as shown in the figure. The heat generated by the semiconductor chip 7 is transferred to the insulating substrate 3 and the copper base 1 and radiated from the heat radiating fin 12 to the atmosphere side.
Next, an assembly process of the semiconductor module will be described. The semiconductor chip 7 is placed on the copper pattern 5 of the insulating substrate 3 via a solder foil (with cream solder applied) and carried into a heating furnace, and heated to a temperature equal to or higher than the melting point of the solder to melt the solder. To solder.
Subsequently, a solder foil is sandwiched between the copper base 1 and the insulating substrate 3 or cream solder is applied, and the solder is carried into a heating furnace in a temporarily assembled state and heated to a temperature equal to or higher than the melting point of the solder. I do. When the copper base 1 and the insulating substrate 3 are soldered together, the copper base 1 and the insulating substrate 3 are joined so that the solder layer 10 between the semiconductor chip 7 and the copper pattern 5 does not melt first. The solder used has a melting point lower than that of the solder 10 used for joining the semiconductor chip 7 and the copper pattern 5.

銅ベース1に絶縁基板3がはんだ接合された状態でこの組立体を加熱炉から取出し、常温(室温)まで戻す。
図12は銅ベース1と絶縁基板3をはんだ接合し、常温まで戻した状態を示す図である。図12に示すように、銅ベース1に反りが生じて銅ベース裏面中央部が凹状(半導体チップ7の搭載面の中央部が凸状)となる。この反りは銅ベース1と絶縁基板3との線膨張率差に起因する所謂バイメタル効果によって発生する。以下において、銅ベース1の絶縁基板との接合面(半導体チップの搭載面)側を表面、その反対面(半導体チップの非搭載面)側を裏面と称する。
すなわち、絶縁基板3の等価線膨張率は、セラミック単体の線膨張率(4.6E-6/K〜7.1E-6/K)に近似した値であって、銅ベース1の線膨張率(16.5E-6/K)と比べて非常に小さい。このために、前記のように仮組立体をはんだの融点以上に加熱して、銅ベース1と絶縁基板3の間をはんだ接合した後に常温まで冷却すると、銅ベース1の熱収縮量が絶縁基板3に比べて大きくなるため、その銅ベース裏面中央部が凹状となるような反りが発生する。しかも、銅ベース1に反りが生じた状態で半導体モジュールを放熱フィン12に取り付けようとすると、図12で示すように銅ベース1の裏面と放熱フィン12とが密着しないで隙間が残り、このためモジュール/放熱フィン間の伝熱性が極端に低下して所望の放熱性能が発揮できなくなるといった問題が発生する。
The assembly is taken out from the heating furnace in a state where the insulating substrate 3 is soldered to the copper base 1 and returned to room temperature (room temperature).
FIG. 12 is a view showing a state in which the copper base 1 and the insulating substrate 3 are soldered and returned to room temperature. As shown in FIG. 12, the copper base 1 is warped, and the central portion of the back surface of the copper base is concave (the central portion of the mounting surface of the semiconductor chip 7 is convex). This warpage is caused by a so-called bimetal effect caused by a difference in linear expansion coefficient between the copper base 1 and the insulating substrate 3. In the following description, the bonding surface (semiconductor chip mounting surface) side of the copper base 1 with the insulating substrate is referred to as the front surface, and the opposite surface (non-semiconductor chip mounting surface) side is referred to as the back surface.
That is, the equivalent linear expansion coefficient of the insulating substrate 3 is a value approximate to the linear expansion coefficient (4.6E-6 / K to 7.1E-6 / K) of the ceramic alone, and the linear expansion coefficient of the copper base 1 (16.5 E-6 / K) is very small. For this reason, when the temporary assembly is heated to the melting point of the solder or higher as described above, and the solder is bonded between the copper base 1 and the insulating substrate 3 and then cooled to room temperature, the heat shrinkage of the copper base 1 is reduced to the insulating substrate. Therefore, the warp such that the central part of the back surface of the copper base is concave is generated. Moreover, if the semiconductor module is attached to the heat radiating fins 12 with the copper base 1 warped, the back surface of the copper base 1 and the heat radiating fins 12 do not adhere to each other as shown in FIG. There arises a problem that the heat transfer performance between the module and the heat radiating fin is extremely lowered and the desired heat radiating performance cannot be exhibited.

前記のような銅ベースの反りを回避するために、下記のような対策が従来知られている。
(1) 銅ベース1の反り発生量を見込んであらかじめ銅ベースを凸状に加工しておき、絶縁基板3との間をはんだ接合した際に発生する反り分を補償して常温に戻した状態で銅ベース1の裏面が略平坦を呈するようにする。
(2) 絶縁基板3とのはんだ接合により銅ベース1の裏面が凹状に反った状態で、この組立体を表面が銅ベースの反りと反対方向に凹状となる皿形のプレス金型の上に載せ、プレス金型に設けたヒータによりはんだが塑性変形可能な温度になるまで加熱昇温させるとともに、この昇温状態で銅ベース1に加圧力を加えてプレス金型の表面形状に押圧させて反りを矯正する方法(特許文献1)。
In order to avoid the copper-based warp as described above, the following measures are conventionally known.
(1) A state in which the copper base is processed into a convex shape in anticipation of the amount of warpage of the copper base 1 and compensated for the warpage generated when soldering between the insulating substrate 3 and returned to room temperature. Thus, the back surface of the copper base 1 is made substantially flat.
(2) With the back surface of the copper base 1 warped in a concave shape by soldering with the insulating substrate 3, this assembly is placed on a dish-shaped press mold whose surface is concave in the direction opposite to the warp of the copper base. The solder is heated up to a temperature at which the solder can be plastically deformed by a heater provided in the press die, and the copper base 1 is pressed against the surface shape of the press die in this temperature rising state. A method for correcting warpage (Patent Document 1).

なお、特許文献1のほかに、基板上に電子部品をはんだ接合する際に、はんだ内ボイドを圧縮させるために、基板と電子部品を密封容器内に格納し密封容器内の圧力を上昇させることが例えば特開平11−154785号公報に記載されているが、基板の反りを矯正することについては何ら示唆されていない。
特公平7−110491号公報
In addition to Patent Document 1, when soldering an electronic component on a substrate, the substrate and the electronic component are stored in a sealed container and the pressure in the sealed container is increased in order to compress the void in the solder. Is described in, for example, Japanese Patent Application Laid-Open No. 11-154785, but there is no suggestion of correcting the warpage of the substrate.
Japanese Patent Publication No.7-110491

前記した従来の矯正方法では下記のような問題点がある。
すなわち上記(1)の方法では、あらかじめ銅ベース1に反りを与えるため、銅ベース1の長さ寸法を大きくする必要がある。そして、発生する反り量は長さの二乗に比例して増加することから銅ベースの加工量が大きくなる。そのため、半導体装置の組立工程で銅ベース1の上に平坦な絶縁基板3を置くと、銅ベース1と絶縁基板3の間に隙間が生じてはんだ接合できないか、はんだ接合しても大きな未接合部が残り欠陥が発生してしまう。
また上記(2)の方法では、はんだ接合した基板/銅ベース組立体をプレス金型に載せた状態で、銅ベースを含めてはんだが塑性変形(クリープ変形)可能になる温度まで加熱するために、加熱後に常温まで戻す冷却過程で銅ベースが熱収縮する。そのため、皿形のプレス金型に合わせて銅ベースを加圧操作する際に、冷却過程で発生する反り量を見込んでそれ以上の逆反りを与える必要があり、銅ベースと絶縁基板の間を接合しているはんだが剥離してしまう恐れがある。
The conventional correction methods described above have the following problems.
That is, in the method (1), since the warp is given to the copper base 1 in advance, it is necessary to increase the length of the copper base 1. The amount of warpage that occurs increases in proportion to the square of the length, so the amount of copper-based processing increases. Therefore, when the flat insulating substrate 3 is placed on the copper base 1 in the assembly process of the semiconductor device, a gap is generated between the copper base 1 and the insulating substrate 3 so that solder bonding cannot be performed or large unbonded even if solder bonding is performed. The part remains and a defect occurs.
In the above method (2), in order to heat the solder including the copper base to a temperature at which the solder can be plastically deformed (creep deformation) in a state where the solder-bonded substrate / copper base assembly is placed on the press die. The copper base heat shrinks during the cooling process to return to room temperature after heating. Therefore, when pressurizing the copper base in accordance with the dish-shaped press mold, it is necessary to allow for more reverse warping in consideration of the amount of warping that occurs during the cooling process, and between the copper base and the insulating substrate. There is a risk that the solder that is joined will peel off.

この対策のため、絶縁基板上に加圧点をセットすることも考えられるが、絶縁基板上にはチップが接合されており直接加圧するための面積が確保困難なこと、絶縁基板を直接加圧するとクリープ変形し易くなったはんだが搾り出されて絶縁基板周囲にはみ出してくる危険性があること、など別の問題が発生する。
さらに、従来はパワー半導体モジュールに使用するはんだはSn-Pb系が主流であったが、最近になり環境問題からPbを含まないはんだ、例えばSn−Ag系のはんだが用いられる傾向にある。しかもSn−Ag系のはんだはSn−Pb系と比べて融点温度が高く、このために前記従来の反り矯正方法では作業に長い時間がかかってスループット性が低下する。
この発明は、前記のような従来の半導体装置の製造方法における問題点を解決して、絶縁基板直下の反りを矯正することを課題とするものである。
As a countermeasure, it may be possible to set a pressure point on the insulating substrate. However, it is difficult to secure an area for direct pressure because the chip is bonded on the insulating substrate. Then, another problem such as a risk that the solder which has been easily deformed by creep is squeezed out and protrudes around the insulating substrate occurs.
Furthermore, Sn-Pb-based solder has been the mainstream in the past for power semiconductor modules, but recently, solder that does not contain Pb, such as Sn-Ag-based solder, tends to be used due to environmental problems. In addition, Sn-Ag solder has a higher melting point temperature than Sn-Pb solder, and therefore the conventional warp correction method takes a long time to work and lowers throughput.
An object of the present invention is to solve the problems in the conventional method for manufacturing a semiconductor device as described above and to correct the warp directly under the insulating substrate.

上記の課題を解決するために、半導体チップをマウントした絶縁基板を放熱ベース上に載置してはんだ接合した半導体装置の組立体を、前記放熱ベース裏面の外周辺にて支持するとともに、開口部を有するケースを前記放熱ベースの外周辺に押し当てて前記半導体チップ搭載面を気密に覆う密閉空間を形成し、前記組立体に熱を加えて前記はんだをクリープ変形し易い温度まで昇温させ、前記密閉空間内の圧力を上昇させて前記組立体に密閉空間内から密閉空間外へ向かう方向の押圧力を付勢し、該押圧力によって前記組立体を所望の形状に矯正し、前記押圧力を付勢したまま常温まで冷却する。
このようにすることにより、絶縁基板表面を均等に加圧でき、絶縁基板を直接加圧したときの集中荷重に起因する、半導体チップへの悪影響を与えることがない。また、大型の銅ベース,絶縁基板を用いる場合であっても、面状の均一な加圧により反りの矯正が可能である。
In order to solve the above problems, an assembly of a semiconductor device in which an insulating substrate on which a semiconductor chip is mounted is placed on a heat dissipation base and soldered is supported on the outer periphery of the rear surface of the heat dissipation base, and an opening is provided. Forming a sealed space that hermetically covers the semiconductor chip mounting surface by pressing the case having the heat dissipation base on the outer periphery, and heating the assembly to a temperature at which the solder is easily deformed by creep, The pressure in the sealed space is increased to urge the assembly in a direction from the inside of the sealed space to the outside of the sealed space, and the assembly is corrected to a desired shape by the pressing force. Cool to room temperature while energizing.
By doing so, the surface of the insulating substrate can be uniformly pressed, and there is no adverse effect on the semiconductor chip due to the concentrated load when the insulating substrate is directly pressed. Further, even when a large copper base or an insulating substrate is used, it is possible to correct the warp by uniform planar pressing.

あるいは、半導体チップをマウントした絶縁基板を放熱ベース上に載置してはんだ接合した半導体装置の組立体を、前記放熱ベース裏面の外周辺に当接する個所に低弾性のシール部材を設けた裏面支持部にて気密に支持し、開口部を有するケースを前記裏面支持部の外周辺に押し当てて前記半導体チップ搭載面を気密に覆う密閉空間を形成してもよい。
また、半導体チップをマウントした絶縁基板を放熱ベース上に載置してはんだ接合した半導体装置の組立体を、前記放熱ベース裏面の外周辺にて支持するとともに、開口部を有するケースを前記放熱ベースの外周辺に当接させて前記絶縁基板を覆い、前記組立体の前記半導体チップの搭載面側から熱を加えて前記はんだをクリープ変形し易い温度まで昇温させ、前記ケースを押下することにより前記放熱ベースをプレス変形するとともに、前記ケースとの間で密閉空間を形成し、該密閉空間内の圧力を上昇させて前記組立体に密閉空間内から密閉空間外へ向かう方向の押圧力を付勢し、該押圧力によって前記組立体を所望の形状に矯正し、前記押圧力を付勢したまま常温まで冷却する。
Alternatively, a semiconductor device assembly in which an insulating substrate on which a semiconductor chip is mounted is mounted on a heat dissipation base and soldered is attached, and a backside support in which a low-elasticity sealing member is provided at a position where the outer periphery of the backside of the heat dissipation base contacts It is also possible to form a sealed space that hermetically covers the semiconductor chip mounting surface by pressing the case having an opening portion against the outer periphery of the back surface support portion.
Further, an assembly of a semiconductor device in which an insulating substrate on which a semiconductor chip is mounted is mounted on a heat dissipation base and soldered is supported on the outer periphery of the rear surface of the heat dissipation base, and a case having an opening is provided on the heat dissipation base. By touching the outer periphery of the substrate, covering the insulating substrate, applying heat from the mounting surface side of the semiconductor chip of the assembly to raise the solder to a temperature at which creep deformation easily occurs, and pressing the case The heat dissipating base is deformed by pressing and a sealed space is formed between the case and the pressure in the sealed space is increased to apply a pressing force in the direction from the sealed space to the outside of the sealed space. The assembly is corrected to a desired shape by the pressing force, and cooled to room temperature while the pressing force is applied.

このとき、前記組立体への加熱は、前記組立体の両面に温度差を設けながら行えばよく、前記温度差を、前記放熱ベースの裏面に冷却ブロックを弾性的に当接させることで与えてもよい。また、前記押圧力によって前記組立体を所望の形状に矯正し、前記押圧力を付勢したまま、前記放熱ベースの裏面を急速に冷却するとよい。あるいは、前記ケースの開口部の各辺を、各辺の中央部を頂点として放熱ベース側に凸状の弧状とし、これに対向する前記組立体の支持体の各辺の中央部を底として凹状の弧状とし、前記プレスにより、前記放熱ベースの外周領域を前記半導体チップの非マウント面側に凸状に変形させるものとする。
さらに、前記組立体への加熱は、赤外線の照射により行い、前記赤外線を部分的に遮光する遮光板により、前記半導体チップへ前記赤外線が直接照射されるのを遮るようにするとよい。このとき、前記ケースを、断熱性を有する耐熱材料にて構成する。
At this time, the heating to the assembly may be performed while providing a temperature difference on both surfaces of the assembly, and the temperature difference is given by elastically contacting a cooling block to the back surface of the heat dissipation base. Also good. Further, the assembly may be corrected to a desired shape by the pressing force, and the back surface of the heat radiating base may be rapidly cooled while the pressing force is being urged. Alternatively, each side of the opening of the case has a convex arc shape on the side of the heat dissipation base with the central portion of each side as an apex, and a concave shape with the central portion of each side of the support of the assembly facing the bottom as a bottom. The outer peripheral area of the heat dissipation base is deformed into a convex shape on the non-mounting surface side of the semiconductor chip by the pressing.
Further, the assembly may be heated by infrared irradiation, and the semiconductor chip may be shielded from direct irradiation of the infrared light by a light shielding plate that partially blocks the infrared light. At this time, the case is made of a heat-resistant material having heat insulation properties.

また、前記ケースに設けられた気体導入孔より気体を導入して前記密閉空間内の圧力を上昇させるものとし、前記ケースの開口部の端部に低弾性のシール部材を設けるものとする。こ記低弾性のシール部材は、前記ケースの開口端部に形成された切り欠き部に嵌合して設けるとよい。
あるいは、前記低弾性のシール部材を前記ケースの開口端部より側壁内に形成された溝に嵌入し、該溝の底部にケース内部と連通する複数個の貫通穴を設けて、前記ケース内部の圧力を前記溝内に嵌入されたシール部材に伝達させ、前記ケースの押圧力と密閉空間内の圧力によって、前記放熱ベースと前記シール部材間の接触気密性を高めるものとする。
そして、前記放熱ベースの前記絶縁基板接合側の表面の、前記絶縁基板の外周領域に対応する個所と絶縁基板の中央近傍に対応する個所に、それぞれ50〜200μmの突起を形成するか、前記絶縁基板と前記放熱ベースを接合するはんだ内部に、該はんだの融点より50K以上融点が高く、はんだ濡れ性が良く、熱伝導率の高い材料からなり、50〜200μmの粒径を有する粒子を混入する。
Moreover, gas shall be introduce | transduced from the gas introduction hole provided in the said case, and the pressure in the said sealed space shall be raised, and the low elastic sealing member shall be provided in the edge part of the opening part of the said case. The low-elasticity sealing member may be provided by being fitted into a notch formed at the opening end of the case.
Alternatively, the low-elasticity sealing member is fitted into a groove formed in the side wall from the opening end of the case, and a plurality of through holes communicating with the inside of the case are provided at the bottom of the groove. Pressure is transmitted to the seal member fitted in the groove, and the contact airtightness between the heat dissipation base and the seal member is enhanced by the pressing force of the case and the pressure in the sealed space.
Then, protrusions of 50 to 200 μm are respectively formed on the surface of the heat radiating base on the insulating substrate bonding side at locations corresponding to the outer peripheral area of the insulating substrate and locations corresponding to the vicinity of the center of the insulating substrate, or Inside the solder for joining the substrate and the heat dissipation base, particles having a melting point higher than the melting point of the solder by 50K or more, good solder wettability, high thermal conductivity, and having a particle size of 50 to 200 μm are mixed. .

前記のようにこの発明は、チップを含む絶縁基板全表面を均等に加圧することができ、絶縁基板が接合された放熱ベースの反りを矯正することができる。
放熱ベースの反りが矯正されるため、放熱ベースと放熱フィンとの熱的な接続が良好となってパワー半導体モジュールの放熱性能を向上させることができる。
As described above, the present invention can uniformly pressurize the entire surface of the insulating substrate including the chip, and can correct the warp of the heat dissipation base to which the insulating substrate is bonded.
Since the warp of the heat dissipation base is corrected, the thermal connection between the heat dissipation base and the heat dissipation fin is improved, and the heat dissipation performance of the power semiconductor module can be improved.

以下にこの発明を、図に示す実施例に基づいて説明する。
(実施例1)
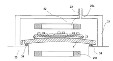
図1はこの発明の第1の実施例を示すものである。この図1の実施例おいて、21は堅牢な箱状のケースであり、銅ベース1を覆うように載置して密閉空間22を形成する。23は後述する加熱ガスの導入孔である。銅ベース1と絶縁基板3とが接合された組立体は、裏面支持部25に載置され、ケース21の端部24が銅ベース1に気密に接している。26a,26bは密閉空間22,銅ベース1を加熱する加熱ブロックである。
図11,9と同一の構成には同じ符号を付して説明を省略する。
図12に示したように、銅ベース1上にAlやAlNなどのセラミックを材料とする絶縁基板3をはんだ接合すると、銅ベース1と絶縁基板3の線膨張率が異なるため、これに起因して反りが発生する。
The present invention will be described below based on the embodiments shown in the drawings.
(Example 1)
FIG. 1 shows a first embodiment of the present invention. In the embodiment of FIG. 1, reference numeral 21 denotes a robust box-like case, which is placed so as to cover the copper base 1 to form a sealed space 22. Reference numeral 23 denotes a heating gas introduction hole to be described later. The assembly in which the copper base 1 and the insulating substrate 3 are joined is placed on the back surface support portion 25, and the end portion 24 of the case 21 is in airtight contact with the copper base 1. Reference numerals 26 a and 26 b denote heating blocks for heating the sealed space 22 and the copper base 1.
The same components as those in FIGS. 11 and 9 are denoted by the same reference numerals and description thereof is omitted.
As shown in FIG. 12, when the insulating substrate 3 made of ceramic such as Al 2 O 3 or AlN is soldered on the copper base 1, the linear expansion coefficients of the copper base 1 and the insulating substrate 3 are different. Warpage occurs due to the above.

そこで、図1に示すように、裏面支持部25上に銅ベース1を載せ、銅ベース1の表面にケース21を気密に載せて密閉空間22を構成する。そして加熱ブロック26によって銅ベース1と絶縁基板3を加熱する。
加熱ブロック26aは密閉空間22の内部に、加熱ブロック26bは銅ベース1の裏面近傍に設けられるが、双方を同時に用いてもよいし、いずれか一方を用いてもよい。
この加熱ブロックはブロックの周りに図示しないコイルを巻きまわし、図示しない高周波電源から前記コイルに高周波電流を供給してブロックを高周波加熱するように構成すると、加熱を管理しやすい。
加熱ブロックによる加熱で銅ベース1と絶縁基板3とを接合しているはんだ層9の温度が上昇し、絶縁基板3の外周領域のはんだ層9がクリープ変形し易い温度まで昇温したら、加熱ブロック26による加熱を停止もしくは密閉空間内温度の保温程度の加熱とする。続いて、導入孔23からあらかじめ加熱した窒素ガスを流入して密閉空間22の内部の圧力を上昇させる。
Therefore, as shown in FIG. 1, the copper base 1 is placed on the back surface support portion 25, and the case 21 is airtightly placed on the surface of the copper base 1 to form a sealed space 22. Then, the copper base 1 and the insulating substrate 3 are heated by the heating block 26.
The heating block 26a is provided in the sealed space 22 and the heating block 26b is provided in the vicinity of the back surface of the copper base 1, but both may be used simultaneously or one of them may be used.
If the heating block is configured such that a coil (not shown) is wound around the block and a high frequency current is supplied to the coil from a high frequency power source (not shown) to heat the block at a high frequency, the heating can be easily managed.
When the temperature of the solder layer 9 that joins the copper base 1 and the insulating substrate 3 is increased by heating by the heating block and the temperature of the solder layer 9 in the outer peripheral region of the insulating substrate 3 is increased to a temperature at which creep deformation is likely to occur, the heating block The heating by 26 is stopped or the heating is performed to keep the temperature in the sealed space. Subsequently, nitrogen gas heated in advance from the introduction hole 23 is introduced to increase the pressure inside the sealed space 22.

この時、導入孔23から導入するガスをあらかじめ加熱しているのは、ガスの導入時点で加熱ブロック26aあるいは26bによる加熱によってはんだ層9がクリープ変形しやすい状態になっており、温度の低いガスの導入により密閉空間内の温度が低下してはんだ層9が硬化してしまうのを防ぐためである。図示しないが、導入孔23の前段には高圧のガスを供給できるガス源と、該ガス源と導入孔23との間の導入ガス流路にガスを加熱するためのヒータとを備えている。ガス源としては高圧のボンベやシリンダー内のガスをピストンにて圧縮したものなどを用いることができる。
なお、導入するガスは、不活性のものであって、不燃,安価など取り扱いが容易なものであれば窒素に限るものではない。
密閉空間22の内部の圧力が上昇することにより、絶縁基板3の表面(半導体チップの搭載面)から密閉空間22の外側に向けて、即ち銅ベース1と絶縁基板の組立体を密閉空間22から押し出す方向に加圧力が作用する。密閉空間22の内部の圧力をさらに上昇させて、銅ベース1と絶縁基板の組立体を密閉空間22から押し出す方向に加圧力をさらに増大させて、この組立体が下側(半導体チップの非搭載面)に凸状となるまで変形させる。
At this time, the gas introduced from the introduction hole 23 is heated in advance because the solder layer 9 is easily creep-deformed by the heating by the heating block 26a or 26b at the time of introduction of the gas, and the gas having a low temperature. This is to prevent the solder layer 9 from being hardened due to the temperature in the sealed space being lowered. Although not shown, a gas source capable of supplying a high-pressure gas and a heater for heating the gas in the introduction gas flow path between the gas source and the introduction hole 23 are provided in front of the introduction hole 23. As the gas source, a high-pressure cylinder or a gas compressed in a cylinder with a piston can be used.
The introduced gas is not limited to nitrogen as long as it is inert and can be handled easily such as non-flammable and inexpensive.
As the pressure inside the sealed space 22 rises, the surface of the insulating substrate 3 (semiconductor chip mounting surface) is directed to the outside of the sealed space 22, that is, the assembly of the copper base 1 and the insulating substrate is removed from the sealed space 22. A pressing force acts in the pushing direction. The pressure inside the sealed space 22 is further increased, and the pressing force is further increased in the direction in which the assembly of the copper base 1 and the insulating substrate is pushed out from the sealed space 22. Until the surface becomes convex.

このように、銅ベース1と絶縁基板3とを接合した組立体を下側に凸状となるよう変形させる際に、銅ベース1と絶縁基板3とを接合しているはんだ層9が完全に溶融してしまうと、絶縁基板3のみ平坦に戻ってしまい、冷却時に隙間が発生してしまう。そのため、組立体を加熱する際には、組立体中央部は半溶融の状態に保つ必要がある。組立体の接合部の外周をより加熱しやすいように加熱ブロックの形状をロ字型とすればよい。
密閉空間の内部の圧力の上昇による加圧力を銅ベース1と絶縁基板の組立体に効率よく伝達させるために、ケース21は堅牢な構造とする。また、加熱ブロック26aによる密閉空間22内の昇温を効率よく行うため、ケース21の素材に熱伝導率の小さい断熱材を選択するか、断熱構造とすることが望ましい。断熱材としてはガラス繊維と珪素系バインダーからなる耐熱積層板が好適である。
As described above, when the assembly in which the copper base 1 and the insulating substrate 3 are joined is deformed so as to protrude downward, the solder layer 9 that joins the copper base 1 and the insulating substrate 3 is completely removed. When melted, only the insulating substrate 3 returns to a flat state, and a gap is generated during cooling. Therefore, when heating the assembly, it is necessary to keep the center part of the assembly in a semi-molten state. What is necessary is just to make the shape of a heating block into a square shape so that the outer periphery of the junction part of an assembly may be heated more easily.
The case 21 has a robust structure in order to efficiently transmit the pressure applied by the pressure increase in the sealed space to the assembly of the copper base 1 and the insulating substrate. Further, in order to efficiently raise the temperature in the sealed space 22 by the heating block 26a, it is desirable to select a heat insulating material having a low thermal conductivity as the material of the case 21 or to have a heat insulating structure. As the heat insulating material, a heat resistant laminated plate made of glass fiber and a silicon-based binder is suitable.

ここで加熱ブロック26による加熱を停止し、銅ベース1と絶縁基板の組立体の温度を常温まで徐々に下げる。はんだ層9が硬化するまで加圧状態を維持し、組立体の半導体チップの搭載面に凸状であったものが矯正されて半導体チップの非搭載面(放熱フィンとの接合面)に凸状となる。
この結果、放熱フィンに組み付ける際、両者の良好な熱的接続が得られる。
なお、銅ベースの反りの矯正に必要な密閉空間内の圧力は、銅ベースの厚さや大きさによって異なる。3mm厚で120mm×120mm程度の銅ベースの場合、密閉空間の気圧を0.5MPa程度に保つことで反りの矯正を行うことができ、3mm厚で120mm×60mm程度の銅ベースの場合では、密閉空間の気圧を1MPa程度に保つことで反りの矯正を行うことができる。反りの矯正に必要な圧力は、銅ベース1の厚さや大きさに応じて適宜選択すればよい。
Here, heating by the heating block 26 is stopped, and the temperature of the assembly of the copper base 1 and the insulating substrate is gradually lowered to room temperature. The pressure state is maintained until the solder layer 9 is cured, and the convex shape on the mounting surface of the semiconductor chip of the assembly is corrected, and the convex shape is formed on the non-mounting surface of the semiconductor chip (bonding surface with the radiation fin). It becomes.
As a result, when assembling to the radiating fin, a good thermal connection between them can be obtained.
Note that the pressure in the sealed space necessary for correcting the warping of the copper base varies depending on the thickness and size of the copper base. In the case of a copper base of 3 mm thickness and about 120 mm × 120 mm, the warp can be corrected by keeping the air pressure in the sealed space at about 0.5 MPa, and in the case of a copper base of 3 mm thickness and about 120 mm × 60 mm, it is sealed Warping can be corrected by maintaining the atmospheric pressure at about 1 MPa. What is necessary is just to select suitably the pressure required for correction | amendment of curvature according to the thickness and magnitude | size of the copper base 1. FIG.

また、密閉空間内部の圧力は上記のとおり1MPa程度まで上昇するため、導入気体の漏洩を防止するためにも、ケース21を所定の力で銅ベース1への押し付ける必要がある。この値も銅ベースのサイズに影響されるが、矯正を行う加工面積と反りの矯正に必要な圧力の積にさらに20Nを加えた程度の力で押圧すれば気密を維持することができる。
(実施例2)
図2は第2の実施例を示すものである。図2において、31はケース21の縁部に形成された切り欠き部であり、32は切り欠き部31に嵌合されたシール部材である。図2において切り欠き部31は断面を溝状に形成した例を示している。そのほか、図1と同一の構成には同じ符号を付して説明を省略する。
図1に示した第1の実施例では、ケース21の縁部24を銅ベース1に押し付けることによって密閉空間22を形成している。そして、密閉空間22内に窒素ガスを流入させて内部の圧力を上昇させることによって、銅ベース1と絶縁基板の組立体を変形させている。
Further, since the pressure inside the sealed space rises to about 1 MPa as described above, it is necessary to press the case 21 against the copper base 1 with a predetermined force in order to prevent leakage of the introduced gas. Although this value is also affected by the size of the copper base, the airtightness can be maintained by pressing the product with a force obtained by adding 20 N to the product of the processing area for correcting and the pressure required for correcting the warpage.
(Example 2)
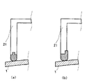
FIG. 2 shows a second embodiment. In FIG. 2, 31 is a notch formed at the edge of the case 21, and 32 is a seal member fitted into the notch 31. In FIG. 2, the notch 31 shows an example in which the cross section is formed in a groove shape. In addition, the same components as those in FIG.
In the first embodiment shown in FIG. 1, the sealed space 22 is formed by pressing the edge 24 of the case 21 against the copper base 1. Then, the assembly of the copper base 1 and the insulating substrate is deformed by flowing nitrogen gas into the sealed space 22 and increasing the internal pressure.

この変形によって上記の組立体は上(半導体チップ搭載面)に凸状から下へ凸状に変形するのであるが、変動量は、ケース21と銅ベース1との接触部分でも数百μmに達する。先述のとおり、ケース21は堅牢に構成されているため、接触部分の変動に十分追従できず、この変動に伴って、ケース21の縁部24と銅ベース1との接触部分からの窒素ガスが漏洩するという問題がある。
接触部分からのガスが漏洩すると、密閉空間内の圧力を所望値に保つことができず、銅ベース1を下に凸状に変形させ、この形状を保持させるに必要な加圧力を確保できなくなる。
そこで、図2に示すように、銅ベース1が大きな変形を起こしてもガスの漏洩を防止すべく、ケース21の縁部24に沿って1周する切り欠き部31を構成し、低弾性の物性を持つ材料で構成された1周する形状のシール部材32を切り欠き部31に嵌合させる。低弾性のシール部材32は例えばシリコンゴム等を成形したものを用い、銅ベース1の変形に追従して変形し、シール部材32の一部が常に銅ベース1に接触する形状とする。
Due to this deformation, the above-mentioned assembly is deformed from a convex shape upward to a convex shape downward (semiconductor chip mounting surface), but the amount of variation reaches several hundred μm even at the contact portion between the case 21 and the copper base 1. . As described above, since the case 21 is configured to be robust, the case 21 cannot sufficiently follow the variation of the contact portion. With this variation, the nitrogen gas from the contact portion between the edge 24 of the case 21 and the copper base 1 is generated. There is a problem of leakage.
When the gas from the contact portion leaks, the pressure in the sealed space cannot be maintained at a desired value, and the copper base 1 is deformed downward to be convex, and the pressurizing force necessary to maintain this shape cannot be secured. .
Therefore, as shown in FIG. 2, in order to prevent gas leakage even if the copper base 1 is largely deformed, a notch portion 31 that makes one turn along the edge portion 24 of the case 21 is formed, and has a low elasticity. A sealing member 32 having a shape made of a material having one physical property is fitted into the notch 31. The low-elasticity seal member 32 is made of, for example, silicon rubber and is deformed following the deformation of the copper base 1 so that a part of the seal member 32 is always in contact with the copper base 1.

密閉空間22の内部の圧力は銅ベース1のサイズに応じて調整されるが、1MPa程度まで上昇する。シール部材32には、ケース21を銅ベースに押し付ける圧力並びに、内部の圧力の上昇に伴ってシール部材をケースの外側へ押し出す方向に圧力が印加され、これらの圧力によって変形する。特に、ケースの外側へ押し出す方向の圧力に対して、過剰な変形を防ぎ気密を維持するために、ケース21の端部24に切り欠き部31を形成して、シール部材32と嵌合させている。
切り欠き部の構成は、シール部材32の一部が常に銅ベース1に接触する形状であれば種々変形が可能であり、図2に示すように断面を31aのように矩形の断面形状としてもよいし、31bのように半円形の断面としてもよい。このように構成すると、低弾性のシール部材33の横方向に広がろうとする変形を拘束することができる。また図3(a)に示すようにシール部材32の一部をケース21に食い込ませる形状としてもよいし、同図(b)に示すように、ケース21の内壁に段差を設けてもよい。
The pressure inside the sealed space 22 is adjusted according to the size of the copper base 1, but increases to about 1 MPa. Pressure is applied to the seal member 32 in the direction of pressing the case 21 against the copper base and in the direction of pushing the seal member to the outside of the case as the internal pressure increases, and the seal member 32 is deformed by these pressures. In particular, in order to prevent excessive deformation and maintain airtightness against the pressure in the direction of pushing out to the outside of the case, a notch portion 31 is formed in the end portion 24 of the case 21 and is fitted with the seal member 32. Yes.
The configuration of the notch can be variously modified as long as a part of the seal member 32 is always in contact with the copper base 1, and the cross section can be a rectangular cross section such as 31a as shown in FIG. Alternatively, it may have a semicircular cross section as in 31b. If comprised in this way, the deformation | transformation which spreads in the horizontal direction of the low elastic seal member 33 can be restrained. Further, as shown in FIG. 3A, a part of the seal member 32 may be formed to bite into the case 21, or a step may be provided on the inner wall of the case 21 as shown in FIG.

このように、ケース21の端部24に低弾性のシール部材を設けたことにより、銅ベース1が上に凸状から下に凸状に変形しても、ケース21の銅ベース1への押圧により潰れていた低弾性のシール部材32が回復して厚くなり、密閉空間に隙間が発生することを防止することができる。
また、剛性の高いケース21と銅ベース1は低弾性のシール部材33を介して接することになるため、銅ベース1の表面にケース21の接触痕が残ることもない。
ここで、銅ベース1が大型(3mm厚で120mm×120mm)の場合、変形量が大きいため、シール部材32の厚さ方向の変形(潰れ)だけでは密閉空間内のガスの漏洩を防止することができない。
そこで、図4に示すように、ケース21の側壁に端部24から溝33を形成し、さらに溝33の底部33aで密閉空間22に連通する複数個の貫通穴33bを設ける。溝33には上記の例と同様に、一部が常に銅ベース1に接するようにシール部材32を嵌入する。密閉空間内の高い圧力は貫通穴33bを介して溝内に伝達され、その圧力はシール部材32を溝から押し出す方向に作用する。
Thus, by providing the low-elasticity sealing member at the end 24 of the case 21, even if the copper base 1 is deformed from a convex shape upward to a convex shape, the case 21 is pressed against the copper base 1. Thus, the low-elasticity seal member 32 that has been crushed is recovered and thickened, and a gap can be prevented from being generated in the sealed space.
In addition, since the case 21 having high rigidity and the copper base 1 are in contact with each other via the low-elasticity sealing member 33, the contact mark of the case 21 does not remain on the surface of the copper base 1.
Here, when the copper base 1 is large (120 mm × 120 mm with a thickness of 3 mm), the amount of deformation is large, so that only the deformation (collapse) in the thickness direction of the seal member 32 prevents gas leakage in the sealed space. I can't.
Therefore, as shown in FIG. 4, a groove 33 is formed on the side wall of the case 21 from the end portion 24, and a plurality of through holes 33 b communicating with the sealed space 22 at the bottom 33 a of the groove 33 are provided. As in the above example, the sealing member 32 is fitted into the groove 33 so that a part thereof is always in contact with the copper base 1. The high pressure in the sealed space is transmitted into the groove through the through hole 33b, and the pressure acts in the direction of pushing the seal member 32 out of the groove.

ケース21は銅ベースに所定の圧力にて押圧されており、これに加えて、密閉空間22の内部の圧力と外部との圧力差でシール部材32を溝33の外側に押し出し方向に付勢して銅ベース1に押し付ける。シール部材32を銅ベース1に押し付ける圧力を増すことができるため、密閉空間22の気密性を高めることができる。
上記の実施例2において、密閉空間22を形成後の反りの矯正にかかるプロセスは実施例1と同様であるので説明を省略する。
(実施例3)
図5は第3の実施例を示すものである。図5において、34は銅ベースの支持部に設けたシール部材である。
裏面支持部25上にシール部材34を介して銅ベース1を載せる。銅ベース1の表面にケース21を気密に載せて密閉空間22を構成するのであるが、上記の実施例1,2と同様にケース21を銅ベース1と気密に載せてもよいが、ここでは図示のように、ケース21を裏面支持部25上に載せて密閉空間22を形成した。ケース21,裏面支持部25ともに堅牢な構成とすることができ、ケース21と裏面支持部25接触部の気密構造も強固なものを採用することができる。また、ケース21が銅ベース1に接触しないので、銅ベース1に局所的な荷重がかかることがなく、銅ベース1の表面にケース21の接触痕が残ることもない。
The case 21 is pressed against the copper base at a predetermined pressure. In addition to this, the seal member 32 is urged to the outside of the groove 33 in the pushing direction by the pressure difference between the pressure inside the sealed space 22 and the outside. And press against the copper base 1. Since the pressure for pressing the seal member 32 against the copper base 1 can be increased, the airtightness of the sealed space 22 can be improved.
In the second embodiment, since the process for correcting the warp after forming the sealed space 22 is the same as that in the first embodiment, the description thereof is omitted.
(Example 3)
FIG. 5 shows a third embodiment. In FIG. 5, reference numeral 34 denotes a seal member provided on the support portion of the copper base.
The copper base 1 is placed on the back support 25 via the seal member 34. Although the case 21 is airtightly mounted on the surface of the copper base 1 to form the sealed space 22, the case 21 may be airtightly mounted on the copper base 1 as in the first and second embodiments. As shown in the figure, the case 21 was placed on the back support 25 to form the sealed space 22. Both the case 21 and the back surface support portion 25 can be configured to be robust, and the case 21 and the back surface support portion 25 contact portion can also have a strong airtight structure. Further, since the case 21 does not contact the copper base 1, no local load is applied to the copper base 1, and no contact mark of the case 21 remains on the surface of the copper base 1.

密閉空間22に気体が導入されて内部の圧力が上昇すると、その圧力は銅ベース1と絶縁基板3とが接合された組立体の半導体チップ搭載面全面に印加され、この組立体を前記シール部材34に押し付ける方向に付勢する。密閉空間22の内部の圧力の上昇と共に組立体を押し付ける力も増加するため、密閉空間22の気密を保持することができる。
密閉空間22を形成後の反りの矯正にかかるプロセスは実施例1と同様であるので詳細な説明は省略する。
(実施例4)
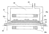
図6はこの発明の第4の実施例を示すものである。この図6の実施例において、35は堅牢な箱状のケースであり、36はケース35の天板である。ケース35,天板36にて絶縁基板を覆うように銅ベース1に載置して密閉空間22を形成する。23は後述する加熱ガスの導入孔である。銅ベース1と絶縁基板3とが接合された組立体は、裏面支持部25に載置される。
When gas is introduced into the sealed space 22 and the internal pressure rises, the pressure is applied to the entire surface of the semiconductor chip mounting surface of the assembly in which the copper base 1 and the insulating substrate 3 are joined, and this assembly is used as the sealing member. It is urged in the direction of pressing against the lens 34. As the pressure inside the sealed space 22 increases, the force pressing the assembly also increases, so that the sealed space 22 can be kept airtight.
Since the process for correcting the warp after forming the sealed space 22 is the same as that in the first embodiment, detailed description thereof is omitted.
Example 4
FIG. 6 shows a fourth embodiment of the present invention. In the embodiment of FIG. 6, reference numeral 35 denotes a robust box-like case, and 36 denotes a top plate of the case 35. The case 35 and the top plate 36 are placed on the copper base 1 so as to cover the insulating substrate, and the sealed space 22 is formed. Reference numeral 23 denotes a heating gas introduction hole to be described later. The assembly in which the copper base 1 and the insulating substrate 3 are joined is placed on the back surface support portion 25.

ケース35の開口部の端部には、実施例2,3と同様に、後の工程で密閉空間22内に導入されるガスの漏洩を防止すべく、ケース35の縁部に沿って1周する切り欠き部31を構成し、低弾性の物性を持つ材料で構成された1周する形状のシール部材32が切り欠き部31に嵌合している。切り欠き部とシール部材の形状について、図2に示す構成のほか図3,4の構成が適用できることは勿論である。
37は絶縁基板3を密閉空間22の外部から加熱する加熱装置である。加熱装置には赤外線加熱装置が好適であり、このため、天板36には赤外線を透過する石英ガラスを選択するとよい。図6においては、ケース35の天板36との接合部分にも切り欠き部31とシール部材32を配しており、図示しない固定手段にてケース35と天板36とを気密に固定している。あるいは、ケース35と天板36とを接着することによって気密に固定してもよい。なお、天板36に赤外線を照射することから、均一な照射の障害となる導入孔23は、ケース35の側面に設けている。
At the end of the opening of the case 35, as in the second and third embodiments, in order to prevent leakage of gas introduced into the sealed space 22 in a later step, one round is performed along the edge of the case 35. A notch 31 is formed, and a seal member 32 having a shape made of a material having a low elastic property is fitted into the notch 31. Of course, in addition to the configuration shown in FIG. 2, the configurations of FIGS. 3 and 4 can be applied to the shape of the notch and the seal member.
A heating device 37 heats the insulating substrate 3 from the outside of the sealed space 22. An infrared heating device is suitable for the heating device. For this reason, quartz glass that transmits infrared rays may be selected for the top plate 36. In FIG. 6, the notch 31 and the seal member 32 are also arranged at the joint portion of the case 35 with the top plate 36, and the case 35 and the top plate 36 are hermetically fixed by a fixing means (not shown). Yes. Alternatively, the case 35 and the top plate 36 may be bonded together in an airtight manner. In addition, since the top plate 36 is irradiated with infrared rays, the introduction hole 23 that obstructs uniform irradiation is provided on the side surface of the case 35.

このように、加熱装置37を密閉空間22の外側に設けると密閉空間22の容積を小さくすることができる。密閉空間の容積が小さいと、導入する気体の量を抑制できる。
38は、遮光板である。加熱装置37からの赤外線が絶縁基板上に実装された半導体チップ等の素子に直接照射されるのを防ぐために、素子の配置に沿って遮光パターン38’が設けられている。遮光板38は、ケース35を銅ベース1上に載置したとき、遮光パターン38’が半導体チップ等の素子にできるだけ近づくようにケース35への取り付け位置が調整されている。遮光板38は、遮光パターン38’の形成が容易で加熱装置からの熱(赤外線)をさえぎり、また自身の温度上昇にも変形や溶融しない材料で形成されている。例えばセラミック板などが好適である。遮光板38はケース35に着脱自在に固定されており、絶縁基板3上の半導体チップ7や銅パターン5の配置が変更となった場合でも、遮光板の取り替えが容易である。
Thus, when the heating device 37 is provided outside the sealed space 22, the volume of the sealed space 22 can be reduced. When the volume of the sealed space is small, the amount of gas to be introduced can be suppressed.
Reference numeral 38 denotes a light shielding plate. In order to prevent the infrared rays from the heating device 37 from being directly applied to elements such as a semiconductor chip mounted on an insulating substrate, a light shielding pattern 38 ′ is provided along the arrangement of the elements. The position of the light shielding plate 38 attached to the case 35 is adjusted so that when the case 35 is placed on the copper base 1, the light shielding pattern 38 ′ is as close as possible to an element such as a semiconductor chip. The light shielding plate 38 is formed of a material that can easily form the light shielding pattern 38 ′, blocks the heat (infrared rays) from the heating device, and does not deform or melt even with its own temperature rise. For example, a ceramic plate is suitable. The light shielding plate 38 is detachably fixed to the case 35, and even when the arrangement of the semiconductor chip 7 and the copper pattern 5 on the insulating substrate 3 is changed, the light shielding plate can be easily replaced.

39は冷却ブロック、40は冷却ブロック39を銅ベース1の裏面に当接させるべく付勢するばね、41は冷却水を噴射するためのノズルである。冷却ブロック39は銅ベース1の裏面を冷却、あるいは絶縁基板側からの加熱を受けても銅ベース1の温度上昇を抑制するためのものであり、所定の熱容量を有する例えば銅材で形成されている。冷却ブロック39は、ばね40によって銅ベースの裏面に当接するのであるが、銅ベースの矯正による変形を妨げない程度の押圧力にて熱的に銅ベースに接続されている。図6の例では、圧縮コイルばねによって裏面支持部25の底面にて支持していたが、ワイヤフォーミングによるねじりコイルばねなどの他の形状のばねにて支持してもよいし、ゴムなどの弾性材料にて支持してもよい。また、裏面支持部25の側壁から支持してもよい。
また、冷却ブロック39は、銅ベース1の矯正に伴う裏面形状の変形に追従すべく、銅ベースの裏面面積に対して複数の領域に分割されている。
Reference numeral 39 denotes a cooling block, reference numeral 40 denotes a spring for biasing the cooling block 39 against the back surface of the copper base 1, and reference numeral 41 denotes a nozzle for injecting cooling water. The cooling block 39 is for cooling the back surface of the copper base 1 or suppressing the temperature rise of the copper base 1 even when heated from the insulating substrate side, and is formed of, for example, a copper material having a predetermined heat capacity. Yes. The cooling block 39 is in contact with the back surface of the copper base by the spring 40, but is thermally connected to the copper base with a pressing force that does not prevent deformation due to the correction of the copper base. In the example of FIG. 6, the bottom surface of the back surface support portion 25 is supported by a compression coil spring, but it may be supported by a spring having another shape such as a torsion coil spring by wire forming, or an elastic material such as rubber. It may be supported by a material. Moreover, you may support from the side wall of the back surface support part 25. FIG.
Further, the cooling block 39 is divided into a plurality of regions with respect to the back surface area of the copper base so as to follow the deformation of the back surface shape accompanying the correction of the copper base 1.

ところで、図12に示したように、銅ベース1上にAlやAlNなどのセラミックを材料とする絶縁基板3をはんだ接合すると、銅ベース1と絶縁基板3の線膨張率が異なるため、これに起因して反りが発生する。
このような反りの発生を抑制する方法に、接合時に、接合面の両側に温度差を設ける方法がある。銅ベースと絶縁基板との接合の場合、絶縁基板側から加熱を行うと共に、銅ベース側を冷却することによって、両者に140℃の温度差を与える。こうすると、銅ベースの熱膨張を抑制したまま接合が完了し、接合体を常温に戻したときに銅ベースの収縮量が少ないため、理論上反りは発生しない。
しかしながら、接合時に140℃の温度差を与えるのは困難である。
そこで、接合時に温度差を与える方法を、接合体の反りを矯正する際に適用して次の工程とした。
By the way, as shown in FIG. 12, when the insulating substrate 3 made of ceramic such as Al 2 O 3 or AlN is soldered on the copper base 1, the linear expansion coefficients of the copper base 1 and the insulating substrate 3 are different. As a result, warping occurs.
As a method for suppressing the occurrence of such warping, there is a method of providing a temperature difference on both sides of the joint surface during joining. In the case of joining the copper base and the insulating substrate, heating is performed from the insulating substrate side and the copper base side is cooled to give a temperature difference of 140 ° C. to both. In this case, the bonding is completed while suppressing the thermal expansion of the copper base, and the amount of shrinkage of the copper base is small when the bonded body is returned to room temperature, so that no warping occurs theoretically.
However, it is difficult to give a temperature difference of 140 ° C. during bonding.
Then, the method of giving a temperature difference at the time of joining was applied when correcting the curvature of a joined body, and it was set as the next process.

(1)図6に示すように、裏面支持部25上に銅ベース1を載せ、ケース35,天板36にて絶縁基板を覆うように銅ベース1に載置して密閉空間22を形成する。銅ベース1の裏面には弾性的に支持された冷却ブロック39を当接させる。
(2)加熱装置37により絶縁基板3側と銅ベース1との接合個所を加熱する。加熱装置37は密閉空間22の外部に設けられているため、石英ガラス36を透過して、絶縁基板3側から加熱することになる。このとき遮光板38により半導体チップ等への直接の加熱はさえぎられている。
(3)銅ベース1と絶縁基板3とを接合するはんだ層9がクリープ変形し易い温度まで加熱した時点で、ケース35により銅ベース1をプレスする。ケース35によるプレスにより、銅ベース1のケース35との当接領域はケース35の形状に変形すると共に、密閉空間22の気密度が高くなる。
(1) As shown in FIG. 6, the copper base 1 is placed on the back surface support portion 25 and placed on the copper base 1 so as to cover the insulating substrate with the case 35 and the top plate 36 to form the sealed space 22. . An elastically supported cooling block 39 is brought into contact with the back surface of the copper base 1.
(2) The junction between the insulating substrate 3 and the copper base 1 is heated by the heating device 37. Since the heating device 37 is provided outside the sealed space 22, it passes through the quartz glass 36 and is heated from the insulating substrate 3 side. At this time, the light shielding plate 38 blocks the direct heating of the semiconductor chip or the like.
(3) When the solder layer 9 that joins the copper base 1 and the insulating substrate 3 is heated to a temperature at which creep deformation is likely to occur, the copper base 1 is pressed by the case 35. By the pressing by the case 35, the contact area of the copper base 1 with the case 35 is deformed into the shape of the case 35, and the airtightness of the sealed space 22 is increased.

絶縁基板3のはんだ層9がクリープ変形し易い温度まで昇温したら、加熱装置37による加熱を停止もしくは密閉空間内温度の保温程度の加熱とする。加熱の停止もしくは保温程度の加熱は、はんだ層9がクリープ変形し易い温度を維持するために、密閉空間22内の熱容量に応じて適宜選択すればよい。
(4)導入孔23からあらかじめ加熱した窒素ガスを流入して密閉空間22の内部の圧力を上昇させる。
この時、導入孔23から導入するガスをあらかじめ加熱しているのは、ガスの導入時点で、加熱によってはんだ層9がクリープ変形しやすい状態になっており、温度の低いガスの導入により密閉空間内の温度が低下してはんだ層9が硬化してしまうのを防ぐためである。図示しないが、導入孔23の前段には高圧のガスを供給できるガス源と、該ガス源と導入孔23との間の導入ガス流路にガスを加熱するためのヒータとを備えている。ガス源としては高圧のボンベやシリンダー内のガスをピストンにて圧縮したものなどを用いることができる。
When the temperature of the solder layer 9 of the insulating substrate 3 is increased to a temperature at which creep deformation is likely to occur, the heating by the heating device 37 is stopped or the heating is performed to keep the temperature in the sealed space. In order to maintain the temperature at which the solder layer 9 is likely to be creep-deformed, the heating stoppage or the heat-retaining heating may be appropriately selected according to the heat capacity in the sealed space 22.
(4) Nitrogen gas heated in advance from the introduction hole 23 is introduced to increase the pressure inside the sealed space 22.
At this time, the gas introduced from the introduction hole 23 is heated in advance because the solder layer 9 is likely to be creep-deformed by heating at the time of introduction of the gas. This is to prevent the solder layer 9 from being hardened due to a decrease in the internal temperature. Although not shown, a gas source capable of supplying a high-pressure gas and a heater for heating the gas in the introduction gas flow path between the gas source and the introduction hole 23 are provided in front of the introduction hole 23. As the gas source, a high-pressure cylinder or a gas compressed in a cylinder with a piston can be used.

なお、導入するガスは、不活性であって、不燃,安価など取り扱いが容易なものであれば窒素に限るものではない。
密閉空間22の内部の圧力が上昇することにより、絶縁基板3の表面(半導体チップの搭載面)から密閉空間22の外側に向けて、即ち銅ベース1と絶縁基板の組立体を密閉空間22から押し出す方向に加圧力が作用する。密閉空間22の内部の圧力をさらに上昇させて、銅ベース1と絶縁基板の組立体を密閉空間22から押し出す方向に加圧力をさらに増大させて、この組立体が下側(半導体チップの非搭載面)に凸状となるまで変形させる。密閉空間の内部の圧力の上昇による加圧力を銅ベース1と絶縁基板の組立体に効率よく伝達させるために、ケース35は堅牢な構造とし、加熱装置37による昇温を効率よく行うため、熱伝導率が小さく強度の高い断熱材を適用することが望ましい。断熱材としては、ガラス繊維と珪素系バインダーからなる耐熱積層板が好適である。
The introduced gas is not limited to nitrogen as long as it is inert and can be handled easily such as non-flammable and inexpensive.
As the pressure inside the sealed space 22 rises, the surface of the insulating substrate 3 (semiconductor chip mounting surface) is directed to the outside of the sealed space 22, that is, the assembly of the copper base 1 and the insulating substrate is removed from the sealed space 22. A pressing force acts in the pushing direction. The pressure inside the sealed space 22 is further increased, and the pressing force is further increased in the direction in which the assembly of the copper base 1 and the insulating substrate is pushed out from the sealed space 22, so that this assembly is placed on the lower side (no semiconductor chip mounted) Until the surface becomes convex. In order to efficiently transmit the pressure applied by the pressure increase in the sealed space to the assembly of the copper base 1 and the insulating substrate, the case 35 has a robust structure, and the heating device 37 efficiently raises the temperature. It is desirable to apply a heat insulating material with low conductivity and high strength. As the heat insulating material, a heat resistant laminated plate made of glass fiber and a silicon-based binder is suitable.

なお、銅ベースの反りの矯正に必要な密閉空間内の圧力は、銅ベースの厚さや大きさによって異なる。3mm厚で120mm×120mm程度の銅ベースの場合、密閉空間の気圧を0.5MPa程度に保つことで反りの矯正を行うことができ、3mm厚で120mm×60mm程度の銅ベースの場合では、密閉空間の気圧を1MPa程度に保つことで反りの矯正を行うことができる。反りの矯正に必要な圧力は、銅ベース3の厚さや大きさに応じて適宜選択すればよい。
また、密閉空間内部の圧力は上記のとおり1MPa程度まで上昇するため、導入気体の漏洩を防止するためにも、ケース21を所定の力で銅ベース1への押し付ける必要がある。この値も銅ベースのサイズに影響されるが、矯正を行う加工面積と反りの矯正に必要な圧力の積にさらに20Nを加えた程度の力で押圧すれば気密を維持することができる。
Note that the pressure in the sealed space necessary for correcting the warping of the copper base varies depending on the thickness and size of the copper base. In the case of a copper base of 3 mm thickness and about 120 mm × 120 mm, the warp can be corrected by keeping the air pressure in the sealed space at about 0.5 MPa, and in the case of a copper base of 3 mm thickness and about 120 mm × 60 mm, it is sealed Warping can be corrected by maintaining the atmospheric pressure at about 1 MPa. What is necessary is just to select suitably the pressure required for correction | amendment of curvature according to the thickness and magnitude | size of the copper base 3. FIG.
Further, since the pressure inside the sealed space rises to about 1 MPa as described above, it is necessary to press the case 21 against the copper base 1 with a predetermined force in order to prevent leakage of the introduced gas. Although this value is also affected by the size of the copper base, the airtightness can be maintained by pressing the product with a force obtained by adding 20 N to the product of the processing area for correcting and the pressure required for correcting the warpage.

(5)加熱装置による加熱を継続していた場合はここで加熱を停止する。密閉空間22内の加圧状態を維持したまま、銅ベース1の裏面に冷却水ノズルより冷却水を噴射して銅ベース1の裏面を急冷する。冷却水が銅ベースの裏面に接触しやすいように冷却ブロック39の銅ベース1との当接面に溝を形成しておいてもよい。図6の例では冷却ブロック39に冷却水ノズル41を設けているが、冷却水ノズルを裏面支持部25に設けてもよい。
銅ベース1の裏面を冷却水によって急速に冷却することにより、銅ベース1と絶縁基板3との接合面と、銅ベース1との温度差を約80℃とすることができるため、はんだ層9のクリープ変形により銅ベース1および絶縁基板3の熱歪みが開放された状態を維持することができる。そのため、室温に戻したときに再び反ることはなく、銅ベース1と絶縁基板3との最初の接合時に生じた反りを矯正することができる。この結果、放熱フィンに組み付ける際、両者の良好な熱的接続を得ることができる。
(5) When the heating by the heating device is continued, the heating is stopped here. While maintaining the pressurized state in the sealed space 22, cooling water is sprayed from the cooling water nozzle to the back surface of the copper base 1 to rapidly cool the back surface of the copper base 1. A groove may be formed on the contact surface of the cooling block 39 with the copper base 1 so that the cooling water easily comes into contact with the back surface of the copper base. In the example of FIG. 6, the cooling water nozzle 41 is provided in the cooling block 39, but the cooling water nozzle may be provided in the back surface support portion 25.
By rapidly cooling the back surface of the copper base 1 with cooling water, the temperature difference between the joint surface of the copper base 1 and the insulating substrate 3 and the copper base 1 can be about 80 ° C., so that the solder layer 9 It is possible to maintain the state in which the thermal strain of the copper base 1 and the insulating substrate 3 is released due to the creep deformation. Therefore, it does not warp again when it is returned to room temperature, and the warp that occurs during the initial joining of the copper base 1 and the insulating substrate 3 can be corrected. As a result, when assembling to the radiating fin, a good thermal connection between them can be obtained.

図7は第4の実施例の変形例であって、ケース35と裏面支持部25の要部を示す図である。銅ベース1と絶縁基板3との接合体など他の構成の図示を省略している。
ケース35は上記の(3)の工程においてプレス治具として、裏面支持部25は同じくプレス受け治具として機能する。図7の例では、ケース35は各辺の中央付近を頂点とする凸状の曲面加工が施され、裏面支持部25はこれを受けるように、各辺の中央付近を底とする凹状の曲面加工が施されている。
図8は図7の矢視正面図である。図8(a)は、前記(3)のプレス工程前の状態を示すものであり、中央部がくぼんだ形状の曲面加工が施された裏面支持部25の辺部が、銅ベース1の周辺部に当接している。図8(b)は、(3)のプレス工程後の状態を示すものである。中央部が膨らんだ形状の曲面加工が施されたケース35の辺部は、(3)のプレス工程においてプレス加工体として、銅ベース1の周辺部を押圧する。
FIG. 7 shows a modification of the fourth embodiment and shows the main part of the case 35 and the back surface support part 25. The illustration of other structures such as a joined body of the copper base 1 and the insulating substrate 3 is omitted.
The case 35 functions as a press jig in the step (3), and the back surface support portion 25 similarly functions as a press receiving jig. In the example of FIG. 7, the case 35 is processed with a convex curved surface having a vertex near the center of each side, and the back support 25 receives a concave curved surface with the center near each side. Processing has been applied.
FIG. 8 is a front view of FIG. FIG. 8A shows the state before the pressing step of (3) above, and the side portion of the back surface support portion 25 that has been subjected to curved processing with a recessed central portion is the periphery of the copper base 1. It is in contact with the part. FIG. 8B shows a state after the pressing step (3). The side portion of the case 35 that has been subjected to curved processing with a swelled central portion presses the peripheral portion of the copper base 1 as a pressed body in the pressing step (3).

曲面の形状は銅ベースの大きさに応じて選択されるが、3mm厚で120mm×120mm程度の銅ベースの場合、R2000程度の曲面とするとよい。
このように、ケース35と裏面支持部25の辺部に曲面加工を施してプレス加工体とすることにより、銅ベース1の周辺部がケース35と裏面支持部25の曲面形状にしたがってわずかに下に凸状変形し、絶縁基板側は密閉空間となる。
プレス加工によって、銅ベース1を下に凸状に変形することができるため、放熱フィンに組み付ける際、両者の良好な熱的接続を得ることができる。
(実施例5)
銅ベース1と絶縁基板3とが接合された組立体を上記の実施例1〜実施例4の方法で加圧した場合、組立体の中央部付近ではんだ9が完全に溶融せず、クリープ変形しやすい温度範囲に保たれていれば反り矯正は順調に達成される。このような反りの矯正工程において、銅ベース1と絶縁基板3との間隔を所望の範囲を保つため、図9に示すように銅ベース1の絶縁基板との接合面に突起35を形成すればよい。あるいは、図10に示すようにはんだ9にあらかじめ微粒子36を混入させておけばよい。
The shape of the curved surface is selected according to the size of the copper base, but in the case of a copper base having a thickness of 3 mm and a size of about 120 mm × 120 mm, a curved surface of about R2000 is preferable.
As described above, the peripheral portion of the copper base 1 is slightly lowered according to the curved shape of the case 35 and the back surface support portion 25 by performing curved processing on the sides of the case 35 and the back surface support portion 25 to form a press-worked body. The insulating substrate side becomes a sealed space.
Since the copper base 1 can be deformed downward by pressing, it is possible to obtain a good thermal connection between the two when the heat sink is assembled.
(Example 5)
When the assembly in which the copper base 1 and the insulating substrate 3 are joined is pressed by the method of the first to fourth embodiments, the solder 9 is not completely melted near the center of the assembly and creep deformation occurs. If the temperature is maintained within a temperature range, warping correction can be achieved smoothly. In such a warp correction process, in order to keep the distance between the copper base 1 and the insulating substrate 3 within a desired range, as shown in FIG. 9, a protrusion 35 is formed on the joint surface of the copper base 1 with the insulating substrate. Good. Alternatively, as shown in FIG. 10, fine particles 36 may be mixed in the solder 9 in advance.

図9において、51は銅ベース1にあらかじめ形成した突起であり、その高さは銅ベース1と絶縁基板3との間の所望のはんだ厚さに応じて選択され、50〜200μm程度が好適である。また、突起51は、接合される絶縁基板3の外周に対応する個所および中央部に対応する個所に設けるとよい。前記外周に対応する個所は、絶縁基板が方形の場合、絶縁基板3の角部近傍と各辺の中央部付近に設けておくと、絶縁基板3の傾きを防ぐことができる。
図10において、52ははんだ9にあらかじめ混入された微粒子であり、その粒径は銅ベース1と絶縁基板3との間の所望のはんだ厚さに応じて選択され、50〜200μm程度が好適である。また、反りの矯正時にも機能させるため、銅ベース1と絶縁基板3とをはんだ接合する際に溶融してしまわないよう、該はんだの融点より50K以上融点が高い材料を選択するとよい。また、ボイドの発生を防ぐため、はんだ濡れ性の良い材料が好適であり、接合後の熱伝導の妨げにならないように熱伝導率の高い材料を選択するとよい。
In FIG. 9, 51 is a protrusion formed in advance on the copper base 1, and its height is selected according to the desired solder thickness between the copper base 1 and the insulating substrate 3, and is preferably about 50 to 200 μm. is there. Further, the protrusion 51 may be provided at a location corresponding to the outer periphery of the insulating substrate 3 to be joined and a location corresponding to the central portion. In the case where the insulating substrate is square, the portion corresponding to the outer periphery can be prevented from tilting if it is provided near the corner of the insulating substrate 3 and near the center of each side.
In FIG. 10, 52 is fine particles mixed in advance with the solder 9, and the particle size is selected according to the desired solder thickness between the copper base 1 and the insulating substrate 3, and is preferably about 50 to 200 μm. is there. Further, in order to function even when the warp is corrected, it is preferable to select a material having a melting point higher than that of the solder by 50K or more so that the copper base 1 and the insulating substrate 3 do not melt when soldered. Moreover, in order to prevent generation | occurrence | production of a void, a material with good solder wettability is suitable, and it is good to select a material with high heat conductivity so that the heat conduction after joining may not be disturbed.

上記の各実施例において、放熱ベースとして銅ベースを例に説明したが、これに限るものではなく、絶縁基板と放熱ベースとの接合に際して反りの発生しうる放熱ベースの材料、例えば銅合金,アルミニウム,アルミニウム合金などの金属材料の放熱ベースに有効である。
また、絶縁基板としてAlやAlNなどのセラミックを材料を例に説明したが、セラミック材料もこれに限るものではない。
In each of the above-described embodiments, the copper base has been described as an example of the heat dissipation base. However, the present invention is not limited to this, and a heat dissipation base material that can be warped when the insulating substrate and the heat dissipation base are joined, such as a copper alloy or aluminum It is effective for heat dissipation bases of metal materials such as aluminum alloys.
Moreover, although ceramics such as Al 2 O 3 and AlN have been described as examples of the insulating substrate, the ceramic material is not limited to this.

第1の実施例を示す図である。It is a figure which shows a 1st Example. 第2の実施例を示す図である。It is a figure which shows the 2nd Example. 第2の実施例の変形例を示す図である。It is a figure which shows the modification of a 2nd Example. 第2の実施例の変形例を示す図である。It is a figure which shows the modification of a 2nd Example. 第3の実施例を示す図である。It is a figure which shows the 3rd Example. 第4の実施例を示す図である。It is a figure which shows the 4th Example. 第4の実施例の変形例を示す図である。It is a figure which shows the modification of a 4th Example. 図7の矢視正面図である。FIG. 8 is a front view of FIG. 第5の実施例を示す図である。It is a figure which shows a 5th Example. 第5の実施例の変形例を示す図である。It is a figure which shows the modification of a 5th Example. 本発明の製造方法を適用するパワー半導体モジュールの断面図である。It is sectional drawing of the power semiconductor module to which the manufacturing method of this invention is applied. 銅ベースと絶縁基板との接合体の従来例を示す図である。It is a figure which shows the prior art example of the conjugate | zygote of a copper base and an insulated substrate.

符号の説明Explanation of symbols

1 放熱ベースとしての銅ベース
2 樹脂成形品の外囲ケース
3 絶縁基板
4 セラミック板
5,6 銅パターン
7 半導体チップ
8 外部導出端子(リードフレーム)
9,10,11 はんだ層
12 放熱フィン
21,35 ケース
22 密閉空間
23 導入孔
24 端部
25 裏面支持部
26 加熱ブロック
31 切り欠き部
32,34 シール部材
33 溝
36 石英ガラス
37 加熱装置
38 遮光板
39 冷却ブロック
40 ばね
41 冷却ノズル
51 突起
52 微粒子
DESCRIPTION OF SYMBOLS 1 Copper base as heat dissipation base 2 Outer case of resin molded product 3 Insulating substrate 4 Ceramic board 5,6 Copper pattern 7 Semiconductor chip 8 External lead-out terminal (lead frame)
9, 10, 11 Solder layer 12 Radiation fins 21, 35 Case 22 Sealed space 23 Introduction hole 24 End portion 25 Back support portion 26 Heating block 31 Notch portion 32, 34 Seal member 33 Groove 36 Quartz glass 37 Heating device 38 Light shielding plate 39 Cooling block 40 Spring 41 Cooling nozzle 51 Protrusion 52 Fine particles

Claims (16)

半導体チップをマウントした絶縁基板を放熱ベース上に載置してはんだ接合した半導体装置の組立体を、前記放熱ベース裏面の外周辺にて支持するとともに、開口部を有するケースを前記放熱ベースの外周辺に押し当てて前記半導体チップ搭載面を気密に覆う密閉空間を形成し、前記組立体に熱を加えて前記はんだをクリープ変形し易い温度まで昇温させ、前記密閉空間内の圧力を上昇させて前記組立体に密閉空間内から密閉空間外へ向かう方向の押圧力を付勢し、該押圧力によって前記組立体を所望の形状に矯正し、前記押圧力を付勢したまま常温まで冷却することを特徴とする半導体装置の製造方法。   A semiconductor device assembly in which an insulating substrate on which a semiconductor chip is mounted is placed on a heat dissipation base and soldered is supported on the outer periphery of the rear surface of the heat dissipation base, and a case having an opening is provided outside the heat dissipation base. A sealed space is formed that is pressed against the periphery and covers the semiconductor chip mounting surface in an airtight manner, and heat is applied to the assembly to raise the solder to a temperature at which creep deformation is likely to occur, thereby increasing the pressure in the sealed space. Then, a pressing force in a direction from the inside of the sealed space to the outside of the sealed space is applied to the assembly, the assembly is corrected to a desired shape by the pressing force, and the assembly is cooled to room temperature while the pressing force is applied. A method for manufacturing a semiconductor device. 半導体チップをマウントした絶縁基板を放熱ベース上に載置してはんだ接合した半導体装置の組立体を、前記放熱ベース裏面の外周辺に当接する個所に低弾性のシール部材を設けた裏面支持部にて気密に支持し、開口部を有するケースを前記裏面支持部の外周辺に押し当てて前記半導体チップ搭載面を気密に覆う密閉空間を形成し、前記組立体に熱を加えて前記はんだをクリープ変形し易い温度まで昇温させ、前記密閉空間内の圧力を上昇させて前記組立体に密閉空間内から密閉空間外へ向かう方向の押圧力を付勢し、該押圧力によって前記組立体を所望の形状に矯正し、前記押圧力を付勢したまま常温まで冷却することを特徴とする半導体装置の製造方法。   An assembly of a semiconductor device in which an insulating substrate on which a semiconductor chip is mounted is placed on a heat dissipation base and soldered is attached to a back surface support portion provided with a low-elasticity sealing member at a position where it contacts the outer periphery of the back surface of the heat dissipation base. And a case having an opening is pressed against the outer periphery of the back surface support portion to form a sealed space that hermetically covers the semiconductor chip mounting surface, and heat is applied to the assembly to creep the solder. The temperature is increased to a temperature at which deformation easily occurs, the pressure in the sealed space is increased, and a pressing force is applied to the assembly in a direction from the inside of the sealed space to the outside of the sealed space, and the assembly is desired by the pressing force. A method of manufacturing a semiconductor device, wherein the semiconductor device is cooled to room temperature while the pressing force is applied. 半導体チップをマウントした絶縁基板を放熱ベース上に載置してはんだ接合した半導体装置の組立体を、前記放熱ベース裏面の外周辺にて支持するとともに、開口部を有するケースを前記放熱ベースの外周辺に当接させて前記絶縁基板を覆い、前記組立体の前記半導体チップの搭載面側から熱を加えて前記はんだをクリープ変形し易い温度まで昇温させ、前記ケースを押下することにより前記放熱ベースをプレス変形するとともに、前記ケースとの間で密閉空間を形成し、該密閉空間内の圧力を上昇させて前記組立体に密閉空間内から密閉空間外へ向かう方向の押圧力を付勢し、該押圧力によって前記組立体を所望の形状に矯正し、前記押圧力を付勢したまま常温まで冷却することを特徴とする半導体装置の製造方法。   A semiconductor device assembly in which an insulating substrate on which a semiconductor chip is mounted is placed on a heat dissipation base and soldered is supported on the outer periphery of the rear surface of the heat dissipation base, and a case having an opening is provided outside the heat dissipation base. Covering the insulating substrate in contact with the periphery, applying heat from the mounting surface side of the semiconductor chip of the assembly to raise the temperature of the solder to a temperature at which creep deformation easily occurs, and depressing the case to release the heat The base is deformed by pressing and a sealed space is formed between the case and the pressure in the sealed space is increased to urge the assembly in a direction from the inside of the sealed space to the outside of the sealed space. A method of manufacturing a semiconductor device, wherein the assembly is corrected to a desired shape by the pressing force and cooled to room temperature while the pressing force is applied. 請求項3に記載の半導体装置の製造方法において、
前記組立体への加熱は、前記組立体の両面に温度差を設けながら行うことを特徴とする半導体装置の製造方法。
In the manufacturing method of the semiconductor device according to claim 3,
The method of manufacturing a semiconductor device, wherein the heating of the assembly is performed while providing a temperature difference between both surfaces of the assembly.
請求項4に記載の半導体装置の製造方法において、
前記温度差を、前記放熱ベースの裏面に冷却ブロックを弾性的に当接させることで与えることを特徴とする半導体装置の製造方法。
In the manufacturing method of the semiconductor device according to claim 4,
The method of manufacturing a semiconductor device, wherein the temperature difference is given by elastically bringing a cooling block into contact with the back surface of the heat dissipation base.
請求項3ないし請求項5のいずれかに記載の半導体装置の製造方法において、
前記押圧力によって前記組立体を所望の形状に矯正し、前記押圧力を付勢したまま、前記放熱ベースの裏面を急速に冷却することを特徴とする半導体装置の製造方法。
In the manufacturing method of the semiconductor device in any one of Claims 3 thru | or 5,
A method of manufacturing a semiconductor device, wherein the assembly is corrected to a desired shape by the pressing force, and the back surface of the heat radiating base is rapidly cooled while the pressing force is applied.
請求項1ないし請求項6のいずれかに記載の半導体装置の製造方法において、
前記組立体への加熱は、赤外線の照射によるものであることを特徴とする半導体装置の製造方法。
In the manufacturing method of the semiconductor device in any one of Claims 1 thru | or 6,
The method of manufacturing a semiconductor device, wherein the heating of the assembly is performed by infrared irradiation.
請求項7に記載の半導体装置の製造方法において、
前記赤外線を部分的に遮光する遮光板により、前記半導体チップへ前記赤外線が直接照射されるのを遮ることを特徴とする半導体装置の製造方法。
In the manufacturing method of the semiconductor device according to claim 7,
A method of manufacturing a semiconductor device, characterized in that the infrared light is directly irradiated to the semiconductor chip by a light shielding plate that partially shields the infrared light.
請求項3乃至請求項6に記載の半導体装置の製造方法において、
前記ケースの開口部の各辺を、各辺の中央部を頂点として放熱ベース側に凸状の弧状とし、これに対向する前記組立体の支持体の各辺の中央部を底として凹状の弧状とし、
前記プレスにより、前記放熱ベースの外周領域を前記半導体チップの非マウント面側に凸状に変形させることを特徴とする半導体装置の製造方法。
In the manufacturing method of the semiconductor device according to claim 3 thru / or claim 6,
Each side of the opening of the case has a convex arc shape on the side of the heat dissipation base with the central portion of each side as an apex, and a concave arc shape with the central portion of each side of the support of the assembly facing the bottom as a bottom. age,
A method of manufacturing a semiconductor device, wherein the outer peripheral region of the heat dissipation base is deformed in a convex shape toward the non-mounting surface side of the semiconductor chip by the pressing.
請求項1ないし請求項3に記載の半導体装置の製造方法において、
前記ケースを、断熱性を有する耐熱材料にて構成することを特徴とする半導体装置の製造方法。
In the manufacturing method of the semiconductor device of Claim 1 thru | or 3,
A method of manufacturing a semiconductor device, wherein the case is made of a heat-resistant material having heat insulation properties.
請求項1ないし請求項3に記載の半導体装置の製造方法において、
前記ケースに設けられた気体導入孔より気体を導入して前記密閉空間内の圧力を上昇させることを特徴とする半導体装置の製造方法。
In the manufacturing method of the semiconductor device of Claim 1 thru | or 3,
A method of manufacturing a semiconductor device, wherein a gas is introduced from a gas introduction hole provided in the case to increase a pressure in the sealed space.
請求項11に記載の半導体装置の製造方法において、
前記ケースの開口部の端部に低弾性のシール部材を設けたことを特徴とする半導体装置の製造方法。
In the manufacturing method of the semiconductor device according to claim 11,
A manufacturing method of a semiconductor device, wherein a low-elasticity sealing member is provided at an end of the opening of the case.
請求項12に記載の半導体装置の製造方法において、
前記低弾性のシール部材は、前記ケースの開口端部に形成された切り欠き部に嵌合して設けられていることを特徴とする半導体装置の製造方法。
In the manufacturing method of the semiconductor device according to claim 12,
The method of manufacturing a semiconductor device, wherein the low-elasticity sealing member is provided by being fitted into a notch formed at an opening end of the case.
請求項12に記載の半導体装置の製造方法において、
前記低弾性のシール部材を前記ケースの開口端部より側壁内に形成された溝に嵌入し、該溝の底部にケース内部と連通する複数個の貫通穴を設けて、前記ケース内部の圧力を前記溝内に嵌入されたシール部材に伝達させ、前記ケースの押圧力と密閉空間内の圧力によって、前記シール部材の接触気密性を高めたことを特徴とする半導体装置の製造方法。
In the manufacturing method of the semiconductor device according to claim 12,
The low-elasticity sealing member is inserted into a groove formed in the side wall from the opening end of the case, and a plurality of through holes communicating with the inside of the case are provided at the bottom of the groove to reduce the pressure inside the case. A method of manufacturing a semiconductor device, comprising: transmitting to a seal member fitted in the groove, and improving the contact airtightness of the seal member by a pressing force of the case and a pressure in a sealed space.
請求項1乃至請求項14に記載の半導体装置の製造方法において、
前記放熱ベースの前記絶縁基板接合側の表面の、前記絶縁基板の外周領域に対応する個所と絶縁基板の中央近傍に対応する個所に、それぞれ50〜200μmの突起を形成したことを特徴とする半導体装置の製造方法。
15. The method of manufacturing a semiconductor device according to claim 1, wherein:
50 to 200 μm protrusions are formed at locations corresponding to the outer peripheral area of the insulating substrate and at locations corresponding to the vicinity of the center of the insulating substrate on the surface of the heat dissipation base on the insulating substrate bonding side, respectively. Device manufacturing method.
請求項1乃至請求項14に記載の半導体装置の製造方法において、
前記絶縁基板と前記放熱ベースを接合するはんだ内部に、該はんだの融点より50K以上融点が高く、はんだ濡れ性が良く、熱伝導率の高い材料からなり、50〜200μmの粒径を有する粒子を混入したことを特徴とする半導体装置の製造方法。
15. The method of manufacturing a semiconductor device according to claim 1, wherein:
In the solder that joins the insulating substrate and the heat dissipation base, particles having a melting point of 50 K or more than the melting point of the solder, good solder wettability, high thermal conductivity, and a particle size of 50 to 200 μm A method of manufacturing a semiconductor device, wherein the semiconductor device is mixed.
JP2004212394A 2004-03-08 2004-07-21 Manufacturing method of semiconductor device Expired - Fee Related JP4380442B2 (en)

Priority Applications (1)

Application Number Priority Date Filing Date Title
JP2004212394A JP4380442B2 (en) 2004-03-08 2004-07-21 Manufacturing method of semiconductor device

Applications Claiming Priority (2)

Application Number Priority Date Filing Date Title
JP2004063718 2004-03-08
JP2004212394A JP4380442B2 (en) 2004-03-08 2004-07-21 Manufacturing method of semiconductor device

Publications (2)

Publication Number Publication Date
JP2005294792A true JP2005294792A (en) 2005-10-20
JP4380442B2 JP4380442B2 (en) 2009-12-09

Family

ID=35327338

Family Applications (1)

Application Number Title Priority Date Filing Date
JP2004212394A Expired - Fee Related JP4380442B2 (en) 2004-03-08 2004-07-21 Manufacturing method of semiconductor device

Country Status (1)

Country Link
JP (1) JP4380442B2 (en)

Cited By (9)

* Cited by examiner, † Cited by third party
Publication number Priority date Publication date Assignee Title
JP2009136885A (en) * 2007-12-04 2009-06-25 Mitsubishi Electric Corp Metal base plate cooling device
JP2010267663A (en) * 2009-05-12 2010-11-25 Toyota Motor Corp Power module manufacturing method, power module manufactured by the method, and power module manufacturing apparatus
KR101276747B1 (en) * 2011-11-14 2013-06-19 김선국 Curved surface restoring apparatus and curved surface restoring method
WO2018146933A1 (en) * 2017-02-13 2018-08-16 富士電機株式会社 Semiconductor device and method for manufacturing semiconductor device
CN110116148A (en) * 2019-06-10 2019-08-13 宝鸡市泛美材料科技有限公司 A kind of positive pressure creep smoothing furnace
US11501980B2 (en) 2019-05-15 2022-11-15 Fuji Electric Co., Ltd. Semiconductor module, method for manufacturing semiconductor module, and level different jig
US20220384383A1 (en) * 2021-06-01 2022-12-01 National Pingtung University Of Science And Technology Heat assisted flip chip bonding apparatus
CN115871166A (en) * 2021-09-28 2023-03-31 汉达精密电子(昆山)有限公司 Creep forming method for mixed injection molding carbon fiber plate product
US12476218B2 (en) 2022-03-04 2025-11-18 Fuji Electric Co., Ltd. Semiconductor device manufacturing method

Cited By (14)

* Cited by examiner, † Cited by third party
Publication number Priority date Publication date Assignee Title
JP2009136885A (en) * 2007-12-04 2009-06-25 Mitsubishi Electric Corp Metal base plate cooling device
JP2010267663A (en) * 2009-05-12 2010-11-25 Toyota Motor Corp Power module manufacturing method, power module manufactured by the method, and power module manufacturing apparatus
KR101276747B1 (en) * 2011-11-14 2013-06-19 김선국 Curved surface restoring apparatus and curved surface restoring method
US10978371B2 (en) 2017-02-13 2021-04-13 Fuji Electric Co., Ltd. Semiconductor device and method for manufacturing semiconductor device
JPWO2018146933A1 (en) * 2017-02-13 2019-06-27 富士電機株式会社 Semiconductor device and method of manufacturing semiconductor device
WO2018146933A1 (en) * 2017-02-13 2018-08-16 富士電機株式会社 Semiconductor device and method for manufacturing semiconductor device
US11501980B2 (en) 2019-05-15 2022-11-15 Fuji Electric Co., Ltd. Semiconductor module, method for manufacturing semiconductor module, and level different jig
US12148631B2 (en) 2019-05-15 2024-11-19 Fuji Electric Co., Ltd. Semiconductor module, method for manufacturing semiconductor module, and level different jig
CN110116148A (en) * 2019-06-10 2019-08-13 宝鸡市泛美材料科技有限公司 A kind of positive pressure creep smoothing furnace
CN110116148B (en) * 2019-06-10 2024-01-16 宝鸡市泛美材料科技有限公司 Positive pressure creep leveling furnace
US20220384383A1 (en) * 2021-06-01 2022-12-01 National Pingtung University Of Science And Technology Heat assisted flip chip bonding apparatus
US11682650B2 (en) * 2021-06-01 2023-06-20 National Pingtung University Of Science And Technology Heat assisted flip chip bonding apparatus
CN115871166A (en) * 2021-09-28 2023-03-31 汉达精密电子(昆山)有限公司 Creep forming method for mixed injection molding carbon fiber plate product
US12476218B2 (en) 2022-03-04 2025-11-18 Fuji Electric Co., Ltd. Semiconductor device manufacturing method

Also Published As

Publication number Publication date
JP4380442B2 (en) 2009-12-09

Similar Documents

Publication Publication Date Title
US4561011A (en) Dimensionally stable semiconductor device
CN111902931B (en) Method and manufacturing system for assembling semiconductor power modules or components
US9275949B2 (en) Semiconductor device
JP6627988B2 (en) Semiconductor package
US10727152B2 (en) Semiconductor apparatus
KR20070115766A (en) Electronic device and manufacturing method
CN111276447A (en) Double-side cooling power module and manufacturing method thereof
JP4380442B2 (en) Manufacturing method of semiconductor device
US11380646B2 (en) Multi-sided cooling semiconductor package and method of manufacturing the same
JP2001358266A (en) Thermal radiation substrate material for mounting semiconductor, method of manufacturing the same, and ceramic package using the same
US20240055392A1 (en) Method of manufacturing semiconductor device
JP7794027B2 (en) Semiconductor device manufacturing method
JP2015095561A (en) Semiconductor device and manufacturing method thereof
US20160366774A1 (en) Electronic component and method for manufacturing electronic module
JP2007059875A (en) Heat dissipation member, electronic component storage package and electronic device using the same
KR20220133559A (en) Power module and manufacturing method thereof
JP2001284510A (en) Manufacturing method of electrical equipment
JP4757880B2 (en) Method for manufacturing electronic component, method for manufacturing heat conductive member, and method for mounting heat conductive member for electronic component
US20070235858A1 (en) Mounting assembly for semiconductor devices
JP4415988B2 (en) Power module, heat sink, and heat sink manufacturing method
JPH01191453A (en) Semiconductor device
JPS5965458A (en) Manufature of semiconductor device
JP3553513B2 (en) Automotive electronic circuit devices
JP7682126B2 (en) Semiconductor device manufacturing method and molding press machine
JP2005072369A (en) Manufacturing method of semiconductor device

Legal Events

Date Code Title Description
RD02 Notification of acceptance of power of attorney

Free format text: JAPANESE INTERMEDIATE CODE: A7422

Effective date: 20060703

RD04 Notification of resignation of power of attorney

Free format text: JAPANESE INTERMEDIATE CODE: A7424

Effective date: 20060704

A621 Written request for application examination

Free format text: JAPANESE INTERMEDIATE CODE: A621

Effective date: 20070614

A711 Notification of change in applicant

Free format text: JAPANESE INTERMEDIATE CODE: A711

Effective date: 20080204

RD02 Notification of acceptance of power of attorney

Free format text: JAPANESE INTERMEDIATE CODE: A7422

Effective date: 20081216

RD04 Notification of resignation of power of attorney

Free format text: JAPANESE INTERMEDIATE CODE: A7424

Effective date: 20090219

A977 Report on retrieval

Free format text: JAPANESE INTERMEDIATE CODE: A971007

Effective date: 20090817

TRDD Decision of grant or rejection written
A01 Written decision to grant a patent or to grant a registration (utility model)

Free format text: JAPANESE INTERMEDIATE CODE: A01

Effective date: 20090901

A01 Written decision to grant a patent or to grant a registration (utility model)

Free format text: JAPANESE INTERMEDIATE CODE: A01

A61 First payment of annual fees (during grant procedure)

Free format text: JAPANESE INTERMEDIATE CODE: A61

Effective date: 20090914

FPAY Renewal fee payment (event date is renewal date of database)

Free format text: PAYMENT UNTIL: 20121002

Year of fee payment: 3

R150 Certificate of patent or registration of utility model

Free format text: JAPANESE INTERMEDIATE CODE: R150

FPAY Renewal fee payment (event date is renewal date of database)

Free format text: PAYMENT UNTIL: 20121002

Year of fee payment: 3

S111 Request for change of ownership or part of ownership

Free format text: JAPANESE INTERMEDIATE CODE: R313111

FPAY Renewal fee payment (event date is renewal date of database)

Free format text: PAYMENT UNTIL: 20121002

Year of fee payment: 3

R350 Written notification of registration of transfer

Free format text: JAPANESE INTERMEDIATE CODE: R350

FPAY Renewal fee payment (event date is renewal date of database)

Free format text: PAYMENT UNTIL: 20121002

Year of fee payment: 3

S111 Request for change of ownership or part of ownership

Free format text: JAPANESE INTERMEDIATE CODE: R313111

FPAY Renewal fee payment (event date is renewal date of database)

Free format text: PAYMENT UNTIL: 20121002

Year of fee payment: 3

R350 Written notification of registration of transfer

Free format text: JAPANESE INTERMEDIATE CODE: R350

FPAY Renewal fee payment (event date is renewal date of database)

Free format text: PAYMENT UNTIL: 20131002

Year of fee payment: 4

R250 Receipt of annual fees

Free format text: JAPANESE INTERMEDIATE CODE: R250

R250 Receipt of annual fees

Free format text: JAPANESE INTERMEDIATE CODE: R250

R250 Receipt of annual fees

Free format text: JAPANESE INTERMEDIATE CODE: R250

R250 Receipt of annual fees

Free format text: JAPANESE INTERMEDIATE CODE: R250

LAPS Cancellation because of no payment of annual fees