JP2005294068A - Nonaqueous electrolyte secondary battery - Google Patents
Nonaqueous electrolyte secondary battery Download PDFInfo
- Publication number
- JP2005294068A JP2005294068A JP2004108056A JP2004108056A JP2005294068A JP 2005294068 A JP2005294068 A JP 2005294068A JP 2004108056 A JP2004108056 A JP 2004108056A JP 2004108056 A JP2004108056 A JP 2004108056A JP 2005294068 A JP2005294068 A JP 2005294068A
- Authority
- JP
- Japan
- Prior art keywords
- negative electrode
- active material
- secondary battery
- electrode active
- electrolyte secondary
- Prior art date
- Legal status (The legal status is an assumption and is not a legal conclusion. Google has not performed a legal analysis and makes no representation as to the accuracy of the status listed.)
- Granted
Links
Images
Classifications
-
- Y—GENERAL TAGGING OF NEW TECHNOLOGICAL DEVELOPMENTS; GENERAL TAGGING OF CROSS-SECTIONAL TECHNOLOGIES SPANNING OVER SEVERAL SECTIONS OF THE IPC; TECHNICAL SUBJECTS COVERED BY FORMER USPC CROSS-REFERENCE ART COLLECTIONS [XRACs] AND DIGESTS
- Y02—TECHNOLOGIES OR APPLICATIONS FOR MITIGATION OR ADAPTATION AGAINST CLIMATE CHANGE
- Y02E—REDUCTION OF GREENHOUSE GAS [GHG] EMISSIONS, RELATED TO ENERGY GENERATION, TRANSMISSION OR DISTRIBUTION
- Y02E60/00—Enabling technologies; Technologies with a potential or indirect contribution to GHG emissions mitigation
- Y02E60/10—Energy storage using batteries
Landscapes
- Cell Electrode Carriers And Collectors (AREA)
- Secondary Cells (AREA)
- Battery Electrode And Active Subsutance (AREA)
Abstract
【課題】 非水電解質二時電池の容量特性およびサイクル特性を向上させる。
【解決手段】 正極と、アルカリ金属を吸蔵・放出する負極活物質を具備する負極と、前記正極および前記負極に挟まれた非水電解質とを有する非水電解質二次電池において、下記の化学式(1)に表される組成を有し,Ce6Ni2Si3型構造をもつ合金を含むことを特徴とする負極活物質を使用する。
R6SixNiyM1z・・・化学式(1)
Rは、La、Ca、Ce、Mg、Y、Ga、In、Pr、Nd、Sm、Zr、Nb、Pb及びHfよりなる群から選択される少なくとも一種類の元素であり、M1は、Co、Al、Cu、Ti、Fe、Mn、V、Zn、Mo、Ge、Cr、Cd、Sn、Sb、Ru、Pd、W、Ag及びTaよりなる群から選択される少なくとも一種類の元素であり、x、yおよびzは、それぞれ、2.5≦x≦3.5、1.5≦y≦2.5、0<z≦1.0である。
【選択図】 図1
PROBLEM TO BE SOLVED: To improve capacity characteristics and cycle characteristics of a nonaqueous electrolyte two-time battery.
In a non-aqueous electrolyte secondary battery comprising a positive electrode, a negative electrode comprising a negative electrode active material that occludes / releases alkali metal, and a non-aqueous electrolyte sandwiched between the positive electrode and the negative electrode, the following chemical formula ( A negative electrode active material having a composition represented by 1) and containing an alloy having a Ce 6 Ni 2 Si 3 type structure is used.
R 6 Si x Ni y M1 z Chemical formula (1)
R is at least one element selected from the group consisting of La, Ca, Ce, Mg, Y, Ga, In, Pr, Nd, Sm, Zr, Nb, Pb and Hf, and M1 is Co, And at least one element selected from the group consisting of Al, Cu, Ti, Fe, Mn, V, Zn, Mo, Ge, Cr, Cd, Sn, Sb, Ru, Pd, W, Ag, and Ta, x, y, and z are 2.5 ≦ x ≦ 3.5, 1.5 ≦ y ≦ 2.5, and 0 <z ≦ 1.0, respectively.
[Selection] Figure 1
Description
本発明は、非水電解質二次電池に用いる、負極活物質、それを用いた負極、さらには非水電解質二次電池に関するもので、高容量、長寿命を提供するものである。 The present invention relates to a negative electrode active material used for a nonaqueous electrolyte secondary battery, a negative electrode using the same, and further to a nonaqueous electrolyte secondary battery, and provides high capacity and long life.
リチウム金属、リチウム合金、リチウム化合物、炭素材料などを負極活物質に用いた非水電解質二次電池は、高エネルギー密度電池として期待され、盛んに研究開発が進められている。これまでに、正極活物質としては、LiCoO2、LiMn2O4などを用い、負極活物質としてはリチウムを吸蔵・放出する炭素材料を用いたリチウムイオン電池が広く実用化さている。 Nonaqueous electrolyte secondary batteries using lithium metal, lithium alloys, lithium compounds, carbon materials, and the like as negative electrode active materials are expected to be high energy density batteries, and are actively researched and developed. So far, lithium ion batteries using LiCoO 2 , LiMn 2 O 4 or the like as the positive electrode active material and a carbon material that absorbs and releases lithium as the negative electrode active material have been widely put into practical use.
一方、リチウム金属、リチウム合金、リチウム化合物を負極に用いた二次電池は、未だ実用化されていない。この主な理由は、リチウム金属を用いた場合、非水電解液とリチウム金属との反応によるリチウムの劣化と、充放電の繰り返しによるデンドライト状(樹枝状)のリチウムの発生による脱離が起きるため内部短絡やサイクル寿命が短いという問題点を有している。 On the other hand, a secondary battery using lithium metal, a lithium alloy, or a lithium compound as a negative electrode has not been put into practical use yet. The main reason for this is that when lithium metal is used, lithium degradation due to the reaction between the non-aqueous electrolyte and the lithium metal and desorption due to dendritic (dendritic) lithium generation due to repeated charge and discharge occur. There are problems such as internal short circuit and short cycle life.
このような問題点を解決するたリチウム合金やリチウム化合物を負極に用いる研究がなされた。とくにリチウム−アルミニウム合金などの合金においては、非水電解液との反応性が抑制され充放電効率は改善されるものの、深い充放電を繰り返すと電極の微粉化が生じるため、サイクル特性に問題があった。そこで、現在、これら負極活物質より容量は小さいもののリチウムを可逆的に吸蔵・放出する炭素材料を使用している。微粉化の問題もなく優れたサイクル性能と安全性とを有するため実用化に至った。 Researches have been made on the use of lithium alloys and lithium compounds for the negative electrode to solve such problems. Especially in alloys such as lithium-aluminum alloy, the reactivity with non-aqueous electrolyte is suppressed and the charge / discharge efficiency is improved. there were. Therefore, at present, a carbon material that reversibly occludes and releases lithium is used although its capacity is smaller than those of these negative electrode active materials. Since it has excellent cycle performance and safety without the problem of pulverization, it has been put to practical use.
このような中、一層の負極高容量化の観点から、負極にSnSiO3やSnSi1-XPXO3などの非晶質酸化物でサイクル特性を改善する提案がなされている(特許文献1)。しかし、さらなる十分にサイクル特性と容量の改善が求められている。
前述したように、従来の非水電解質二次電池においては、さらなるサイクル特性の向上および容量向上が求められている。 As described above, in the conventional non-aqueous electrolyte secondary battery, further improvement in cycle characteristics and capacity are required.
本発明は、このような要求に応じ、充放電サイクル性能に優れた負極を用いることにより高容量かつサイクル寿命の優れた非水電解質二次電池用負極活物質、負極、および非水電解質用二次電池を提供しようとするものである。 In response to such demands, the present invention provides a negative electrode active material for a non-aqueous electrolyte secondary battery having a high capacity and excellent cycle life by using a negative electrode excellent in charge / discharge cycle performance, a negative electrode, and a non-aqueous electrolyte secondary electrode. The next battery is to be provided.
本発明の請求項1の非水電解質二次電池は、正極と、アルカリ金属を吸蔵・放出する負極活物質を具備する負極と、前記正極および前記負極に挟まれた非水電解質とを有する非水電解質二次電池であり、これに用いる負極活物質として、下記の化学式(1)に表される組成を有し,Ce6Ni2Si3型をもつ合金を含む電極を用いることにより、高容量でかつサイクルの寿命向上に有効であることを見いだした。 A nonaqueous electrolyte secondary battery according to claim 1 of the present invention includes a positive electrode, a negative electrode including a negative electrode active material that absorbs and releases alkali metal, and a nonaqueous electrolyte sandwiched between the positive electrode and the negative electrode. As a negative electrode active material for a water electrolyte secondary battery, an electrode including an alloy having a composition represented by the following chemical formula (1) and having a Ce 6 Ni 2 Si 3 type is used. It has been found that it is effective in capacity and cycle life.
R6SixNiyM1z・・・化学式(1)
(Rは、La、Ca、Ce、Mg、Y、Ga、In、Pr、Nd、Sm、Zr、Nb、Pb及びHfよりなる群から選択される少なくとも一種類の元素であり、M1は、Co、Al、Cu、Ti、Fe、Mn、V、Zn、Mo、Ge、Cr、Cd、Sn、Sb、Ru、Pd、W、Ag及びTaよりなる群から選択される少なくとも一種類の元素であり、x、yおよびzは、それぞれ、2.5≦x≦3.5、1.5≦y≦2.5、0<z≦1.0である。)
本発明の非水電解質二次電池用負極は、前記で表される合金負極活物質を用いることにより、高容量、長寿命の負極が実現できる。なお前記負極活物質は黒鉛系材料との混合物とすることができる。
R 6 Si x Ni y M1 z Chemical formula (1)
(R is at least one element selected from the group consisting of La, Ca, Ce, Mg, Y, Ga, In, Pr, Nd, Sm, Zr, Nb, Pb and Hf, and M1 is Co And at least one element selected from the group consisting of Al, Cu, Ti, Fe, Mn, V, Zn, Mo, Ge, Cr, Cd, Sn, Sb, Ru, Pd, W, Ag, and Ta , X, y, and z are 2.5 ≦ x ≦ 3.5, 1.5 ≦ y ≦ 2.5, and 0 <z ≦ 1.0, respectively.
The negative electrode for a non-aqueous electrolyte secondary battery of the present invention can realize a negative electrode having a high capacity and a long life by using the above-described alloy negative electrode active material. The negative electrode active material can be a mixture with a graphite-based material.
また、本発明の非水電解質二次電池は、正極と、アルカリ金属を吸蔵・放出する負極活物質を具備する負極と、前記正極および前記負極に挟まれた非水電解質とを有する非水電解質二次電池であり、この負極活物質に前記で表される負極活物質を用いることにより、高容量、長寿命の2次電池が実現できる。 The nonaqueous electrolyte secondary battery of the present invention is a nonaqueous electrolyte having a positive electrode, a negative electrode comprising a negative electrode active material that absorbs and releases alkali metal, and a nonaqueous electrolyte sandwiched between the positive electrode and the negative electrode. A secondary battery having a high capacity and a long life can be realized by using the above-described negative electrode active material for the negative electrode active material.
請求項2の非水電解質二次電池は、請求項1において、前記負極活物質が、(Ce0.9La0.1)6Si3Ni2 、(Ce0.9La0.1)6Si2.8Ni2.2 、及び(Ce0.9La0.1)6Si3.3Ni1.5 から選ばれる合金であることを特徴とする。
請求項3の非水電解質二次電池は、請求項1において、前記負極活物質が、導電剤と共に銅箔の集電体表面に塗布して形成されることを特徴とする。
請求項4の非水電解質二次電池は、請求項1において、前記負極活物質が、80%以上がCe6Ni2Si3型の合金であることを特徴とする請求項1に記載の非水電解質二次電池。
The non-aqueous electrolyte secondary battery according to
The non-aqueous electrolyte secondary battery according to
The nonaqueous electrolyte secondary battery according to
以上詳述したように本発明によれば、放電容量およびサイクル寿命が改善されたリチウム二次電池用負極活物質、負極および2次電池を提供することができる。 As described above in detail, according to the present invention, it is possible to provide a negative electrode active material for a lithium secondary battery, a negative electrode, and a secondary battery with improved discharge capacity and cycle life.
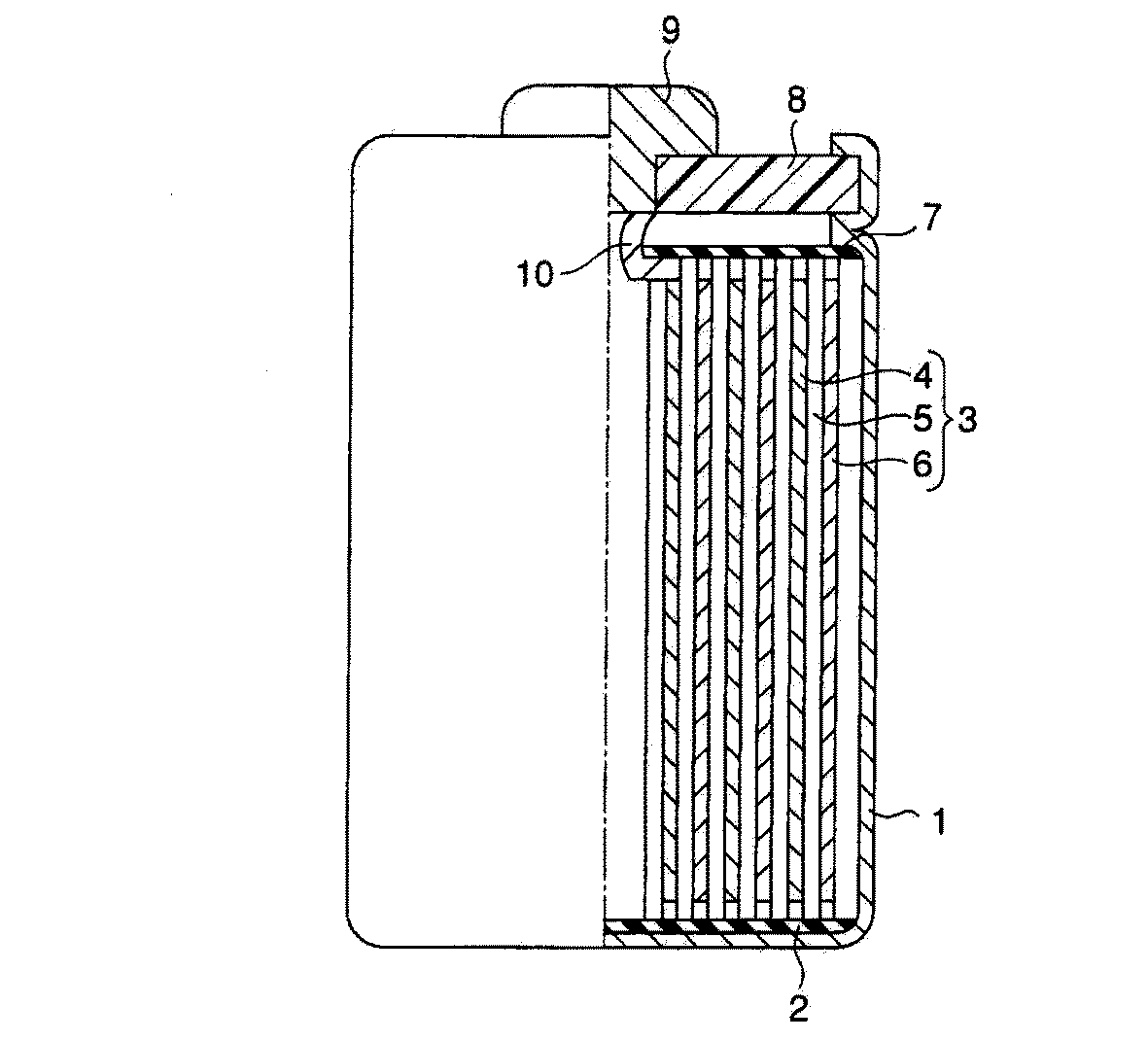
以下、本発明に係わる非水電解質二次電池(例えば円筒形非水電解質二次電池)図1を参照して詳細に説明する。 Hereinafter, a nonaqueous electrolyte secondary battery (for example, a cylindrical nonaqueous electrolyte secondary battery) according to the present invention will be described in detail with reference to FIG.
例えば、ステンレスからなる有底円筒状の容器1は、底部に絶縁体2が配置されている。電極群3は、前記容器1に収納されている。前記電極群3は、正極4、セパレータ5、負極6及セパレータ5を積層した帯状物を前記セパレータ5が外側に位置するように渦巻き状に捲回した構造になっている。
For example, a bottomed cylindrical container 1 made of stainless steel has an
前記容器1内には、電解液が収容されている。中央部が開口された絶縁紙7は、前記容器1内の前記電極群3の上方に配置されている。絶縁封口板8は、前記容器1の上部開口部に配置され、かつ前記上部開口部付近を内側にかしめ加工することにより前記封口板8は前記容器1に固定されている。正極端子9は、前記絶縁封口板8の中央には嵌合されている。正極リード10の一端は、前記正極4に、他端は前記正極端子9にそれぞれ接続されている。前記負極6は、図示しない負極リードを介して負極端子である前記容器1に接続されている。
An electrolytic solution is accommodated in the container 1. The
次に、前記正極4、前記セパレータ、前記負極6及び前記非水電解質について詳しく説明する。
Next, the
1) 正極4
正極4は、正極活物質に導電剤および結着剤を適当に溶媒に懸濁し、この懸濁物をアルミニウム箔などの集電体に塗布、乾燥、プレスして帯状電極にすることにより作製される。
1)
The
前記正極活物質は、種々の酸化物、硫化物が挙げられる。例えば、二酸化マンガン(MnO2)、リチウムマンガン複合酸化物(例えばLiMn2O4またはLiMnO2)、リチウムニッケル複合酸化物(例えばLiNiO2)、リチウムコバルト複合酸化物(LiCoO2)、リチウムニッケルコバルト複合酸化物(例えばLiNi1-xCoxO2)、リチウムマンガンコバルト複合酸化物(例えばLiMnxCo1-xO2)、バナジウム酸化物(例えばV2O5) などが挙げられる。 また、導電性ポリマー材料、ジスルフィド系ポリマー材料などの有機材料も挙げられる。より好ましい正極は、電池電圧が高いリチウムマンガン複合酸化物(LiMn2O4)、リチウムニッケル複合酸化物(LiNiO2)、リチウムコバルト複合酸化物(LiCoO2)、リチウムニッケルコバルト複合酸化物(LiNi0.8Co0.2O2)、リチウムマンガンコバルト複合酸化物(LiMnxCo1-xO2)などが挙げられる。 Examples of the positive electrode active material include various oxides and sulfides. For example, manganese dioxide (MnO 2 ), lithium manganese composite oxide (eg LiMn 2 O 4 or LiMnO 2 ), lithium nickel composite oxide (eg LiNiO 2 ), lithium cobalt composite oxide (LiCoO 2 ), lithium nickel cobalt composite Examples thereof include oxides (for example, LiNi 1-x Co x O 2 ), lithium manganese cobalt composite oxides (for example, LiMn x Co 1-x O 2 ), vanadium oxides (for example, V 2 O 5 ), and the like. Moreover, organic materials, such as a conductive polymer material and a disulfide-type polymer material, are also mentioned. More preferable positive electrodes include lithium manganese composite oxide (LiMn 2 O 4 ), lithium nickel composite oxide (LiNiO 2 ), lithium cobalt composite oxide (LiCoO 2 ), and lithium nickel cobalt composite oxide (LiNi 0.8 ) with high battery voltage. Co 0.2 O 2 ), lithium manganese cobalt composite oxide (LiMn x Co 1-x O 2 ), and the like.
導電剤としては、例えばアセチレンブラック、カーボンブラック、黒鉛等を挙げることができる。 Examples of the conductive agent include acetylene black, carbon black, and graphite.
前記結着剤としては、例えばポリテトラフルオロエチレン(PTFE)、ポリフッ化ビニリデン(PVdF)、フッ素系ゴムなどが挙げられる。 Examples of the binder include polytetrafluoroethylene (PTFE), polyvinylidene fluoride (PVdF), and fluorine-based rubber.
正極活物質、導電剤及び結着剤の配合比は、正極活物質80〜95重量%、導電剤3〜20重量%、結着剤2〜7重量%の範囲にすることが好ましい。 The compounding ratio of the positive electrode active material, the conductive agent and the binder is preferably in the range of 80 to 95% by weight of the positive electrode active material, 3 to 20% by weight of the conductive agent, and 2 to 7% by weight of the binder.
2) セパレータ5
セパレータは、正極および負極が接触するのを防止するためのものであり、絶縁性材料で構成される。さらに、正極および負極の間を電解質が移動可能な形状のものが使用される。具体的には、例えば合成樹脂製不織布、ポリエチレン多孔質フィルム、ポリプロピレン多孔質フィルムなどを挙げることができる。
2)
The separator is for preventing contact between the positive electrode and the negative electrode, and is made of an insulating material. Furthermore, a shape in which the electrolyte can move between the positive electrode and the negative electrode is used. Specific examples include a synthetic resin nonwoven fabric, a polyethylene porous film, and a polypropylene porous film.
3) 負極6
負極6は、例えば負極活物質、導電剤及び結着剤からなる負極合剤を適当な溶媒に懸濁して混合し、塗液としたものを集電体の片面もしくは両面に塗布し、乾燥することにより形成される。
3)
For the
本発明者らは負極活物質として種々の化合物を合成し、その特性を評価したところ、負極活物質として請求項1に示される化合物を用いることで非水電解質二次電池のサイクル特性の向上、および電池容量の向上が達成できることを確認し本発明にいたった。 The inventors of the present invention synthesized various compounds as the negative electrode active material and evaluated the characteristics thereof. By using the compound shown in claim 1 as the negative electrode active material, the cycle characteristics of the nonaqueous electrolyte secondary battery were improved. And it was confirmed that an improvement in battery capacity could be achieved, and the present invention was reached.
3−1) まず、請求項1に示される化合物を含有する負極活物質について説明する。この負極活物質の作製法としては高周波溶解法、アーク溶解法、焼結法、超急冷法、ストリップキャスト法、アトマイズ法、めっき法、CVD法、スパッタ法、メカニカル処理法、圧延法、あるいはゾル・ゲル法などが挙げられる。特に好ましくは、超急冷法、ストリップキャスト法、高周波溶解法が挙げられる。 3-1) First, a negative electrode active material containing the compound shown in claim 1 will be described. This negative electrode active material can be produced by a high frequency melting method, an arc melting method, a sintering method, a rapid quenching method, a strip casting method, an atomizing method, a plating method, a CVD method, a sputtering method, a mechanical processing method, a rolling method, or a sol -Gel method etc. are mentioned. Particularly preferred are a rapid quenching method, a strip casting method, and a high frequency dissolution method.
これらの方法はいずれも予め量りとった各素材を、不活性雰囲気中にてるつぼ内で溶解し、その後の冷却過程をそれぞれ変えたものである。すなわち、超急冷法は高速回転する冷却体上に合金溶湯を射出し、板厚10〜50μmのフレーク状試料を得る。ストリップキャスト法では、冷却体への単位時間あたりの溶湯供給量を超急冷法に比べて増やして、板厚100〜500μmのフレーク状試料を得る。条件によっては超急冷法で100μmまでの板厚のものも得ることができる。また、高周波溶解法では、鋳造する際に回転する冷却板上に溶湯を流し込めばよく、堆積する厚さを溶湯供給量と冷却板の移動速度で冷却速度を制御できる。得られたこれらの試料は、熱処理により組織、組成の均質化が実現でき、特にこれは鋳造した試料で顕著であり、ストリップキャスト法、あるいは超急冷法で得た試料は熱処理を行わなくてもよい。また、特にストリップキャスト法で得られた試料では柱状晶組織が得られやすく、寿命の観点からこの組織は好ましい。 In each of these methods, each material weighed in advance is dissolved in a crucible in an inert atmosphere, and the subsequent cooling process is changed. That is, in the ultra rapid cooling method, a molten alloy is injected onto a cooling body that rotates at high speed to obtain a flake sample having a thickness of 10 to 50 μm. In the strip casting method, the amount of molten metal supplied per unit time to the cooling body is increased as compared with the ultra rapid cooling method to obtain a flake sample having a plate thickness of 100 to 500 μm. Depending on the conditions, plate thicknesses of up to 100 μm can be obtained by the ultra-quenching method. In the high frequency melting method, the molten metal may be poured onto a rotating cooling plate during casting, and the cooling rate can be controlled by the molten metal supply amount and the moving speed of the cooling plate. These obtained samples can be homogenized in structure and composition by heat treatment, and this is particularly noticeable in cast samples. Samples obtained by strip casting or ultra-quenching method can be processed without heat treatment. Good. In particular, in the sample obtained by the strip cast method, a columnar crystal structure is easily obtained, and this structure is preferable from the viewpoint of life.
これらの試料には酸素濃度1000ppm以下入っていてもよい。また、Mgが500ppmまで含有されていてもよい。 These samples may contain an oxygen concentration of 1000 ppm or less. Further, Mg may be contained up to 500 ppm.
また更に合金においてLaまたはCeのいずれか1種を含むことが好ましく,La,Ceを共に含むことがより好ましい.また更に合金に置換する好ましい元素としては,Ca、Mg、Y、Pr、Nd、Zr、Nbが挙げられる.またM1においてより効果が挙げられる元素としてCo、Al、Cu、Ti、Fe、Mn、V、Zn、Sn、Sbが挙げられる。 Further, the alloy preferably contains any one of La and Ce, and more preferably contains both La and Ce. Further, preferable elements to substitute for the alloy include Ca, Mg, Y, Pr, Nd, Zr, and Nb. Examples of elements that can be more effective in M1 include Co, Al, Cu, Ti, Fe, Mn, V, Zn, Sn, and Sb.
負極活物質として、アルカリ金属の吸蔵能の高い炭素材料を添加し、前述した合金と、この炭素材料との混合物とすることで、アルカリ金属の吸蔵量を向上させることができる。このような負極活物質に用いる炭素材料としては黒鉛系の炭素材料が好ましく、より具体的にはメソフェーズピッチカーボンファイバー(MCF)などが好ましい。 By adding a carbon material having a high alkali metal occlusion capacity as the negative electrode active material and making a mixture of the above-described alloy and this carbon material, the occlusion amount of the alkali metal can be improved. As the carbon material used for such a negative electrode active material, a graphite-based carbon material is preferable, and more specifically, mesophase pitch carbon fiber (MCF) is preferable.
さらに、負極には使用される導電剤としては、通常炭素材料が使用される。前述した負極活物質に用いる炭素材料として、アルカリ金属の吸蔵性と導電性との両特性の高いものがあれば、負極活物質として用いる前述の炭素材料を導電剤と兼用させることが可能であるが、例示したメソフェーズピッチカーボンファイバーなどの炭素吸蔵性の高い黒鉛のみでは導電性が低くなるため、導電剤として使用される炭素材料としては、例えばアセチレンブラック、カーボンブラック等を負極に使用することが好ましい。 Further, as the conductive agent used for the negative electrode, a carbon material is usually used. If the carbon material used for the negative electrode active material described above has high alkali metal occlusion and conductivity, the carbon material used as the negative electrode active material can also be used as a conductive agent. However, since the conductivity is low only with graphite having high carbon storage properties such as the exemplified mesophase pitch carbon fiber, it is possible to use, for example, acetylene black, carbon black or the like as the negative electrode as the carbon material used as the conductive agent. preferable.
結着剤としては、例えばポリテトラフルオロエチレン(PTFE)、ポリフッ化ビニリデン(PVdF)、フッ素系ゴム、エチレン-ブタジエンゴム(SBR)、カルボキシメチルセルロース(CMC)などが挙げられる。 Examples of the binder include polytetrafluoroethylene (PTFE), polyvinylidene fluoride (PVdF), fluorine rubber, ethylene-butadiene rubber (SBR), carboxymethyl cellulose (CMC), and the like.
前記負極活物質、導電剤及び結着剤の配合比は、負極活物質70〜95重量%、導電剤0〜25重量%、結着剤2〜10重量%の範囲にすることが好ましい。 The compounding ratio of the negative electrode active material, the conductive agent and the binder is preferably in the range of 70 to 95% by weight of the negative electrode active material, 0 to 25% by weight of the conductive agent, and 2 to 10% by weight of the binder.
また、Ce6Ni2Si3型の合金以外の結晶も僅かではあるが混在していたが、これは全体(正極活物質)に対して80%以上がCe6Ni2Si3型の合金であれば、Ce6Ni2Si3型の合金以外の結晶の混入があっても、問題なく後述する効果(放電容量およびサイクル寿命の向上)を奏することができることも判明した。 In addition, crystals other than Ce 6 Ni 2 Si 3 type alloy were also present in a slight amount, but this was 80% or more of the whole (positive electrode active material) of Ce 6 Ni 2 Si 3 type alloy. It has also been found that the effects described later (improvement of discharge capacity and cycle life) can be achieved without problems even if crystals other than Ce 6 Ni 2 Si 3 type alloys are mixed.
4) 非水電解質
前記非水電解質は、非水溶媒に電解質を溶解することにより調製される液体状電解液または、高分子材料に前記非水溶媒と前記電解質を含有した高分子ゲル状電解質、前記電解質だけを含有した高分子固体電解質、リチウムイオン伝導性を有する無機固体電解質が挙げられる。
4) Nonaqueous electrolyte The nonaqueous electrolyte is a liquid electrolyte prepared by dissolving an electrolyte in a nonaqueous solvent, or a polymer gel electrolyte containing the nonaqueous solvent and the electrolyte in a polymer material, Examples thereof include a polymer solid electrolyte containing only the electrolyte and an inorganic solid electrolyte having lithium ion conductivity.
液状電解質としては、リチウム電池の非水溶媒に電解質としてリチウム塩を溶解したもので公知の非水溶媒を用いることができ、エチレンカーボネート(EC)やプロピレンカーボネート(PC)などの環状カーボネートや、環状カーボネートと環状カーボネートより低粘度の非水溶媒(以下第2の溶媒)との混合溶媒を主体とする非水溶媒を用いることが好ましい。 As the liquid electrolyte, a known nonaqueous solvent in which a lithium salt is dissolved as an electrolyte in a nonaqueous solvent of a lithium battery can be used, and cyclic carbonates such as ethylene carbonate (EC) and propylene carbonate (PC), and cyclic electrolytes can be used. It is preferable to use a non-aqueous solvent mainly composed of a mixed solvent of carbonate and a non-aqueous solvent having a viscosity lower than that of cyclic carbonate (hereinafter referred to as second solvent).
第2の溶媒としては、例えばジメチルカーボネート、メチルエチルカーボネート、ジエチルカーボネートなどの鎖状カーボネート、γ-ブチロラクトン、アセトニトリル、プロピオン酸メチル、プロピオン酸エチル、環状エーテルとしてテトラヒドロフラン、2-メチルテトラヒドロフランなど、鎖状エーテルとしてジメトキシエタン、ジエトキシエタンなどが挙げられる。 Examples of the second solvent include chain carbonates such as dimethyl carbonate, methyl ethyl carbonate, and diethyl carbonate, γ-butyrolactone, acetonitrile, methyl propionate, ethyl propionate, cyclic ether such as tetrahydrofuran, and 2-methyltetrahydrofuran. Examples of the ether include dimethoxyethane and diethoxyethane.
電解質としては、アルカリ塩が挙げられるが、とくにリチウム塩が挙げられる。リチウム塩として、六フッ化リン酸リチウム(LiPF6)、ホウフッ化リチウム(LiBF4)、六フッ化ヒ素リチウム(LiAsF6)、過塩素酸リチウム(LiClO4)、トリフルオロメタスルホン酸リチウム(LiCF3SO3)などが挙げられる。とくに、六フッ化リン酸リチウム(LiPF6)、ホウフッ化リチウム(LiBF4)が好ましい。前記電解質の前記非水溶媒に対する溶解量は、0.5〜2.0モル/Lとすることが好ましい。 Examples of the electrolyte include alkali salts, and particularly lithium salts. As lithium salts, lithium hexafluorophosphate (LiPF 6 ), lithium borofluoride (LiBF 4 ), lithium hexafluoroarsenide (LiAsF 6 ), lithium perchlorate (LiClO 4 ), lithium trifluorometasulfonate (LiCF 3 SO 3 ). In particular, lithium hexafluorophosphate (LiPF 6 ) and lithium borofluoride (LiBF 4 ) are preferable. The amount of the electrolyte dissolved in the non-aqueous solvent is preferably 0.5 to 2.0 mol / L.
ゲル状電解質として前記溶媒と前記電解質を高分子材料に溶解しゲル状にしたもので、高分子材料としてはポリアクリロニトリル、ポリアクリレート、ポリフッ化ビニリデン(PVdF)、ポリエチレンオキシド(PECO)などの単量体の重合体または他の単量体との共重合体が挙げられる。 The solvent and the electrolyte are dissolved in a polymer material as a gel electrolyte to form a gel, and the polymer material is a single amount such as polyacrylonitrile, polyacrylate, polyvinylidene fluoride (PVdF), polyethylene oxide (PECO), etc. And polymers with other monomers.
固体電解質としては、前記電解質を高分子材料に溶解し、固体化したものである。高分子材料としてはポリアクリロニトリル、ポリフッ化ビニリデン(PVdF)、ポリエチレンオキシド(PEO)などの単量体の重合体または他の単量体との共重合体が挙げられる。また、無機固体電解質として、リチウムを含有したセラミック材料が挙げられる。なかでもLi3N、Li3PO4-Li2S-SiS2ガラスなどが挙げられる。 As the solid electrolyte, the electrolyte is dissolved in a polymer material and solidified. Examples of the polymer material include polymers of monomers such as polyacrylonitrile, polyvinylidene fluoride (PVdF), polyethylene oxide (PEO), and copolymers with other monomers. Moreover, the ceramic material containing lithium is mentioned as an inorganic solid electrolyte. Among them, Li 3 N, Li 3 PO 4 —Li 2 S—SiS 2 glass and the like can be mentioned.
なお、前述した図1において、円筒形非水電解質二次電池に適用した例を説明したが、角型非水電解質二次電池にも同様に適用できる。また、前記電池の容器内に収納される電極群は、渦巻形に限らず、正極、セパレータ及び負極をこの順序で複数積層した形態にしてもよい。 In addition, in FIG. 1 mentioned above, although the example applied to the cylindrical nonaqueous electrolyte secondary battery was demonstrated, it can apply similarly to a square type nonaqueous electrolyte secondary battery. The electrode group housed in the battery container is not limited to the spiral shape, and a plurality of positive electrodes, separators, and negative electrodes may be stacked in this order.
以下、本発明の実施例は前述した図1の構造を有する電池となっている。各部分の詳細な説明は同一名称を使用して説明する。 The embodiment of the present invention is a battery having the structure shown in FIG. Detailed description of each part will be described using the same name.
実施例1〜20
<正極の作製>
まず、正極活物質のリチウムコバルト酸化物(LiCoO2)粉末90重量%をアセチレンブラック2重量%、グラファイト3.5重量%、ポリフッ化ビニリデン(PVdF)3重量%と、N−メチルピロリドン(NMP)溶液を加えて混合し、厚さ18μmのアルミニウム箔の集電体に塗布し、乾燥後、プレスすることにより電極密度3.2g/cm3の正極を作製した。
Examples 1-20
<Preparation of positive electrode>
First, 90% by weight of lithium cobalt oxide (LiCoO 2 ) powder as a positive electrode active material, 2 % by weight of acetylene black, 3.5% by weight of graphite, 3% by weight of polyvinylidene fluoride (PVdF), and N-methylpyrrolidone (NMP) The solution was added and mixed, applied to a current collector of aluminum foil having a thickness of 18 μm, dried, and pressed to produce a positive electrode having an electrode density of 3.2 g / cm 3 .
<合金の作製>
負極活物質としては、下記表1に示す組成比率で所定量の元素を混合し、高周波溶解にて合金を作成後,さらに鋳造後に融点直下にて熱処理を行って試料を作製した.
<負極の作製>
前記合金粉末80重量%に導電剤としてのグラファイト10重量%、同じく導電剤としてのアセチレンブラック5重量%、PVdF5重量%とNMP溶液とを加えて混合し、厚さ15μmの銅箔からなる集電体に塗布し、乾燥し、プレスすることにより負極を作製した。
<Preparation of alloy>
As the negative electrode active material, a predetermined amount of elements were mixed at the composition ratio shown in Table 1 below, an alloy was prepared by high frequency melting, and a heat treatment was performed immediately below the melting point after casting to prepare a sample.
<Production of negative electrode>
A current collector made of copper foil having a thickness of 15 μm is mixed by adding 80% by weight of the alloy powder, 10% by weight of graphite as a conductive agent, 5% by weight of acetylene black as a conductive agent, 5% by weight of PVdF, and an NMP solution. The negative electrode was produced by applying to the body, drying and pressing.
<電極群の作製>
前記正極、ポリエチレン製多孔質フィルムからなるセパレータ、前記負極、及び前記セパレータをそれぞれこの順序で積層した後、前記負極が最外周に位置するように渦巻き状に捲回して電極群を作製した。
<Production of electrode group>
The positive electrode, a separator made of a polyethylene porous film, the negative electrode, and the separator were laminated in this order, and then wound in a spiral shape so that the negative electrode was located on the outermost periphery, thereby producing an electrode group.
<非水電解液の調整>
さらに、エチレンカーボネート(EC)とメチルエチルカーボネート(MEC)の混合溶媒に(混合体積比率1:2)に六フッ化リン酸リチウム(LiPF6)を1.5モル/L溶解して非水電解液を調整した。
<Adjustment of non-aqueous electrolyte>
Furthermore, 1.5 mol / L of lithium hexafluorophosphate (LiPF 6 ) was dissolved in a mixed solvent of ethylene carbonate (EC) and methyl ethyl carbonate (MEC) (mixing volume ratio 1: 2) to perform non-aqueous electrolysis. The liquid was adjusted.
前記電極群及び前記電解液をステンレス製の有底円筒状容器内にそれぞれ収納して前述した図1に示す円筒形非水電解質二次電池を組み立てた。 The electrode group and the electrolytic solution were respectively stored in a bottomed cylindrical container made of stainless steel, and the above-described cylindrical nonaqueous electrolyte secondary battery shown in FIG. 1 was assembled.
得られた二次電池については、測定環境温度を30℃と設定し、充電電流1Cで4.2Vまで3時間充電後、3.0Vまで1Cで放電する試験において、体積当たりの初期容量、およびこの放電サイクルを250回繰り返した時の容量維持率(1回目の容量を100とした時の250サイクル目の容量)を測定した。その結果を表1に示す。 For the obtained secondary battery, in the test in which the measurement environmental temperature is set to 30 ° C., the battery is charged at 4.2 C with a charging current of 1 C for 3 hours, and then discharged at 1 C to 3.0 V, and The capacity retention ratio (capacity at the 250th cycle when the first capacity is 100) when this discharge cycle was repeated 250 times was measured. The results are shown in Table 1.
1‥容器
3‥電極群
4‥正極
5‥セパレータ
6‥負極
8‥封口板
DESCRIPTION OF SYMBOLS 1 ...
Claims (4)
前記負極活物質は、下記の化学式(1)に表される組成を有しかつCe5Ni2Si3型を有する合金を含むことを特徴とする非水電解質二次電池。
R2SixNiyM1z ・・・化学式(1)
但し、Rは、La、Ca、Ce、Mg、Y、Ga、In、Pr、Nd、Sm、Zr、Nb、Pb及びHfよりなる群から選択される少なくとも一種類の元素であり、M1は、Co、Al、Cu、Ti、Fe、Mn、V、Zn、Mo、Ge、Cr、Cd、Sn、Sb、Ru、Pd、W、Ag及びTaよりなる群から選択される少なくとも一種類の元素であり、x、yおよびzは、それぞれ、0.5≦x≦1.5、0.5≦y≦1.5、0<z≦0.5である。 In a non-aqueous electrolyte secondary battery having a positive electrode, a negative electrode comprising a negative electrode active material that occludes / releases alkali metal, and a non-aqueous electrolyte sandwiched between the positive electrode and the negative electrode,
The negative active material, a non-aqueous electrolyte secondary battery which comprises an alloy having a having a composition and Ce 5 Ni 2 Si 3 type represented in the following chemical formula (1).
R 2 Si x Ni y M1 z Chemical formula (1)
However, R is at least one element selected from the group consisting of La, Ca, Ce, Mg, Y, Ga, In, Pr, Nd, Sm, Zr, Nb, Pb and Hf, and M1 is At least one element selected from the group consisting of Co, Al, Cu, Ti, Fe, Mn, V, Zn, Mo, Ge, Cr, Cd, Sn, Sb, Ru, Pd, W, Ag, and Ta X, y, and z are 0.5 ≦ x ≦ 1.5, 0.5 ≦ y ≦ 1.5, and 0 <z ≦ 0.5, respectively.
2. The non-aqueous electrolyte secondary battery according to claim 1, wherein 80% or more of the negative electrode active material is a Ce 5 Ni 2 Si 3 type alloy.
Priority Applications (1)
| Application Number | Priority Date | Filing Date | Title |
|---|---|---|---|
| JP2004108056A JP4077423B2 (en) | 2004-03-31 | 2004-03-31 | Nonaqueous electrolyte secondary battery |
Applications Claiming Priority (1)
| Application Number | Priority Date | Filing Date | Title |
|---|---|---|---|
| JP2004108056A JP4077423B2 (en) | 2004-03-31 | 2004-03-31 | Nonaqueous electrolyte secondary battery |
Publications (2)
| Publication Number | Publication Date |
|---|---|
| JP2005294068A true JP2005294068A (en) | 2005-10-20 |
| JP4077423B2 JP4077423B2 (en) | 2008-04-16 |
Family
ID=35326762
Family Applications (1)
| Application Number | Title | Priority Date | Filing Date |
|---|---|---|---|
| JP2004108056A Expired - Fee Related JP4077423B2 (en) | 2004-03-31 | 2004-03-31 | Nonaqueous electrolyte secondary battery |
Country Status (1)
| Country | Link |
|---|---|
| JP (1) | JP4077423B2 (en) |
Cited By (3)
| Publication number | Priority date | Publication date | Assignee | Title |
|---|---|---|---|---|
| JP2008135364A (en) * | 2006-11-27 | 2008-06-12 | Samsung Sdi Co Ltd | Negative electrode active material for lithium secondary battery and lithium secondary battery including the same |
| US8835051B2 (en) | 2007-04-05 | 2014-09-16 | Samsung Sdi Co., Ltd. | Negative active material for rechargeable lithium battery, method for preparing same, and rechargeable lithium battery including same |
| US8835053B2 (en) | 2007-03-21 | 2014-09-16 | Samsung Sdi Co., Ltd. | Negative active material containing an intermetallic compound of silicon and a first metal and a metal matrix containing copper and aluminum for rechargeable lithium battery and rechargeable lithium battery containing the negative active material |
-
2004
- 2004-03-31 JP JP2004108056A patent/JP4077423B2/en not_active Expired - Fee Related
Cited By (4)
| Publication number | Priority date | Publication date | Assignee | Title |
|---|---|---|---|---|
| JP2008135364A (en) * | 2006-11-27 | 2008-06-12 | Samsung Sdi Co Ltd | Negative electrode active material for lithium secondary battery and lithium secondary battery including the same |
| US8574764B2 (en) | 2006-11-27 | 2013-11-05 | Samsung Sdi Co., Ltd. | Negative active material including silicon active particles surrounded by copper, aluminum and tin metal matrix and rechargeable lithium battery including the same |
| US8835053B2 (en) | 2007-03-21 | 2014-09-16 | Samsung Sdi Co., Ltd. | Negative active material containing an intermetallic compound of silicon and a first metal and a metal matrix containing copper and aluminum for rechargeable lithium battery and rechargeable lithium battery containing the negative active material |
| US8835051B2 (en) | 2007-04-05 | 2014-09-16 | Samsung Sdi Co., Ltd. | Negative active material for rechargeable lithium battery, method for preparing same, and rechargeable lithium battery including same |
Also Published As
| Publication number | Publication date |
|---|---|
| JP4077423B2 (en) | 2008-04-16 |
Similar Documents
| Publication | Publication Date | Title |
|---|---|---|
| KR100966666B1 (en) | Nonaqueous electrolyte battery | |
| US8808920B2 (en) | Positive electrode active material, positive electrode, nonaqueous electrolyte cell, and method of preparing positive electrode active material | |
| JP5389143B2 (en) | Non-aqueous electrolyte battery | |
| JP3385516B2 (en) | Non-aqueous polymer battery and method for producing polymer film for non-aqueous polymer battery | |
| JP3535454B2 (en) | Non-aqueous electrolyte secondary battery | |
| JP2004139743A (en) | Nonaqueous electrolyte secondary battery | |
| JP2005228565A (en) | Electrolyte and battery | |
| EP1022797A1 (en) | Polymer electrolyte battery and polymer electrolyte | |
| JP3525553B2 (en) | Non-aqueous polymer battery | |
| KR100541896B1 (en) | Battery with Nonaqueous Electrolyte | |
| JP4127692B2 (en) | Nonaqueous electrolyte secondary battery | |
| JP2004335439A (en) | Non-aqueous electrolyte secondary battery | |
| JP3848187B2 (en) | Anode material for non-aqueous electrolyte secondary battery and non-aqueous electrolyte secondary battery | |
| JP4197610B2 (en) | Non-aqueous electrolyte battery electrode material and non-aqueous electrolyte battery | |
| JP4077423B2 (en) | Nonaqueous electrolyte secondary battery | |
| JP2002110152A (en) | Non-aqueous electrolyte secondary battery | |
| JP4128972B2 (en) | Nonaqueous electrolyte secondary battery | |
| JP4077422B2 (en) | Nonaqueous electrolyte secondary battery | |
| JP2004193005A (en) | Electrode material for non-aqueous electrolyte battery, electrode and non-aqueous electrolyte battery | |
| JP3984184B2 (en) | Nonaqueous electrolyte secondary battery | |
| JP2004185881A (en) | Electrode material for non-aqueous electrolyte battery, electrode and non-aqueous electrolyte battery | |
| JP4016712B2 (en) | Lithium ion conductive polymer electrolyte and polymer electrolyte battery using the same | |
| JP2006216450A (en) | battery | |
| JP2008077886A (en) | Non-aqueous electrolyte battery | |
| JP3648458B2 (en) | Non-aqueous electrolyte battery |
Legal Events
| Date | Code | Title | Description |
|---|---|---|---|
| A977 | Report on retrieval |
Free format text: JAPANESE INTERMEDIATE CODE: A971007 Effective date: 20070720 |
|
| A131 | Notification of reasons for refusal |
Free format text: JAPANESE INTERMEDIATE CODE: A131 Effective date: 20071016 |
|
| RD03 | Notification of appointment of power of attorney |
Free format text: JAPANESE INTERMEDIATE CODE: A7423 Effective date: 20071128 |
|
| A521 | Written amendment |
Free format text: JAPANESE INTERMEDIATE CODE: A523 Effective date: 20071217 |
|
| TRDD | Decision of grant or rejection written | ||
| A01 | Written decision to grant a patent or to grant a registration (utility model) |
Free format text: JAPANESE INTERMEDIATE CODE: A01 Effective date: 20080122 |
|
| A61 | First payment of annual fees (during grant procedure) |
Free format text: JAPANESE INTERMEDIATE CODE: A61 Effective date: 20080131 |
|
| FPAY | Renewal fee payment (event date is renewal date of database) |
Free format text: PAYMENT UNTIL: 20110208 Year of fee payment: 3 |
|
| FPAY | Renewal fee payment (event date is renewal date of database) |
Free format text: PAYMENT UNTIL: 20120208 Year of fee payment: 4 |
|
| FPAY | Renewal fee payment (event date is renewal date of database) |
Free format text: PAYMENT UNTIL: 20120208 Year of fee payment: 4 |
|
| FPAY | Renewal fee payment (event date is renewal date of database) |
Free format text: PAYMENT UNTIL: 20130208 Year of fee payment: 5 |
|
| FPAY | Renewal fee payment (event date is renewal date of database) |
Free format text: PAYMENT UNTIL: 20140208 Year of fee payment: 6 |
|
| LAPS | Cancellation because of no payment of annual fees |
