JP2005292852A - Driving method of plasma display panel - Google Patents

Driving method of plasma display panel Download PDF

Info

Publication number
JP2005292852A
JP2005292852A JP2005158231A JP2005158231A JP2005292852A JP 2005292852 A JP2005292852 A JP 2005292852A JP 2005158231 A JP2005158231 A JP 2005158231A JP 2005158231 A JP2005158231 A JP 2005158231A JP 2005292852 A JP2005292852 A JP 2005292852A
Authority
JP
Japan
Prior art keywords
electrode
sustain
discharge
voltage
data
Prior art date
Legal status (The legal status is an assumption and is not a legal conclusion. Google has not performed a legal analysis and makes no representation as to the accuracy of the status listed.)
Pending
Application number
JP2005158231A
Other languages
Japanese (ja)
Inventor
Eiji Mizobata
英司 溝端
Current Assignee (The listed assignees may be inaccurate. Google has not performed a legal analysis and makes no representation or warranty as to the accuracy of the list.)
Pioneer Corp
Original Assignee
Pioneer Electronic Corp
Priority date (The priority date is an assumption and is not a legal conclusion. Google has not performed a legal analysis and makes no representation as to the accuracy of the date listed.)
Filing date
Publication date
Application filed by Pioneer Electronic Corp filed Critical Pioneer Electronic Corp
Priority to JP2005158231A priority Critical patent/JP2005292852A/en
Publication of JP2005292852A publication Critical patent/JP2005292852A/en
Pending legal-status Critical Current

Links

Images

Landscapes

  • Control Of Indicators Other Than Cathode Ray Tubes (AREA)
  • Control Of Gas Discharge Display Tubes (AREA)

Abstract

<P>PROBLEM TO BE SOLVED: To provide a driving method of a plasma display panel, capable of driving the panel without raising sustain pulse voltage, even if the data pulses of a non-self-scanning electrode line are applied after the scanning pulse of a self-scanning electrode line is applied, when a scanning pulse width is reduced. <P>SOLUTION: A potential fixed electrode 34 is provided at a position facing a sustaining electrode 23 via a discharge space cell 26, the potential difference of the sustain electrode 23 during a scanning period and the potential fixed electrode 34 is set larger than opposing discharge start voltage, when the sustaining electrode is a cathode. Moreover, in a conventional three-electrode type cell, the potential difference of the sustaining electrode 23 during the scanning period and a data electrode 29 is set higher than the facing discharge start voltage. <P>COPYRIGHT: (C)2006,JPO&NCIPI

Description

本発明は、プラズマディスプレイパネルの駆動方法に関し、特に、AC型プラズマディスプレイパネルの駆動方法に関する。   The present invention relates to a method for driving a plasma display panel, and more particularly, to a method for driving an AC plasma display panel.

近年、携帯電話を初めとする情報電子機器が、世の中に広く用いられていることは、周知の事実である。また、これらの情報電子機器のうち、壁掛けテレビや公共表示板などの表示装置もよく知られている。   In recent years, it is a well-known fact that information electronic devices such as mobile phones are widely used in the world. Of these information electronic devices, display devices such as wall-mounted televisions and public display boards are well known.

さらにまた、壁掛けテレビや公共表示板などの表示装置は、フラットディスプレイとして、注目を浴びていることも周知の事実である。   Furthermore, it is a well-known fact that display devices such as wall-mounted televisions and public display boards are attracting attention as flat displays.

そして、一般的に、フラットディスプレイとして、上述した壁掛けテレビや公共表示板などに利用されているプラズマディスプレイパネル(以下、PDPとも略称する)も、よく知られている。   In general, a plasma display panel (hereinafter also abbreviated as PDP) used for the above-described wall-mounted television, public display board, and the like is also well known as a flat display.

このPDPは、薄型で大画面表示が比較的容易にできること、視野角が広いこと、応答速度が速いことなど、数多くの特長を有している。   This PDP has many features such as being thin and capable of displaying a large screen relatively easily, having a wide viewing angle, and having a high response speed.

このため、上述したように、このPDPは、フラットディスプレイとして、壁掛けテレビや公共表示板などとして利用されている。   For this reason, as described above, this PDP is used as a flat display, as a wall-mounted television, a public display board, or the like.

PDPは、その動作方式により、電極が放電空間(放電ガス)に露出して直流放電の状態で動作させる直流放電型(DC型)と、電極が誘電体層に被覆されて放電ガスには直接露出させず、交流放電の状態で動作させる交流放電型(AC型)とに分類される。DC型では電圧が印加されている期間中放電が発生し、AC型では電圧の極性を反転させることにより放電を持続させる。さらに、AC型には、1セル内の電極数が2電極のものと3電極のものがある。   The PDP has a DC discharge type (DC type) in which an electrode is exposed to a discharge space (discharge gas) and operates in a DC discharge state, and an electrode is covered with a dielectric layer so that the discharge gas is directly applied to the discharge gas. It is classified into an AC discharge type (AC type) that is operated without being exposed and in an AC discharge state. In the DC type, discharge is generated during a period in which the voltage is applied, and in the AC type, the discharge is sustained by reversing the polarity of the voltage. Further, the AC type includes two electrodes in one cell and three electrodes.

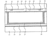
ここで、従来の3電極AC型プラズマディスプレイパネルの構造及び駆動方法について述べる。図15は従来のプラズマディスプレイパネルの一例を示すセル断面図である。   Here, the structure and driving method of a conventional three-electrode AC type plasma display panel will be described. FIG. 15 is a cell sectional view showing an example of a conventional plasma display panel.

AC3電極型プラズマディスプレイパネルは、相互に対向する前面基板20と背面基板21と、双方の基板間20、21間に配置された複数の走査電極22、維持電極23及びデータ電極29と、走査電極22、維持電極23及びデータ電極29の各交差部分に行列状に配置された表示セルとを有する。   The AC3 electrode type plasma display panel includes a front substrate 20 and a rear substrate 21 facing each other, a plurality of scan electrodes 22, a sustain electrode 23 and a data electrode 29 disposed between the two substrates 20, 21, and a scan electrode. 22, display cells arranged in a matrix at each intersection of the sustain electrode 23 and the data electrode 29.

前面基板20としてガラス基板等を用い、走査電極22と維持電極23が所定の間隔を隔てて設けられている。走査電極22と維持電極23の上には配線抵抗を下げるために金属電極32が積層されている。これらの上には透明誘電体層24と、透明誘電体層24を放電から保護するMgO等からなる保護層25が形成されている。一方、背面基板21としてガラス基板等を用い、データ電極29が走査電極22や維持電極23と直交するように設けられている。さらに、データ電極29上には白色誘電体層28、蛍光体層27が設けられている。2枚のガラス基板の間には各セルを囲うように井桁の間隔33が形成されている。隔壁は放電空間26を確保するとともに画素を区切る役割を果たしている。放電空間26内にはHe、Ne、Xe等の混合ガスが放電ガスとして封入されている。   A glass substrate or the like is used as the front substrate 20, and the scan electrodes 22 and the sustain electrodes 23 are provided at a predetermined interval. A metal electrode 32 is laminated on the scan electrode 22 and the sustain electrode 23 in order to reduce the wiring resistance. On these, a transparent dielectric layer 24 and a protective layer 25 made of MgO or the like for protecting the transparent dielectric layer 24 from discharge are formed. On the other hand, a glass substrate or the like is used as the back substrate 21, and the data electrodes 29 are provided so as to be orthogonal to the scan electrodes 22 and the sustain electrodes 23. Further, a white dielectric layer 28 and a phosphor layer 27 are provided on the data electrode 29. A gap 33 is formed between the two glass substrates so as to surround each cell. The partition plays a role of securing the discharge space 26 and partitioning the pixels. A mixed gas such as He, Ne, and Xe is sealed in the discharge space 26 as a discharge gas.

図14に従来の3電極AC型プラズマディスプレイパネルの平面図を示す。走査電極22の個々の電極Si及び維持電極23の個々の電極Ci(i=1〜m)と、データ電極29の個々の電極Dj(j=1〜n)との各交差部分に、表示セル31が行列状に配置される。   FIG. 14 is a plan view of a conventional three-electrode AC plasma display panel. A display cell is provided at each intersection of each electrode Si of the scan electrode 22 and each electrode Ci (i = 1 to m) of the sustain electrode 23 and each electrode Dj (j = 1 to n) of the data electrode 29. 31 are arranged in a matrix.

次にPDPの駆動方法について説明する。現在、主流なのが走査期間と維持期間が分離されている走査維持分離方式(ADS方式)である。以下、この走査維持分離方式の駆動方法について説明する。図16は、3電極AC型プラズマディスプレイパネルの1サブフィールド(以下、SFと略称する)の駆動波形図の一例である。1サブフィールドは予備放電期間2、走査期間3、及び維持期間4の3つの期間で構成されている。   Next, a method for driving the PDP will be described. Currently, the mainstream is the scan sustaining separation method (ADS method) in which the scanning period and the sustaining period are separated. Hereinafter, a driving method of this scanning maintenance separation method will be described. FIG. 16 is an example of a driving waveform diagram of one subfield (hereinafter abbreviated as SF) of a three-electrode AC plasma display panel. One subfield includes three periods of a preliminary discharge period 2, a scanning period 3, and a sustain period 4.

まず、予備放電期間2について説明する。予備放電期間2の前には、前サブフィールドの維持期間1が存在し、そこで維持放電が行なわれているかいないかで、セル内の各電極上の誘電体層の上に、放電によって発生する電荷である壁電荷の形成量が異なる。   First, the preliminary discharge period 2 will be described. Before the preliminary discharge period 2, there is a sustain period 1 of the previous subfield, and whether or not the sustain discharge is performed there occurs on the dielectric layer on each electrode in the cell by discharge. The amount of wall charges that are charges differs.

このまま次の書込みを行なうと、この異なる壁電荷量の影響を受け、書込み放電をしづらくなったり、誤って書込みを行なってしまったりする。予備放電期間2の役割の一つは、このような前サブフィールドの維持期間1での点灯状態によって異なるセル内の誘電体層上に放電によって発生する電荷である壁電荷状態を初期化リセットすることである。また、この他、表示データに基づいて線順次にデータを書込む際に放電を行ないやすくするプライミング効果を発生させる役割がある。   If the next address is performed as it is, it is difficult to cause an address discharge due to the influence of the different wall charges, or the address is erroneously performed. One of the roles of the preliminary discharge period 2 is to reset the wall charge state, which is the charge generated by the discharge, on the dielectric layer in the different cell depending on the lighting state in the sustain period 1 of the previous subfield. That is. In addition, there is a role of generating a priming effect that facilitates discharge when data is written line-sequentially based on display data.

次に走査期間3に入る。走査ベース電圧Vbwは80〜110V程度であり、維持電圧Vsは170V程度である。走査期間3では、走査電極22の個々の電極(S1〜Sm)に順次、走査パルス6が印加される。この走査パルス6に合わせて、データ電極29の個々の電極(D1〜Dn)に表示パターンに応じてデータパルス7が印加される。   Next, the scanning period 3 starts. The scan base voltage Vbw is about 80 to 110V, and the sustain voltage Vs is about 170V. In the scanning period 3, the scanning pulse 6 is sequentially applied to the individual electrodes (S 1 to Sm) of the scanning electrode 22. The data pulse 7 is applied to the individual electrodes (D1 to Dn) of the data electrode 29 according to the display pattern in accordance with the scanning pulse 6.

データパルス7が印加された画素では、走査電極22とデータ電極29の間に高い電圧が印加されるので、電圧印加後、ある程度の遅れ(放電遅れと呼ぶ)を伴って走査電極22とデータ電極29の間で書込放電が発生し、走査電極22側には正の壁電荷が形成される。この放電に伴い、正極性電位に大きくバイアスされている維持電極23と走査電極22の間でも電荷の移動が発生し、維持電極23には負の壁電荷が形成される。   In the pixel to which the data pulse 7 is applied, since a high voltage is applied between the scan electrode 22 and the data electrode 29, the scan electrode 22 and the data electrode are accompanied by a certain delay (referred to as a discharge delay) after the voltage application. An address discharge occurs between the electrodes 29 and positive wall charges are formed on the scanning electrode 22 side. As a result of this discharge, charge movement also occurs between the sustain electrode 23 and the scan electrode 22 that are largely biased to a positive potential, and a negative wall charge is formed on the sustain electrode 23.

一方、データパルス7が印加されない画素では、印加電圧が低くなるので放電が発生せず、壁電荷の状況は変化しない。このように、データパルス7の有無により、2種類の壁電荷の状況を作り出すことができる。   On the other hand, in the pixel to which the data pulse 7 is not applied, the applied voltage is low, so that no discharge occurs and the wall charge state does not change. Thus, two types of wall charge situations can be created depending on the presence or absence of the data pulse 7.

走査パルス6を全ラインに印加し終わると維持期間4に移る。維持パルスは全走査電極22と全Y電極23に交互に印加される。維持パルスの電圧値Vsは、
書込み放電の発生しなかった画素では、走査電極22と維持電極23との間の放電(面放電と呼ぶ)が開始しない電圧に設定してある。ここでは170Vである。
When the scan pulse 6 is applied to all lines, the sustain period 4 is started. The sustain pulse is alternately applied to all scan electrodes 22 and all Y electrodes 23. The voltage value Vs of the sustain pulse is
In a pixel where no address discharge has occurred, the voltage is set such that the discharge (referred to as surface discharge) between the scan electrode 22 and the sustain electrode 23 does not start. Here, it is 170V.

一方、書込放電が発生した画素では、走査電極22側には正壁電荷があり、維持電極23側には負壁電荷が存在するため、走査電極22に印加されるはじめの正の維持パルス(第一維持パルスと呼ぶ)に、この正負の壁電荷が重畳され、放電開始電圧以上の電圧が放電空間に印加され、維持放電が発生する。この放電により、走査電極22側には負の壁電荷が蓄積され、維持電極23側には正の壁電荷が蓄積される。   On the other hand, in the pixel where the write discharge has occurred, positive wall charges are present on the scan electrode 22 side and negative wall charges are present on the sustain electrode 23 side. Therefore, the first positive sustain pulse applied to the scan electrode 22 is present. The positive and negative wall charges are superimposed on (referred to as the first sustain pulse), a voltage equal to or higher than the discharge start voltage is applied to the discharge space, and a sustain discharge is generated. Due to this discharge, negative wall charges are accumulated on the scan electrode 22 side, and positive wall charges are accumulated on the sustain electrode 23 side.

次の維持パルス(第二維持パルスと呼ぶ)は維持電極23側に印加され、上記の壁電荷が重畳されることから維持放電がここでも発生し、第一維持パルスとは逆の極性の壁電荷が、走査電極22側と維持電極23側に蓄積される。これ以降も同様の原理で放電が持続的に発生する。つまりx回目の維持放電により発生した壁電荷による電位差が、(x+1)回目の維持パルスに重畳され維持放電が持続している。この維持放電の持続回数により発光輝度が決定される。   The next sustain pulse (referred to as the second sustain pulse) is applied to the sustain electrode 23 side, and the above-mentioned wall charges are superimposed, so that a sustain discharge is generated here, and the wall has the opposite polarity to the first sustain pulse. Electric charges are accumulated on the scan electrode 22 side and the sustain electrode 23 side. Subsequent discharges are continuously generated on the same principle. That is, the potential difference due to the wall charges generated by the xth sustain discharge is superimposed on the (x + 1) th sustain pulse, and the sustain discharge continues. The light emission luminance is determined by the number of sustain discharges.

以上の予備放電期間2、走査期間3、維持期間4を合わせてサブフィールドと呼ぶ。階調表示を行う場合、1画面の画像情報を表示する期間である1フィールドが、この複数のサブフィードから構成されている。各サブフィールドの維持パルス数を変え、各サブフィールドを点灯させるか非点灯にするかによって階調表示を行うことができる。
特開平07−295507号
The preliminary discharge period 2, the scanning period 3, and the sustain period 4 are collectively referred to as a subfield. When gradation display is performed, one field, which is a period for displaying image information of one screen, is composed of the plurality of sub-feeds. Gray scale display can be performed by changing the number of sustain pulses in each subfield and lighting each subfield.
JP 07-295507 A

ところで、上記のような走査維持分離AC型プラズマディスプレイパネルの駆動方法では、各走査ラインに画像信号に対応して書込み放電を発生させるために、画像信号に対応して、データパルスが順次、走査期間中に印加される。   By the way, in the driving method of the scan maintaining separation AC type plasma display panel as described above, in order to generate an address discharge corresponding to the image signal in each scanning line, the data pulse is sequentially scanned corresponding to the image signal. Applied during the period.

したがって、データ電極電位は、走査期間中、画像信号に対応して変動することになる。書込み放電により、各電極上に形成される壁電荷は、走査パルス終了後の各電極の電位に影響される。   Therefore, the data electrode potential varies corresponding to the image signal during the scanning period. The wall charge formed on each electrode by the address discharge is affected by the potential of each electrode after the end of the scan pulse.

したがって、書込み放電の終了した走査電極ライン以降のデータパルスの印加状態によって、各電極上に形成される壁電荷は異なってくる。特に走査パルス幅を短くした場合は影響が大きい。パネルが高精細になり、走査ライン本数の増加に伴い、走査パルス幅の縮小をしなくてはならなくなると、この走査パルス印加終了後に次の走査電極ラインに書込み放電を発生させるためのデータパルスが印加されない場合は正常に動作していても、データパルスが印加されると、書込み放電は発生するものの、維持期間において維持放電が発生しなくなったり、表示がちらついたりする。これを改善するためには、維持パルス電圧を高くしなければならない。しかし、維持パルス電圧を高くすると、消費電力の増大を招いたり、高耐圧の高価なドライバーを使わなくてはならずコストの増大を招いたりする。   Accordingly, the wall charges formed on each electrode differ depending on the application state of the data pulse after the scanning electrode line where the address discharge is completed. In particular, when the scanning pulse width is shortened, the influence is great. When the panel becomes high-definition and the scan pulse width has to be reduced as the number of scan lines increases, a data pulse for generating an address discharge in the next scan electrode line after the end of this scan pulse application When no data is applied, even if the operation is normal, if a data pulse is applied, an address discharge occurs, but a sustain discharge does not occur in the sustain period or the display flickers. In order to improve this, the sustain pulse voltage must be increased. However, when the sustain pulse voltage is increased, the power consumption is increased, and an expensive driver with a high breakdown voltage must be used, resulting in an increase in cost.

本発明の目的は、走査パルス幅を短縮した場合に、自走査電極ラインの走査パルス印加終了後に、他走査電極ラインのデータパルスが印加された場合にも、維持パルス電圧を高くすることなく駆動ができるプラズマディスプレイの駆動方法を提供することにある。   The object of the present invention is to drive without increasing the sustain pulse voltage even when the data pulse of the other scan electrode line is applied after the scan pulse application of the own scan electrode line is completed when the scan pulse width is shortened. It is an object of the present invention to provide a method for driving a plasma display.

上記課題を解決するために、請求項1記載の発明は、第一の絶縁基板と第二の絶縁基板とが互いに対向配置され、前記第一の絶縁基板には、走査電極と維持電極とが互いに平行に並べられて構成される電極対が複数配置され、かつ、前記第二の絶縁基板には、前記走査電極及び維持電極に直交する複数のデータ電極が配置されたプラズマディスプレイパネルの駆動方法に係り、映像信号に対応して走査電極毎にデータを書き込む走査期間において、個別の前記走査電極に線順次で走査パルスを印加し、前記走査パルスと同期させて、前記映像信号に対応したデータパルスを印加することにより各画素に信号を書き込み、前記走査パルス終了後、所定の期間以内に、前記維持電極と前記データ電極の電位を前記維持電極の方を高くし、前記維持電極と前記データ電極の電位差を、他の前記走査電極に前記走査パルスが印加されているタイミングで印加される前記データパルスの印加状態にかかわらず、前記維持電極と前記データ電極間の前記維持電極側を陰極電位としたときの対向放電開始電圧以上に設定する一方、前記維持電極と前記データ電極の間で前記維持電極側を陽極電位としたときに放電が発生しない電圧にする一定期間以上の対向壁電荷形成期間を設けることを特徴とする。   In order to solve the above-mentioned problem, the invention according to claim 1 is characterized in that the first insulating substrate and the second insulating substrate are arranged to face each other, and the first insulating substrate has a scan electrode and a sustain electrode. A method for driving a plasma display panel, wherein a plurality of electrode pairs arranged in parallel to each other are arranged, and a plurality of data electrodes orthogonal to the scan electrodes and sustain electrodes are arranged on the second insulating substrate Therefore, in a scanning period in which data is written for each scan electrode corresponding to the video signal, a scan pulse is applied to each individual scan electrode in a line sequential manner, and the data corresponding to the video signal is synchronized with the scan pulse. A signal is written to each pixel by applying a pulse, and within the predetermined period after the scan pulse is finished, the sustain electrode and the data electrode are made higher in the sustain electrode and the sustain electrode is maintained. The sustain electrode between the sustain electrode and the data electrode, regardless of the application state of the data pulse, which is applied at the timing when the scan pulse is applied to the other scan electrode. The voltage is set to be equal to or higher than the counter discharge start voltage when the side is set to the cathode potential, and is set to a voltage that does not generate a discharge when the sustain electrode side is set to the anode potential between the sustain electrode and the data electrode. An opposing wall charge forming period is provided.

以上説明したように、本発明の構成によれば、走査パルスを短縮しても、正常に駆動できる最低の維持電圧Vdsminを低く抑えることができるようになった。具体的には、走査パルスを1μsecにまで短縮すると、従来、走査パルス終了後にデータパルスが印加されることも考慮すると維持パルス電圧を最低でも176Vにまで上げなければならなかったが、本発明のプラズマディスプレイパネルの駆動方法を用いれば、維持パルス電圧を143Vにまで下げることが可能となった。   As described above, according to the configuration of the present invention, even when the scan pulse is shortened, the minimum sustain voltage Vdsmin that can be normally driven can be kept low. Specifically, when the scan pulse is shortened to 1 μsec, conventionally, the sustain pulse voltage has to be increased to at least 176 V in consideration of the application of the data pulse after the end of the scan pulse. If the driving method of the plasma display panel is used, the sustain pulse voltage can be lowered to 143V.

映像信号に対応したデータパルスを印加することにより各画素に信号を書き込み、走査パルスの印加終了後、所定の期間以内に、前記維持電極と前記データ電極の電位を前記維持電極の方を高くし、前記維持電極と前記データ電極の電位差を、他の前記走査電極に前記走査パルスが印加されているタイミングで印加される前記データパルスの印加状態にかかわらず、前記維持電極と前記データ電極間の前記維持電極側を陰極電位としたときの対向放電開始電圧以上に設定する一方、前記維持電極と前記データ電極の間で前記維持電極側を陽極電位としたときに放電が発生しない電圧にする一定期間以上の対向壁電荷形成期間を設けるようにする。
すなわち、電位供給手段が、電位固定電極に一定電位を供給して、前記電位固定電極の電位を前記維持電極の電位よりも低く設定すると共に、前記維持電極と前記電位固定電極の電位差を、前記維持電極側を陰極としたとき、前記維持電極と前記電位固定電極間の対向放電開始電圧以上に設定する一方、前記維持電極側を陽極としたとき、前記維持電極と前記電位固定電極間で対向放電が発生しない電圧に設定する。
A signal is written to each pixel by applying a data pulse corresponding to the video signal, and within the predetermined period after the application of the scan pulse, the potential of the sustain electrode and the data electrode is increased at the sustain electrode. The potential difference between the sustain electrode and the data electrode is determined between the sustain electrode and the data electrode regardless of the application state of the data pulse applied at the timing when the scan pulse is applied to the other scan electrode. A constant discharge start voltage is set to be equal to or higher than a counter discharge start voltage when the sustain electrode side is set to the cathode potential, and a voltage is set so that no discharge occurs when the sustain electrode side is set to the anode potential between the sustain electrode and the data electrode. An opposing wall charge forming period longer than the period is provided.
That is, the potential supply means supplies a fixed potential to the potential fixing electrode, sets the potential of the potential fixing electrode lower than the potential of the sustain electrode, and sets the potential difference between the sustain electrode and the potential fixing electrode as described above. When the sustain electrode side is a cathode, the counter discharge start voltage between the sustain electrode and the potential fixed electrode is set to be equal to or higher than that. When the sustain electrode side is an anode, the sustain electrode is opposed to the potential fixed electrode. Set the voltage so that no discharge occurs.

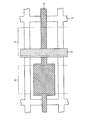
次に、本発明の第一の実施例について図を参照して詳細に説明する。図1に、本発明の第一の実施例のプラズマディスプレイパネルの1セルの断面図を示し、図2に平面図を示す。図1の断面図は、図2のA−A間の断面を示している。   Next, a first embodiment of the present invention will be described in detail with reference to the drawings. FIG. 1 is a sectional view of one cell of the plasma display panel according to the first embodiment of the present invention, and FIG. 2 is a plan view thereof. The cross-sectional view of FIG. 1 shows a cross section between AA in FIG.

パネル全体の平面構造は、図14の従来のプラズマディスプレイパネルの平面図に、電位固定電極34が維持電極23と同方向に形成されている構造となっている。   The planar structure of the entire panel is a structure in which the potential fixing electrode 34 is formed in the same direction as the sustain electrode 23 in the plan view of the conventional plasma display panel of FIG.

具体的寸法について、セルピッチが横方向0.27mm、縦方向0.81mmの場合を例に述べる。上下2枚の絶縁性基板20、21としては、例えば、厚さ2〜5mm程度のソーダライムガラス基板を用いる。上部絶縁性基板20には走査電極22と維持電極23として、酸化スズ又は酸化インジウムからなる透明電極が対になる形で設けられ、電極幅は250〜300μm程度とし、放電ギャップは70〜120μm程度とした。各透明電極の上の一部には配線抵抗を下げるために金属電極32を設けている。電極の上には誘電体層24を10〜50μm程度形成し、さらにその上にはMgOが保護層25として形成されている。   Specific dimensions will be described with an example in which the cell pitch is 0.27 mm in the horizontal direction and 0.81 mm in the vertical direction. As the two upper and lower insulating substrates 20 and 21, for example, soda lime glass substrates having a thickness of about 2 to 5 mm are used. The upper insulating substrate 20 is provided with a transparent electrode made of tin oxide or indium oxide as a pair as the scanning electrode 22 and the sustaining electrode 23, the electrode width is about 250 to 300 μm, and the discharge gap is about 70 to 120 μm. It was. A metal electrode 32 is provided on a part of each transparent electrode in order to reduce the wiring resistance. A dielectric layer 24 is formed on the electrode to a thickness of about 10 to 50 μm, and MgO is further formed thereon as a protective layer 25.

一方、下部絶縁性基板21にはAgなどでデータ電極29が電極幅100〜150μmで形成されている。その上には白色誘電体層28が設けられている。この上にAgなどで、データ電極29と直交するように電位固定電極34を形成する。電位固定電極34の電極幅は100〜200μm程度とした。さらにその上に、隔壁33を高さ100〜150μm程度で形成し、最後に蛍光体9を塗布する。このときセル毎に蛍光体の種類をRGB(赤、緑、青)に塗り分けると、フルカラー表示が可能となる。上記の2枚の絶縁性基板を張り合わせ、放電ガスとしてHe、Ne、Xeの混合ガスを200〜600torr封入し、封止することにより完成する。   On the other hand, a data electrode 29 is formed on the lower insulating substrate 21 with an electrode width of 100 to 150 μm using Ag or the like. A white dielectric layer 28 is provided thereon. A potential fixing electrode 34 is formed thereon with Ag or the like so as to be orthogonal to the data electrode 29. The electrode width of the potential fixing electrode 34 was about 100 to 200 μm. Further thereon, the barrier ribs 33 are formed with a height of about 100 to 150 μm, and finally the phosphor 9 is applied. At this time, if the types of phosphors are separately applied to RGB (red, green, blue) for each cell, full color display is possible. The above two insulating substrates are bonded together, and a mixed gas of He, Ne, and Xe is sealed as a discharge gas in a range of 200 to 600 torr and sealed.

次に、本発明の第一の実施例のプラズマディスプレイパネルの駆動方法について説明する。図10に1サブフィールドの駆動波形を示す。本発明では、電位固定電極34を常に接地電位(波形Fm)としている。予備放電期間2及び維持期間4の走査電極波形(S1〜Sm)、維持電極波形(C1〜Cm)、データ電極波形(D1〜Dn)のそれぞれは、図16の従来駆動波形と同じである。また、この期間の電位固定電極波形(F1〜Fm)はデータ電極波形(D1〜Dm)と同じであるので、この期間での駆動状態はほぼ従来と同じであると考えられる。   Next, a method for driving the plasma display panel according to the first embodiment of the present invention will be described. FIG. 10 shows a driving waveform of one subfield. In the present invention, the potential fixing electrode 34 is always set to the ground potential (waveform Fm). Scan electrode waveforms (S1 to Sm), sustain electrode waveforms (C1 to Cm), and data electrode waveforms (D1 to Dn) in preliminary discharge period 2 and sustain period 4 are the same as the conventional drive waveforms in FIG. In addition, since the potential fixed electrode waveforms (F1 to Fm) in this period are the same as the data electrode waveforms (D1 to Dm), the driving state in this period is considered to be almost the same as that in the prior art.

一方、走査期間3においては、映像信号に応じて、データパルス7が印加されたり、されなかったりする。図15に示すような従来のセル構造においては、このデータパルス6の印加状態によって、データ電極29の電位が変動する。これに対して、本発明の第一の実施例のように、電位固定電極34をデータ電極上に配置し、維持電極23とともに電位を固定することにより、走査期間3中の維持電極23と電位固定電極34の対向間電位差は一定となる。   On the other hand, in the scanning period 3, the data pulse 7 is applied or not depending on the video signal. In the conventional cell structure as shown in FIG. 15, the potential of the data electrode 29 varies depending on the application state of the data pulse 6. On the other hand, as in the first embodiment of the present invention, the potential fixing electrode 34 is arranged on the data electrode and the potential is fixed together with the sustaining electrode 23, whereby the sustaining electrode 23 and the potential in the scanning period 3 are fixed. The potential difference between the fixed electrodes 34 is constant.

次に、走査パルス6が印加された際に、データパルス7が印加され、書込み放電が発生した場合の、壁電荷形成状態について述べる。書込み放電は、走査電極22とデータ電極29の間の対向放電空間に、外部から印加される電圧に加え壁電荷による電圧である壁電圧も含めて、走査電極22を陰極としてデータ電極29との間で放電が発生する最小の電圧である対向放電開始電圧(以下、特に断らない場合は、走査電極22又は維持電極23を陰極として、対向する基板上にあるデータ電極29や電位固定電極との間で放電が発生する、放電空間に印加される最小の電圧を単に、対向放電開始電圧と呼ぶ)を超える電圧が対向放電空間に印加されることにより、走査電極22とデータ電極29の間で放電が発生する。この放電により、放電空間内には多くの空間電荷が発生するため、セル内の他の電極間でも、この放電をトリガーとして放電が発生したり、電界により電荷が引き寄せられることにより壁電荷が形成される。ここで、走査パルス6幅が短く、走査パルス6期間内では、ほとんど放電が発生するだけの場合を考えると、壁電荷の形成量は走査パルス6終了後の電極電位に大きく影響される。書込み放電のような強い放電が発生した場合、放電箇所と電極の位置にもよるが、各電極間には、おおよそ外部から印加された電圧分の壁電圧が形成されると考えられる。   Next, the state of wall charge formation when the data pulse 7 is applied and the address discharge is generated when the scan pulse 6 is applied will be described. In the address discharge, the counter discharge space between the scan electrode 22 and the data electrode 29 includes the wall voltage, which is a voltage due to wall charges, in addition to the voltage applied from the outside. The counter discharge start voltage, which is the minimum voltage at which discharge occurs between the electrodes (hereinafter, unless otherwise specified, the scan electrode 22 or the sustain electrode 23 is used as a cathode and the data electrode 29 or the potential fixed electrode on the opposing substrate) A voltage exceeding the minimum voltage applied to the discharge space that is generated between the scanning electrode 22 and the data electrode 29 is simply applied to the counter discharge space. Discharge occurs. This discharge generates a large amount of space charge in the discharge space, so that the discharge is triggered by this discharge even between the other electrodes in the cell, or wall charges are formed by drawing the charge by the electric field. Is done. Here, considering the case where the width of the scan pulse 6 is short and only discharge is generated within the scan pulse 6 period, the amount of wall charge formation is greatly influenced by the electrode potential after the end of the scan pulse 6. When a strong discharge such as an address discharge occurs, it is considered that a wall voltage corresponding to a voltage applied from the outside is formed between the electrodes, depending on the discharge location and the position of the electrodes.

したがって、図16に示すような従来のプラズマディスプレイの駆動波形の場合、走査電極22と維持電極23の間には、おおよそ(Vs−Vbw)の壁電圧が形成されることになる。一方、維持電極23とデータ電極34との間に形成される壁電圧については、次走査ラインの書込み時のデータパルス7の有無により変化すると考えられる。データパルス7が印加されると、維持電極23とデータ電極29の間には、おおよそ(Vs−Vd)の壁電圧が形成され、データパルスが印加されないと、おおよそVsの壁電圧が形成される。   Therefore, in the case of the driving waveform of the conventional plasma display as shown in FIG. 16, a wall voltage of approximately (Vs−Vbw) is formed between the scan electrode 22 and the sustain electrode 23. On the other hand, the wall voltage formed between the sustain electrode 23 and the data electrode 34 is considered to change depending on the presence or absence of the data pulse 7 at the time of writing the next scan line. When the data pulse 7 is applied, a wall voltage of approximately (Vs−Vd) is formed between the sustain electrode 23 and the data electrode 29, and when the data pulse is not applied, a wall voltage of approximately Vs is formed. .

この違いにより、維持期間4での最初の維持パルスによる維持放電(第一維持と呼ぶ)の強度が異なり、第一維持による走査電極22と維持電極23の間に形成される壁電荷量が異なってくる。   Due to this difference, the intensity of the sustain discharge (referred to as the first sustain) by the first sustain pulse in the sustain period 4 is different, and the amount of wall charges formed between the scan electrode 22 and the sustain electrode 23 by the first sustain is different. Come.

これは、壁電圧がVsとなると、第一維持において、走査電極22と維持電極23の間で発生する面放電の他に、維持電極23とデータ電極29が共に接地された際に、上記壁電圧により、維持電極23とデータ電極29の間で弱い対向放電が発生するためである。これに対し、Vs−Vdの場合は、電位差が小さいため、ほとんどこの弱い対向放電が発生せず、維持放電が弱くなり、その後の維持パルスによって維持放電が安定的に持続しなくなる。   This is because, when the wall voltage becomes Vs, in the first sustain, in addition to the surface discharge generated between the scan electrode 22 and the sustain electrode 23, when the sustain electrode 23 and the data electrode 29 are grounded together, This is because a weak counter discharge is generated between the sustain electrode 23 and the data electrode 29 due to the voltage. On the other hand, in the case of Vs−Vd, since the potential difference is small, this weak counter discharge hardly occurs, the sustain discharge becomes weak, and the sustain discharge is not stably maintained by the subsequent sustain pulse.

図17に、走査パルス6終了後のデータ電極電位Vdaを模擬的に変化させたときの、最小維持電圧Vdsminを○で示す。最小維持電圧Vdsminとは、点灯表示が正常に表示できる、最小の維持電圧Vsのことである。走査パルス幅は1μsecである。   In FIG. 17, the minimum sustain voltage Vdsmin when the data electrode potential Vda after the end of the scan pulse 6 is changed in a simulated manner is indicated by ◯. The minimum sustain voltage Vdsmin is the minimum sustain voltage Vs at which the lighting display can be normally displayed. The scan pulse width is 1 μsec.

図17で、Vda=0Vのときが、次走査ライン書込み時にデータパルスが印加されなかった場合である。これに対し、データパルス電圧Vdを65Vとすると、Vda=65Vのときが、次走査ライン書込み時にデータパルスが印加された場合となる。データパルスが印加された場合は、されなかった場合に比べて約6Vの最小維持電圧Vdsminの上昇が見られる。   In FIG. 17, when Vda = 0V, the data pulse is not applied at the time of writing the next scan line. On the other hand, when the data pulse voltage Vd is 65V, when Vda = 65V, the data pulse is applied when writing the next scan line. When the data pulse is applied, the minimum sustain voltage Vdsmin is increased by about 6 V as compared with the case where the data pulse is not applied.

これに対して、本発明の第一の実施例のプラズマディスプレイの場合、維持電極23及び電位固定電極34の電位差は、走査期間3の間、常に壁電圧Vsに固定されている。このため、書込み放電により、維持電極23と電位固定電極34の間には、おおよそVsの壁電圧が形成される。   In contrast, in the plasma display of the first embodiment of the present invention, the potential difference between the sustain electrode 23 and the potential fixing electrode 34 is always fixed to the wall voltage Vs during the scanning period 3. Therefore, a wall voltage of approximately Vs is formed between the sustain electrode 23 and the potential fixing electrode 34 by the address discharge.

このように、電位固定電極23を設けることにより、データパルスの有無により、データ電極29の電位が変動しても、維持電極23と電位固定電極34の対向電極間電位は一定となり、一定量の壁電圧を形成することができる。図17に、Vdsminの走査パルス終了後のデータ電極電位Vda依存性を▲で示す。図からも分るように、走査パルス終了後のデータ電極電位Vdaが上昇しても、○で示す従来のようにVdsminが上昇することはない。   Thus, by providing the potential fixing electrode 23, the potential between the opposing electrodes of the sustain electrode 23 and the potential fixing electrode 34 is constant even if the potential of the data electrode 29 fluctuates depending on the presence or absence of a data pulse, and a certain amount of A wall voltage can be formed. FIG. 17 shows the dependence of Vdsmin on the data electrode potential Vda after the end of the scan pulse. As can be seen from the figure, even if the data electrode potential Vda rises after the end of the scan pulse, Vdsmin does not rise as in the conventional case indicated by.

また、図10の駆動波形を、さらに図11のように、走査期間3の維持電極23電位を維持電圧Vsより高い電圧VswとするとVdsminをさらに引き下げることができる。特に、電圧Vswを、維持電極23を陰極としたときの、維持電極23と電位固定電極34の間の対向放電開始電圧以上に設定する。ここでの対向放電開始電圧とは、壁電荷が形成されていない状態で対向電極間にその電圧以上の電圧が印加された場合に放電が開始する電圧と考えてよい。   Further, if the drive waveform of FIG. 10 is further set to the voltage Vsw higher than the sustain voltage Vs, as shown in FIG. 11, the potential Vdsmin can be further lowered. In particular, the voltage Vsw is set to be equal to or higher than the counter discharge start voltage between the sustain electrode 23 and the potential fixing electrode 34 when the sustain electrode 23 is a cathode. The counter discharge start voltage here may be considered as a voltage at which discharge starts when a voltage equal to or higher than the voltage is applied between the counter electrodes in a state where no wall charges are formed.

この対向放電開始電圧は、印加する電圧の極性によって大きく異なる。維持電極23の誘電体層上には保護層25としてMg0膜が形成されており、この保護層が形成されている側を陰極とすると、正電荷の衝突により2次電子が放出され、新たな電子が放電空間に供給され、低い電圧で放電が持続する。   This counter discharge start voltage varies greatly depending on the polarity of the applied voltage. An Mg0 film is formed as a protective layer 25 on the dielectric layer of the sustain electrode 23. If the side on which the protective layer is formed is a cathode, secondary electrons are emitted by collision of positive charges, and a new layer is formed. Electrons are supplied to the discharge space, and discharge continues at a low voltage.

一方、陰極側にMgO層が存在しないと、新たな2次電子の供給がないため、高い電圧を印加しないと放電が持続しなくなる。したがって、維持電極23を陰極としたときの維持電極23と電位固定電極34の間の対向放電開始電圧に電圧Vswを設定しても、走査期間3では、誤放電は発生せず、書き込み放電が発生しない限り放電は発生しない。   On the other hand, if there is no MgO layer on the cathode side, there will be no supply of new secondary electrons, and therefore discharge will not continue unless a high voltage is applied. Therefore, even if the voltage Vsw is set as the counter discharge start voltage between the sustain electrode 23 and the potential fixing electrode 34 when the sustain electrode 23 is a cathode, no erroneous discharge occurs in the scanning period 3, and the write discharge is not generated. Discharge does not occur unless it occurs.

実際には、走査期間3では、維持電極23と電位固定電極34には、走査電極22と維持電極23の間で維持放電の発生する放電ギャップから遠い位置にほぼ同等の壁電圧が形成されており、ここでの対向放電空間にかかる電位差が最も高いと考えられるので、維持電極23を陽極としたときの維持電極23と電位固定電極34の間の対向放電開始電圧未満に設定すれば、放電は発生しない。   Actually, in the scanning period 3, a substantially equivalent wall voltage is formed on the sustain electrode 23 and the potential fixing electrode 34 at a position far from the discharge gap where the sustain discharge occurs between the scan electrode 22 and the sustain electrode 23. Since the potential difference applied to the counter discharge space here is considered to be the highest, if the sustain electrode 23 is set to be less than the counter discharge start voltage between the sustain electrode 23 and the potential fixing electrode 34 when the sustain electrode 23 is used as the anode, Does not occur.

書込み放電発生後には、維持電極23と電位固定電極34とに形成される壁電圧の合計はほぼ両者の電極の電位差に等しくなる。したがって、上記のように電圧Vswを設定することにより、書込み放電後の維持電極23と電位固定電極34とに形成される壁電圧の合計は、ほぼ、維持電極23と電位固定電極34の間の電位差を、維持電極23を陰極としたときの、維持電極23と電位固定電極34の間の対向放電開始電圧以上にすることができる。   After the occurrence of the address discharge, the total wall voltage formed on the sustain electrode 23 and the potential fixing electrode 34 becomes substantially equal to the potential difference between the two electrodes. Therefore, by setting the voltage Vsw as described above, the total wall voltage formed on the sustain electrode 23 and the potential fixing electrode 34 after the address discharge is approximately between the sustain electrode 23 and the potential fixed electrode 34. The potential difference can be made equal to or higher than the counter discharge start voltage between the sustain electrode 23 and the potential fixing electrode 34 when the sustain electrode 23 is a cathode.

このような壁電圧が形成された状態で、維持期間4での第一維持において、維持電極23の低電位側の電位と電位固定電極34の電位を等しくすることにより、この対向空間には壁電圧Vswだけの壁電荷が印加される。   In such a state that the wall voltage is formed, in the first maintenance in the sustain period 4, the potential on the low potential side of the sustain electrode 23 and the potential of the potential fixing electrode 34 are made equal to each other in this opposing space. Wall charges corresponding to the voltage Vsw are applied.

壁電圧Vswは、維持電極23を陰極としたときの、維持電極23と電位固定電極34の間の対向放電開始電圧以上であることから、第一維持では、対向放電が確実に発生する。このように走査電極22と維持電極23の間の面放電の発生に加え、第一維持で確実に対向放電が発生することにより、放電強度が大きくなり、十分な壁電荷量が走査電極22と維持電極23上に形成され、それ以降の維持パルスによって確実に維持放電が持続するようになる。   Since the wall voltage Vsw is equal to or higher than the counter discharge start voltage between the sustain electrode 23 and the potential fixing electrode 34 when the sustain electrode 23 is a cathode, the counter discharge surely occurs in the first sustain. Thus, in addition to the occurrence of the surface discharge between the scan electrode 22 and the sustain electrode 23, the counter discharge is surely generated in the first sustain, so that the discharge intensity is increased and a sufficient wall charge amount is obtained between the scan electrode 22 and the sustain electrode 23. The sustain discharge is formed on the sustain electrode 23, and the sustain discharge is reliably maintained by the subsequent sustain pulse.

本発明の第一の実施例での最小維持電圧Vdsminを図17に●で示す。走査パルス終了後のデータ電極電位Vdaの影響を受けず、Vdaに対して一定のVdsminとなっているとともに、従来のVdsminに比べ、大きく電圧が低くなっている。これは、Vswを維持電極23を陰極としたときの、維持電極23と電位固定電極34の間の対向放電開始電圧以上にしているためである。   The minimum sustain voltage Vdsmin in the first embodiment of the present invention is indicated by ● in FIG. It is not affected by the data electrode potential Vda after the end of the scan pulse, has a constant Vdsmin with respect to Vda, and is significantly lower in voltage than the conventional Vdsmin. This is because Vsw is set to be equal to or higher than the counter discharge start voltage between the sustain electrode 23 and the potential fixing electrode 34 when the sustain electrode 23 is a cathode.

この対向放電開始電圧以上にしている期間は、必ずしも走査期間3の全期間である必要はない。走査パルス印加前の電圧をVsに下げてもまったく同様のVdsmin特性が得られた。また、走査パルス印加終了直後から10μsec以上経ってから、維持電極23の電位をVswからVsに引き下げても影響はない。一方、走査パルス終了から2μsec以上経ってから、維持電極電位をVsからVswに引き上げても、Vdsminは170Vとなり、電圧Vswに引き上げた効果は得られない。また、たとえ走査パルス印加終了後、2μsec以内に維持電極電位を電圧Vswに引き上げたとしても、Vsw電位を2μsec以上継続しなければ、その効果はきわめて弱いものとなり、Vdsminを引き下げることがほとんどできなかった。   The period of time equal to or higher than the counter discharge start voltage is not necessarily the entire period of the scanning period 3. The same Vdsmin characteristic was obtained even when the voltage before applying the scan pulse was lowered to Vs. Further, there is no effect even if the potential of the sustain electrode 23 is lowered from Vsw to Vs after 10 μsec or more immediately after the application of the scan pulse. On the other hand, even if the sustain electrode potential is raised from Vs to Vsw after 2 μsec or more from the end of the scanning pulse, Vdsmin becomes 170 V and the effect of raising the voltage to Vsw cannot be obtained. Even if the sustain electrode potential is raised to the voltage Vsw within 2 μsec after the application of the scan pulse, the effect is very weak unless the Vsw potential is continued for 2 μsec or more, and Vdsmin can hardly be lowered. It was.

このように本発明の第一の実施例を用いれば、データパルスの印加の有無による影響を受けないばかりか、電圧Vswを、維持電極23を陰極としたときの、維持電極23と電位固定電極34の間の対向放電開始電圧以上に設定することにより、最小維持電圧Vdsminを大幅に低くすることができ、走査パルス幅が短い場合でも、低い耐圧の維持ドライバを用いることができる。   As described above, according to the first embodiment of the present invention, the sustain electrode 23 and the potential fixing electrode when the sustain electrode 23 is used as the cathode are not only affected by the application of the data pulse but also the voltage Vsw. The minimum sustain voltage Vdsmin can be significantly lowered by setting the counter discharge start voltage between 34 to be equal to or higher than that, and a low-breakdown-voltage sustain driver can be used even when the scan pulse width is short.

次に、具体的電圧の設定値について説明する。はじめに、前サブフィールドの維持期間1が終了すると、予備放電期間2になる。ここでの波形は、基本的に図16の従来波形と同じであり、Vsを160V、Vpを380Vとした。各鋸歯状波のスロープの幅は50μsec程度とした。予備放電期間2は、前SFの維持放電によって誘電体層上に蓄積された電荷(壁電荷)をリセットし、さらに書込み放電を起こりやすくさせるためのプライミング放電を発生させる期間である。主に、最初の鋸歯状波で維持期間に形成された壁電荷のリセットが行なわれ、後ろの2つの鋸歯状波でプライミング放電を発生させ、その後プライミング放電で発生した壁電荷を調整している。   Next, specific voltage setting values will be described. First, when the sustain period 1 of the previous subfield ends, a preliminary discharge period 2 starts. The waveform here is basically the same as the conventional waveform of FIG. 16, with Vs set to 160V and Vp set to 380V. The slope width of each sawtooth wave was about 50 μsec. The preliminary discharge period 2 is a period in which a charge (wall charge) accumulated on the dielectric layer due to the sustain discharge of the previous SF is reset and a priming discharge is generated to make an address discharge easy to occur. Mainly, the wall charge formed in the sustain period is reset by the first sawtooth wave, the priming discharge is generated by the two subsequent sawtooth waves, and the wall charge generated by the priming discharge is adjusted thereafter. .

次に、走査期間3に移行する。走査電極22には、走査ベース電圧Vbwが印加されており、線順次で走査パルス6が順次印加されている。走査ベース電圧Vbwは110V程度とし、走査パルス幅は1μsecとし、電位はGNDとした。維持電極23の電位はVsw固定としている。また、電位固定電極34は接地されている。ここで、本セルの対向放電開始電圧であるが、走査電極22とデータ電極29の間、維持電極23と電位固定電極34の間ともに185Vであった。図18に最小維持電圧Vdsminの電圧Vsw依存性を示す。   Next, the scanning period 3 is started. A scanning base voltage Vbw is applied to the scanning electrode 22, and scanning pulses 6 are sequentially applied in a line sequential manner. The scan base voltage Vbw was about 110 V, the scan pulse width was 1 μsec, and the potential was GND. The potential of the sustain electrode 23 is fixed at Vsw. The potential fixing electrode 34 is grounded. Here, the counter discharge start voltage of this cell was 185 V between the scan electrode 22 and the data electrode 29 and between the sustain electrode 23 and the potential fixing electrode 34. FIG. 18 shows the dependency of the minimum sustain voltage Vdsmin on the voltage Vsw.

電圧Vswを185V以上にすると急激に最小維持電圧Vdsminが減少することが分る。本発明の第一の実施例では、電圧Vswがこの対向放電開始電圧以上になるように、電圧Vswを190〜210Vとした。   It can be seen that when the voltage Vsw is increased to 185 V or more, the minimum sustain voltage Vdsmin decreases rapidly. In the first embodiment of the present invention, the voltage Vsw is 190 to 210 V so that the voltage Vsw is equal to or higher than the counter discharge start voltage.

最後に、維持期間4に入る。ここは従来と同様であり、走査期間3で書込み放電が発生した場合のみ、走査電極22と維持電極23の面放電ギャップ近傍に大きな壁電荷が形成されているため維持放電が発生し、点灯状態となる。このようにして、点灯、非点灯を制御することができる。維持パルスの電圧は、Vs=160Vとしている。   Finally, maintenance period 4 is entered. This is the same as in the prior art, and only when an address discharge occurs in the scanning period 3, since a large wall charge is formed in the vicinity of the surface discharge gap between the scan electrode 22 and the sustain electrode 23, the sustain discharge occurs and the lighting state It becomes. In this way, lighting and non-lighting can be controlled. The voltage of the sustain pulse is Vs = 160V.

次に、本発明の第二の実施例について、図3のセル平面図を参照しながら説明する。本発明の第二の実施例の駆動波形は、本発明の第一の実施例の駆動波形と同じである。   Next, a second embodiment of the present invention will be described with reference to the cell plan view of FIG. The drive waveform of the second embodiment of the present invention is the same as the drive waveform of the first embodiment of the present invention.

本発明の第一の実施例では、データ電極29と電位固定電極34が、誘電体層28を介して対向する部分の面積が大きく、この電極間容量が大きくなってしまうため、データ電極電位の変動による無効電力が大きくなり、データドライバの発熱が問題となる。   In the first embodiment of the present invention, the area where the data electrode 29 and the potential fixing electrode 34 face each other through the dielectric layer 28 is large, and the capacitance between the electrodes is increased. Reactive power due to fluctuations increases, and heat generation of the data driver becomes a problem.

本発明の第二の実施例では、このデータ電極29と電位固定電極34の間の容量を減らすとともに、書込み放電に関しては、確実に放電が発生するような構造となっている。   In the second embodiment of the present invention, the capacity between the data electrode 29 and the potential fixing electrode 34 is reduced, and the discharge is surely generated with respect to the address discharge.

本発明の第二の実施例のセル構造は、データ電極29の形状が、電位固定電極34と対向する部分では細く、走査電極22と対向する部分では太くなっている以外は本発明の第一の実施例と同じである。維持電極23と電位固定電極34が対向する部分の面積は、本発明の第一の実施例と同じであり、Vdsminは本発明の第一の実施例と同じ値が得られた。   The cell structure of the second embodiment of the present invention is the same as that of the first embodiment of the present invention except that the shape of the data electrode 29 is thin at the portion facing the potential fixing electrode 34 and thick at the portion facing the scanning electrode 22. This is the same as the embodiment. The area where the sustain electrode 23 and the potential fixing electrode 34 face each other is the same as that of the first embodiment of the present invention, and Vdsmin has the same value as that of the first embodiment of the present invention.

データ電極29の線幅は、電位固定電極34と対向する部分を40〜80μm、走査電極22と対向する部分を120〜170μmとした。このようにすることにより、電位固定電極34とデータ電極29間の容量を小さくすることができ、無効電流が減少し、消費電力を低減することができ、発熱を抑えることができた。また走査電極22と対向するデータ電極29の面積は大きくとっているので、書込み放電の確率を高めることができ、放電遅れを小さくすることができた。   The line width of the data electrode 29 was 40 to 80 μm at the portion facing the potential fixing electrode 34, and 120 to 170 μm at the portion facing the scanning electrode 22. By doing so, the capacitance between the potential fixing electrode 34 and the data electrode 29 can be reduced, the reactive current can be reduced, the power consumption can be reduced, and the heat generation can be suppressed. Further, since the area of the data electrode 29 facing the scanning electrode 22 is large, the probability of address discharge can be increased and the discharge delay can be reduced.

次に、本発明の第三の実施例について図4のセル平面図を参照しながら説明する。本発明の第三の実施例の駆動波形は本発明の第一の実施例と同じである。   Next, a third embodiment of the present invention will be described with reference to the cell plan view of FIG. The drive waveform of the third embodiment of the present invention is the same as that of the first embodiment of the present invention.

本発明の第三の実施例のセル構造は、電位固定電極34の線幅を細くし、放電ギャップ寄りに設けたこと以外は本発明の第二の実施例と同じである。維持放電への移行性では、書込み放電時の放電ギャップ寄りの壁電荷の形成状態が重要となってくる。データ電極29及び維持電極23との容量を減らすために、電位固定電極34の線幅をできるだけ細くし、放電ギャップ寄りの維持電極23と電位固定電極34の対向間に所望の壁電圧を形成するために、電極位置を放電ギャップ寄りにしている。電位固定電極34の幅は、40〜50μm程度とした。このような構造でも、本発明の第二の実施例とほぼ同様のVdsminが得られた。また、無効電流を減らすことができ、消費電力を低減することができた。   The cell structure of the third embodiment of the present invention is the same as that of the second embodiment of the present invention except that the line width of the potential fixing electrode 34 is narrowed and provided near the discharge gap. In the transition to the sustain discharge, the wall charge formation state near the discharge gap at the time of the address discharge becomes important. In order to reduce the capacitance between the data electrode 29 and the sustain electrode 23, the line width of the potential fixing electrode 34 is made as narrow as possible, and a desired wall voltage is formed between the sustain electrode 23 and the potential fixing electrode 34 near the discharge gap. Therefore, the electrode position is close to the discharge gap. The width of the potential fixing electrode 34 was about 40 to 50 μm. Even with such a structure, Vdsmin substantially similar to that of the second embodiment of the present invention was obtained. Further, the reactive current can be reduced and the power consumption can be reduced.

次に、本発明の第四の実施例について図5のセル平面図を参照しながら説明する。本発明の第四の実施例の駆動波形は本発明の第一の実施例と同じである。   Next, a fourth embodiment of the present invention will be described with reference to the cell plan view of FIG. The drive waveform of the fourth embodiment of the present invention is the same as that of the first embodiment of the present invention.

本発明の第四の実施例のセル構造は、本発明の第三の実施例の電位固定電極34と同じ線幅の電極を、もう一本、電位固定電極として追加したこと以外は本発明の第三の実施例と同じである。2つの電位固定電極34の間隔は40〜60μm程度とした。   The cell structure of the fourth embodiment of the present invention is the same as that of the third embodiment of the present invention except that another electrode having the same line width as the potential fixed electrode 34 is added as a potential fixed electrode. The same as in the third embodiment. The interval between the two potential fixing electrodes 34 was about 40 to 60 μm.

このように、電極を追加することにより、データ電極29、維持電極23と電位固定電極34との線間容量は増大するものの、2つに分離されているので、本発明の第二の実施例よりは線間容量は小さい。   As described above, the addition of the electrodes increases the line capacitance of the data electrode 29, the sustain electrode 23, and the potential fixing electrode 34, but is separated into two, so the second embodiment of the present invention. The capacitance between lines is smaller than that.

一方、電位固定電極34をもう一本追加することで、壁電荷の蓄積状態としては、実効的に間にスリットの入っていないべたの1枚電極と同じ状態とすることができた。   On the other hand, by adding another potential fixing electrode 34, the wall charge accumulation state was effectively the same as that of one solid electrode without a slit in between.

このことにより、第一維持での放電が本発明の第三の実施例よりも、強く確実なものとなった。従来のセルや、本発明の第三の実施例では、維持放電では、第一維持から10回目の維持パルス印加ぐらいまでは、維持期間4後半の維持放電に比べ弱い放電であり、不安定な状態である。   As a result, the first sustain discharge is stronger and more reliable than the third embodiment of the present invention. In the conventional cell or the third embodiment of the present invention, the sustain discharge is weaker than the first sustain to the tenth sustain pulse application as compared with the sustain discharge in the second half of the sustain period 4, and is unstable. State.

これに対し、本発明の第四の実施例のように、電位固定電極34をさらにもう一本追加することにより、第一維持からほぼ定常的な維持放電に近い強さの維持放電を発生させることができた。このように、第一維持から安定的な放電にすることができることにより、Vdsminの値は、本発明の第二の実施例とまったく同じ値を得ることができたとともに、維持パルス数の少ない、下位の階調のサブフィールドでも、安定的な表示が得られるようになった。   On the other hand, as in the fourth embodiment of the present invention, by adding one more potential fixing electrode 34, a sustain discharge having a strength close to a steady sustain discharge is generated from the first sustain. I was able to. As described above, since the stable discharge can be performed from the first sustain, the value of Vdsmin can be obtained exactly the same value as the second embodiment of the present invention, and the number of sustain pulses is small. Stable display can be obtained even in sub-fields with lower gradations.

次に、本発明の第五の実施例について図6のセル平面図を参照しながら説明する。本発明の第五の実施例は、データ電極29や維持電極23と電位固定電極34との間の容量は低く抑えながら、実効的な電位固定電極34の面積は広く取り、維持電極23と電位固定電極34の間に形成される壁電荷を、放電ギャップから離れた領域まで形成することができる本発明の第四の実施例の別の形態である。   Next, a fifth embodiment of the present invention will be described with reference to the cell plan view of FIG. In the fifth embodiment of the present invention, while the capacitance between the data electrode 29 and the sustain electrode 23 and the potential fixing electrode 34 is kept low, the effective potential fixing electrode 34 has a large area, and the sustain electrode 23 and the potential are fixed. It is another form of the 4th Example of this invention which can form the wall charge formed between the fixed electrodes 34 to the area | region away from the discharge gap.

本発明の第五の実施例の駆動波形は本発明の第一の実施例と同じである。本発明の第五の実施例のセル構造は、電位固定電極34の形状が、データ電極29と交差する部分の線幅を細くしている以外は、本発明の第二の実施例とおなじである。このように交差部分の面積を小さくしているのは、電位固定電極34とデータ電極29間の容量を小さくするためである。細い部分は、面放電ギャップ寄りに寄せてあり、書き込み時に維持電極23と電位固定電極34の間に形成される壁電荷をなるべく放電ギャップ寄りに形成するようにしている。電位固定電極34の幅は、太い部分で100〜200μm程度であり、交差部分の細い部分は50μm程度とした。本実施例では本発明の第四の実施例とほぼ同様のVdsminを得ることができ、また、維持パルス数の少ない、下位の階調のサブフィールドでも、安定的な表示が得られた。   The drive waveform of the fifth embodiment of the present invention is the same as that of the first embodiment of the present invention. The cell structure of the fifth embodiment of the present invention is the same as that of the second embodiment of the present invention, except that the shape of the potential fixing electrode 34 is narrower than the line width of the portion intersecting the data electrode 29. is there. The reason for reducing the area of the intersecting portion in this way is to reduce the capacitance between the potential fixing electrode 34 and the data electrode 29. The narrow portion is close to the surface discharge gap, and the wall charges formed between the sustain electrode 23 and the potential fixing electrode 34 at the time of writing are formed as close to the discharge gap as possible. The width of the potential fixing electrode 34 is about 100 to 200 μm at the thick part, and the thin part at the intersecting part is about 50 μm. In this embodiment, Vdsmin substantially the same as that of the fourth embodiment of the present invention can be obtained, and stable display can be obtained even in a sub-field of a lower gradation with a small number of sustain pulses.

次に、本発明の第六の実施例について図7のセル平面図を参照しながら説明する。本発明の第六の実施例も、電極間容量を低く抑えつつ、壁電荷は維持電極23と対向するほぼ全面に形成できるような、本発明の第四及び第五の実施例の別の実施形態である。   Next, a sixth embodiment of the present invention will be described with reference to the cell plan view of FIG. The sixth embodiment of the present invention is another implementation of the fourth and fifth embodiments of the present invention in which the wall charge can be formed on almost the entire surface facing the sustain electrode 23 while keeping the interelectrode capacitance low. It is a form.

本発明の第六の実施例の駆動波形は本発明の第一の実施例と同じである。本発明の第六の実施例のセル構造は、電位固定電極34の形状が、メッシュ状になっている以外は、本発明の第二の実施例と同じである。   The drive waveform of the sixth embodiment of the present invention is the same as that of the first embodiment of the present invention. The cell structure of the sixth embodiment of the present invention is the same as that of the second embodiment of the present invention except that the shape of the potential fixing electrode 34 is a mesh.

このようにメッシュ状にすることにより、交差部分の面積を小さくし、電位固定電極34とデータ電極29間の容量及び電位固定電極34と維持電極23間の容量を小さくしている。メッシュ状の線幅は10〜40μm程度とし、メッシュ状の穴の部分は40〜50μm角となるようにした。   By forming the mesh like this, the area of the intersection is reduced, and the capacitance between the fixed potential electrode 34 and the data electrode 29 and the capacitance between the fixed potential electrode 34 and the sustain electrode 23 are reduced. The mesh-like line width was about 10 to 40 μm, and the mesh-like hole portion was 40 to 50 μm square.

このようなメッシュ形状の電極とすることにより、容量は減少するが、穴の部分が50μm角以下であれば、書込み放電による放電の広がり状態は、電位固定電極34の形状が、本発明の第二の実施例のように大きな電極面積を持ったものとほぼ同様の状態を得ることができた。このようなメッシュ電極構造にすることにより、線間容量を低く抑え、かつ、本発明の第五の実施例と同様のVdsminや、維持放電の安定性を得ることができた。   By using such a mesh-shaped electrode, the capacity decreases, but if the hole portion is 50 μm square or less, the discharge spreading state due to the address discharge is the same as the shape of the potential fixing electrode 34. It was possible to obtain a state substantially similar to that having a large electrode area as in the second embodiment. By adopting such a mesh electrode structure, the line capacitance can be kept low, and Vdsmin and sustain discharge stability similar to those of the fifth embodiment of the present invention can be obtained.

次に、本発明の第七の実施例について図8のセル平面図を参照しながら説明する。本発明の第七の実施例の駆動波形は、本発明の第一の実施例と同じである。   Next, a seventh embodiment of the present invention will be described with reference to the cell plan view of FIG. The drive waveform of the seventh embodiment of the present invention is the same as that of the first embodiment of the present invention.

また、本発明の第七の実施例のセル構造は、電位固定電極34以外は本発明の第二の実施例とおなじであり、データ電極29を形成する際に、データ電極29と同層に電位固定電極34が形成されている。   The cell structure of the seventh embodiment of the present invention is the same as that of the second embodiment of the present invention except for the potential fixing electrode 34. When the data electrode 29 is formed, it is formed in the same layer as the data electrode 29. A potential fixing electrode 34 is formed.

したがって、電位固定電極34の端子取り出しは、データ電極29と同じ、図6紙面上下方向となる。このような構造にすることにより、電位固定電極34とデータ電極29を一度に形成することができ、プロセス数を増やすことなく電位固定電極34を追加することができる。   Therefore, the terminal of the potential fixing electrode 34 is taken out in the vertical direction in FIG. With this structure, the potential fixing electrode 34 and the data electrode 29 can be formed at a time, and the potential fixing electrode 34 can be added without increasing the number of processes.

データ電極29の線幅を維持電極23と対向する部分で50μm程度に細くしてある。データ電極29との間隔が30μm程度できるように電位固定電極34が形成されている。これにより、維持電極23と対向する部分の面積では、データ電極29よりも電位固定電極34の方が大きくすることができる。これにより、データ電極29の電位の変動による、対向放電空間にかかる電圧の変動を抑制することができる。これにより、本発明の第一の実施例とほぼ同等の最小維持電圧Vdsmin特性を得ることができた。   The line width of the data electrode 29 is reduced to about 50 μm at the portion facing the sustain electrode 23. The potential fixing electrode 34 is formed so that the distance from the data electrode 29 can be about 30 μm. Thereby, the potential fixing electrode 34 can be made larger than the data electrode 29 in the area of the portion facing the sustain electrode 23. Thereby, the fluctuation of the voltage applied to the counter discharge space due to the fluctuation of the potential of the data electrode 29 can be suppressed. As a result, the minimum sustain voltage Vdsmin characteristic almost equivalent to that of the first embodiment of the present invention was obtained.

次に、本発明の第八の実施例について図9のセル平面図を参照しながら説明する。本発明の第八の実施例の駆動波形は本発明の第一の実施例と同じである。   Next, an eighth embodiment of the present invention will be described with reference to the cell plan view of FIG. The drive waveform of the eighth embodiment of the present invention is the same as that of the first embodiment of the present invention.

本発明の第八の実施例のセル構造は、電位固定電極34形状及びデータ電極29形状以外は、本発明の第七の実施例とおなじであり、本発明の第七の実施例と同様に、データ電極29を形成する際に、データ電極29と同層に電位固定電極34が形成されている。走査電極22及び維持電極23の線幅は、隔壁33交差する部分を細くしてある。   The cell structure of the eighth embodiment of the present invention is the same as that of the seventh embodiment of the present invention except for the shape of the fixed potential electrode 34 and the shape of the data electrode 29, and is similar to the seventh embodiment of the present invention. When the data electrode 29 is formed, the potential fixing electrode 34 is formed in the same layer as the data electrode 29. The line width of the scan electrode 22 and the sustain electrode 23 is narrowed at the portion where the partition wall 33 intersects.

これは、データ電極29や電位固定電極34との容量を小さくするためであり、これまでの本発明の第一から第五の実施例にも適用できる。セルの放電空間部分では、維持電極23は電位固定電極としか対向しておらず、本発明の第七の実施例より、確実にデータ電極電位の影響を排除することができる。   This is to reduce the capacity of the data electrode 29 and the potential fixing electrode 34, and can be applied to the first to fifth embodiments of the present invention thus far. In the discharge space portion of the cell, the sustain electrode 23 is only opposed to the potential fixing electrode, and the influence of the data electrode potential can be reliably eliminated from the seventh embodiment of the present invention.

次に、本発明の第九の実施例について図12の駆動波形を参照しながら説明する。本発明の第九の実施例の駆動波形は、上述の本発明の第一から第八の実施例のいずれの形状のセルにも適用できる。   Next, a ninth embodiment of the present invention will be described with reference to the drive waveform of FIG. The drive waveform of the ninth embodiment of the present invention can be applied to any shape of cells of the first to eighth embodiments of the present invention described above.

本駆動波形は、走査期間3の維持電極23の電位を維持パルス電圧のVsと同じにすることにより、維持電極23の電源電位数を減らす変わりに、電位固定電極34の電位を負電位にしている。ここで、電位固定電極34の電位Vfwは、維持電極23と電位固定電極34の電位差が対向放電開始電圧の185V以上になるように設定した。   In this driving waveform, by making the potential of the sustain electrode 23 in the scanning period 3 equal to the sustain pulse voltage Vs, the potential of the potential fixing electrode 34 is set to a negative potential instead of reducing the number of power supply potentials of the sustain electrode 23. Yes. Here, the potential Vfw of the potential fixing electrode 34 was set so that the potential difference between the sustain electrode 23 and the potential fixing electrode 34 was 185 V or more of the counter discharge start voltage.

具体的には、維持パルス電圧Vsを160Vに設定し、電位Vfwは−30〜―60Vとした。このようにすることにより、図11の駆動波形と同じように、書込み時に維持電極23と電位固定電極34との間に、おおよそ(Vs−Vfw)の壁電圧を形成することができ、第一維持でこの2電極間で対向放電が発生するようにでき、図8と同様の最小維持電圧Vdsminを得ることができる。   Specifically, sustain pulse voltage Vs was set to 160V, and potential Vfw was set to -30 to -60V. By doing so, a wall voltage of approximately (Vs−Vfw) can be formed between the sustain electrode 23 and the potential fixing electrode 34 at the time of writing, as in the drive waveform of FIG. By maintaining, a counter discharge can be generated between the two electrodes, and a minimum sustain voltage Vdsmin similar to that of FIG. 8 can be obtained.

次に、本発明の第十の実施例について図13の駆動波形を参照しながら説明する。本発明の第十の実施例のセル構造は従来のセル構造と同じである。本発明の第十の実施例のセルの対向放電開始電圧は185Vである。本発明の第十の実施例の駆動波形の維持期間4の波形は従来の駆動波形と同じである。   Next, a tenth embodiment of the present invention will be described with reference to the drive waveform of FIG. The cell structure of the tenth embodiment of the present invention is the same as the conventional cell structure. The counter discharge start voltage of the cell of the tenth embodiment of the present invention is 185V. The waveform of the sustain period 4 of the drive waveform of the tenth embodiment of the present invention is the same as the conventional drive waveform.

走査期間3の維持電極23の電圧Vswは、データパルス7が印加されても、維持電極23とデータ電極29との間にかかる電圧が対向放電開始電圧以上になるよう、Vswを高くしてある。このように維持電極23の電位を高くすると、走査パルス6が印加されるタイミングでは、走査電極22と維持電極23の間にも高い電圧Vswが印加される。   The voltage Vsw of the sustain electrode 23 in the scanning period 3 is set high so that the voltage applied between the sustain electrode 23 and the data electrode 29 is equal to or higher than the counter discharge start voltage even when the data pulse 7 is applied. . When the potential of the sustain electrode 23 is thus increased, the high voltage Vsw is also applied between the scan electrode 22 and the sustain electrode 23 at the timing when the scan pulse 6 is applied.

本発明の第十の実施例では、走査パルス印加時にこのような高い電圧が印加されても、走査電極22と維持電極23の間で誤放電が発生しないように、予備放電期間2で走査電極22と維持電極23の間の放電ギャップ近傍の壁電荷を調整している。   In the tenth embodiment of the present invention, the scan electrode is used in the preliminary discharge period 2 so that no erroneous discharge occurs between the scan electrode 22 and the sustain electrode 23 even when such a high voltage is applied when the scan pulse is applied. The wall charge in the vicinity of the discharge gap between the electrode 22 and the sustain electrode 23 is adjusted.

本発明の第十の実施例の予備放電期間2の駆動波形は、図16の従来の駆動波形と比較すると、走査期間3の直前の走査電極22と維持電極23の電位差がVswと高い電位差になるように設計されている。予備放電期間2では、走査電極22にVp電圧が印加された時点で、走査電極22上には大きな負の壁電圧が形成され、維持電極23には正の壁電圧が形成されていると考えられる。   In the tenth embodiment of the present invention, the drive waveform in the preliminary discharge period 2 is compared with the conventional drive waveform in FIG. 16 so that the potential difference between the scan electrode 22 and the sustain electrode 23 immediately before the scan period 3 is as high as Vsw. Designed to be In the preliminary discharge period 2, it is considered that a large negative wall voltage is formed on the scan electrode 22 and a positive wall voltage is formed on the sustain electrode 23 when the Vp voltage is applied to the scan electrode 22. It is done.

その後、走査電極22と維持電極23の電極電位の極性を反転させ、走査電極22の電位を徐々に引き下げていくことにより、走査電極22とデータ電極29の間で弱い持続的な放電(弱放電と呼ぶ)が発生すると共に、走査電極22と維持電極23との間でも弱放電が発生する。   Thereafter, the polarities of the electrode potentials of the scan electrode 22 and the sustain electrode 23 are reversed, and the potential of the scan electrode 22 is gradually lowered, whereby a weak sustained discharge (weak discharge) is generated between the scan electrode 22 and the data electrode 29. And a weak discharge occurs between the scan electrode 22 and the sustain electrode 23.

この走査電極22と維持電極23の間の弱放電により、面放電ギャップ近傍の走査電極22の負壁電圧は減少し、維持電極23側には負の壁電圧が形成されるようになる。このときのランプ波形の最終到達電位差であるVswを大きくすることにより、より走査電極22の負壁電圧は減少し、維持電極23の負壁電圧は増大する。放電ギャップ近傍の維持電極23の負壁電圧を走査電極22の負壁電圧より大きくすることにより、走査電極22と維持電極23の面放電空間にかかる電圧はVswよりも小さくすることができる。   Due to the weak discharge between the scan electrode 22 and the sustain electrode 23, the negative wall voltage of the scan electrode 22 near the surface discharge gap decreases, and a negative wall voltage is formed on the sustain electrode 23 side. By increasing Vsw which is the final potential difference of the ramp waveform at this time, the negative wall voltage of the scan electrode 22 is further decreased, and the negative wall voltage of the sustain electrode 23 is increased. By making the negative wall voltage of sustain electrode 23 in the vicinity of the discharge gap larger than the negative wall voltage of scan electrode 22, the voltage applied to the surface discharge space of scan electrode 22 and sustain electrode 23 can be made smaller than Vsw.

本発明の第十の実施例例では、このようにして走査パルス印加時の誤放電を防止している。走査電極22に印加されているランプ波形がVp電圧から直接下がるような波形になっているのは、維持電極23へのVsw印加と同時に走査電極22の電位を引き下げることによる、走査電極22と維持電極23の面の誤放電を防止するためである。   In the tenth embodiment of the present invention, erroneous discharge at the time of applying the scan pulse is thus prevented. The reason why the ramp waveform applied to the scan electrode 22 is such that the ramp waveform is directly lowered from the Vp voltage is that the potential of the scan electrode 22 is lowered simultaneously with the application of Vsw to the sustain electrode 23. This is to prevent erroneous discharge on the surface of the electrode 23.

具体的な駆動波形の設定電圧は以下の通りである。維持パルス電圧は160V、データパルス電圧は65Vとした。走査期間3の維持電極23の電位Vswは、データパルス6が印加されても、維持電極23とデータ電極29の電位差が対向放電開始電圧以上になるように250V〜270Vとした。   The specific setting voltage of the drive waveform is as follows. The sustain pulse voltage was 160V and the data pulse voltage was 65V. The potential Vsw of the sustain electrode 23 in the scanning period 3 is set to 250 V to 270 V so that the potential difference between the sustain electrode 23 and the data electrode 29 becomes equal to or higher than the counter discharge start voltage even when the data pulse 6 is applied.

これにより、65Vのデータパルスが印加されても、維持電極23とデータ電極29の間には185V〜205Vの電圧が印加されることになる。   As a result, even when a data pulse of 65V is applied, a voltage of 185V to 205V is applied between the sustain electrode 23 and the data electrode 29.

さらにデータパルスが印加されなければ、250V〜270Vの電圧が印加されることになる。したがって、いずれの場合も、対向放電開始電圧以上の壁電圧が、書込み放電によっておおよそ形成され、第一維持に対向放電が発生する。   If no data pulse is further applied, a voltage of 250V to 270V is applied. Accordingly, in any case, a wall voltage equal to or higher than the counter discharge start voltage is roughly formed by the address discharge, and the counter discharge is generated in the first sustain.

維持電極23側を陽極にした場合の対向放電開始電圧は350V程度であるので、これだけの電圧が印加されても、書込み放電が発生しなければ維持電極23とデータ電極29の間では放電は発生しない。この対向放電開始電圧以上にしている期間は、必ずしも走査期間3の全期間である必要はない。走査パルス印加前の電圧をVsに下げてもまったく同様のVdsmin特性が得られた。また、走査パルス印加終了直後から10μsec以上経ってから、維持電極23の電位を電圧Vswから電圧Vsに引き下げても影響はない。   When the sustain electrode 23 side is used as an anode, the counter discharge start voltage is about 350 V. Therefore, even if such a voltage is applied, if no address discharge occurs, a discharge occurs between the sustain electrode 23 and the data electrode 29. do not do. The period of time equal to or higher than the counter discharge start voltage is not necessarily the entire period of the scanning period 3. The same Vdsmin characteristic was obtained even when the voltage before applying the scan pulse was lowered to Vs. Further, there is no effect even if the potential of the sustain electrode 23 is lowered from the voltage Vsw to the voltage Vs after 10 μsec or more immediately after the end of the scanning pulse application.

一方、走査パルス終了から2μsec以上経ってから、維持電極電位を電圧Vsから電圧Vswに引き上げても、Vdsminは170Vとなり、電圧Vswに引き上げた効果は得られない。また、たとえ走査パルス印加終了後、2μsec以内に維持電極電位をVswに引き上げたとしても、Vsw電位を2μsec以上継続しなければ、その効果はきわめて弱いものとなり、Vdsminを引き下げることがほとんどできなかった。   On the other hand, even if the sustain electrode potential is raised from the voltage Vs to the voltage Vsw after 2 μsec or more from the end of the scanning pulse, Vdsmin becomes 170 V, and the effect of raising the voltage to the voltage Vsw cannot be obtained. Even if the sustain electrode potential is raised to Vsw within 2 μsec after the application of the scan pulse, the effect is very weak unless Vsw potential is continued for 2 μsec or more, and Vdsmin can hardly be lowered. .

このような波形を用いることにより、電位固定電極34がない従来のセル構造でも、本発明の第一の実施例と同様のVdsmin特性を得ることができる。   By using such a waveform, a Vdsmin characteristic similar to that of the first embodiment of the present invention can be obtained even with a conventional cell structure without the potential fixing electrode 34.

本発明の第1実施形態におけるプラズマディスプレイパネルの1セルの断面図である。It is sectional drawing of 1 cell of the plasma display panel in 1st Embodiment of this invention. 本発明の第1実施形態におけるプラズマディスプレイパネルの1セルの平面図である。It is a top view of 1 cell of the plasma display panel in 1st Embodiment of this invention. 本発明の第2実施形態におけるプラズマディスプレイパネルの1セルの平面図である。It is a top view of 1 cell of the plasma display panel in 2nd Embodiment of this invention. 本発明の第3実施形態におけるプラズマディスプレイパネルの1セルの平面図である。It is a top view of 1 cell of the plasma display panel in 3rd Embodiment of this invention. 本発明の第4実施形態におけるプラズマディスプレイパネルの1セルの平面図である。It is a top view of 1 cell of the plasma display panel in 4th Embodiment of this invention. 本発明の第5実施形態におけるプラズマディスプレイパネルの1セルの平面図である。It is a top view of 1 cell of the plasma display panel in 5th Embodiment of this invention. 本発明の第6実施形態におけるプラズマディスプレイパネルの1セルの平面図である。It is a top view of 1 cell of the plasma display panel in 6th Embodiment of this invention. 本発明の第7実施形態におけるプラズマディスプレイパネルの1セルの平面図である。It is a top view of 1 cell of the plasma display panel in 7th Embodiment of this invention. 本発明の第8実施形態におけるプラズマディスプレイパネルの1セルの平面図である。It is a top view of 1 cell of the plasma display panel in 8th Embodiment of this invention. 本発明の第1実施形態におけるプラズマディスプレイパネルの駆動波形を示す図である。It is a figure which shows the drive waveform of the plasma display panel in 1st Embodiment of this invention. 本発明の第1実施形態におけるプラズマディスプレイパネルの他の駆動波形を示す図である。It is a figure which shows the other drive waveform of the plasma display panel in 1st Embodiment of this invention. 本発明の第9実施形態におけるプラズマディスプレイパネルの駆動波形を示す図である。It is a figure which shows the drive waveform of the plasma display panel in 9th Embodiment of this invention. 本発明の第10実施形態におけるプラズマディスプレイパネルの駆動波形を示す図である。It is a figure which shows the drive waveform of the plasma display panel in 10th Embodiment of this invention. 従来の3電極AC型プラズマディスプレイパネルの平面図である。It is a top view of the conventional 3 electrode AC type | mold plasma display panel. 従来の3電極AC型プラズマディスプレイパネルの1セルの断面図である。It is sectional drawing of 1 cell of the conventional 3 electrode AC type | mold plasma display panel. 従来の3電極AC型プラズマディスプレイパネルの駆動波形示す図である。It is a figure which shows the drive waveform of the conventional 3 electrode AC type | mold plasma display panel. 走査パルス終了後のデータ電極電位Vdaと最小維持電圧Vdsminの関係を示した図である。FIG. 6 is a diagram showing a relationship between a data electrode potential Vda and a minimum sustain voltage Vdsmin after the end of a scan pulse. 最小維持電圧VdsminのVsw依存性を示す図である。It is a figure which shows the Vsw dependence of the minimum maintenance voltage Vdsmin.

符号の説明Explanation of symbols

1 前サブフィールド維持期間
2 予備放電期間
3 走査期間
4 維持期間
5 1サブフィールド
6 走査パルス
7 データパルス
8 書込み壁電荷形成パルス
9 維持ベース電圧
20 上部絶縁性基板
21 下部絶縁性基板
22 走査電極
23 維持電極
24 透明誘電体層
25 保護層
26 放電空間セル
27 蛍光体層
28 白色誘電体層
29 データ電極
30 ディスプレイ表示画面
31 1セル
32 金属トレース電極
33 隔壁
34 電位固定電極
35 放電ギャップ
36 非放電ギャップ
DESCRIPTION OF SYMBOLS 1 Previous subfield sustain period 2 Predischarge period 3 Scan period 4 Sustain period 5 1 Subfield 6 Scan pulse 7 Data pulse 8 Write wall charge formation pulse 9 Sustain base voltage 20 Upper insulating substrate 21 Lower insulating substrate 22 Scan electrode 23 Sustain electrode 24 Transparent dielectric layer 25 Protective layer 26 Discharge space cell 27 Phosphor layer 28 White dielectric layer 29 Data electrode 30 Display display screen 31 1 cell 32 Metal trace electrode 33 Bulkhead 34 Potential fixed electrode 35 Discharge gap 36 Non-discharge gap

Claims (4)

第一の絶縁基板と第二の絶縁基板とが互いに対向配置され、前記第一の絶縁基板には、走査電極と維持電極とが互いに平行に並べられて構成される電極対が複数配置され、かつ、前記第二の絶縁基板には、前記走査電極及び維持電極に直交する複数のデータ電極が配置されたプラズマディスプレイパネルを駆動する方法であって、
映像信号に対応して走査電極毎にデータを書き込む走査期間において、個別の前記走査電極に線順次で走査パルスを印加し、前記走査パルスと同期させて、前記映像信号に対応したデータパルスを印加することにより各画素に信号を書き込み、
前記走査パルス終了後、所定の期間以内に、前記維持電極と前記データ電極の電位を前記維持電極の方を高くし、前記維持電極と前記データ電極の電位差を、他の前記走査電極に前記走査パルスが印加されているタイミングで印加される前記データパルスの印加状態にかかわらず、前記維持電極と前記データ電極間の前記維持電極側を陰極電位としたときの対向放電開始電圧以上に設定する一方、前記維持電極と前記データ電極の間で前記維持電極側を陽極電位としたときに放電が発生しない電圧にする一定期間以上の対向壁電荷形成期間を設けることを特徴とするプラズマディスプレイパネルの駆動方法。
The first insulating substrate and the second insulating substrate are arranged to face each other, and the first insulating substrate is provided with a plurality of electrode pairs configured by arranging scan electrodes and sustain electrodes in parallel with each other, And the second insulating substrate is a method of driving a plasma display panel in which a plurality of data electrodes orthogonal to the scan electrodes and sustain electrodes are disposed,
In a scanning period in which data is written for each scan electrode corresponding to a video signal, a scan pulse is applied to each individual scan electrode in a line sequential manner, and a data pulse corresponding to the video signal is applied in synchronization with the scan pulse. To write a signal to each pixel,
Within a predetermined period after completion of the scan pulse, the sustain electrode and the data electrode are made higher in the sustain electrode, and the potential difference between the sustain electrode and the data electrode is transferred to the other scan electrode. Regardless of the application state of the data pulse applied at the timing when the pulse is applied, the counter electrode is set to be equal to or higher than the counter discharge start voltage when the sustain electrode side between the sustain electrode and the data electrode is a cathode potential. And driving the plasma display panel between the sustain electrode and the data electrode by providing an opposing wall charge forming period of a certain period or more that is a voltage that does not generate a discharge when the sustain electrode side is set to an anode potential. Method.
前記所定の期間が2μsec以内であることを特徴とする請求項1記載のプラズマディスプレイパネルの駆動方法。   2. The method of driving a plasma display panel according to claim 1, wherein the predetermined period is within 2 [mu] sec. 前記一定期間以上の対向壁電荷形成期間が2μsec以上であることを特徴とする請求項1又は2記載のプラズマディスプレイパネルの駆動方法。   3. The method of driving a plasma display panel according to claim 1, wherein the period of the opposing wall charge formation period equal to or longer than the predetermined period is 2 μsec or more. 前記各種電極が、誘電体層に被覆されて、放電ガスには直接露出されず、交流放電の状態で駆動されることを特徴とする請求項1、2又は3記載のプラズマディスプレイパネルの駆動方法。
4. The method for driving a plasma display panel according to claim 1, wherein the various electrodes are covered with a dielectric layer and are not directly exposed to a discharge gas, but are driven in an AC discharge state. .
JP2005158231A 2005-05-30 2005-05-30 Driving method of plasma display panel Pending JP2005292852A (en)

Priority Applications (1)

Application Number Priority Date Filing Date Title
JP2005158231A JP2005292852A (en) 2005-05-30 2005-05-30 Driving method of plasma display panel

Applications Claiming Priority (1)

Application Number Priority Date Filing Date Title
JP2005158231A JP2005292852A (en) 2005-05-30 2005-05-30 Driving method of plasma display panel

Related Parent Applications (1)

Application Number Title Priority Date Filing Date
JP2002155247A Division JP3907528B2 (en) 2002-05-29 2002-05-29 Plasma display device

Publications (1)

Publication Number Publication Date
JP2005292852A true JP2005292852A (en) 2005-10-20

Family

ID=35325763

Family Applications (1)

Application Number Title Priority Date Filing Date
JP2005158231A Pending JP2005292852A (en) 2005-05-30 2005-05-30 Driving method of plasma display panel

Country Status (1)

Country Link
JP (1) JP2005292852A (en)

Similar Documents

Publication Publication Date Title
JP4076367B2 (en) Plasma display panel, plasma display device, and driving method of plasma display panel
KR100570613B1 (en) Plasma Display Panel and Driving Method
JP4493250B2 (en) Driving method of AC type plasma display panel
JP2003036052A (en) Plasma display device
JP4124764B2 (en) Driving method of plasma display panel
JP3248074B2 (en) Driving method of plasma display panel
JP2000242222A (en) Method for driving plasma display panel
US6995735B2 (en) Drive method of AC type plasma display panel
JP3907528B2 (en) Plasma display device
US7812788B2 (en) Plasma display apparatus and driving method of the same
US6400094B2 (en) Method for driving AC-type plasma display panel
KR100578960B1 (en) Plasma Display Panel and Driving Method
JP4347868B2 (en) Plasma display device
JP4694113B2 (en) Driving method of AC type plasma display panel
JP2003157042A (en) Method of driving ac-type plasma display panel
JP2005292852A (en) Driving method of plasma display panel
JP4580162B2 (en) Driving method of plasma display panel
KR20020050740A (en) Plasma display panel and drive method for the same
KR100553207B1 (en) Plasma Display Panel and Driving Method thereof
JP2005148594A (en) Method for driving plasma display panel
JPH08137431A (en) Gas discharge display
JP3764897B2 (en) Driving method of plasma display panel
KR20050052247A (en) Plasma display panel and driving method thereof
JP2006003633A (en) Plasma display device and driving method used for plasma display device
JP2009042728A (en) Display panel driving apparatus and driving method thereof

Legal Events

Date Code Title Description
A131 Notification of reasons for refusal

Effective date: 20080812

Free format text: JAPANESE INTERMEDIATE CODE: A131

A02 Decision of refusal

Free format text: JAPANESE INTERMEDIATE CODE: A02

Effective date: 20081209