JP2005292568A - 像加熱装置 - Google Patents
像加熱装置 Download PDFInfo
- Publication number
- JP2005292568A JP2005292568A JP2004109089A JP2004109089A JP2005292568A JP 2005292568 A JP2005292568 A JP 2005292568A JP 2004109089 A JP2004109089 A JP 2004109089A JP 2004109089 A JP2004109089 A JP 2004109089A JP 2005292568 A JP2005292568 A JP 2005292568A
- Authority
- JP
- Japan
- Prior art keywords
- fixing
- image
- fixing device
- roller
- cleaning
- Prior art date
- Legal status (The legal status is an assumption and is not a legal conclusion. Google has not performed a legal analysis and makes no representation as to the accuracy of the status listed.)
- Pending
Links
Images
Landscapes
- Fixing For Electrophotography (AREA)
Abstract
【課題】未定着画像T1を担持させた記録材Pに接して画像を定着する定着部材71を有す定着器を記録材搬送方向に沿って複数個H1・H2配列し、前記記録材Pを前記複数の定着器H1・H2を順次に通過させて画像定着する定着装置9において、トナーオフセットによる画像不良が起こらず、高画質(高グロス)な画像を維持できる、定着装置を提供する。
【解決手段】個々の定着器H1・H2における定着部材71をクリーニングする能力に関して、記録材搬送方向最上流側の定着器H1のクリーニング能力が下流側の定着器H2よりも高いことを特徴とする定着装置。
【選択図】図2
【解決手段】個々の定着器H1・H2における定着部材71をクリーニングする能力に関して、記録材搬送方向最上流側の定着器H1のクリーニング能力が下流側の定着器H2よりも高いことを特徴とする定着装置。
【選択図】図2
Description
本発明は、例えば複写機、プリンタ、ファクシミリ等の画像形成装置において記録材に形成担持させた未定着画像を定着させる像加熱装置に関する。
より詳しくは、記録材上の未定着画像を定着する像加熱体と、像加熱体を清掃する清掃部材と、を有する複数の像加熱手段を備え、記録材搬送方向に対して上流側の像加熱手段により像が加熱された後に下流側の像加熱手段により像の加熱が可能な像加熱装置に関する。
電子写真プロセスを利用した複写機等の画像形成装置は、用紙(記録材)上に転写方式あるいは直接方式で形成された画像(未定着現像剤像)を当該用紙に定着させる定着装置を備える。
近年、この定着装置としては、通紙の高速化や高画質化に伴い、複数の像加熱手段を備えるものが増えてきている(例えば、特許文献1参照)。
これは、記録材上の未定着画像を定着する像加熱体(以下、定着部材と記す)を有する複数の像加熱手段(以下、定着器と記す)を備え、記録材搬送方向に対して上流側の定着器により像が加熱された後に下流側の定着器により像の加熱を行うものである。
複数個の定着器をもつものの特徴としては、記録材搬送方向最上流側の第一の定着器に未定着画像を担持させた記録材を一度通して画像定着させ、この記録材を更に下流側の第二の定着器に通して画像を再定着させるなどの工夫がなされている。一般的には、第一の定着器においてはある程度の定着性を確保し、第二の定着器においては、高画質(高グロス)を目指したものが多い。
特開平6−258970号公報
しかしながら、複数個の定着器を使用した場合、最上流側(第一)の定着器は主に未定着画像を定着するため、定着器の定着部材に対するオフセット量も多く、ある程度の画像性を維持すれば良く、特に、高グロスを望んでいないため、定着性は弱い場合が多い。そのため、定着部材に対するオフセットトナーの影響が多く、オフセットトナーをしっかり取り除かなければ、次に通紙された画像上に再転写されてしまう。
次に下流側(第二)の定着器においては、一度定着された画像を再定着させるため、定着部材に対するトナーのオフセット量も少なく、オフセットトナーの影響は比較的少なくなる。そのため、クリーニング性としてはあまり良いものを望んでいない。むしろ、第一の定着器と同様のクリーニング能力を確保するためクリーニング能力を上げた場合、第二の定着器においては定着部材の表面に傷をつけやすくなり、そのため画像上、高グロスを形成するため不利になってしまう。
本発明は、このような複数個の定着器を使用した定着装置(像加熱装置)について、トナーオフセットによる画像不良が起こらず、高画質(高グロス)な画像を維持できる、定着装置を提供することを目的とする。
本発明は下記の構成を特徴とする像加熱装置である。
(1)記録材上の未定着画像を定着する像加熱体と、像加熱体を清掃する清掃部材と、を有する複数の像加熱手段を備え、記録材の搬送方向に対して上流側の像加熱手段により像が加熱された後に下流側の像加熱手段により像の加熱が可能な像加熱装置において、上流側の清掃部材の像加熱体への清掃能力は、下流側の像加熱体への清掃能力よりも高いことを特徴とする像加熱装置。
(2)前記複数の像加熱手段のうちで、最上流側の像加熱手段における像加熱体に対する清掃部材の圧力が一番高いことを特徴とする(1)に記載の像加熱装置。
(3)前記複数の像加熱手段のうちで、最上流側の像加熱手段の像加熱体に対する清掃部材がウエブであり、ウエブの送り量が一番多いことを特徴とする(1)に記載の像加熱装置。
(4)前記複数の像加熱手段のうちで、少なくとも1つは像加熱体に対する清掃部材を設けないことを特徴とする(1)〜(3)の何れかに記載の像加熱装置。
即ち上記の構成により、上流側の像加熱手段の清掃部材は未定着画像のトナーオフセットのクリーニングを主とし、上流側の像加熱手段の清掃部材は主に高画質を維持することを可能にできて、トナーオフセットによる画像不良も起こらず、高画質(高グロス)な画像を維持できる。
以下、図面に沿って、本発明の実施の形態について説明する。なお、各図面において同一の符号を付したものは、同一の構成又は作用をなすものであり、これらについての重複説明は適宜省略した。
(1)画像形成装置例
図1は画像形成装置の一例の概略構成模型図である。本例の画像形成装置は転写式電子写真プロセスを用いた、タンデムタイプのカラーレーザプリンタである。
図1は画像形成装置の一例の概略構成模型図である。本例の画像形成装置は転写式電子写真プロセスを用いた、タンデムタイプのカラーレーザプリンタである。
この画像形成装置内には第1、第2、第3、第4の4つの画像形成部Pa、Pb、Pc、Pdが併設され、各々異なった色のトナー像が潜像、現像、転写のプロセスを経て形成される。
各画像形成部Pa、Pb、Pc、Pdは、それぞれ専用の像担持体、本例では電子写真感光ドラム3a、3b、3c、3dを具備し、各感光ドラム3a、3b、3c、3d上に各色のトナー像が形成される。各感光ドラム3a、3b、3c、3dに隣接して中間転写体(中間転写ベルト)130が設置され、感光ドラム3a、3b、3c、3d上に形成された各色のトナー像が、中間転写体130上に1次転写され、2次転写部で記録材P上に転写される。さらにトナー像が転写された記録材Pは、第一の定着装置9Aと第2の定着装置9Bを順次に搬送されて加熱及び加圧によりトナー像が定着されて記録画像形成物として装置外の排紙トレイ18に排出される。
感光ドラム3a、3b、3c、3dの外周には、それぞれドラム帯電器2a、2b、2c、2d、現像器1a、1b、1c、1d、1次転写帯電器24a、24b、24c、24d及びクリーナ4a、4b、4c、4dが設けられ、装置の上方部にはさらにレーザスキャナ5a、5b、5c、5dが設置されている。
感光ドラム3a、3b、3c、3dは矢印の反時計方向に回転駆動され、その周面がドラム帯電器2a、2b、2c、2dにより所定の極性・電位に一様に1次帯電される。その各感光ドラム3a、3b、3c、3dの一様帯電面に対してレーザスキャナ5a、5b、5c、5dから出力される、画像信号に応じて変調されたレーザ光La、Lb、Lc、Ldによる走査露光がなされて、各感光ドラム3a、3b、3c、3d上に画像信号に応じた潜像が形成される。すなわち、レーザスキャナ5a、5b、5c、5dは、それぞれ、光源装置、ポリゴンミラー等が設置されていて、光源装置から発せられたレーザ光をポリゴンミラーを回転して走査し、その走査光の光束を反射ミラーによって偏向し、fθレンズにより感光ドラム3a、3b、3c、3dの母線上に集光して露光することにより、感光ドラム3a、3b、3c、3d上に画像信号に応じた潜像が形成される。
現像器1a、1b、1c、1dには、現像剤としてそれぞれシアン、マゼンタ、イエロー及びブラックのトナーが供給装置6a、6b、6c、6dにより所定量充填されている。現像器1a、1b、1c、1dは、それぞれ感光ドラム3a、3b、3c、3d上の潜像を現像して、シアントナー像、マゼンタトナー像、イエロートナー像及びブラックトナー像として可視化する。
中間転写体130は3本の並行ローラー13、14、15間に懸回張設したエンドレスベルト部材であり、矢示の時計方向に感光ドラム3a、3b、3c、3dと同じ周速度をもって回転駆動されている。
第1の画像形成部Paの感光ドラム3a上に形成担持された上記第一色のイエロートナー画像は、感光ドラム3aと中間転写体130とのニップ部を通過する過程で、中間転写体130に印加される1次転写バイアスにより形成される電界と圧力により、中間転写体130の外周面に1次転写されていく。
以下、同様に、第2、第3、第4の画像形成部Pb、Pc、Pdの感光ドラム3b、3c、3d上に形成担持された、第2色のマゼンタトナー画像、第3色のシアントナー画像、第4色のブラックトナー画像が順次に中間転写体130上に重畳転写され、中間転写体130上に目的のカラー画像に対応した合成カラートナー画像が形成される。
11は2次転写ローラーであり、中間転写体130を懸回張設させた3本のローラー13・14・15のうちのローラー14に対して中間転写体130を挟ませて圧接させて中間転写体130との間に2次転写ニップ部を形成している。
一方、給紙カセット10から記録材Pが1枚分離給紙されて、シートパス16、シートパス17、レジストローラー12、転写前ガイドを通過して中間転写体130と2次転写ローラー11との当接ニップである2次転写ニップ部に所定のタイミングで給送され、同時に2次転写バイアスがバイアス電源からに印加される。これにより、中間転写体130上に重畳転写された合成カラートナー画像の記録材Pへの一括2次転写がなされる。
2次転写ニップ部にて合成カラートナー画像の転写を受けた記録材Pは中間転写体130から分離され、像加熱装置である定着装置7に導入されて記録材にトナー像が熱圧定着される。
この定着装置7は、像加熱手段としての定着器を、記録材搬送方向に沿って少なくとも第一の定着器H1と第二の定着器H2の複数の定着器を有する定着装置である。この定着装置7については後記の(2)項で詳述する。
1次転写が終了した感光ドラム3a、3b、3c、3dは、それぞれのクリーナ4a、4b、4c、4dにより転写残トナーをクリーニング、除去され、引き続き次の潜像の形成以下に備えられる。
転写ベルト130上に残留したトナー及びその他の異物は、転写ベルト130の表面にクリーニングウエブ(不織布)19を当接して、拭い取るようにしている。
両面コピーモードが選択されている場合には、第2の定着器H2を出た第一面側画像形成済みの記録材Pがフラッパ20により再循環搬送機構側のシートパス21側に導入され、さらにスイッチバックシートパス22内に入り、次いで該シートパス22から引き出されて再搬送シートパス23に誘導され、該シートパス23から、シートパス17、レジストローラー12、転写前ガイドを通過して中間転写体130と2次転写ローラー11との当接ニップである2次転写ニップ部に表裏反転状態で所定のタイミングで再導入される。これにより、記録材Pの第2面側に対して、中間転写体130上のトナー画像の2次転写がなされる。2次転写ニップ部にて第2面に対するトナー画像の2次転写を受けた記録材Pは中間転写体130から分離されて第一と第二の定着器H1・H2へ再導入され、トナー画像の定着処理を受けて両面コピーとして装置外の排紙トレイ18に排出される。
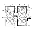
(2)定着装置7
図2は定着装置7の概略構成模型図である。この定着装置7は、像加熱手段としての定着器を、記録材搬送方向に沿って少なくとも第一の定着器H1と第二の定着器H2の複数の定着器を有する定着装置である。画像形成部から搬送された未定着トナー像T1を担持している記録材Pは第一の定着器H1に導入されて第一の定着処理を受け、次いで第二の定着器H2に導入されて第二の定着処理を受けて定着装置7から排出される。第一の定着器H1においてはある程度の定着性を確保させ、第二の定着器H2においては、高画質(高グロス)を確保させている。
図2は定着装置7の概略構成模型図である。この定着装置7は、像加熱手段としての定着器を、記録材搬送方向に沿って少なくとも第一の定着器H1と第二の定着器H2の複数の定着器を有する定着装置である。画像形成部から搬送された未定着トナー像T1を担持している記録材Pは第一の定着器H1に導入されて第一の定着処理を受け、次いで第二の定着器H2に導入されて第二の定着処理を受けて定着装置7から排出される。第一の定着器H1においてはある程度の定着性を確保させ、第二の定着器H2においては、高画質(高グロス)を確保させている。
本実施例においては、第一の定着器H1と第二の定着器H2は共にともに熱ローラー式の定着器である。
即ち、第一及び第二の両定着器H1・H2において、71と72は、記録材に接して画像を定着する像加熱体としての定着ローラーと加圧体としての加圧ローラーである。定着ローラー71は金属性パイプの表面にシリーコンゴムおよびフッ素ゴムが被覆されたものであり、加圧ローラー72は金属ローラーの表面に弾性層のシリーコンゴムが被覆されたものである。定着ローラー71と加圧ローラー72はそれぞれ回転自由に軸受支持させて上下並行に且つ圧接させることで両者間に所定幅の定着ニップ部Nを形成させて配列してある。定着ローラー71は不図示の駆動系により矢印の時計方向に回転駆動される。加圧ローラー72はこの定着ローラー71の回転に従動して回転する。
71a・72aは定着ローラー71と加圧ローラー72の内空部にそれぞれ配設した加熱源としてハロゲンヒーターである。71b・72bは定着ローラー71と加圧ローラー72の表面に接触させて、あるいは非接触に対向させて配設した温度検知体としてのサーミスタである。
定着ローラー71と加圧ローラー72は回転状態においてハロゲンヒーター71a・72aに対して電源部(不図示)から電力供給がなされ、該ハロゲンヒーター71a・72aの発熱により該両ローラーが内部加熱される。そして該両ローラー71・72の表面温度がそれぞれサーミスタ71b・72bにより検出され、その検出温度情報が温度制御回路(不図示)に入力する。温度制御回路は各サーミスタ71b・72bから入力する検知温度情報が、第一及び第二の両定着器H1・H2において、定着ローラー71及び加圧ローラー72にそれぞれ予め定めた所定の制御温度に維持されるように、電源部からハロゲンヒーター71a・72aへの電力供給を制御する。
73は第一の定着器H1における定着ローラー71の清掃手段であるクリーニング装置である。74は第二の定着器H2における定着ローラー71の清掃手段であるクリーニング装置である。本実施例においては該クリーニング装置73・74を、第一及び第二の両定着器H1・H2において違えたものにしている。すなわち、第一の定着器H1におけるクリーニング装置73はウエブ方式(ウエブシステム)のクリーニング装置にしてある。第二の両定着器H2におけるクリーニング装置73はパッド方式のクリーニング装置にしてある。このウエブ方式のクリーニング装置73とパッド方式のクリーニング装置74については後述する。
そして、上記の第一及び第二の定着器H1・H2の定着ローラー71及び加圧ローラー72が回転駆動され、且つ定着ローラー71及び加圧ローラー72が所定の表面温度に加熱温調されている状態において、第一の定着器H1に画像形成機構部側(図1)から未定着トナー像T1を形成担持させた記録材Pが送り込まれる。記録材Pは搬送方向に対して上流側に位置する第一の定着器H1の定着ニップ部Nで挟持搬送されながら該定着ニップ部Nでの熱と圧力によりトナー像の第一の定着処理を受ける。定着ニップ部Nを出た記録材Pは定着ローラー71または加圧ローラー52の面から分離され、搬送ベルト75やガイド(不図示)により第一の定着器H1から第二の定着器H2に送り込まれる。T2は第一の定着器H1で定着されたトナー像を示している。記録材Pは搬送方向に対して下流側に位置する第二の定着器H2の定着ニップ部Nで挟持搬送されながら該定着ニップ部Nでの熱と圧力により第二の定着処理を受ける。定着ニップ部Nを出た記録材Pは定着ローラー71または加圧ローラー72の面から分離されて該第二の定着器H2から送りだされる。
本実施例において、第一の定着器H1に具備させたウエブ方式のクリーニング装置73は、ロール巻きにした帯状の清掃部材であるクリーニングウエブ73aを巻きだしローラー73bに支持させ、その自由端部を巻き取りローラー73cに掛止させ、巻きだしローラー73bと巻き取りローラー73cとの間のクリーニングウエブ73a部分を押圧ローラー73dによる押圧力Fにより定着ローラー71の面に押圧接触させることで定着ローラー71の面を拭掃させて定着ローラー71面のオフセットトナーを除去するものである。そして、クリーニングウエブ73aを巻きだしローラー73b側から巻き取りローラー73c側へ少しずつ連続的にあるいは間欠的に繰り出していくことで、押圧ローラー73d部分において定着ローラー71の面に圧接してオフセットトナーを拭い取りクリーニング能力の低下した使用済みクリーニングウエブ部分を定着ローラー表面の移動方向とは反対方向に少しずつ更新移動させ、使用済みクリーニングウエブ部分を巻き取りローラー73cに順次巻き取っていくものである。クリーニングウエブ73aの定着ローラー71に対する圧力Fは総圧で0.1〜49Nである。また、このウエブの送り速度はA4一枚当たり0.01〜0.5mm送れば良い。尚、この数値に関しては、トナーT1の材質及び、記録材Pの材質及び表面性、あるいは、トナーのオフセット量で大きく異なる。
本実施例において、第二の定着器H2に具備させたパッド方式のクリーニング装置74は軽圧を目的としたものであり、清掃部材としてパッドホルダー74aに不織布パッド74bを保持させたものを用い、不織布パッド74b部分を定着ローラー71に接触させ、パッドホルダー74aを付勢手段(不図示)の押圧力Fで定着ローラー方向に付勢して不織布パッド74b部分を定着ローラー71に押し当て状態にしたものである。不織布パッド74bの定着ローラー71に対する加圧力Fは総圧で0.1〜9.8Nもあればよい。
このパッド方式のクリーニング装置74は、固定系でるため、あまり、圧力はかけられず、オフセットトナーが多いときは使用し難い。今回は定着ローラー表面を粗さないのが目的であるため第二の定着器H2用が主となる。
具体的に、本実施例においては、第一の定着器H1である熱ローラー式の定着装置(定着温度170℃、加圧35N/cm2、定着速度200mm/s)のウエブ式クリーニング装置73として、ウエブ材質:芳香族ポリアミド樹脂とポリエチレンテレフタレート樹脂を含有する不織布[日本バイリーン社製]、加圧力F:総圧49N、ウエブ送り量:A4一枚当たり0.05mmの仕様の装置を用いた。
また、第二の定着器H2である熱ローラー式の定着装置(定着条件は第一の定着器H1と同じ)のパッド式クリーニング装置74として、パット上の不織布の材質:芳香族ポリアミド樹脂とポリエチレンテレフタレート樹脂を含有する不織布(日本バイリーン社製)、加圧力F:1Nの仕様の装置を用いた。
上記において、第一の定着器H1のウエブ式クリーニング装置73と、第二の定着器H2のパッド式クリーニング装置74とでは、定着ローラー71をクリーニングする能力が、前者の方が後者よりも高い。
ここで、クリーニング能力の判断方法について説明する。本実施例では、定着温度を比較的オフセット量が多くなるように150℃に設定して、定着ローラの温度が飽和するまで、暖めておく。そして、この温度でベタ黒画像を連続50枚定着動作を行う。その後、それぞれのクリーニング装置によりクリーニングされたトナー量を測定することで、クリーニング能力の高低を判断することができる。なお、このクリーニング能力の判断方法は一例にすぎず、定着ローラ温度、及び連続定着枚数に関しては、上記の値に限定されるものではない。
本実施例においては、トナーのオフセットによる画像不良はみられず、また、耐久80K行っても高グロス(FF画像でグロス50%)画像が安定して出力できた。
ここで、図3は図2の定着装置7について、記録材Pを第一の定着器H1だけを通して定着処理し、第二の定着器H2を通さずに排紙するモードを選択できるようにしたものである。すなわち、第一と第二の定着器H1・H2の間の記録材搬送路にフラッパ76を配設し、第一と第二の両定着器H1・H2を用いた定着モードが選択されると、制御部(不図示)はフラッパ76を実線示の第一姿勢に切換え保持する。この場合は、第一の定着器H1を出た記録材Pはフラッパ76の下を通って搬送ベルト75により第二の定着器H2に導入される。第一の定着器H1のみを用いた定着モードが選択されると、制御部(不図示)はフラッパ76を2点鎖線示の第二姿勢に切換え保持する。この場合は、第一の定着器H1を出た記録材Pはフラッパ76の前ガイド面により第一と第二の両定着器H1・H2の間から第二の定着器H2に入らずに上方に案内されて排出される。定着器H2を通過させるか否かは例えば、記録材の厚み、あるいは、グロス等に選択することが可能である。
図4は本実施例の定着装置7の概略構成模型図である。この定着装置7は実施例1の定着装置7(図2)において、第二の定着器H2のパッド方式クリーニング装置74を第一の定着器H1と同様のウエブ方式クリーニング装置77に変更したものである。77aはクリーニングウエブ、77bは巻きだしローラー、77cは巻き取りローラー、77dは押圧ローラーである。
本実施例のように、第一と第二の定着器H1とH2においてクリーニング装置73・77として同様なクリーニング方式を用いた場合でも、クリーニング方式の設定条件を変更して、第一と第二の定着器H1とH2のクリーニング能力の差別化が行える。例えば、第一の定着器H1側のクリーニングウエブの加圧力Fを上げ、第二の定着器H2側のクリーニングウエブの加圧力Fを下げることで、クリーニング能力を高低差別化して、定着性と高画質化の両立が行える。同様に、ウエブの送り量を変更させたり、材質を変更させることでも可能である。例えば、材質においては、通常の芳香族系ポリアミドイミドによる不織布を用いたフェルトから構成されているウエブを第二の定着器H2に用いるのに対し、第一の定着器H1のウエブは、よりクリーニング能力を高める目的で、電界メッキを施したクリーニング能力の大きいウエブから構成させる工夫も可能である。
具体的に、本実施例においては、第一の定着器H1のウエブ方式クリーニング装置73として、ウエブ材質:芳香族ポリアミド樹脂とポリエチレンテレフタレート樹脂を含有する不織布[日本バイリーン社製]、加圧力F:総圧49N、送り量:A4一枚当たり0.05mm)の仕様の装置を用いた。
また、第二の定着器H2のウエブ方式クリーニング装置77として、ウエブ材質:芳香族ポリアミド樹脂とポリエチレンテレフタレート樹脂を含有する不織布[日本バイリーン社製]、加圧力F:総圧49N、送り量:A4一枚当たり0.01mmの仕様の装置、すなわちウエブの送り速度を変更した装置を用いた。
上記において、第一の定着器H1のウエブ式クリーニング装置73と、第二の定着器H2のウエブ式クリーニング装置77とでは、定着ローラー71をクリーニングする能力が、前者の方が後者よりも高い。
本実施例においては、トナーのオフセットによる画像不良はみられず、また、耐久80K行っても高グロス(FF画像でグロス50%)画像が安定して出力できた。
本実施例も、上記実施例2の定着装置7(図4)と同様に、第一と第二の定着器H1とH2のクリーニング装置73・77としてともにウエブ方式クリーニング装置を用いたものであるが、第一の定着器H1のウエブ方式クリーニング装置73として、ウエブ材質:芳香族ポリアミド樹脂とポリエチレンテレフタレート樹脂を含有する不織布[日本バイリーン社製]に酸化チタン5部混入したもの、加圧力F:総圧20N、送り量:A4一枚当たり0.01mm)の仕様の装置を用いた。
また、第二の定着器H2のウエブ方式クリーニング装置77として、ウエブ材質:芳香族ポリアミド樹脂とポリエチレンテレフタレート樹脂を含有する不織布[日本バイリーン社製]、加圧力F:総圧20N、送り量:A4一枚当たり0.01mmの仕様の装置を用いた。
上記において、第一の定着器H1のウエブ式クリーニング装置73と、第二の定着器H2のウエブ式クリーニング装置77とでは、定着ローラー71をクリーニングする能力が、前者の方が後者よりも高い。
本実施例においては、トナーのオフセットによる画像不良はみられず、また、耐久70K行っても高グロス(FF画像でグロス50%)画像が安定して出力できた。
トナーや、第一の定着器H1のクリーニング能力が高く、第二の定着器H2でのトナーオフセットがない場合には、第二の定着器H2におけるクリーニング装置を無くすことも可能である。
本実施例はその例である。図5は本実施例の定着装置7の概略構成模型図である。この定着装置7は実施例1の定着装置7(図2)において、第二の定着器H2はクリーニング装置を無しにしたものである。
本実施例では第一の定着器H1の定着ニップ部加圧力は70N/cm2とした。第一の定着器H1のウエブ方式クリーニング装置73として、ウエブ材質:芳香族ポリアミド樹脂とポリエチレンテレフタレート樹脂を含有する不織布[日本バイリーン社製]、加圧力F:総圧49N、送り量:A4一枚当たり0.05mmの仕様の装置を用いた。第二の定着器H2はクリーニング装置を無しであるから、第一の定着器H1はクリーニング能力は第二の定着器H2よりも当然高い。
本実施例においては、トナーのオフセットによる画像不良はみられず、また、耐久100K行っても高グロス(FF画像でグロス50%)画像が安定して出力できた。
図6は本実施例の定着装置7の概略構成模型図である。この定着装置7は実施例1の定着装置7(図2)において、第二の定着器H2のパッド方式クリーニング装置74をローラー式クリーニング装置78に変更したものである。
第一の定着器H1のウエブ方式クリーニング装置73として、ウエブ材質:芳香族ポリアミド樹脂とポリエチレンテレフタレート樹脂を含有する不織布[日本バイリーン社製]、加圧力F:総圧49N、送り量:A4一枚当たり0.05mmの仕様の装置を用いた。
第二の定着器H2のローラー式クリーニング装置78は、クリーニングローラー78aとしてフェルト状の耐熱不繊材料材料(芳香族ポリアミド樹脂とポリエチレンテレフタレート樹脂)をローラー形状に巻きつけたものを用い、これを定着ローラー71に加圧力10Nで圧接させて、カウンター回転させたものである。
本実施例においては、トナーのオフセットによる画像不良はみられず、また、耐久70K行っても高グロス(FF画像でグロス48%)画像が安定して出力できた。
[比較例1]
上記実施例1において、定着器を第一の定着器H1のみ使用し、実施例1と同様の実験を行った。その場合、トナーオフセットはあまり起こらないが、低グロス(FF画像でグロス20%)にしかならなかった。
上記実施例1において、定着器を第一の定着器H1のみ使用し、実施例1と同様の実験を行った。その場合、トナーオフセットはあまり起こらないが、低グロス(FF画像でグロス20%)にしかならなかった。
[比較例2]
上記実施例2において、第二の定着器H2におけるクリーニング装置77を第一の定着器H1におけるクリーニング装置73と同じにする以外同様の実験を行った。即ち、第一と第二の定着器H1・H2のウエブクリーニング方式は、ウエブ材質:芳香族ポリアミド樹脂とポリエチレンテレフタレート樹脂を含有する不織布[日本バイリーン社製]、加圧力F:総圧49N、送り量:A4一枚当たり0.05mm、と同じ仕様である。この場合、トナーのオフセットはなかったが、耐久が進むにすれて高グロスが維持できなくなり、初期は60%あったグロスが、70Kでグロスが25%にも落ちた。
上記実施例2において、第二の定着器H2におけるクリーニング装置77を第一の定着器H1におけるクリーニング装置73と同じにする以外同様の実験を行った。即ち、第一と第二の定着器H1・H2のウエブクリーニング方式は、ウエブ材質:芳香族ポリアミド樹脂とポリエチレンテレフタレート樹脂を含有する不織布[日本バイリーン社製]、加圧力F:総圧49N、送り量:A4一枚当たり0.05mm、と同じ仕様である。この場合、トナーのオフセットはなかったが、耐久が進むにすれて高グロスが維持できなくなり、初期は60%あったグロスが、70Kでグロスが25%にも落ちた。
[比較例3]
上記実施例2において、第一の定着器H1におけるクリーニング装置73を第二の定着器H2におけるクリーニング装置77と同じにする以外同様の実験を行った。即ち、第一と第二の定着器H1・H2のウエブクリーニング方式は、ウエブ材質:芳香族ポリアミド樹脂とポリエチレンテレフタレート樹脂を含有する不織布[日本バイリーン社製]、加圧力F:総圧25N、送り量:A4一枚当たり0.01mm)、と同じ仕様である。この場合、トナーのオフセットが多発し、耐久が進むにすれて画像上に再転写し、画像不良が発生した。
上記実施例2において、第一の定着器H1におけるクリーニング装置73を第二の定着器H2におけるクリーニング装置77と同じにする以外同様の実験を行った。即ち、第一と第二の定着器H1・H2のウエブクリーニング方式は、ウエブ材質:芳香族ポリアミド樹脂とポリエチレンテレフタレート樹脂を含有する不織布[日本バイリーン社製]、加圧力F:総圧25N、送り量:A4一枚当たり0.01mm)、と同じ仕様である。この場合、トナーのオフセットが多発し、耐久が進むにすれて画像上に再転写し、画像不良が発生した。
(3)定着器及びクリーニング装置の他の構成例
1)第一または第二、或いは両者の定着器H1・H2は、実施例1〜5のような熱ローラー方式の定着器に限られない。例えば、図7に示すようなフィルム式加熱定着方式の定着器を用いてもよい。
1)第一または第二、或いは両者の定着器H1・H2は、実施例1〜5のような熱ローラー方式の定着器に限られない。例えば、図7に示すようなフィルム式加熱定着方式の定着器を用いてもよい。
81はエンドレスベルト状の耐熱性の定着フィルムであり、左側の駆動ローラー82と、右側の従動ローラー83と、駆動ローラー82と従動ローラー83間の下方に配置した加熱体としての低熱容量線状加熱体84の互いに並行な該3部材82〜84間に懸回張設してある。
従動ローラー83はエンドレスベルト状の定着フィルム81のテンションローラーを兼ねており、該定着フィルム81は駆動ローラー82の時計方向回転駆動に伴ない時計方向に所定の周速度、すなわち不図示の画像形成部側から搬送されてくる未定着トナー像T1を上面に担持した記録材Pの搬送速度と同じ周速度をもってシワや蛇行、速度遅れなく回動駆動される。
85は加圧部材としての、シリコーンゴム等の離型性の良いゴム弾性層を有する加圧ローラーであり、前記のエンドレスベルト状定着フィルム81の下行側フィルム部分を挟ませて前記加熱体84の下面に対して不図示の付勢手段の押圧力Fにより例えば総圧39〜69N(4〜7kg)の当圧接をもって対向圧接させて定着ニップ部Nを形成させている。この加圧ローラー85は記録材Pの搬送方向に順方向の反時計方向に回転駆動される。該加圧ローラー85は本例のものは芯金の外周に同心一体に金型成形等で成形した外径30mm、肉厚7mmのシリコーンゴムローラーである。
加熱体84は定着フィルム81の面移動方向と交差する方向(フィルムの幅方向)を長手とする低熱容量線状加熱体であり、ヒーター基板84a、通電発熱抵抗体(発熱体)84b、検温素子84c等よりなり、ヒーター支持体84dに取付け保持させて固定支持させてある。86は定着フィルム表面のクリーニング装置である。本例のものはパッド方式であり、駆動ローラー82の定着フィルム懸回部において定着フィルム表面にクリーニングパッドを圧接させて配設してある。
2)更に最近は、励磁コイルによる磁束で定着ローラーに設けた導電層に渦電流を発生させジュール熱により発熱させる電磁誘導加熱方式の定着器が提案されていることも多くなっている。
図8でその一例についても説明する。定着部材としての定着ローラー91は、電磁誘導発熱体(加熱体)である導電層91aとしての、外径40mm、厚さ0.7mmの鉄製の芯金シリンダである。その表面の離型性を高めるために例えばPTFE10〜50μmや、PFA10〜50μmの層を設けてもよい。また内側には高熱伝導層91bと低熱伝導層91cを配設してある。
また導電層91aを構成させる電磁誘導発熱体の他の材料として、例えば磁性ステンレスのような磁性材料(磁性金属)といった、比較的透磁率μが高く、適当な抵抗率ρを持つ物を用いてもよい。さらに非磁性材料でも、金属などの導電性のある材料は、材料を薄膜にする事などにより使用可能である。
加圧部材としての加圧ローラー92は外径20mmの鉄製の芯金の外周に厚さ5mmのSiゴムの層と定着ローラー1と同様に表面に離型性を高めるために例えばPTFE10〜50μmや、PFA10〜50μmの層を設けて、外径は30mmである。
定着ローラー91と加圧ローラー92は回転自在に支持されていて、定着ローラー91のみを駆動する構成になっている。加圧ローラー92は定着ローラー91の表面に圧接して定着ニップ部Nを形成し、圧接部(ニップ部)での摩擦力で従動回転する様に配置してある。
また、加圧ローラー92は定着ローラー91の回転軸方向にバネなどを用いた不図示の機構によって加圧されている。加圧ローラー92は約294N(約30Kg重)で荷重されており、その場合圧接部Nの幅(ニップ幅)は約6mmになる。しかし、都合によっては荷重を変化させてニップ幅を変えてもよい。
温度センサー93は定着ローラー91の表面に当接するように配置され、温度センサー93の検出信号をもとに励磁コイル94への電力供給を増減させることで、定着ローラー91の表面温度が所定の一定温度になる様自動制御される。
搬送ガイド95は、未定着のトナー画像T1を担持しながら搬送される記録材Pを定着ローラー91と加圧ローラー92との間の定着ニップ部Nへ案内する位置に配置される。
分離爪96は、定着ローラー91の表面に当接あるいは近接して配置され、記録材Pが定着ニップ部通過後に定着ローラー91に張り付きぎみなものを分離するためのものである。
外部加熱源である励磁コイル94は定着ローラー91の外周に沿って設置され磁性体97で覆われ、加圧ローラー92が接触されていない部分全部あるいは一部に設けられる。
磁性体97はフェライト、パーマロイといった高透磁率で残留磁束密度の低いものが望ましい。
励磁コイル94には10〜100kHzの交流電流が印加され、機械的精度の許す限り定着ローラー1外周面には接触せず近い方がよい。
また、交流電流によって誘導された磁界は定着ローラー91の導電層91aに過電流を流し、ジュール熱を発生させる。この発熱を増加させるためには励磁コイル94の巻き数を増やしたり、交流電流の周波数を高くするとよい。
詳細には、励磁コイル94に10〜100kHzの交流電流を流した時発生する誘導磁界のこの導電層91aへの表皮侵入深さが0.5mm以下にあることが望ましく、60kHzの交流電流をコイルに流した時、例えば鉄ならば0.1mm程度でよく、ニッケルならもっと薄くできる。
このときの導電層91aは比透磁率50以上、かつ体積抵抗率5.0×10−8Ω・m以上、かつ厚さ1mm以下であり、定着ローラー91の外部に配設された励磁コイルに10〜100kHzの交流電流を流した時発生する誘導磁界のこの導電層への表皮侵入深さが0.5mm以下であることが望ましく、60kHzの交流電流をコイルに流した時、例えば鉄ならば0.1mm程度でよく、ニッケルならもっと薄くできる。
高熱伝導層91bは熱伝導率200W/m・K以上(0〜300℃の時)のものが望ましく、例えばアルミや銅などならば1mm以上の層厚が良い、低熱伝導層91cは熱伝導率5.0×10−2W/m・K以下(0〜300℃の時)のものが望ましい。
98は定着ローラー表面のクリーニング装置である。本例のものはパッド方式であり、定着ローラー表面にクリーニングパッドを圧接させて配設してある。
3)定着部材用のクリーニング装置も実施例のようなウエブ方式、パッド方式、ローラー式のものに限られない。
例えば、図9に示すようにブレードクリーニング装置も十分考えられる。ここで、ブレードクリーニングについて簡単に説明する。クリーニングブレードC1は、長板状の弾性部材61と、弾性部材61の一方の長辺を長手方向に沿って覆う断面方形のゴム状部材62と、ゴム状部材62のエッジを長手方向全長にわたって被覆するフッ素樹脂系の被覆材63とを有し、該フッ素樹脂系の被覆材63で被覆されたエッジ63aを、定着ローラー71表面に当接させてクリーニングニップNCを形成している。弾性部材61は、金属板によって構成している。
また、クリーニング能力を上げるにはクリーニングブレードC1の取付角度θは、20〜60度に設定し、またクリーニングニップNCにおけるクリーニングブレードC1の線圧は、10〜60/cmに設定している。なお、この線圧を、クリーニングブレードC1が剛体であると仮定した場合の進入量に換算すると、0.4〜1.7mmになる。これも、バネ加重などを考えるとこの限りではない。また、クリーニングブレードC1を使用した場合、オフセットトナーのクリーニング能力は高いが、ブレードエッジ部63aにオフセットトナーが滞留しやすく、定着ローラー表面を傷つけやすいのが特徴である。主に、第一の定着器H1のクリーニング手段として用いる。
更に、トナーや、第一の定着器のクリーニング能力が高く、第二の定着器でのトナーオフセットがない場合は、第二の定着器におけるクリーニング装置を無くすことも可能である。
上記の各実施例においては像加熱手段として2つの定着器H1・H2により定着装置9を構成したけれども3つ以上の定着器を配列して定着装置9を構成することもできる。
71…定着ローラー、72…加圧ローラー、73…オフセットトナー用クリーニングシステム(ウエブ方式)、H1…第一の定着器、H2…第二の定着器、T1…未定着トナー、T2…定着トナー、P…記録材
Claims (4)
- 記録材上の未定着画像を定着する像加熱体と、像加熱体を清掃する清掃部材と、を有する複数の像加熱手段を備え、記録材の搬送方向に対して上流側の像加熱手段により像が加熱された後に下流側の像加熱手段により像の加熱が可能な像加熱装置において、
上流側の清掃部材の像加熱体への清掃能力は、下流側の像加熱体への清掃能力よりも高いことを特徴とする像加熱装置。 - 前記複数の像加熱手段のうちで、最上流側の像加熱手段における像加熱体に対する清掃部材の圧力が一番高いことを特徴とする請求項1に記載の像加熱装置。
- 前記複数の像加熱手段のうちで、最上流側の像加熱手段の像加熱体に対する清掃部材がウエブであり、ウエブの送り量が一番多いことを特徴とする請求項1に記載の像加熱装置。
- 前記複数の像加熱手段のうちで、少なくとも1つは像加熱体に対する清掃部材を設けないことを特徴とする請求項1〜3の何れかに記載の像加熱装置。
Priority Applications (1)
| Application Number | Priority Date | Filing Date | Title |
|---|---|---|---|
| JP2004109089A JP2005292568A (ja) | 2004-04-01 | 2004-04-01 | 像加熱装置 |
Applications Claiming Priority (1)
| Application Number | Priority Date | Filing Date | Title |
|---|---|---|---|
| JP2004109089A JP2005292568A (ja) | 2004-04-01 | 2004-04-01 | 像加熱装置 |
Publications (1)
| Publication Number | Publication Date |
|---|---|
| JP2005292568A true JP2005292568A (ja) | 2005-10-20 |
Family
ID=35325537
Family Applications (1)
| Application Number | Title | Priority Date | Filing Date |
|---|---|---|---|
| JP2004109089A Pending JP2005292568A (ja) | 2004-04-01 | 2004-04-01 | 像加熱装置 |
Country Status (1)
| Country | Link |
|---|---|
| JP (1) | JP2005292568A (ja) |
Cited By (2)
| Publication number | Priority date | Publication date | Assignee | Title |
|---|---|---|---|---|
| JP2011085636A (ja) * | 2009-10-13 | 2011-04-28 | Ricoh Co Ltd | 定着装置及び画像形成装置 |
| JP2011253136A (ja) * | 2010-06-04 | 2011-12-15 | Ricoh Co Ltd | 定着装置及び画像形成装置 |
-
2004
- 2004-04-01 JP JP2004109089A patent/JP2005292568A/ja active Pending
Cited By (3)
| Publication number | Priority date | Publication date | Assignee | Title |
|---|---|---|---|---|
| JP2011085636A (ja) * | 2009-10-13 | 2011-04-28 | Ricoh Co Ltd | 定着装置及び画像形成装置 |
| JP2011253136A (ja) * | 2010-06-04 | 2011-12-15 | Ricoh Co Ltd | 定着装置及び画像形成装置 |
| US8918038B2 (en) | 2010-06-04 | 2014-12-23 | Ricoh Company, Ltd. | Fixing device and image forming apparatus incorporating same |
Similar Documents
| Publication | Publication Date | Title |
|---|---|---|
| JP4241476B2 (ja) | 画像加熱装置及び画像形成装置 | |
| JP5549906B2 (ja) | 定着装置、画像形成装置及びカラー画像形成装置 | |
| JP4448016B2 (ja) | 像加熱装置 | |
| US9091975B2 (en) | Fixing device | |
| JP2005292567A5 (ja) | ||
| JP2010276763A (ja) | 定着装置及び画像形成装置 | |
| JP4636870B2 (ja) | 像加熱装置 | |
| JP2016075802A (ja) | 画像形成装置 | |
| JP2023011048A (ja) | 定着装置 | |
| JP5451362B2 (ja) | 像加熱装置 | |
| JP6335577B2 (ja) | 定着装置 | |
| JP2005070321A (ja) | 定着装置及び画像形成装置 | |
| JP5713272B2 (ja) | 定着装置及び画像形成装置 | |
| JP2012008377A (ja) | 画像加熱装置 | |
| JP2009223291A (ja) | 定着装置およびそれを備える画像形成装置 | |
| JP2010054666A (ja) | 画像加熱装置 | |
| JP5031457B2 (ja) | 像加熱装置および像加熱装置を備えた画像形成装置 | |
| JP6576523B2 (ja) | 画像形成装置 | |
| JP2005292568A (ja) | 像加熱装置 | |
| JP6904671B2 (ja) | 画像形成装置 | |
| JP4612862B2 (ja) | 像加熱装置 | |
| JP4341338B2 (ja) | 定着装置および画像形成装置 | |
| JP5244360B2 (ja) | 定着装置およびそれを備える画像形成装置 | |
| JP2012083410A (ja) | 画像形成装置 | |
| JP5791358B2 (ja) | 像加熱装置および画像形成装置 |