JP2005291832A - 電池の劣化診断方法とその装置 - Google Patents

電池の劣化診断方法とその装置 Download PDF

Info

Publication number
JP2005291832A
JP2005291832A JP2004105346A JP2004105346A JP2005291832A JP 2005291832 A JP2005291832 A JP 2005291832A JP 2004105346 A JP2004105346 A JP 2004105346A JP 2004105346 A JP2004105346 A JP 2004105346A JP 2005291832 A JP2005291832 A JP 2005291832A
Authority
JP
Japan
Prior art keywords
battery
ultrasonic
measured
ultrasonic wave
rated capacity
Prior art date
Legal status (The legal status is an assumption and is not a legal conclusion. Google has not performed a legal analysis and makes no representation as to the accuracy of the status listed.)
Granted
Application number
JP2004105346A
Other languages
English (en)
Other versions
JP4592318B2 (ja
Inventor
Masanori Hattori
雅典 服部
Current Assignee (The listed assignees may be inaccurate. Google has not performed a legal analysis and makes no representation or warranty as to the accuracy of the list.)
Chubu Electric Power Co Inc
Original Assignee
Chubu Electric Power Co Inc
Priority date (The priority date is an assumption and is not a legal conclusion. Google has not performed a legal analysis and makes no representation as to the accuracy of the date listed.)
Filing date
Publication date
Application filed by Chubu Electric Power Co Inc filed Critical Chubu Electric Power Co Inc
Priority to JP2004105346A priority Critical patent/JP4592318B2/ja
Publication of JP2005291832A publication Critical patent/JP2005291832A/ja
Application granted granted Critical
Publication of JP4592318B2 publication Critical patent/JP4592318B2/ja
Anticipated expiration legal-status Critical
Expired - Fee Related legal-status Critical Current

Links

Images

Classifications

    • YGENERAL TAGGING OF NEW TECHNOLOGICAL DEVELOPMENTS; GENERAL TAGGING OF CROSS-SECTIONAL TECHNOLOGIES SPANNING OVER SEVERAL SECTIONS OF THE IPC; TECHNICAL SUBJECTS COVERED BY FORMER USPC CROSS-REFERENCE ART COLLECTIONS [XRACs] AND DIGESTS
    • Y02TECHNOLOGIES OR APPLICATIONS FOR MITIGATION OR ADAPTATION AGAINST CLIMATE CHANGE
    • Y02EREDUCTION OF GREENHOUSE GAS [GHG] EMISSIONS, RELATED TO ENERGY GENERATION, TRANSMISSION OR DISTRIBUTION
    • Y02E60/00Enabling technologies; Technologies with a potential or indirect contribution to GHG emissions mitigation
    • Y02E60/10Energy storage using batteries

Landscapes

  • Secondary Cells (AREA)
  • Investigating Or Analyzing Materials By The Use Of Ultrasonic Waves (AREA)
  • Tests Of Electric Status Of Batteries (AREA)

Abstract

【課題】充放電中或いは非作動状態などに拘わらず、また電極への接続を行うことなく、簡単に電池容量を求めて電池の劣化診断することができる電池の劣化診断方法とその装置を提供する。
【解決手段】この電池の劣化診断方法は、被測定電池Bの外側から超音波発振子3により超音波を被測定電池内に印加し、被測定電池の外側で超音波受信子4により超音波を検出し、検出した超音波に基づき、被測定電池の電池容量の対定格容量比を求め、対定格容量比から被測定電池の劣化を診断する。
【選択図】 図1

Description

本発明は、鉛蓄電池など各種の電池の劣化を、その電池容量に基づき診断する電池の劣化診断方法とその装置に関する。
例えば、二次電池における電池容量とは、基本的にその電池内に蓄電可能な電気量をAh(アンペア・時間)で表すものであるから、電池容量を正確に測定するためには、その電池を完全に放電させ、その際の電流値と時間を測定する必要がある。このために、一般に二次電池の電池容量を正確に測定する際には、電池を完全に放電するために例えば5〜10時間の長い時間を必要とし、さらに、再充電するために15時間程度の長い充電時間を必要とする。また、電池容量が非常に大きい二次電池の場合、被測定電池の放電を行うためには、放電したエネルギーを熱に変えるための大型の抵抗器が必要となる。
このような実際に充放電を行う電池容量の測定によれば、使用中の電池を測定することはできないため、稼働中の電池の接続を一旦外して測定する必要があり、電池を使用していた機器では、別の電源装置を必要とする。加えて、電池の充放電を行うことは実質的に電池の劣化を進行させることになるため、電池容量の測定によって電池に悪影響を与えやすい、などの問題があった。
また、従来、電池容量を測定する方法として、電池の部分放電により、電池容量を推定する方法が下記特許文献1などで提案されている。この部分放電による電池容量の測定は、上記の完全放電による測定と同様に、充放電工程に伴う劣化を発生するなどの問題があった。
特開平5−281309号公報
さらに、従来では、電池容量を測定する方法として電池の電解液の比重を測定し、その比重から電池容量を推定する方法が下記特許文献2などにより提案されている。この方法は、電池容量が減少すると、電池の電解液の比重が大きくなる傾向にあることを利用した方法であり、電解液を使用する液式電池においては、簡便な電池容量測定方法として従来実施されていた。
しかしながら、この種の電池の電解液の比童から電池容量を測定する方法では、電池から電解液を取出しえる構造の電池のみに限定され、現在の蓄電池において主流になりつつある密閉型の電池では電解液を取出すことができないために、測定ができず、また、電解液の比重は、電池の充電状態に影響されやすいため、電解液の比重から電池容量を推定した場合、電池容量の測定ではなく、電池の充電状態の測定になりやすい、という問題があった。
特公平6−9146号公報
さらに、従来、電池の充電中に電極から発生する超音波(アコースティックエミッション)を観測して、この超音波の周波数に基づき、電池の充電状態或いは劣化状態を測定する方法が、下記特許文献3で提案されている。しかし、このような充電中のアコースティックエミッションを検出して充電状態などを測定する方法では、必然的に充電中でしか電池の劣化状態を測定することができず、電池容量から正確に電池の劣化を診断することができないという問題があった。
特開平7−6795号公報
本発明は、上述の課題を解決するものであり、充放電中或いは非作動状態などに拘わらず、被測定電池の外側から超音波を印加することにより電池容器を開封することなく外部から、簡単に電池の劣化を診断することができる電池の劣化診断方法とその装置を提供することを目的とする。
上記目的を達成するために、本発明の請求項1の電池の劣化診断方法は、被測定電池の外側から超音波を該被測定電池内に印加し、該被測定電池の外側で超音波を検出し、該検出した超音波に基づき、被測定電池の劣化を診断することを特徴とする。
また、請求項2の発明は、上記請求項1記載の電池の劣化診断方法において、上記被測定電池内に印加される超音波は、複数の周波数の超音波であり、超音波発振子により該電池内の電極の電極面に対して垂直に透過するように該電池の外壁側部から印加され、反対側の外壁側部に設けた超音波受信子により該超音波を検出することを特徴とする。
また、請求項3の発明は、上記請求項1または2記載の電池の劣化診断方法において、上記超音波受信子により検出し出カされた超音波の電圧信号をフーリエ変換して超音波のパワースペクトルデータを算出し、同様にして該被測定電池と同種の未使用電池について予め測定し算出された超音波のパワースペクトルデータとを比較し、被測定電池の劣化を診断することを特徴とする。
また請求項4の発明は、上記請求項1または2記載の電池の劣化診断方法において、上記超音波受信子により検出し出カされた超音波の電圧信号をフーリエ変換して超音波のパワースペクトルデータを算出し、該パワースペクトルデータから超音波のパワー総和値を算出し、該パワー総和値と該被測定電池と同種の電池について予め同様にして算出した超音波のパワーの総和値と対定格容量比との関係式から被測定電池の対定格容量比を求め、被測定電池の劣化を診断することを特徴とする。
また、請求項5の発明は、電池の劣化診断装置であり、被測定電池の外側から該被測定電池内に超音波を印加する超音波発振子と、該被測定電池の外側から該超音波を検出する超音波受信子と、該超音波受信子から出力された電圧信号をフーリエ変換して該超音波のパワースペクトルを算出するフーリエ変換手段と、該フーリエ変換手段で得られたパワースペクトルから該超音波のパワーの総和値を算出するパワー総和値算出手段と、該被測定電池と同種の電池について予め測定し算出した超音波のパワーの総和値と対定格容量比との関係式を記憶するグラフデータ記憶手段と、被測定電池の超音波のパワー総和値と該グラフデータ記憶手段に記憶した関係式とから該被測定電池の対定格容量比を算出する対定格容量比算出手段と、を備えたことを特徴とする。
また、請求項6の発明は、上記請求項1記載の電池の劣化診断方法において、上記被測定電池内に印加される超音波は、単一の波長の超音波であり、超音波発振子により該電池の一方の電極端子又はその近傍から該電池内に一定時間印加され、他方の電極端子又はその近傍に設けた超音波受信子により該超音波を検出し、検出した超音波の受信継続時間を求めて、被測定電池の劣化を診断することを特徴とする。
また、請求項7の発明は、上記請求項6記載の電池の劣化診断方法において、上記被測定電池の超音波の受信継続時間と、同様にして該被測定電池と同種の未使用の電池について予め測定して求めた超音波の受信継続時間とを比較し、被測定電池の劣化を診断することを特徴とする。
また、請求項8の発明は、上記請求項6記載の電池の劣化診断方法において、前記超音波発振子により所定時間幅のパルス状の超音波を前記被測定電池内に印加し、前記パルス状の超音波の印加に対応して超音波受信子が検出した超音波の受信継続時間を求め、該受信継続時間と該被測定電池と同種の電池について同様にして測定し算出した受信継続時間と対定格容量比との関係式から被測定電池の対定格容量比を求め、被測定電池の劣化を診断することを特徴とする。
さらに、請求項9の発明は、電池の劣化診断装置であり、被測定電池の外側から該被測定電池内に超音波を印加する超音波発振子と、該被測定電池の外側から該超音波を検出する超音波受信子と、該超音波受信子から出力された電圧信号から該超音波の受信継続時間を算出する受信継続時間算出手段と、該被測定電池と同種の電池について予め測定し算出した受信継続時間と対定格容量比との関係式を記憶するグラフデータ記憶手段と、被測定電池の超音波の受信継続時間と該グラフデータ記憶手段に記憶した関係式とから該被測定電池の対定格容量比を算出する対定格容量比算出手段と、を備えたことを特徴とする。
本発明者は、電池内の電極の崩落や電池活物質の剥離による電池の劣化に起因して、超音波が電池内を透過しやすくなることや、超音波の伝達時間に大きく影響を与えること、さらにそれらに大きな相関があることを見出し、超音波を利用することにより、上記課題を解決したものである。
上記請求項1,2,3,4の発明では、被測定電池の劣化診断を行う場合、被測定電池の外側に超音波発振子を取り付け、そこから超音波を被測定電池内に印加し、反対側の外側に取り付けた超音波受信子により、被測定電池内を透過してきた超音波を検出する。このとき、超音波受信子から出力された超音波の電圧信号は増幅された後、デジタル信号に変換されてその波形データを取り出し、その波形データをフーリエ変換し、超音波の周波数に対するパワー値として、受信した超音波のパワースペクトルデータを求める。被測定電池を透過して得た超音波のパワースペクトルデータと、同様にして予め取得した同種の未使用電池の超音波のパワースペクトルデータとを比較することにより簡便に電池の劣化を診断することができる。
さらに、このパワースペクトルの積分値を算出することにより、受信した超音波のパワー総和値を算出する。このパワー総和値、つまり電池を透過して得られた超音波のパワー総和値に対する被測定電池の電池容量の対定格容量比の関係には強い相関があり、その被測定電池と同種の電池におけるパワー総和値と対定格容量比のグラフデータは、予め実験した実験データに基づき算出され記憶されている。
したがって、パワー総和値と対定格容量比の関係を表すグラフデータを使用し、このグラフデータから今回得られた被測定電池のパワー総和値に対応した対定格容量比が得られる。この対定格容量比に基づき被測定電池の劣化を診断し、対定格容量比が予め設定した設定値以下の場合、被測定電池は劣化していると判定する。
また請求項1,6,7,8の発明では、被測定電池の劣化診断を行う場合、被測定電池内に印加される超音波は、電池の一方の電極端子の近傍に取り付けた超音波発振子から電池内に印加され、他方の電極端子の近傍に設けた超音波受信子から被測定電池内を伝播してきた超音波を検出する。このとき、所定時間幅をもつパルス状の超音波が印加され、超音波受信子から出力された超音波の電圧信号は増幅された後、その波形データがデジタル信号に変換され、予め設定した閾値以上の波形データの部分つまり超音波の有効レベル以上の部分が続く超音波の受信継続時間が算出される。被測定電池を伝播して得た超音波の受信継続時間と、同様にして予め取得した同種の未使用電池の超音波の受信継続時間とを比較することにより簡便に電池の劣化を診断することができる。
また、この受信継続時間に対する被測定電池の電池容量の対定格容量比の関係には、強い相関があり、その被測定電池と同種の電池における超音波の受信継続時間と対定格容量比のグラフデータは、予め実験した実験データに基づき算出され記憶されている。
したがって、予め記憶された超音波の受信継続時間と対定格容量比の関係を表すグラフデータを参照し、そのグラフデータから今回測定された超音波の受信継続時間に対応した対定格容量比を求める。そして、この対定格容量比に基づき被測定電池の劣化を診断し、対定格容量比が予め設定した設定値以下の場合、被測定電池は劣化していると判定する。
このように、本発明の電池の劣化診断方法とその装置によれば、超音波を外側から被測定電池に印加し、電池を透過もしくは伝播した超音波を電池の外側より検出して、電池の対定格容量比を求め、その対定格容量比から電池の劣化診断を行うため、電池の稼働中であっても、簡単に短時間で電池の劣化を診断することができる。また、劣化診断には電池の充放電工程を含まないため、電池に悪影響を与えることがない。
さらに、劣化診断のために電池の設置或いは接続状態を外す必要がなく、また、被測定電池の電極端子に測定者が触れる必要がないため、測定者の安全を確保することができる。また、長時間の充放電を行って電池容量を測定する従来の装置に比べ、非常に短時間で劣化診断を行うことができ、放電時に使用する大型の抵抗器なども不要となる。
以下、本発明の一実施形態を図面に基づいて説明する。図1は第1実施形態の電池の劣化診断装置の構成ブロック図を示している。本劣化診断装置は、被測定電池Bに超音波を印加する超音波発振子3と、印加され電池Bを透過した超音波を検出する超音波受信子4と、超音波受信子4から出力された電圧信号を演算処理する処理装置としてのコンピュータ10とを備えて構成される。
超音波発振子3は、例えば圧電素子から形成され、増幅器2を介して音源発生器1に接続される。音源発生器1としては、例えば500kHzを中心に正規分布した周波数を含むノイズ波(ホワイトノイズ)を発生するシンセサイザーなどを使用することができるが、ホワイトノイズの他に異なる周波数信号を個々に発生させる装置を使用することもできる。音源発生器1から発生した電気信号(例えば500kHzを中心に正規分布した周波数信号)は、増幅器2を通して増幅され、超音波発振子3に送られ、超音波発振子3が駆動されて、超音波が発生する。
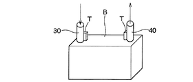
被測定電池Bとして、例えば鉛蓄電池が使用される場合、超音波発振子3は、図2に示すように、超音波が電極面に直交して透過するようにその被測定電池Bの側面外壁の外側面に、接触して取り付けられ、電池B内に超音波を印加する。なお、Tは被測定電池Bの電極端子である。
一方、電池B内の電極面に対して、垂直に透過した超音波を検出するために、被測定電池Bの反対側の外側面に、超音波受信子4が接触して取り付けられる。超音波受信子4としては、圧電素子を用いることができ、超音波を受信すると、その超音波の波長、振幅、周波数に応じた電圧信号を出力する。超音波受信子4の出力側は、増幅器5を介してA/D変換器6に接続され、A/D変換器6はコンピュータ10の入力側に接続される。
コンピュータ10は、予めROM12に記憶されたプログラムデータに基づき、各種演算処理を実行するCPU11、プログラムデータなどの固定データを記憶するROM12、CPU11のワークエリアとして動作しデータの一時記憶を行うRAM13、データの入出カを行う入出力回路14を備えて構成される。
この劣化診断装置において、コンピュータ10は、例えば汎用のマイクロコンピュータを使用することができ、図1に示すように、上記の超音波の検出波形データをフーリエ変換するフーリエ変換手段15、フーリエ変換された超音波のパワースペクトルデータから超音波のパワー総和値を算出するパワー総和値算出手段16(周波数に対するパワーのデータを積分する)、及びそのパワー総和値と予め記憶されたパワー総和値と対定格容量比の関係を表すグラフデータから得たパワー総和値と対定格容量比との関係式に基づき、被測定電池の対定格容量比を算出する対定格容量比算出手段18として、機能する。
また、ROM12は、グラフデータ記憶手段17としても機能し、被測定電池と同種の電池について予め実験した実験データに基づき算出されたパワー総和値と対定格容量比のグラフデータ(図7)が予めROM12に記憶されている。なお、コンピュータ10のほかに、フーリエ変換機能を有したオシロスコープを、フーリエ変換手段として使用することもできる。
上記構成の劣化診断装置を使用して被測定電池Bの劣化診断を以下のように実施するが、まず、その劣化診断方法の原理について説明する。
例えば定格100Ah程度の容量の格子状集電体に電池活物質を付着させた電極を有する電池(例えば、鉛蓄電池)について、図2に示すように、超音波発振子を電池の外壁の一方の側面に取り付け、他方の外壁の他方の側面に超音波受信子を取り付ける。そして、超音波発振子から例えば、500kHzを中心に正規分布した周波数を持ったホワイトノイズの超音波を電池内に印加し、電池内の電極面に対して垂直に透過した超音波を超音波受信子で受信する。
そして、その超音波受信子から出力された電圧信号を増幅した後、デジタル信号に変換し、その波形データをフーリエ変換して、超音波の周波数に対するパワー値とし、受信した超音波のパワースペクトルデータを求める。そして、このパワースペクトルを一定の周波数域で積分した値を算出すると、電池内を透過した超音波のパワー総和値を算出することができる。ここで、「一定の周波数域」とは、電池の劣化によってパワースペクトルデータに現れる卓越した周波数を含むその前後の周波数域であり、その前後の範囲は適宜定めることができる。
なお、異なる周波数信号を個々に発生させる場合は、該異なる周波数信号ごとに超音波受信子から出力された電圧信号を各々前記と同様に超音波のパワースペクトルを求め、各々の該パワースペクトルデータを合成することにより、一連のパワースペクトルデータを得て、このパワースペクトルを一定の周波数域で積分した値を算出することでパワーの総和値を算出することができる。
このような超音波の測定と演算を、予め既知の対定格容量比をもった複数の鉛蓄電池について、繰り返し実施し、そこで得られた各々の電池のパワー総和値とそれらの電池の対定格容量比の関係をグラフ化したものが、図7に示すグラフ(関係式)である。
この図7のグラフから、被測定電池に超音波を印加し、電池内を透過して検出された超音波のパワー総和値が大きくなるほど、電池の対定格容量比が減少し、それらの電池の対定格容量比と超音波のパワー総和値との間には、明らかに強い相関があることが分かり、パワーの総和値と対定格容量比との関係式を算出することができる。
このような現象は、電池内の電極の崩落や電池活物質の剥離による電池の劣化に起因して超音波が電池内を透過しやすくなるためと考えられ、超音波のパワー総和値と被測定電池との対定格容量比の関係式を使用すれば、被測定電池の対定格容量比を求めることができることが分かる。
そこで、本実施形態の方法により、被測定電池Bの劣化診断を行う場合、図2に示すように、被測定電池Bの外壁の一方の側部に超音波発振子3を取り付け、そこから超音波を被測定電池B内に印加する。このとき、電池Bの反対側の外壁に取り付けた超音波受信子4により、被測定電池B内を透過してきた超音波を検出する。
図1に示すように、超音波受信子4から出力された超音波の電圧信号は、増幅器5で増幅された後、図3に示すような電圧波形信号となって、A/D変換器6に送られる。この電圧波形信号は、A/D変換器6でデジタル信号に変換され、コンピュータ10に入力される。コンピュータ10では、入カした波形データをフーリエ変換し、超音波の周波数に対するパワー値として、図4,5に示すような、受信した超音波のパワースペクトルデータが算出される。
なお、図5に示すパワースペクトルは、電池の劣化が少なく、電池容量が比較的高い場合であり、電池の劣化が進み、電池容量が低下すると、図4に示すように、スペクトルの一部が上昇し、超音波のパワー値が増大する。これにより劣化の度合を測定することができる。次に、コンピュータ10のCPU11は、図6のグレーで示す、パワースペクトルの積分値を算出することにより、受信した超音波のパワー総和値を算出する。
そして、CPU11は、グラフデータ(関係式)記憶手段17としてのROM12に記憶された、被測定電池と同種の電池におけるパワー総和値と対定格容量比のグラフデータ(予め実験した実験データに基づき算出された図7の関係式)を参照し、上記パワー総和値に対応した被測定電池Bの電池容量の対定格容量比を算出する。そして、CPU11は、この対定格容量比に基づき被測定電池Bの劣化を診断し、例えば対定格容量比が予め設定した設定値以下の場合、被測定電池は劣化していると判定する。
このように、超音波を外側から被測定電池Bに印加し、電池Bの電極を透過した超音波を電池Bの外側より検出して、電池Bの対定格容量比を求め、その対定格容量比から被測定電池Bの劣化診断を行うため、電池の稼働中であっても、簡単に短時間で電池の劣化を診断することができる。また、劣化診断には電池の充放電工程を含まないため、電池に悪影響を与えることがない。
さらに、劣化診断のために電池の設置或いは接続状態を外す必要がなく、また、被測定電池の電極端子に測定者が触れる必要がないため、測定者の安全を確保することができる。また、長時間の充放電を行って電池容量を測定する従来の装置に比べ、非常に短時間で劣化診断を行うことができ、放電時に使用する大型の抵抗器なども不要となる。
図8〜図12は、第2実施形態の電池の劣化診断装置と方法を示している。音源発生器1など上記実施形態と同様の部分については、上記と同じ符号を付してその説明を省略する。
本劣化診断装置は、被測定電池Bに超音波を印加する超音波発振子30と、印加され電池Bを伝播した超音波を検出する超音波受信子40と、超音波受信子40から出力された電圧信号を演算処理する処理装置としてのコンピュータ20とを備えて構成される。超音波発振子30は、例えば圧電素子から形成され、増幅器2を介して音源発生器1に接続される。音源発生器1から発生した電気信号(例えば100〜200kHzの単一の波長の超音波)は、増幅器2を通して増幅され、超音波発振子30に送られ、超音波発振子30が所定時間幅(例えば50μ秒)で駆動されて、所定時間幅を持つパルス状の超音波が発生する。
超音波発振子30は、図9に示すように、その被測定電池Bの上面に位置する一方の電極端子またはその近傍に、接触して取り付けられ、電池B内に超音波を印加する。この場合、超音波は、所定時間幅をもつパルス状の超音波として電池に印加される。なお、Tは電池Bの電極端子である。
一方、超音波受信子40は、電池B内を伝播した超音波を検出するために、被測定電池Bの上面の他方の電極端子またはその近傍に接触して取り付けられる。超音波受信子40の出力側は、増幅器5を介してA/D変換器6に接続され、A/D変換器6はコンピュータ20の入力側に接続される。コンピュータ20は、図8に示すように、予めROM22に記憶されたプログラムデータに基づき各種演算処理を実行するCPU21、プログラムデータなどの固定データを記憶するROM22,CPU21のワークエリアとして動作しデータの一時記憶を行うRAM23、データの入出カを行う入出力回路24を備えて構成される。
さらに、このコンピュータ20は、本実施形態においては、超音波の検出波形データを記録する波形記録手段25、波形記録手段25に記録した波形データについて予め設定した閾値以上の電圧(振幅)を最初に受信してから最後に受信するまでの時間(本発明において、これを受信継続時間という)を算出する受信継続時間算出手段26及び予め記憶された受信継続時間と対定格容量比の関係を表すグラフデータに基づき、被測定電池の対定格容量比を算出する対定格容量比算出手段28として、機能する。
また、ROM22は、グラフデータ記憶手段27、としても機能し、被測定電池と同種の電池について予め実験した実験データに基づき算出された受信継続時間と対定格容量比のグラフデータ(図12)が予め、ROM22に記憶されている。
上記構成の劣化診断装置を使用して行う劣化診断方法の原理について説明すると、例えば定格100Ah程度の容量の格子状集電体に電池活物質を付着させた電極を有する電池(例えば、鉛蓄電池)を被測定電池として、図9に示すように、超音波発振子を電池の上面の一方の電極端子の近傍に取り付け、他方の電極端子の近傍に超音波受信子を取り付ける。
そして、超音波発振子30から単一の周波数の超音波(例えば、150KHz)を、所定時間幅(例えば50μ秒)でパルス状に発生させて電池内に印加し、電池内を伝播した超音波を超音波受信子40で受信する。
そして、その超音波受信子から出カされた電圧信号を増幅した後、デジタル信号に変換し、コンピュータ内に取り込み、その一連の波形データ(時間、振幅)を記録する。そして、コンピュータにおいて予め設定した閾値以上の電圧(振幅)を有する電圧を受信した時間を波形データから抽出し、その最大値と最小値との差、つまり受信継続時間(本発明における受信継続時間は、図11においてtで示される)を算出する。
そして、このような超音波の測定と演算を予め既知の対定格容量比をもった複数の鉛蓄電池について、繰り返し実施し、そこで得られた各々の電池の受信継続時間とそれらの電池の対定格容量比の関係をグラフ化したものが、図12に示すグラフである。上記受信継続時間は図11のtで算出したが、上記受信継続時間t内における閾値未満の時間帯(例えばt1とt2との間、t2とt3の間など)は短時間であるので、閾値以上である時間帯t1〜tnの和を受信継続時間としても差し支えない。なお、図11において、説明上、プラス側の閾値は実際よりプラス側に高く、マイナス側の閾値は実際よりマイナス側に低く図示されている。
この図12のグラフから、被測定電池に超音波を印加し電池内を伝播して検出された超音波の受信継続時間が長くなるほど、電池の対定格容量比が高く、超音波の受信継続時間が短くなるほど、電池の対定格容量比が低くなり、それらの電池の対定格容量比と超音波の受信継続時間との関係には明らかに強い相関があり、受信継続時間の長短で電池の劣化が分かり、受信継続時間と対定格容量比との関係式を算出することができる。
このような現象は、電池内に電極の崩落や電池活物質の剥離による電池の劣化に起因して超音波の伝達経路が短くなって短時間で超音波が伝播するためと考えられ、超音波の受信継続時間と被測定電池の対定格容量比との関係式を使用すれば、被測定電池の対定格容量比を求めることができることが分かる。
そこで、本実施形態の方法により、被測定電池Bの劣化診断を行う場合、図9に示すように、被測定電池Bの上面の一方の電極端子の近傍に超音波発振子30を取り付け、図10に示すような電気信号(例えば、150kHz)を超音波発振子10に入力して、超音波を発生させ、所定時間幅(例えば50μ秒)の超音波を被測定電池B内に印加する。
このとき、電池Bの他方の電極端子の近傍に取り付けた超音波受信子40により、被測定電池B内を伝播してきた超音波を検出する。超音波受信子4から出力された超音波の電圧信号は、増幅器5で増幅された後、A/D変換器6に送られて、デジタル信号(図11)に変換され、コンピュータ20に入カされる。コンピュータ20のCPU21は、入力した波形データに対し図11に示すような閾値を設定し、閾値以上の波形データの部分、つまり超音波の有効レベル部分が続く超音波の受信継続時間をカウントし、記憶する。閾値とは、電池自体が振動源となって検出される低レベルの超音波による信号や最初に電池容器を伝播し得られた超音波信号は、電池内部の劣化状態を示す信号ではないので、これを評価の対象から外すために設定する。
そして、CPU21は、グラフデータ記憶手段27であるROM22に記録された被測定電池Bと同種の電池についての超音波の受信継続時間と対定格容量比のグラフデータ(関係式)(予め実験した実験データに基づき算出された図12のグラフデータ(関係式))を参照し、上記超音波の受信継続時間に対応した被測定電池Bの電池容量の対定格容量比を読み取る。そして、CPU21は、この対定格容量比に基づき被測定電池の劣化を診断し、例えば対定格容量比が予め設定した設定値以下の場合、被測定電池は劣化していると判定する。
このように、この第2実施形態の劣化診断方法と装置においても、超音波を外側から被測定電池Bに印加し、電池Bの電極を伝播した超音波を電池Bの外側より検出して、電池Bの対定格容量比を求め、その対定格容量比から被測定電池Bの劣化診断を行うから、電池の稼働中であっても、簡単に短時間で電池の劣化を診断することができ、被測定電池の電極端子に測定者が触れる必要がないため、測定者の安全を確保することができる。
なお、上記第1、第2の実施形態では、鉛蓄電池を被測定電池Bとして劣化診断を行ったが、鉛蓄電池のほか、ニッケル水素電池、リチウム電池、ニッケルカドニウム電池などの二次電池の劣化診断に使用することもできる。また、グラフデータは対定格容量比に限らず、直接、電池容量とパワー総和値または受信継続時間との関係を表すものでも本質的に同じである。
本発明の第1実施形態を示す電池の劣化診断装置の構成ブロック図である。 同劣化診断装置における被測定電池Bへの超音波発振子と超音波受信子の装着状態を示す斜視図である。 同超音波受信子から出力された超音波検出時の電圧信号の波形図である。 電池が劣化したときの超音波の周波数に対するパワーの波形図である。 電池が劣化する前の超音波の周波数に対するパワーの波形図である。 パワースペクトルの積分値つまりパワー総和を示すパワーの波形図である。 超音波のパワー総和値と対定格容量比の関係を示すグラフである。 第2実施形態の電池の劣化診断装置の構成ブロック図である。 同劣化診断装置における被測定電池Bへの超音波発振子と超音波受信子の装着状態を示す斜視図である。 超音波発振子に入カする電圧信号の波形図である。 超音波受信子から出力される電圧信号の波形図である。 超音波の受信継続時間と対定格容量比の関係を示すグラフである。
符号の説明
3−超音波発振子
4−超音波受信子
10−コンピュータ
11−CPU
12−ROM
15−フーリエ変換手段
16−パワー総和値算出手段
17−グラフデータ記憶手段
18−対定格容量比算出手段

Claims (9)

  1. 被測定電池の外側から超音波を該被測定電池内に印加し、該被測定電池の外側で超音波を検出し、該検出した超音波に基づき、被測定電池の劣化を診断することを特徴とする電池の劣化診断方法。
  2. 前記被測定電池内に印加される超音波は、複数の周波数の超音波であり、超音波発振子により該電池内の電極の電極面に対して垂直に透過するように該電地の外壁側部から印加され、反対側の外壁側部に設けた超音波受信子により該超音波を検出することを特徴とする請求項1記載の電池の劣化診断方法。
  3. 前記超音波受信子により検出し出カされた超音波の電圧信号をフーリエ変換して超音波のパワースペクトルデータを算出し、同様にして該被測定電池と同種の未使用電池について予め測定し算出された超音波のパワースペクトルデータとを比較し、被測定電池の劣化を診断することを特徴とする請求項1または2記載の電池の劣化診断方法。
  4. 前記超音波受信子により検出し出力された超音波の電圧信号をフーリエ変換して超音波のパワースペクトルデータを算出し、該パワースペクトルデータから超音波のパワー総和値を算出し、該パワーの総和値と該被測定電池と同種の電池について予め同様にして算出した超音波のパワーの総和値と対定格容量比との関係式から被測定電池の対定格容量比を求め、被測定電池の劣化を診断することを特徴とする請求項1または2記載の電池の劣化診断方法。
  5. 被測定電池の外側から該被測定電池内に超音波を印加する超音波発振子と、該被測定電池の外側から該超音波を検出する超音波受信子と、該超音波受信子から出力された電圧信号をフーリエ変換して該超音波のパワースペクトルを算出するフーリエ変換手段と、該フーリエ変換手段で得られたパワースペクトルから該超音波のパワーの総和値を算出するパワー総和値算出手段と、該被測定電池と同種の電池について予め測定し算出した超音波のパワーの総和値と対定格容量比との関係式を記憶するグラフデータ記憶手段と、被測定電池の超音波のパワーの総和値と該グラフデータ記憶手段に記憶した関係式とから該被測定電池の対定格容量比を算出する対定格容量比算出手段と、を備えたことを特徴とする電池の劣化診断装置。
  6. 前記被測定電池内に印加される超音波は、単一の波長の超音波であり、超音波発振子により該電池の一方の電極端子又はその近傍から該電池内に一定時間印加され、他方の電極端子又はその近傍に設けた超音波受信子により該超音波を検出し、検出した超音波の受信継続時間を求めて、被測定電池の劣化を診断することを特徴とする請求項1記載の電池の劣化診断方法。
  7. 前記被測定電池の超音波の受信継続時間と、同様にして該被測定電池と同種の未使用の電池について予め測定して求めた超音波の受信継続時間とを比較し、被測定電池の劣化を診断することを特徴とする請求頃6記載の電池の劣化診断方法。
  8. 前記超音波発振子により所定時間幅のパルス状の超音波を前記被測定電池内に印加し、前記パルス状の超音波の印加に応じて前記超音波受信子が検出した超音波の受信継続時間を求め、該受信継続時間と該被測定電池と同種の電池について予め同様にして測定し算出した受信継続時間と対定格容量比との関係式から被測定電池の対定格容量比を求め、被測定電池の劣化を診断することを特徴とする請求項6記載の電池の劣化診断方法。
  9. 被測定電池の外側から該被測定電池内に超音波を印加する超音波発振子と、該被測定電池の外側から該超音波を検出する超音波受信子と、該超音波受信子から出カされた電圧信号から該超音波の受信継続時間を算出する受信継続時間算出手段と、該被測定電池と同種の電池について予め測定し算出した受信継続時間と対定格容量比との関係式を記憶するグラフデータ記憶手段と、被測定電池の超音波の受信継続時間と該グラフデータ記憶手段に記憶した関係式とから該被測定電池の対定格容量比を算出する対定格容量比算出手段と、を備えたことを特徴とする電池の劣化診断装置。



JP2004105346A 2004-03-31 2004-03-31 電池の劣化診断方法とその装置 Expired - Fee Related JP4592318B2 (ja)

Priority Applications (1)

Application Number Priority Date Filing Date Title
JP2004105346A JP4592318B2 (ja) 2004-03-31 2004-03-31 電池の劣化診断方法とその装置

Applications Claiming Priority (1)

Application Number Priority Date Filing Date Title
JP2004105346A JP4592318B2 (ja) 2004-03-31 2004-03-31 電池の劣化診断方法とその装置

Publications (2)

Publication Number Publication Date
JP2005291832A true JP2005291832A (ja) 2005-10-20
JP4592318B2 JP4592318B2 (ja) 2010-12-01

Family

ID=35324933

Family Applications (1)

Application Number Title Priority Date Filing Date
JP2004105346A Expired - Fee Related JP4592318B2 (ja) 2004-03-31 2004-03-31 電池の劣化診断方法とその装置

Country Status (1)

Country Link
JP (1) JP4592318B2 (ja)

Cited By (23)

* Cited by examiner, † Cited by third party
Publication number Priority date Publication date Assignee Title
JP2009129674A (ja) * 2007-11-22 2009-06-11 Sony Corp 電極体検査方法および電極体検査装置
JP2010040319A (ja) * 2008-08-05 2010-02-18 Toyota Motor Corp 二次電池の電解液量検出方法およびその装置
JP2010101706A (ja) * 2008-10-22 2010-05-06 Chubu Electric Power Co Inc 二次電池の劣化診断方法、及び電池の劣化診断装置
JP2010181290A (ja) * 2009-02-05 2010-08-19 Toyota Motor Corp 浸漬検査装置
US7783438B2 (en) * 2006-10-31 2010-08-24 Enerize Corporation Integrated non-destructive method and device for electrochemical energy system diagnostics
FR2949908A1 (fr) * 2009-09-04 2011-03-11 Commissariat Energie Atomique Procede de charge d'un accumulateur electrochimique
WO2012085110A1 (fr) 2010-12-22 2012-06-28 Commissariat A L'energie Atomique Et Aux Energies Alternatives Gestion et estimation de l'etat d'une batterie
DE102011112641A1 (de) 2011-09-05 2013-03-07 Audi Ag Verfahren zum Prüfen einer Lithium-lonen-Batteriezelle auf Funktionsfähigkeit
WO2013132907A1 (ja) * 2012-03-08 2013-09-12 株式会社 日立製作所 リチウムイオン二次電池システム、リチウムイオン二次電池の検査方法、リチウムイオン二次電池の制御方法
JP2014082020A (ja) * 2012-10-12 2014-05-08 Sharp Corp 電池製造方法
JP2014142191A (ja) * 2013-01-22 2014-08-07 Shin Kobe Electric Mach Co Ltd 蓄電池状態検知方法及び蓄電池状態検知装置
CN104422887A (zh) * 2013-08-22 2015-03-18 台湾动力检测科技股份有限公司 锂电池的电性检测方法及设备
KR101812420B1 (ko) * 2015-08-04 2017-12-26 도요타지도샤가부시키가이샤 리튬 이온 이차 전지의 성능 열화 회복 방법
JP2018537682A (ja) * 2016-11-21 2018-12-20 ▲華▼中科技大学Huazhong University Of Science And Technology リチウムイオン電池の充電状態及び健康状態を検測する方法及び装置
WO2019206867A1 (fr) * 2018-04-24 2019-10-31 Commissariat A L'energie Atomique Et Aux Energies Alternatives Procede de detection d'une anomalie de fonctionnement d'une batterie et systeme mettant en œuvre ledit procede
CN110574215A (zh) * 2017-03-31 2019-12-13 亚琛工业大学 电池组电池的诊断
DE102018216605A1 (de) * 2018-09-27 2020-01-16 Continental Automotive Gmbh Verfahren zur Zustandsbestimmung zumindest einer Komponente einer galvanischen Zelle mittels zumindest eines Ultraschallaktuators, Zellenanordnung und Kraftfahrzeug
CN112736303A (zh) * 2020-12-28 2021-04-30 国创新能源汽车智慧能源装备创新中心(江苏)有限公司 一种电池容量恢复装置
WO2022239562A1 (ja) * 2021-05-14 2022-11-17 パナソニック インテレクチュアル プロパティ コーポレーション オブ アメリカ 状態量推定装置、状態量推定方法、及び、プログラム
JP2023505525A (ja) * 2019-12-09 2023-02-09 コミサリヤ・ア・レネルジ・アトミク・エ・オ・エネルジ・アルテルナテイブ プローブ信号を決定するための方法、そのような信号を用いる電気化学システム内で障害を検査および検出するための方法
CN116482549A (zh) * 2023-04-07 2023-07-25 恒钧检测技术有限公司 电池荷电状态的确定方法及装置、测试设备
WO2023184366A1 (zh) * 2022-03-31 2023-10-05 宁德新能源科技有限公司 电化学装置和电子装置
WO2024010288A1 (ko) * 2022-07-05 2024-01-11 주식회사 엘지에너지솔루션 배터리 검사 장치 및 그것의 동작 방법

Citations (2)

* Cited by examiner, † Cited by third party
Publication number Priority date Publication date Assignee Title
JPS6256809A (ja) * 1985-09-05 1987-03-12 Yuasa Battery Co Ltd 鉛蓄電池の内部検査方法
JPH0658917A (ja) * 1992-08-07 1994-03-04 Hitachi Constr Mach Co Ltd 超音波検査方法および装置

Patent Citations (2)

* Cited by examiner, † Cited by third party
Publication number Priority date Publication date Assignee Title
JPS6256809A (ja) * 1985-09-05 1987-03-12 Yuasa Battery Co Ltd 鉛蓄電池の内部検査方法
JPH0658917A (ja) * 1992-08-07 1994-03-04 Hitachi Constr Mach Co Ltd 超音波検査方法および装置

Cited By (33)

* Cited by examiner, † Cited by third party
Publication number Priority date Publication date Assignee Title
US7783438B2 (en) * 2006-10-31 2010-08-24 Enerize Corporation Integrated non-destructive method and device for electrochemical energy system diagnostics
JP2009129674A (ja) * 2007-11-22 2009-06-11 Sony Corp 電極体検査方法および電極体検査装置
JP2010040319A (ja) * 2008-08-05 2010-02-18 Toyota Motor Corp 二次電池の電解液量検出方法およびその装置
JP2010101706A (ja) * 2008-10-22 2010-05-06 Chubu Electric Power Co Inc 二次電池の劣化診断方法、及び電池の劣化診断装置
JP2010181290A (ja) * 2009-02-05 2010-08-19 Toyota Motor Corp 浸漬検査装置
FR2949908A1 (fr) * 2009-09-04 2011-03-11 Commissariat Energie Atomique Procede de charge d'un accumulateur electrochimique
WO2012085110A1 (fr) 2010-12-22 2012-06-28 Commissariat A L'energie Atomique Et Aux Energies Alternatives Gestion et estimation de l'etat d'une batterie
DE102011112641B4 (de) 2011-09-05 2018-04-26 Audi Ag Verfahren zum Prüfen einer Lithium-lonen-Batteriezelle auf Funktionsfähigkeit
DE102011112641A1 (de) 2011-09-05 2013-03-07 Audi Ag Verfahren zum Prüfen einer Lithium-lonen-Batteriezelle auf Funktionsfähigkeit
WO2013132907A1 (ja) * 2012-03-08 2013-09-12 株式会社 日立製作所 リチウムイオン二次電池システム、リチウムイオン二次電池の検査方法、リチウムイオン二次電池の制御方法
JP2013187031A (ja) * 2012-03-08 2013-09-19 Hitachi Ltd リチウムイオン二次電池システム、リチウムイオン二次電池の検査方法、リチウムイオン二次電池の制御方法
JP2014082020A (ja) * 2012-10-12 2014-05-08 Sharp Corp 電池製造方法
JP2014142191A (ja) * 2013-01-22 2014-08-07 Shin Kobe Electric Mach Co Ltd 蓄電池状態検知方法及び蓄電池状態検知装置
CN104422887A (zh) * 2013-08-22 2015-03-18 台湾动力检测科技股份有限公司 锂电池的电性检测方法及设备
KR101812420B1 (ko) * 2015-08-04 2017-12-26 도요타지도샤가부시키가이샤 리튬 이온 이차 전지의 성능 열화 회복 방법
US9958508B2 (en) 2015-08-04 2018-05-01 Toyota Jidosha Kabushiki Kaisha Degraded performance recovery method for lithium ion secondary battery
JP2018537682A (ja) * 2016-11-21 2018-12-20 ▲華▼中科技大学Huazhong University Of Science And Technology リチウムイオン電池の充電状態及び健康状態を検測する方法及び装置
CN110574215A (zh) * 2017-03-31 2019-12-13 亚琛工业大学 电池组电池的诊断
JP7432525B2 (ja) 2018-04-24 2024-02-16 コミサリヤ・ア・レネルジ・アトミク・エ・オ・エネルジ・アルテルナテイブ バッテリの動作異常を検出するための方法および前記方法を実施するシステム
JP2021522494A (ja) * 2018-04-24 2021-08-30 コミサリヤ・ア・レネルジ・アトミク・エ・オ・エネルジ・アルテルナテイブ バッテリの動作異常を検出するための方法および前記方法を実施するシステム
US11936010B2 (en) 2018-04-24 2024-03-19 Commissariat A L'energie Atomique Et Aux Energies Alternatives Method for detecting an operating anomaly of a battery and system implementing said method
WO2019206867A1 (fr) * 2018-04-24 2019-10-31 Commissariat A L'energie Atomique Et Aux Energies Alternatives Procede de detection d'une anomalie de fonctionnement d'une batterie et systeme mettant en œuvre ledit procede
DE102018216605A1 (de) * 2018-09-27 2020-01-16 Continental Automotive Gmbh Verfahren zur Zustandsbestimmung zumindest einer Komponente einer galvanischen Zelle mittels zumindest eines Ultraschallaktuators, Zellenanordnung und Kraftfahrzeug
JP2023505525A (ja) * 2019-12-09 2023-02-09 コミサリヤ・ア・レネルジ・アトミク・エ・オ・エネルジ・アルテルナテイブ プローブ信号を決定するための方法、そのような信号を用いる電気化学システム内で障害を検査および検出するための方法
US12416680B2 (en) 2019-12-09 2025-09-16 Commissariat A L'energie Atomique Et Aux Energies Alternatives Method for determining a probe signal, method for checking for and detecting a fault in an electrochemical system employing such a signal
JP7684305B2 (ja) 2019-12-09 2025-05-27 コミサリヤ・ア・レネルジ・アトミク・エ・オ・エネルジ・アルテルナテイブ プローブ信号を決定するための方法、そのような信号を用いる電気化学システム内で障害を検査および検出するための方法
CN112736303B (zh) * 2020-12-28 2022-06-07 国创移动能源创新中心(江苏)有限公司 一种电池容量恢复装置
CN112736303A (zh) * 2020-12-28 2021-04-30 国创新能源汽车智慧能源装备创新中心(江苏)有限公司 一种电池容量恢复装置
JPWO2022239562A1 (ja) * 2021-05-14 2022-11-17
WO2022239562A1 (ja) * 2021-05-14 2022-11-17 パナソニック インテレクチュアル プロパティ コーポレーション オブ アメリカ 状態量推定装置、状態量推定方法、及び、プログラム
WO2023184366A1 (zh) * 2022-03-31 2023-10-05 宁德新能源科技有限公司 电化学装置和电子装置
WO2024010288A1 (ko) * 2022-07-05 2024-01-11 주식회사 엘지에너지솔루션 배터리 검사 장치 및 그것의 동작 방법
CN116482549A (zh) * 2023-04-07 2023-07-25 恒钧检测技术有限公司 电池荷电状态的确定方法及装置、测试设备

Also Published As

Publication number Publication date
JP4592318B2 (ja) 2010-12-01

Similar Documents

Publication Publication Date Title
JP4592318B2 (ja) 電池の劣化診断方法とその装置
US10684262B2 (en) Apparatus and method for determining state of change (SOC) and state of health (SOH) of electrical cells
Wang et al. Active acoustic emission sensing for fast co-estimation of state of charge and state of health of the lithium-ion battery
JP4648322B2 (ja) バッテリーの充電状態の決定方法と決定装置
US10663525B2 (en) Method and device for monitoring state of charge and state of health of lithium-ion battery
US8984944B2 (en) Method and system for diagnosis of the internal state of a battery through acoustic emission
EP4191732B1 (en) Battery management device, battery management method
CN100495060C (zh) 用于测量电池容量的方法
TWI286218B (en) Method for determining state-of-health of batteries
CN100478700C (zh) 电池特性检测方法及电池特性检测设备
JPWO2019171688A1 (ja) 二次電池の残存性能評価方法、二次電池の残存性能評価プログラム、演算装置、及び残存性能評価システム
JP6026120B2 (ja) 二次電池の内部抵抗演算装置及びその内部抵抗演算方法、二次電池の異常検出装置及びその異常検出方法、並びに二次電池の劣化推定装置及びその劣化推定方法
Martinet et al. Application of electrochemical noise analysis to the study of batteries: state-of-charge determination and overcharge detection
JP2016535390A (ja) リチウムイオン電池を監視する方法及びこの方法の実現のための監視デバイス
JP2012251919A (ja) リチウムイオン二次電池の検査装置,検査方法及び二次電池モジュール
Liu et al. SOC estimation method based on the ultrasonic guided waves considering the significant effect of charge/discharge rate
CN113533992A (zh) 一种基于超声导波传感器的锂离子电池热失控预警方法
JP4940889B2 (ja) 電池特性の検出方法及び電池特性の検出装置
JPH076795A (ja) 電池内部状態検出装置
CN113030751A (zh) 电池荷电状态soc估计方法、装置、管理系统以及车辆
Xia et al. Battery status monitoring based on advanced ultrasonic technology
JP4709885B2 (ja) 二次電池の劣化診断方法、及び電池の劣化診断装置
CN117452263A (zh) 电池健康度确定方法、装置、电子设备及存储介质
KR102684171B1 (ko) 배터리 셀의 수명 예측 장치 및 방법
US12007448B2 (en) Method for determining a probe signal, characterisation method using such a signal and device thereof

Legal Events

Date Code Title Description
A621 Written request for application examination

Free format text: JAPANESE INTERMEDIATE CODE: A621

Effective date: 20070202

A977 Report on retrieval

Free format text: JAPANESE INTERMEDIATE CODE: A971007

Effective date: 20100208

A131 Notification of reasons for refusal

Free format text: JAPANESE INTERMEDIATE CODE: A131

Effective date: 20100223

A521 Written amendment

Free format text: JAPANESE INTERMEDIATE CODE: A523

Effective date: 20100412

TRDD Decision of grant or rejection written
A01 Written decision to grant a patent or to grant a registration (utility model)

Free format text: JAPANESE INTERMEDIATE CODE: A01

Effective date: 20100817

A01 Written decision to grant a patent or to grant a registration (utility model)

Free format text: JAPANESE INTERMEDIATE CODE: A01

A61 First payment of annual fees (during grant procedure)

Free format text: JAPANESE INTERMEDIATE CODE: A61

Effective date: 20100914

FPAY Renewal fee payment (event date is renewal date of database)

Free format text: PAYMENT UNTIL: 20130924

Year of fee payment: 3

R150 Certificate of patent or registration of utility model

Free format text: JAPANESE INTERMEDIATE CODE: R150

LAPS Cancellation because of no payment of annual fees