JP2005291722A - Probe unit and method of manufacturing probe unit - Google Patents

Probe unit and method of manufacturing probe unit Download PDF

Info

Publication number
JP2005291722A
JP2005291722A JP2004102619A JP2004102619A JP2005291722A JP 2005291722 A JP2005291722 A JP 2005291722A JP 2004102619 A JP2004102619 A JP 2004102619A JP 2004102619 A JP2004102619 A JP 2004102619A JP 2005291722 A JP2005291722 A JP 2005291722A
Authority
JP
Japan
Prior art keywords
wiring film
probe unit
probe
bump
substrate
Prior art date
Legal status (The legal status is an assumption and is not a legal conclusion. Google has not performed a legal analysis and makes no representation as to the accuracy of the status listed.)
Withdrawn
Application number
JP2004102619A
Other languages
Japanese (ja)
Inventor
Taketoshi Nakamura
猛利 中村
Current Assignee (The listed assignees may be inaccurate. Google has not performed a legal analysis and makes no representation or warranty as to the accuracy of the list.)
Yamaha Corp
Original Assignee
Yamaha Corp
Priority date (The priority date is an assumption and is not a legal conclusion. Google has not performed a legal analysis and makes no representation as to the accuracy of the date listed.)
Filing date
Publication date
Application filed by Yamaha Corp filed Critical Yamaha Corp
Priority to JP2004102619A priority Critical patent/JP2005291722A/en
Publication of JP2005291722A publication Critical patent/JP2005291722A/en
Withdrawn legal-status Critical Current

Links

Images

Landscapes

  • Testing Of Individual Semiconductor Devices (AREA)
  • Measuring Leads Or Probes (AREA)

Abstract

<P>PROBLEM TO BE SOLVED: To provide a probe unit and its manufacturing method capable of surely checking electric characteristics of an electronic device wherein a plurality of pipes are arranged at narrow pitches. <P>SOLUTION: A wiring film 20 divided into probes 22 and leads 24 is attached to a base 10. Four projecting edges 28 of an opening 26 formed on a center of each probe 22 are raised from a surface of the base 10 to define a contact part kept into contact with a bump of a test body. By forming the probes 22 by the wiring film 20, the plurality of probes 22 can be arranged on the base 10 at the narrow pitches. Further as the contact part is formed by raising four projecting edges 28, the contact part and the bump of the test body can be kept into point-contact with each other. Further as four projecting edges 28 are formed on each opening 26, four projecting edges 28 can be corresponded to each bump. The plurality of bumps are simultaneously electrically brought into contact with the wiring film 20 without fail by making four projecting edges 28 be corresponded to each bump. <P>COPYRIGHT: (C)2006,JPO&NCIPI

Description

本発明は、半導体集積回路や液晶パネル等の電子デバイスの電気的特性を検査するためのプローブユニット及びプローブユニットの製造方法に関する。   The present invention relates to a probe unit for inspecting electrical characteristics of an electronic device such as a semiconductor integrated circuit and a liquid crystal panel, and a method of manufacturing the probe unit.

従来、フォトリソグラフィを用いて形成された薄膜状のプローブが基板上に狭小なピッチで多数並び、各プローブの先端が基板の縁から櫛歯状に突出したプローブユニットが知られている。このようなプローブユニットは、電子デバイスの電極ピッチの狭小化に対応して開発されたものである。このようなプローブユニットは、そのプローブ(以下、櫛歯状薄膜プローブという。)の先端が直線的に整列しているため、各電極の表面が平坦な電子デバイスの検査に好適である。検査時は、櫛歯状薄膜プローブを検体の各電極に一本づつ接触させる。   2. Description of the Related Art Conventionally, a probe unit is known in which a large number of thin-film probes formed by photolithography are arranged on a substrate at a narrow pitch, and the tips of the probes protrude from the edge of the substrate in a comb shape. Such a probe unit has been developed in response to the narrowing of the electrode pitch of an electronic device. Such a probe unit is suitable for inspection of an electronic device having a flat surface of each electrode because the tips of the probes (hereinafter referred to as comb-shaped thin film probes) are linearly aligned. At the time of inspection, a comb-like thin film probe is brought into contact with each electrode of the specimen one by one.

ところで近年、WL−CSP(Wafer Level - Chip Size Package)の製品化が活発である。WL−CSP等の小型電子デバイスの電極には、半田などが台地状又はこぶ状に盛り上がったバンプになっているものがある。しかし、バンプの表面が盛り上がっており、その隆起形状も均一でないため、パッケージの表面に配列された複数のバンプに、櫛歯状薄膜プローブの直線的に整列した先端部を同時に確実に接触させることは困難である。   Incidentally, in recent years, WL-CSP (Wafer Level-Chip Size Package) has been actively commercialized. Some electrodes of small electronic devices such as WL-CSP are bumps in which solder or the like is raised in a plateau or hump shape. However, since the bump surface is raised and the raised shape is not uniform, the linearly aligned tips of the comb-like thin film probe are simultaneously and reliably brought into contact with a plurality of bumps arranged on the surface of the package. It is difficult.

複数のバンプと確実な接触が得られるプローブとしては、王冠のように複数の突部が環状に連なった形状の先端部を持つ棒状のプローブが知られている。このようなプローブは、基板と別体に成形された後、基板に固定される。したがって、このようなプローブをバンプのピッチに応じて狭小なピッチで基板上に配列することは困難である。   As a probe capable of obtaining reliable contact with a plurality of bumps, a rod-like probe having a tip portion in which a plurality of protrusions are connected in a ring like a crown is known. Such a probe is formed separately from the substrate and then fixed to the substrate. Therefore, it is difficult to arrange such probes on the substrate at a narrow pitch according to the pitch of the bumps.

特許文献1、2には、バンプが狭小なピッチで配列されたWL−CSPの検査に好適な多点接続シートとその製造方法が開示されている。
しかし、特許文献1、2に開示された多点接続シートは、複雑な製造プロセスを必要とする円筒状のプローブを備えたものである。また、円筒状のプローブの端部内側に球状のバンプを接触させると、バンプとプローブが環状に接触するため、バンプとプローブの接触圧が点接触の場合に比べて低くなるという問題がある。
特開2001−74806号公報 特開2001−74807号公報
Patent Documents 1 and 2 disclose a multipoint connection sheet suitable for inspection of WL-CSP in which bumps are arranged at a narrow pitch, and a manufacturing method thereof.
However, the multipoint connection sheet disclosed in Patent Documents 1 and 2 includes a cylindrical probe that requires a complicated manufacturing process. Further, when a spherical bump is brought into contact with the inside of the end portion of the cylindrical probe, the bump and the probe come into contact with each other in a ring shape, so that there is a problem that the contact pressure between the bump and the probe becomes lower than in the case of point contact.
JP 2001-74806 A JP 2001-74807 A

本発明は、これらの問題を解決するために創作されたものであって、バンプが狭小なピッチで複数配列された電子デバイスの電気的特性を確実に検査できるプローブユニットを提供することを目的とする。
また本発明は、バンプが狭小なピッチで複数配列された電子デバイスの電気的特性を確実に検査できるプローブユニットの簡素な製造方法を提供することを目的とする。
The present invention was created to solve these problems, and an object thereof is to provide a probe unit capable of reliably inspecting the electrical characteristics of an electronic device in which a plurality of bumps are arranged at a narrow pitch. To do.
It is another object of the present invention to provide a simple manufacturing method of a probe unit that can reliably inspect the electrical characteristics of an electronic device in which a plurality of bumps are arranged at a narrow pitch.

上記第一の目的を達成するため、本発明に係るプローブユニットは、基板と、輪郭が蛇行した複数の開口を有し、前記基板の表面上に形成された配線膜とを備え、前記配線膜の各開口の複数の凸縁は、前記基板の表面から隆起し、検体のバンプに接触する接触部を形成していることを特徴とする。基板の表面上に形成された配線膜で接触部を形成することにより、基板上に狭小なピッチで複数の接触部を配列することができる。配線膜の凸縁を隆起させて接触部を形成することにより、接触部と検体のバンプとを点接触させることができる。また、配線膜に形成する開口の輪郭を蛇行させることにより、各開口について配線膜に複数の凸縁を形成すると、各バンプに複数の凸縁を対応させることができる。各バンプに複数の凸縁を対応させることにより、複数のバンプを同時に確実に配線膜と電気的に接続することができる。したがって、本発明に係るプローブユニットによると、バンプが狭小なピッチで複数配列された電子デバイスの電気的特性を確実に検査できる。   In order to achieve the first object, a probe unit according to the present invention includes a substrate, and a wiring film having a plurality of openings with meandering contours and formed on the surface of the substrate, and the wiring film The plurality of convex edges of each of the openings are raised from the surface of the substrate to form a contact portion that contacts a bump of the specimen. By forming the contact portion with a wiring film formed on the surface of the substrate, a plurality of contact portions can be arranged on the substrate with a narrow pitch. By forming the contact portion by raising the convex edge of the wiring film, the contact portion and the bump of the specimen can be brought into point contact. In addition, when the plurality of convex edges are formed in the wiring film for each opening by meandering the outline of the opening formed in the wiring film, the plurality of convex edges can correspond to each bump. By making a plurality of convex edges correspond to each bump, the plurality of bumps can be electrically connected to the wiring film reliably at the same time. Therefore, according to the probe unit of the present invention, the electrical characteristics of an electronic device in which a plurality of bumps are arranged at a narrow pitch can be reliably inspected.

上記第二の目的を達成するため、本発明に係るプローブユニットの製造方法は、輪郭が蛇行した複数の開口を有する配線膜を基板の表面上に形成する工程と、前記基板の各開口の近傍を除去して通孔を形成する工程と、前記通孔から前記配線膜の各開口の複数の凸縁を突き上げ、前記凸縁を検体のバンプに接触する接触部に成形する工程と、を含むことを特徴とする。基板の表面上に形成する配線膜に輪郭が蛇行した複数の開口を形成する工程は簡素である。基板の各開口の近傍を除去して通孔を形成する工程も簡素である。通孔から配線膜の各開口の複数の凸縁を突き上げる工程も簡素である。したがって、本発明に係る製造方法によると、バンプが狭小なピッチで複数配列された電子デバイスの電気的特性を確実に検査できるプローブユニットを簡素な工程で製造できる。   In order to achieve the second object, a method for manufacturing a probe unit according to the present invention includes a step of forming a wiring film having a plurality of openings having meandering contours on a surface of a substrate, and the vicinity of each opening of the substrate. And forming a through hole, and pushing up a plurality of convex edges of each opening of the wiring film from the through hole, and forming the convex edges into contact portions that contact the bumps of the specimen. It is characterized by that. The process of forming a plurality of openings whose contours meander in the wiring film formed on the surface of the substrate is simple. The process of removing the vicinity of each opening of the substrate and forming the through hole is also simple. The process of pushing up the plurality of convex edges of each opening of the wiring film from the through hole is also simple. Therefore, according to the manufacturing method according to the present invention, a probe unit capable of reliably inspecting the electrical characteristics of an electronic device in which a plurality of bumps are arranged at a narrow pitch can be manufactured in a simple process.

以下、本発明の実施例を図面に基づいて説明する。
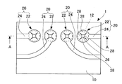
まず本発明の一実施例によるプローブユニットについて説明する。図1はプローブユニット1を示す平面図である。図2は図1のA−A線断面図である。
プローブユニット1は、図1及び図2に示すように、プローブ22及びリード24に区分される配線膜20が基板10上に接着剤30によって貼り付けられている。配線膜20には例えばNi、Ni−W、NiFeなどのニッケル合金などの金属などが用いられる。プローブ22は基板10上に複数配列され、それらプローブ22からそれぞれリード24が延伸するように設けられている。各プローブ22は、輪郭が蛇行し略十字形をなす開口26を中心に有し、開口26の四つの凸縁28が基板10表面から隆起しているため、王冠のように構成されている。開口26の四つの凸縁28は検体のバンプと接触する接触部を形成している。開口26の大きさは、例えば上端の最小幅aが約0.2mmであり、下端の直径bが約0.6mmである。凸縁28のリード24表面を基準とした高さは例えば約0.5mmである。基板10は、開口26下部に円柱形の通孔12を有する。
Embodiments of the present invention will be described below with reference to the drawings.
First, a probe unit according to an embodiment of the present invention will be described. FIG. 1 is a plan view showing the probe unit 1. 2 is a cross-sectional view taken along line AA in FIG.
As shown in FIGS. 1 and 2, the probe unit 1 has a wiring film 20 divided into probes 22 and leads 24 attached on a substrate 10 with an adhesive 30. For the wiring film 20, for example, a metal such as a nickel alloy such as Ni, Ni—W, or NiFe is used. A plurality of probes 22 are arranged on the substrate 10, and leads 24 are provided so as to extend from the probes 22. Each probe 22 has an opening 26 having a serpentine outline and a substantially cruciform shape, and four convex edges 28 of the opening 26 are raised from the surface of the substrate 10, so that each probe 22 is configured like a crown. The four convex edges 28 of the opening 26 form contact portions that contact the bumps of the specimen. As for the size of the opening 26, for example, the minimum width a at the upper end is about 0.2 mm, and the diameter b at the lower end is about 0.6 mm. The height of the convex edge 28 with respect to the surface of the lead 24 is, for example, about 0.5 mm. The substrate 10 has a cylindrical through-hole 12 below the opening 26.

次に、プローブユニット1を用いた導通試験方法について説明する。図3は、導通試験方法を示す断面図である。
はじめに図3(A)に示すように、各プローブ22が検体4の各バンプ40に対向するようにプローブユニット1を配置する。その後、図3(B)に示すように検体4にプローブユニット1を押し当て、プローブ22の開口26の各凸縁28で各バンプ40を挟み付けるようにして凸縁28とバンプ40とを接触させ、配線膜20とバンプ40との間で導通試験を行う。このとき凸縁28は、バンプ40の曲面形状に合わせて撓んでバンプ40をしっかりと挟み込み、確実にバンプ40と接触することができる。
Next, a continuity test method using the probe unit 1 will be described. FIG. 3 is a cross-sectional view showing a continuity test method.
First, as shown in FIG. 3A, the probe unit 1 is arranged so that each probe 22 faces each bump 40 of the specimen 4. Thereafter, as shown in FIG. 3B, the probe unit 1 is pressed against the specimen 4, and the bumps 40 and the bumps 40 are brought into contact with each other so that the bumps 40 are sandwiched between the bumps 28 of the openings 26 of the probe 22. Then, a continuity test is performed between the wiring film 20 and the bump 40. At this time, the convex edge 28 bends in accordance with the curved surface shape of the bump 40, so that the bump 40 is firmly sandwiched, and can be reliably brought into contact with the bump 40.

本実施例によると、配線膜20を基板10の表面上に従来の薄膜製造技術を用いて形成することができるため、配線膜20で形成される複数のプローブ22を基板10上に狭小なピッチで配列することができる。また、プローブ22の開口26の輪郭を蛇行させ、隆起した四つの凸縁28で一つのバンプ40に対応する接触部を形成することにより、接触部とバンプ40とを四点接触させることができる。バンプ40と四点接触する接触部をもつプローブ22を基板10上に複数配列することにより、複数のバンプ40を接触圧を低下させることなく同時に確実に配線膜20と接続できる。したがって、本実施例のプローブユニット1によれば、狭小なピッチで配列された複数のバンプをもつ電子デバイスの電気的特性を確実に検査可能である。さらに本実施例のプローブユニット1を電子デバイスのバーンインに用いることも可能である。   According to the present embodiment, since the wiring film 20 can be formed on the surface of the substrate 10 using a conventional thin film manufacturing technique, a plurality of probes 22 formed of the wiring film 20 are formed on the substrate 10 with a narrow pitch. Can be arranged. Further, the contact portion and the bump 40 can be brought into four-point contact by meandering the outline of the opening 26 of the probe 22 and forming a contact portion corresponding to one bump 40 with the four raised protrusions 28. . By arranging a plurality of probes 22 having contact portions in four-point contact with the bumps 40 on the substrate 10, the plurality of bumps 40 can be reliably and simultaneously connected to the wiring film 20 without reducing the contact pressure. Therefore, according to the probe unit 1 of the present embodiment, it is possible to reliably inspect the electrical characteristics of an electronic device having a plurality of bumps arranged at a narrow pitch. Furthermore, the probe unit 1 of this embodiment can be used for burn-in of an electronic device.

なお、凸縁28の数は四つに限らず、接触部とバンプ40との電気的接続をより確実にするために、開口26の形状を変えて凸縁28の数を多くしてもよい。導通検査時において凸縁28でバンプ40をしっかりと挟み付けるために、凸縁28は三つ以上が好ましい。
またプローブ22とリード24は、同じ材質でなくともよい。導通検査時にバンプ40との接触によりプローブ22に負荷がかかることを考慮して、プローブ22が優れた耐久性を有するように、プローブ22をリード24より硬い材質にしてもよい。
The number of the convex edges 28 is not limited to four, and the number of the convex edges 28 may be increased by changing the shape of the opening 26 in order to make the electrical connection between the contact portion and the bump 40 more reliable. . In order to firmly clamp the bumps 40 with the convex edges 28 during the continuity test, three or more convex edges 28 are preferable.
Further, the probe 22 and the lead 24 need not be the same material. Considering that a load is applied to the probe 22 due to contact with the bump 40 during the continuity test, the probe 22 may be made of a material harder than the lead 24 so that the probe 22 has excellent durability.

次に、プローブユニット1の製造方法について説明する。
図4は、プローブユニット1の製造方法を示す断面図である。
はじめに図4(A)に示すように、基板10の一方の表面に、プローブを形成する部分を除いて接着剤30を塗布する。
次に図4(B)に示すように、接着剤30によって基板10に配線膜20を貼り付ける。配線膜20には例えばNi、Ni−W、NiFeなどのニッケル合金、または金属ガラスなどを用いる。
Next, a method for manufacturing the probe unit 1 will be described.
FIG. 4 is a cross-sectional view showing a method for manufacturing the probe unit 1.
First, as shown in FIG. 4A, an adhesive 30 is applied to one surface of the substrate 10 except for a portion where a probe is to be formed.
Next, as shown in FIG. 4B, the wiring film 20 is attached to the substrate 10 with an adhesive 30. For the wiring film 20, for example, a nickel alloy such as Ni, Ni—W, or NiFe, or metallic glass is used.

次に図4(C)に示すように、リソグラフィー及びエッチングにより配線膜20をパターニングし、プローブ22の外郭とリード24とを形成すると同時にプローブ22の中心に開口26を形成する。この開口26の形成は、スタンピングによっても行うことができる。開口26をスタンピングによって形成した場合、配線膜20のプローブ22の外郭とリード24のパターニングは別工程で行わなければならない。   Next, as shown in FIG. 4C, the wiring film 20 is patterned by lithography and etching to form the outline of the probe 22 and the lead 24, and at the same time, form an opening 26 in the center of the probe 22. The opening 26 can also be formed by stamping. When the opening 26 is formed by stamping, the outer contour of the probe 22 of the wiring film 20 and the patterning of the lead 24 must be performed in separate steps.

次に図4(D)に示すように、基板10の開口26周辺をドリル加工などにより除去し、基板10に通孔12を形成する。
次に図4(E)に示すように、先端が尖った硬い金属棒5などで配線膜20の凸縁28を通孔12から突き上げて隆起させる。
最後に、配線膜20のエッチングによって表面に露出した不要な接着剤30を除去すると、図4(F)に示すようにプローブユニット1が完成する。
Next, as shown in FIG. 4D, the periphery of the opening 26 of the substrate 10 is removed by drilling or the like, and the through holes 12 are formed in the substrate 10.
Next, as shown in FIG. 4E, the convex edge 28 of the wiring film 20 is pushed up from the hole 12 and raised by a hard metal rod 5 having a sharp tip.
Finally, when the unnecessary adhesive 30 exposed on the surface is removed by etching the wiring film 20, the probe unit 1 is completed as shown in FIG.

図5は、図4(C)に示した開口形成工程でパターニングされた配線膜20を示す平面図である。
図5(A)に示すように、四つの凸縁28が形成される開口26を形成すると、この凸縁28を突き上げて隆起させれば、四つの凸縁28が環状に連なった上述のプローブユニット1を形成することができる。図5(B)に示すように、七つの凸縁28が形成される開口26を形成すると、七つの凸縁28が環状に連なった上述のプローブユニット1を形成することができる。図5(C)に示すように、開口26自体を蛇腹状に形成して五つの凸縁28を形成し、プローブ22の外縁を略楕円形に形成してもよい。このように凸縁28の根元からの長さを長く形成すれば、凸縁28を高く隆起させることができる。また、通孔を大きくすることによって、図6のようにプローブ22の凸縁28を長くし、ばね性をもたせることができる。
FIG. 5 is a plan view showing the wiring film 20 patterned in the opening forming step shown in FIG.
As shown in FIG. 5A, when the opening 26 in which the four convex edges 28 are formed is formed, if the convex edge 28 is pushed up and raised, the above-described probe in which the four convex edges 28 are connected in a ring shape. Unit 1 can be formed. As shown in FIG. 5B, when the opening 26 in which the seven convex edges 28 are formed is formed, the above-described probe unit 1 in which the seven convex edges 28 are connected in a ring shape can be formed. As shown in FIG. 5C, the opening 26 itself may be formed in a bellows shape to form five convex edges 28, and the outer edge of the probe 22 may be formed in a substantially elliptical shape. Thus, if the length from the base of the convex edge 28 is formed long, the convex edge 28 can be raised highly. Further, by increasing the size of the through hole, the convex edge 28 of the probe 22 can be lengthened as shown in FIG.

本製造方法によれば、バンプ40と多点接触するプローブ22を、基板10と別体に成形することなく、簡素な製造プロセスにより基板10上に複数成形する。具体的には、複数の開口26を形成する工程にリソグラフィー、エッチング、スタンピングなどの簡素な加工技術を用いる。通孔12を形成する工程も簡素である。通孔12から配線膜20の各開口26の複数の凸縁28を突き上げる工程も簡素である。したがって、バンプ40と多点接触するプローブ22が狭小なピッチで複数形成されたプローブユニットを、複雑な製造プロセスを用いることなく簡素な加工技術で容易に製造できる。   According to the present manufacturing method, a plurality of probes 22 that make multipoint contact with the bumps 40 are formed on the substrate 10 by a simple manufacturing process without being formed separately from the substrate 10. Specifically, a simple processing technique such as lithography, etching, stamping or the like is used in the process of forming the plurality of openings 26. The process of forming the through hole 12 is also simple. The process of pushing up the plurality of convex edges 28 of each opening 26 of the wiring film 20 from the through hole 12 is also simple. Therefore, a probe unit in which a plurality of probes 22 that are in multipoint contact with the bump 40 are formed at a narrow pitch can be easily manufactured with a simple processing technique without using a complicated manufacturing process.

本発明の実施例によるプローブユニットを示す平面図である。It is a top view which shows the probe unit by the Example of this invention. 図1のA−A線断面図である。It is the sectional view on the AA line of FIG. 本発明の実施例によるプローブユニットを用いた導通検査方法を示す断面図である。It is sectional drawing which shows the continuity test method using the probe unit by the Example of this invention. 本発明の実施例によるプローブユニットの製造方法を示す断面図である。It is sectional drawing which shows the manufacturing method of the probe unit by the Example of this invention. 本発明の実施例によるプローブユニットの製造方法でパターニングされた配線膜を示す平面図である。It is a top view which shows the wiring film patterned by the manufacturing method of the probe unit by the Example of this invention. (A)は本発明の実施例によるプローブユニットを示す平面図、(B)は本発明の実施例によるプローブユニットを示す断面図である。(A) is a top view which shows the probe unit by the Example of this invention, (B) is sectional drawing which shows the probe unit by the Example of this invention.

符号の説明Explanation of symbols

1 プローブユニット、4 検体、5 金属棒、10 基板、12 通孔、20 配線膜、22 プローブ、24 リード、26 開口、28 凸縁、30 接着剤、40 バンプ 1 probe unit, 4 specimen, 5 metal rod, 10 substrate, 12 through-hole, 20 wiring film, 22 probe, 24 lead, 26 opening, 28 convex edge, 30 adhesive, 40 bump

Claims (2)

基板と、
輪郭が蛇行した複数の開口を有し前記基板の表面上に形成された配線膜とを備え、
前記配線膜の各開口の複数の凸縁は、前記基板の表面から隆起し、検体のバンプに接触する接触部を形成していることを特徴とするプローブユニット。
A substrate,
A wiring film having a plurality of openings meandering in outline and formed on the surface of the substrate;
A plurality of convex edges of each opening of the wiring film are raised from the surface of the substrate to form a contact portion that contacts a bump of a specimen.
輪郭が蛇行した複数の開口を有する配線膜を基板の表面上に形成する工程と、
前記基板の各開口の近傍を除去して通孔を形成する工程と、
前記通孔から前記配線膜の各開口の複数の凸縁を突き上げ、前記凸縁を検体のバンプに接触する接触部に成形する工程と、
を含むことを特徴とするプローブユニットの製造方法。
Forming a wiring film having a plurality of openings whose meandering meanders on the surface of the substrate;
Removing the vicinity of each opening of the substrate to form a through hole; and
A process of pushing up a plurality of convex edges of each opening of the wiring film from the through hole, and molding the convex edges into a contact portion that contacts a bump of a specimen;
A method for manufacturing a probe unit comprising:
JP2004102619A 2004-03-31 2004-03-31 Probe unit and method of manufacturing probe unit Withdrawn JP2005291722A (en)

Priority Applications (1)

Application Number Priority Date Filing Date Title
JP2004102619A JP2005291722A (en) 2004-03-31 2004-03-31 Probe unit and method of manufacturing probe unit

Applications Claiming Priority (1)

Application Number Priority Date Filing Date Title
JP2004102619A JP2005291722A (en) 2004-03-31 2004-03-31 Probe unit and method of manufacturing probe unit

Publications (1)

Publication Number Publication Date
JP2005291722A true JP2005291722A (en) 2005-10-20

Family

ID=35324835

Family Applications (1)

Application Number Title Priority Date Filing Date
JP2004102619A Withdrawn JP2005291722A (en) 2004-03-31 2004-03-31 Probe unit and method of manufacturing probe unit

Country Status (1)

Country Link
JP (1) JP2005291722A (en)

Similar Documents

Publication Publication Date Title
KR102018784B1 (en) Method for testing electrode circuit pin and electrode circuit testing pin using the same
KR100980369B1 (en) Probe needle structure of the probe card and its manufacturing method
WO2018193832A1 (en) Electrical connection apparatus
JP2010175507A (en) Electrical connection device
TWI434044B (en) Probe card and manufacturing method thereof
JP2004333332A (en) Probe unit and its manufacturing method
JP5577040B2 (en) Probe card
JP2009503535A (en) Vertical probe, manufacturing method thereof, and probe bonding method
JP2007194187A (en) Contact pin, and socket for electrical component
JP5062355B2 (en) Connection terminal and method for manufacturing connection terminal
JP6084591B2 (en) Probe member for pogo pins
JP2005291722A (en) Probe unit and method of manufacturing probe unit
JP2010002391A (en) Contact probe and method of forming the same
KR20030033206A (en) Probe micro-structure
JP2013250224A (en) Probe card and method for manufacturing the same
KR100773374B1 (en) Probe Tip Manufacturing Method
KR101347875B1 (en) Method for manufacturing touching structure for testing semiconductor package, touching structure for testing semiconductor package and socket for testing semiconductor package including the same
KR100911453B1 (en) Probe card
JP3446636B2 (en) Contact probe and probe device
JP4877465B2 (en) Semiconductor device, semiconductor device inspection method, semiconductor wafer
KR20040000111A (en) Probe tip using the micro tube for testing the elctro device
KR20080019366A (en) Probe Tips and Manufacturing Methods
KR20170008531A (en) Probe structure and assembly for contracting probe structure
JP2007192719A (en) Probe card
JP5203136B2 (en) Contact probe manufacturing method

Legal Events

Date Code Title Description
RD04 Notification of resignation of power of attorney

Free format text: JAPANESE INTERMEDIATE CODE: A7424

Effective date: 20060628

A621 Written request for application examination

Free format text: JAPANESE INTERMEDIATE CODE: A621

Effective date: 20061124

A977 Report on retrieval

Free format text: JAPANESE INTERMEDIATE CODE: A971007

Effective date: 20081126

A761 Written withdrawal of application

Free format text: JAPANESE INTERMEDIATE CODE: A761

Effective date: 20090128