JP2005291634A - 室内換気システムにおける酸素富化空気の供給装置及びこれを備えた建物 - Google Patents

室内換気システムにおける酸素富化空気の供給装置及びこれを備えた建物 Download PDF

Info

Publication number
JP2005291634A
JP2005291634A JP2004108371A JP2004108371A JP2005291634A JP 2005291634 A JP2005291634 A JP 2005291634A JP 2004108371 A JP2004108371 A JP 2004108371A JP 2004108371 A JP2004108371 A JP 2004108371A JP 2005291634 A JP2005291634 A JP 2005291634A
Authority
JP
Japan
Prior art keywords
oxygen
air
enriched
room
air supply
Prior art date
Legal status (The legal status is an assumption and is not a legal conclusion. Google has not performed a legal analysis and makes no representation as to the accuracy of the status listed.)
Pending
Application number
JP2004108371A
Other languages
English (en)
Inventor
Yoshiyuki Hayakawa
義行 早川
Current Assignee (The listed assignees may be inaccurate. Google has not performed a legal analysis and makes no representation or warranty as to the accuracy of the list.)
LONG HOME KK
Original Assignee
LONG HOME KK
Priority date (The priority date is an assumption and is not a legal conclusion. Google has not performed a legal analysis and makes no representation as to the accuracy of the date listed.)
Filing date
Publication date
Application filed by LONG HOME KK filed Critical LONG HOME KK
Priority to JP2004108371A priority Critical patent/JP2005291634A/ja
Publication of JP2005291634A publication Critical patent/JP2005291634A/ja
Pending legal-status Critical Current

Links

Images

Landscapes

  • Ventilation (AREA)

Abstract

【課題】常時室内を高酸素濃度に保ちつつ、適正な換気を行う。
【解決手段】1時間当りの換気量が、建築基準法上、少なくとも室内体積の1/2とした室内換気システムにおいて、その給気側に酸素富化膜18、真空ポンプ15及びコントロールユニット20からなる酸素富化ユニット9を設け、該酸素富化ユニット9から吐出される酸素富化空気を室R内側に取入れるようにしたものであって、前記吐出量が前記換気量に該当する導入外気の全量に対して1/16以上とした。
【選択図】 図2

Description

本発明は、室内換気システムにおける酸素富化空気の供給装置及びこれを備えた建物に関する。
酸素供給装置は、医療用の救命用具として用いられるほか、最近では、疲労回復、健康増進、美容、成人病予防、高齢者ケア、二日酔い回復、労働率向上等々の健康医療用器具としての用途の開発もなされている。
この場合における使われ方は、酸素発生源から発生した酸素を酸素マスクを介して直接吸気したり、呼吸器の近くで酸素を放出する方法、あるいはエアコン、ジェットバスの附属機能として、酸素富化空気を室内に供給する方法もある。
前者の場合には、酸素発生源として酸素ボンベ、あるいは化学的酸素発生装置を必要とし、吸気に伴い酸素が消費され尽された状態では、交換あるいは原料補給などの作業を伴い、恒久的なものではなく、維持費が高価である。また、治療者が常に酸素マスクをしたり酸素発生源の近くにいなければならず、用法が限られるといった課題がある。
これに対し、後者の場合には、酸素富化膜と真空吸引ポンプとの組合せからなる酸素富化ユニットをエアコン、ジェットバスの室外機に組込み、専用のパイプを用いて室内に取込むものであり、専ら電気代だけで恒久的に室内を高酸素濃度に保つ可能性がある。
しかし、この場合であっても室内が密閉空間である場合には、人の呼吸により排出される二酸化炭素により、酸素給気効果を相殺し、さらに換気設備が設けられた場合は、給気によって室内の酸素がいたずらに排出されてしまうという課題がある。また、付加機能であるため、絶対必要量にはとうてい及ばないものであった。
本発明は、以上の課題を達成するためになされたものであり、その目的は、常時室内を高酸素濃度に保ちつつ、適正な換気を行えるようにした室内換気システムにおける酸素富化空気の供給装置及びこれを備えた建物を提供するものである。
前記目的を達成するため、本発明は、給気側に酸素富化膜、真空ポンプ及びコントロールユニットからなる酸素富化ユニットを設け、該酸素富化ユニットから吐出される酸素富化空気を室内全体に取入れるようにしたことを特徴とする。
本発明では、1時間当りの換気量を、建築基準法上、少なくとも室内体積の1/2とした室内換気システムにおいて、その給気側に酸素富化膜、真空ポンプ及びコントロールユニットからなる酸素富化ユニットを設け、該酸素富化ユニットから吐出される酸素富化空気を室内側に取入れるようにしたものであって、前記吐出量が前記換気量に該当する導入外気の全量に対して1/16以上であることが好ましい。
そして、本発明に係る酸素富化空気の供給装置は、常時(24時間)稼動することが好ましく、建物自体が上記酸素富化空気の供給装置を備えたものとすることができ、例えば住宅に適用する場合には、いわば酸素浴住宅を実現することができる。
また、本発明では、前記酸素富化ユニットが外壁に固定される筐体内に配置され、外壁を貫通して室内に連通する給気パイプを通じて発生した酸素富化空気を取入れるようにしてもよいし、前記酸素富化ユニットが室外の適宜の位置に設置される筐体内に配置され、酸素富化ユニットの吐出端に接続された給気パイプを介して室内側に取入れるようにしてもよいし、前記酸素富化ユニットが室内の壁面に取付けられる筐体内に配置され、外壁を貫通して室内に連通する給気パイプを通じて外気を前記酸素富化ユニットの給気側に連通させた構造としてもよい。
この発明では、前記筐体内には、前記酸素富化空気供給系と別個に排気系が設けられ、外壁を貫通して設けた排気パイプを通じて室内の空気を排出するものであることを特徴とする。さらに、本発明において、供給系、排気系ともに熱交換器を介して給排されるものであることを特徴とするものである。
したがって、本発明によれば、室内全体に酸素富化空気が流入するために、室内のどこでも同様に高酸素状態を保つことができる。また、室内換気システムにおいて、酸素富化空気の流入に伴い、人の呼吸により排出される二酸化炭素を室外に排出することができるため、常時、室内をフレッシュで高酸素状態に保つことができる。
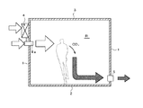
以下、本発明の好適な実施の形態を添付図面を参照して説明する。図1は本発明の第1実施形態による室内換気システムの全体構成を示すものである。本発明に係る酸素富化空気の供給装置は、所定時間稼動するものであってもよいが、常時(24時間)稼動することが好ましい。また、建物自体が上記酸素富化空気の供給装置を備えたものとすることができ、例えば住宅に適用する場合には、いわば酸素浴住宅を実現することができる。これらの建物ないしは住宅は、1つ以上の室Rを備え、本発明に係る室内換気システムは、当該建物ないしは住宅に備えられる1つ以上の室Rに設けられる。
図において、外壁1、床2,天井3で囲われた室R内において、一方の外壁1の外側上部には富化空気供給装置4が設けられ、他方の外壁1には空気排出口5が設けられ、空気供給装置4側からは給気口4aを経て室R内全体に空気が導入され、排出口5から外部に排出されるようになっている。この給排は、全体として1時間当り室Rの内容積の1/2の量の空気が矢印のごとく室R内に供給され、かつ排出されるようその換気量が設定されており、室R内に人がいる場合その呼吸により排出される炭酸ガスも排出され、常時新鮮な空気で室R内が満たされるようになっている。
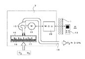
富化空気供給装置4は、図2に示すごとく、外壁1の外側にブラケット6を介して固定されるとともに、周囲をコーキング7により封止され、かつ下部側に給気用ガラリ8aを開口した筐体8と、筐体8内の上部側に配置され、かつ下部側に向けて給気口9aを開口した酸素富化ユニット9と、外壁1を貫通して一端を筐体8内に開口し、他端を室R内に開口させた前記給気口4aに該当する給気パイプ10と、給気パイプ10の室内側開口端に嵌めつけられ、かつ風向調整用のシャッター11aを内側に設けた給気口グリル11と、外壁1を貫通して配線された前記酸素富化ユニット9の駆動用ケーブル12と、外壁1の室R内側の適宜位置に固定された、コントロールパネル13とを備えており、前記酸素富化ユニット9の吐出側は酸素富化パイプ14を通じて給気パイプ10内側に導かれ、ここでガラリ8aを通じて導入された外気と混合した状態で室Rの内側に給気されるようになっている。
酸素富化ユニット9は、図3に示すように、下端が開口するとともに、上部中央を真空ポンプ15に接続した扁平状のケーシング16と、ケーシング16の開口面に張設された高性能フィルタ17及びその奥部に張設された酸素富化膜18と、真空ポンプ15を駆動するモータ19と、モータ駆動用回路部(モータコントロールユニット)20とから構成され、モータ19は、回路部20にケーブル12を介して接続された前述のコントロールパネル13の設定に応じた駆動モードで駆動され、ケーシング16内を吸引する。これにより、通常の空気組成が酸素約21%で、残部のほとんどが窒素(78%)であるのに対し、酸素富化膜18を通過した空気組成は酸素濃度が約30%となる。
すなわち、空気の分子が酸素富化膜18を通過したとき、一旦膜にとけ込んでから離脱し、このときの離脱速度は酸素分子が窒素分子よりも約2.5倍と、酸素が優先的に通過することになり、結果的に酸素濃度を高めた空気が生成されることになる。またこの際、埃・細菌・ウィルスなどの外気の汚れは高性能フィルタ17で濾過されるとともに、ここを通過した超微細成分は酸素富化膜18により完全にシャットアウトされるため、清浄な空気として室R内に導入されるものとなる。
また、生成した酸素高濃度空気は、酸素富化パイプ14からの吐出作用による誘因効果により、給気パイプ10内でガラリ8aを通じて筐体8内に導入された一般外気と混合される。その割合として、導入される全外気の1/16以上を酸素富化空気とすることで、室R内全体の酸素濃度を通常の空気組成より数%増加させる。
なお、前記コントロールパネル13は、エアコンのリモコンパネルと同様に、表示部、設定ボタン、及びこれに内蔵された酸素濃度センサなどからなり、室R内側での負荷や、設定に応じてモータ駆動を制御する。
以上において、建築基準法の換気の基準では、1時間当り室内体積の1/2を換気することとなっており、6畳間では約10m/時であり、これを毎分に換算すると160リットル/分である。
また、前記酸素富化ユニット9の供給性能は10〜160リットル/分であり、これは先の換算量の1/16以上に当り、また安静時ないし軽作業時の1人の呼吸量である5〜10リットル/分の複人数分であり、室内全体の酸素富化の目的に合致する。逆にこれ以上の量を供給しても消費されず、排出口5から外部に流出するため、以上の供給性能とすることで妥当な環境となる。
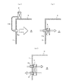
図4(a)〜(c)は本発明に係る他の実施の形態を示す。まず、(a)においては、酸素富化供給装置4を据置き形とし、屋上部または外壁1の近傍の地上部に設置し、酸素負荷パイプ14を通じて供給口に導入するタイプとしたものである。この場合には、容量が大形の場合に好適である。
また、(b)は酸素富化供給装置4を室R内壁面に取付け、給気口4aを介して導入する外気の一部を酸素富化し、室R内側に給気するものであり、この場合には取付施工が簡単であり、安価に取付けできる。
さらに、(c)は、酸素富化供給装置4を室R内壁面に取付け、給気口4aを介して導入する外気の一部を酸素富化し、室R内側に給気するとともに、下部側に設けた排出口5を通じて室R内の空気を外部に排出するものである。この場合において、排気を熱交換型とすることにより、室内温度を変えることなく給排気が可能となる。
なお、各実施の形態において、例えば給気口グリル14の位置に抗酸化サプリメントフィルターなどを配置し、これを通じて酸素富化空気を吐出することによって、活性酸素を吸収し、いわゆる善玉酸素のみを室内に導入できるなど、各種の付加機能をもたらすことができる。
本発明に係る室内換気システムの全体構成を示す説明図である。 酸素富化供給装置を示す説明図である。 酸素富化ユニットを示す説明図である。 (a)〜(c)は他の実施形態を示す説明図である。
符号の説明
1 外壁
2 床
3 天井
R 室
4 酸素富化供給装置
4a 給気口(給気パイプ)
5 排出口
8 筐体
9 酸素富化ユニット
13 コントロールパネル
15 真空ポンプ
18 酸素富化膜
20 駆動用回路部(モータコントロールユニット)

Claims (3)

  1. 給気側に酸素富化膜、真空ポンプ及びコントロールユニットからなる酸素富化ユニットを設け、該酸素富化ユニットから吐出される酸素富化空気を室内全体に取入れるようにしたことを特徴とする室内換気システム。
  2. 1時間当りの換気量を少なくとも室内体積の1/2とした室内換気システムにおいて、その給気側に酸素富化膜、真空ポンプ及びコントロールユニットからなる酸素富化ユニットを設け、該酸素富化ユニットから吐出される酸素富化空気を室内側に取入れるようにしたものであって、
    前記吐出量が前記換気量に該当する導入外気の全量に対して1/16以上であることを特徴とする室内換気システムにおける酸素富化空気の供給装置。
  3. 請求項1又は2に記載の酸素富化空気の供給装置を備えたことを特徴とする建物。
JP2004108371A 2004-03-31 2004-03-31 室内換気システムにおける酸素富化空気の供給装置及びこれを備えた建物 Pending JP2005291634A (ja)

Priority Applications (1)

Application Number Priority Date Filing Date Title
JP2004108371A JP2005291634A (ja) 2004-03-31 2004-03-31 室内換気システムにおける酸素富化空気の供給装置及びこれを備えた建物

Applications Claiming Priority (1)

Application Number Priority Date Filing Date Title
JP2004108371A JP2005291634A (ja) 2004-03-31 2004-03-31 室内換気システムにおける酸素富化空気の供給装置及びこれを備えた建物

Publications (1)

Publication Number Publication Date
JP2005291634A true JP2005291634A (ja) 2005-10-20

Family

ID=35324753

Family Applications (1)

Application Number Title Priority Date Filing Date
JP2004108371A Pending JP2005291634A (ja) 2004-03-31 2004-03-31 室内換気システムにおける酸素富化空気の供給装置及びこれを備えた建物

Country Status (1)

Country Link
JP (1) JP2005291634A (ja)

Cited By (4)

* Cited by examiner, † Cited by third party
Publication number Priority date Publication date Assignee Title
JP2009047373A (ja) * 2007-08-21 2009-03-05 Tokyo Gas Co Ltd 給電及び給湯システム
US12315317B2 (en) 2022-06-29 2025-05-27 Rescue Air Systems, Inc. Method and system of sensor-based smart unlocking of a firefighter air replenishment system
US12418633B2 (en) 2022-06-29 2025-09-16 Rescue Air Systems, Inc. Methods and system of incident based camera device activation in a firefighter air replenishment system having breathable air supplied therein
US12544601B2 (en) 2023-02-07 2026-02-10 Rescue Air Systems, Inc. System and method of a ring architecture of a fixed piping system implemented within a safety system of a structure to continuously supply breathable air therewithin

Cited By (4)

* Cited by examiner, † Cited by third party
Publication number Priority date Publication date Assignee Title
JP2009047373A (ja) * 2007-08-21 2009-03-05 Tokyo Gas Co Ltd 給電及び給湯システム
US12315317B2 (en) 2022-06-29 2025-05-27 Rescue Air Systems, Inc. Method and system of sensor-based smart unlocking of a firefighter air replenishment system
US12418633B2 (en) 2022-06-29 2025-09-16 Rescue Air Systems, Inc. Methods and system of incident based camera device activation in a firefighter air replenishment system having breathable air supplied therein
US12544601B2 (en) 2023-02-07 2026-02-10 Rescue Air Systems, Inc. System and method of a ring architecture of a fixed piping system implemented within a safety system of a structure to continuously supply breathable air therewithin

Similar Documents

Publication Publication Date Title
US7018443B2 (en) Method and system for reducing body weight in an enclosed atmospheric environment
US7658786B2 (en) Method for improving the air quality in the limited space and the equipment using thereof
JP6028935B2 (ja) 統合システムおよび空気清浄方法
JP4985735B2 (ja) 空気清浄機
CN108224588A (zh) 用于窗式空调器的净化模块和窗式空调器
JP2013544599A (ja) 空気清浄システム
CN201003842Y (zh) 一种新风机
JP2006010184A (ja) 空気清浄機及び空気清浄システム並びに建物構造
KR20190110797A (ko) 무덕트 노출형 열회수 환기장치
JP4599906B2 (ja) 空気清浄機システム
JP4883155B2 (ja) 空気清浄機
JP2005291634A (ja) 室内換気システムにおける酸素富化空気の供給装置及びこれを備えた建物
KR100721256B1 (ko) 산소발생 환기장치
WO2006001368A1 (ja) 空気清浄機及び空気清浄システム
CN211177287U (zh) 一种内窗式高效新风净化换气机
CN210135653U (zh) 一种富氧加湿空气净化器
KR100698516B1 (ko) 창문형 열교환 환기장치
KR101949639B1 (ko) 공기청정 기능을 구비한 고효율 바닥상치형 환기장치
CN222799148U (zh) 一种多功能吊顶式新风机
CN201992760U (zh) 空气交换机
CN212836938U (zh) 一种数字化手术室
KR20050119772A (ko) 기압조정 환기시스템
CN102444952A (zh) 房屋呼吸机
CN109237696A (zh) 睡眠用空气去污机
CN205783598U (zh) 一种能够减少氟利昂排放的墙板

Legal Events

Date Code Title Description
A711 Notification of change in applicant

Free format text: JAPANESE INTERMEDIATE CODE: A711

Effective date: 20051111

A621 Written request for application examination

Effective date: 20051118

Free format text: JAPANESE INTERMEDIATE CODE: A621

A521 Written amendment

Free format text: JAPANESE INTERMEDIATE CODE: A821

Effective date: 20051111

A131 Notification of reasons for refusal

Free format text: JAPANESE INTERMEDIATE CODE: A131

Effective date: 20081111

A02 Decision of refusal

Free format text: JAPANESE INTERMEDIATE CODE: A02

Effective date: 20090414