JP2005291623A - 温水利用システム - Google Patents

温水利用システム Download PDF

Info

Publication number
JP2005291623A
JP2005291623A JP2004107202A JP2004107202A JP2005291623A JP 2005291623 A JP2005291623 A JP 2005291623A JP 2004107202 A JP2004107202 A JP 2004107202A JP 2004107202 A JP2004107202 A JP 2004107202A JP 2005291623 A JP2005291623 A JP 2005291623A
Authority
JP
Japan
Prior art keywords
hot water
temperature
heat
storage tank
heat exchanger
Prior art date
Legal status (The legal status is an assumption and is not a legal conclusion. Google has not performed a legal analysis and makes no representation as to the accuracy of the status listed.)
Granted
Application number
JP2004107202A
Other languages
English (en)
Other versions
JP4113512B2 (ja
Inventor
Hidemine Murahashi
秀峰 村端
Naotaka Aizawa
直孝 藍沢
Shigeki Murayama
茂樹 村山
Masayuki Hayashi
正之 林
Masashi Urano
雅司 浦野
Current Assignee (The listed assignees may be inaccurate. Google has not performed a legal analysis and makes no representation or warranty as to the accuracy of the list.)
Panasonic Electric Works Co Ltd
Denso Corp
Corona Corp
Original Assignee
Denso Corp
Corona Corp
Matsushita Electric Works Ltd
Priority date (The priority date is an assumption and is not a legal conclusion. Google has not performed a legal analysis and makes no representation as to the accuracy of the date listed.)
Filing date
Publication date
Application filed by Denso Corp, Corona Corp, Matsushita Electric Works Ltd filed Critical Denso Corp
Priority to JP2004107202A priority Critical patent/JP4113512B2/ja
Publication of JP2005291623A publication Critical patent/JP2005291623A/ja
Application granted granted Critical
Publication of JP4113512B2 publication Critical patent/JP4113512B2/ja
Anticipated expiration legal-status Critical
Expired - Fee Related legal-status Critical Current

Links

Images

Classifications

    • YGENERAL TAGGING OF NEW TECHNOLOGICAL DEVELOPMENTS; GENERAL TAGGING OF CROSS-SECTIONAL TECHNOLOGIES SPANNING OVER SEVERAL SECTIONS OF THE IPC; TECHNICAL SUBJECTS COVERED BY FORMER USPC CROSS-REFERENCE ART COLLECTIONS [XRACs] AND DIGESTS
    • Y02TECHNOLOGIES OR APPLICATIONS FOR MITIGATION OR ADAPTATION AGAINST CLIMATE CHANGE
    • Y02BCLIMATE CHANGE MITIGATION TECHNOLOGIES RELATED TO BUILDINGS, e.g. HOUSING, HOUSE APPLIANCES OR RELATED END-USER APPLICATIONS
    • Y02B30/00Energy efficient heating, ventilation or air conditioning [HVAC]
    • Y02B30/12Hot water central heating systems using heat pumps

Landscapes

  • Steam Or Hot-Water Central Heating Systems (AREA)
  • Heat-Pump Type And Storage Water Heaters (AREA)

Abstract

【課題】 季節に応じた熱負荷端末への熱媒体の温度制御及び貯湯タンクに蓄える温水の温度制御が可能となり、省エネルギーを実現できる温水利用システムを提供すること。
【解決手段】 貯湯タンク1内の水を加熱する温水生成手段2と、貯湯タンク1の上方側から熱交換器4の一次側配管4a及び熱交換器一次用ポンプ5を経て貯湯タンク1の下方側に戻される一次側循環経路7と、熱交換器4の二次側配管4bの一端からの加熱された熱媒体9を熱負荷端末10の入側に供給しかつ熱負荷端末10の出側からの熱媒体9を熱交換器4の二次側配管4bの他端に戻す二次側循環経路8と、二次側循環経路8の熱媒体9の温度を検知する熱媒体温度センサ11とを具備した温水利用システムである。現在の季節を検出する季節検出手段13と、季節検出手段13で検出された季節に応じて熱媒体9の設定温度を可変する制御部12とを具備している。
【選択図】 図1

Description

本発明は、熱交換器を用いた温水利用システムに関するものである。
従来、温水を保温貯蔵する貯湯タンクと、貯湯タンク内の水を加熱する温水生成手段と、貯湯タンク内の温水のうち上方側に溜まっている高温水の熱交換を行なう熱交換器と、熱交換器によって高温となった熱媒体が供給される熱負荷端末と、熱交換器を通過した後の温度が低下した中間温度の温水を貯湯タンクに戻す温水戻し手段とを備えた温水利用システムが知られている(例えば、特許文献1参照)。
ところで、一般に、熱交換器付きの温水利用システムにあっては、最も熱を必要とする冬の季節に合わせて、熱負荷端末(例えば、浴室暖房乾燥機)に70℃の熱媒体を送っている。そのため、貯湯タンクには90℃の高温水を蓄える必要があった。つまり、90℃の高温水を熱交換器で熱媒体に熱を伝え、70℃となるように制御するため、ある程度の温度差が必要であった。一方、最も熱を必要としない夏の季節は、低温(例えば55℃)の熱媒体を熱負荷端末に送れば必要とする性能を発揮することができるため、貯湯タンクには70℃の温水を蓄えればよい。にもかかわらず、従来では1年中、貯湯タンクに90℃の温水を蓄えるシステムとなっており、不必要なエネルギーロスを招くという問題があった。
特開2003−185251号公報
本発明は上記の従来の問題点に鑑みて発明したものであって、季節に応じた熱負荷端末への熱媒体の温度制御ができると共に、貯湯タンクに蓄える温水の温度制御が可能となり、省エネルギー化を実現できる温水利用システムを提供することを課題とするものである。
上記課題を解決するために請求項1記載の発明にあっては、温水を貯蔵する貯湯タンク1と、貯湯タンク1内の水を加熱する温水生成手段2と、貯湯タンク1の上方側から温水を取り出し、熱交換器4の一次側配管4a及び熱交換器一次用ポンプ5を経て貯湯タンク1の下方側に戻す一次側循環経路7と、上記熱交換器4の二次側配管4bの一端からの加熱された熱媒体9を熱負荷端末10の入側に供給すると共に熱負荷端末10の出側から排出される熱媒体9を熱交換器4の二次側配管4bの他端に戻す二次側循環経路8と、上記二次側循環経路8の熱媒体9の温度を検知する熱媒体温度センサ11とを具備した温水利用システムであって、現在の季節を検出する季節検出手段13と、上記季節検出手段13で検出された季節に応じて熱媒体9の設定温度を可変にする制御部12とを具備したことを特徴としている。
このような構成とすることで、季節に合わせて貯湯タンク1に蓄える温水の温度を異ならせることが可能となり、特に最も熱を必要としない夏の季節では熱媒体9の設定温度が55℃の場合、貯湯タンク1の温水温度も70℃であればよく、従来のように1年中、90℃に加熱する必要がなくなる。従って、貯湯タンク1に温水を蓄えるのに必要なエネルギーを少なくできると共に、貯湯タンク1の温度が低くなるので、そこからの放熱も少なくできる。
また請求項2記載の発明にあっては、温水を保温貯蔵する貯湯タンク1と、貯湯タンク1内の水を加熱する温水生成手段2と、貯湯タンク1の上方側から温水を取り出し、熱交換器4の一次側配管4a及び熱交換器一次用ポンプ5を経て貯湯タンク1の下方側に戻す一次側循環経路7と、上記熱交換器4の二次側配管4bの一端からの加熱された熱媒体9を熱負荷端末10の入側に供給すると共に熱負荷端末10の出側から排出される熱媒体9を熱交換器4の二次側配管4bの他端に戻す二次側循環経路8と、上記熱負荷端末10の入側に供給される熱媒体9の温度を検知する熱媒体温度センサ11とを具備した温水利用システムであって、1年を複数の期間に分割し、分割された各期間に応じて熱媒体9の設定温度が異なるように熱交換器一次用ポンプ5の単位時間当たりの回転数を制御する複数の異なる季節制御モードを備えた制御部12と、上記複数の季節制御モードを切り換えるための季節検出手段13とを具備することを特徴としている。
このような構成とすることで、熱負荷端末10に供給される熱媒体9の温度を季節に応じた温度に設定するにあたって、季節検出手段13にて選ばれた季節制御モードは貯湯タンク1の温水の温度を変えるのではなく、熱交換器一次用ポンプ5の回転数を変えることによって、熱媒体9の温度を目標とする設定温度に制御するシステムを採用することにより、季節に応じた熱負荷端末10への熱媒体9の温度制御ができると共に、季節に合わせて貯湯タンク1に蓄える温水の温度を異ならせることが可能となり、特に最も熱を必要としない夏の季節では熱媒体9の設定温度が55℃の場合、貯湯タンク1の温水温度も70℃であればよく、従来のように1年中、90℃に加熱する必要がなくなる。従って、貯湯タンク1に温水を蓄えるのに必要なエネルギーを少なくできると共に、貯湯タンク1の温度が低くなるので、そこからの放熱も少なくできる。
また、請求項3記載の発明は、上記季節検出手段13は、制御部12に内蔵されて季節情報を管理するカレンダー機能回路部13aからなるのが好ましく、この場合、カレンダー機能回路部13aが制御部12に組み込まれてシステム全体としてスリム化できると共に、季節検出のためのセンサ等を別途設ける必要がないため、センサの保守も不要となる。
また請求項4記載の発明は、上記季節検出手段13は、外気温度を検出する気温センサ13bからなるのが好ましく、この場合、外気温による制御は、その日、次の日の気温に合わせた熱負荷端末10の制御、及び、貯湯タンク1に蓄える温度制御が可能になり、不必要なエネルギーロスの低減をより一層図ることができる。
また、請求項5記載の発明は、上記季節検出手段13は、貯湯タンク1に供給される水道水の温度を検出する水道水温度センサ13cからなるのが好ましく、この場合、水道水による制御は、水道水の1日の温度変化が少ないので、温度測定後の処理が簡単になり、また、外気の変動要因を削除できるというメリットもある。
また、請求項6記載の発明は、上記温水生成手段2は、貯湯タンク1の下方側から水を取り出して貯湯タンク1の上方側に戻す流水経路14と、流水経路14内に水を取り出す加熱側ポンプ15と、流水経路14に取り出された水を加熱するヒートポンプ3と、ヒートポンプ3で加熱された温水の温度を検出する温水温度センサ16とを備えたヒートポンプユニットで構成され、上記制御部12は、季節検出手段13にて切り換えられた季節制御モードに応じて貯湯タンク1内の温水の温度が異なるように加熱側ポンプ15の単位時間当たりの回転数を制御するのが好ましく、この場合、貯湯タンク1に溜められる温水の温度を季節に応じて自動的に制御可能となる。
本発明に係る温水利用システムにあっては、夏場において貯湯タンクに温水を蓄えるのに必要なエネルギーを少なくできると共に、貯湯タンクの温度を低くすることで、そこからの放熱も少なくできる。結果、熱交換器を用いた温水利用システムを効率よく運転することが可能となり、不必要なエネルギーロスの低減が図れるものである。
以下、本発明を添付図面に示す実施形態に基いて説明する。
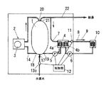
図1は、本実施形態の温水利用システムの一例を示し、図2は、温水利用システムのブロック図を示している。
本温水利用システムは、温水を保温貯蔵する貯湯タンク1と、貯湯タンク1内の水を加熱する温水生成手段2と、貯湯タンク1の上方側から温水を取り出し、熱交換器4の一次側配管4a及び熱交換器一次用ポンプ5を経て貯湯タンク1の下方側に戻す一次側循環経路7と、上記熱交換器4の二次側配管4bの一端からの加熱された熱媒体9を熱負荷端末10の入側に供給すると共に熱負荷端末10の出側から排出される熱媒体9を熱交換器4の二次側配管4bの他端に戻す二次側循環経路8と、上記熱負荷端末10の入側に供給される熱媒体9の温度を検知する熱媒体温度センサ11とを具備していると共に、複数の異なる季節制御モードを備えた制御部12と、上記複数の季節制御モードを切り換えるための季節検出手段13とを具備している。なお、本例では熱負荷端末10の熱媒体9として、水や不凍液を使用し、貯湯タンク1内の水として水道水を使用し、また温水生成手段2としてCOヒートポンプユニットを使用しているが、これらに限定されるものではない。
上記貯湯タンク1の下端には、水道水の供給口17と、ヒートポンプユニットの流水経路14の入側に通じる低温水出口18と、熱交換器4の一次側循環経路7の戻り側に通じる戻り口19とがそれぞれ設けられており、貯湯タンク1の上端には、上記流水経路14の戻り側に通じる高温水戻り口20と、風呂やシャワーなどの給湯機器に高温水を送るための給湯経路22に通じる給湯出口21とがそれぞれ設けられている。
上記温水生成手段2を構成するヒートポンプユニットは、貯湯タンク1の下方側から低温の水を取り出して貯湯タンク1の上方側に戻す流水経路14と、流水経路14内に水を取り出す加熱側ポンプ15と、流水経路14内に取り出された低温の水を加熱して高温水(70〜90℃)とするCOヒートポンプ3と、COヒートポンプ3で加熱された温水の温度を検出する温水温度センサ16とを備えている。ここでCOヒートポンプ3は、その配管内にCOを高圧封入し、COを熱媒として圧縮と膨張とを行なうことで吸熱と放熱とを行なうものであり、放熱部を流水経路14の途中に介設することで、低温の水を加熱して高温水として貯湯タンク1の上方側に戻せるようになっている。
上記給湯経路22の途中からは、熱交換器4の一次側循環経路7が分岐している。一次側循環経路7の途中には熱交換器4の一次側配管4aが設けられ、この一次側配管4aの下流側に熱交換器一次用ポンプ5が設けられている。熱交換器一次用ポンプ5は、貯湯タンク1の上方側からの高温水を、給湯経路22から熱交換器4の一次側配管4aに通して貯湯タンク1の下方側へ戻すためのものであり、制御部12からの信号に応答して熱交換器一次用ポンプ5の単位時間当たりの回転数(指定流量)が決定されるようになっている。
熱交換器4の二次側配管4bは、熱負荷端末10の二次側循環経路8に設けられている。熱交換器4によって貯湯タンク1からの温水の熱が熱媒体9に伝えられ、高温の熱媒体9にして浴室暖房乾燥機などからなる熱負荷端末10に供給される。また、二次側循環経路8には、熱交換器4の二次側配管4bよりも下流側に、熱媒体温度センサ11が配置され、上流側に熱交換器二次用ポンプ6が配置されている。熱媒体温度センサ11は、熱負荷端末10に送る熱媒体9の温度を測定してその結果を制御部12に送るものである。
上記制御部12はその内部に、図2に示すように季節検出手段13としてのカレンダー機能回路部13aを持っている。カレンダー機能回路部13aは、例えば、年・月・日・時刻を管理するマイクロコンピュータによって構成されている。例えば、1年を冬の季節と夏の季節の2つの期間に分割し、分割された期間のうち現在の期間に応じた信号(冬の季節を示す信号又は夏の季節を示す信号)を出力するものである。また制御部12には、夏の季節制御モードを実行する夏モード回路23と、冬の季節制御モードを実行する冬モード回路24とが設けられ、上記カレンダー機能回路部13aから出力される信号に応じて夏モード回路23と冬モード回路24のいずれか一方に切り換えられるようになっている。
上記制御部12は、カレンダー機能回路部13aから得られる季節信号に基いて現在の季節に応じた季節制御モードを選択して実行する。つまり、夏の場合は、カレンダー機能回路部13aによって夏モード回路23が選択され、夏の季節制御モードを実行する。夏の季節制御モードは、熱媒体9の設定温度は55℃となり、この設定温度と熱媒体温度センサ11による検知温度とを比較する。このとき、熱媒体温度センサ11の方が温度が高い場合は、熱交換器一次用ポンプ5の単位時間当たりの回転数を下げる信号を出力する。これにより、熱交換器4の一次側配管4aを通過する温水の単位時間当たりの流量が減少し、熱媒体9の温度は低下する。逆に、熱媒体温度センサ11の方が温度が低い場合は、熱交換器一次用ポンプ5の単位時間当たりの回転数を上げる信号を出力する。これにより、熱交換器4の一次側配管4aを通過する温水の単位時間当たりの流量が上昇し、熱媒体9の温度が上昇する。これを繰り返すことで、熱媒体9の温度を夏の季節用の目標温度(55℃)に到達させることができる。一方、冬の季節では、冬モード回路24を選択して冬の季節制御モードを実行する。冬の季節制御モードは、熱媒体9の温度を70℃に設定すると共に、この設定温度と熱媒体温度センサ11による検知温度とを比較し、上記と同様な方法で、熱媒体9の温度を冬の季節用の目標温度(70℃)に到達させるものである。
また図1に示す例では、制御部12は、季節検出手段13にて切り換えられた季節制御モードに応じて貯湯タンク1内の温水の温度が異なるように加熱側ポンプ15の単位時間当たりの回転数を制御する機能も併せ持っている。図4はそのブロック図の一例を示している。本例では、夏の季節制御モードを実行した場合は、制御部12は貯湯タンク1に送られる温水の温度を75℃とし、この設定温度と温水温度センサ16による検知温度とを比較する。このとき、温水温度センサ16の方が温度が高い場合は、制御部12は加熱側ポンプ15の単位時間当たりの回転数を下げる信号を出力する。これにより、図1に示すCOヒートポンプ3を通過する温水の単位時間当たりの流量が減少して、温水の温度を下げることができ、逆に、温水温度センサ16の方が温度が低い場合は、制御部12は加熱側ポンプ15の単位時間当たりの回転数を上げる信号を出力する。これにより、COヒートポンプ3を通過する温水の単位時間当たりの流量が上昇し、温水の温度を上げることができる。これを繰り返すことで、貯湯タンク1に送られる温水の温度を目標温度(70℃)に到達させることができる。一方、冬の季節制御モードが実行されている場合は、貯湯タンク1に送られる温水の設定温度が90℃となり、この設定温度と温水温度センサ16による検知温度とを比較して、上記と同様な方法で、貯湯タンク1に送られる温水の温度を冬の季節用の目標温度(90℃)に到達させるものである。これにより、貯湯タンク1に溜められる温水の温度を季節に応じて自動的に制御可能となる。なお、貯湯タンク1の下方側には、貯湯タンク1内の温水の温度を検出する温度センサ50が設けられており、例えば貯湯タンク1内の温度が夏場で70℃、冬場で90℃を超えた場合、温度センサ50からの信号によって加熱側ポンプ15を停止させる仕組みとなっている。
上記構成によれば、熱負荷端末10に供給される熱媒体9の温度を季節に応じた温度に設定するにあたって、季節検出手段13にて選ばれた季節制御モードは貯湯タンク1の温水の温度を変えるのではなく、熱交換器一次用ポンプ5の回転数を変えることによって、熱媒体9の温度を目標とする設定温度に制御するシステムを採用することにより、季節に応じた熱負荷端末10への熱媒体9の温度制御ができると共に、季節に合わせて貯湯タンク1に蓄える温水の温度を異ならせることが可能となり、特に最も熱を必要としない夏の季節では熱媒体9の設定温度が55℃の場合、貯湯タンク1の温水温度も70℃であればよく、従来のように1年中、90℃に加熱する必要がなくなる。従って、貯湯タンク1に温水を蓄えるのに必要なエネルギーを少なくできると共に、貯湯タンク1の温度が低くなるので、そこからの放熱も少なくできる。結果、熱交換器4を用いた温水利用システムを効率よく運転することが可能となり、不必要なエネルギーロスの低減が図れるものである。
しかも、本例の季節検出手段13は、制御部12に内蔵されて季節情報を管理するカレンダー機能回路部13aからなるので、季節検出手段13が制御部12に組み込まれてシステム全体のスリム化を図ることができ、そのうえ季節検出のためのセンサ等を別途設ける必要がないため、センサの保守も不要である。なお、カレンダー機能回路部13aを例えば衛星信号を受信して該衛星信号から年月日時分秒の時刻情報を抽出する衛星信号受信手段(GPS)の受信機を備えたカレンダー時計機構により構成することも可能である。
なお、図2の実施形態では、季節制御モードの一例として夏モード回路23と冬モード回路24とを例示したが、図3に示すように、秋及び春の中間モード回路25を追加してもよい。この中間モード回路25では、例えば、熱媒体9の温度は冬場の70℃と夏場の55℃の略中間値に設定され、貯湯タンク1内の温水の温度は冬場の90℃と夏場の70℃の略中間値に設定する。これにより、夏、冬以外の春、秋の中間の季節においても省エネ化を実現できるものとなる。
図5及び図6は季節検出手段13として、外気温を測定する気温センサ13bを用いた場合の一例を示している。他の構成は図1と基本的に同様であり、対応する部分には同一符号を付して説明は省略する。本例において、制御部12は、気温センサ13bの温度から1日の温度データを測定し、平均する。その平均値が高いとき(例えば、15℃以上)は、熱媒体9の設定温度を55℃とし、熱媒体温度センサ11と比較する。逆に、上記平均値が低いとき(例えば、15℃未満)は、熱媒体9の設定温度を70℃とし、熱媒体温度センサ11と比較する。いずれの場合においても、熱媒体温度センサ11の方が温度が高い場合、熱交換器一次用ポンプ5の単位時間当たりの回転数を下げる信号を出して、熱交換器4の一次側配管4aにおける単位時間当たりの流量を減らすようにし、逆に、熱媒体温度センサ11の方が温度が低い場合は、熱交換器一次用ポンプ5の単位時間当たりの回転数を上げる信号を出して、熱交換器4の一次側配管4aにおける単位時間当たりの流量を増やす。これにより熱媒体9の温度を目標温度に到達させることができる。しかして、外気温による制御システムを採用することで、その日、次の日の気温に合わせた熱負荷端末10の制御、貯湯タンク1に蓄える温度制御が可能になり、不必要なエネルギーロスの低減を一層図ることができるものである。
図7は、季節検出手段13として、貯湯タンク1に供給される水道水の温度を検出する水道水温度センサ13cを用いた場合の一例を示し、図8は水道水の1年間の温度変化の一例を示している。他の構成は図1と基本的に同様であり、対応する部分には同一符号を付して説明は省略する。本例では、水道水温度センサ13cにより現在の水道水の温度を検出して制御部12に入力する。制御部12は、水道水温度センサ13cにより検知した水道水の温度値が高いとき(例えば、15℃以上)は、熱媒体9の設定温度を55℃とし、熱媒体温度センサ11と比較する。逆に上記水道水温度センサ13cにより検知した温度値が低いとき(例えば、15℃未満)は、熱媒体9の設定温度を70℃とし、熱媒体温度センサ11と比較する。いずれの場合においても、熱媒体温度センサ11の方が温度が高い場合は、熱交換器一次用ポンプ5の単位時間当たりの回転数を下げる信号を出し、熱交換器4の一次側配管4aにおける単位時間当たりの流量を減らす。逆に、熱媒体温度センサ11の方が温度が低い場合、熱交換器一次用ポンプ5の単位時間当たりの回転数を上げる信号を出し、熱交換器4の一次側配管4aにおける単位時間当たりの流量を増やす。これにより熱媒体9の温度を夏又は冬の季節の設定温度に到達させることができる。しかして、水道水による制御は、1日の温度変化が少ないので、温度測定後の処理が簡単になり、また、外気の変動要因を削除できるというメリットがある。
なお上記実施形態で説明した熱媒体9の設定温度、貯湯タンク1の温度の各数値等はいずれも一例であり、適宜設定変更自在である。
本発明の一実施形態の温水利用システムの説明図である。 同上の制御部に関連するブロック図である。 他の実施形態のブロック図である。 更に他の実施形態のブロック図である。 更に他の実施形態のブロック図である。 図5の温水利用システムの説明図である。 更に他の実施形態の温水利用システムの説明図である。 図7において用いる水道水の1年間の温度変化の一例を示すグラフである。
符号の説明
1 貯湯タンク
2 温水生成手段
3 ヒートポンプ
4 熱交換器
4a 一次側配管
4b 二次側配管
5 熱交換器一次用ポンプ
7 一次側循環経路
8 二次側循環経路
9 熱媒体
10 熱負荷端末
11 熱媒体温度センサ
12 制御部
13 季節検出手段
13a カレンダー機能回路部
13b 気温センサ
13c 水道水温度センサ
14 流水経路
15 加熱側ポンプ
16 温水温度センサ

Claims (6)

  1. 温水を貯蔵する貯湯タンクと、貯湯タンク内の水を加熱する温水生成手段と、貯湯タンクの上方側から温水を取り出し、熱交換器の一次側配管及び熱交換器一次用ポンプを経て貯湯タンクの下方側に戻す一次側循環経路と、上記熱交換器の二次側配管の一端からの加熱された熱媒体を熱負荷端末の入側に供給すると共に熱負荷端末の出側から排出される熱媒体を熱交換器の二次側配管の他端に戻す二次側循環経路と、上記二次側循環経路の熱媒体の温度を検知する熱媒体温度センサとを具備した温水利用システムであって、現在の季節を検出する季節検出手段と、上記季節検出手段で検出された季節に応じて熱媒体の設定温度を可変にする制御部とを具備したことを特徴とする温水利用システム。
  2. 温水を保温貯蔵する貯湯タンクと、貯湯タンク内の水を加熱する温水生成手段と、貯湯タンクの上方側から温水を取り出し、熱交換器の一次側配管及び熱交換器一次用ポンプを経て貯湯タンクの下方側に戻す一次側循環経路と、上記熱交換器の二次側配管の一端からの加熱された熱媒体を熱負荷端末の入側に供給すると共に熱負荷端末の出側から排出される熱媒体を熱交換器の二次側配管の他端に戻す二次側循環経路と、上記熱負荷端末の入側に供給される熱媒体の温度を検知する熱媒体温度センサとを具備した温水利用システムであって、1年を複数の期間に分割し、分割された各期間に応じて熱媒体の設定温度が異なるように熱交換器一次用ポンプの単位時間当たりの回転数を制御する複数の異なる季節制御モードを備えた制御部と、上記複数の季節制御モードを切り換えるための季節検出手段とを具備することを特徴とする温水利用システム。
  3. 上記季節検出手段は、制御部に内蔵されて季節情報を管理するカレンダー機能回路部からなることを特徴とする請求項1又は請求項2記載の温水利用システム。
  4. 上記季節検出手段は、外気温度を検出する気温センサからなることを特徴とする請求項1又は請求項2記載の温水利用システム。
  5. 上記季節検出手段は、貯湯タンクに供給される水道水の温度を検出する水道水温度センサからなることを特徴とする請求項1又は請求項2記載の温水利用システム。
  6. 上記温水生成手段は、貯湯タンクの下方側から水を取り出して貯湯タンクの上方側に戻す流水経路と、流水経路内に水を取り出す加熱側ポンプと、流水経路内に取り出した水を加熱するヒートポンプと、ヒートポンプで加熱された温水の温度を検出する温水温度センサとを備えたヒートポンプユニットで構成され、上記制御部は、季節検出手段にて切り換えられた季節制御モードに応じて貯湯タンク内の温水の温度が異なるように加熱側ポンプの単位時間当たりの回転数を制御することを特徴とする請求項1又は請求項2記載の温水利用システム。
JP2004107202A 2004-03-31 2004-03-31 温水利用システム Expired - Fee Related JP4113512B2 (ja)

Priority Applications (1)

Application Number Priority Date Filing Date Title
JP2004107202A JP4113512B2 (ja) 2004-03-31 2004-03-31 温水利用システム

Applications Claiming Priority (1)

Application Number Priority Date Filing Date Title
JP2004107202A JP4113512B2 (ja) 2004-03-31 2004-03-31 温水利用システム

Publications (2)

Publication Number Publication Date
JP2005291623A true JP2005291623A (ja) 2005-10-20
JP4113512B2 JP4113512B2 (ja) 2008-07-09

Family

ID=35324744

Family Applications (1)

Application Number Title Priority Date Filing Date
JP2004107202A Expired - Fee Related JP4113512B2 (ja) 2004-03-31 2004-03-31 温水利用システム

Country Status (1)

Country Link
JP (1) JP4113512B2 (ja)

Cited By (4)

* Cited by examiner, † Cited by third party
Publication number Priority date Publication date Assignee Title
WO2009157630A1 (en) * 2008-06-27 2009-12-30 Kyungdong Network Co., Ltd. Method for controlling a hot water temperature in using low flux in hot water supply system
KR101210219B1 (ko) 2010-12-03 2012-12-07 린나이코리아 주식회사 계절 판단용 직수 검출온도를 이용한 보일러의 자동운전 제어방법
WO2017131341A3 (ko) * 2016-01-25 2018-03-08 주식회사 경동나비엔 예열 기능이 구비된 온수 공급 시스템 및 그 제어방법
CN114263957A (zh) * 2021-12-06 2022-04-01 河北工业大学 一/二次热力管网能量耦合的自增容供热系统

Cited By (9)

* Cited by examiner, † Cited by third party
Publication number Priority date Publication date Assignee Title
WO2009157630A1 (en) * 2008-06-27 2009-12-30 Kyungdong Network Co., Ltd. Method for controlling a hot water temperature in using low flux in hot water supply system
CN102066848A (zh) * 2008-06-27 2011-05-18 (株)庆东Network 热水供给系统在低流量使用时控制热水温度的方法
AU2008358505B2 (en) * 2008-06-27 2012-05-17 Kyungdong Navien Co., Ltd. Method for controlling a hot water temperature in using low flux in hot water supply system
RU2455575C1 (ru) * 2008-06-27 2012-07-10 Кюндон Нетуорк Ко., Лтд. Способ регулирования температуры горячей воды в системе горячего водоснабжения при низком расходе воды
CN102066848B (zh) * 2008-06-27 2013-04-03 (株)庆东One 热水供给系统在低流量使用时控制热水温度的方法
KR101210219B1 (ko) 2010-12-03 2012-12-07 린나이코리아 주식회사 계절 판단용 직수 검출온도를 이용한 보일러의 자동운전 제어방법
WO2017131341A3 (ko) * 2016-01-25 2018-03-08 주식회사 경동나비엔 예열 기능이 구비된 온수 공급 시스템 및 그 제어방법
US10648680B2 (en) 2016-01-25 2020-05-12 Kyungdong Navien Co., Ltd. Hot water supply system having preheating function and method for controlling same
CN114263957A (zh) * 2021-12-06 2022-04-01 河北工业大学 一/二次热力管网能量耦合的自增容供热系统

Also Published As

Publication number Publication date
JP4113512B2 (ja) 2008-07-09

Similar Documents

Publication Publication Date Title
US9010281B2 (en) Hot water supply system
US7945146B2 (en) Tankless hot water heater with power modulation
US11002492B2 (en) Energy storage system
TWI377325B (ja)
JPH0894190A (ja) 太陽熱利用蓄熱装置、及び該装置を含む給湯システム
RU2668861C2 (ru) Солнечный проточный нагреватель с коллектором-аккумулятором
JP2007147246A (ja) 給湯装置および給湯装置用制御装置
HU229686B1 (hu) Vízmelegítõ elrendezés
JP4113512B2 (ja) 温水利用システム
US20160238261A1 (en) Control of a pump to optimize heat transfer
JP6104208B2 (ja) 太陽熱利用ガス温水システム
JP2005140439A (ja) ヒートポンプ給湯機
CN102012080A (zh) 空调热水器及其控制方法
GB2486491A (en) Water heating system and a method of supplying hot water
JP2009127992A (ja) 給湯装置、および、給湯装置の動作方法
CN109798662B (zh) 蓄热换热热泵热水器及其控制方法
JP2009293868A (ja) 給湯システム
WO2018181101A1 (ja) 加熱装置、及び加熱方法
JP3962753B2 (ja) 給湯システム
JP6090907B2 (ja) 給湯システム
JPS59185940A (ja) ガスボイラ−の制御装置
SE503865C2 (sv) Förfarande och anordning vid solvärmeanläggning samt användning av nämnda anordning
HK1110647B (en) A heater pump-type apparatus and its method for heat-water supply
JP2005207699A (ja) 加熱装置、並びに、コージェネレーションシステム

Legal Events

Date Code Title Description
A621 Written request for application examination

Free format text: JAPANESE INTERMEDIATE CODE: A621

Effective date: 20060626

A977 Report on retrieval

Free format text: JAPANESE INTERMEDIATE CODE: A971007

Effective date: 20070809

A131 Notification of reasons for refusal

Free format text: JAPANESE INTERMEDIATE CODE: A131

Effective date: 20070828

A521 Written amendment

Free format text: JAPANESE INTERMEDIATE CODE: A523

Effective date: 20071029

TRDD Decision of grant or rejection written
A01 Written decision to grant a patent or to grant a registration (utility model)

Free format text: JAPANESE INTERMEDIATE CODE: A01

Effective date: 20080318

A61 First payment of annual fees (during grant procedure)

Free format text: JAPANESE INTERMEDIATE CODE: A61

Effective date: 20080411

R150 Certificate of patent or registration of utility model

Ref document number: 4113512

Country of ref document: JP

Free format text: JAPANESE INTERMEDIATE CODE: R150

Free format text: JAPANESE INTERMEDIATE CODE: R150

FPAY Renewal fee payment (event date is renewal date of database)

Free format text: PAYMENT UNTIL: 20110418

Year of fee payment: 3

S533 Written request for registration of change of name

Free format text: JAPANESE INTERMEDIATE CODE: R313533

FPAY Renewal fee payment (event date is renewal date of database)

Free format text: PAYMENT UNTIL: 20110418

Year of fee payment: 3

R350 Written notification of registration of transfer

Free format text: JAPANESE INTERMEDIATE CODE: R350

R250 Receipt of annual fees

Free format text: JAPANESE INTERMEDIATE CODE: R250

FPAY Renewal fee payment (event date is renewal date of database)

Free format text: PAYMENT UNTIL: 20120418

Year of fee payment: 4

FPAY Renewal fee payment (event date is renewal date of database)

Free format text: PAYMENT UNTIL: 20130418

Year of fee payment: 5

R250 Receipt of annual fees

Free format text: JAPANESE INTERMEDIATE CODE: R250

FPAY Renewal fee payment (event date is renewal date of database)

Free format text: PAYMENT UNTIL: 20130418

Year of fee payment: 5

FPAY Renewal fee payment (event date is renewal date of database)

Free format text: PAYMENT UNTIL: 20140418

Year of fee payment: 6

R250 Receipt of annual fees

Free format text: JAPANESE INTERMEDIATE CODE: R250

R250 Receipt of annual fees

Free format text: JAPANESE INTERMEDIATE CODE: R250

R250 Receipt of annual fees

Free format text: JAPANESE INTERMEDIATE CODE: R250

R250 Receipt of annual fees

Free format text: JAPANESE INTERMEDIATE CODE: R250

R250 Receipt of annual fees

Free format text: JAPANESE INTERMEDIATE CODE: R250

R250 Receipt of annual fees

Free format text: JAPANESE INTERMEDIATE CODE: R250

LAPS Cancellation because of no payment of annual fees